Бесплатная библиотека стандартов и нормативов www.docload.ru

Все документы, размещенные на этом сайте, не являются их официальным изданием и предназначены исключительно для ознакомительных целей.
Электронные копии этих документов могут распространяться без всяких ограничений. Вы можете размещать информацию с этого сайта на любом другом сайте.
Это некоммерческий сайт и здесь не продаются документы. Вы можете скачать их абсолютно бесплатно!
Содержимое сайта не нарушает чьих-либо авторских прав! Человек имеет право на информацию!

 

Госстрой СССР

СНиП II-12-77

СТРОИТЕЛЬНЫЕ НОРМЫ И ПРАВИЛА

Часть II

НОРМЫ ПРОЕКТИРОВАНИЯ

Глава 12

ЗАЩИТА ОТ ШУМА

Утверждены

постановлением Государственного комитета

совета министров СССР по делам строительства

от 14 июня 1977 г. № 72

Глава СНиП II-12-77 «Защита от шума» разработана НИИ строительной физики Госстроя СССР при участии ВНИИТБчермет Минчермета СССР, МНИТ МПС, МНИИТЭП ГлавАПУ Мосгорисполкома, ЦНИИЭП жилища, ЦНИИПградостроительства, ЦНИИЭП зрелищных зданий и спортивных сооружений Госгражданстроя, МИСИ им. В.В. Куйбышева и ГИСИ Минвуза СССР, ДИСИ Минвуза УССР, НИИ гигиены им. Ф.Ф. Эрисмана Минздрава РСФСР, ВНИИОТ (г. Иваново) и ВНИИОТ (г. Тбилиси) ВЦСПС, НИИ гигиены труда и профзаболеваний АМН СССР, НИИСК и ГПН Сантехпроект Госстроя СССР.

С введением в действие главы СНиП II-12-77 «Защита от шума» утрачивают силу с 1 июля 1978 г. Пп. 3.56 и 3.57 главы СНиП II-Л.1-69 «Театры. Нормы проектирования», Указания по акустическому расчету вентиляционных установок (СН 399-69), пп. 3.20 - 3.24, а также прил. 1 к главе СНиП II-Л.1-71 «Жилые здания. Нормы проектирования», пп. 13.3 - 13.7 Санитарных норм проектирования промышленных предприятий (СН 215-71), п. 4.3 главы СНиП II-Л.16-71 «Клубы. Нормы проектирования»,пп. 2.21 - 2.23 и прил. 3 к главе СНиП II-Л.2-72 «Общественные здания и сооружения. нормы проектирования. Общая часть» и пп. 3.14 и 3.15 главы СНиП II-73-76 «Кинотеатры».

Редакторы ¾ инженеры А.М. Кошкин и Ф.М. Шлемин (Госстрой СССР), доктора техн. наук Г.Л. Осипов и Е.Я. Юдин, кандидаты техн. наук Л.А. Борисов, А.А. Климухин, Э.А. Лесков (НИИ строительной физики Госстроя СССР), канд. техн. наук И.Д. Рассадина (Гипронииавиапром), канд. мед. наук А.И. Заиченко (Главное санитарно-эпидемиологическое управление Минздрава СССР)

СОДЕРЖАНИЕ

1. Общие указания. 2

2. Источники шума и их шумовые характеристики. 2

3. Нормы допустимых уровней шума. 2

4. Определение уровней звукового давления в расчетных точках. 4

5. Определение требуемого снижения шума. 10

6. Звукоизоляция ограждающих конструкций здания. 12

Нормы звукоизоляции ограждающих конструкций. 12

Расчет звукоизоляции ограждающих конструкций. 16

Проектирование ограждающих конструкций (стен, перегородок, перекрытий, дверей, ворот и окон) 23

Звукоизоляция ограждающих конструкций кабин наблюдения, дистанционного управления, укрытий, кожухов. 25

7. Звукопоглощающие конструкции и экраны.. 25

Область применения. 25

Звукопоглощающие конструкции. 26

Экраны.. 28

8. Системы вентиляции, кондиционирования воздуха и воздушного отопления. 31

Источники шума и их шумовые характеристики. 31

Определение октавных уровней звукового давления в расчетных точках. 33

Определение требуемого снижения шума. 35

Снижение уровней звуковой мощности по пути распространения шума. 36

Проектирование глушителей. 38

9. Газодинамические установки. 41

Общие указания. 41

Основные источники шума и их шумовые характеристики. 41

Определение уровней звуковой мощности шума выхлопной струи турбореактивного двигателя. 41

Определение уровней звуковой мощности шума всасывания дозвукового осевого компрессора. 42

Проектирование глушителей шума для газодинамических установок. 44

10. Селитебная территория городов и других населенных пунктов. 46

Основные источники шума и их шумовые характеристики. 46

Определение уровней звука в расчетных точках. 47

Определение требуемого снижения уровней звука. 48

Экраны и зеленые насаждения. 48

Приложение 1 Методика расчета поправок и  при определении индексов изоляции воздушного шума ограждающей конструкцией и приведенного уровня ударного шума под перекрытием ... 51

Приложение 2 Характеристики звукопоглощающих конструкций. 52

Приложение 3 Снижение уровней звукового давления глушителями шума. 57

 

Государственный комитет Совета Министров СССР по делам строительства

(Госстрой СССР)

Строительные нормы и правила

СНиП
II-12-77

Защита от шума

-

1. ОБЩИЕ УКАЗАНИЯ

1.1. Настоящие нормы и правила должны соблюдаться при проектировании защиты от шума для обеспечения допустимых уровней звукового давления и уровней звука в помещениях на рабочих местах в производственных и вспомогательных зданиях и на площадках промышленных предприятий, в помещениях жилых и общественных зданий, а также на селитебной территории городов и других населенных пунктов.

1.2. Защиту от шума следует выполнять в соответствии с ГОСТ 12.1.003-76.

1.3. Защиту от шума строительно-акустическими методами следует проектировать на основании акустического расчета и предусматривать для снижения уровня шума:

а) применение звукоизоляции ограждающих конструкций; уплотнение по периметру притворов окон, ворот, дверей; звукоизоляцию мест пересечения ограждающих конструкций инженерными коммуникациями; устройство звукоизолированных кабин наблюдения и дистанционного управления; укрытий; кожухов в соответствии с разделом 6 настоящих норм;

б) применение звукопоглощающих конструкций и экранов в соответствии с разделом 7 настоящих норм;

в) применение глушителей шума, звукопоглощающих облицовок в газовоздушных трактах вентиляционных систем с механическим побуждением и систем кондиционирования воздуха и газодинамических установок в соответствии с разделами 8 и 9 настоящих норм;

г) осуществление планировки и застройки селитебной территории городов и других населенных пунктов в соответствии с главой СНиП по планировке и застройке городов, поселков и сельских населенных пунктов, а также применение экранов и зеленых насаждений в соответствии с разделом 10 настоящих норм.

Внесены
Научно-исследовательским институтом строительной физики Госстроя СССР

Утверждены
постановлением Государственного комитета совета министров СССР по делам строительства

от 14 июня 1977 г. № 72

Срок введения в действие
1 июля 1978 г.

1.4. В проекте должны быть определены технико-экономические показатели принятых технических решений по защите от шума.

1.5. Используемые в проектах звукоизоляционные, звукопоглощающие и вибродемпфирующие материалы должны быть несгораемыми или трудносгораемыми.

2. ИСТОЧНИКИ ШУМА И ИХ ШУМОВЫЕ ХАРАКТЕРИСТИКИ

2.1. Основными источниками шума внутри зданий и сооружений различного назначения и на площадках промышленных предприятий являются машины, механизмы, средства транспорта и другое оборудование.

2.2. Состав шумовых характеристик и методы их определения для машин, механизмов, средств транспорта и другого оборудования установлены ГОСТ 8.055-73, а значения их шумовых характеристик следует принимать в соответствии с требованиями ГОСТ 12.1.003- 76.

2.3. Основные источники шума систем вентиляции с механическим побуждением, кондиционирования воздуха и воздушного отопления, газодинамических установок и внешних шумов в городах, поселках и сельских населенных пунктах и указания по определению их шумовых характеристик приведены соответственно в разделах 8, 9 и 10 настоящих норм.

3. НОРМЫ ДОПУСТИМЫХ УРОВНЕЙ ШУМА

3.1. Нормируемыми параметрами постоянного шума в расчетных точках следует считать уровни звукового давления L в дБ в октавных полосах частот со среднегеометрическими частотами 63, 125, 250, 500, 1000, 2000, 4000 и 8000 Гц.

3.2. Нормируемыми параметрами колеблющегося во времени шума в расчетных точках следует считать эквивалентные (по энергии) уровни звука LА экв в дБА.

3.3. Нормируемыми параметрами прерывистого и импульсного шума в расчетных точках следует считать эквивалентные (по энергии) уровни звукового давления Lэкв в дБ в октавных полосах частот со среднегеометрическими частотами 63, 125, 250, 500, 1000, 2000, 4000 и 8000 Гц.

3.4. Допустимые уровни звукового давления (эквивалентные уровни звукового давления) в дБ в октавных полосах частот, уровни звука и эквивалентные уровни звука в дБА для жилых и общественных зданий и их территории следует принимать в соответствии с табл. 1, с поправками к ним в соответствии с табл. 2.

Таблица 1

Помещения и территории

Уровни звукового давления L (эквивалентные уровни звукового давления Lэкв) в дБ в октавных полосах частот со среднегеометрическими частотами в Гц

Уровни звука LА и эквивалентные уровни звука LАэкв в дБА

63

125

250

500

1000

2000

4000

8000

1. Палаты больниц и санаториев, операционные больниц

51

39

31

24

20

17

14

13

25

2. Жилые комнаты квартир, жилые помещения домов отдыха и пансионатов, спальные помещения в детских дошкольных учреждениях и школах-интернатах

55

44

35

29

25

22

20

18

30

3. Кабинеты врачей больниц, санаториев, поликлиник, зрительные залы концертных залов, номера гостиниц, жилые комнаты в общежитиях

59

48

40

34

30

27

25

23

35

4. Территории больниц, санаториев, непосредственно прилегающие к зданию

59

48

40

34

30

27

25

23

35

5. Территории, непосредственно прилегающие к жилым домам (в 2 м от ограждающих конструкций), площадки отдыха микрорайонов и групп жилых домов, площадки детских дошкольных учреждений, участки школ

67

57

49

44

40

37

35

33

45

6. Классные помещения, учебные кабинеты, аудитории школ и других учебных заведений, конференц-залы, читальные залы, зрительные залы театров, клубов, кинотеатров, залы судебных заседаний и совещаний

63

52

45

39

35

32

30

28

40

7. Рабочие помещения управлений, рабочие помещения конструкторских, проектных организаций и научно-исследовательских институтов

71

61

54

49

45

42

40

38

50

8. Залы кафе, ресторанов, столовых, фойе театров и кинотеатров

75

66

59

54

50

47

45

48

55

9. Торговые залы магазинов, спортивные залы, пассажирские залы аэрофлотов и вокзалов, приемные пункты предприятий общественного обслуживания

79

70

63

58

55

52

50

49

60

Примечания: 1. Уровни звукового давления в октавных полосах частот в дБ, уровни звука и эквивалентные уровни звука в дБА для шума, создаваемого в помещениях и на территориях, прилегающих к зданиям, системами кондиционирования воздуха, воздушного отопления и вентиляции, следует принимать на 5 дБ ниже (поправка Dп = ‑ 5дБ) указанных в табл. 1 или фактических уровней шума в помещениях в рабочее время, если последние не превышают значений, указанных в настоящей таблице (поправку для тонального шума по табл. 2 в этом случае принимать не следует).

2. Эквивалентные уровни звука в дБА для шума, создаваемого средствами транспорта (автомобильного, железнодорожного, воздушного) в 2 м от ограждающих конструкций зданий, обращенных в сторону источников шума, допускается принимать на 10 дБА выше (поправка Dп = + 10 дБА) уровней звука, указанных в поз. 5 табл. 1.

Таблица 2

Влияющий фактор

Условия

Поправка в дБ или дБА

Характер шума

Широкополосный шум

0

 

Тональный или импульсный (при измерениях стандартным шумомером) шум

-5

Местоположение

Курортный район

-5

объекта

Новый проектируемый городской жилой район

0

 

Жилая застройка, расположенная в существующей (сложившейся) застройке

+5

Время суток

День-с 7 до 23 ч

+10

 

Ночь-с 23 до 7 ч

0

Примечания: 1. Поправки на время суток вносятся при определении допустимых уровней звукового давления и уровней звука для жилых комнат квартир, спальных помещений домов отдыха и пансионатов, спальных помещений в детских дошкольных учреждениях и школах-интернатах, палат больниц и спальных комнат санаториев, жилых комнат общежитий, номеров гостиниц, для территорий, непосредственно прилегающих к жилым домам, территорий больниц, санаториев, непосредственно прилегающих к зданиям.

2. Поправки на место расположения объекта следует учитывать только для внешних источников шума при определении допустимых уровней звукового давления и уровней звука для жилых комнат квартир, спальных помещений домов отдыха и пансионатов, спальных помещений в детских дошкольных учреждениях и школах-интернатах, палат больниц и спальных комнат санаториев, жилых комнат общежитий, номеров гостиниц.

3. Поправку на местоположение объекта не следует применять для вновь строящихся зданий в существующей (сложившейся) застройке.

3.5. Допустимые уровни звукового давления (эквивалентные уровни звукового давления) в дБ в октавных полосах частот, уровни звука и эквивалентные уровни звука в дБА на рабочих местах в производственных предприятиях следует принимать в соответствии с ГОСТ 12.1.003-76.

4. ОПРЕДЕЛЕНИЕ УРОВНЕЙ ЗВУКОВОГО ДАВЛЕНИЯ В РАСЧЕТНЫХ ТОЧКАХ

4.1. Расчетные точки при акустических расчетах следует выбирать внутри помещений зданий и сооружений, а также на территориях, на рабочих местах или в зоне постоянного пребывания людей на высоте 1,2 - 1,5 м от уровня пола, рабочей площадки или планировочной отметки территории.

При этом внутри помещения, в котором один источник шума или несколько источников шума с одинаковыми октавными уровнями звукового давления, следует выбирать не менее двух расчетных точек: одну на рабочем месте, расположенном в зоне отраженного звука, а другую - на рабочем месте в зоне прямого звука, создаваемого источниками шума.

Если в помещении несколько источников шума, отличающихся друг от друга по октавным уровням звукового давления на рабочих местах (определяемых по формуле (2)) более чем на 10 дБ, то в зоне прямого звука следует выбирать две расчетные точки: на рабочих местях у источников с наибольшими и наименьшими уровнями звукового давления L в дБ.

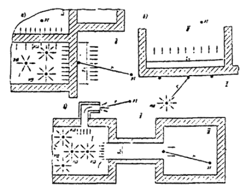
4.2. Октавные уровни звукового давления L в дБ в расчетных точках на рабочих местах помещений, в которых один источник шума (рис. 1), следует определять:

Рис. 1. Схема расположения расчетных точек (РТ) и источника шума (ИШ)

РТ1 - расчетная точка в зоне прямого и отраженного звука; РТ2 - расчетная точка в зоне прямого звука; РТ3 - расчетная точка в зоне отраженного звука

а) в зоне прямого и отраженного звука по формуле

;                                                   (1)

б) в зоне прямого звука по формуле

;                                                         (2)

в) в зоне отраженного звука по формуле

,                                                  (3)

где Lр - октавный уровень звуковой мощности в дБ источника шума;

х - коэффициент, учитывающий влияние ближнего акустического поля и принимаемый в зависимости от отношения расстояния r в м между акустическим центром источника и расчетной точкой к максимальным габаритным размерам lмакс в м источника шума по графику на рис. 2;

Рис. 2. График для определения коэффициента х в зависимости от отношения r к максимальному линейному размеру источника шума lмакс.

Ф - фактор направленности источника шума, безразмерный, определяется по опытным данным. Для источников шума с равномерным излучением звука следует принимать Ф = 1;

S - площадь в м2 воображаемой поверхности правильной геометрической формы, окружающей источник и проходящей через расчетную точку.

Для источников шума, у которых 2 lмакс < r, следует принимать при расположении источника шума:

в пространстве (на колонне в помещении) - S = 4 p r2;

на поверхности стены, перекрытия - S = 2 p r2;

в двухгранном углу, образованном ограждающими конструкциями, - S = p r2;

в трехгранном углу, образованном ограждающими конструкциями, - S = 4 p r2/2.

В - постоянная помещения в м2, определяемая по п. 4.3 настоящих норм;

y - коэффициент, учитывающий нарушение диффузности звукового поля в помещении, принимаемым по опытным данным, а при их отсутствии - по графику на рис. 3.

Примечание. Акустический центр источника шума, расположенного на полу или стене, следует принимать совпадающим с проекцией геометрического центра источника шума на горизонтальную или вертикальную плоскость.

Рис. 3. График для определения коэффициента y в зависимости от отношения постоянной помещения В к площади ограждающих поверхностей Sогр

4.3. Постоянную помещения В в м2 в октавных полосах частот следует определять по формуле

В = В1000 m                                                                      (4)

где В1000 - постоянная помещения в м2 на среднегеометрической частоте 1000 Гц, определяемая по табл. 3 в зависимости объема V в м3 и типа помещения;

m - частотный множитель, определяемый по табл. 4.

Таблица 3

Тип помещения

Описание помещения

Постоянная помещения В1000 в м2

1

С небольшим количеством людей (металлообрабатывающие цехи, вентиляционные камеры, генераторные, машинные залы, испытательные стенды

V/20

2

С жесткой мебелью и большим количеством людей, или с небольшим количеством людей и мягкой мебелью (лаборатории, ткацкие и деревообрабатывающие цехи, кабинеты и т.п.).

V/10

3

С большим количеством людей мягкой мебелью (рабочие помещения зданий управлений, залы конструкторских бюро, аудитории учебных заведений, залы ресторанов, торговые залы магазинов, залы ожидания аэропортов и вокзалов, номера гостиниц, классные помещения в школах, читальные залы библиотек, жилые помещения и т. п.).

V/6

4

Помещения со звукопоглощающей облицовкой потолка и части стен

V/1,5

Примечание. Постоянную помещения В1000 для помещений четвертого типа можно применить при определении В по формуле (4) только при расчете требуемой частотной характеристики изоляции воздушного шума ограждающей конструкцией и акустическом расчете вентиляционных систем. Во всех других случаях постоянную помещения В в октавных полосах следует определить согласно требованиям раздела 7 настоящих норм.

Таблица 4

Объем помещения V в м3

частотный множитель m из среднегеометрических частотах октавных полос в Гц

63

125

250

500

1000

2000

4000

8000

V < 200

0,8

0,75

0,7

0,8

1

1,4

1,8

2,5

V = 200 ¸ 1000

0,65

0,62

0,64

0,75

1

1,5

2,4

4,2

V > 1000

0,5

0,5

0,55

0,7

1

1,6

3

6

4.4. Октавные уровни звукового давления L в дБ в расчетных точках помещений, в которых несколько источников шума, следует определять:

а) в зоне прямого и отраженного звука по формуле

,                                                  (5)

где Аi = 100,1Lрi;

Lрi - октавный уровень звуковой мощности в дБ, создаваемой i-тым источником шума;

хi, Фi, Si - то же, что и в формулах (1) и (2), но для i-го источника шума;

т - количество источников шума, ближайших к расчетной точке (т. е. источников шума, для которых ri £ 5rмин - расстояние в м от расчетной точки до акустического центра ближайшего к ней источника шума);

n - общее количество источников шума в помещении;

В и y - то же, что и в формулах (1) и (3);

б) в зоне отраженного звука по формуле

                                   (6)

Первый член в формуле (6) следует определять, суммируя, уровни звуковой мощности источников шума Lрi по табл. 5, а если все источники шума имеют одинаковую звуковую мощность Lр0, то

.

Таблица 5

Разность двух складываемых уровней в дБ

0

1

2

3

4

5

6

7

8

9

10

15

20

Добавка к более высокому уровню, необходимая для получения суммарного уровня в дБ

3

2,5

2

1,8

1,5

1,2

1

0,8

0,6

0,5

0,4

0,2

0

Примечание. При пользовании табл. 5 следует последовательно складывать уровни в дБ (звуковой мощности или звукового давления), начиная с максимального. Сначала следует определять разность двух складываемых уровней, затем соответствующую этой разности добавку. После этого добавку следует прибавить к большему из складываемых уровней. Полученный уровень складывают со следующим и т.д.

 

4.5. Октавные уровни звукового давления L в дБ в расчетных точках, если источник шума и расчетные точки расположены на территории жилой застройки или на площадке предприятия, следует определить по формуле

                                 (7)

где Lр - октавный уровень звуковой мощности в дБ источника шума;

Ф - то же, что в формулах (1) и (2);

r - расстояние в м от источника шума до расчетной точки;

W - пространственный угол излучения звука, принимаемый для источников шума, расположенных:

в пространстве - W = 4p;

на поверхности территории или ограждающих конструкций зданий и сооружений - W = 2p;

в двухгранном углу, образованном ограждающими конструкциями зданий и сооружений, - W = p;

bа - затухание звука в атмосфере в дБ/км, принимаемое по табл. 6.

Примечания: 1. Октавные уровни звукового давления L в дБ допускается определять по формуле (7), если расчетные точки расположены на расстояниях r в м, больших удвоенного максимального размера источника шума.

2. При расстояниях r £ 50 м затухание звука в атмосфере в расчетах не учитывается.

Таблица 6

Среднегеометрические частоты октавных полос в Гц

63

125

250

500

1000

2000

4000

8000

bа в дБ/км

0

0,7

1,5

3

6

12

24

48

4.6. Октавный уровень звуковой мощности шума  в дБ, прошедшего через преграду (ограждающую конструкцию помещения) (рис. 4, а, б) или канал, соединяющий два помещения или помещение с атмосферой, если шум создается источником в помещении (рис.4, в), следует определять по формуле

                                                (8)

где L - октавный уровень звукового давления в дБ у преграды, определяемый согласно указаниям примеч. 3 и 4 к настоящему пункту;

- площадь преграды в м2;

- снижение уровня звуковой мощности шума в дБ при прохождении звука через преграду, определяемое согласно указаниям примеч. 1 и 2 к настоящему пункту;

 - поправка в дБ, учитывающая характер звукового поля при падении звуковых волн на преграду, определяемая согласно указаниям примеч. 3 и 4 к настоящему пункту.

Примечания: 1. Если преградой является ограждающая конструкция, то =R, где R - изоляция воздушного шума ограждающей конструкцией в октавной полосе частот, определяемая согласно требованиям раздела 6 настоящих норм.

2. Если преградой является канал с площадью входного отверстия , то  равно суммарному снижению звуковой мощности в октавной полосе в канале, определяемому согласно требованиям раздела 8 настоящих норм.

3. При падении звуковых волн из помещения на преграду поправка = 6 дБ, а L должен быть определен по формулам (3) или (6).

4. При падении звуковых волн из помещения на преграду из атмосферы = 0, а L следует определять по формулам (7) и (11).

Рис. 4. Схема размещения источников шума и расчетных точек

ИШ - источник шума; РТ - расчетная точка; А - промежуточная точка; I - помещение с источниками шума; II - атмосфера; III - защищаемое от шума помещение

4.7. Октавный уровень звуковой мощности шума  в дБ, прошедшего через канал, если шум излучается источником непосредственно в канал, соединенный с другим помещением или с атмосферой (рис. 5), следует определять по формуле

,                                                       (9)

где  - уровень звуковой мощности в дБ, излучаемой источником шума в канал, определяемый в соответствии с указаниями разделов 8 и 9 настоящих норм;

 - суммарное снижение октавного уровня звуковой мощности в дБ по пути распространения звука.

Рис. 5. Схема расположения источника (ИШ), излучающего шум в канал, и расчетной точки (РТ), расположенной в защищаемом от шума помещении в другом здании

r1 - расстояние от выходного отверстия канала до наружного ограждения защищаемого от шума помещения; r2, r3 - расстояния от центра излучающей поверхности до наружного ограждения защищаемого от шума помещения

Суммарное снижение октавного уровня звуковой мощности источника шума по пути распространения звука  в дБ следует определять:

при излучении звука через выходное отверстие канала - в соответствии с указаниями раздела 8 настоящих норм как сумму уровней звуковой мощности в элементах канала или системы каналов, например сети вентиляционных воздуховодов;

при излучении звука через стенки канала - по формуле

                                                   (10)

где  - снижение октавного уровня звуковой мощности в дБ по пути распространения звука между источником шума и начальным сечением участка канала, через который излучается шум, определяемое согласно требованиям раздела 8 настоящих норм;

S0 - площадь в м2 поперечного сечения канала;

Sкан - площадь в м2 наружной поверхности стенок канала, через которую излучается шум;

Rкан - изоляция воздушного шума в дБ стенками канала;

 - снижение уровня звуковой мощности в дБ по длине рассматриваемого участка канала, определяемое согласно требованиям раздела 8 настоящих норм.

4.8. Октавные уровни звуковой мощности  в дБ шума, прошедшего через преграду в защищаемое от шума помещение, если источники шума находятся в помещении, расположенном в другом здании (рис. 5), следует определять последовательно.

Сначала следует определить октавные уровни звуковой мощности шума  в дБ, прошедшего через различные преграды из помещения с источником (или несколькими источниками) шума в атмосферу, по формулам (8) или (9). Затем следует определить октавные уровни звукового давления шума  в дБ в промежуточной расчетной точке А у наружной ограждающей конструкции помещения, защищаемого от шума, по формуле (7), заменив в ней L на  а  на . После этого следует определить суммарные октавные уровни звукового давления  в дБ в точке А по формуле (11), а затем определить октавные уровни звуковой мощности шума, прошедшего в защищаемое от шума помещение,  в дБ по формуле (8), заменив в ней L на  и приняв  = 0.

4.9. Октавные уровни звукового давления в расчетной точке Lпр в дБ, прошедшего через преграду, следует определять по формулам (3), (6) или (7), заменив в них L на Lпр и  на .

4.10. Октавные уровни звукового давления от нескольких источников шума  в дБ следует определять как сумму уровней звукового давления  в дБ в выбранной расчетной точке от каждого источника шума (или каждой преграды, через которую проникает шум в помещение или в атмосферу) по формуле

                                                     (11)

Для упрощения расчетов суммирование уровней звукового давления следует производить по табл. 5 аналогично суммированию уровней звуковой мощности источников шума.

4.11. Октавный уровень звукового давления  в дБ в расчетной точке для прерывистого шума от одного источника следует определять по формулам (1) - (3) или (7) для каждого отрезка времени , в мин, в течение которого значение октавного уровня звукового давления  в дБ остается постоянным, заменив в указанных формулах L на .

Затем следует определить эквивалентный октавный уровень звукового давления  в дБ за общее время воздействия шума Т в мин по формуле

                                                (12)

где  - время в мин, в течение которого значение уровня звукового давления  в дБ остается постоянным;

 - постоянное значение октавного уровня звукового давления в дБ прерывистого шума за время  в мин;

Т - общее время воздействия шума в мин.

Примечание. За общее время воздействия шума Т в мин следует принимать:

в производственных помещениях - продолжительность рабочей смены;

на территориях, для которых установлены уровни шума, - продолжительность дня - (с 7 до 23 ч) или ночи (с 23 до 7 ч).

4.12. Октавный уровень звукового давления  в дБ в расчетном точке для импульсного шума от одного источника следует определять по формулам (1) - (3) или (7) для каждого отдельного импульса продолжительностью  в мин с октавным значением звукового давления  в дБ, заменив в указанных формулах L на .

Затем следует определить эквивалентный октавный уровень звукового давления  в дБ за выбранный отрезок времени Т в мин по формуле (12), заменив в ней  на , а  на .

4.13. Эквивалентные октавные уровни звукового давления  в дБ в расчетной точке для прерывистого и импульсного шумов от нескольких источников шума следует определять в соответствии с п. 4.10 настоящих норм, заменив  на  а  на.

5. ОПРЕДЕЛЕНИЕ ТРЕБУЕМОГО СНИЖЕНИЯ ШУМА

5.1. Требуемое снижение октавных уровней звукового давления  в дБ следует определять отдельно для каждого источника шума, если в расчетную точку поступает шум от нескольких источников шума.

Примечание. Данное правило не распространяется на определение требуемого снижения шума от источников шума в производственных помещениях (в цехах текстильной промышленности, деревоотделочных, металлообрабатывающих и т. п.).

5.2. Требуемое снижение октавных уровней звукового давления  в дБ в расчетной точке в помещении, или на территории для одного источника шума или нескольких, отличающихся друг от друга по октавным уровням звукового давления менее чем на 10 дБ, следует определять:

а) для одного источника шума по формуле

                                                          (13)

6) для нескольких источников шума по формуле

                                                    (14)

где L и Li - октавные уровни звукового давления в дБ, создаваемые соответственно одним или отдельно рассматриваемым источником шума в расчетной точке, определяемые в соответствии с пп. 4.2 - 4.8 настоящих норм;

 - допустимый октавный уровень звукового давления в дБ в расчетной точке, определяемый в соответствии с пп. 3.4 и 3.5 настоящих норм;

n - общее количество принимаемых в расчет источников шума, определяемое в соответствии с пп. 5.4 и 5.5 настоящих норм.

5.3. Требуемое снижение октавных уровней звукового давления  в дБ в расчетной точке в помещении или на территории от нескольких источников шума, отличающихся друг от друга по октавным уровням звукового давления более чем на 10 дБ, следует определять:

а) для каждого источника шума с более высокими уровнями звукового давления по формуле

                                                 (15)

где ni - общее количество источников шума с более высокими уровнями звукового давления;

б) для каждого источника шума с более низкими уровнями звукового давления по формуле

                                       (16)

где п - общее количество принимаемых в расчет источников шума, определяемое в соответствии с пп. 5.4 и 5.5 настоящих норм.

5.4. В общее количество источников шума n при определении требуемого снижения октавных уровней звукового давления  в дБ в расчетных точках, расположенных на территории жилой застройки или на площадках промышленных предприятий, следует включать все источники шума, находящиеся на этих территориях (агрегаты, установки и т. п.), а также количество элементов ограждающих конструкций зданий и сооружений (стены или окна, покрытия и др.), ориентированных в сторону расчетных точек, через которые шум из помещения попадает в расчетную точку, а также выходные отверстия (проемы) каналов и шахт, излучающих шум в атмосферу.

При определении  в дБ для расчетных точек в помещении, защищаемом от внешних источников шума, в общее количество n принимаемых в расчет источников шума следует включать количество систем вентиляции с механическим побуждением, обслуживающих это помещение, а также количество элементов ограждающих конструкций, через которые шум проникает в помещение.

Примечание. Источники шума, находящиеся в защищаемом от шума помещении, в расчет принимать не следует, но величину  увеличивать на 5 дБ.

5.5. В общем количестве источников шума п не следует учитывать те источники шума, которые создают в расчетной точке уровни звукового давления в дБ ниже допустимых  на величину , в каждой октавной полосе. т. е. для которых выполняется соотношение

,                                                                (17)

При этом величину  в дБ следует определять по формуле

                                                               (18)

где  - количество источников шума, уровни звукового давления которых по крайней мере на 10 дБ меньше .

5.6. При определении по формуле (7) октавных уровней звукового давления  в дБ от различных источников шума для расчета требуемого снижения уровней звукового давления в дБ в расчетной точке по формулам (15) и (16) допускается расстояния до источников шума принимать одинаковыми и равными среднему арифметическому  в случаях, когда  для разных источников шума.

Для одинаковых по излучаемой мощности источников шума в этом случае достаточно рассчитать требуемое снижение уровня звукового давления для одного из источников, принимая.

Тогда требуемое снижение уровня звукового давления  в дБ будет одинаковым для всех источников шума.

5.7. Требуемое общее снижение октавных уровней звукового давления  в дБ в помещениях с источниками шума при одновременной работе всех источников шума следует определять по формуле

                                                        (19)

где  - октавный уровень звукового давления в расчетной точке от всех источников шума в дБ, определяемый в соответствии с п. 4.4 настоящих норм, заменяя L на ;

 - допустимый октавный уровень звукового давления в дБ в расчетной точке, определяемый в соответствии с пп. 3.4 и 3.5 настоящих норм.

6. ЗВУКОИЗОЛЯЦИЯ ОГРАЖДАЮЩИХ КОНСТРУКЦИЙ ЗДАНИЯ

Нормы звукоизоляции ограждающих конструкций

6.1. Нормируемыми параметрами звукоизоляции ограждающих конструкций жилых и общественных зданий, а также вспомогательных зданий и помещений промышленных предприятий являются индекс изоляции воздушного шума ограждающей конструкцией  в дБ и индекс приведенного уровня ударного шума под перекрытием  в дБ.

6.2. Индекс изоляции воздушного шума  в дБ ограждающей конструкцией с известной (рассчитанной или измеренной) частотной характеристикой изоляции воздушного шума следует определять по формуле

,                                                         (20)

где  - поправка, определяемая путем сравнения частотной характеристики изоляции воздушного шума ограждающей конструкцией с нормативной частотной характеристикой изоляции воздушного шума (рис. 6) по методике, изложенной в прил. 1.

Средние частоты 1/3 октавных полос в Гц

Рис. 6. Нормативная частотная характеристика изоляции воздушного шума ограждающей конструкцией

6.3. Индекс приведенного уровня ударного шума  в дБ под перекрытием с известной (рассчитанной или измеренной) частотной характеристикой приведенного уровня ударного шума следует определять по формуле

                                                          (21)

где  - поправка, определяемая путем сравнения частотной характеристики приведенного уровня ударного шума под перекрытием с нормативной частотной характеристикой приведенного уровня ударного шума (рис. 7) по методике, изложенной в прил. 1.

Рис. 7. Нормативная частотная характеристика приведенного уровня ударного шума под перекрытием

6.4. Нормативные индексы изоляции воздушного шума ограждающими конструкциями  в дБ и приведенного уровня ударного шума под перекрытием  в дБ жилых и общественных зданий, а также вспомогательных зданий и помещений промышленных предприятий, следует принимать по табл. 7.

Таблица 7

Наименование и расположение ограждающей конструкции

Индекс изоляции воздушного шума в дБ

Индекс приведенного уровня ударного шума  в дБ

1

2

3

Жилые здания

 

 

1. Перекрытия между помещениями квартир

50

67

2. Перекрытия между помещениями квартир и неиспользуемыми чердачными помещениями

17

-

3. Перекрытия между помещениями квартиры и подвалами, холлами и используемыми чердачными помещениями

50

67

4. Перекрытия между помещениями квартир и расположенными внизу магазинами

55

67

5. Перекрытия между помещениями квартиры и расположенными внизу ресторанами, спортивными залами, кафе и другими подобными помещениями

60

67

(50)1

6. Перекрытия между комнатами в двухэтажной квартире

41

75

7. Перекрытия, отделяющие помещения культурно-бытового обслуживания общежитий друг от друга и от помещений общего пользования (холлы, вестибюли, коридоры)

45

75

8. Стены и перегородки между квартирами, между помещениями квартиры и лестничными клетками, холлами, коридорами, вестибюлями

50

-

9. Стены между помещениями квартиры и магазинами

55

-

10. Стены между помещениями квартиры и ресторанами, спортивными залами, кафе и другими подобными помещениями

60

-

11. Перегородки без дверей между комнатами, между кухней и комнатой в квартире

41

-

12. Перегородки между комнатами и санитарным узлом одной квартиры

45

-

13. Входные двери квартир, выходящие на лестничные клетки, в холлы, вестибюли и коридоры

30

-

14. Лестничные клетки и марши

-

671

15. Стены и перегородки, отделяющие помещения культурно-бытового обслуживания общежитий друг от друга и от помещений общего пользования (холлы, вестибюли, и лестничные клетки)

45

-

Гостиницы

 

 

16. Перекрытия между номерами:

 

 

первой категории

48

70

второй »

45

72

17. Перекрытия, отделяющие номера от помещений общего пользования (вестибюли, холлы, буфеты):

50

671

для номеров первой категории

50

671

» » второй »

47

701

18. Перекрытия, отделяющие номера от ресторанов, кафе, столовых, кухонь:

 

 

для номеров первой категории

60

501

» » второй »

55

551

19. Стены и перегородки между номерами:

 

 

первой категории

48

-

второй »

45

-

20. Стены и перегородки, отделяющие номера от помещений общего пользования (лестничные клетки, вестибюли, холлы, буфеты):

 

 

для номеров первой категории

50

-

» » второй »

47

-

21. Стены и перегородки, отделяющие номера от ресторанов, кафе, столовых, кухонь:

 

 

для номеров первой категории

60

-

» » второй »

55

-

Здания управлений, партийных и общественных организаций

 

 

22. Перекрытия между рабочими комнатами, кабинетами, секретариатами и отделяющие рабочие комнаты, кабинеты, секретариаты от помещений общего пользования (вестибюли, холлы)

45

75

23. Перекрытия, отделяющие рабочие комнаты, кабинеты от рабочих не защищаемых от шума помещений (машбюро, телетайпные залы и т.п.)

49

70

24. Стены и перегородки между рабочими комнатами

40

-

25. Стены и перегородки, отделяющие рабочие комнаты, секретариаты от помещений общего пользования (лестничные клетки, вестибюли, холлы) и рабочих не защищаемых от шума помещений

45

-

26. Стены и перегородки, отделяющие кабинеты от рабочих, не защищаемых от шума помещений и помещений общего пользования

49

-

Больницы и санатории

 

 

27. Перекрытия между палатами, кабинетами врачей

45

70

28. Перекрытия между операционными и отделяющие операционные от палат и кабинетов

60

70

29. Перекрытия, отделяющие палаты, кабинеты врачей от помещений общего пользования (вестибюлей, холлов)

50

70

30. Перекрытия, отделяющие палаты, кабинеты от столовых, кухонь

60

501

31. Стены и перегородки между палатами, кабинетами врачей

45

-

32. Стены и перегородки между операционными и отделяющие операционные от других помещений.

Стены и перегородки, отделяющие палаты и кабинеты от столовых, кухонь.

60

-

33. Стены и перегородки, отделяющие палаты, кабинеты от помещений общего пользования (лестничные клетки, вестибюли, холлы)

50

-

Школы и другие учебные заведения

 

 

34. Перекрытия между классными помещениями, учебными кабинетами и аудиториями и отделяющие классные помещения, учебные кабинеты и аудитории от помещений общего пользования (коридоры, вестибюли, холлы)

45

70

35. Перекрытия между музыкальными классами средних учебных заведений

55

65

36. Перекрытия между музыкальными классами высших учебных заведений

60

60

37. Стены и перегородки между классными помещениями, учебными кабинетами и аудиториями и отделяющие классные помещения, учебные кабинеты и аудитории от помещений общего пользования (лестничные клетки, вестибюли, холлы, рекреации)

45

-

38. Стены и перегородки между музыкальными классами средних учебных заведений и отделяющие их от помещений общего пользования (лестничные клетки, вестибюли, холлы, рекреации)

55

-

39. Стены и перегородки между музыкальными классами высших учебных заведений

60

-

Детские ясли-сады

 

 

40. Перекрытия между групповыми комнатами, спальнями и между другими детскими комнатами

45

70

41. Перекрытия, отделяющие групповые комнаты, спальни от кухонь

49

70

42. Стены и перегородки между групповыми комнатами, спальнями и между другими детскими комнатами

45

-

43. Стены и перегородки, отделяющие групповые комнаты, спальни от кухонь

49

-

Вспомогательные здания и помещения промышленных предприятий

 

 

44. Перекрытия между помещениями для отдыха, учебных занятий, здравпунктами, рабочими комнатами управлений и конструкторских бюро, кабинетами, помещениями общественных организаций и отделяющие эти помещения от помещений общего пользования (вестибюлей, гардеробных)

45

75

45. Перекрытия между помещениями лабораторий, красных уголков, залами для собраний, столовыми и отделяющие эти помещения от помещений, указанных в поз. 44 настоящей таблицы

49

70

46. Стены и перегородки между рабочими комнатами управлений и конструкторских бюро, кабинетами, помещениями общественных организаций

40

-

47. Стены и перегородки между помещениями для отдыха, учебных занятий, здравпунктами, отделяющие эти помещения от рабочих комнат управлений и конструкторских бюро, кабинетов, помещений общественных организаций и отделяющие все эти помещения (вестибюли, гардеробные, лестничные клетки)

45

-

48. Стены и перегородки между помещениями лабораторий, красных уголков, залами для собраний, столовыми и отделяющие эти помещения от помещений, указанных в поз. 44 настоящей таблицы

49

-

1 Требование следует предъявлять к передаче ударного шума в помещении, защищаемого от шума при ударном воздействии на пол не защищаемого от шума помещения.

Примечание. Значения индексов изоляции воздушного шума ограждающими конструкциями и приведенного уровня ударного шума под перекрытиями для жилых комнат общежитий следует принимать те же, что и для ограждающих конструкций квартир в жилых домах.

6.5. Нормируемыми параметрами звукоизоляции ограждающих конструкций производственных зданий, а также ограждающих конструкций, отделяющих защищаемые от шума помещения от помещений с источниками шума, нехарактерными для помещений, перечисленных в табл. 7 в других зданиях различного назначения, являются величины изоляции воздушного шума  в дБ в октавных полосах частот со среднегеометрическими частотами 63, 125, 250, 500, 1000, 2000, 4000 и 8000 Гц.

6.6. Требуемую изоляцию воздушного шума  в дБ ограждающей конструкцией в октавной полосе частот следует определять:

а) при проникновении шума из одного помещения в другое по формуле

                                     (22)

где  - октавный уровень звукового давления в незащищаемом от шума помещении в дБ, определяемый по формулам (3) или (6), заменяя L на ;

Вп - постоянная защищаемого от шума помещения в м2, определяемая в соответствии с п. 4.3 настоящих норм, заменяя B на Вп.

Si - площадь ограждающей конструкции (или отдельного ее элемента), через которую проникает шум в защищаемое от шума помещение, в м2;

 - допустимый октавный уровень звукового давления в дБ в защищаемом от шума помещении, определяемый согласно пп. 3.4 и 3.5 настоящих норм;

п - общее количество ограждающих конструкций или их элементов, через которые проникает шум;

б) при проникновении шума из помещений на прилегающую территорию (в атмосферу) по формуле

                              (23)

где  - допустимый октавный уровень звукового давления в дБ на прилегающей территории, определяемый согласно пп. 3.4 и 3.5 настоящих норм;

 и п - то же, что в формуле (22);

Si - площадь рассматриваемой ограждающей конструкции (или отдельного ее элемента), через которую проникает шум, в м2;

 - расстояние от ограждающей конструкции или ее элемента до расчетной точки в м;

в) при проникновении шума с прилегающей территории в помещение по формуле

                                                                        (24)

где  - суммарный октавный уровень звукового давления в дБ от всех источников шума в 2 м от рассматриваемой ограждающей конструкции, определяемый по табл. 5, причем  от каждого отдельного источника шума следует определять по формуле (7), заменяя L на .

Остальные обозначения те же, что в формуле (22).

Расчет звукоизоляции ограждающих конструкций

6.7. Расчет звукоизоляции должен производиться при проектировании новых ограждающих конструкций. Окончательная оценка звукоизоляции ограждающих конструкций новых типовых проектов зданий должна даваться на основании натурных испытаний ограждающих конструкций экспериментальных зданий.

6.8. Частотную характеристику изоляции воздушного шума однослойной плоской ограждающей конструкцией поверхностной плотностью от 100 до 1000 кг/м2 из бетона, железобетона, кирпича, керамических блоков и тому подобных материалов следует определять графическим способом, изображая ее в виде ломаной линии, аналогичной ломаной линии АBCD на рис. 8. Координаты точки В (и ) частотной характеристики следует определять по графикам на рис. 9,  - в зависимости от толщины h в м ограждающей конструкции (рис. 9, а) и  - в зависимости от поверхностной плотности т в кг/м2 ограждающей конструкции (рис. 9. б).

Примечание. Построение частотной характеристики изоляции воздушного шума производится следующим образом: из точки В влево проводится горизонтальный отрезок АВ, а от точки В вправо проводится отрезок ВС с наклоном 7,5 дБ на октаву до точки С с ординатой =60 дБ, из точки С вправо проводится горизонтальный отрезок CD.

6.9. Индекс изоляции воздушного шума  в дБ ограждающей конструкцией следует определять на основании рассчитанной частотной характеристики изоляции воздушного шума в соответствии с п 6.2 настоящих норм.

Частота  в Гц

Рис. 8. Частотная характеристика изоляции воздушного шума однослойным плоским ограждением

Рис. 9. График для определения координат точки В

Объемный вес в кг/м3:

1800 кг/м3

1600 кг/м3

1400 кг/м3

1200 кг/м3

При ориентировочных расчетах индекс изоляции воздушного шума однослойными ограждающими конструкциями из материалов, указанных в п. 6.8 настоящих норм, допускается определять по формулам:

 дБ при  кг/м2;                                                       (25)

 дБ при  кг/м2,                                 (26)

где  - эквивалентная поверхностная плотность в кг/м2;

m - поверхностная плотность в кг/м2 (для ребристых плит принимается без учета ребер);

К - коэффициент:

для сплошной ограждающей конструкции плотностью более 1800 кг/м3 К = 1;

для ограждающих конструкций плотностью 1200 - 1300 кг/м3 из бетонов на гипсовом вяжущем К = 1,25;

для ограждающих конструкций из железобетона и бетона с круглыми пустотами плотностью более 1800 кг/м3 коэффициент К следует определять по формуле

                                                         (27)

где  - момент инерции сечения в м2;

b - ширина рассматриваемого сечения в м;

 - приведенная толщина сечения в м;

для ограждающих конструкций из бетонов на пористых наполнителях и цементном вяжущем коэффициент К следует определять по формуле

                                                           (28)

где Е - модуль упругости материала в кгс/м2;

 - плотность материала в кг/м3.

6.10. Частотную характеристику изоляции воздушного шума в дБ однослойной плоской тонкой ограждающей конструкцией из металла, стекла и тому подобных материалов следует определять графическим способом, изображая ее в виде ломаной линии, построенной аналогично ломаной линии АВСD на рис. 10.

Рис. 10 Частотная характеристика изоляции воздушного шума однослойным плоским ограждением из металла или стекла

Координаты точек В и С следует определять по табл. 8. Наклон отрезка ВА на графике следует принимать равным 5 дБ на каждую октаву для глухих однослойных ограждающих конструкций из органического и силикатного стекла и 4 дБ на каждую октаву для ограждающих конструкций из других материалов.

Таблица 8

Материал

Сталь

6000

h

12000

h

39

31

Алюминиевые сплавы

6000

h

12000

h

32

22

Стекло силикатное

6000

h

12000

h

35

29

Стекло органическое

17000

h

34000

h

37

30

Асбестоцементные плиты

11000

h

22000

h

36

30

Сухая штукатурка

19000

h

38000

h

36

30

Примечание. h - толщина ограждения (без учета ребер) в мм.

6.11. Частотную характеристику изоляции воздушного шума в дБ цилиндрической стальной оболочкой при излучении шума внутри оболочки следует определять графическим способом в виде ломаной линии, аналогичной ломаной линии АВСD, указанной на рис. 11.

Рис. 11. Частотная характеристика изоляции воздушного шума стальной цилиндрической оболочкой

Координаты точек В и С следует определять по формулам:

                                                                (29)

;                                                              (30)

                                                                 (31)

                                                                      (32)

где D - диаметр оболочки в мм;

h - толщина оболочки в мм.

6.12. Частотную характеристику изоляции воздушного шума стеной с плитами (сухой штукатуркой, древесноволокнистыми или древесностружечными плитами и т. п.) на относе с двух сторон в жилых и общественных зданиях следует определять путем прибавления к значениям частотной характеристики изоляции воздушного шума стеной, рассчитанной в соответствии с п. 6.8 настоящих норм, поправки , определяемой по графику на рис. 12 в зависимости от величины т, рассчитанной по формуле

Рис. 12. График для определения повышения изоляции воздушного шума стеной при устройстве плит (сухой штукатурки, древесноволокнистых плит и т.п.) на относе с обеих сторон стены

_________ - перекрытие с полом на звукоизоляционном слое;

- - - - - - - - - - перекрытие без пола на звукоизоляционном слое

                                                                 (33)

и величины , рассчитанной по формуле

                                                      (34)

где  - поверхностная плотность несущей части перекрытия в кг/м2;

 - поверхностная плотность поперечной стены или перегородки в кг/м2;

 - скорости продольных волн соответственно в несущей части перекрытия и поперечной стене или перегородке в м/с, принимаемые по табл. 9;

 - толщины соответственно несущей части перекрытия и поперечной стены или перегородки в м.

Таблица 9

Материал

Скорость продольных волн в м/с

Тяжелый бетон

3700

Облегченный и легкий бетон

3500

Кирпичная кладка

2300

При устройстве указанной плиты на относе с одной стороны стены величины следует принимать равными  значений , определяемых по рис. 12.

6.13. Частотную характеристику изоляции воздушного шума двойным глухим остеклением при одинаковой толщине стекол следует определять путем прибавления величины 5+ к значениям частотной характеристики изоляции воздушного шума, построенной согласно п. 6.10 настоящих норм для одного стекла.

Величину  следует определять по графику на рис. 13 в зависимости от размера воздушного промежутка между стеклами и частоты резонанса  в Гц, определяемой по формуле

                                                            (35)

где  - поверхностные плотности стекол в кг/м2;

d - размер воздушного промежутка в м.

Частотную характеристику изоляции воздушного шума двойным глухим остеклением при разной толщине стекол (отношение толщин 0,4-0,8) следует определять путем прибавления величины + к значениям частотной характеристики изоляции воздушного шума, построенной аналогично указанной на рис. 14.

Координаты точек В и С следует определять по формулам:

                                                                    (36)

                                                                  (37)

при этом =35 дБ,

где  и  - толщины стекол в мм (>).

Величину  следует определять по графику на рис. 13.

Рис. 13. График для определения повышения изоляции воздушного шума двойным глухим остеклением в зависимости от толщины воздушного промежутка

Рис. 14. Частотная характеристика изоляции воздушного шума двойным глухим остеклением при разной толщине стекол

Величина  составляет 3 дБ при = 0,4 - 0,5 и 4 дБ при = 0,6 - 0,8.

6.14. Индекс изоляции воздушного шума  в дБ междуэтажным перекрытием с звукоизоляционным слоем следует определять по табл. 10 в зависимости от величины индекса изоляции воздушного шума плитой перекрытия , определенного в соответствии с пп. 6.8 и 6.9 настоящих норм (подставляя  вместо), и частоты резонанса  в Гц, определяемой по формуле

                                                   (38)

где  - динамический модуль упругости материала звукоизоляционного слоя в кгс/м2, принимаемый по табл. 11;

 -  поверхностная плотность плиты перекрытия в кг/м2;

 -  поверхностная плотность конструкций пола выше звукоизоляционного слоя (без звукоизоляционного слоя) в кг/м2;,

 -   толщина звукоизоляционного слоя в обжатом состоянии в м, определяемая по формуле

                                                      (39)

где  - толщина звукоизоляционного слоя в необжатом состоянии в м;

 -   относительное сжатие материала звукоизоляционного слоя под нагрузкой, принимаемое по табл. 11.

Таблица 10

Конструкция пола

 в Гц

Индекс изоляции воздушного шума перекрытием  в дБ, при индексе изоляции воздушного шума плитой перекрытия  в дБ

41

44

47

50

53

1. Деревянные полы по лагам, уложенным на звукоизоляционный слой (в виде ленточных прокладок) с динамическим модулем упругости 5·104-12·104 кгс/м2, при расстоянии между полом и плитой перекрытия 60-70 мм

150

220

350

500

51

48

46

41

52

50

47

46

53

51

49

48

54

52

51

50

55

54

53

52

2. Покрытие пола на монолитной стяжке или сборных плитах с поверхностной плотностью 60-120 кг/м2 по звукоизоляционному слою с динамическим модулем упругости 3·104-10·104 кгс/м2, толщиной до 20-25 мм в обжатом состоянии

100

150

220

50

48

45

51

49

47

52

51

49

53

52

51

54

53

53

3. То же, по звукоизоляционному слою из песка или шлака с динамическим модулем упругости 8·105-13 105 кгс/м2, толщиной 50-60 мм

220

350

500

50

47

45

51

49

47

52

50

49

53

52

51

54

53

53

Примечания: 1. При увеличении толщины прокладки до 40 мм в обжатом состоянии следует к величине  прибавлять 1 дБ.

2. При увеличении толщины засыпки до 90- 100 мм следует к величине  прибавлять 1 дБ.

6.15. Индекс приведенного уровня ударного шума  в дБ под междуэтажным перекрытием с полом на звукоизоляционном слое следует определять по табл. 12 в зависимости от величины индекса приведенного уровня ударного шума плиты перекрытия , определенной по табл. 13, и частоты колебаний пола, лежащего на звукоизоляционном слое,  в Гц, определяемой по формуле

                                                          (40)

где  -     динамический модуль упругости звукоизоляционного слоя в кгс/м2, принимаемый по табл. 11;

 - толщина звукоизоляционного слоя в обжатом состоянии в м, определяемая по формуле (39);

 - поверхностная плотность пола (без звукоизоляционного слоя) в кг/м2.

6.16. Индекс изоляции воздушного шума  в дБ междуэтажным перекрытием без звукоизоляционного слоя с полом из рулонных материалов следует определять в соответствии с пп. 6.8 и 6.9 настоящих норм, принимая при этом величину т равной поверхностной плотности плиты перекрытия (без рулонного пола).

Если в качестве покрытия чистого пола принят поливинихлоридный линолеум на теплозвукоизоляционной подоснове (ГОСТ 18108-72), то рассчитанную величину индекса изоляции воздушного шума междуэтажным перекрытием следует уменьшать на 1 дБ.

6.17. Индекс приведенного уровня ударного шума  в дБ под перекрытием без звукоизоляционного слоя с полом из рулонных материалов следует определять по формуле

                                                       (41)

где  - индекс приведенного уровня ударного шума для плиты перекрытия в дБ, принимаемый по табл. 13;

 - величина в дБ, принимаемая по табл. 14.

Таблица 11

Материал

Плотность в кг/м2

Динамический модуль упругости  в кгс/м2 и относительное сжатие  материала звукоизоляционного слоя при нагрузке на звукоизоляционный слой в кгс/м2

250

500

1000

1. Плиты теплоизоляционные из минеральной ваты на синтетическом связующем по ГОСТ 9573-72*:

 

 

 

 

 

 

 

полужесткие

100-125

4,5·104

0,5

5,5·104

0,55

7·104

0,7

жесткие

126-150

5·104

0,45

6·104

0,5

8·104

0,6

2. Плиты минераловатные на синтетическом связующем по ТУ 21-24-52-73 Минстройматериалов СССР:

 

 

 

 

 

 

 

полужесткие

70-90

3,6·104

0,5

4,5·104

0,55

5,6·104

0,65

жесткие

95-110

4·104

0,4

5·104

0,45

6·104

0,55

3. Маты минераловатные прошивные по ТУ 21-24-51-73

75-125

4·104

0,65

5·104

0,7

-

-

Тоже

126-175

5·104

0,5

6,5·104

0,55

-

-

 

176-225

6·104

0,45

7·104

0,5

-

-

4. Плиты древесноволокнистые мягкие по ГОСТ 4598-74*

250

10·104

0,1

11·104

0,1

12·104

0,15

5. Шлак крупностью до 15 мм

500-800

80·104

0,08

90·104

0,09

-

-

6. Песок прокаленный

1300-1500

120·104

0,03

130·104

0,04

-

-

Примечание. Для нагрузок на звукоизоляционный слой, не указанных в настоящей таблице, следует величины  и  принимать по линейной интерполяции в зависимости от фактической нагрузки.

 

Таблица 12

Конструкция пола

,

в Гц

Индексы приведенного уровня ударного шума под перекрытием  в дБ при индексе приведенного уровня ударного шума плиты перекрытия  в дБ

91

88

86

84

82

80

1. Деревянные полы по лагам, уложенным на звукоизоляционный слой (в виде ленточных прокладок) с динамическим модулем упругости 5·104 - 12·104 кгс/м2, при расстоянии между полом и плитой перекрытия 60 - 70 мм

150

220

350

66

68

71

65

67

69

63

65

67

62

64

66

61

62

64

61

61

63

2. Покрытие пола на монолитной стяжке или сборных плитах с поверхностной плотностью 60 кг/м2 по звукоизоляционному слою с динамическим модулем упругости 3·104 - 10·104 кгс/м2

60

100

150

200

68

70

75

77

65

67

72

75

63

65

70

73

61

64

68

71

58

63

67

69

56

62

65

67

3. То же, по звукоизоляционному слою из песка или шлака с динамическим модулем упругости 8·105 - 13·105 кгс/м2

150

250

350

69

74

78

67

72

76

65

70

74

64

68

73

62

67

71

61

66

70

4. Покрытие пола на монолитной стяжке или сборных плитах с поверхностной плотностью 120 кг/м2 по звукоизоляционному слою с динамическим модулем упругости 3·104 - 10·104 кгс/м2

60

100

150

200

66

70

74

75

63

67

71

72

61

65

69

71

59

64

67

69

57

62

65

67

55

60

63

65

5. То же, по звукоизоляционному слою из песка или шлака с динамическим модулем упругости 8·105 - 13·105 кгс/м2

150

250

350

68

72

76

65

70

74

63

68

72

62

66

71

60

65

69

59

64

68

Примечание. При поверхностной плотности монолитной стяжки или сборной плиты пола между 60 и 120 кг/м2 индексы  следует определять по линейной интерполяции, округляя их значения до целого числа.

Таблица 13

Перекрытия

Поверхностная плотность плиты перекрытия в кг/м2

Значения  в дБ

1. Со сплошными и многопустотными плитами

150

91

200

88

250

86

300

84

350

82

450

80

2. С раздельными потолками

150

88

200

84

250

82

300

80

Проектирование ограждающих конструкций (стен, перегородок, перекрытий, дверей, ворот и окон)

6.18. При проектировании ограждающих конструкций, предназначенных для защиты от шума, следует принимать наиболее эффективные по изоляции воздушного шума конструкции - однослойные с пустотами или из бетонов на пористых заполнителях и ячеистых бетонов, или однослойные конструкции с тонкой облицовкой толщиной не более 1,5 см (сухая штукатурка и другие подобные материалы) с воздушным промежутком не менее 4 см.

6.19. Полы должны применяться следующих конструкций:

а) с покрытием из штучного паркета, линолеума, релина и других подобных материалов по сплошному основанию с звукоизоляционным слоем или по засыпке, указанным в табл. 12;

б) с покрытием из рулонных материалов (в этом случае изоляция воздушного шума перекрытием должна обеспечиваться плитой перекрытия);

в) с покрытием из досок, древесностружечных плит, паркетных досок на лагах и с звукоизоляционным слоем (в виде ленточных прокладок).

Таблица 14

Покрытие пола

Толщина в мм

 в дБ

1. Теплозвукоизоляционный поливинилхлоридный линолеум на основе из лубяных волокон

5,5

22

2. То же

3,5

16

3. Поливинилхлоридный линолеум с подосновой из нитрона

3,6

19

4. То же

5,1

25

5. Теплозвукоизоляционный линолеум на иглопробивной латексированной основе из лубяных волокон, горячее дублирование

3,8

18

6. Теплозвукоизоляционный линолеум на иглопробивной основе из вторичных отходов с защитным синтетическим слоем, горячее дублирование

4,5

22

7. Теплозвукоизоляционный линолеум на иглопробивной основе из поливинилхлоридных волокон, холодное ду6лирование

3,7

20

8. Дублированный теплозвукоизоляционный линолеум на вязально-прошивной подкладке

3,7

16

9. Двухслойный релин на войлочной подоснове

3,7

16

10. Ворсолин беспетлевой на вязально-прошивной подкладке

4,5

20

11. Ворсолин беспетлевой с рифленой поверхностью

4,2

19

6.20. При проектировании перекрытий с полом, уложенным по звукоизоляционному слою в виде ленточных или штучных (отдельных) прокладок, следует:

а) ширину ленточных или штучных прокладок принимать на 5 см больше ширины лаги;

б) площадь или длину прокладок принимать такой, чтобы напряжение в прокладке при эксплуатационной нагрузке не превышало 1000 кгс/м2.

6.21. При проектировании перекрытий с полом, уложенным по звукоизоляционному слою, следует предусматривать зазор шириной не менее 2 см между полом (стяжкой или плитой пола) и примыкающими стенами и перегородками, заполненный звукоизоляционным материалом.

Крепление плинтусов или галтелей следует предусматривать только к полу или только к стене (перегородке).

6.22. В двойных стенах жесткие связи между элементами должны предусматриваться по контуру ограждающей конструкции.

Размер воздушного промежутка между конструкциями следует принимать не менее 4 см.

Индекс изоляции воздушного шума двойной стеной или перегородкой, состоящей из одинаковых панелей, на 9 дБ выше индекса изоляции воздушного шума одной панелью этой стены.

6.23. Элементы ограждающих конструкций следует проектировать из материалов, не имеющих сквозных пор. Для элементов конструкции из материалов со сквозной пористостью следует предусматривать наружный слой из плотного бетона или раствора толщиной не менее 2 см.

6.24. Стыки между внутренними ограждающими конструкциями должны тщательно заделываться бетоном или раствором.

6.25. При проектировании скрытой электропроводки следует, как правило, применять прокладки, не требующие устройства сквозных отверстий в ограждающих конструкциях. В случае наличия сквозных отверстий для электропроводки следует предусматривать заглушки, плотно закрывающие эти отверстия.

6.26. Повышение изоляции воздушного шума дверьми и воротами может быть достигнуто увеличением поверхностной плотности полотна двери или ворот, плотной пригонкой полотна к коробке, а также за счет устранения щели между дверью или воротами и полом при помощи порога с уплотняющими прокладками или фартука из прорезиненной ткани или резины, а также применением уплотняющих прокладок в притворах дверей и ворот.

Необходимо предусматривать устройства, обеспечивающие плотный прижим двери или ворот к коробке и закрытии замочных скважин. Следует тщательно заделывать щели и неплотности между коробкой двери или ворот и примыкающим ограждением.

Допускается проектирование двойных дверей или ворот с тамбуром, стены в котором облицованы звукопоглощающим материалом.

6.27. Повышение изоляции воздушного шума окнами может быть достигнуто увеличением толщины стекол, увеличением толщины воздушного промежутка между стеклами, уплотнением притворов переплетов, закреплением стекол в переплетах с помощью упругих прокладок, применением запорных устройств, обеспечивающих плотное закрывание окон.

6.28. При проектировании ограждающих конструкций, пересекаемых трубопроводами, необходимо обеспечивать требуемую звукоизоляцию и предусматривать меры по предотвращению снижения звукоизоляции образуемыми щелями, отверстиями и неплотностями.

В стенах, перегородках и перекрытиях жилых, общественных и вспомогательных зданий в местах пересечения их трубопроводами необходимо предусматривать гильзы, а пространство между трубой и гильзой заполнять вязкоупругим материалом. В стенах, перегородках и перекрытиях производственных зданий следует предусматривать устройство проемов в местах пересечения конструкций коммуникациями площадью, в полтора-два раза большей площади сечения пересекающей ограждение коммуникации, с последующим заполнением пространства между ограждающей конструкцией и коммуникациями звукопоглощающим или вязкоупругим материалом, который следует закрывать с двух сторон крышками из дерева, металла и других материалов.

Если ограждающие конструкции пересекаются токопроводящими коммуникациями, то заполнение пространства между ограждающими конструкциями и коммуникациями должно предусматриваться электроизолирующим вязкоупругим материалом (кабельная масса и т.п.).

6.29. В конструкциях стен, перегородок и перекрытий следует предусматривать устройство проемов в местах пересечения конструкций несколькими коммуникациями, которые следует объединять в пакеты и коллекторы, а также заделку проемов одновременно с возведением этих ограждающих конструкций.

Присоединение трубопроводов к коллекторам следует предусматривать через гибкие вставки или виброизолирующие прокладки во фланцах.

6.30. При пересечении трубами двойных стен, перекрытий с раздельным полом или с раздельным потолком, трубы и другие коммуникации не должны создавать жесткой связи между элементами конструкции. Необходимо предусматривать отделение труб и других коммуникаций от конструкций раздельного пола, раздельного потолка, одного из элементов двойной стены прокладками из вязкоупругого материала.

Звукоизоляция ограждающих конструкций кабин наблюдения, дистанционного управления, укрытий, кожухов

6.31. Требуемую частотную характеристику изоляции воздушного шума  в дБ ограждающими конструкциями кабин наблюдения, дистанционного управления и укрытий следует определять по формуле (22).

Кабины и укрытия следует предусматривать герметичными и со звукопоглощающей облицовкой внутренних поверхностей ограждающих конструкций.

6.32. Кожухи должны полностью закрывать агрегаты, машины, оборудование (как это позволяет технологический процесс и условия эксплуатации оборудования). Кожухи следует проектировать съемными или разборными, со смотровыми окнами, открывающимися дверцами, а также проемами для ввода различных коммуникаций. Кожухи следует проектировать из листовых несгораемых или трудносгораемых материалов. На внутренних поверхностях стенок кожухов следует предусматривать облицовку из звукопоглощающего материала, а в случаях, когда происходит передача вибраций от механизма на кожух, следует предусматривать покрытие стенок кожуха вибродемпфирующим материалом. Толщина вибродемпфирующего покрытия должна предусматриваться в два-три раза большей толщины стенки кожуха. При устройстве кожуха к машине, для работы которой требуется циркуляция воздуха через машину, в кожухе необходимо предусматривать каналы для прохода воздуха с глушителями.

6.33. Требуемую частотную характеристику изоляции воздушного шума  в дБ стенками кожуха следует определять по формуле

                                       (42)

где L -   октавный уровень звукового давления в расчетной точке в дБ, определяемый в соответствии с разделом 4 настоящих норм;

 -  допустимый октавный уровень звукового давления в расчетной точке в дБ, определяемый в соответствии с пп. 3.4 и 3.5 настоящих норм;

 -  реверберационный коэффициент звукопоглощения предусмотренной облицовки внутренних поверхностей кожуха, определяемый по табл. 1 прил. 2.

6.34. Частичную характеристику изоляции воздушного шума в дБ стенками кожуха допускается определять по методике, изложенной в п. 6.10 настоящих норм для плоских и в п. 6.11 настоящих норм - для цилиндрических стенок.

Если кожух имеет форму полуцилиндра, то вводимую в расчет величину диаметра следует увеличить в 1,5 раза.

В отверстиях в стенках кожуха должны предусматриваться щелевые глушители, обеспечивающие снижение шума не ниже требуемой изоляции воздушного шума стенок кожуха . Ширину щели в таких глушителях следует принимать 20-40 мм при двухсторонней и 10-20 мм при односторонней звукопоглощающей облицовке щели. Толщину звукопоглощающей облицовки щелевых глушителей следует принимать не менее 50 мм. Длину глушителей следует принимать 0,5 - 1 м.

Установку кожухов следует предусматривать на полу на резиновых прокладках; соприкосновения элементов кожуха с агрегатом или машиной не допускаются.

7. ЗВУКОПОГЛОЩАЮЩИЕ КОНСТРУКЦИИ И ЭКРАНЫ

Область применения

7.1. Звукопоглощающие конструкции (облицовки поверхностей ограждающих конструкций или штучные звукопоглотители) следует применять для снижения уровня звукового давления на рабочих местах и местах постоянного пребывания людей в производственных и общественных зданиях.

7.2. Звукопоглощающую облицовку следует размещать на потолке и стенах помещений. Площадь облицовки следует определять расчетом.

7.3. Штучные звукопоглотители следует применять, если полученная в результате расчета площадь облицовки недостаточна для достижения требуемого по расчету снижения уровня звукового давления, а также вместо облицовки потолка и над отдельными источниками шума.

7.4. Экраны, устанавливаемые между источником шума и защищаемым от шума местом, следует применять для снижения уровней звукового давления на рабочих местах в производственных и общественных зданиях и местах постоянного пребывания людей, а также в селитебной зоне городов и других населенных пунктов.

Примечание. В селитебной зоне городов и других населенных пунктов экраны следует применять в соответствии с указаниями раздела 10 настоящих норм.

Звукопоглощающие конструкции

7.5. Звукопоглощающие конструкции следует применять, когда требуемое снижение уровня звукового давления  в дБ, определенное в соответствии с п. 5.2 настоящих норм в расчетных точках в отраженном звуковом поле превышает 3 дБ не менее чем в трех октавных полосах или превышает 5 дБ хотя бы в одной из октавных полос. В расчетных точках, выбранных на рабочих местах, требуемое снижение уровня звукового давления  в этих же случаях должно превышать соответственно не менее 1 или 3 дБ.

При этом необходимое снижение уровня звукового давления может быть обеспечено только применением звукопоглощающих конструкций, если в расчетных точках в отраженном звуковом поле  не превышает 10-12 дБ, а в расчетных точках на рабочих местах - 4-5 дБ.

7.6. Если полученные в результате расчета значения  в дБ окажутся выше указанных в п. 7.5 настоящих норм, то для снижения уровня звукового давления помимо звукопоглощающих конструкций необходимо предусматривать применение дополнительных средств защиты от шума, например экранов.

7.7. Величину максимального снижения уровня звукового давления  в дБ в каждой октавной полосе при применении звукопоглощающих конструкций в расчетной точке, расположенной в зоне отраженного звука, следует определять по формуле

                                                          (43)

где В - постоянная помещения в м2, определяемая в соответствии с п. 4.3 настоящих норм;

* -  постоянная помещения в м2 после установки в нем звукопоглощающих конструкций, определяемая согласно требованиям п. 7.8 настоящих норм;

 -  коэффициенты, определяемые по графику на рис. 3, соответственно до и после устройства звукопоглощающих конструкций.

Рис. 15. Номограммы для расчета по известным величинам

7.8. Постоянную помещения  в м2 следует определять по формуле

                                                         (44)

где А1 -  величина звукопоглощения ограждающих конструкций помещения в м2, на которых нет звукопоглощающей облицовки, определяемая по формуле

                                                 (45)

 -   средний коэффициент звукопоглощения помещения до устройства звукопоглощающей облицовки, определяемый по формуле

                                                          (46)

 - общая площадь ограждающих конструкций помещения в м2;

 - площадь звукопоглощающей облицовки в м2;

 - величина звукопоглощающей облицовки звукопоглощающими конструкциями, определяемая по формуле

                                              (47)

 -  реверберационный коэффициент звукопоглощения выбранной конструкции облицовки в октавной полосе частот, определяемый по прил. 2;

 - величина звукопоглощения штучного звукопоглотителя в м2, определяемая по прил. 2;

 - количество штучных звукопоглотителей;

 - средний коэффициент звукопоглощения помещения со звукопоглощающими конструкциями, определяемый по формуле

                                                         (48)

Обозначения величин те же, что и в формулах (45) и (47).

7.9. Площадь звукопоглощающей облицовки  в м2 следует определять по формуле

                                                           (49)

где  - величина требуемого звукопоглощения, обеспечивающего заданное снижение уровня звукового давления и определяемая по номограмме на рис. 15 (среднему коэффициенту звукопоглощения  (формула 46), величине требуемого снижения уровня звукового давления  в дБ и общей площади  в м2 ограждающих конструкций помещения).

Если в результате расчета площадь звукопоглощающей облицовки  окажется больше площади, возможной для облицовки в данном помещении, то  следует принять максимально возможной, а дополнительное звукопоглощение следует обеспечить применением штучных звукопоглотителей, количество  которых для каждой октавной полосы следует определять по формуле

                                            (50)

Примечание. Количество штучных звукопоглотителей  в проекте следует принимать наибольшим из значений, полученных расчетом для всех октавных полос.

7.10. Количество штучных звукопоглотителей  в случае их применения вместо звукопоглощающей облицовки потолка и стен следует определять по формуле

                                                       (51)

Обозначения те же, что и в формуле (50).

7.11. Штучные звукопоглотители следует размещать в объеме помещения на расстояниях друг от друга и от ограждающих конструкций помещения, указанных в табл. 2 прил. 2.

Экраны

7.12. Экраны следует применять для снижения уровня звукового давления на рабочих местах и в местах постоянного пребывания людей от источников шума, создающих уровни звукового давления L в дБ в расчетных точках, превышающие допустимые  в дБ не менее чем на 10 дБ и не более чем на 20 дБ.

Экраны следует применять только в сочетании со звукопоглощающей облицовкой помещения.

7.13. Экраны следует изготовлять из сплошных твердых или щитов, облицованных звукопоглощающим материалом поверхности, обращенной к источнику шума. В качестве звукопоглощающего материала следует применять материалы, указанные в табл. 1 прил. 2. Толщина слоя звукопоглощающего материала должна составлять не менее 50-60 мм.

7.14. Величину снижения уровня звукового давления  в дБ в расчетной точке при установке экранов следует определять в каждой октавной полосе по формуле

                      (52)

где  - октавный уровень звукового давления в дБ в расчетной точке от источника шума, для которого предусматривается установка экрана, определяемый по формуле (2), заменяя в ней  на ; - октавный уровень звуковой мощности источника шума в дБ, для которого предусматривается установка экрана;

 - октавный уровень звуковой мощности в дБ каждого из источников шума в помещении;

В -     постоянная помещения в м2, определяемая в соответствии с п. 4.3 настоящих норм;

 -  постоянная помещения в м2 после устройства в нем звукопоглощающих конструкций и экранов, определяемая в соответствии с п. 7.15 настоящих норм;

 -  снижение экраном октавного уровня звукового давления в дБ в расчетной точке за экраном, определяемое в соответствии с п. 7.17 настоящих норм;

 -   коэффициенты соответственно до и после устройства звукопоглощающих конструкций и экранов, определяемые по графику на рис. 3;

n -   общее количество источников шума в помещении.

7.15. Постоянную помещения в м2 следует определять по формуле

                                            (53)

где  - величина дополнительного звукопоглощения экраном в м2, определяемая по формуле

                                              (54)

 -   площадь k-го экрана в м2 (при двухсторонней облицовке экрана ее следует увеличивать в 1,5 раза);

т -    общее количество экранов, установленных в помещении;

 -     средний коэффициент звукопоглощения помещения, определяемый по формуле

                                            (55)

 - то же, что в формулах (45) и (47).

7.16. Размеры экрана - высоту Н и ширину , расстояние от источника шума до экрана  и от экрана до расчетной точки  в м следует принимать в соответствии с рис. 16 и табл. 15 и 16.

Линейные размеры экрана должны быть не менее чем в три раза больше линейных размеров источников шума.

7.17. Величину снижения экраном октавного уровня звукового давления  в дБ следует определять при  = 0,5 м для экрана типа «а» по табл. 15, а для экрана типа «б» по табл. 16 в зависимости от типоразмеров экрана и взаимного размещения источника шума, экрана и расчетной точки (рис. 16).

Величины  в дБ для каждой октавной полосы допускается определять также и по графику на рис. 17. При этом для экрана П-образной формы (тип «б») следует принимать приведенную ширину экрана  в м вместо  экрана типа «а», полагая .

Таблица 15

Размеры экрана и координаты расчетной точки в м

Снижение уровня звукового давления экраном  в дБ при среднегеометрических частотах октавных полос в Гц

H

h

l

r2

63

125

250

500

1000

2000

4000

8000

2,4

1,2

1

1

0

0

5

7

8,5

9

11,5

15

 

 

 

2

0

0

4

6

8

8,5

12

13,5

 

 

 

3

0

0

3,5

5,5

6,5

8

11

13

2,4

1,2

1,5

1

0

0

9

10

10

14

17

19

 

 

 

2

0,5

0,5

9,5

8,5

10

12

15,5

18,5

 

 

 

3

1,5

1

7

8

9,5

11,5

15

17

2,4

1,2

3,5

1

5

5

9

14,5

17,5

16,5

22

23

 

 

 

2

4,5

5,5

10

12

16,5

17,5

22

23,5

 

 

 

3

4

6

9

9,5

14

15

19,5

22

2,4

1,2

5

1

8

11

13,5

16

21,5

24

25

27

 

 

 

2

8

10

9,5

13

20

23

24

27

 

 

 

3

6

10

7

12

15,5

22

23,5

25

1,5

0,75

1,75

1

2

1

6

10

10,5

12

14

16

 

 

 

2

1

0

5,5

7,5

10,5

12

14

15,5

 

 

 

3

1,5

0

7

5,5

8,5

12

13,5

15

1,5

0,75

3,25

1

6

6

9

14

17

16

19

21

 

 

 

2

5,5

3

7,5

9

14

15,5

19

20

 

 

 

3

5,5

1,5

8,5

9

11,5

15

18

20

1,5

0,75

4,75

1

6,5

6,5

10,5

12

18

20

22

24

 

 

 

2

6,5

3

11

12

16,5

17

20,5

23,5

 

 

 

3

6,5

0,5

12

12,5

14,5

16,5

20,5

22,5

1

0,5

2,5

1

3

0

3,5

9

9,5

11,5

14

17

 

 

 

2

2

0

3

10

9

10

13

15,5

 

 

 

3

1,5

0

0

10

8,5

10

13,5

14

2

1

2,4

1

4

5

10

12,5

14,5

15,5

19,5

23

 

 

 

2

4

4

8

10,5

14,5

15,5

18,5

22

 

 

 

3

4

3,5

7,5

9,5

12,5

15,5

18,5

20

Величины H, h, l и r2 указаны на рис. 16.

Таблица 16

Размеры экрана и координаты расчетной точки в м

Снижение уровня звукового давления экраном  в дБ при среднегеометрических частотах октавных полос в Гц

H

l1

l2

h

r2

63

125

250

500

1000

2000

4000

8000

1,5

0,75

1,5

0,75

1

8,5

6,55

13

14,5

19

19,5

24

25

 

 

 

 

2

9

4

11

11,5

18,5

17

21,5

22,5

 

 

 

 

3

7

2,5

13,5

11,5

18,5

17

19

21,5

1,5

0,75

1,5

1

1

6,5

7

12

15

18

18

22,5

22,5

 

 

 

 

2

7

5

9

13,5

17

17

21

21

 

 

 

 

3

7

3,5

9,5

10

16

16,5

20

20

2,4

2

1,5

1,2

1

6

7,5

10,5

17,5

21,5

22,5

27

26,5

 

 

 

 

2

8

7

9,5

17

21

19,5

25,5

25

 

 

 

 

3

4

7

9

15

20

20,5

24,5

24

Тип "a"

Тип "б"

Рис. 16. Формы акустических экранов

ИШ - источник шума; 1 - экран; 2 - расчетная точка

Рис. 17. Усредненные характеристики эффективности акустических экранов

1 - , 2 -              при

3 - , 4 -                     при

8. СИСТЕМЫ ВЕНТИЛЯЦИИ, КОНДИЦИОНИРОВАНИЯ ВОЗДУХА И ВОЗДУШНОГО ОТОПЛЕНИЯ

Источники шума и их шумовые характеристики

8.1. Источниками шума систем вентиляции, кондиционирования воздуха и воздушного отопления являются вентиляторы, холодильные машины в местных кондиционерах, электродвигатели, воздухорегулирующие устройства (дросселирующие устройства, клапаны, заслонки, направляющие лопатки), воздухораспределительные устройства (приточные и вытяжные решетки, плафоны, анемостаты, доводчики), элементы сети воздуховодов (повороты, изменение поперечного сечения, разветвления).

8.2. Шумовые характеристики вентиляторов определяются по ГОСТ 12.2.028 - 77, а электродвигателей - по ГОСТ 11929 - 66 и должны быть указаны в паспорте или каталоге. При отсутствии шумовых характеристик вентиляторов их следует определять, руководствуясь указаниями настоящего раздела норм.

Шумовые характеристики воздухорегулирующих и воздухораспределительных устройств должны быть указаны в паспортах или каталогах вентиляционного оборудования, а при их отсутствии должны определяться опытным путем.

8.3. При расчете шумовой характеристики (октавных уровней звуковой мощности) вентилятора необходимо предварительно определить общий уровень звуковой мощности вентилятора  в дБ, относительно 10-12 Вт, отдельно для всасывания и нагнетания по формуле

                                        (56)

где  - критерий шумности в дБ, величину которого следует принимать по табл. 17;

H - полное давление, создаваемое вентилятором в кгс/м2;

Q - объемный расход воздуха вентилятора в м3/с;

 - поправка на режим работы вентилятора в дБ.

Примечания: 1. При работе вентилятора в режиме максимума коэффициента полезного действия (КПД) или с отклонением от него не более чем на 10% значение величины  равно нулю. При отклонении режима работы вентилятора от режима максимума КПД не более чем на 20% значение величины  следует принимать равным +2 дБ, при отклонении более чем на 20% - равным +4 дБ.

2. Полученная по формуле (56) величина  характеризует звуковую мощность, излучаемую открытым патрубком всасывания или открытым патрубком нагнетания вентилятора (в атмосферу или в помещение) при условии плавного подвода воздуха к патрубку всасывания. Условия плавного подвода воздуха к патрубку всасывания обеспечиваются, когда при входе вентилятора имеется плавный коллектор или когда прямой участок воздуховода на стороне всасывания вентилятора имеет длину  в м, определяемую соотношением

где  - гидравлический диаметр прямого участка воздуховода в м;

F - площадь воздуховода в м2;

П1 - периметр воздуховода в м.

3. При неплавном подводе воздуха к патрубку всасывания вентилятора или при установке дросселя на прямом участке воздуховода к патрубку всасывания, к величинам , определенным по формуле (56), следует добавлять для осевых вентиляторов 8 дБ и центробежных вентиляторов 4 дБ.

4. Значения величин H и Q вентиляторов следует принимать по разделу «Отопление, вентиляция и кондиционирование воздуха» проекта предприятия, здания и сооружения.

Таблица 17

Тип и серия вентилятора

Критерий шумности  в дБ для сторон

нагнетания

всасывания

Центробежные

 

 

Ц 4-70, Ц 4-76

41

38

Ц 14-46

47

42

Ц 9-55, Ц 9-57, Ц 10-28

47,5

43,5

ЦП 7-40

48

43

Ц 6-46

43

39

ВВД

48

40

Крышные

 

 

КЦ 3-90, КЦ 4-81В

52

48

Ц 3-04

49

49

Осевые

 

 

О6-300

46

46

О6-320

44

44

8.4. Октавные уровни звуковой мощности вентилятора  в дБ, излучаемой через патрубок всасывания или патрубок нагнетания вентилятора в воздуховод, следует определять по формуле

                                         (57)

где  -  общий уровень звуковой мощности вентилятора в дБ, определяемый по формуле (56);

 - поправка в дБ, принимаемая по табл. 18;

 - поправка в дБ, определяемая по табл. 19.

Если воздуховод не присоединяется к вентилятору, то = 0.

8.5. Общий уровень звуковой мощности механического шума вентилятора в дБ в помещении, где он установлен, следует определять по формуле

                                  (58)

где и - окружная скорость рабочего колеса вентилятора в м/с;

D - диаметр рабочего колеса вентилятора в м.

8.6. Октавные уровни звуковой мощности шума вентилятора в помещении, где он установлен,  в дБ следует определять по формуле

                                             (58а)

где  -  общий уровень звуковой мощности шума вентилятора в помещении, где он установлен, в дБ, определяемый в соответствии с п.8.5;

 -   поправка в дБ, принимаемая по табл. 18.

Таблица 18

Среднегеометрические частоты

октавных полос в Гц

Поправка  в дБ

Центробежные вентиляторы с лопатками, загнутыми

Осевые вентиляторы

вперед (Ц14-46, Ц9-55, Ц9-57, ЦП7-40, ВВД, Ц10-28)

назад (Ц4-70, Ц4-76. КЦЗ-90, ЦЗ-04, КЦ-4-84В)

(16)

(10)

(19)

(23)

(32)

(6)

(15)

(18)

63

6

11

13

125

6

7

8

250

6

5

9

500

9

6

5

1000

13

9

7

2000

17

16

10

4000

21

21

16

8000

26

26

23

(16000)

(31)

(31)

(30)

(32000)

(36)

(36)

(37)

Примечания: 1. Приведенные в табл. 18 данные без скобок справедливы, когда частота вращения вентилятора находится в пределах 700 - 1400 об/мин.

2. При частоте вращения вентилятора 1410 - 2800 об/мин весь спектр (всю колонку цифр) следует сдвинуть на октаву в сторону высоких частот (на строчку вниз), а при 350 - 690 об/мин - на октаву в сторону низких частот (на строчку вверх), принимая для крайних частот значения, указанные в скобках для частот 32 и 16000 Гц.

3. При частоте вращения вентилятора 2810 - 5600 об/мин весь спектр следует сдвинуть аналогичным образом на две октавы (две строчки) в сторону высоких частот, а при числе оборотов 340 - 175 об/мин - на две октавы в сторону низких частот.

8.7. Если в помещении одновременно работает несколько вентиляторов, то для каждой октавной полосы необходимо определить суммарный уровень звуковой мощности всех вентиляторов  в дБ путем сложения по табл. 5 уровней звуковой мощности отдельных вентиляторов.

8.8. Октавные уровни звуковой мощности  в дБ местных кондиционеров и других вентиляционных установок с осевыми вентиляторами (без сетей воздуховодов, глушителей и холодильных машин) в помещении, где они установлены, следует определять по формуле (57), добавляя к полученным значениям 3 дБ. Октавные уровни звуковой мощности местных кондиционеров с центробежными вентиляторами в помещении, где они установлены, следует определять по формуле (57) - для всасывания и нагнетания отдельно, и значения полученных уровней суммировать по табл. 5.

Таблица 19

Корень квадратный из площади патрубка вентилятора в мм

Поправка  в дБ при среднегеометрических частотах октавных полос в Гц

63

125

250

500

1000

2000

4000

8000

25

37

31

25

19

13

8

3

0

50

31

26

20

14

8

4

0

0

80

26

20

14

8

4

1

0

0

100

24

18

13

8

3

0

0

0

125

22

16

11

6

2

0

0

0

140

21

15

10

6

2

0

0

0

160

20

14

10

4

1

0

0

0

180

19

14

8

4

1

0

0

0

200

18

13

8

3

1

0

0

0

225

17

12

7

2

0

0

0

0

250

16

11

6

2

0

0

0

0

280

16

10

6

2

0

0

0

0

315

14

10

4

1

0

0

0

0

350

14

8

4

1

0

0

0

0

400

12

8

3

0

0

0

0

0

450

12

6

2

0

0

о

0

0

500

11

6

2

0

0

0

0

0

560

10

6

2

0

0

0

0

0

630

10

5

1

0

0

0

0

0

710

8

4

1

0

0

0

0

0

800

8

3

1

0

0

0

0

0

900

7

3

0

0

0

0

0

0

1000

6

2

0

0

0

0

0

0

1250

4

1

0

0

0

0

0

0

1400

4

1

0

0

0

0

0

0

1600

3

0

0

0

0

0

0

0

2000

2

0

0

0

0

0

0

0

2500

0

0

0

0

0

0

0

0

Определение октавных уровней звукового давления в расчетных точках

8.9. Расчетные точки в помещении при определении уровней звукового давления, создаваемого источниками шума, следует выбирать на рабочих местах, ближайших к источникам шума, и в зоне отраженного звукового поля.

8.10. Октавные уровни звукового давления L в дБ в расчетных точках, если в помещение поступает шум от нескольких источников, следует определять для каждого источника шума в отдельности:

от источников, излучающих шум внутрь воздуховодов (воздухорегулирующих устройств, вентиляторов, элементов сети воздуховодов) и далее в помещение, защищаемое от шума:

а) через одно воздухораспределительное устройство (решетку) по формуле

                                    (59)

б) через несколько воздухораспределительных устройств (решеток) по формуле

                             (60)

от источников, излучающих шум в помещении: вентиляторов, установленных открыто в помещении, местных кондиционеров и их холодильных машин по формулам (1) - (3), а от воздухораспределительных устройств (решеток) одной вентиляционной системы кондиционирования воздуха, или воздушного отопления по формуле

                                       (61)

где Lp - октавный уровень звуковой мощности одного источника шума (решетки) в дБ, определяемый в соответствии с пп. 8.2 - 8.4 и 8.8 настоящих норм;

- суммарное снижение октавного уровня звуковой мощности в дБ в элементах сети воздуховодов по пути распространения шума до выхода в помещение, определяемое по формуле (65);

Ф, Фi -   фактор направленности при излучении шума, безразмерный, определяемый: для воздухораспределительных устройств (решеток) по графику на рис. 18, в остальных случаях - по опытным данным;

т -  количество воздухораспределительных устройств (решеток), ближайших к расчетной точке, от одной системы вентиляции, кондиционирования воздуха или воздушного отопления;

п -   общее количество воздухораспределительных устройств (решеток);

 - то же, что в формуле (1);

 -  то же, что в формуле (1) соответственно для i-го воздухораспределительного устройства (решетки), заменяя r на ri; ri - расстояние в м от расчетной точки до центра воздухораспределительного устройства (решетки) из числа ближайших к расчетной точке;

S -   то же, что в формуле (1);

Si -  то же, что в формуле (1) для i-го воздухораспределительного устройства (решетки);

 и В - то же, что в формуле (1).

Примечание. В число ближайших к расчетной точке следует включать воздухораспределительные устройства (решетки), расположенные на расстоянии  ( - минимальное из указанных расстояний).

Рис. 18. Фактор направленности Фp при излучении шума на воздухораспределительные решетки

а - решетка в центре комнаты; б - решетка в центре стены; в - решетка вблизи ребра; г - решетка вблизи угла;  - приведенный размер решетки в м; f - среднегеометрическая частота в Гц; точка 0 - положение наблюдателя

8.11. Октавные уровни звукового давления L в дБ шума, прошедшего в защищаемое от шума помещение через все воздухораспределительные устройства (приточные или вытяжные решетки) одной системы вентиляции, кондиционирования воздуха или воздушного отопления, если расчетные точки выбраны в отраженном звуковом поле, следует определять для каждой системы в отдельности по формуле

                                        (62)

Обозначения те же, что и в формуле (60).

8.12. Октавные уровни звукового давления L в дБ, если шум проникает в защищаемое от шума помещение через стенки канала (воздуховода), следует определять по формуле

                            (63)

где  -   суммарное снижение октавного уровня звуковой мощности в дБ в элементах сети воздуховодов (включая глушитель) по пути распространения шума от источника до начального сечения участка канала (воздуховода), определяемое в соответствии с пп. 8.16 и 8.24 настоящих норм;

 -  значение изоляции воздушного шума стенками канала (воздуховода) в дБ, определяемое в соответствии с разделом 6 настоящих норм:

S0 - площадь поперечного сечения канала (воздуховода) в м;

Sкан -    площадь наружной поверхности канала (воздуховода) в м2 в пределах помещения, через которую излучается шум.

Остальные обозначения те же, чти и в формуле (60).

Определение требуемого снижения шума

8.13. Требуемое снижение октавных уровней звукового давления  в дБ в расчетной точке в помещении следует определять в соответствии с пп. 5.2 или 5.3 настоящих норм.

8.14. Требуемое снижение октавных уровней звукового давления  в дБ в расчетной точке защищаемого от шума помещения, в котором расположены воздухораспределительные устройства (решетки) каналов (воздуховодов), идущих из не защищаемого от шума помещения, следует определять по формуле

                                                    (64)

где L - октавный уровень звукового давления в не защищаемом от шума помещении в дБ, определяемый по формуле (6);

 - площадь воздухораспределительного устройства (решетки или решеток), через которое шум проникает в воздуховод из не защищаемого от шума помещения в м2;

 - суммарное снижение уровней звуковой мощности на участке вентиляционной сети между рассматриваемыми помещениями в дБ, определяемое по формуле (65);

B -     постоянная защищаемого от шума помещения в октавной полосе частот в м2, определяемая в соответствии с п. 4.3 настоящих норм;

 - то же, что в формуле (1) для защищаемого от шума помещения;

 -  допустимый октавный уровень звукового давления в дБ в расчетной точке, определяемый в соответствии с пп. 3.4 и 3.5 настоящих норм.

8.15. Снижение октавных уровней звуковой мощности  в дБ шума, создаваемого элементами сети воздуховодов, воздухорегулирующими и воздухораспределительными устройствами, следует обеспечивать путем снижения скорости движения воздуха в воздуховодах и определять по расчету из условия, чтобы суммарные октавные уровни звукового давления в расчетных точках, определяемые по пп. 4.10, 8.10 и 8.11 настоящих норм, не превышали допустимых  в дБ.

При этом скорости выпуска воздуха в помещения и удаления из помещений воздухораспределительными устройствами (решетками) систем вентиляции, кондиционирования воздуха и воздушного отопления следует принимать в соответствии с главой СНиП по проектированию отопления, вентиляции и кондиционирования воздуха.

Снижение уровней звуковой мощности по пути распространения шума

8.16. Суммарное снижение уровней звуковой мощности  в дБ по пути распространения шума следует определять последовательно для каждого элемента сети воздуховодов и затем суммировать по формуле

                                                             (65)

где  -  снижение октавных уровней звуковой мощности в отдельных элементах воздуховодов в дБ, определяемое по пп. 8.17 - 8.22 настоящих норм;

nc -    число элементов сети воздуховодов, в которых учитывается снижение уровней звуковой мощности.

8.17. Снижение октавных уровней звуковой мощности  в дБ на 1 м длины в прямых участках металлических воздуховодов прямоугольного и круглого сечений следует принимать по табл. 20.

8.18. Снижение октавных уровней звуковой мощности  в дБ на прямых участках кирпичных и бетонных каналов при расчетах учитывается.

Таблица 20

Форма поперечного сечения воздуховода

Гидравлический диаметр в мм

Снижение уровней звуковой мощности и  при среднегеометрической частоте октавных полос в Гц

63

125

250

500

1000

2000

4000

8000

Прямоугольное

От 75 до 200

0,6

0,6

0,45

0,3

0,3

0,3

0,3

0,3

» 210 » 400

0,6

0,6

0,45

0,3

0,2

0,2

0,2

0,2

» 410 » 800

0,6

0,6

0,3

0,15

0,15

0,15

0,15

0,15

» 810 » 1600

0,45

0,3

0,15

0,1

0,06

0,06

0,06

0,06

Круглое

От 75 до 200

0,10

0,1

0,15

0,15

0,3

0,3

0,3

0,3

» 210 » 400

0,06

0,1

0,1

0,15

0,2

0,2

0,2

0,2

» 410 » 800

0,03

0,06

0,06

0,1

0,15

0,15

0,15

0,15

» 810 » 1600

0,03

0,03

0,03

0,06

0,06

0,06

0,06

0,06

8.19. Снижение октавных уровней звуковой мощности  в дБ в поворотах воздуховодов следует определить по табл. 21. При угле поворота менее или равном 45о снижение октавных уровней звуковой мощности не учитывается.

Для плавных поворотов воздуховодов и поворотов воздуховодов под прямым углом и снабженных направляющими лопатками снижение октавных уровней звуковой мощности  в дБ следует принимать по табл. 22.

Таблица 21

Ширина поворота d в мм

Снижение октавных уровней звуковой мощности  в дБ при среднегеометрической частоте октавных полос в Гц

63

125

250

500

1000

2000

4000

8000

125

0

0

0

1

5

7

5

3

250

0

0

1

5

7

5

3

3

500

0

1

5

7

5

3

3

3

1000

1

5

7

5

3

3

3

3

2000

5

7

5

3

3

3

3

3

Таблица 22

Ширина поворота d в мм

Снижение уровней звуковой мощности  в дБ при среднегеометрической частоте октавных полос в Гц

63

125

250

500

1000

2000

4000

8000

125 - 250

0

0

0

0

1

2

3

3

260 - 500

0

0

0

1

2

3

3

3

510 - 1000

0

0

1

2

3

3

3

3

1100 - 2000

0

1

2

3

3

3

3

3

8.20. Снижение октавных уровней звуковой мощности  в дБ при изменении поперечного сечения воздуховода следует, в зависимости от частоты и размеров поперечного сечения воздуховодов, определять:

а) при размерах поперечного сечения воздуховода в мм, меньших указанных в табл. 23, по формуле

                                                      (66)

где тп - соотношение площадей поперечных сечений воздуховода, равное:

                                                                (67)

F1 и F2 - площади поперечного сечения воздуховода до и после изменения сечения в м2;

б) при размерах поперечного сечения воздуховода в мм, больших указанных в табл. 23, по формулам:

 (при >1)                                        (68)

 (при <1)                                            (69)

При плавном переходе воздуховода от одного сечения к другому снижение октавных уровней звуковой мощности не учитывается.

8.21. Снижение октавных уровней звуковой мощности  в дБ в разветвлении воздуховода следует определять по формуле

                                             (70)

где тп -    отношение площадей поперечных сечений воздуховодов, равное:

                                                            (71)

F -     площадь поперечного сечения воздуховода перед разветвлением в м2;

Fотв,i -    площадь поперечного сечения воздуховода отдельного ответвления в м2;

 -   суммарная площадь поперечных сечений воздуховодов всех ответвлений в м2.

Таблица 23

Среднегеометрические частоты октавных полос в Гц

63

125

250

500

1000

2000

4000

8000

Размеры поперечного сечения воздуховода в мм

5000

2500

1400

700

400

200

100

50

Примечание. Если воздуховод отдельного ответвления в разветвлении повернут на 90о, то к величине  в дБ, полученной по формуле (70), следует добавлять величины снижения октавных уровней звуковой мощности, определяемых по табл. 21 или 22.

8.22. Снижение октавных уровней в звуковой мощности  в дБ в результате отражения звука от открытого конца воздуховода или решетки следует определять по табл. 24.

Таблица 24

Диаметр воздуховода или корень квадратный из площади поперечного сечения конца прямоугольного воздуховода или решетки в мм

Снижение октавных уровней звуковой мощности  в дБ при среднегеометрической частоте октавной полосы в Гц

63

125

250

500

1000

2000

4000

8000

25

24

22

19

15

10

6

2

0

50

22

19

15

10

5

2

0

0

80

20

16

11

7

3

0

0

0

100

19

14

10

5

2

0

0

0

125

18

13

8

4

1

0

0

0

140

16

12

8

4

1

0

0

0

160

16

11

7

3

0

0

0

0

180

15

11

6

2

0

0

0

0

200

14

10

6

2

0

0

0

0

225

14

9

5

1

0

0

0

0

250

13

8

4

1

0

0

0

0

280

12

8

3

1

0

0

0

0

315

11

7

3

0

0

0

0

0

355

11

6

2

0

0

0

0

0

400

10

5

2

0

0

0

0

0

450

8

5

1

0

0

0

0

0

500

8

4

1

0

0

0

0

0

560

8

3

1

0

0

0

0

0

600

7

3

1

0

0

0

0

0

710

6

2

0

0

0

0

0

0

800

5

2

0

0

0

0

0

0

900

5

2

0

0

0

0

0

0

1000

4

1

0

0

0

0

0

0

1250

3

0

0

0

0

0

0

0

1400

2

0

0

0

0

0

0

0

1600

2

0

0

0

0

0

0

0

2000

1

0

0

0

0

0

0

0

2500

0

0

0

0

0

0

0

0

Примечание. Данные настоящей таблицы относятся к случаю, когда воздуховод заканчивается заподлицо со стеной или потолком и расположен, как и воздухораспределительное устройство (решетка), на расстоянии двух или более диаметров воздуховода от других стен или потолка. Если воздуховод или воздухораспределительное устройство (решетка) заканчивающееся заподлицо с ограждающими конструкциями, расположены ближе к другим ограждающим конструкциям помещения, то снижение октавных уровней звуковой мощности следует определять по табл. 24, принимая значение  в дБ для диаметра воздуховода, увеличенного вдвое.

Проектирование глушителей

8.23. В системах вентиляции, кондиционирования воздуха и воздушного отопления следует применять трубчатые, пластинчатые и камерные глушители (рис. 19) со звукопоглощающим материалом, а также облицовку воздуховодов и поворотов изнутри звукопоглощающими материалами.

Выбор конструкции глушителей следует производить в зависимости от размеров воздуховода, допускаемой скорости воздушного потока и требуемого снижения октавных уровней звукового давления.

Рис. 19. Схема конструкций глушителей

а - пластинчатый с крайними пластинами; б - пластинчатый без крайних пластин; в - трубчатый прямоугольного сечения; г - трубчатый круглого сечения; д - камерный; 1 - кожух глушителя; 2 - звукопоглощающая пластина; 3 - каналы для воздуха; 4 - звукопоглощающая облицовка; 5 - внутренняя перегородка

8.24. Трубчатые глушители следует применять при размерах воздуховодов до 500500 мм. При больших размерах воздуховодов следует применять пластинчатые или камерные глушители.

Примечание. При наличии соответствующего обоснования допустимо применение глушителей других типов. Сотовые глушители применять в системах вентиляции кондиционирования воздуха и воздушного отопления не допускается.

8.25. Пластинчатые глушители следует проектировать из звукопоглощающих пластин, устанавливаемых параллельно на некотором расстоянии друг от друга в общем кожухе.

Толщину звукопоглощающих пластин для глушителей следует принимать по табл. 25.

Таблица 25

8.26. Снижение октавных уровней звуковой мощности в дБ в воздуховодах и поворотах, облицованных изнутри звукопоглощающим материалом, и в глушителях следует определять по опытным данным.

8.27. Снижение октавных уровней звукового давления в дБ в воздухозаборных устройствах (типа камер) со звукопоглощающей облицовкой следует определять по формуле

                                                     (72)

где - -     полное звукопоглощение отдельной камеры в м2 (звукопоглощение пола не учитывается);

 -  соответственно площади и реверберационные коэффициенты звукопоглощения облицовки внутренних поверхностей камеры (значения  для облицовок следует определять по данным прил. 2);

 -   площадь свободного сечения выходного канала из отдельной камеры ("вход» и «выход» из камеры определяются по направлению распространения звука) в м2;

nk - общее количество камер.

Примечание. Снижение уровней звукового давления  в дБ в сетчатых воздушных фильтрах и калориферах в расчетах не учитывается.

8.28. Необходимое свободное сечение глушителя  в м2 следует определять по формуле

                                                                   (73)

где Q -   объемный расход воздуха через глушитель в м3/с;

 -  допустимая скорость движения воздуха в глушителе в м/с, принимаемая в зависимости от располагаемых потерь давления и уровня шумообразования в глушителе.

Для жилых и общественных зданий, вспомогательных зданий и помещений предприятий допускается принимать скорости движения воздуха в глушителях по табл. 26, если длина участка воздуховода до помещения равна не менее 5 - 8 м.

Таблица 26

Допустимый уровень звука в помещении в дБ

30

40

50

53

Допускаемая скорость движения воздуха в глушителе в м/с

4

6

8

10

Примечание. В производственных зданиях предприятий скорость движения воздуха в глушителях не должна превышать 12 м/с.

 

8.29. При проектировании вентиляции, кондиционирования воздуха и воздушного отопления следует предусматривать установку центрального глушителя и размещать его возможно ближе к вентилятору в начале вентиляционной сети.

Для глушения шума, образующегося в воздуховодах при движении потока воздуха, а также шума, проникающего в воздуховоды извне от других источников шума, на ответвлениях воздуховода следует предусматривать дополнительно установку глушителей шума по расчету.

8.30. В помещениях для вентиляционного оборудования следует наружный воздух глушителя и воздуховод после него, находящийся в пределах помещения для вентиляционного оборудования, звукоизолировать снаружи, чтобы октавные значения изоляции воздушного шума стенками глушителя и воздуховода были не меньше требуемой величины  в дБ, определяемой по формуле

                                      (74)

где L - октавный уровень звукового давления в помещении для вентиляционного оборудования в дБ, определяемый по формуле (6) и в соответствии с пп. 8.5 - 8.7 настоящих норм;

 -  площадь поверхности глушителя и воздуховода в пределах помещения для вентиляционного оборудования в м2;

 -  октавные уровни звуковой мощности, излучаемой вентилятором в воздуховод в дБ, определяемые по формуле (57);

 -   суммарное снижение октавных уровней звуковой мощности, на участках воздуховода (включая глушители) от вентилятора до выхода из помещения для вентиляционного оборудования в дБ, определяемое в соответствии с пп. 8.16 и 8.26 настоящих норм.

Для уменьшения значения требуемой изоляции от воздушного шума стенок глушителя и воздуховодов можно применять звукопоглощающую облицовку внутренних поверхностей ограждающих конструкций помещения для вентиляционного оборудования.

9. ГАЗОДИНАМИЧЕСКИЕ УСТАНОВКИ

Общие указания

9.1. Снижение шума следует предусматривать при проектировании компрессорных станций, установок с турбореактивными и газотурбинными двигателями, лабораторных и экспериментальных стендов с источниками шума аэродинамического происхождения.

9.2 Снижение шума, распространяющегося от газодинамических установок в атмосферу, следует предусматривать посредством глушителей, располагаемых по пути распространения ими (в газодинамических трактах, воздухозаборных и выхлопных системах, шахтах и каналах).

Снижение шума в помещении, где расположены газодинамические установки, следует осуществлять архитектурно-планировочными мероприятиями и средствами звукоизоляции и звукопоглощения, согласно требованиям разделов 6 и 7 настоящих норм.

Основные источники шума и их шумовые характеристики

9.3. Основными источниками шума компрессорной станции являются компрессоры (или турбокомпрессоры) и системы перепуска (сброса) воздуха в атмосферу. Шум компрессора (или турбокомпрессора) излучается в атмосферу через всасывающий и выхлопной тракты, а в помещение машинного зала через корпус компрессора.

Шумовые характеристики источников шума компрессорных станций следует определять по экспериментальным данным для конкретных типов компрессоров (или турбокомпрессоров).

9.4. Основными источниками шума установок с турбореактивными двигателями являются реактивная выхлопная струя и осевой компрессор всасывания.

Шумовые характеристики этих источников шума следует определять расчетом в соответствии с пп. 9.7 - 9.13 настоящих норм.

9.5. Основными источниками шума установок с газотурбинными двигателями являются осевой компрессор, турбина, противопомпажные клапаны и агрегаты.

Шумовые характеристики дозвуковых осевых компрессоров следует определять расчетом в соответствии с пп. 9.9 - 9.12 настоящих норм.

Шумовые характеристики турбин, противопомпажных клапанов и агрегатов следует определять по экспериментальным данным для конкретных установок.

9.6. Шумовые характеристики источников шума лабораторных и экспериментальных стендов с источниками шума аэродинамического происхождения следует определять по экспериментальным данным для конкретных установок.

Определение уровней звуковой мощности шума выхлопной струи турбореактивного двигателя

9.7. Общий уровень звуковой мощности  в дБ выхлопной струи турбореактивного двигателя следует определять по формуле

                                      (75)

где  - скорость истечения газа из сопла в м/с;

 - плотность струи в выходном сечении сопла в кг/м3;

 - площадь сопла в м2.

Величины параметров выхлопной струи , и  следует принимать по технологическому заданию.

9.8. Октавные уровни звуковой мощности шума в дБ выхлопной струи турбореактивного двигателя следует определять по формуле

,                                                       (76)

где  -   разность общего и октавного уровней звуковой мощности шума, определяемая в дБ по графику относительного спектра звуковой мощности шума выхлопной струи турбореактивного двигателя, приведенному на рис. 20, в зависимости от безразмерного параметра - числа Струхаля, который следует определять, по формуле

                                                        (77)

 - среднегеометрическая частота октавной полосы шума в Гц;

 - диаметр выхлопного сопла в м;

 - скорость истечения .газа из сопла в м/с.

Рис. 20 График относительного спектра звуковой мощности шума выхлопной струи турбореактивного двигателя

Определение уровней звуковой мощности шума всасывания дозвукового осевого компрессора

9.9. Общую звуковую мощность шума всасывания  в Вт дозвукового осевого компрессора следует определять по формуле

                                               (78)

где  - адиабатический КПД первой ступени компрессора;

 - массовый расход воздуха через компрессор в кг/с;

 - адиабатический напор первой ступени компрессора в Дж/кг;

D -  наружный диаметр рабочего колеса первой ступени компрессора в м;

 - плотность воздуха на входе в компрессор в кг/м3;

с -   скорость звука в зависимости от температуры воздуха на входе в компрессор в м/с, определяемая по формуле

                                                            (79)

где T - абсолютная температура воздуха в К.

Величины параметров компрессора , , и D следует определять по технологическому заданию.

9.10. Общий уровень звуковой мощности шума всасывания  в дБ осевого компрессора следует определять по формуле

                                                       (80)

где  - общая звуковая мощность шума всасывания осевого компрессора в Вт;

P0 - нулевое (пороговое) значение звуковой мощности, равное 10-12 Вт.

9.11. Октавные уровни звуковой мощности шума всасывания осевого компрессора следует определять пересчетом частотной характеристики шума в 1/3 октавных полосах частот, построенной в соответствии с указаниями, приведенными в п. 9.12 настоящих норм, путем суммирования по табл. 5 уровней звуковой мощности шума, соответствующих 1/3 октавным полосам частот, входящих в октавную полосу.

9.12. Уровни звуковой мощности шума всасывания компрессора в дБ в 1/3 октавных полосах частот следует определять по формуле

                                                      (81)

где -   разность общего и 1/3 октавного уровня звуковой мощности шума в дБ, которая определяется по графику относительного спектра звуковой мощности шума всасывания компрессора, приведенному на рис 21, в зависимости от безразмерной частоты шума всасывания компрессора , определяемой по формуле

                                                            (82)

 -   среднегеометрическая частота 1/3 октавной полосы шума всасывания компрессора в Гц;

пв -  частота вращения ротора компрессора в 1 мин.

Рис. 21. График относительного спектра звуковой мощности шума всасывания компрессора

Частоту тональных составляющих (отдельных гармоник) спектра шума всасывания компрессора в Гц следует определять:

размерные частоты по формуле

                                                           (33)

безразмерные частоты по формуле

                                                             (84)

где z -    число лопаток рабочего колеса первой ступени компрессора;

пв -  частота вращения ротора компрессора в 1 мин;

тТ - номер тональной составляющей (гармоники) (1,2,3...).

Примечание. По графику относительного спектра звуковой мощности шума всасывания компрессора. приведенному на рис. 21, величины  в дБ следует определить сначала для среднегеометрических частот 1/3 октавных полос, в которых располагаются безразмерные частоты трех гармоник:   и  а затем для всех остальных среднегеометрических частот 1/3 октавных полос.

Проектирование глушителей шума для газодинамических установок

9.13. Проектирование глушителей шума для газодинамических установок следует производить для каждого источника шума на основании акустического расчета, согласно указаниям разделов 3 - 5 настоящих норм.

9.14. Для снижения уровня шума газодинамических установок следует применять, как правило, глушители шума со звукопоглощающим материалом.

Глушители шума должны обеспечивать необходимое снижение уровня шума в требуемом диапазоне частот и иметь минимальное аэродинамическое сопротивление.

9.15. Типы и размеры глушителей шума газодинамических установок следует выбирать в зависимости от частотной характеристики требуемого снижения уровня шума, располагаемых потерь давления, температуры газа и необходимой площади свободного сечения глушителей шума  в м2 в соответствии с табл. 1 - 4 прил. 3 к настоящим нормам.

Примечания: 1. Данными, приведенными в прил. 3, следует пользоваться, когда скорость газового потока и уровни звуковой мощности источника шума соответствуют указанным в таблицах.

2. В тех случаях, когда по таблицам прил. 3 нельзя подобрать необходимые глушители шума, то следует проектировать специальные снижающие уровень шума устройство, технические характеристики которых следует определять расчетом для каждой установки по соответствующим действующим методикам.

Трубчатые глушители шума (рис. 22) следует применять на всасывании воздуха компрессорных установок. Технические характеристики этих глушителей шума приведены в табл. 1 прил. 3. Вертикальные трубчатые глушители шума (рис. 23) следует применять на выхлопе компрессорных и мелких газодинамических установок. Технические характеристики этих глушителей шума приведены в табл. 3 прил. 3.

Рис. 22. Схема трубчатого глушителя шума на всасывании воздуха компрессорных установок

1 - секция глушителя; 2 - звукопоглощающий наполнитель; 3 - перфорированный лист; 4 - фланец

Рис. 23. Схема вертикальных трубчатых глушителей шума на выхлопе компрессорных и мелких газодинамических установок

1 - зонт; 2 - звукопоглотитель; 3 - перфорированный лист; 4 - секция глушителя; 5 - цоколь; D1 - внутренний диаметр глушителя шума; D2 - внешний диаметр глушителя шума; D3 - диаметр подводящего воздуховода; l - длина секции

Пластинчатые глушители шума (рис. 24) следует предусматривать для компрессорных, турбокомпрессорных, крупных вентиляционных установок, а также в шахтах всасывания и подсоса воздуха боксов турбореактивных двигателей и других крупных газодинамических установок в соответствии с табл. 3 прил. 3.

Рис. 24. Схемы размещения пластинчатых глушителей в вертикальной и горизонтальных шахтах

H - толщина щита; h - зазор между щитами (шаг щитов);  - длина щитов

Установку сборных секционных вертикальных глушителей шума с цилиндрическими звукопоглотителями из нержавеющей сетки, наполненными керамзитом (рис. 25), следует предусматривать на выхлопе мелких и средних установок турбореактивных двигателей и других газодинамических установок (турбокомпрессоров, камер сгорания и т.п.) в соответствии с табл. 4, прил. 3.

Рис. 25. Схема секционного вертикального глушителя шума с цилиндрическими звукопоглотителями

1 - секция глушителя шума; 2 - цилиндрические звукопоглотители из нержавеющей сетки; 3 - звукопоглощающий наполнитель; 4 - перфорированный лист; D - внутренний диаметр глушителя шума

9.16. Длину  в м и свободное сечение глушителей (абсолютное  в м2 или относительное  в %) следует выбирать по табл. 1 - 4 прил. 3 такими, чтобы снижение октавных уровней звукового давления в расчетной точке было не ниже требуемого по акустическому расчету.

9.17. Необходимую площадь абсолютного свободного сечения глушителя  в м2 следует определять по формуле

                                                              (85)

где G -   расход воздуха или газовоздушной смеси, протекающий через глушитель, в м3/с, определяемый по технологическому заданию;

 -  допустимая скорость протекания воздуха или газовоздушной смеси в глушителе в м/с, определяемая аэродинамическим расчетом.

10. СЕЛИТЕБНАЯ ТЕРРИТОРИЯ ГОРОДОВ И ДРУГИХ НАСЕЛЕННЫХ ПУНКТОВ

10.1. Планировку и застройку селитебной территории городов и других населенных пунктов следует осуществлять с учетом обеспечения допустимых уровней звука, предусмотренных п. 3.4 настоящих норм.

Основные источники шума и их шумовые характеристики

10.2. Основными источниками внешнего шума в городах и других населенных пунктах являются транспортные потоки на улицах и дорогах, железнодорожные поезда, средства воздушного транспорта, трансформаторы и источники шума внутри групп жилых домов.

10.3. Шумовые характеристики транспортных потоков на улицах и дорогах городов и других населенных пунктов следует определять в соответствии с ГОСТ 20144-75.

10.4. Расчетные шумовые характеристики транспортных потоков  в дБА на улицах и дорогах городов для условий движения транспорта в час «пик» допускается принимать по табл. 27.

Таблица 27

Категория улиц и дорог

Число полос движения проезжей части в обоих направлениях

Шумовая характеристика транспортного  в дБА

Скоростные дороги

6

86

 

8

87

Магистральные улицы и дороги:

общегородского значения:

 

 

непрерывного движения

6

84

 

8

85

регулируемого

4

81

 

6

82

районного значения

4

81

 

6

82

дороги грузового движения

2

79

 

4

81

Улицы и дороги местного значения:

 

 

жилые улицы

2

73

 

4

75

дороги промышленных и коммунально-складских районов

2

79

10.5. Шумовыми характеристиками потоков железнодорожных поездов являются эквивалентные уровни звука  в дБА на расстоянии 7,5 м от оси колеи, ближней расчетной точке, определяемые по табл. 28 с поправкой по табл. 29.

Таблица 28

Поезда

Интенсивность движения, пар/ч

1

2

3

4

5

6

8

10

15

20

25

30

Эквивалентный уровень звука  в дБА

Пассажирские

66

69

71

72

73

74

75

76

78

79

80

81

Электропоезда

72

75

77

78

79

80

81

82

84

85

86

87

Грузовые

76

79

81

82

83

84

85

86

88

89

90

91

Таблица 29

Поправка к эквивалентному уровню звука  в дБА

-5

-4

-3

-2

-1

0

+1

+2

+3

+4

+5

Средняя скорость движения поездов в км/ч:

 

 

 

 

 

 

 

 

 

 

 

пассажирских и грузовых

-

-

-

40

50

60

80

100

-

-

-

электропоездов

40

43

47

50

55

60

70

75

80

90

100

При движении на рассматриваемом участке железной дороги нескольких различных поездов (пассажирских, грузовых и электропоездов) шумовую характеристику потока поездов следует определять путем суммирования (по энергии) эквивалентных уровней звука, определенных, при условии движения отдельных поездов, по табл. 5.

10.6. Шумовыми характеристиками источников шума внутри групп жилых домов являются эквивалентные уровни звука  в дБА на расстоянии 7,5 м от границ источников шума, определяемые по табл. 30.

Таблица 30

Источники шума

Эквивалентный уровень звука  в дБА

Работа мусороуборочной машины

71

Разгрузка товаров и погрузка тары

70

Игры детей

74

Купание детей в плескательных бассейнах

76

Спортивные игры:

 

футбол

75

волейбол

74

баскетбол

66

теннис

61

настольный теннис

58

городки

71

хоккей

65

Определение уровней звука в расчетных точках

10.7. Уровень звука  в дБА в расчетной точке на территории защищаемого от шума объекта следует определять по формуле

                                    (86)

где  - шумовая характеристика источника шума в дБА, определяемая согласно пп. 10.3 - 10.6 настоящих норм;

 - снижение уровня звука в дБА в зависимости от расстояния между источником шума и расчетной точкой, определяемое по графику на рис. 26;

 - снижение уровня звука экранами на пути распространения звука в дБА, определяемое согласно пп. 10.13 - 10.16 настоящих норм;

 - снижение уровня звука полосами зеленых насаждений в дБА, определяемое согласно п. 10.17 настоящих норм.

Рис. 26. График для определения снижения уровня звука в дБА в зависимости от расстояния между источником шума и расчетной точкой

1 - источники шума внутри групп жилых домов, трансформаторы; 2 - транспортные потоки, железнодорожные поезда

10.8. Уровень звука  в дБА в расчетной точке в помещениях защищаемого от шума объекта следует определять по формуле

                                             (87)

где  -  уровень звука в 2м от ограждающих конструкций защищаемого от шума объекта в дБА, определяемый по формуле (86) без учета снижения уровня звука полосами зеленых насаждений;

 -  снижение уровня звука конструкцией окна защищаемого от шума объекта в дБА, определяемое по табл. 31.

Таблица 31

Конструкция окна

Толщина стекла в мм

Размер воздушного промежутка между стеклами в мм

Величина в дБА при условии прилегания по периметру

без уплотняющих прокладок

с уплотняющими прокладками из пенополиуретана

1. Окно с открытой форточкой, узкой створкой или фрамугой

-

-

10

-

2. Одинарное окно

3

-

18

20

6

 

21

23

3. Спаренное окно (по ГОСТ 11214 - 65)

3 и 3

57

22

24

6 и 3

57

26

28

6 и 4

57

27

29

4. Раздельно-сближенное окно (по альбому МНИИТЭП РС 8109)

3 и 3

90

24

26

6 и 4

90

28

30

5. Раздельное окно (по ГОСТ 11214-65)

6 и 3

120

30

32

10.9. Уровни звука  в дБА в расчетной точке при наличии нескольких источников шума следует определять от каждого источника шума в отдельности и полученные величины суммировать (по энергии) в соответствии с табл. 5.

Определение требуемого снижения уровней звука

10.10. Требуемое снижение уровней звука в расчетной точке в дБА на территории или в помещениях защищаемого от шума объекта следует определять по формулам:

                                           (88)

                                                 (89)

где  - допустимый уровень звука в дБА на территории или в помещениях защищаемого от шума объекта, определяемый в соответствии с разделом 3 настоящих норм.

Величины  и  те же, что в формулах (86) и (87).

Экраны и зеленые насаждения

10.11. Для снижения уровней звука на территории или в помещениях защищаемых от шума объектов следует применять экраны, размещаемые между источниками шума и защищаемыми от шума объектами.

10.12. В качестве экранов следует применять искусственные и естественные элементы рельефа местности (выемки, земляные кавальеры, насыпи, холмы и др.), здания, в помещениях которых допускаются уровни звука более 50 дБА, жилые здания с усиленной звукоизоляцией наружных ограждающих конструкций, жилые здания, в которых со стороны источников шума расположены окна подсобных помещений и одной жилой комнаты трехкомнатных квартир и квартир с большим числом комнат и различные сооружения (придорожные подпорные, ограждающие и специальные защитные стенки с поверхностной плотностью не менее 30 кг/м2 и др.).

Все указанные здания и сооружения следует размещать вдоль источников шума, как правило, в виде сплошной застройки.

10.13. Снижение уровней звука экранами  в дБА от транспортных потоков и железнодорожных поездов следует определять в зависимости от величин:  в дБА, определяемой в соответствии с п. 10.14,  и  в дБА, рассчитываемых в соответствии с п. 10.15 настоящих норм.

Снижение уровня звука экраном  в дБА следует определять по табл. 32 в зависимости от разности длин путей прохождения звукового луча  в м при принятой высоте экрана.

Таблица 32

Разность длин путей прохождения звукового луча  в м

Снижение уровня звука экраном в дБА

Разность длин путей прохождения звукового луча  в м

Снижение уровня звука экраном в дБА

0,005

6

0,48

16

0,02

8

0,83

18

0,06

10

1,4

20

0,14

12

2,4

22

0,28

14

6

24

Разность длин путей прохождения звукового луча  в м в соответствии со схемами экранов, приведенными на рис. 27, следует определять по формуле

                                                            (90)

где а -   кратчайшее расстояние между геометрическим центром источника шума и верхней кромкой экрана в м;

b -   кратчайшее расстояние между расчетной точкой и верхней кромкой экрана в м;

с -   кратчайшее расстояние между геометрическим центром источника шума и расчетной точкой в м.

10.15 Снижение уровня звука экраном  и  в дБА следует определять по таблице 33 в зависимости от величины  в дБА и углов  и  (рис. 27) при принятой длине экрана.

Рис. 27. Расчетные схемы для определения снижения уровня звука за экранами

1 - стенка; 2 - здание; 3 - насыпь; 4 - выемка; ИШ - источник шума; РТ - расчетная точка;  - эффективная высота экрана

Таблица 33

Угол в рад

45

50

55

60

65

70

75

80

85

 в дБА

Снижение уровня звука при данном угле и ,  и  в дБА.

6

1,2

1,7

2,3

3

3,8

4,5

5,1

5,7

6

8

1,7

2,3

3

4

4,8

5,6

6,5

7,4

8

10

2,2

2,9

3,8

4,8

5,8

6,8

7,8

9

10

12

2,4

3,1

4

5,1

6,2

7,5

8,8

10,2

11,7

14

2,6

3,4

4,3

5,4

6,7

8,1

9,7

11,5

13,3

16

2,8

3,6

4,5

5,7

7

8,6

10,4

12,4

15

18

2,9

3,7

4,7

5,9

7,3

9

10,8

13

16,8

20

3,2

3,9

4,9

6,1

7,6

9,4

11,3

13,7

18,7

22

3,3

4,1

5,1

6,3

7,9

9,3

11,9

14,5

20,7

24

3,5

4,3

5,8

6,5

8,2

10,2

12,6

15,4

22,5

Величину снижения уровня звука экраном  в дБА следует определять по формуле

                                          (91)

где  -  меньшая из величин  и  в дБА, определяемых по табл. 33;

 -    поправка в дБА, определяемая по табл. 34 в зависимости от разности величин  и .

Таблица 34

Разность между  и  в дБА

0

2

4

6

8

10

12

14

16

18

20

22

Поправка в дБА

0

0,8

1,5

2

2,4

2,6

2,8

2,9

2,9

3

3

3

10.16. Снижение уровня звука экраном  в дБА от источников шума внутри групп жилых домов и трансформаторов следует принимать по табл. 35. При этом длину экрана следует принимать в два раза больше длины источника шума.

Таблица 35

Расстояние между источником шума и экраном в между

Снижение уровня звука экраном  в дБА

Расстояние между экраном и расчетной точкой в м

5

10

20

50

100

Эффективная высота экрана

1

3

1

3

1

3

1

3

1

3

2

19

29

18

28

18

28

18

27

18

27

5

17

26

16

25

15

24

15

23

15

23

10

16

25

15

23

14

23

13

21

13

21

20

15

24

14

23

13

20

12

18

11

18

50

15

23

13

21

12

19

10

17

10

15

100

15

23

13

21

11

18

10

17

9

14

Эффективную высоту экрана следует определять согласно расчетным схемам, приведенным на рис. 27.

10.17. Снижение уровня звука  в дБА полосами зеленых насаждений следует принимать по табл. 36.

10.18. При посадке полос зеленых насаждений должно быть обеспечено плотное примыкание крон деревьев между собой и заполнение пространства под кронами до поверхности земли кустарником.

10.19. Полосы зеленых насаждений должны предусматриваться из пород быстрорастущих деревьев и кустарников, устойчивых к условиям воздушной среды в городах и других населенных пунктах и произрастающих в соответствующей климатической зоне.

Таблица 36

Полоса зеленых насаждений

Ширина полосы в м

Снижение уровня звука в дБА

Однорядная при шахматной посадке деревьев внутри полосы

10-15

4-5

Тоже

16-20

5-8

Двухрядная при расстояниях между рядами 3-5 м; ряды аналогичны однорядной посадке

21-25

8-10

Двух- или трехрядная при расстояниях между рядами 3 м; ряды аналогичны однорядной посадке

26-30

10-12

Примечание. Высоту деревьев следует принимать не менее 5-8 м.

ПРИЛОЖЕНИЕ 1

МЕТОДИКА РАСЧЕТА ПОПРАВОК и  ПРИ ОПРЕДЕЛЕНИИ ИНДЕКСОВ ИЗОЛЯЦИИ ВОЗДУШНОГО ШУМА ОГРАЖДАЮЩЕЙ КОНСТРУКЦИЕЙ И ПРИВЕДЕННОГО УРОВНЯ УДАРНОГО ШУМА ПОД ПЕРЕКРЫТИЕМ

1. Для вычисления поправки  в дБ необходимо на график с нормативной частотной характеристикой изоляции воздушного шума (см. рис. 6) нанести частотную характеристику изоляции воздушного шума ограждающей конструкцией и определить среднее неблагоприятное отклонение нанесенной частотной характеристики от нормативной частотной характеристики.

Неблагоприятными отклонениями следует считать отклонения вниз от нормативной частотной характеристики. Среднее неблагоприятное отклонение следует принимать равным 1/18 суммы неблагоприятных отклонений.

Если среднее неблагоприятное отклонение приближается, но не превышает 2 дБ, а максимальное неблагоприятное отклонение не превышает 3 дБ, то поправка = 0.

Если среднее неблагоприятное отклонение превышает 2 дБ или максимальное неблагоприятное отклонение превышает 8 дБ, то нормативная частотная характеристика смещается вниз (на целое число децибел) так, чтобы среднее и максимальное неблагоприятные отклонения от смещенной нормативной частотной характеристики не превышали указанные величины. В этом случае поправка  отрицательна и равна величине смещения нормативной частотной характеристики.

Если среднее неблагоприятное отклонение значительно меньше 2 дБ или неблагоприятные отклонения отсутствуют, нормативная частотная характеристика смещается вверх (на целое число децибел) так, чтобы среднее неблагоприятное отклонение от смещенной нормативной частотной характеристики приближалось, но не превышало 2 дБ, а максимальное неблагоприятное отклонение не превышало 8 дБ. В этом случае поправка  положительна и равна величине смещения нормативной частотной характеристики.

2. Для вычисления поправки  в дБ необходимо на график с нормативной частотной характеристикой приведенного уровня ударного шума (см. рис. 7) нанести частотную характеристику приведенного уровня ударного шума под перекрытием и определить среднее неблагоприятное отклонение нанесенной частотной характеристики приведенного уровня ударного шума от нормативной частотной характеристики.

Неблагоприятными отклонениями следует считать отклонения вверх от нормативной частотной характеристики. Среднее неблагоприятное отклонение следует принимать равным 1/18 суммы неблагоприятных отклонений.

Если среднее неблагоприятное отклонение приближается, но не превышает 2 дБ, а максимальное неблагоприятное отклонение не превышает 8 дБ, то поправка = 0.

Если среднее неблагоприятное отклонение превышает 2 дБ или максимальное неблагоприятное отклонение превышает 8 дБ, то нормативная частотная характеристика смещается вверх (на целое число децибел) так, чтобы среднее и максимальное неблагоприятные отклонения от смещенной нормативной частотной характеристики не превышали указанные величины. В этом случае поправка  отрицательна и равна величине смещения нормативной частотной характеристики.

Если среднее неблагоприятное отклонение значительно меньше 2 дБ или неблагоприятные отклонения отсутствуют, нормативная частотная характеристика смешается вниз (на целое число децибел) так, чтобы среднее неблагоприятное отклонение от смещенной нормативной частотной характеристики приближалось, но не превышало 2 дБ, а максимальное неблагоприятное отклонение не превышало 8 дБ. В этом случае поправка  положительная и равна величине смещения нормативной частотной характеристики.


ПРИЛОЖЕНИЕ 2

ХАРАКТЕРИСТИКИ ЗВУКОПОГЛОЩАЮЩИХ КОНСТРУКЦИЙ

Звукопоглощающие облицовки

Таблица 1

Изделия или конструкции ГОСТ или ТУ

Средняя плотность звукопоглощающего материала  в кг/м3

Толщина слоя звукопоглощающего материала h в мм

Воздушный промежуток d в мм

Ревербационный коэффициент звукопоглощения в октавных полосах со среднегеометрической частотой в Гц

63

125

250

500

1000

2000

4000

8000

1

2

3

4

5

6

7

8

9

10

11

12

13

 

1

Плиты марки ПА/О, минераловатные акустические с несквозной перфорацией по квадрату 13% диаметром 4 мм, размер 500Х500 (ТУ 21-24-60-74), к-т «Красный строитель»

150

20

0

(0,02)

0,03

0,17

0,68

0,98

0,86

0,45

0,2

2

То же

150

20

50

(0,02)

0,05

0,42

0,98

0,90

0,79

0,45

0,19

3

Плиты марки ПА/С, минераловатные, акустические, отделка набрызгом, размер 500500 (ТУ 21-24-60-74), к-т «Красный строитель»

150

20

0

(0,02)

0,05

0,21

0,66

0,91

0,95

0,89

0,70

4

То же

150

20

50

(0,02)

0,12

0,86

0,88

0,94

0,84

0,80

0,65

5

Плиты типа «Акмигран», «Акминит», минераловатные, размер 300300 (ГОСТ 17918-72)

400

20

0

(0,02)

0,11

0,30

0,85

0,9

0,78

0,72

0,59

6

Плиты типа «Акмигран», «Акминит», минераловатные, размер 300300 (ГОСТ 17918-72)

400

20

50

(0,01)

0,2

0,71

0,88

0,81

0,71

0,79

0,65

7

То же

400

20

200

(0,3)

0,48

0,71

0,70

0,79

0,77

0,62

0,59

8

Плиты АГП, гипсовые, размер 810х810, с заполнением из минеральной ваты, перфорация по квадрату 13%, диаметр 4 мм (ОСТ 24-26-76)

80

20

0

(0,03)

0,09

0,26

0,54

0,94

0,67

0,40

0,30

9

То же

80

20

50

(0,03)

0,09

0,49

0,91

0,88

0,69

0,34

0,29

10

Маты из супертонкого стекловолокна (ТУ 21-01-224-69), оболочка из стеклоткани (ГОСТ 19907 - 74*)

15

50

0

(0,1)

0,4

0,85

0,98

1,0

0,93

0,97

1,0

11

Маты из супертонкого базальтового волокна (РСТ УССР 5013-76), оболочка из декоративной стеклоткани типа ТСД (ТУ-6-11-54-74)

20

50

0

(0,1)

0,2

0,9

1,0

1,0

0,95

0,95

1,0

12

Маты из супертонкого базальтового волокна (РСТ УССР 5013-76). Оболочка из стеклоткани типа Э-0,1 (ГОСТ 19907-74*)

20

50

0

(0,02)

0,26

1,0

1,0

1,0

0,94

0,77

0,8

13

.Маты из супертонкого базальтового волокна (РСТ УССР 5013-76), оболочка из стеклоткани типа Э-0,1 (ГОСТ 19907-74*)

20

200

0

(0,23)

1,0

1,0

1,0

0,9

0,81

0,97

0,96

14

Платы «Силакпор» (ОСТ 21-22-76)

25

350

0

(0,25)

0,45

0,72

0,60

0,80

1,0

1,0

0,95

15

1 - минераловатная плита (ГОСТ 9573-72*); 2 - стеклоткань типа Э-0,1 (ГОСТ 19907-74*); 3 - гипсовая плита, размер 500х500, толщина 6 мм, перфорация по квадрату 13%, диаметр 10 мм (ТУ-400-1-283-73)

80

60

0

(0,1)

0,31

0,70

0,95

0,69

0,59

0,50

0,30

16

То же, но перфорация гипсовой плиты по рисунку 13%, диаметр 7-9 мм (ту-400-1-283-73)

80

60

0

(0,1)

0,31

0,95

0,99

0,80

0,52

0,46

0,42

17

1 - минераловатная плита (ГОСТ 9573-72*); 3 - гипсовая плита толщина 6 мм, размер 500х500, подклеенная бязью, перфорация квадратная 13%, диаметр 10 мм (ТУ-400-1-283-73)

150

70

0

(0,05)

0,42

0,95

1,0

0,75

0,60

0,51

0,35

18

1 - прошивные минераловатные маты (ТУ 21-24-51-73); 3 - гипсовая плита толщиной 6 мм, размер 500х500 мм; подклеенная бязью, перфорация квадратная, диаметр 10 мм (ТУ 400-1-283-73)

100

100

0

(0,03)

0,42

0,81

0,82

0,69

0,58

0,59

0,58

19

1 - прошивные минераловатные маты (ТУ 21-24-51-73); 3 - гипсовая плита толщиной 6 мм, размер 500х500, подклеенная бязью, перфорированная по рисунку 13%, диаметр 7-9 мм (ТУ 400-1-283-73)

100

100

0

(0,05)

0,40

0,89

0,97

0,76

0,70

0,71

0,68

20

1 - супертонкое стекловолокно (ТУ 21-01-224-96); 2 - стеклоткань типа Э-0,1 (ГОСТ 19907 - 74*); 3 - гипсовая плита толщиной 7 мм, размер 500´500, перфорация по рисунку 13%, диаметр 7-9 мм (ТУ 400-1-283-73)

15

100

0

(0,3)

0,66

1,0

1,0

1,0

0,96

0,7

0,55

21

То же

15

100

250

(0,4)

0,73

1,0

1,0

1,0

1,0

0,92

0,80

22

1 - прошивные минераловатные маты (ТУ 21-24-51-73); 2-стеклоткань типа Э-0,1 (ГОСТ 19907 - 74*); 3 - просечно-вытяжной лист толщиной 2 мм, перфорация 74% (ГОСТ 3766-58*)

100

100

0

(0,11)

0,35

0,75

1,0

0,95

0,90

0,92

0,95

23

1 - минераловатная плита (ГОСТ 9573-72*); 2 - стеклоткань типа Э-0,1 (ГОСТ 19907 - 74*); 3 - про просечно-вытяжной лист толщиной 2 мм, перфорация 74% (ГОСТ 8706-58)

125

50

0

(0,09)

0,18

0,55

1,0

0,86

0,79

0,85

0,85

24

То же

125

50

100

0,10

0,27

0,76

0,90

0,86

0,92

0,87

0,87

25

1 - супертонкое стекловолокно (ТУ 21-01-224-69); 2 - стеклоткань типа Э-0,1 (ГОСТ 19907 - 74*); 3 - просечно-вытяжной лист толщиной 2 мм, перфорация 74% (ГОСТ 8706-58)

 

15

100

0

0,15

0,47

1,0

1,0

1,0

1,0

1,0

0,95

26

То же

15

100

250

0,5

0,93

1,0

1,0

1,0

1,0

1,0

1,0

Таблица 2

Штучные звукопоглотители

Конструкция

Звукопоглощающий слой

Расстояние

Эквивалентная площадь звукопоглощения  в м2 при среднегеометрической частоте октавной полосы в Гц

влажность в мг/м3

толщина в мм

между центрами в мм

от потолка до водопоглотителя R в мм

63

125

250

500

1000

2000

4000

8000

1

2

3

4

5

6

7

8

9

10

11

12

13

14

 

27

1 - размер 400х400х400, просечно-вытяжной лист толщиной 2мм, перфорация 74% (ГОСТ 8706-58); 2 - стеклоткань типа Э-0,1 (ГОСТ 19907-74*; супертонкое стекловолокно (ТУ 21-01-224-69)

15

60

2500

1250

0,14

0,40

0,75

1,23

1,14

1,05

0,82

0,67

28

То же

15

60

1500

1250

0,08

0,23

0,55

1,03

0,97

0,86

0,75

0,60

29

То же, но с размером 320320

15

60

2000

1000

0,1

0,16

0,37

0,68

0,84

0,66

0,52

0,37

30

То же

15

60

1000

1000

0,05

0,11

0,34

0,51

0,60

0,46

0,40

0,35

31

То же, но с размером 240240

15

60

1500

750

0,03

0,09

0,15

0,29

0,35

0,37

0,30

0,20

32

1 - размер 600x300x300, листы перфорированного павинола (авиапола), (ТУ 17-21-01-1-74); 3 - супертонкое стекловолокно (ТУ 21-01-224-69)

15

150

2000

500

-

0,18

0,45

0,65

0,56

0,52

0,48

0,60

33

1 - размер 400x400x400, просечно-вытяжной лист (ГОСТ 8706-58) 2 - стеклоткань типа Э-0,1 (ГОСТ 19907 - 74*); 3 - супертонкое базальтовое волокно (РСТ УССР 5013-76); 4 - проволочный каркас

20

400

1350

1200

0,15

0,27

1,08

1,06

1,17

1,14

1,0

1,01

34

1 - размер 2600x600x300, просечно-вытяжной лист (ГОСТ 8106-58) 2 - стеклоткань типа Э -0,1 ГОСТ (19907-74); 3 - супертонкое стекловолокно (ТУ 21-01-224-69); 4 - каркас треугольного профиля

15

Полностью

0

0

0,59

0,66

1,87

2,1

2,1

1,7

1,87

2,5

35

3 - размер 1000x250x40, минераловатная плита (ГОСТ 9573 - 72*); 2 - оболочка из стеклоткани типа ТСД (ТУ 6-11-54-74)

80

40

50

0

0,95

1,1

2,94

3,80

3,60

3,45

2,29

2,0

36

То же

80

40

150

0

0,6

0,84

1,48

1,62

1,38

1,65

1,84

1,7

37

То же

80

40

250

0

0,17

0,38

0,83

1,01

0,99

1,20

1,57

1,4

38

То же

80

40

500

0

0,1

0,13

0,43

0,53

0,66

0,65

0,61

0,58

39

3 - размер 500x500x40, минераловатная плита (ГОСТ 9573 - 72*); 2 - оболочка из стеклоткани типа ТСД (ТУ 6-11-54-72)

125

40

500

0

0,28

0,34

0,60

0,98

1,45

1,57

1,56

1,5

40

3 - размер 1000x500x80, минераловатная плита (ГОСТ 9573 - 72*); 2 - оболочка из стеклоткани типа ТСД (ТУ 6-11-54-74)

80

80

500

0

0,31

0,38

0,81

1,14

1,22

1,18

1,07

1,0


ПРИЛОЖЕНИЕ 3

СНИЖЕНИЕ УРОВНЕЙ ЗВУКОВОГО ДАВЛЕНИЯ ГЛУШИТЕЛЯМИ ШУМА

Таблица 1

Снижение уровней звукового давления в дБ трубчатыми глушителями шума, устанавливаемыми на всасывании воздуха компрессорных установок, при скорости потока до 10 м/с (звукопоглощающий материал - супертонкое стеклянное или базальтовое волокно со средней объемной плотностью  соответственно 25 и 20 кг/м3)

Внутренний диаметр D в мм

Свободное сечение глушителя Fсв в м2

Длина секции глушителя в м

Количество секций в шт.

Снижение уровня звукового давления в дБ при среднегеометрической частоте октавных полос в Гц

63

125

250

500

1000

2000

4000

8000

1

2

3

4

5

6

7

8

9

10

11

12

115

0,011

1

1

22

21

37

30

39

37

40

31

 

 

 

2

27

29

60

56

75

70

72

53

 

 

 

3

31

38

60

70

75

75

75

70

 

 

 

4

36

46

60

70

75

75

75

70

 

 

 

5

41

55

60

70

75

75

75

70

194

0,029

1

1

17

15

26

21

27

33

29

23

 

 

 

2

20

22

40

30

51

58

58

53

 

 

 

3

24

29

60

57

75

75

68

49

 

 

 

4

27

35

60

70

75

75

75

62

 

 

 

5

30

41

60

70

75

75

75

70

285

0,064

1

1

13

13

16

15

19

25

20

15

 

 

1

2

16

18

29

26

33

41

30

20

 

 

 

3

18

24

42

37

47

57

40

25

 

 

 

4

21

29

55

49

61

73

50

30

 

 

 

5

23

34

60

60

75

75

60

35

375

0,11

1

1

11

9

15

13

20

22

17

13

 

 

 

2

12

14

27

23

33

34

23

16

 

 

 

3

14

18

39

32

46

47

30

19

 

 

 

4

15

22

51

42

59

60

27

22

 

 

 

5

17

26

60

52

72

73

43

25

 

 

 

6

18

30

60

61

71

75

50

28

 

 

 

7

20

34

60

70

75

75

56

31

440

9,152

1

1

10

10

14

11

19

19

13

10

 

 

 

2

11

13

24

18

29

29

15

11

 

 

 

3

12

17

35

25

40

39

18

12

 

 

 

4

13

20

45

32

50

49

20

13

 

 

 

5

14

24

55

39

60

59

23

14

 

 

 

6

15

27

60

46

71

69

26

15

1 Схема трубчатого глушителя шума приведена на рис. 22.

Таблица 2

Снижение уровней звукового давления в дБ вертикальными трубчатыми глушителями шума, устанавливаемыми на выходе компрессорных и мелких газотурбинных установок при скорости потока до 10 м/с (звукопоглощающий материал - минераловатные плиты,  = 100 кг/м3, толщина звукопоглощающего слоя 100 мм)

Внутренний диаметр D в м

Свободное сечение глушителя Pсв в м2

Длина секции глушителя в м

Количество секций в шт.

Снижение уровня звукового давления в дБ при среднегеометрической частоте октавных полос в Гц

63

125

250

500

1000

2000

4000

8000

1

2

3

4

5

6

7

8

9

10

11

12

115

0,011

1

 

25

26

33

40

40

44

46

40

 

 

 

 

30

35

51

66

69

75

75

61

 

 

 

 

35

44

60

70

75

75

75

70

194

0,029

1

1

20

23

30

32

32

38

36

31

 

 

 

2

21

31

46

52

54

60

54

43

 

 

 

3

28

39

60

70

75

75

72

55

285

0,064

1

1

18

20

23

25

30

31

26

32

 

 

 

2

21

26

34

40

46

45

33

25

 

 

 

3

24

32

45

55

62

59

40

28

300

0,071

2,05

1

21

26

34

40

46

45

33

25

 

 

 

2

27

38

56

70

75

73

47

31

 

 

 

3

33

50

60

70

75

75

60

37

375

0,11

1

1

17

18

22

25

28

27

25

22

 

 

 

2

20

23

32

39

40

36

31

25

 

 

 

3

23

28

42

53

52

45

37

28

440

0,15

1

1

17

18

21

23

26

26

24

22

 

 

 

2

20

23

30

35

36

34

29

24

 

 

 

3

23

28

39

47

46

42

34

26

600

0,28

1,65

1

16

17

21

27

26

24

22

20

 

 

 

2

20

24

32

42

36

30

27

24

 

 

 

3

23

31

44

57

46

37

32

27

800

0,5

1,65

1

14

16

21

28

23

21

19

19

 

 

 

2

16

22

31

39

31

25

21

21

 

 

 

3

18

26

41

51

38

30

23

23

1 Схема вертикального трубчатого глушителя шума приведена на рис. 23.

Таблица 3

Снижение уровней звукового давления в дБ пластинчатыми глушителями шума, устанавливаемыми в бетонных или кирпичных шахтах при скорости потока не выше 15 м/с

Звукопоглощающая конструкция

Толщина щита H в мм

Шаг щитов  в мм

Относительное свободное сечение глушителя  в мм2

Рабочая длина щита l в мм

Снижение уровня звукового давления в дБ при среднегеометрической частоте октавной полосы в Гц

63

125

250

500

1000

2000

4000

8000

1

2

3

4

5

6

7

8

9

10

11

12

13

1. Супертонкое базальтовое или стеклянное волокно, = 20-25 кг/м3, в оболочке из стеклоткани и перфорированного листа (перфорация не менее 27%)

100

50

33

1

2

3

4

5

10

15

20

13

25

38

51

20

36

53

60

25

44

63

70

38

67

75

75

45

75

75

75

36

63

75

75

27

44

61

70

2. То же

100

100

50

1

2

3

4

5

6

2

4

6

8

10

11

6

10

14

19

24

28

13

21

29

37

45

53

20

34

50

63

70

70

29

49

69

75

75

75

31

53

73

75

75

75

25

39

54

69

75

75

15

20

25

30

35

40

3. То же

200

100

33

1

2

3

4

4

8

13

17

10

18

26

35

16

23

39

50

21

34

48

62

27

45

62

75

31

52

73

75

28

45

63

75

21

32

42

53

4. То же

200

200

50

1

2

3

4

5

6

3

5

7

10

12

14

9

14

20

26

32

37

13

19

20

32

39

46

16

23

31

38

46

53

18

27

36

45

54

63

19

28

36

45

54

63

17

23

30

36

43

49

13

16

19

22

25

28

5. То же

400

200

33

1

2

3

4

5

6

11

17

23

29

9

15

21

27

34

12

18

24

30

36

16

24

32

40

48

20

30

41

52

63

22

34

46

58

70

17

24

31

38

45

12

14

17

19

21

6. Полужесткие минеральные плиты = 100 кг/м3 в оболочке из стеклоткани и перфорированного листа (перфорация не менее 25%)

100

50

33

1

2

3

4

2

4

6

8

6

12

18

24

18

34

50

58

35

65

70

70

50

75

75

75

50

75

75

75

40

75

75

75

26

42

58

64

7. Полужесткие минераловатные плиты = 100 кг/м3 в оболочке из стеклоткани и перфорированного листа (перфорация не менее 25%)

100

100

50

1

2

3

4

5

2

3

5

6

8

4

8

12

16

20

12

22

28

36

44

22

37

52

67

70

29

49

69

75

75

27

44

61

75

75

22

34

46

58

70

17

24

31

38

45

8. То же

200

100

33

1

2

3

4

5

6

7

8

9

10

3

6

9

12

15

18

21

24

27

30

7

11

21

38

35

42

49

56

63

70

14

24

34

44

54

64

74

75

75

75

27

47

67

75

75

75

75

75

75

75

37

65

75

75

75

75

75

75

75

75

39

68

75

75

75

75

75

75

75

75

33

68

75

75

75

75

75

75

75

75

18

26

31

42

50

58

66

72

75

75

9. То же

200

200

50

1

2

3

4

5

6

1

2

3

4

5

6

4

7

10

13

17

19

13

26

27

34

41

48

20

32

44

56

68

70

25

40

55

70

75

75

23

36

49

62

75

75

14

18

22

26

30

34

12

13

15

16

17

19

10. То же

400

100

200

100

33

50

4

1

30

50

58

68

75

75

64

40

Схемы размещения пластинчатых глушителей в шахтах приведены на рис. 24.

Таблица 4

Снижение уровней звукового давления в дБ секционными, вертикальными глушителями шума, с цилиндрическими сетчатыми звукопоглотителями, наполненными керамзитом (фракция 3-6 мм)

Характеристика глушителя

Относительное свободное сечение глушителя  в %

Число рядов (n) цилиндрических звукопоглотителей

Исходный общий уровень звуковой мощности  в дБ (не менее)

Скорость потокав м/с (не более)

Снижение уровня звукового давления в дБ при среднегеометрической частоте октавной полосы в Гц

63

125

250

500

1000

2000

4000

8000

1

2

3

4

5

6

7

8

9

10

11

12

13

1. Внутренний диаметр D=1380 мм

50

2

4

6

8

132

10

4

7

10

13

13

21

27

29

22

29

30

30

28

25

49

59

40

63

66

66

35

60

76

75

38

62

75

75

38

63

75

75

2. Внутренний диаметр D=2500 мм

50

2

4

6

8

132

10

4

7

9

12

13

20

24

25

21

25

25

25

28

42

44

54

40

60

61

61

35

60

72

72

38

62

75

75

38

68

75

75

3. Внутренний диаметр D=2500 мм, секции глушителя с внутренней стороны облицованы минераловатными плитами толщиной 100 мм на длине 8 м

500

6

165

20

30

40

24

24

24

32

32

32

38

38

38

50

50

50

70

65

53

69

59

49

70

60

49

68

61

50

4. То же, D = 3570 мм

50

6

170

20

30

40

24

24

24

32

32

32

38

38

38

50

50

50

72

65

56

72

62

52

72

64

54

700

64

54

5. То же, D = 5400 мм

50

6

175

20

30

40

24

24

24

32

32

32

38

38

38

50

50

50

73

67

59

72

65

55

73

66

57

70

66

56

6. То же, D = 7200 мм

Облицовка секций на длине 10 м

60

8

165

20

30

40

25

23

20

33

32

38

40

38

34

56

48

39

67

53

43

63

51

41

63

51

41

67

51

43

 

 

 

170

20

30

40

25

25

24

33

33

32

40

39

38

56

51

43

67

56

47

65

54

44

66

54

44

68

58

47

 

 

 

175

20

30

40

25

25

25

33

33

32

40

40

39

56

52

46

69

53

30

67

57

47

68

57

47

69

60

49

Схемы размещения пластинчатых глушителей в шахтах приведены на рис. 25.

 




Rambler's Top100 Яндекс цитирования
  Copyright © 2008-2026, www.docload.ru