Бесплатная библиотека стандартов и нормативов www.docload.ru

Все документы, размещенные на этом сайте, не являются их официальным изданием и предназначены исключительно для ознакомительных целей.
Электронные копии этих документов могут распространяться без всяких ограничений. Вы можете размещать информацию с этого сайта на любом другом сайте.
Это некоммерческий сайт и здесь не продаются документы. Вы можете скачать их абсолютно бесплатно!
Содержимое сайта не нарушает чьих-либо авторских прав! Человек имеет право на информацию!

 

ГОСУДАРСТВЕННЫЕ СТАНДАРТЫ

СИСТЕМА СТАНДАРТОВ БЕЗОПАСНОСТИ ТРУДА

ЩИТКИ ЗАЩИТНЫЕ ЛИЦЕВЫЕ

Общие технические требования
и методы контроля

ГОСТ 12.4.023 84

Москва

ИПК ИЗДАТЕЛЬСТВО СТАНДАРТОВ

2001

МЕЖГОСУДАРСТВЕННЫЙ СТАНДАРТ

Система стандартов безопасности труда

ЩИТКИ ЗАЩИТНЫЕ ЛИЦЕВЫЕ

Общие технические требования и методы контроля

Occupational safety standards system. Protective
face shields. General technical requirements and methods of control

ГОСТ
12.4.023-84

Дата введения 01.07.85

Настоящий стандарт распространяется на щитки, предназначенные для защиты лица работающих от воздействия твердых частиц, брызг жидкостей и расплавленного металла, искр, ультрафиолетового и инфракрасного излучений, слепящей яркости света, радиоволн СВЧ-диапазона, выпускаемые в климатическом исполнении У по ГОСТ 15150.

Стандарт не распространяется на щитки, предназначенные для защиты лица от воздействия ионизирующего и лазерного излучений. Термины, используемые в настоящем стандарте, и их пояснения приведены в приложении 1.

Обязательные требования к качеству щитков, обеспечивающих их безопасность для жизни и здоровья работающих, изложены в пп. 2.4-2.19.

Стандарт пригоден для целей сертификации.

(Измененная редакция, Изм. № 2).

1. КЛАССИФИКАЦИЯ

1.1. Щитки защитные лицевые в зависимости от конструктивного исполнения подразделяются на типы, указанные в табл. 1.

Допускаются щитки других конструктивных исполнений.

Корпуса щитков, указанных в табл. 1 исполнений, могут иметь принудительную вентиляцию и подвижный стеклодержатель.

Таблица 1

Тип

Исполнение корпуса щитка

Обозначение

Щитки с наголовным креплением

Бесцветный прозрачный ударостойкий

НБТ

Бесцветный прозрачный химически стойкий

НБХ

Светофильтруюший

НФ

Сетчатый

НС

Непрозрачный

НН

Щитки с креплением на каске

Бесцветный прозрачный ударостойкий

КБТ

Бесцветный прозрачный химически стойкий

КБХ

Светофильтрующий

КФ

Сетчатый

КС

Непрозрачный

КН

Щитки с ручкой

Непрозрачный

РН

Светофильтрующий

РФ

Щитки универсальные

Непрозрачный

УН

При этом, к наименованию типа щитка добавляются слова «с принудительной вентиляцией» или «с подвижным стеклодержателем» и к обозначению добавляется соответственно буква «В» или «П».

Примеры условного обозначения типа щитка с ручкой, непрозрачным корпусом и подвижным стеклодержателем:

РНП

То же, с креплением на каске, светофильтрующим корпусом с принудительной вентиляцией:

КФВ

1.2. Защитные лицевые щитки в зависимости от назначения подразделяются на группы и подгруппы, указанные в табл. 2.

Таблица 2

Группа

Подгруппа

Тип

Исполнение корпуса щитка

Вид смотрового стекла

Щитки для защиты от ударов твердых частиц

-

Щитки с наголовным креплением (или креплением на каске)

Бесцветный прозрачный ударостойкий

-

Щитки для защиты от излучений

Щитки для зашиты от инфракрасного излучения

Любой

Светофильтрующий, непрозрачный или сетчатый

Светофильтр или его комбинация с прозрачным бесцветным стеклом

Щитки для защиты от ультрафиолетового излучения

Любой

Светофильтрующий или непрозрачный

Светофильтр или его комбинация с прозрачным бесцветным стеклом

Щитки для зашиты от слепящей яркости света

Любой

Светофильтрующий или непрозрачный

Светофильтр или его комбинация с прозрачным бесцветным стеклом

Щитки для защиты от радиоволн СВЧ-диапазона

Щитки с наголовным креплением (или креплением на каске)

-

-

Щитки для защиты от брызг, разбавленных кислот, щелочей, растворов солей

-

Щитки с наголовным креплением (или креплением на каске)

Бесцветный прозрачный химически стойкий

-

Щитки для защиты от искр и брызг расплавленного металла

-

Любой

Светофильтрующий, непрозрачный или сетчатый

Светофильтр или его комбинация с прозрачным бесцветным стеклом

Щитки для защиты от сочетания перечисленных факторов

-

-

-

-

2. ОБЩИЕ ТЕХНИЧЕСКИЕ ТРЕБОВАНИЯ

2.1. Щитки защитные лицевые должны отвечать требованиям ГОСТ 12.4.011.

2.2. Щитки защитные лицевые должны изготовляться в соответствии с требованиями настоящего стандарта по технической документации, утвержденной в установленном порядке.

2.3. Щитки защитные лицевые должны изготовляться из материалов, разрешенных Государственными службами санитарно-эпидемиологического надзора государств-участников Соглашения.

(Измененная редакция, Изм. № 2).

2.4. Размеры щитков должны быть не менее указанных на черт. 1 и в табл. 3.

1 - корпус щитка; 2 - лобно-затылочная лента наголовного крепления; 3 - теменная лента наголовного крепления

Черт. 1

Таблица 3

Размеры, мм

Тип

Обозначение

Н

В

А

Масса, кг, не более

Щитки с наголовным креплением, с бесцветным прозрачным ударостойким корпусом

НБТ

180

180

80

0,250

Щитки с креплением на каске с бесцветным прозрачным ударостойким корпусом

КБТ

0,250*

Щитки с наголовным креплением, с бесцветным прозрачным химически стойким корпусом

НБХ

200

180

120

0,300

Щитки с креплением на каске с бесцветным прозрачным химически стойким корпусом

КБХ

0,300*

Щитки с наголовным креплением со светофильтрующим корпусом

НФ

200

190

100

0,280

Щитки с креплением на каске со светофильтрующим корпусом

КФ

0,280*

Щитки с наголовным креплением с сетчатым корпусом

НС

220

190

100

0,300

Щитки с креплением на каске с сетчатым корпусом

КС

0,300*

Щитки с наголовным креплением с непрозрачным корпусом

НН

230

200

100

0,620

Щитки с креплением на каске с непрозрачным корпусом

КН

0,620*

Щитки с ручкой, с непрозрачным корпусом

РН

230

200

100

0,600

Щитки с ручкой, со светофильтрующим корпусом

РФ

200

190

100

0,280

Щитки универсальные с непрозрачным корпусом

УН

230

200

100

0,650

* Масса щитков указана без каски.

Примечание. При наличии в щитках подвижного стеклодержателя допускается увеличение массы на 0,080 кг.

(Измененная редакция, Изм. № 1).

2.5. Масса щитков должна быть не более указанной в табл. 3.

2.6. Конструкция наголовного крепления должна обеспечивать возможность регулировки длины лобно-затылочной ленты по охвату головы от 540 до 700 мм, теменной ленты - от 300 до 370 мм.

Регулировка должна быть плавной или ступенями не более 10 мм без применения инструмента. Ширина лент наголовного крепления должна быть не менее 18 мм.

(Измененная редакция, Изм. № 2).

2.7. Скорость горения материалов, используемых для изготовления лицевых щитков, не должна превышать 1,25 мм/с.

2.8. На внутренней и торцевой поверхности щитков не должно быть острых кромок, выступающих элементов, которые могли бы вызвать травму лица или глаз.

2.9. Бесцветные смотровые и покровные стекла, подложки, бесцветные прозрачные корпуса щитков по показателям оптических свойств и внешнего вида должны соответствовать требованиям ГОСТ 10377.

2.10. В щитках должны быть применены стеклянные, окрашенные в массе светофильтры по нормативной документации на светофильтры конкретных марок.

Дуга через светофильтр сварщика должна просматриваться в желто-зеленом или зеленом цвете.

Допускается применять стеклянные светофильтры с покрытием, а также светофильтры из других материалов, показатели качества которых не ниже установленных для светофильтров, окрашенных в массе.

Применение светофильтров при сварочных и металлургических процессах в приложении 4.

2.9, 2.10. (Измененная редакция, Изм. № 2).

2.11. В защитных лицевых щитках должна быть обеспечена возможность установки и замены бесцветных смотровых стекол и корпусов, а также стандартных светофильтров без применения специального инструмента.

Смотровые стекла должны надежно удерживаться при любом положении изделия.

2.12. В изделиях, имеющих поворотно-фиксирующее устройство, должна обеспечиваться фиксация корпуса и (или) подвижного стеклодержателя в закрытом и открытом положениях.

2.13. Корпус и (или) подвижной стеклодержатель поворотно-фиксирующего устройства должны переводиться из одного фиксированного положения в другое одной рукой без снятия изделия с головы, при этом крепление не должно смещаться.

Установленная безотказная наработка поворотно-фиксирующего устройства должна быть не менее 1500 циклов.

За цикл принимается перемещение корпуса или подвижного стеклодержателя из одного фиксированного положения в другое и обратно.

(Измененная редакция, Изм. № 1).

2.14. Щитки в транспортной упаковке не должны иметь механических повреждений после воздействия транспортной тряски двух-трех колебаний в 1 с и максимальным ускорением 30 м/с.

2.15. Щитки, упакованные в транспортную тару, после пребывания в климатических условиях транспортирования, предусмотренных нормативно-технической документацией на конкретное изделие в соответствии с требованиями ГОСТ 15150, должны соответствовать требованиям пп. 2.6, 2.11-2.13.

2.16. Защитные лицевые щитки должны соответствовать требованиям пп. 2.6, 2.11-2.13 после воздействия в условиях эксплуатации низких или высоких температур, смены температур и влажности воздуха.

2.15, 2.16. (Измененная редакция, Изм. № 2).

2.17. Щитки с бесцветными прозрачными однослойными стеклами должны выдерживать одиночные удары кинетической энергией не менее 0,6 Дж, щитки с бесцветным прозрачным ударостойким корпусом или с трехслойными смотровыми стеклами должны выдерживать одиночные удары кинетической энергией не менее 1,2 Дж.

2.18. Размеры смотрового окна в щитках с непрозрачным корпусом должны быть не менее 40´90 мм.

Размеры светофильтров, рекомендуемые для использования в защитных щитках, должны соответствовать указанным в табл. 4.

Таблица 4

мм

Ширина

Длина

45*

65*

37*

130*

52**

102*

69**

121**

90**

102**

* Устанавливаются в козырьковые очки, закрепляемые на щитке НСП.

** Устанавливаются в щитках типа НН, КН, РН, УН, ННП, РНП.

Предельные отклонения размеров светофильтров по длине и ширине ±1,0 мм; отклонение от перпендикулярности сторон - в пределах указанного допуска.

(Измененная редакция, Изм. № 2).

2.19. Расстояние между корпусом и лобной частью наголовного крепления должно быть не менее 30 мм.

3. МЕТОДЫ КОНТРОЛЯ

3.1. Отбор образцов

Щитки для испытаний отбирают методом случайного отбора. Количество щитков, подвергаемое испытаниям, устанавливается в нормативно-технической документации на конкретный тип щитка. Испытания по пп. 3.4, 3.10 проводят на щитках, прошедших другие испытания.

3.2. Определение размеров щитков

3.2.1. Аппаратура

Металлическая линейка по ГОСТ 427.

Штангенциркуль по ГОСТ 166.

Допускается применение других измерительных средств, по точности соответствующих требованиям указанных стандартов.

3.2.2. Подготовка к испытанию

Щитки кондиционируют в течение 24 ч в закрытом проветриваемом помещении с температурой воздуха (20±2) °С и относительной влажностью не более 65 %.

3.2.3. Проведение испытания

Размеры корпуса щитков измеряют металлической линейкой с точностью ±1 мм. Ширину лент наголовного крепления, размеры смотрового стекла, расстояние между корпусом и лобной частью наголовного крепления измеряют металлической линейкой или штангенциркулем с точностью ±1 мм.

3.3 Определение массы

3.3.1. Аппаратура

Весы с точностью взвешивания ±5 г.

(Измененная редакция, Изм. № 2).

3.3.2. Подготовка к испытанию - по п. 3.2.2.

3.3.3. Проведение испытания

Щитки взвешивают на весах с погрешностью не более 0,005 кг.

(Измененная редакция, Изм. № 2).

3.4. Определение скорости горения материалов щитка - по ГОСТ 12.4.013*.

* На территории Российской Федерации действует ГОСТ Р 12.4.013-97 (здесь и далее).

При проведении испытания необходимо соблюдать требования пожарной безопасности по ГОСТ 12.1.004 и применять защитные очки типа ЗП по ГОСТ 12.4.013.

3.5. Проверка внешнего вида, регулировки наголовного крепления, заменяемости смотровых стекол и корпуса щитка

3.5.1. Подготовка к испытанию - по п. 3.2.2.

3.5.2. Проведение испытания

Качество поверхности щитков (п. 2.8) проверяют визуально без применения оптических средств. Возможность регулировки наголовного крепления по охвату головы (п. 2.6) и пятикратной замены смотровых стекол или корпуса щитка (п. 2.11) проверяют без применения специального инструмента.

3.6. Испытание надежности поворотно-фиксирующих устройств

3.6.1. Аппаратура

Стенд, обеспечивающий перемещение корпуса или подвижного стеклодержателя щитка из закрытого положения в открытое и обратно при продолжительности одного цикла не менее 1,5 с. Допускается перемещать корпус и подвижной стеклодержатель вручную.

(Измененная редакция, Изм. № 2).

3.6.2. Подготовка к испытанию - по п. 3.2.2

3.6.3. Проведение испытания

Через каждые 500 циклов проводят проверку фиксирования корпуса или подвижного стеклодержателя в закрытом и открытом положениях, при этом допускается регулировка поворотно-фиксирующего устройства.

За положительный результат принимается способность поворотно-фиксирующего устройства после проведения испытаний обеспечивать фиксацию корпуса в закрытом и открытом положениях.

(Измененная редакция, Изм. № 1).

3.7. Испытание устойчивости щитков к механическим воздействиям при транспортировании

3.7.1. Аппаратура

Стенд, имитирующий транспортную тряску с частотой 2-3 колебания в 1 с и максимальном ускорении 30 м/с.

3.7.2. Подготовка к испытанию

3.7.2.1. Кондиционирование проводиться по п. 3.2.2.

3.7.2.2. Щитки, упакованные в транспортную тару, жестко крепятся на платформе стенда без дополнительной амортизации.

3.7.3 Проведение испытания

Испытание проводится в течение 1 ч.

За положительный результат принимается отсутствие разрушений конструкции и смотровых стекол щитка.

3.8. Испытание стойкости щитков к воздействию климатических факторов внешней среды при транспортировании

3.8.1. Аппаратура

Камеры климатические, обеспечивающие поддержание в рабочем объеме заданной температуры с погрешностью ±3°С не менее 24 ч и относительной влажности с погрешностью ±3% не менее 48 ч.

3.8.2. Подготовка к испытанию

Щитки помещают в транспортную упаковку.

3.8.3. Проведение испытания

Щитки в транспортной упаковке выдерживают в камерах при максимальном и минимальном значении температур транспортирования в течение 4 ч с последующей выдержкой в нормальных климатических условиях в течение 24 ч.

Щитки помещают в камеру влажности и выдерживают в течение 48 ч при значениях влажности, соответствующих условиям транспортирования, с последующей выдержкой в нормальных климатических условиях в течение 24 ч.

За окончательный результат испытаний принимается соответствие каждого испытуемого щитка требованиям настоящего стандарта.

3.9. Испытание стойкости щитков к воздействию климатических факторов при эксплуатации

3.9.1. Аппаратура - по п. 3.8.1.

3.9.2. Проведение испытания

При испытании на тепло- и холодоустойчивость щитки выдерживают в камерах при температурах, соответствующих максимальной и минимальной температуре эксплуатации щитков. В камерах должно обеспечиваться поддержание температуры с погрешностью ±3 °С. Время экспозиции - 4ч.

При испытании на устойчивость к смене температур щитки подвергают воздействию трех непрерывно следующих друг за другом циклов изменения температуры. В каждом цикле щитки помещают в камеру холода с температурой, соответствующей минимальной температуре при эксплуатации щитков, и выдерживают в течение 4 ч, затем переносят в камеру тепла с температурой, соответствующей максимальной температуре при эксплуатации щитков, и выдерживают 4 ч. Время переноса щитков из камеры в камеру не должно превышать 5 мин.

При испытании на влагоустойчивость щитки выдерживают в камере влажности в течение 48 ч при относительной влажности (95±3) % и температуре (25±3) °С.

За окончательный результат испытаний принимается соответствие каждого испытуемого щитка требованиям настоящего стандарта.

3.10. Испытание прочности щитков на удар

3.10.1. Аппаратура

Весы лабораторные с погрешностью взвешивания не более 0,1 г по ГОСТ 24104.

Линейка метровая металлическая с ценой деления 1 мм по ГОСТ 427.

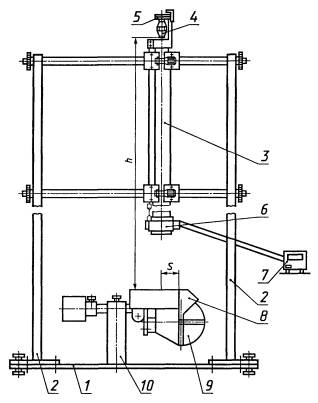
Специальный стенд для испытания прочности щитков (черт. 2), имеющий металлическую станину массой не менее 20 кг со стойками, на которых вертикально укреплена направляющая труба длиной 1 м с устройством для удержания и сбрасывания ударника (черт. 3).

3.10.2. Подготовка к испытанию

Щитки кондиционируют в течение 24 ч в закрытом проветриваемом помещении с температурой воздуха (20±5) °С, после чего одевают на макет головы и закрепляют на стенде при помощи специального устройства (черт. 2, 4).

Стенд для испытания механической прочности щитков

1 - станина; 2 - стойки; 3 - направляющая труба; 4 - ударник; 5 - спусковое устройство; 6, 7 - узлы счетчика времени; 8 - испытываемый щиток; 9 - макет головы человека по ГОСТ 12.4.128; 10 - устройство для закрепления щитка

Черт. 2

Масса ударника, необходимая для проведения испытаний в соответствии с приложением 2, обеспечивается путем наполнения его полости дробью (ГОСТ 7837 или ГОСТ И 964). Проверка массы осуществляется взвешиванием на весах.

Стенд подвергается калибровке в соответствии с приложением 3.

Высоту сбрасывания ударника проверяют при помощи линейки.

Обеспечить горизонтальное положение щитка на макете головы таким образом, чтобы точки приложения ударов бойка находились внутри окружности радиусом 15 мм, проведенным из центра стекла.

Для прозрачного бесцветного корпуса точки приложения ударов должны соответствовать области проекции глаз на корпус щитка, т.е. находиться на расстоянии от кромки наголовного крепления (черт. 2). Под свободный конец корпуса подвести подставку 1 (черт. 4).

3.10.3. Проведение испытаний

Щитки испытывают при помощи свободно падающего с высоты (1,3±0,005) м ударника со съемным бойком из стали твердостью не менее 350 НВ в форме полусферы радиусом (11+0,1) мм.

Ударник для испытания механической прочности щитков

1 и 2 - оболочки; 3 - хвостовик; 4, 5 - бойки

Черт. 3

Устройство для закрепления щитка при испытании (вид сбоку)

1 - подставка; 2 - регулировочный винт; 3 - направляющая; 4 - слой поролона; 5 - макет головы человека

Черт. 4

Примечание. При проведении испытаний на перфорацию применяют ударник с бойком в виде конуса с углом заточки (60±1)° и радиусом закругления острия (0,5±0,1) мм (черт. 3).

Ударник с бойком в виде полусферы устанавливают в держателе стенда, после чего ему придают свободное падение на поверхность щитка.

При заданном значении энергии ударника производят три удара с одинаковой энергией по корпусу щитка или по стеклу. Щиток считают годным, если после трех ударов на корпусе щитка или смотровом стекле не обнаружено трещин, сколов, а сам корпус или стекло остались надежно закрепленными.

3.10.1-3.10.3. (Введены дополнительно, Изм. № 1).

ПРИЛОЖЕНИЕ 1

Справочное

ТЕРМИНЫ, ИСПОЛЬЗУЕМЫЕ В НАСТОЯЩЕМ СТАНДАРТЕ, И ИХ ПОЯСНЕНИЯ

Термин

Пояснение

1. Щиток защитный лицевой

Средство индивидуальной защиты лица работающих от воздействия опасных и вредных производственных факторов

2. Щиток защитный лицевой с наголовным креплением

Щиток, который при эксплуатации крепится на голове

3. Щиток защитный лицевой с креплением на каске

-

4. Щиток защитный лицевой с ручкой

Щиток, который при эксплуатации удерживается рукой

5. Щиток защитный лицевой универсальный

Щиток, который укомплектован наголовным креплением и ручкой

6. Корпус щитка

Конструктивный элемент щитка, обеспечивающий защитные свойства, на котором монтируется крепление щитка и (или) стеклодержатель и другие элементы

7. Бесцветный прозрачный корпус щитка

Корпус, пропускающий оптическое излучение по всему спектру

8. Светофильтрующий корпус щитка

Корпус, ослабляющий интенсивность вредного излучения в оптической части спектра

9. Непрозрачный корпус щитка

Корпус, не пропускающий оптическое излучение по всему спектру

10. Крепление щитка

Конструктивный элемент щитка, предназначенный для обеспечения фиксации щитка в требуемом при эксплуатации положении

11. Смотровое стекло

Конструктивный элемент щитка, предназначенный для обеспечения видения и защиты области глаз от воздействия опасных и вредных производственных факторов

12. Светофильтр

Смотровое стекло, ослабляющее интенсивность вредного излучения в оптической части спектра

13. Покровное стекло

Конструктивный элемент щитка, предназначенный для защиты светофильтра

14. Подложка щитка

Конструктивный элемент щитка, предназначенный для защиты глаз от осколков смотрового стекла

15. Стеклодержатель

Конструктивный элемент щитка для установки и крепления смотровых стекол

16. Подвижный стеклодержатель

Стеклодержатель, который в условиях эксплуатации позволяет переводить смотровые стекла в открытое или закрытое положение, не поднимая корпус щитка

17. Поворотно-фиксирующее устройство

Конструктивный элемент щитка, обеспечивающий возможность поворота и фиксации корпуса и (или) подвижного стеклодержателя в заданном положении

ПРИЛОЖЕНИЕ 2

Справочное

СООТНОШЕНИЕ МАССЫ m И ЭНЕРГИИ УДАРНИКА W (ВЫСОТА ПАДЕНИЯ h=1,3 м)

Масса, кг

Энергия, Дж

Масса, кг

Энергия, Дж

0,039

0,5

0,109

1,4

0,047

0,6

0,125

1,6

0,055

0,7

0,141

1,8

0,063

0,8

0,149

1,9

0,07

0,9

0,161

2,0

0,078

1,0

0,165

2,1

0,094

1,2

0,173

2,2

ПРИЛОЖЕНИЕ 3

Справочное

ПОРЯДОК КАЛИБРОВКИ СТЕНДА

Стенд для испытания прочности щитков калибруют с целью исключения влияния трения о стенки направляющей трубы на скорость ударника. На нижнем конце трубы укрепляют фотоэлектронный преобразователь, содержащий 2 источника излучения и 2 фотоприемника, установленных на расстоянии 1-10-2 м.

При падении внутри направляющей трубы ударник перекрывает луч света верхней лампы фотоэлектронного преобразователя, в котором формируется сигнал начала отсчета, подаваемый на триггер; выходной сигнал триггера запускает генератор импульсов. При дальнейшем падении ударник перекрывает луч света нижней лампы и формируется сигнал окончания отсчета.

Для калибровки производят сбрасывание ударника и снимают показания времени с цифрового счетчика; повторяют измерения t не менее 15 раз.

Вычисляют среднеарифметическое tCP, DtCP, стандартное отклонение и коэффициент вариации; рассчитывают среднюю скорость ударника по формуле

где 1×10-2 - расстояние между лучами, м;

tCP×10-3 - время пролета ударника между лучами, с.

Теоретическое значение скорости находят по формуле

, м/с,

где g - ускорение силы тяжести; h - высота падения ударника (измерения с точностью до 1 мм).

Сопоставляют значения V1 и V2; если они отличаются во втором знаке после запятой, то трение незначительно.

Если имеется большее отличие - следует проверить качество внутренней поверхности трубы, точность ее установки в вертикальном положении по отвесу или правильность показаний прибора - счетчика времени.

В дальнейшем расчет скоростей V1 и V2 и их сравнение для данного прибора выполняют в том случае, если потребовалось изменить положение трубы или при периодических проверках.

ПРИЛОЖЕНИЯ 2, 3. (Введены дополнительно. Изм. № 1).

ПРИЛОЖЕНИЕ 4

Справочное

1. Применение в защитных щитках светофильтров, с обозначением «П» (из стекла СС-12) и «Д» (из стекла СС-14) для прокатных, сталеплавильных, доменных и других работ должно соответствовать табл. 1.

Таблица 1

Вид работы

Обозначение светофильтра

У нагревательных печей, прокатных станов и в кузнечных цехах

П-1

У сталеплавильных и других металлургических печей (кроме доменных) при температуре, °С:

 

до 1200

П-2

от 1200 до 1500

П-3

" 1500 " 1800

П-4

У сталеплавильных печей, печей электрошлакового переплава при температуре от 1600 до 2000 °С

П-5

У доменных и нагревательных печей, прокатных станов и в кузнечных цехах

Д-1

У доменных печей

Д-2

У доменных и стекловаренных печей

Д-3

2. Применение в щитках светофильтров с обозначением «С» (из стекла ТС-3С) в зависимости от величины сварочного тока и вида сварки указано в табл. 2.


Таблица 2

Сварка

Воздушно-дуговая поверхностная резка, строжка и выплавка

дуговая

плазменная

металлическим электродом

тяжелых металлов металлическим электродом в среде инертных газов

легких сплавов металлическим электродом в среде инертных газов

вольфрамовым электродом в инертных газах

металлическим электродом в СО2

Сила тока, А

Обозначение светофильтра

Сила тока, А

Обозначение светофильтра

Сила тока, А

Обозначение светофильтра

Сила тока, А

Обозначение светофильтра

Сила тока, А

Обозначение светофильтра

Сила тока, А

Обозначение светофильтра

Сила тока, А

Обозначение светофильтра

15-30

С-3

20-30

С-3

15-30

С-4

10-15

С-3

30-60

С-1

30-50

С-5

500-700

С-11

30-60

С-4

30-50

С-4

30-50

С-5

15-20

С-4

60-100

С-2

50-100

С-6

700-900

С-12

60-150

С-5

50-80

С-5

50-90

С-6

20-40

С-5

100-150

С-3

100-175

С-7

Св. 900

С-13

150-275

С-6

80-100

С-6

90-150

С-7

40-80

С-6

150-175

С-4

175-300

С-8

 

 

275-350

С-7

100-200

С-7

150-275

С-8

80-100

С-7

175-300

С-5

300-350

С-9

 

 

350-600

С-8

200-350

С-8

275-350

С-9

100-175

С-8

300-400

С-6

350-500

С-10

 

 

600-700

С-9

350-500

С-9

350-600

С-10

175-275

С-9

400-600

С-7

500-700

С-11

 

 

700-900

С-10

500-700

С-10

600-800

С-11

275-300

С-10

600-700

С-8

700-900

С-12

 

 

Св. 900

С-11

700-900

С-11

Св. 800

С-12

300-400

С-11

700-900

С-9

Св. 900

С-13

 

 

 

 

Св. 900

С-12

 

 

400-600

С-12

 

 

 

 

 

 

 

 

 

 

 

 

Св. 600

С-13

 

 

 

 

 

 


3. Для обеспечения оптимальных условий зрительной работы сварщика с учетом индивидуальных особенностей зрения рекомендуется помимо светофильтров, указанных в табл. 2, опробовать светофильтр одного большого или одного меньшего номера. Если при этом оптимальные условия зрительной работы сварщика не будут достигнуты, то необходимо проверить условия освещения и зрение сварщика.

ПРИЛОЖЕНИЕ 4. (Введено дополнительно, Изм. № 2).

ИНФОРМАЦИОННЫЕ ДАННЫЕ

1. РАЗРАБОТАН Всесоюзным Центральным Советом Профессиональных Союзов, Министерством медицинской промышленности, Министерством здравоохранения СССР, Государственным комитетом СССР по стандартам

ВНЕСЕН Всесоюзным Центральным Советом Профессиональных Союзов

2. УТВЕРЖДЕН И ВВЕДЕН В ДЕЙСТВИЕ Постановлением Государственного комитета СССР по стандартам от 23.11.84 № 3970

Изменение № 2 принято Межгосударственным Советом по стандартизации, метрологии и сертификации (протокол № 11 от 25.04.97)

Зарегистрировано Техническим секретариатом МГС № 2434

За принятие изменения проголосовали:

Наименование государства

Наименование национального органа по стандартизации

Азербайджанская Республика

Азгосстандарт

Республика Армения

Армгосстандарт

Республика Белоруссия

Госстандарт Белоруссии

Республика Казахстан

Госстандарт Республики Казахстан

Киргизская Республика

Киргизстандарт

Республика Молдова

Молдовастандарт

Российская Федерация

Госстандарт России

Республика Таджикистан

Таджикгосстандарт

Туркменистан

Главная государственная инспекция Туркменистана

Республика Узбекистан

Узгосстандарт

Украина

Госстандарт Украины

3. ВЗАМЕН ГОСТ 12.4.023-76

4. ССЫЛОЧНЫЕ НОРМАТИВНЫЕ ДОКУМЕНТЫ

Обозначение НД, на который дана ссылка

Номер пункта

ГОСТ 12.1.004-91

3.4

ГОСТ 12.4.011-89

2.1

ГОСТ 12.4.013-85

3.4

ГОСТ 166-89

3.2.1

ГОСТ 427-75

3.2.1, 3.10.1

ГОСТ 7837-76

3.10.2

ГОСТ 10377-78

2.9

ГОСТ 11964-81

3.10.2

ГОСТ 15150-69

Вводная часть, 2.15

ГОСТ 24104-88

3.10.1

5. Ограничение срока действия снято Постановлением Госстандарта от 22.06.92 № 564

6. ИЗДАНИЕ (август 2001 г.) с Изменениями № 1, 2, утвержденными в марте 1987 г., сентябре 1997 г. (ИУС 7-87, 12-97)

СОДЕРЖАНИЕ

 




Rambler's Top100 Яндекс цитирования
  Copyright © 2008-2026, www.docload.ru