Бесплатная библиотека стандартов и нормативов www.docload.ru

Все документы, размещенные на этом сайте, не являются их официальным изданием и предназначены исключительно для ознакомительных целей.
Электронные копии этих документов могут распространяться без всяких ограничений. Вы можете размещать информацию с этого сайта на любом другом сайте.
Это некоммерческий сайт и здесь не продаются документы. Вы можете скачать их абсолютно бесплатно!
Содержимое сайта не нарушает чьих-либо авторских прав! Человек имеет право на информацию!

 

ГОСУДАРСТВЕННЫЙ СТАНДАРТ СОЮЗА ССР

МАТЕРИАЛЫ ЛАКОКРАСОЧНЫЕ

МЕТОД ОПРЕДЕЛЕНИЯ ЭЛАСТИЧНОСТИ ПЛЕНКИ ПРИ ИЗГИБЕ

ГОСТ 6806-73

(СТ СЭВ 2546-80)

ГОСУДАРСТВЕННЫЙ КОМИТЕТ СССР
ПО УПРАВЛЕНИЮ КАЧЕСТВОМ ПРОДУКЦИИ И СТАНДАРТАМ

Москва

ГОСУДАРСТВЕННЫЙ СТАНДАРТ СОЮЗА ССР

МАТЕРИАЛЫ ЛАКОКРАСОЧНЫЕ

Метод определения эластичности пленки при изгибе

Paintwork materials.

Method for determination of film elasticity in bending

ГОСТ
6806-73*

(CT СЭВ 2546-80)

Взамен
ГОСТ 6806-53

Постановлением Государственного комитета стандартов Совета Министров СССР от 29 марта 1973 г. № 745 срок введения установлен

с 01.07.74

Проверен в 1986 г. Постановлением Госстандарта СССР

от 30.06.86 № 1976 снято ограничение срока действия

Несоблюдение стандарта преследуется по закону

Настоящий стандарт распространяется на лакокрасочные материалы и устанавливает метод определения эластичности пленки при изгибе.

Метод заключается в определении минимального диаметра металлического цилиндрического стержня, изгибание на котором окрашенной металлической пластинки не вызывает механического разрушения или отслаивания однослойной или многослойной лакокрасочной пленки.

Стандарт полностью соответствует СТ СЭВ 2546-80 и учитывает требования международного стандарта ИСО 1519-73.

1. АППАРАТУРА И МАТЕРИАЛЫ

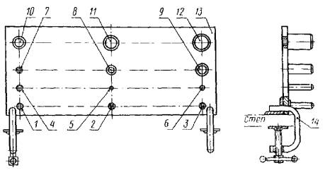
1.1. Устройство для определения эластичности лакокрасочной пленки при изгибе (см. чертеж) представляет собой панель, на которой расположены 12 стальных хромированных стержней, 9 из них закреплены неподвижно, а 3 стержня (верхний ряд) снимаются для установки стержней другого диаметра.

Длина рабочей части каждого стержня 55 мм.

Стержни с 1 по 4 плоские, закругленные вверху, диаметр закругления равен соответственно 1, 2, 3 и 4 мм.

Устройство крепят к столу двумя струбцинами.

Стержни с 5 по 12 цилиндрические диаметрами, равными соответственно 5, 6, 8, 10, 12, 15, 16 и 20 мм. Допускается вместо стержней диаметрами 15, 16 и 20 мм устанавливать стержни большого диаметра: 25, 30, 32, 35, 40, 45 и 55 мм, если это предусмотрено в нормативно-технической документации на лакокрасочный материал.

1 - 12 - стержни; 13 - панель; 14 - струбцина.

Допускается применение устройств типа А (см. справочное приложение 1) или типа В (см. справочное приложение 2) со стержнями того же диаметра, что в описанном устройстве.

(Измененная редакция, Изм. № 1).

1.2. Образцы для испытания представляют собой пластинки прямоугольной формы длиной 100 - 150 мм и шириной 20 - 50 мм, изготовленные из черной полированной жести толщиной 0,25 - 0,32 мм или из алюминиевых листов и лент по ГОСТ 21631-76, ГОСТ 13726-78 толщиной 0,25 - 0,30 мм с нанесенной на них однослойной или многослойной лакокрасочной пленкой.

Допускается применение пластинок из другого материала, если это указано в нормативно-технической документации на лакокрасочный материал.

Не допускается вырезание пластинок после нанесения пленки, за исключением пластинок, изготовленных из заранее окрашенных рулонных материалов;

(Измененная редакция, Изм. № 1, 2).

1.3. Лупа с 4 увеличением.

1.4. Прибор для измерения толщины лакокрасочной пленки с погрешностью не более 10 %.

(Измененная редакция, Изм. № 1).

2. ПОДГОТОВКА К ИСПЫТАНИЮ

2.1. Образцы для испытания подготовляют по ГОСТ 8832-76, если нет других указаний в нормативно-технической документации на испытуемый лакокрасочный материал.

2.1.1. Перед нанесением материала пластинки тщательно очищают от загрязнений и обезжиривают многократным промыванием в растворителе, если нет других указаний в нормативно-технической документации на лакокрасочный материал.

Жесть должна иметь гладкую поверхность без раковин, ржавых пятен, расслоений и загрязнений.

2.1.2. Способ нанесения лакокрасочного материала, толщина пленки, количество слоев, условия и время высыхания, а также выдержки пленки перед испытанием должны быть указаны в нормативно-технической документации на испытуемый материал.

При нанесении материала с помощью кисти он должен быть распределен по направлению длины пластинки.

(Измененная редакция, Изм. № 1).

2.2. Образцы перед испытанием выдерживают в условиях, указанных в нормативно-технической документации на лакокрасочный материал.

При отсутствии указания в нормативно-технической документации образцы выдерживают при (20 ± 2) °С и относительной влажности воздуха (65 ± 5) %: образцы с покрытием холодной сушки - в течение 48 ч и образцы с покрытием горячей сушки - не менее 3 ч.

(Измененная редакция, Изм. № 1).

2.3. Время и степень высыхания определяют по ГОСТ 19007-73.

(Измененная редакция, Изм. № 1).

3. ПРОВЕДЕНИЕ ИСПЫТАНИЙ

3.1. Испытание проводят при (20 ± 2) °С и относительной влажности воздуха (65 ± 5) %, если нет других указаний в нормативно-технической документации на испытуемый материал.

(Измененная редакция, Изм. № 1).

3.2. Пластинку накладывают на стержень наибольшего диаметра (20 мм) покрытием наружу и, плотно прижимая ее к стержню, плавно изгибают в течение 1 - 2 с на 180° вокруг стержня, затем покрытие в месте изгиба рассматривают в лупу на наличие трещин и отслаивания. Если эти дефекты отсутствуют, то производят изгибание пластинки каждый раз в другом месте последовательно от стержня большего диаметра к меньшему до тех пор, пока не будут обнаружены указанные выше дефекты.

(Измененная редакция, Изм. № 1).

3.3. Если в нормативно-технической документации на лакокрасочный материал предусмотрено значение эластичности (диаметр стержня), то испытание проводят с использованием стержня только такого диаметра.

(Измененная редакция, Изм. № 1).

3.4. Проведение испытания на устройстве типа В аналогично изложенному в п. 3.2 настоящего стандарта.

Проведение испытания на устройстве типа А представлено в справочном приложении 1.

(Введен дополнительно, Изм. № 1).

4. ОБРАБОТКА РЕЗУЛЬТАТОВ

4.1. За результат испытания принимают минимальный диаметр стержня в миллиметрах, при изгибании образца на котором испытуемая пленка осталась неповрежденной.

4.2. Оценку эластичности пленки при изгибе на металлическом стержне производят после испытания трех пластинок на одном и том же стержне.

4.3. Результат испытания должен совпадать не менее, чем для двух испытуемых пластинок, если совпадение не достигнуто, испытание повторяют на шести образцах.

4.4. При оценке результатов не принимают во внимание состояние поверхности на расстоянии до 5 мм от края пластинки.

4.5. (Исключен, Изм. 2).

ПРИЛОЖЕНИЕ 1

Справочное

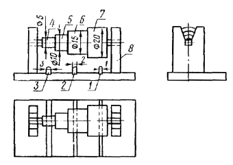
Прибор типа А

1 - стержень; 2 - упор

Прибор типа А состоит из двух металлических пластин, скрепленных между собой металлической реверсивной осью; набора жестко связанных с реверсивной осью металлических цилиндрических стержней следующих диаметров: 1, 2, 3, 4, 5, 6, 8, 10, 12, 16 и 20 мм; упора, ограничивающего угол изгиба пластинки до 180°. Во избежание изгиба и деформирования в процессе испытаний стержня диаметром 1 мм вместо него применяют пластинку с закругленной частью диаметром 1 мм. Допускается применение стержней диаметрами: 25, 32, 40, 45 и 55 мм, если это указано в нормативно-технической документации на лакокрасочный материал.

ПРОВЕДЕНИЕ ИСПЫТАНИЙ

Пластинку помещают в открытый прибор со стержнем соответствующего диаметра покрытием наружу. Затем прибор плавно без рывков закрывают в течение 1 - 2 с, в результате чего пластинка изгибается вокруг стержня на 180°. Не вынимая пластинку из прибора, осматривают поверхность пленки с помощью лупы и фиксируют ее состояние.

(Введено дополнительно, Изм. № 1).

ПРИЛОЖЕНИЕ 2

Справочное

Прибор типа В

1 - 7 - стержни; 8 - стойка

(Введено дополнительно, Изм. № 1).

СОДЕРЖАНИЕ

 




Rambler's Top100 Яндекс цитирования
  Copyright © 2008-2026, www.docload.ru