Бесплатная библиотека стандартов и нормативов www.docload.ru

Все документы, размещенные на этом сайте, не являются их официальным изданием и предназначены исключительно для ознакомительных целей.
Электронные копии этих документов могут распространяться без всяких ограничений. Вы можете размещать информацию с этого сайта на любом другом сайте.
Это некоммерческий сайт и здесь не продаются документы. Вы можете скачать их абсолютно бесплатно!
Содержимое сайта не нарушает чьих-либо авторских прав! Человек имеет право на информацию!

 

ГОСУДАРСТВЕННЫЙ СТАНДАРТ СОЮЗА ССР

БОЛТЫ И ГАЙКИ
ДЛЯ РЕЛЬСОВЫХ СКРЕПЛЕНИЙ
ЖЕЛЕЗНОДОРОЖНОГО ПУТИ

БОЛТЫ ЗАКЛАДНЫЕ ДЛЯ РЕЛЬСОВЫХ
СКРЕПЛЕНИЙ ЖЕЛЕЗНОДОРОЖНОГО ПУТИ

ГОСТ 16017-79

ИПК ИЗДАТЕЛЬСТВО СТАНДАРТОВ

Москва

ГОСУДАРСТВЕННЫЙ СТАНДАРТ СОЮЗА ССР

БОЛТЫ ЗАКЛАДНЫЕ ДЛЯ РЕЛЬСОВЫХ
СКРЕПЛЕНИЙ ЖЕЛЕЗНОДОРОЖНОГО ПУТИ

Конструкция и размеры.
Технические
требования

Inserted bolts for rail track fastenings.
Design and dimensions.
Technical requirements

ГОСТ
16017-79*

Взамен
ГОСТ 16017-70

Постановлением Государственного комитета СССР по стандартам от 26 апреля 1979 г. № 1547 срок введения установлен

с 01.01.81

Постановлением Госстандарта от 03.06.92 № 523 снято ограничение срока действия

Настоящий стандарт распространяется на закладные болты нормальной точности (класс точности В) и грубой точности (класс точности С), применяемые для прикрепления металлических подкладок или рельсов к железобетонным подрельсовым основаниям в рельсовых скреплениях.

При поставке закладных болтов для рельсовых скреплений на экспорт следует учитывать требования настоящего стандарта и ГОСТ 16018-79, предъявляемые к этим болтам.

Требования настоящего стандарта являются обязательными.

(Измененная редакция, Изм. № 1, 4).

1. КОНСТРУКЦИЯ И РАЗМЕРЫ

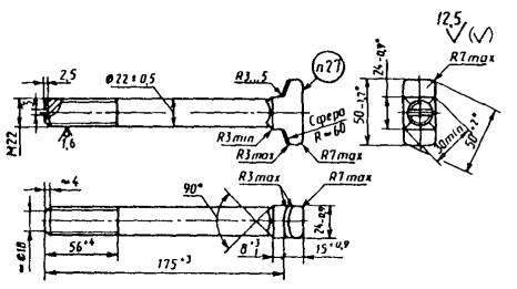
1.1. Конструкция и размеры закладных болтов должны соответствовать указанным на чертеже.

Исполнение 1
(класс точности В)

Исполнение 2
(класс точности С)

Исполнение 3
(класс точности С)

Вариант головки

d » dср, где dcp - средний диаметр резьбы.

Вариант указательной канавки

* Размеры указаны с учетом высоты швов от разъема матриц, наплывов металла в углах подголовка и заусенцев от обсечки облоя.

Пример условного обозначения закладного болта класса точности В, исполнения 1, диаметром резьбы d = 22 мм, с крупным шагом резьбы, с полем допуска 8g, длиной 175 мм, класса прочности 3.6, из спокойной стали, с цинковым покрытием толщиной 15 мкм, хроматированным:

Болт M22 - 8g ´ 175.36.C.0115 ГОСТ 16017-79

То же, класса точности С, исполнения 2, из автоматной стали без цинкового покрытия:

Болт С2 M22 - 8g ´ 175.36.A ГОСТ 16017-79.

(Измененная редакция, Изм. № 2, 3).

1.2. Допускается изготовление болтов длиной от 145 до 225 мм и длиной резьбы в пределах от 40 до 84 мм по согласованию потребителя с изготовителем. При этом длина болта должна назначаться кратной 10 мм, а длина резьбы кратной:

4 мм - при длине резьбы до 60 мм включ.;

6 мм     »        »          »     св. 60 мм.

1.3. Вариант изготовления головки и профиль указательной канавки устанавливает предприятие-изготовитель.

(Измененная редакция, Изм. № 3).

2. ТЕХНИЧЕСКИЕ ТРЕБОВАНИЯ

2.1. Закладные болты должны изготовляться в соответствии с требованиями настоящего стандарта и ГОСТ 1759.0-87 по рабочим чертежам, утвержденным в установленном порядке.

2.2. Механические свойства болтов должны соответствовать классу прочности 3.6, 4.8 или 5.8 по ГОСТ 1759.4-87.

2.1, 2.2. (Измененная редакция, Изм. № 3).

2.3. Закладные болты должны иметь цинковое с хроматированием или пассивированием покрытие толщиной 9 - 18 мкм. Требования к покрытию - по ГОСТ 9.301-86. По согласованию изготовителя с потребителем закладные болты могут изготавливаться без покрытия.

(Измененная редакция, Изм. № 1).

2.4. Резьба - по ГОСТ 24705-81. После допуска 8 g по ГОСТ 16093-81.

2.4а. Не допускается утолщение стержня болта под головкой более 1,0 мм на длине 25 мм.

(Введен дополнительно, Изм. № 2).

2.5. Смещение оси головки и подголовка относительно оси стержня болта не должно быть более 0,9 мм.

2.6. Допускается отклонение от перпендикулярности оси указательной канавки к большой оси головки болта до 5° и смещение оси канавки от диаметрального его положения до 2 мм.

Смещение канавки по меньшей оси не контролируется.

(Измененная редакция, Изм. № 3).

2.7. Маркировать: товарный знак или условное обозначение предприятия-изготовителя и год изготовления (две последние цифры).

Высота знаков маркировки - не менее 8 мм, толщина - не менее 1 мм, выпуклость - не менее 0,5 мм.

2.8. Масса 1000 болтов (справочная):

635 кг - в исполнениях 1 и 3;

591 кг - в исполнении 2.

Примечания:

1. Когда возможно применение болтов как в исполнении 1, так и в исполнении 2 или 3, в конструкторской документации должна указываться масса болтов в исполнении 1.

2. Изменение массы 1000 болтов при изменении их длины на 10 мм не должно быть более:

25,7 кг - для исполнений 1 и 3;

29,8 кг - для исполнения 2.

2.9. Правила приемки - по ГОСТ 17769-83.

2.10. Методы контроля болтов - по ГОСТ 1759.0-87.

Испытания механических свойств болтов должны проводиться по требованию потребителя в соответствии с ГОСТ 1759.4-87.

Измерение твердости и испытание на разрыв на косой шайбе не проводятся.

Допуски размеров, формы и расположение поверхностей и методы их контроля - по ГОСТ 1759.1-82.

Дефекты поверхности и методы контроля - по ГОСТ 1759.2-82.

(Измененная редакция, Изм. № 2, 3).

2.11. Контроль качества цинкового покрытия - по ГОСТ 9.302-88.

2.12. (Исключен, Изм. № 2).

2.13. Упаковка болтов и маркировка тары - по ГОСТ 18160-72.

2.14. Болты должны быть укомплектованы гайками по ГОСТ 16018-79.

Допускается транспортирование болтов и гаек без упаковки, при этом должна быть исключена возможность их смешивания.

2.15. Транспортирование болтов без упаковки на железнодорожных платформах не допускается.

СОДЕРЖАНИЕ

 




Rambler's Top100 Яндекс цитирования
  Copyright © 2008-2026, www.docload.ru