Бесплатная библиотека стандартов и нормативов www.docload.ru

Все документы, размещенные на этом сайте, не являются их официальным изданием и предназначены исключительно для ознакомительных целей.
Электронные копии этих документов могут распространяться без всяких ограничений. Вы можете размещать информацию с этого сайта на любом другом сайте.
Это некоммерческий сайт и здесь не продаются документы. Вы можете скачать их абсолютно бесплатно!
Содержимое сайта не нарушает чьих-либо авторских прав! Человек имеет право на информацию!

 

ГОСТ 18132-72

МЕЖГОСУДАРСТВЕННЫЙ СТАНДАРТ

БРИКЕТЫ И ПОЛУБРИКЕТЫ
ТОРФЯНЫЕ

МЕТОД ОПРЕДЕЛЕНИЯ МЕХАНИЧЕСКОЙ ПРОЧНОСТИ

ИПК ИЗДАТЕЛЬСТВО СТАНДАРТОВ

Москва

МЕЖГОСУДАРСТВЕННЫЙ СТАНДАРТ

БРИКЕТЫ И ПОЛУБРИКЕТЫ ТОРФЯНЫЕ

Метод определения механической прочности

Peat briquetts and semibriquetts. Method for determination of mechanical strength

ГОСТ
18132-72

Взамен
ГОСТ 10453-63
в части определения
механической прочности

Дата введения 01.01.74

Настоящий стандарт распространяется на торфяные брикеты и полубрикеты и устанавливает метод определения механической прочности.

Сущность метода заключается в механической обработке брикетов или полубрикетов во вращающемся барабане закрытого типа и последующем рассеве.

1. ОБОРУДОВАНИЕ

1.1. Для проведения испытания применяют следующее оборудование:

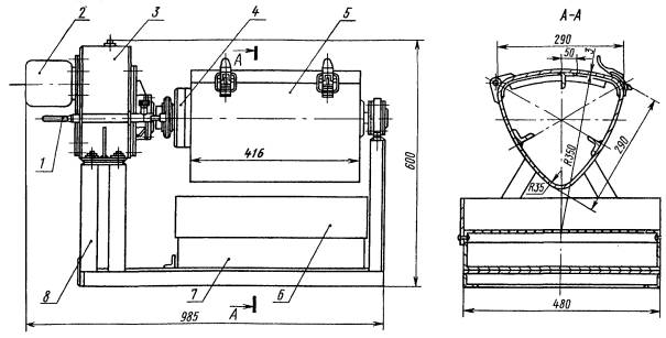
механическую установку МИБ, изготовленную по чертежам Калининского филиала Всесоюзного научно-исследовательского института торфяной промышленности (ВНИИТП), схема которой изображена на чертеже.

1 - ручка переключения муфты; 2 - электродвигатель; 3 - редуктор; 4 -муфта; 5 - барабан; 6 - сито; 7 - поддон; 8 - опорная рама

Установка состоит из вращающегося стального барабана, имеющего в разрезе треугольную форму с выпуклыми поверхностями и тремя угловыми профилями внутри. Одна из поверхностей барабана съемная и является крышкой люка для загрузки и выгрузки барабана. Барабан снабжен электроприводом, обеспечивающим частоту вращения (25 ± 2) мин-1.

На раме под барабаном размещается сито с металлической сеткой № 25-2.0 по ГОСТ 5336 и поддон.

Допускается использовать установки других конструкций при соблюдении формы и размера барабана и частоты его вращения;

секундомер для определения частоты вращения барабана;

весы с погрешностью взвешивания не более 5 г.

(Измененная редакция, Изм. № 1, 2).

2. ПРОВЕДЕНИЕ ИСПЫТАНИЯ

2.1. Для испытания из отобранной по ГОСТ 13674 и ГОСТ 5396 и усредненной объединенной пробы набирают две пробы массой по (5 ± 0,25) кг каждая.

(Измененная редакция, Изм. 1).

2.2. Пробу брикетов или полубрикетов загружают в барабан, плотно закрывают крышку люка и включают электродвигатель.

Барабан с пробой вращают в течение 10 мин, после чего электродвигатель отключают, открывают крышку люка и высыпают содержимое барабана на расположенное под ним сито. Не разрушившиеся брикеты или полубрикеты и крупные куски отбирают, а остаток на сите просеивают вручную.

После рассева надрешетный продукт соединяют с ранее отобранными брикетами и кусками и взвешивают.

2.3. Все взвешивания производят с погрешностью не более 5 г.

(Измененная редакция, Изм. 2).

2.4. Испытанию в барабане подвергают две параллельные пробы. После испытания надрешетный и подрешетный продукты возвращают в объединенную пробу.

(Измененная редакция, Изм. № 1).

3. ОБРАБОТКА РЕЗУЛЬТАТОВ

3.1. На основании данных рассева рассчитывают содержание кусков размером более 25 мм, выраженное в процентах от массы загруженной пробы, которое и характеризует механическую прочность брикетов и полубрикетов на истирание (Пи).

Механическую прочность (Пи) в процентах вычисляют по формуле

где т - масса пробы, загруженной в барабан, кг;

т1 - масса кусков размером более 25 мм, кг.

(Измененная редакция, Изм. № 1).

3.2. За окончательный результат принимают среднее арифметическое результатов двух параллельных определений.

ИНФОРМАЦИОННЫЕ ДАННЫЕ

1.      РАЗРАБОТАН И ВНЕСЕН Министерством топливной промышленности РСФСР

2.      РАЗРАБОТЧИКИ

Л.Н. Травников, В.М. Петрович, С.С. Полушина

3. УТВЕРЖДЕН И ВВЕДЕН В ДЕЙСТВИЕ Постановлением Государственного комитета стандартов Совета Министров СССР от 21.09.72 № 1749

4 ВЗАМЕН ГОСТ 10453-63 в части определения механической прочности

5 ССЫЛОЧНЫЕ НОРМАТИВНО-ТЕХНИЧЕСКИЕ ДОКУМЕНТЫ

6. Ограничение срока действия снято по протоколу № 3-93 Межгосударственного Совета по стандартизации, метрологии и сертификации (ИУС 6-93)

7 ИЗДАНИЕ (март 2000 г.) с Изменениями № 1, 2, утвержденными в сентябре 1983 г., мае 1988 г. (ИУС 1-84, 8-88)

СОДЕРЖАНИЕ

 




Rambler's Top100 Яндекс цитирования
  Copyright © 2008-2026, www.docload.ru