МЕЖГОСУДАРСТВЕННЫЙ СТАНДАРТ
|
СТОЙКИ УСТАНОВОЧНЫЕ
КРЕПЕЖНЫЕ КРУГЛЫЕ СО ШЛИЦЕМ И РЕЗЬБОВЫМИ ОТВЕРСТИЯМИ
Конструкция и
размеры
|
ГОСТ 20867-81
|
|
Adjustings
fixturing ring with a slit and threaded holes.
Design
and dimensions
|
Взамен
ГОСТ 20867-75
|
Постановлением
Государственного комитета СССР по стандартам от 15 апреля 1981 г. № 1983
дата введения установлена
01.07.82
Ограничение срока действия снято Постановлением
Госстандарта от 10.09.92 № 1166
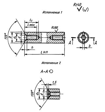
1. Настоящий стандарт
распространяется на круглые крепежные установочные стойки со шлицем и
резьбовыми отверстиями, предназначенные для монтажа радиоэлектронной
аппаратуры, и устанавливает их конструкцию и размеры.
2. Конструкция и размеры
крепежных установочных стоек должны соответствовать указанным на чертеже и в
табл. 1, 2.

Таблица 1
мм
|
Номинальный диаметр резьбы d
|
2
|
2,5
|
3
|
4
|
5
|
6
|
8
|
|
Шаг резьбы, Р
|
0,40
|
0,45
|
0,50
|
0,70
|
0,80
|
1,00
|
1,25
|
|
D
|
5
|
6
|
7
|
8
|
9
|
11
|
15
|
|
d1
|
2,2
|
2,7
|
3,2
|
4,3
|
5,3
|
6,4
|
8,4
|
|
l
|
4
|
5
|
6
|
7
|
8
|
9
|
12
|
|
l1
|
6
|
7
|
9
|
10
|
12
|
13
|
16
|
|
Глубина шлица h
|
Номинальный
|
0,6
|
0,8
|
1,0
|
1,2
|
1,6
|
2,0
|
2,5
|
|
Пред. откл.
|
+0,30
|
+ 0,30
|
|
Ширина шлица b
|
Номинальный
|
0,5
|
0,6
|
0,8
|
1,0
|
1,2
|
1,6
|
2,0
|
|
Пред. откл.
|
+0,15
|
+0,25
|
Таблица 2
|
L
|
Масса 1000 шт., кг, стальных стоек и применяемость
при номинальном диаметре резьбы d, мм
|
|
2
|
2,5
|
3
|
4
|
5
|
6
|
8
|
|
10
|
0,754
|
1,067
|
1,434
|
1,627
|
|
|
|
|
11
|
0,830
|
1,172
|
1,575
|
1,909
|
|
|
|
|
12
|
0,949
|
1,276
|
1,718
|
2,071
|
|
|
|
|
13
|
0,979
|
1,388
|
1,866
|
2,245
|
|
|
|
|
14
|
0,055
|
1,486
|
2,005
|
2,420
|
|
|
|
|
15
|
1,142
|
1,586
|
2,144
|
2,580
|
|
|
|
|
16
|
1,242
|
1,701
|
2,279
|
2,760
|
|
|
|
|
17
|
1,342
|
1,809
|
2,418
|
2,930
|
|
|
|
|
18
|
1,412
|
1,906
|
2,566
|
3,090
|
|
|
|
|
19
|
1,502
|
2,126
|
2,744
|
3,250
|
|
|
|
|
20
|
1,552
|
2,256
|
2,852
|
3,400
|
|
|
|
|
22
|
1,782
|
2,506
|
3,262
|
3,750
|
|
|
|
|
24
|
1,942
|
2,756
|
3,602
|
4,200
|
|
|
|
|
26
|
2,122
|
3,016
|
3,942
|
4,460
|
|
|
|
|
28
|
2,292
|
3,049
|
4,292
|
4,780
|
|
|
|
|
30
|
2,472
|
3,356
|
4,642
|
5,130
|
5,840
|
|
|
|
32
|
|
3,756
|
5,092
|
5,780
|
6,470
|
|
|
|
34
|
|
4,036
|
5,242
|
6,230
|
6,970
|
|
|
|
36
|
|
4,286
|
5,692
|
6,730
|
7,670
|
|
|
|
38
|
|
4,546
|
6,044
|
7,130
|
8,140
|
|
|
|
40
|
|
4,806
|
6,392
|
7,630
|
8,690
|
12,443
|
|
|
42
|
|
|
6,742
|
8,070
|
9,260
|
13,303
|
|
|
45
|
|
|
7,244
|
8,730
|
10,090
|
14,645
|
|
|
48
|
|
|
7,794
|
9,390
|
10,970
|
15,885
|
|
|
50
|
|
|
8,144
|
9,830
|
11,540
|
16,745
|
|
|
53
|
|
|
8,594
|
10,590
|
12,400
|
17,985
|
|
|
55
|
|
|
8,944
|
11,030
|
12,970
|
18,845
|
|
|
58
|
|
|
9,494
|
11,690
|
13,730
|
20,185
|
|
|
60
|
|
|
9,844
|
12,130
|
14,300
|
21,045
|
|
|
65
|
|
|
|
13,230
|
15,740
|
23,145
|
|
|
70
|
|
|
|
14,330
|
17,240
|
25,245
|
44,860
|
|
75
|
|
|
|
15,530
|
18,640
|
27,445
|
48,860
|
|
80
|
|
|
|
16,630
|
20,040
|
29,545
|
52,960
|
|
85
|
|
|
|
17.730
|
21,540
|
31,745
|
56 960
|
|
90
|
|
|
|
18,830
|
22,940
|
33,845
|
60,860
|
|
95
|
|
|
|
19,930
|
24,340
|
36,045
|
64,860
|
|
100
|
|
|
|
21,030
|
25,840
|
38,245
|
68,860
|
|
110
|
|
|
|
22,130
|
28,640
|
42,345
|
76,860
|
|
120
|
|
|
|
|
31,540
|
46,645
|
84,860
|
|
130
|
|
|
|
|
34,340
|
51,245
|
92,860
|
|
140
|
|
|
|
|
|
55,345
|
100,860
|
|
150
|
|
|
|
|
|
|
108,860
|
Примечания:
1. Стойки, для которых значение массы расположено
над ломаной линией, следует изготавливать со сквозным отверстием (L
= l1).
2. Для определения массы стоек
из других материалов значения масс, указанные в таблице, следует умножать на
коэффициент: 0,356 - для алюминиевого сплава; 1,08 - для латуни.
3. Знак ограничения применяемости по типоразмерам
проставлять в графе со значением массы.
Пример условного обозначения
стойки исполнения 1 повышенной степени точности с диаметром резьбы d - 4
мм, длиной L - 30
мм, изготовленной из сплава марки В95Т1, покрытие окисное
(05):
Стойка М4×30-В95Т1.05 ГОСТ 20867-81
То же, нормальной степени
точности:
Стойка НМ4×30-В95Т1 ГОСТ 20867-81
То же, исполнения 2
нормальной степени точности:
Стойка 2Н М4×30-В95Т1.05 ГОСТ 20867-81
То же, повышенной степени
точности:
Стойка 2М4×30-В95Т1.05 ГОСТ 20867-81
Примечание. Исполнение 1 и повышенную
степень точности в обозначении не указывают.
3. Марка материала и вид
покрытия стоек должны соответствовать указанным в табл. 3.
Таблица 3
|
Марка материала
|
Применяемость
|
Класс прочности или условное обозначение группы по
ГОСТ
1759.0-87, ГОСТ
1759.1-82, ГОСТ
1759.2-82, ГОСТ 1759.3-83, ГОСТ
1759.4-87, ГОСТ 1759.5-87
|
Покрытие
|
Обозначение материала и покрытия
|
|
Вид
|
Шаг резьбы Р, мм
|
Обозначение
|
|
|
по ГОСТ
9.306-85
|
условное
|
|
Сталь 35
ГОСТ
1050-88
|
|
5.6
|
Цинковое с хроматированием
|
До 0,45
|
Ц3-6.хр
|
01
|
56.013
|
|
0,5-0,75
|
Ц6-9.хр
|
56.016
|
|
0,8 и более
|
Ц9.хр
|
56.019
|
|
Кадмиевое с хроматированием
|
До 0,45
|
Кд3-6.хр
|
02
|
56.023
|
|
0,5-0,75
|
Кд6-9.хр
|
56.026
|
|
0,8 и более
|
Кд9.хр
|
56.029
|
|
Сталь А12
ГОСТ
1414-75
|
5.8
|
Цинковое с хроматированием
|
До 0,45
|
Ц3-6.хр
|
01
|
58.013
|
|
0,5-0,75
|
Ц6-9.хр
|
58.016
|
|
0,8 и более
|
Ц9.хр
|
58.019
|
|
Сталь 10, 20
ГОСТ
1050-88
|
Кадмиевое с хроматированием
|
До 0,45
|
Кд3-6.хр
|
02
|
58.023
|
|
0,5-0,75
|
Кд6-9.хр
|
58.026
|
|
0,8 и более
|
Кд9.хр
|
58.029
|
|
Латунь ЛС59-1, Л63 ГОСТ
15527-2004
|
32
|
Пассивное
|
0,4 и более
|
Хим. Пас.
|
11
|
32.11
|
|
Сплав В95Т1 ГОСТ
21488-97
|
-
|
Окисное
|
Ан. Окс.
|
05
|
В95Т1.05
|
|
Сплав ВТ5 ОСТ 190173-75
|
ВТ5.05
|
(Измененная редакция, Изм. № 1)
4. Технические требования
- по ГОСТ 20868-81.
|