
ГОСУДАРСТВЕННЫЙ
СТАНДАРТ СОЮЗА ССР
ГРУНТЫ
МЕТОД
ЛАБОРАТОРНОГО ОПРЕДЕЛЕНИЯ
ТЕПЛОПРОВОДНОСТИ МЕРЗЛЫХ
ГРУНТОВ
ГОСТ
26263-84
ГОСУДАРСТВЕННЫЙ
КОМИТЕТ СССР ПО ДЕЛАМ СТРОИТЕЛЬСТВА
Москва
РАЗРАБОТАН
Научно-исследовательским
институтом оснований и подземных сооружений им. Н. М. Герсеванова (НИИОСП)
Госстроя СССР
Производственным и
научно-исследовательским институтом по инженерным изысканиям в строительстве
(ПНИИИС) Госстроя СССР
Министерством монтажных и
специальных строительных работ СССР
Министерством высшего
образования СССР
ИСПОЛНИТЕЛИ
Д. И.
Федорович,
канд. геол.-минер. наук (руководитель темы); Е. Н. Барковская, канд. геол.-минер. наук
(ответственный исполнитель); И. В. Шейкин, канд. техн. наук; И. А. Комаров, канд. техн. наук; В. Г. Чеверев, канд. геол.-минер. наук; М. А. Минкин, канд. геол.-минер. наук;
В. Е. Борозинец, канд. геол.-минер.
наук; С. В. Тимофеев, канд. техн.
наук; О. Н.
Сильницкая
ВНЕСЕН
Научно-исследовательским институтом оснований и подземных сооружений им. Н. М.
Герсеванова (НИИОСП) Госстроя СССР
Зам. директора А.В. Садовский
УТВЕРЖДЕН И ВВЕДЕН В
ДЕЙСТВИЕ Постановлением Государственного комитета СССР по делам строительства от
4 июля 1984 года № 104
ГОСУДАРСТВЕННЫЙ
СТАНДАРТ СОЮЗА ССР
|
ГРУНТЫ Метод лабораторного
определения Scils.
Laboratory method for determining thermal conductivity
of frozen soils |
ГОСТ
|
Постановлением
Государственного комитета СССР по делам строительства от 4 июля 1984 г. № 104
срок введения
с
01.07.85
Настоящий стандарт
распространяется на песчаные, пылевато-глинистые, биогенные, а также
крупнообломочные (только гравийные) грунты в мерзлом состоянии при температуре
грунта до минус 20 °С и устанавливает метод лабораторного определения их
теплопроводности при исследованиях грунтов для
строительства.
Стандарт не распространяется
на грунты с включениями частиц размером более 10 мм.
Допускается также
определение теплопроводности талых грунтов в воздушно-сухом или полностью
водонасыщенном состоянии.
Основные термины,
применяемые в настоящем стандарте, и их определения приведены в справочном
приложении 1.
1.1. Теплопроводность
мерзлого грунта определяют методом стационарного теплового
режима.
1.2. Теплопроводность
грунтов определяют на образцах ненарушенного сложения с природной влажностью и
льдистостью при естественных или расчетных температурах, значения которых
устанавливаются программой испытаний.
Допускается проводить
определение теплопроводности на искусственно приготовленных
образцах.
1.3. Результаты определения
теплопроводности грунтов должны сопровождаться данными о месте отбора образца,
наименовании грунта, типе его криогенной текстуры, льдистости, влажности,
плотности, а также о температурных условиях опыта. Эти характеристики записывают
в журнале, форма которого приведена в рекомендуемом приложении 2.
2.1. Отбор, упаковка,
транспортирование и хранение монолитов мерзлого грунта должны производиться в
соответствии с требованиями ГОСТ 12071-72.
2.2. Для определения
теплопроводности из отобранных монолитов грунта вырезают цилиндрические образцы
диаметром от 100 до 230 мм и высотой 30 мм в количестве не менее двух для каждой
исследуемой разновидности грунта. Торцевые поверхности образцов должны быть
плоскими и параллельными между собой и иметь ориентацию относительно дневной
поверхности.
2.3. Образцы сыпучемерзлых
грунтов следует приготавливать в обоймах из органического стекла с металлическим
дном.
2.4. Все операции по
подготовке образцов грунта к испытаниям следует выполнять при отрицательной
температуре с целью сохранения мерзлого состояния грунта и его природного
сложения.
3.1. Для определения
теплопроводности грунтов следует применять:
измеритель теплового потока
(тепломер), обеспечивающий погрешность измерения не более 1 % (см. рекомендуемое
приложение 2);
датчики температуры
(например, термопары) - не менее 4 шт.;
многопредельный потенциометр
с пределами измерения 0,1 и 100 мВ по ГОСТ
9245-79;
полый термостатируемый диск
диаметром 250 мм и высотой 100 мм из медного (латунного) листа толщиной 2 - 3 мм
- 2 шт.;
жидкостный ультратермостат
УТ-15 (ТУ 64-1-2622-80) - 2 шт. или термоэлектрическую батарею С-1 (ТУ
25.11.942-78) - 2 шт. с источником питания ВСП-33 (ТУ
25.11.983-74);
прижимное устройство,
обеспечивающее равномерное обжатие образца до 0,05 МПа (0,5
кгс/см)2;
щеточный переключатель типа
МГП;
обоймы из органического
стекла диаметром от 120 до 250 мм, высотой 30 мм при толщине стенок 10 мм - 1
шт. на образец;
теплоизоляционный кожух
(деревянный);
сосуд Дьюара емкостью 1,5 -
2,0 л;
резиновую прокладку толщиной
не более 1 мм по размеру торцевой поверхности образца - 2 шт. на
образец;
листовой
поролон.
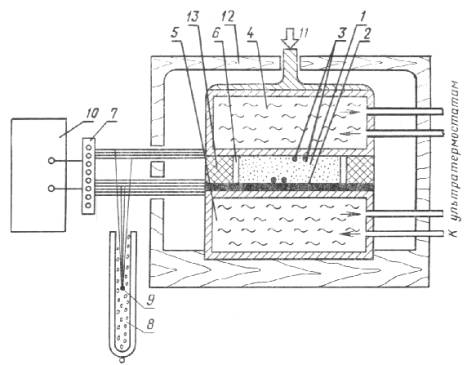
3.2. Схема установки для
определения теплопроводности дана на чертеже.
3.3. Поверка тепломера
производится не реже двух раз в год согласно требованиям рекомендуемого
приложения 3.
Схема измерительной
установки

1 - образец грунта; 2 - тепломер; 3 - датчики температуры; 4 - верхняя термостатированная плита; 5 - нижняя термостатированная плита; 6 - обойма из органического стекла; 7 - переключатель; 8 - сосуд Дьюара; 9 - спай сравнения; 10 - потенциометр; 11 - прижимное устройство; 12 - теплоизоляционный кожух; 13 - поролон
4.1. Образец в обойме
следует выдержать при отрицательной температуре, соответствующей температуре
испытаний, не менее 6 ч для песчаных и гравийных и 12 ч для остальных
грунтов.
4.2. Образец грунта с
термопарами (не менее двух с каждой стороны) должен быть помещен на тепломер,
уложенный на нижнюю термостатированную плиту. Термопары должны быть расположены
на расстоянии 10 и 40 мм от центра образца.
Сверху на образец следует
установить верхнюю термостатированную плиту и прижать с помощью прижимного
устройства под давлением 0,02 - 0,05 МПа (0,2 - 0,5
кгс/см2).
Образец должен полностью
перекрывать рабочую часть тепломера. Если размеры образца меньше размера
термостатированных плит, оставшаяся часть пространства заполняется
теплоизоляционным материалом (поролон).
4.3. С обеих сторон образца
необходимо проложить резиновые прокладки или нанести консистентную смазку
(например, солидол).
4.4. Собранную установку
закрывают кожухом.
4.5. Термопары и тепломер
подключают через переключатель к потенциометру.
4.6. Спай сравнения
погружают в сосуд Дьюара с тающим льдом.
4.7. Термостатируемые плиты
подключают к ультратермостатам (термоэлектрическим
батареям).
5.2. Измерения показаний
тепломера начинают не менее чем через 2 ч после включения ультратермостатов и
выполняют на протяжении испытания через каждые 20 мин.
5.3. Окончание испытания
определяется моментом, когда показание тепломера отличается от предыдущего
показания не более чем на 5 %. При этом измеряют температуру верхней и нижней
поверхностей образца.
6.1. Теплопроводность грунта
, Вт/(м·°С) [ккал/(м·ч·°С)], определяют по
формуле
,
где
- измеренная
э.д.с., мВ (последнее показание тепломера);
- градуировочный коэффициент,
определяемый согласно обязательному приложению 3,
Вт/(м2·мВ) [ккал/(м2·ч·мВ)];
h - высота исследуемого
образца грунта, м;
Тв и Tн - средние значения
температур соответственно верхней и нижней поверхностей образца при
установившемся тепловом потоке, °С.
Значения теплопроводности
вычисляют с
точностью до 0,01 Вт/(м·°С) [0,01 ккал/(м·ч·°С)].
6.2. Теплопроводность
определяют не менее чем для двух параллельных образцов исследуемого
грунта.
6.3. Для теплотехнических
расчетов значение теплопроводности принимают равным среднему арифметическому
значению теплопроводностей, определенных для параллельных образцов
грунта.
Справочное
Теплопроводность грунта -
теплофизическая характеристика грунта, определяющая его способность проводить
тепло и численно равная плотности теплового потока в нем при градиенте
температур равном единице. Единица измерения - Вт/(м·°С),
[ккал/(м·ч·°С)].
Метод стационарного
теплового режима - метод определения теплопроводности грунта по измеренному при
испытании установившемуся (неизменному во времени) тепловому потоку через
исследуемый образец при постоянных температурах и его противоположных
поверхностях.
Рекомендуемое
Тепломер представляет собой
термобатарею, смонтированную на пластине из органического стекла диаметром 250
мм и толщиной 4 мм (см. чертеж). Термобатарея может быть изготовлена из отрезков
хромелевых и копелевых проволок диаметром 0,2 мм, спаянных последовательно.
Термобатарею размещают в средней части пластины диаметром 100 мм, имеющей 130
отверстий диаметром 0,6 мм на расстоянии 8 мм друг от друга. Спаи термобатареи
располагают поочередно с одной и другой сторон пластины. К концам термобатареи
приваривают (припаивают) две копелевые проволоки диаметром 0,5 мм. С обеих
сторон тепломера клеем БФ-2 наклеивают слой лакоткани.
Определяют градуировочный
коэффициент изготовленного тепломера в соответствии с требованиями
рекомендуемого приложения 3.
Тепломер должен иметь чувствительность к тепловому потоку по э.д.с. не менее
0,12 мВ·Вт·м-2(0,10 мВ·ккал·м-2 × ч).
Допускается измерять
тепловой поток другими приборами, если их точность удовлетворяет предъявленным
требованиям.
Схема
тепломера

1 - пластина из органического стекла; 2 - термоспай; 3 - лакоткань
Рекомендуемое
Градуировочный коэффициент
тепломера
, Вт/(м2·мВ) [ккал/(м2·ч·× мВ)], определяют по
формуле
,
где -
теплопроводность
эталонного образца, Вт/(м·°С) [ккал/(м·ч·°С)]; Тн и Тв - средние температуры
соответственно верхней и нижней поверхностей эталонного образца при
установившемся тепловом потоке, °С;
- измеренная э.д.с. тепломера,
мВ;
hэ - высота эталонного
образца, м.
Эталонный образец должен
быть изготовлен из материала с известной теплопроводностью в пределах от 0,2 до
1,0 Вт/(м·°С) [0,17 - 0,86 ккал/(м·ч·°С)] (например, органическое стекло).
Размеры эталонного образца должны соответствовать размерам исследуемых
образцов.
Измерения
, Тн,
Тв, проводят в
соответствии с пп. 5.1
- 5.4
с тем отличием, что вместо образца исследуемого грунта в установку должен быть
помещен эталонный образец.
За градуировочный
коэффициент тепломера принимают среднее значение результатов двух испытаний
эталонного образца при разных температурах (отличающихся не менее чем на 5 °С) в
интервале температур исследования образцов грунта.
Рекомендуемое
Образец
№ …, диаметр d
= … м, высота h
= … м.
Градуировочный
коэффициент тепломера
= …
Вт/(м2×мВ)[ккал/м2×ч×мВ]
|
Номер
опыта |
Время испытаний,
ч, мин |
Показания
тепломера, мВ |
Показания
термопар, мВ |
Температура,
°С |
Теплопроводность, Вт/(м×°С)[ккал/(м×ч×°С] |
Примечания | ||||||
|
верхние |
нижние |
Тв |
Тн | |||||||||
|
1 |
2 |
средние |
1 |
2 |
средние |
|
| |||||
|
1 |
2 |
3 |
4 |
5 |
6 |
7 |
8 |
9 |
10 |
11 |
12 |
13 |
|
|
|
|
|
|
|
|
|
|
|
|
|
|
ЖУРНАЛ ХАРАКТЕРИСТИК
ИССЛЕДУЕМОГО ГРУНТА
|
Номер образца |
Глубина отбора образца, м |
Наименование грунта |
Тип криогенной текстуры и краткое описание ее особенностей |
Льдистость весовая в долях единицы |
Плотность, т/м3 |
Влажность в долях единицы |
Температура испытаний, °С |
Теплопроводность, Вт/(м×°С) [ккал/(м×ч×°С] | |
|
суммарная |
за счет ледяных включений | ||||||||
|
|
|
|
|
|
|
|
|
|
|
|
|
|
|
|
|
|
|
|
|
|
Руководитель лаборатории
____________________________
подпись, инициалы, фамилия
Ответственный исполнитель
___________________________________
должность, подпись, инициалы, фамилия
СОДЕРЖАНИЕ
|
1.
Общие положения. 2 2.
Отбор и подготовка образцов. 2 3.
Оборудование и приборы.. 2 4.
Подготовка к испытаниям.. 3 5.
Проведение испытаний. 4 6.
Обработка результатов испытаний. 4 Приложение 1 Термины и их
определения. 4 Приложение 2 Рекомендации по
изготовлению тепломера. 5 Приложение 3 Определение
градуировочного коэффициента тепломера. 6 Приложение 4 Журнал измерений теплопроводности грунта. 7 |