
ГОСУДАРСТВЕННЫЙ
СТАНДАРТ СОЮЗА ССР
БЕТОНЫ
МЕТОД УСКОРЕННОГО
ОПРЕДЕЛЕНИЯ ПРОЧНОСТИ
НА СЖАТИЕ
ГОСТ 22783-77
ГОСУДАРСТВЕННЫЙ КОМИТЕТ
СОВЕТА МИНИСТРОВ СССР
ПО ДЕЛАМ СТРОИТЕЛЬСТВА
МОСКВА
РАЗРАБОТАН Всесоюзным
институтом по проектированию организации энергетического строительства
(Оргэнергострой) Минэнерго СССР
Зам. директора К. И. Чикваидзе
Руководитель темы Ю. Г. Хаютин
Исполнители: В. А. Дорф, Э. Я.
Гурьева
Научно-исследовательским
институтом бетона и железобетона (НИИЖБ) Госстроя СССР
Зам. директора Б. А. Крылов
Руководитель темы Л. А. Малинина
Исполнитель М. И. Бруссер
ВНЕСЕН Министерством
энергетики и электрификации СССР
Зам. министра В. Н. Буденный
ПОДГОТОВЛЕН К УТВЕРЖДЕНИЮ
Отделом технического нормирования и стандартизации Госстроя
СССР
Начальник отдела В. И. Сычев
Начальник подотдела
стандартизации в строительстве М. М. Новиков
Гл. специалист Н. О. Мякешин
УТВЕРЖДЕН И ВВЕДЕН В
ДЕЙСТВИЕ Постановлением Государственного комитета Совета Министров СССР по делам
строительства от 31 октября 1977 г. № 168
ГОСУДАРСТВЕННЫЙ
СТАНДАРТ СОЮЗА ССР
|
Бетоны. Concrete.
Method of accelerated determination of |
ГОСТ
|
Постановлением
Государственного комитета Совета Министров СССР по делам строительства от 31
октября 1977 г. № 168 срок введения установлен
с 01.07.1978
г.
Настоящий стандарт
распространяется на цементные бетоны на плотных и пористых заполнителях,
применяемые для изготовления монолитных конструкций. Стандарт устанавливает
метод ускоренного определения прочности бетона на сжатие, ожидаемой в возрасте,
отвечающем его проектной марке (28, 90, 180 суток или в другом возрасте,
именуемом в дальнейшем «проектный возраст») по результатам испытаний контрольных
образцов, твердевших в воде по специальному температурному
режиму.
1.1. Прочность бетона на
сжатие, ожидаемую в проектном возрасте, определяют по экспериментально
установленной градуировочной зависимости между прочностью бетона при ускоренном
твердении Rут и прочностью этого бетона в
проектном возрасте Rпв.
1.2. Результаты ускоренного
определения прочности бетона используют для регулирования его состава в процессе
производства.
2.1. Для проведения
испытаний применяют:
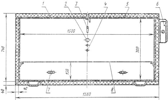
лабораторную камеру (см.
чертеж), обеспечивающую поддержание температуры воды в камере с погрешностью ± 2
°С и время восстановления заданной температуры воды в камере после установки в
нее контрольных образцов не более 5 мин;
пресс - по ГОСТ
8905-73;
формы для изготовления
контрольных образцов - по ГОСТ 22685-77, снабженные стальными крышками толщиной
не менее 5 мм;
воду для прогрева образцов -
по ГОСТ 4797-69.
3.1. Образцы для ускоренного
определения прочности и для определения прочности бетона в проектном возрасте
изготовляют по ГОСТ 10180-74 или ГОСТ 11050-64 из одной и той же пробы бетона,
отобранной в соответствии с ГОСТ 18105-72.
3.2. Крышки на формы с
образцами для ускоренного определения прочности устанавливают не позднее, чем
через 15 мин после окончания формования, притирая их к поверхности
бетона.
3.3. Формы с образцами
помещают в камеру для тепловой обработки в один ряд. При этом расстояние от
боковых граней форм до соседних форм или стенок камеры, а также от дна форм до
нагревателей должно быть не менее 5 см. Уровень воды в камере должен превышать
верхний уровень образцов не менее чем на 10 см.
Лабораторная
камера

1; 5 - крышки; 2 - защитный стержень датчика температуры; 3 - ввод термометра; 4 - датчик температуры; 6 - регулятор температуры; 7 - нагреватель; 8 - решетка.
3.4. Тепловую обработку
образцов проводят по режимам, приведенным в таблице.
Основным является режим
I, обеспечивающий получение
результатов контроля в течение суток.
Для получения результатов в
более короткие сроки допускается применять режим II.
|
Этапы твердения |
Температура среды, °С |
Режим I |
Режим II | ||
|
Номинальная длительность, ч |
Предельные отклонения, мин |
Номинальная длительность, ч |
Предельные отклонения, мин | ||
|
Предварительное выдерживание на воздухе |
20 ± 5 |
2 |
±
15 |
1 |
± 5 |
|
Прогрев в воде |
70 ±
2 |
16 |
±
15 |
4,5 |
±
5 |
|
Охлаждение на воздухе до распалубки |
20 ±
5 |
0,5 |
± 5 |
0,5 |
±
5 |
|
Охлаждение на воздухе после распалубки |
20 ± 5 |
1 |
± 10 |
1 |
± 10 |
|
Общая продолжительность твердения |
- |
19,5 |
± 25 |
7,0 |
± 15 |
3.5. Распалубку и
выдерживание образцов после тепловой обработки производят при температуре,
указанной в таблице. При этом образцы после тепловой обработки укладывают на
прокладки толщиной не менее 10 мм. Площадь контакта образцов с прокладками
должна быть не более 30 % от площади грани образца.
3.6. Испытание образцов на
сжатие - по ГОСТ 10180-74 или ГОСТ 11050-64.
4.1. Градуировочную
зависимость устанавливают экспериментально для бетонов одного проектного
возраста и приготовленных из одинаковых материалов независимо от состава бетона
и его марки.
При контроле бетона одной
марки по прочности на сжатие допускается вместо градуировочной зависимости
устанавливать переводной коэффициент.
4.2. Для установления
градуировочной зависимости или переводного коэффициента изготовляют из одной и
той же пробы бетона две параллельные серии образцов. Образцы одной серии должны
твердеть по ускоренному режиму, а второй - в нормальных условиях по ГОСТ
10180-74 до достижения проектного возраста.
Размер контрольных образцов
и конструкция форм для их изготовления должны быть
одинаковыми.
4.3. При производственном
контроле прочности бетона пробы бетона для установления градуировочной
зависимости или переводного коэффициента отбирают равномерно не менее
месяца.
4.4. Количество проб бетона
для установления градуировочной зависимости должно быть не менее 25, а для
установления переводного коэффициента - не менее 10. При этом количество проб
бетона каждой марки, используемых для установления градуировочной зависимости,
должно быть одинаково.
4.5. Градуировочную
зависимость принимают линейной:
Коэффициенты b0 и b1 рассчитывают по
формулам
где Rутi и Rпвi - прочность i-ой серии образцов при
ускоренном твердении и в проектном возрасте;
и
- средние прочности N серий образцов при ускоренном
твердении и в проектном возрасте, испытанных при установлении градуировочной
зависимости.
4.6. Переводной коэффициент
K вычисляют по
формуле
(6)
4.7. Для градуировочной
зависимости (1)
вычисляют величины коэффициента корреляции (r) и остаточного среднего квадратичного
отклонения (Sr) по
формулам
Для определения переводного
коэффициента K величину рассчитывают
по формуле
4.8. Градуировочная
зависимость или переводной коэффициент устанавливают не реже двух раз в
год.
4.9. Прочность бетона по
настоящему стандарту допускается определять только в случаях, когда коэффициент
корреляции r ³ 0,7, а остаточное среднее
квадратичное отклонение Sr £ 12 % от средней прочности
бетона в проектном возрасте (Rпв).
4.10. Примеры установления
градуировочной зависимости и расчета переводного коэффициента приведены в
справочных приложениях 1
и 2.
5.1.
Ожидаемую прочность бетона на сжатие в проектном возрасте (Rпв) по результатам испытаний
ускоренным методом определяют:
по формуле (1) - при использовании градуировочной
зависимости;
по формуле Rпв = K · Rут - при использовании
переводного коэффициента K.
Справочное
На бетоносмесительном заводе
из одних и тех же материалов выпускают бетон марок М 300 и М 400. Ожидаемую
прочность при нормальном твердении в возрасте 28 суток определяют ускоренным
методом (режим твердения).
Для установления
градуировочной зависимости между прочностью бетона при ускоренном твердении
(Rут) и в проектном возрасте при
нормальном твердении (Rпв) были испытаны 25
параллельных серий контрольных образцов различных марок бетона, изготовленных из
одинаковых материалов.
Результаты испытаний серии
контрольных образцов приведены в таблице.
|
Номера проб |
Прочность бетона, кгс/см2 |
Номера проб |
Прочность бетона, кгс/см2 | ||
|
при ускоренном твердении (Rут) |
при нормальном твердении в возрасте 28 суток (Rпв) |
при ускоренном твердении (Rут) |
при нормальном твердении в возрасте 28 суток (Rпв) | ||
|
1 |
252 |
393 |
14 |
265 |
418 |
|
2 |
289 |
416 |
15 |
254 |
331 |
|
3 |
329 |
426 |
16 |
200 |
343 |
|
4 |
343 |
476 |
17 |
196 |
360 |
|
5 |
366 |
497 |
18 |
128 |
192 |
|
6 |
212 |
323 |
19 |
153 |
248 |
|
7 |
223 |
337 |
20 |
170 |
306 |
|
8 |
392 |
472 |
21 |
205 |
302 |
|
9 |
318 |
426 |
22 |
190 |
304 |
|
10 |
270 |
363 |
23 |
188 |
334 |
|
11 |
339 |
423 |
24 |
228 |
334 |
|
12 |
359 |
470 |
25 |
197 |
312 |
|
13 |
295 |
441 |
|
|
|
Коэффициенты уравнений
градуировочной зависимости определяют по формулам (2)
и (3),
а величины
и
по формулам
(4)
и (5)
кгс/см2
кгс/см2
![]()
![]()
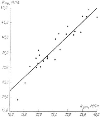
В соответствии с формой
(1)
градуировочная зависимость «прочность при ускоренном твердении - прочность в
проектном возрасте» описывается уравнением
![]()
График этого уравнения и
результаты испытаний образцов приведены на чертеже.
Коэффициент корреляции
(r) и среднеквадратичное
отклонение (Sr), характеризующие точность
полученной зависимости определяют по формулам (7)
и (8)

кгс/см2.
В связи с тем, что
и
7,3 % < 12 %,
допускается проведение контроля прочности по настоящему
стандарту.
ГРАФИК ГРАДУИРОВОЧНОЙ
ЗАВИСИМОСТИ

Справочное
На бетоносмесительном заводе
выпускают в основном бетон одной марки М 200. Поэтому при ускоренном определении
прочности (режим твердения I) в соответствии с п. 5.1
рассчитывают переводной коэффициент К.
Для расчета коэффициента К
были испытаны 13 параллельных серий контрольных образцов бетона М 200. Средине
результаты испытаний контрольных образцов по каждой серии приведены в
таблице.
|
Номера серий |
Прочность бетона, кгс/см2 |
Отношение | |
|
при ускоренном
твердении (Rут) |
при нормальном
твердении в возрасте 28 суток (Rпв) | ||
|
1 |
148 |
234 |
1,58 |
|
2 |
142 |
226 |
1,59 |
|
3 |
151 |
251 |
1,66 |
|
4 |
136 |
232 |
1,70 |
|
5 |
155 |
226 |
1,46 |
|
6 |
171 |
297 |
1,74 |
|
7 |
177 |
278 |
1,57 |
|
8 |
170 |
279 |
1,64 |
|
9 |
186 |
274 |
1,47 |
|
10 |
164 |
277 |
1,69 |
|
11 |
190 |
291 |
1,53 |
|
12 |
165 |
259 |
1,60 |
|
13 |
181 |
261 |
1,44 |
По формуле (4)
Rпв = 260
кгс/см2.
Подставляя данные таблицы в
формулу (8),
получают:
![]()
Величину остаточного
среднего квадратичного отклонения определяют по формуле (9)
кгс/см2
В связи с тем, что ![]()
допускается проведение
контроля прочности по настоящему стандарту.
СОДЕРЖАНИЕ
|
1.
Общие положения. 2 2.
Аппаратура и материалы.. 2 3.
Подготовка и проведение испытаний. 2 4.
Установление градуировочной зависимости «прочность при ускоренном
твердении - прочность в проектном возрасте». 3 5.
Обработка результатов. 5 Приложение 1 Пример установления
градуировочной зависимости. 5 Приложение 2 Пример расчета переводного коэффициента. 6 |