Бесплатная библиотека стандартов и нормативов www.docload.ru

Все документы, размещенные на этом сайте, не являются их официальным изданием и предназначены исключительно для ознакомительных целей.
Электронные копии этих документов могут распространяться без всяких ограничений. Вы можете размещать информацию с этого сайта на любом другом сайте.
Это некоммерческий сайт и здесь не продаются документы. Вы можете скачать их абсолютно бесплатно!
Содержимое сайта не нарушает чьих-либо авторских прав! Человек имеет право на информацию!

 

ГОСУДАРСТВЕННЫЙ СТАНДАРТ СОЮЗА ССР

Изделия паркетные

ДОСКИ ПАРКЕТНЫЕ

Технические условия

ГОСТ 862.3-86

ГОСУДАРСТВЕННЫЙ КОМИТЕТ СССР
ПО ДЕЛАМ СТРОИТЕЛЬСТВА

Москва

ГОСУДАРСТВЕННЫЙ СТАНДАРТ СОЮЗА ССР

Изделия паркетные

ДОСКИ ПАРКЕТНЫЕ

Технические условия

Floor parquet products.
Parquet boards. Specifications

ГОСТ
862.3-86

Дата введения 01.07.86

Настоящий стандарт распространяется на паркетные доски, предназначенные для устройства полов в жилых зданиях.

1. ОСНОВНЫЕ ПАРАМЕТРЫ И РАЗМЕРЫ

1.1. Паркетная доска состоит из паркетных планок, которые наклеены с определенным рисунком на основание.

На кромках и торцах должны быть пазы и гребни для соединения паркетных досок между собой.

1.2. В зависимости от конструкции основания паркетные доски подразделяют на типы:

ПД1 - с однослойным основанием из реек, набранных в квадраты или прямоугольники, расположенные взаимно перпендикулярно. По продольным кромкам основание обклеено рейками обвязки (черт. 1);

ПД2 - с однослойным основанием из реек, набранных в направлении продольной оси паркетной доски (черт. 2);

ПД3 - с двуслойным основанием из двух склеенных между собой слоев реек либо реек и шпона, уложенных во взаимно перпендикулярном направлении (черт. 3).

В основании паркетных досок типов ПД1 и ПД2 должны быть пропилы.

1.3. В зависимости от породы и пороков древесины планок лицевого покрытия паркетные доски подразделяют на марки А и Б.

1.4. Номинальные размеры паркетных досок и предельные отклонения от них должны соответствовать указанным в табл. 1 и на черт. 1-3.

1.5. Паркетные планки наклеивают на основание паркетной доски в виде различных рисунков, варианты которых указаны на черт. 4.

Таблица 1

s

± 0,2

s1

± 2,0

L

± 2,0

B

± 0,3

B1

± 0,3

c

- 0,2

c1

+ 0,2

c2

- 0,2

f

± 0,2

f1

± 0,2

n

n1

- 0,2

15

4

1200;

1800;

2400; 3000

137

От 20

до 70

5,5

5,5

5,5

1

1

4,5 + 0,2

4

18

145

23

4

155

9

7

7

6,5 + 0,5

6

25

4; 6

160

27

4; 6; 8

200

Примечания:

1. Паркетные доски, выпускаемые на импортном оборудовании, установленном до введения настоящего стандарта, допускается изготовлять по рабочим чертежам, утвержденным в установленном порядке.

2. Паркетные планки толщиной 8 мм изготовляют из древесины сосны.

3. Допускается изготовление паркетных досок длиной от 600 мм и выше с градацией через 100, общее число которых в партии не должно быть более 10 %.

Тип ПД1

Черт. 1

Тип ПД2

Черт. 2

Тип ПД3

Черт. 3

Черт. 4

Допускается изготовлять по согласованию изготовителя с потребителем паркетные доски с другими вариантами расположения планок, а также сочетать паркетные планки из различных пород древесины с учетом художественного и цветового решения рисунка паркетной доски и паркетного покрытия в целом.

Пример условного обозначения паркетной доски типа ПД1, марки Б, шириной 200 мм, толщиной 15 мм и длиной 2400 мм:

ПД1-Б-200 х 15 х 2400 ГОСТ 862.3-86

2. ТЕХНИЧЕСКИЕ ТРЕБОВАНИЯ

2.1. Паркетные доски изготовляют в соответствии с требованиями настоящего стандарта по технологической документации, утвержденной в установленном порядке.

2.2. Требования к паркетным доскам марки А соответствуют требованиям высшей категории качества.

2.3. Планки для паркетных досок марки А следует изготовлять из древесины дуба, бука, ясеня, остролистного клена, лиственницы и ильма.

2.4. Планки для паркетных досок марки Б изготовляют из древесины дуба, бука, ясеня, остролистного клена, береста (карагача), вяза, ильма, каштана, граба, гледичии, белой акации, березы, обыкновенной сосны, сибирской сосны, корейской сосны, лиственницы, а также модифицированной древесины с показателями эксплуатационных и физико-механических свойств, не уступающими древесине перечисленных пород.

2.5. Планки из обыкновенной, сибирской и корейской сосны, а также лиственницы следует изготовлять с радиальным разрезом древесины. Угол наклона годичных слоев на торце к лицевой стороне планки должен быть не менее 45°.

2.6. Рейки основания паркетной доски изготовляют из древесины хвойных пород, ольхи или осины. В основании паркетной доски рейки из древесины различных пород не допускаются.

2.7. Рейки основания должны быть фрезерованными по сечению, цельными или составными по длине.

Соединение реек по длине производят встык или на зубчатый шип по ГОСТ 19414.

В основании паркетных досок типа ПД2 расстояние между стыками в соседних рядах реек не должно быть менее 200 мм.

Зазоры между кромками реек основания не должны быть более 3 мм.

2.8. Отклонения от формы паркетных досок не должны превышать размеров, указанных в табл. 2.

Таблица 2

Наименование отклонения

Значение пред. откл., мм

1. Откл. от параллельности пластей и кромок

Не должны превышать пред. откл. по толщине и ширине

2. Откл. от перпендикулярности смежных кромок

0,3 на длине 100

3. Откл. от прямолинейности:

- продольной:

по лицевой стороне

5,0 на длине 1000

по кромке

0,5 » » »

- поперечной

1,0 » » 100

2.9. Зазоры между паркетными планками не должны быть более 0,3 мм для досок марки А и более 0,5 мм - для досок марки Б.

2.10. Качество древесины планок паркетных досок должно соответствовать указанному в табл. 3.

Таблица 3

Наименование порока древесины по ГОСТ 2140

Число и размер порока для марок

А

Б

1. Здоровые светлые и темные сучки:

Не допускаются на лицевой и оборотной сторонах размером более:

- сросшиеся

5 мм

10 мм

 

и числом более 5 шт. на 1 пог. м доски

- частично сросшиеся

Не допускаются

На лицевой стороне не допускаются

На оборотной стороне не допускаются размером более 10 мм и числом более 2 шт.

2. Трещины

Не допускаются шириной более 0,3 мм и длиной более 1/4 длины планки

Не допускаются на лицевой стороне и кромках шириной более 0,5 мм и длиной более 1/2 длины планки

3. Наклон волокон

Не допускается более 5 %

Не учитывается в планках лиственных пород.

Не допускается в планках хвойных пород более 10 %

4. Крень, свилеватость, завиток

Не допускаются

Не допускаются на планках из древесины сосны и березы на расстоянии менее 50 мм от торца, на планках др. пород не учитываются

5. Глазки

Не учитываются

6. Открытая односторонняя прорость

Не допускается

Не допускается на лицевой стороне, а на оборотной стороне не допускается глубиной более 1/3 толщины планки

7. Кармашек, засмолок

-

Не допускаются на лицевой стороне, а на оборотной стороне не допускаются более 3 шт.

8. Пятнистость, водослой, химическая окраска, заболонные грибные окраски, побурение

Не допускаются на лицевой стороне, а на оборотной стороне не ограничиваются

9. Отщеп, скол, вырыв, задир, выщербина

Не допускаются на лицевой стороне шириной более 0,5 мм и длиной более 10 мм

10. Ожог

На лицевой стороне не допускается. На оборотной стороне не учитывается

Примечания:

1. Пороки древесины по ГОСТ 2140, не указанные в табл. 3, не допускаются.

2. Допускается изготовление планок паркетных досок марки Б с ложным ядром при условии комплектования планок по цвету

3. На лицевой стороне планки не допускается одновременное наличие более двух учитываемых пороков, указанных в табл. 3.

Шпатлевку дефектов следует производить под цвет древесины водостойкими шпатлевками.

2.11. В рейках основания не допускаются гнили, острый обзол и несросшиеся сучки размерами более 1/2 ширины рейки и выпадающие сучки диаметром более 15 мм.

Обзол должен быть очищен от коры и луба.

2.12. Непрофрезерованные участки на боковых кромках и оборотной стороне паркетной доски не должны быть площадью более 20 % соответствующих поверхностей, а отщепы и сколы на кромках основания - глубиной не более 3 мм и длиной не более 100 мм.

2.13. Влажность древесины паркетных досок при отгрузке потребителю должна быть (8 ± 2) %.

2.14. Параметры шероховатости поверхностей Rz по ГОСТ 7016 не должны быть более:

 80 мкм ...   на лицевой стороне для паркетных досок марки А

100 мкм ...  на      »               »        »           »             »          »     Б

320 мкм ...  на продольных поперечных кромках и на оборотной стороне

2.15. Клеевые соединения выполняют с применением синтетических клеев средней или повышенной водостойкости.

Предел прочности клеевого соединения при испытании на отрыв паркетных планок не должен быть менее 0,6 МПа. Если отрыв планки происходит по древесине (более 70 % площади склеивания), результат испытания признают удовлетворительным.

2.16. Лицевая сторона паркетных досок должна быть покрыта прозрачным паркетным лаком. Качество лакового покрытия не должно быть ниже требований 4-го класса по ГОСТ 24404.

Ворс и пропуски лакокрасочного слоя не допускаются.

Толщина лаковой пленки, нанесенной в заводских условиях, должна быть не менее 60 мкм.

По согласованию изготовителя с потребителем допускается поставка паркетных досок марки Б с нелакированной поверхностью.

2.17. Адгезия лакового покрытия к древесине не должна быть ниже балла 3 по ГОСТ 15140.

2.18. Лакокрасочные и клеевые материалы, применяемые в производстве паркетных досок, должны быть разрешены к применению Министерством здравоохранения СССР.

3. ПРАВИЛА ПРИЕМКИ

3.1. Паркетные доски принимают партиями. Партией считают число паркетных досок одного типа, марки, размера, варианта расположения паркетных планок, одной породы древесины планок или одного сочетания планок из различных пород, оформленное одним документом о качестве.

Объем партии устанавливают по согласованию изготовителя с потребителем.

3.2. Для проверки соответствия паркетных досок требованиям пп. 1.4, 1.5, 2.3-2.12 применяют выборочный одноступенчатый контроль по альтернативному признаку по ГОСТ 23616.

План контроля при приемочном уровне дефектности 4 % приведен в табл. 4.

Таблица 4

шт.

Объем партии

Объем выборки

Приемочное число

Браковочное число

До 280

13

1

2

Св. 280  до  500  включ.

20

2

3

  »  500    »  1200    »

32

3

4

  »  1200  »  3200    »

50

5

6

  »  3200  »  10000 »

80

7

8

3.3. Приемочный контроль паркетных досок осуществляют в следующем порядке:

- от партии методом случайного отбора отбирают число паркетных досок, соответствующие объему выборки для данного размера партии;

- проверяют каждую паркетную доску в выборке на соответствие требованиям настоящего стандарта и определяют число паркетных досок с дефектами;

- сравнивают число паркетных досок с дефектами с приемочным и браковочным числами, установленными для данного объема выборки;

- партию принимают, если число паркетных досок с дефектами в выборке меньше или равно приемочному числу;

- партию не принимают, если число паркетных досок с дефектами в выборке равно или больше браковочного числа.

3.4. Для проверки соответствия паркетных досок требованиям пп. 2.13-2.17 из объема выборки по п. 3.2 произвольно отбирают не менее пяти досок, из которых вырезают по три образца для каждого вида испытаний.

При неудовлетворительных результатах испытаний одной из отобранных досок партия приемке не подлежит (за результат испытаний по каждой доске принимают среднее арифметическое значение результатов испытаний трех образцов, вырезанных из этой доски, причем результат испытаний каждого образца не должен быть менее 90 % от установленного в пп. 2.13-2.17).

3.5. Паркетные доски учитывают в квадратных метрах с погрешностью до 0,01 м2 и штуках. Площадь паркетной доски определяют по лицевой стороне без учета ширины гребня. Предельные отклонения в расчет не принимают.

4. МЕТОДЫ КОНТРОЛЯ

4.1. Отобранные паркетные доски проверяют поштучно. Размеры и форму планок проверяют при их влажности (8 ± 2) %;

Длину и ширину паркетных досок измеряют по лицевым сторонам: длину - параллельно, а ширину - перпендикулярно к продольной оси паркетной доски.

Толщину паркетных досок измеряют по торцам и посередине длины паркетной доски.

Для измерения принимают предельные калибры по ГОСТ 15876, штангенциркули по ГОСТ 166, индикаторные толщиномеры по ГОСТ 11358.

Размеры пазов и гребней проверяют контрольными калибрами либо штангенглубиномерами по ГОСТ 162.

4.2. Отклонение от параллельности пластей определяют измерением толщины паркетной доски, а отклонение от параллельности кромок - измерением ширины паркетной доски штангенциркулем по ГОСТ 166. Измерение проводят в трех точках - посередине и у торцов паркетной доски.

4.3. Отклонение от перпендикулярности смежных кромок паркетной доски определяют поверочными угольниками по ГОСТ 3749 и щупами по ТУ 2-034-225 измерением максимального зазора между одной из смежных кромок паркетной доски и приложенным к ней угольником на длине 100 мм.

4.4. Отклонение от прямолинейности паркетной доски определяют измерением максимального зазора между проверяемой поверхностью паркетной доски и ребром приложенной к ней поверочной линейки по ГОСТ 8026. Зазоры измеряют щупом по ТУ 2-034-225.

4.5. Зазоры между паркетными планками проверяют щупом по ТУ 2-034-225.

4.6. Наклон волокон определяют на радиальной поверхности планки по ГОСТ 2140. Угол наклона годичных слоев на торце планки определяют в градусах транспортиром по ГОСТ 13494 между касательной к годичным слоям и пластью.

4.7. Породу древесины, вид разреза, наличие пороков древесины оценивают визуально.

Пороки древесины измеряют по ГОСТ 2140, при этом размер сучка измеряют по его наименьшему диаметру.

4.8. Влажность древесины паркетных досок определяют по ГОСТ 16588.

4.9. Адгезию лакового покрытия к древесине определяют методом решетчатых надрезов по ГОСТ 15140.

4.10. Шероховатость поверхностей досок проверяют по ГОСТ 15612.

4.11. Толщину лакового покрытия проверяют по ГОСТ 13639.

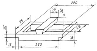
4.12. Прочность клеевого соединения планок на отрыв определяют на вырезанных из отобранных паркетных досок образцах, форма и размеры которых указаны на черт. 5.

Черт. 5

Примечание. Пропилы делают на глубину, равную толщине паркетной планки.

Испытания проводят на универсальной испытательной машине по ГОСТ 28840 или другой системы с погрешностью измерения не более 50 Н, используя приспособление, указанное на черт. 6.

Приспособление с образцом помещают на опорную площадку (черт. 7) испытательной машины и перемещают нагружающую головку с постоянной скоростью 8-10 мм/мин до разрушения образца.

Предел прочности клеевого соединения на отрыв (s) определяют с погрешностью до 0,05 МПа по формуле

где Рмакс - разрушающая нагрузка, Н;

l1 - длина образца, м;

b - ширина площадки отрыва, м;

d - диаметр отверстия, равный 0,016 м.

Опорная планка

Вилка

Черт. 6

Черт. 7

1 - опорная планка; 2 - образец для испытаний; 3 - вилка, 4 - опорная площадка испытательной машины

5. УПАКОВКА, МАРКИРОВКА, ТРАНСПОРТИРОВАНИЕ И ХРАНЕНИЕ

5.1. Паркетные доски упаковывают в пачки попарно, лицевой стороной друг к другу. По требованию потребителя между лакированными поверхностями паркетных досок должна быть уложена прокладка из бумаги по ГОСТ 515.

Масса пачки не должна превышать 40 кг.

5.2. Каждая пачка должна содержать паркетные доски одного типа, марки, размера, одного варианта расположения планок древесины, одной породы или одного сочетания планок из древесины разных пород.

5.3. Пачки упаковывают в полиэтиленовую пленку по ГОСТ 10354 или бумагу по ГОСТ 515, ГОСТ 8273, ГОСТ 2228 и обвязывают стальной лентой по ГОСТ 3560, проволокой по ГОСТ 3282 или шпагатом по ГОСТ 17308.

Под проволоку или стальную ленту на ребрах пачки следует подкладывать прокладку из деревянных реек, картона или других упаковочных материалов, защищающих кромки паркетных досок от механических повреждений при обвязке и транспортировании.

5.4. К каждой пачке должна быть приклеена этикетка или бирка либо нанесена несмываемой краской четкая маркировка в виде штампа, в которой должно быть указано:

- наименование или товарный знак предприятия-изготовителя;

- номер приемщика ОТК;

- условное обозначение доски,

- количество паркетных досок в штуках и квадратных метрах;

- порода древесины планок лицевого покрытия

5.5. Каждая отгружаемая потребителю партия паркетных досок должна сопровождаться документом о качестве, в котором указывают:

- наименование предприятия-изготовителя и его адрес;

- тип и марку досок;

- породу древесины лицевого покрытия;

- количество паркетных досок в штуках и квадратных метрах;

- номер партии;

- дату изготовления;

- обозначение настоящего стандарта

5.6. Паркетные доски перевозят всеми видами крытых транспортных средств в соответствии с правилами перевозки грузов, действующими на данных видах транспорта.

Допускается транспортирование паркетных досок без упаковки по согласованию изготовителя с потребителем в закрытых контейнерах или других транспортных средствах, обеспечивающих защиту изделий от механических повреждений и увлажнений.

5.7. Пачки следует хранить уложенными на прокладках в правильные ряды и рассортированными по типам, маркам, размерам, породам древесины планок и вариантам их расположения в отапливаемых помещениях при относительной влажности воздуха не более 60 % в условиях, не допускающих увлажнения, поражения грибами и насекомыми.

6. УКАЗАНИЕ ПО ПРИМЕНЕНИЮ

6.1. Паркетные доски толщиной 15,0 и 18,0 мм укладывают по сплошному основанию.

Паркетные доски толщиной 23,0; 25,0 и 27,0 мм укладывают по лагам.

7. ГАРАНТИИ ИЗГОТОВИТЕЛЯ

7.1. Изготовитель гарантирует соответствие паркетных досок требованиям настоящего стандарта при соблюдении потребителем условий транспортирования и хранения.

7.2. Гарантийный срок хранения паркетных досок - 12 мес со дня изготовления.

ИНФОРМАЦИОННЫЕ ДАННЫЕ

1. РАЗРАБОТАН И ВНЕСЕН Министерством лесной, целлюлозно-бумажной и деревообрабатывающей промышленности СССР

РАЗРАБОТЧИКИ

Р. С. Самойлова (руководитель темы); М. Б. Колмакова; В. В. Данилов, канд. техн. наук; Н. В. Шведов

2. УТВЕРЖДЕН И ВВЕДЕН В ДЕЙСТВИЕ Постановлением Государственного комитета СССР по делам строительства от 23.12.85 № 240

3. ВЗАМЕН ГОСТ 862.3-77

4. ССЫЛОЧНЫЕ НОРМАТИВНО-ТЕХНИЧЕСКИЕ ДОКУМЕНТЫ

Обозначение НТД, на который дана ссылка

Номер пункта

Обозначение НТД, на который дана ссылка

Номер пункта

ГОСТ 162-90

4.1

ГОСТ 11358-89

4.1

ГОСТ 166-89

4.1, 4.2

ГОСТ 13494-80

4.6

ГОСТ 515-77

5.1, 5.3

ГОСТ 13639-82

4.11

ГОСТ 2140-81

2.10, 4.6, 4.7

ГОСТ 15140-78

2.17, 4.9

ГОСТ 2228-81

5.3

ГОСТ 15612-85

4.10

ГОСТ 3282-74

5.3

ГОСТ 15876-90

4.1

ГОСТ 3560-73

5.3

ГОСТ 16588-91

4.8

ГОСТ 3749-77

4.3

ГОСТ 17308-88

5.3

ГОСТ 7016-82

2.14

ГОСТ 19414-90

2.7

ГОСТ 8026-92

4.4

ГОСТ 23616-79

3.2

ГОСТ 8273-75

5.3

ГОСТ 24404-80

2.16

ГОСТ 10354-82

5.3

ГОСТ 28840-90

4.12

 

 

ТУ 2-034-225-87

4.3-4.5

5. ПЕРЕИЗДАНИЕ

СОДЕРЖАНИЕ

 




Rambler's Top100 Яндекс цитирования
  Copyright © 2008-2026, www.docload.ru