|
Термин
|
Определение
|
|
1. Сварка
|
Получение неразъемных соединений
посредством установления межатомных связей между соединяемыми частями при их
нагревании и (или) пластическом деформировании
|
|
D. Schweissen
|
|
Е. Welding
|
|
F. Soudage
|
|
ВИДЫ СВАРКИ
|
|
2. Ручная сварка
|
Сварка, выполняемая человеком с помощью
инструмента, получающего энергию от специального источника
|
|
D. Handschweissen;
Manuelles
Schweissen
|
|
Е. Manual welding;
Hand welding
|
|
F. Soudage manuеl
|
|
3.
Механизированная сварка
|
Сварка, выполняемая с применением машин и
механизмов, управляемых человеком
|
|
D. Mechanisiertes Schweissen;
Maschinelles
Schweissen
|
|
Е. Mechanized welding
|
|
F. Soudage automatique
|
|
4. Автоматическая
сварка
|
Сварка, выполняемая машиной, действующей по
заданной программе, без непосредственного участия человека
|
|
D. Automatisches Schweissen;
Vollautomatisches
Schweissen
|
|
Е. Automatic welding
|
|
F. Soudage automatique
|
|
5. Сварка
плавлением
|
Сварка, осуществляемая местным сплавлением
соединяемых частей без приложения давления
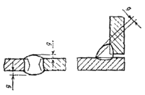
|
|
D. Schmelzschweissen
|
|
Е. Fusion welding
|
|
F. Soudage par fusion
|
|
6. Наплавка
|
Нанесение посредством сварки плавлением
слоя металла на поверхность изделия
|
|
D. Auftragsschweissen
|
|
Е. Surfacing; Bulding-up welding;
Overlaying
|
|
F. Rechargement
Deposition
|
|
7. Дуговая сварка
|
Сварка плавлением, при которой нагрев
осуществляется электрической дугой
|
|
D. Lichlbogenschweissen
|
|
Е. Arc welding
|
|
F. Soudage à
l’arc
|
|
8. Дуговая сварка
плавящимся электродом
|
Дуговая сварка, выполняемая электродом,
который, расплавляясь при сварке, служит присадочным металлом
|
|
Сварка плавящимся электродом
|
|
D. Lichtbogenschweissen mit
abschmelzender Elektrode; Schweissen mit abschmel-zender Elektrode
|
|
Е. Consumable electrode arc welding; MIG-welding;
MAG-welding
|
|
F. Soudage à l’arc avec
electrode consumable; Sondage MIG (MAG)
|
|
9. Дуговая сварка
неплавящимся электродом
|
Дуговая сварка, выполняемая нерасплавляющимся
при сварке электродом
|
|
Сварка неплавящимся электродом
|
|
D. Schweissen mit nichtabschmelzender
Elektrode
|
|
Е. Non-consumable electrode arc welding; TIG-welding
|
|
F. Soudage à l’arc avec
electrode non consumable; Soudage TIG
|
|
10. Дуговая сварка под флюсом
|
Дуговая сварка, при которой дуга горит под
слоем сварочного флюса
|
|
Сварка под флюсом
|
|
D. Unterpulverlichtbogenschweissen;
Unterpulverschweissen; UP-Schweissen
|
|
Е. Submerged arc welding
|
|
F. Soudage à l’arc sous flux
solide
|
|
11. Дуговая сварка в защитном газе
|
Дуговая сварка, при которой дуга и
расплавляемый металл, а в некоторых случаях, и остывающий шов, находятся в
защитном газе, подаваемом в зону сварки с помощью специальных устройств
|
|
Сварка в защитном газе
|
|
Ндн. Газоэлектрическая сварка
|
|
D. Schutzgaslichtbogen-schweissen;
Schutzgasschweissen
|
|
Е. Gas-shielded arc welding
|
|
F Soudage à l’arc sous protection gazeuse
|
|
12. Аргонодуговая
сварка
|
Дуговая сварка, при которой в качестве
защитного газа используется аргон
|
|
D. Argon-Lichtbogenschweissen;
Argonarc- Schweissen
|
|
E. Argon-arc welding
|
|
F. Precédé argonarc;
Soudage à l’arc sous argon; Soudage à l’argonarc
|
|
13. Дуговая сварка
в углекислом газе
|
Дуговая сварка, при которой в качестве
защитного используется углекислый газ
|
|
Сварка в углекислом газе
|
|
D. CO2-Schutzgasschweissen;
CO2-Schwcissen
|
|
E. СО2-welding
|
|
F. Soudage CO2
|
|
14. Подводная
дуговая сварка
|
-
|
|
Подводная сварка
|
|
Ндп. Дуговая сварка под водой
|
|
D. Lichlbogenschweissen unter Wasser;
Unterwasserschweissen
|
|
E. Underwater arc welding
|
|
F. Soudage à l’arc sous l’eau
|
|
15.
Импульсно-дуговая сварка
|
Дуговая сварка, при которой дугу
дополнительно питают импульсами тока по заданной программе
|
|
D. Impulslichtbogenschweissen
|
|
E. Pulsed arc welding
|
|
F. Soudage à courant
pulsé; Soudage par impulsions
|
|
16. Ручная дуговая
сварка
|
Дуговая сварка, при которой возбуждение
дуги, подача электрода и его перемещение проводятся вручную
|
|
D. Handlichbogenschweissen;
Lichtbogenhandschweissen; Lichlbogenschweissen von Hand; E-Handschweissen;
Manuelles Lichtbogenschweissen
|
|
E. Manual arc welding; Hand arc
welding
|
|
F. Soudage à l’arc manuel
|
|
17.
Механизированная дуговая сварка
|
Дуговая сварка, при которой подача
плавящегося электрода или присадочного металла, или относительное перемещение
дуги и изделия выполняются с помощью механизмов
|
|
Ндп. Полуавтоматическая дуговая сварка
|
|
D. Mechanisiertes
Lichtbogenschweissen
|
|
E. Mechanized arc welding
|
|
F. Soudage mécanisé
à l’arc
|
|
18. Автоматическая
дуговая сварка
|
Механизированная дуговая сварка, при которой
возбуждение дуги, подача плавящегося электрода или присадочного металла и
относительное перемещение дуги и изделия осуществляются механизмами без
непосредственного участия человека, в том числе и по заданной программе
|
|
D. Aulomatisches Lichbogenschweissen
|
|
E. Automatic arc welding
|
|
F. Soudage automatique à l’arc
|
|
19. Двухдуговая
сварка
|
Дуговая сварка, при которой нагрев
осуществляется одновременно двумя дугами с раздельным питанием их током
|
|
D. Zweilichtbogenschweissen Doppellichtbogenschweissen
|
|
E. Twin-arc welding
|
|
F. Soudage à double arc;
Soudage à deux arcs
|
|
20. Многодуговая
сварка
|
Дуговая сварка, при которой нагрев
осуществляется одновременно более чем двумя дугами с раздельным питанием их
током
|
|
D. Mehrfachlichtbogenschweissen
|
|
E. Multi-arc welding
|
|
F. Soudage à arcs multiples
|
|
21.
Двухэлектродная сварка
|
Дуговая сварка, при которой нагрев
осуществляется одновременно двумя электродами с общим подводом сварочного
тока
|
|
Ндп. Сварка расщепленным электродом
|
|
D. Zweilektrodenschweissen; Schweissen
mit Zwillingselektrode; Schweissen mit Doppelelektrode
|
|
E. Two-electrode welding
|
|
F. Sondagc à deux
électrodes
|
|
22. Многоэлектродная сварка
|
Дуговая сварка, при которой нагрев
осуществляется одновременно более чем двумя электродами с общим подводом сварочного
тока
|
|
D. Mehrdrahtschweissen; Schweissen
mit Mehrfachelektrode Multi-electrode
|
|
E. Multi-electrode welding
|
|
F. Soudage avcc électrodes
multiples
|
|
23. Дуговая сварка
по флюсу
|
Дуговая сварка, при которой на свариваемые
кромки наносится слой флюса, толщина которого меньше дугового промежутка
|
|
Сварка по флюсу
|
|
D. Schweissen mit Pulverzugabe
|
|
E. Semi-submerged arc welding
|
|
F. Soudage avec addition de flux
|
|
24. Точечная
дуговая сварка
|
Дуговая сварка без перемещения электрода в
плоскости, перпендикулярной его оси, в виде отдельных точек
|
|
D. Lichtbogenpunktschweissen
|
|
E. Arc spot welding
|
|
F. Soudage par points à l’arc
|
|
25. Вибродуговая
сварка
|
Дуговая сварка плавящимся электродом,
который вибрирует, вследствие чего дуговые разряды чередуются с короткими
замыканиями
|
|
D. Lichtbogenschweissen mit
vibrierender Elektrode
|
|
E. Vibrating electrode arc welding
|
|
F. Soudage à l’arc avec electrode vibratoire
|
|
26. Сварка лежачим
электродом
|
Дуговая сварка, при которой неподвижный
покрытый электрод укладывается вдоль спариваемых кромок, а дуга перемещается
по мере расплавления электрода
|
|
D. Schweissen mit liegen der Elektrode;
Unterschienenschweissen; EHV-Schweissen
|
|
E. Firecracker welding; EHV-welding
|
|
F. Soudage avec électrode coucheé
|
|
27. Сварка
наклонным электродом
|
Дуговая сварка, при которой покрытый
электрод располагается наклонно вдоль свариваемых кромок, опираясь на них, и
по мере расплавления движется под действием силы тяжести или пружины, а дуга
перемещается вдоль шва
|
|
Ндп. Гравитационная сварка
|
|
D. Schwehrkraftschweissen
|
|
E. Gravity welding
|
|
F. Soudage par gravite
|
|
28. Плазменная
сварка
|
Сварка плавлением, при которой нагрев
проводится сжатой дугой
|
|
Ндп. Сварка плазменной дугой
|
|
Плазменнодуговая сварка
|
|
D. Plasmaschweissen
|
|
E. Plasma-arc welding
|
|
F. Soudage au plasma d’arc (à l’arc plasma);
Soudage au plasma
|
|
29.
Электрошлаковая сварка
|
Сварка плавлением, при которой для нагрева
используется тепло, выделяющееся при прохождении электрического тока через
расплавленный шлак
|
|
Шлаковая сварка
|
|
D. Elektroschlackeschweissen; ES-Schweissen
|
|
E. Electroslag welding
|
|
F. Soudage sous laitier électroconducleur; Soudage
electroslag
|
|
30.
Электронно-лучевая сварка
|
Сварка плавлением, при которой для нагрева
используется энергия ускоренных электронов
|
|
D. Elektronenstrahlschweissen
|
|
E. Electron beam welding
|
|
F. Soudage par faisceau d’électrons; Soudage par
bombardement électronique
|
|
31. Лазерная сварка
|
Сварка плавлением, при которой для нагрева
используется энергия излучения лазера
|
|
D. Laserschweissen; Laserstrahschweissen
|
|
E. Laser welding; Laser beam welding
|
|
F. Soudage au laser Soudage par taisccau laser
|
|
32. Газовая сварка
|
Сварка плавлением, при которой для нагрева
используется тепло пламени смеси газов, сжигаемой с помощью горелки
|
|
D. Gasschweissen; Gasschmeizschweissen
|
|
E. Gas welding
|
|
F. Soudage autogene; Soudage à la flamme
|
|
33. Термитная сварка
|
Сварка, при которой для нагрева
используется энергия горения термитной смеси
|
|
D. Aluminothermisches; Schweissen; Thermitschweissen
|
|
E. Thermit welding
|
|
F. Soudage aluminothermique
|
|
34. Сварка с
применением давления
|
-
|
|
D. Schweissen mit Druck
|
|
E. Welding with pressure
|
|
F. Soudage avec pression
|
|
35. Наварка
|
Нанесение слоя металла на поверхность
изделия посредством сварки с применением давления
|
|
D. Auftragsschweissen mit Druck
|
|
E. Welding-on with pressure
|
|
F. Rechargement avec pression
|
|
36. Контактная сварка
|
Сварка с применением давления, при которой
используется тепло, выделяющееся в контакте свариваемых частей при
прохождении электрического тока
|
|
D. Widerstandsschweissen
|
|
E. Resistance welding
|
|
F. Soudage par résistance
|
|
37. Стыковая
контактная сварка
|
Контактная сварка, при которой соединение
свариваемых частей происходит по поверхности стыкуемых торцов
|
|
Стыковая сварка
|
|
D. Widerstandsstumpfschweissen
|
|
E. Resistance butt welding
|
|
F. Soudage en bout par résistance
|
|
38. Стыковая
сварка оплавлением
|
Стыковая контактная сварка, при которой
нагрев металла сопровождается оплавлением стыкуемых торцов
|
|
Сварка оплавлением
|
|
D. Abbrennstumpfschweissen
|
|
E. Flash butt welding
|
|
F. Soudage par étincelage
|
|
39. Стыковая
сварка сопротивлением
|
Стыковая контактная сварка, при которой
нагрев металла осуществляется без оплавления стыкуемых торцов
|
|
Сварка сопротивлением
|
|
D. Pressstumpfschweissen
|
|
Е. Upset welding; Resistance butt
welding
|
|
F. Soudage en bout par résistance
|
|
40. Точечная
контактная сварка
|
Контактная сварка, при которой сварное
соединение получается между торцами электродов, передающих усилие сжатия
|
|
D. Punktschweissen
|
|
Е. Resistance-spot welding
|
|
F. Soudage par points
|
|
41. Рельефная
сварка
|
Контактная сварка, при которой сварное
соединение получается на отдельных участках, обусловленных их геометрической
формой, в том число по выступам
|
|
D. Buckelschweissen
|
|
Е. Projection welding; Point
welding
|
|
F. Soudage par bossages
|
|
42. Шовная
контактная сварка
|
Контактная сварка, при которой соединение
свариваемых частей происходит между вращающимися дисковыми электродами,
передающими усилие сжатия
|
|
Шовная сварка
|
|
Ндп. Роликовая сварка
|
|
D. Rollennaht-Widurstands-schweissen;
Rollennahtschweissen; Nahtschweissen
|
|
Е. Reslstance-seam welding; Seam
welding
|
|
F. Soudage par resistance à la molette; Soudage
à la molette; Soudage au galet
|
|
43. Шовно-стыковая сварка
|
Контактная сварка с получением стыкового
шва вращающимися дисковыми электродами, относительно которых перемещаются
детали, собранные с небольшой нахлесткой или встык
|
|
D. Rollennahtschwelssen von Stumpfstössen
|
|
Е. Butt-seam welding
|
|
F. Soudage au galet par écrasement; Soudage
à la molette par écrascment
|
|
44.
Высокочастотная сварка
|
Сварка с применением давления, при которой
нагрев осуществляется токами высокой частоты
|
|
D. Hochfrequenzschweissen
|
|
Е. High frequency welding
|
|
F. Soudage à haute fréquence
|
|
45. Сварка взрывом
|
Сварка с применением давления, при которой
соединение осуществляется в результате вызванного взрывом соударения
спариваемых частей
|
|
D. Sprengschweissen; Explosionschweissen
|
|
Е. Explosion welding
|
|
F. Soudage par explosion
|
|
46. Магнитно-импульсная сварка
|
Сварка с применением давления, при которой
соединение осуществляется в результате соударения свариваемых частей,
вызнанного воздействием импульсного магнитного поля
|
|
D. Magnet-Impuls Schweissen
|
|
Е. Magnetic-pulse welding
|
|
F. Sondage par pulsations magnétiques
|
|
47. Cвapкa трением
|
Сварка с применением давления, при которой
нагрев осуществляется трением, вызванным относительным перемещением
свариваемых частей или инструмента
|
|
D. Reibschweissen
|
|
Е. Friction welding
|
|
F. Soudage par friction
|
|
48. Сварка
давлением
|
Сварка с применением давления,
осуществляемая за счет пластической деформации свариваемых частей при
температуре ниже температуры плавления
|
|
Ндп. Сварка в твердой фазе
|
|
Сварка в твердом состоянии
|
|
D. Pressschweissen; Druckschweissen
|
|
E. Pressure welding
|
|
F. Soudage par pression
|
|
49. Печная сварка
|
Сварка давлением, при которой нагрев
проводится в печах или горцах
|
|
D. Feuerschweissen
|
|
Е. Pressure welding with furnace
heating
|
|
F. Soudage par pression au four
|
|
50. Кузнечная
сварка
|
Печная сварка, при которой осадка выполняется
ударами молота
|
|
D. Hammerschweissen
|
|
Е. Forge welding; Hammer welding
|
|
F. Soudage à la forge; Soudage par forgeage
|
|
51. Сварка
прокаткой
|
Печная сварка, при которой пластическое
деформирование осуществляется в прокатных валках
|
|
D. Walzschweissen
|
|
Е. Roll welding
|
|
F. Soudage aux galets
|
|
52. Газопрессовая
сварка
|
Сварка давлением, при которой для нагрева
используется тепло пламени смеси газов, сжигаемой с помощью горелки
|
|
D. Gaspressschweissen
|
|
Е. Pressure gas welding
|
|
F. Soudage autogéne par pression
|
|
53. Диффузионная
сварка
|
Сварка давлением, осуществляемая за счет
взаимной диффузии атомов в тонких поверхностных слоях контактирующих частей.
Примечание. Диффузионная сварка осуществляется при относительно
длительном воздействии повышенной температуры и незначительной пластической
деформации
|
|
D. Diffusionsschweissen
|
|
Е. Diffusion welding
|
|
F. Soudage par diffusion
|
|
54. Ультразвуковая
сварка
|
Сварка давлением, осуществляемая при
воздействии ультразвуковых колебаний
|
|
D. Ultraschallschweissen
|
|
Е. Ultrasonic welding
|
|
F. Soudage par ultrasons
|
|
55. Холодная
сварка
|
Сварка давлением при значительной
пластической деформации без нагрева свариваемых частей внешними источниками
тепла
|
|
D. Kaltpressschweissen; Kaltschweissen
|
|
Е. Cold welding; Cold pressure
welding
|
|
F. Soudage à froid
|
|
56. Сварка в
контролируемой атмосфере
|
Сварка, осуществляемая в камере,
заполненной газом определенного состава
|
|
D. Schweissen in kontrolierter Atmosphäre
|
|
Е. Welding under controlled
atmosphere
|
|
F. Soudaпe en
atmosphère controllée
|
|
СВАРНЫЕ СОЕДИНЕНИЯ И ШВЫ
|
|
57. Сварное
соединение
|
Неразъемное соединение, выполненное сваркой
|
|
D. Schweissverbindung
|
|
Е. Welded joint
|
|
F. Joint soudé; Assemblage soudé; Soudure
|
|
58. Стыковое
соединение
|
Сварное соединение двух элементов,
примыкающих друг к другу торцовыми поверхностями

|
|
D. Stumpfstoss; Stumptschweissverbindung
|
|
Е. Butt joint
|
|
F. Assemblage en bout; Joint en bout
|
|
59. Угловое
соединение
|
Сварное соединение двух элементов,
расположенных под углом и сваренных в месте примыкания их краев

|
|
D. Eckstoss; Eckverbindung
|
|
Е. Corner joint; Fillet weld
|
|
F. Joint d’angle; Soudure en corniche
|
|
60. Нахлесточное
соединение
|
Сварное соединение, в котором сваренные элементы расположены параллельно
и частично перекрывают друг друга

|
|
D.
Überlappstoss; Überlappverbindung
|
|
Е. Lap
joint; Overlap joint
|
|
F.
Assemblge à recouvrement; Joint a recouvrement
|
|
61. Тавровое
соединение
|
Сварное соединение, в котором торец одного элемента примыкает под углом и
приварен к боковой поверхности другого элемента

|
|
Ндп. Соединение впритык
|
|
D.
T-Stoss; T-Verbindung
|
|
E.
Tee joint; T-joint
|
|
F.
Assemblage en T; Joint en T
|
|
62. Торцовое
соединение
|
Сварное соединение, в котором боковые поверхности сваренных элементов
примыкают друг к другу

|
|
Ндп. Боковое соединение
|
|
D.
Stirnstoss
|
|
E.
Edge joint; Flange joint
|
|
F.
Joint des plaques juxtaposées; Joint à bords relevées
|
|
63. Сварная конструкция
|
Металлическая конструкция, изготовленная сваркой отдельных деталей
|
|
D.
Schweisskonstruktion
|
|
Е. Welded
structure
|
|
F.
Construction soudée
|
|
64. Сварной узел
|
Часть конструкции, в которой сварены примыкающие друг к другу элементы
|
|
D.
Schweissteil; Schweisseinheit
|
|
Е. Welded
assembly
|
|
F.
Ensemble soudé; Assemblage soude.
|
|
65. Сварной шов
|
Участок сварного соединения, образовавшийся в результате кристаллизации
расплавленного металла или в результате пластической деформации при сварке
давлением или сочетания кристаллизации и деформации
|
|
Шов
|
|
D.
Schweissnaht
|
|
E.
Weld
|
|
F.
Soudure
|
|
66. Стыковой шов
|
Сварной шов стыкового соединения
|
|
D. Stumpfnaht; Slossnalit
|
|
Е. Butt weld
|
|
F. Soudure en bout; Soudure bout à bout
|
|
67. Угловой шов
|
Сварной шов углового, нахлесточного или
таврового соединений
|
|
D. Kehlnaht
|
|
Е. Fillet weld
|
|
F. Soudure d’angle
|
|
68. Точечный шов
|
Сварной шов, в котором связь между
сваренными частями осуществляется сварными точками
|
|
D. Punktschweissung
|
|
Е. Spot weld
|
|
F. Soudure par points
|
|
69. Сварная точка
|
Элемент точечного шва, представляющий собой
в плане круг или эллипс
|
|
D. Schwelsspunkt
|
|
Е. Weld spot; Weld point
|
|
F. Point de soudure; Point soudé
|
|
70. Ядро точки
|
Зона сварной точки, металл которой
подвергался расплавлению
|
|
D. Schweisslinse
|
|
Е. Weld nugget; Spot weld nugget
|
|
F. Noyau de soudure; Lentille de soudure
|
|
71. Непрерывный
шов
|
Сварной шов без промежутков по длине
|
|
Ндп. Сплошной шов
|
|
D. Durchlauiende Naht
|
|
Е. Continuous weld; Uninterrupted
weld
|
|
F. Soudure continue
|
|
72. Прерывистый
шов
|
Сварной шов с промежутками по длине
|
|
D. Unterbrochene Naht
|
|
Е. Interrupted weld; Intermittent
weld
|
|
F. Soudure discontinue; Soudure intermittente
|
|
73. Цепной
прерывистый шов
|
Двухсторонний прерывистый шов, у которого
промежутки расположены по обеим сторонам стенки один против другого

|
|
Цепной шов
|
|
D. Symmetrisch unterbrochene Naht
|
|
Е. Chain intermittent weld; Chain
intermittent fillet weld
|
|
F. Soudure discontinue symmétrique
|
|
74. Шахматный
прерывистый шов
|
Двухсторонний прерывистый шов, у которого
промежутки на одной стороне стенки расположены против сваренных участков шва
с другой ее стороны

|
|
Шахматный шов
|
|
D. Unterbrochene versetzte Naht
|
|
Е. Staggered intermittent weld
|
|
F. Soudure discontinue alternée
|
|
75. Многослойный шов
|
-
|
|
D. Mehrlagennaht
|
|
Е. Multi-run weld; Multi-pass
weld
|
|
F. Soudure en plusieurs passes;
|
|
Soudure à couches multiples;
|
|
Soudure à plusieurs couches
|
|
76. Подварочный
шов
|
Меньшая часть двухстороннего шва,
выполняемая предварительно для предотвращения прожогов при последующей сварке
или накладываемая в последнюю очередь в корень шва
|
|
D. Gegennaht
|
|
Е. Sealing bead
|
|
F. Cordon support; Cordon à l’envers
|
|
77. Прихватка
|
Короткий сварной шов для фиксации взаимного
расположения подлежащих сварке деталей
|
|
D. Heftnaht
|
|
Е. Tack weld
|
|
F. Soudure de pointage
|
|
78. Монтажный шов
|
Сварной шов, выполняемый при монтаже
конструкции
|
|
D. Baustellenschweissnaht; Montageschweissungs
|
|
Е. Site weld
|
|
F. Soudure de montage
|
|
79. Валик
|
Металл сварного шва, наплавленный или
переплавленный за один проход
|
|
D. Schweissraupe
|
|
Е. Weld bead; Bead
|
|
F. Cordon
|
|
80. Слой сварного
шва
|
Часть металла сварного шва, которая состоит
из одного или нескольких валиков, располагающихся на одном уровне поперечного
сечения шва
|
|
Слой
|
|
D. Lage
|
|
Е. Layer
|
|
F. Couche
|
|
81. Корень шва
|
Часть сварного шва, наиболее удаленная от
его лицевой поверхности

|
|
D. Nahtwurzcl; Wurzel
|
|
Е. Weld root
|
|
F. Racine de la soudure
|
|
82. Выпуклость
сварного шва
|
Выпуклость шва, определяемая расстоянием
между плоскостью, проходящей через видимые линии границы сварного шва с
основным металлом и поверхностью сварного шва, измеренным в месте наибольшей
выпуклости

|
|
Выпуклость шва
|
|
Ндп. Усиление шва
|
|
D. Nahtüberhöhung
|
|
Е. Weld reiniorcemcnt; Weld
convexity
|
|
F.Surépaisseur de la soudure
|
|
83. Вогнутость
углового шва
|
Вогнутость, определяемая расстоянием между
плоскостью, проходящей через видимые линии границы углового шва с основным
металлом и поверхностью шва, измеренным в месте наибольшей вогнутости

|
|
Вогнутость шва
|
|
Ндп. Ослабление шва
|
|
D. Konkavität der Kehlnaht
|
|
Е. Fillet weld concavity
|
|
F. Concavité de la soudure
|
|
84. Толщина
углового шва
|
Наибольшее расстояние от поверхности
углового шва до точки максимального проплавления основного металла

|
|
D. Nahthöhe; Kehlnahtdicke
|
|
Е. Fillet weld throat thickness
|
|
F. Epaisseur à clin; Epaisseur d’une soudure en
angle
|
|
85. Расчетная
высота углового шва
|
Длина перпендикуляра, опущенного из точки
максимального проплавления в месте сопряжения свариваемых частей на
гипотенузу наибольшего вписанного во внешнюю часть углового шва
прямоугольного треугольника

|
|
Расчетная высота шва
|
|
D. Rechnerische Nahtdicke
|
|
Е. Desipn throat thickness
|
|
F. Epaisseur nominale de la soudure
|
|
86. Катет углового
шва
|
Кратчайшее расстояние от поверхности одной
из свариваемых частей до границы углового шва на поверхности второй
свариваемой части

|
|
Катет шва
|
|
D. Schenkellängу; Nahtschenkel
|
|
Е. Fillet weld leg
|
|
F. Côte de la soudure d’angle
|
|
87. Ширина
сварного шва
|
Расстояние между видимыми линиями
сплавления на лицевой стороне сварного шва при сварке плавлением
|
|
Ширина шва
|
|
D. Nahtbreite
|
|
Е. Weld width
|
|
F. Largeur de la soudure
|
|
88. Коэффициент
формы сварного шва
|
Коэффициент, выражаемый отношением ширины
стыкового или углового шва к его толщине
|
|
Коэффициент формы шва
|
|
D. Nahtiormfaktor
|
|
Е. Weld shape factor; Weld
geometry factor
|
|
F. Facteur géométrique
de la soudure
|
|
89. Механическая
неоднородность сварного соединения
|
Различие механических свойств отдельных
участков сварного соединения
|
|
Механическая неоднородность
|
|
D. Mechanische Inhoniogenität
|
|
Е. Mechanical heterogeneity
|
|
F.
Hétérogénéité mécanique
|
|
90. Мягкая прослойка сварного соединения
|
Участок сварного соединения, в котором
металл имеет пониженные показатели твердости и (или) прочности по сравнению с
металлом соседних участков
|
|
Мягкая прослойка
|
|
D. Weiche Zwischenlage
|
|
Е. Soft
interlayer
|
|
F. Couche intermédière
douce
|
|
91. Твердая
прослойка сварного соединения
|
Участок сварного соединения, в котором
металл имеет повышенные показатели твердости и (или) прочности по сравнению с
металлом соседних участков
|
|
Твердая прослойка
|
|
D. Harte Zwischenlage
|
|
Е. Hard interlayer
|
|
F. Couche intermédière
dure
|
|
92. Разупрочненный
участок сварного соединения
|
Участок зоны термического влияния, в
котором произошло снижение прочности основного металла
|
|
Разупрочненный участок
|
|
D. Infestigte Zone
|
|
E. Weakened zone
|
|
F. Zone affaibliu
|
|
93. Контактное
упрочнение мягкой прослойки
|
Повышение сопротивления деформированию
мягкой прослойки сварного соединения за счет сдерживания ее деформаций
соседними более прочными его частями
|
|
Контактное упрочнение
|
|
D. Lokale Verfestigung
|
|
Е. Local strengthening
|
|
F. Raffermissement locale
|
|
ТЕХНОЛОГИЯ СВАРКИ
|
|
94. Направление
сварки
|
Направление движения источника тепла вдоль
продольной оси сварного соединения
|
|
D. Schweissrichtung
|
|
Е. Direction
of welding
|
|
F. Sens de la soudure; Direction de la
soudure
|
|
95.
Обратноступенчатая сварка
|
Сварка, при которой сварной шов выполняется
следующими один за другим участками в направлении, обратном общему приращению
длины шва

|
|
D. Pilgerschrittschweissen
|
|
Е. Back-step sequence; Back-step
welding; Step-back welding
|
|
F. Soudage à pas de
pélerin
|
|
96. Сварка блоками
|
Обратноступенчатая сварка, при которой
многослойный шов выполняют отдельными участками с полным заполнением каждого
из них

|
|
D. Absatzweises
Mehrlagenschweissen
|
|
Е. Block
sequence
|
|
F. Soudage par blocs successifs
|
|
97. Сварка
каскадом
|
Сварка, при которой каждый последующий
участок многослойного шва перекрывает весь предыдущий участок или его часть

|
|
D. Kaskadenschweissung
|
|
Е.
Cascade welding
|
|
F. Soudage en cascade
|
|
98. Проход при
сварке
|
Однократное перемещение в одном направлении
источника тепла при сварке и (или) наплавке
|
|
Проход
|
|
D. Schweissgang
|
|
Е. Pass; Run
|
|
F. Passe
|
|
99. Сварка
напроход
|
Сварка, при которой направление сварки
неизменно
|
|
D. Einrichtungschweissen
|
|
Е. One
direction welding
|
|
F. Soudage dans un sens
|
|
100. Сварка
вразброс
|
Сварка, при которой сварной шов выполняется
участками, расположенными в разных местах по его длине
|
|
D. Absatzweises Schweissen
|
|
E. Skip welding
|
|
F. Soudage fractionné
|
|
101. Сварка сверху
вниз
|
Сварка плавлением в вертикальном положении,
при которой сварочная ванна перемещается сверху вниз
|
|
D. Fallnahlschweissen;
Abwärtsschweissen
|
|
E. Downhill welding
|
|
F. Soudage descendant
|
|
102. Сварка снизу
вверх
|
Сварка плавлением в вертикальном положении,
при которой сварочная ванна перемещается снизу вверх
|
|
D. Aufwärtsschweissen
|
|
E. Uphill welding
|
|
F. Soudage montant; Soudage ascendant
|
|
103. Сварка на
спуск
|
Сварка плавлением в наклонном положении,
при которой сварочная ванна перемещается сверху вниз
|
|
D. Bergabschweissen
|
|
E. Downward welding (in the inclined position)
|
|
F. Soudage descendant (en position inclinée)
|
|
104. Сварка на
подъем
|
Сварка плавлением в наклонном положении,
при которой сварочная ванна перемещается снизу вверх
|
|
D.
Schrägaufwärtsschweissen Bergautschweissen
|
|
E. Upward welding (in the inclined position)
|
|
F. Soudade
montant (en position inclinée)
|
|
105. Сварка углом
вперед
|
Дуговая сварка, при которой электрод
наклонен под острым углом к направлению сварки
|
|
D. Schweissen mit stechendcr Brennerstellung
|
|
E. Welding with electrode inclined under acute angle
|
|
F. Soudage avec électrode
inclinése en avant
|
|
106. Сварка углом
назад
|
Дуговая сварка, при которой электрод
наклонен под тупым углом к направлению сварки
|
|
D. Schweissen mit schleppen der Brennersteilung
|
|
E. Welding with electrode in dined under obtuse angle
|
|
F. Soudage avec électrode
inclinése en arriére
|
|
107. Сварка па
весу
|
Односторонняя спарка со сквозным
проплавлением кромок без использования подкладок
|
|
D. Schweissen ohne Unteriage
|
|
E. Welding without backing
|
|
F. Soudage sans support
|
|
108. Сварка
неповорптных стыков
|
Сварка по замкнутому контуру во всех
пространственных положениях, при которой объект сварки неподвижен
|
|
D. Schweissen in Zwangshjsition
|
|
E. Position pipe-welding; Orbital welding
|
|
F. Soudage des joints fixes; Soudage
orbital
|
|
109. Поддув
защитного газа
|
Подача защитного газа к обратной стороне
соединяемых частей для защиты их при сварке от воздействия воздуха
|
|
D. Schutzgaszufuhr von
Rüshkseite der Naht
|
|
E. Weld root gas shielding
|
|
F. Protection par gaz de la racine de
soudure
|
|
110. Разделка
кромок
|
Придание кромкам, подлежащим сварке,
необходимой формы
|
|
D. Fugenvorbereitung;
Kantenvorbereitung; Nahtvorbcrcitung
|
|
E. Edge preparation
|
|
F. Préparation des bords;
Chanfreinage
|
|
111. Скос кромки
|
Прямолинейный наклонный срез кромки,
подлежащей сварке

|
|
D. Kantenabschrägung
|
|
E. Edge bevelling
|
|
F. Chanfrein
|
|
112. Притупление
кромки
|
Нескошенная часть торца кромки, подлежащей
сварке

|
|
D. Stegflanke
|
|
E. Root face
|
|
F. Méplat; Talon
|
|
113. Угол скоса
кромки
|
Острый угол между плоскостью скоса кромки и
плоскостью торца

|
|
Угол скоса
|
|
D. Abschrägungswinkel
|
|
E. Bevel angle
|
|
F. Angle du chanfrein (de
chanfreinage)
|
|
114. Угол разделки
кромок
|
Угол между скошенными кромками свариваемых
частей

|
|
Угол разделки
|
|
D. Öffnungswinkel
|
|
E.Groove angle
|
|
F. Angle d’ouverture
|
|
114а. Зазор
|
Кратчайшее расстояние между кромками
собранных для сварки деталей
|
|
D. Spalt; Spaltbreite; Stegabstand
|
|
Е. Gap; Air gap; Root opening
|
|
F.Ecartment des bords
|
|
115. Основной
металл
|
Металл подвергающихся сварке соединяемых
частей
|
|
D. Grandwerkstoff
|
|
Е.Base
metal; Parent metal
|
|
F.Métal de base
|
|
116. Глубина
проплавления
|
Наибольшая глубина расплавления основного
металла в сечении шва или наплавленного валика
|
|
D. Einbrabdtiefe
|
|
Е. Depth of
pénétration
|
|
F. Protondcur de penetration
|
|
117. Сварочная
ванна
|
Часть металла свариваемого шва, находящаяся
при сварке плавлением в жидком состоянии
|
|
D. Schweissbad
|
|
Е.Welding pool; Welding bath;
Welding puddle
|
|
F. Bain de fusion; Bain de soudage
|
|
118. Кратер
|
Углубление, образующееся в конце валика под
действием давления дуги и объемной усадки металла шва
|
|
D. Krater
|
|
Е. Crater
|
|
F. Cratère
|
|
119. Присадочный
металл
|
Металл для введения в сварочную ванну в
дополнение к расплавленному основному металлу
|
|
D. Zusatzwerkstoff; Zusatzmetall
|
|
Е. Filler
metal
|
|
F. Métal d’apport
|
|
120. Наплавленный
металл
|
Переплавленный присадочный металл,
введенный в сварочную ванну или наплавленный на основной металл
|
|
D. Eingetragenes Schweissgut;
Reines Schweissgut
|
|
Е. Deposited metal
|
|
F. Métal déposé
|
|
121. Металл шва
|
Сплав, образованный расилачлснным основным
и наплавленным металлами или только переплавленным основным металлом
|
|
D. Schweissgut
|
|
Е. Weld
metal
|
|
F. Métal de la soudure
|
|
122. Провар
|
Сплошная металлическая связь между
свариваемыми поверхностями основного металла, слоями и валиками сварного шва
|
|
D. Einbrand
|
|
Е. Complete
fusion
|
|
F. Fusion complète
|
|
123. Зона
сплавления при сварке
|
Зона частично сплавившихся зерен на границе
основного металла и металла шва
|
|
Зона сплавления
|
|
D. Zusammenschmeizzone
|
|
Е. Fusion
zone
|
|
F. Zone dc liaison
|
|
124. Зона
термического влияния при сварке
|
Участок основного металла, не подвергшийся
расплавлению, структура и свойства которого изменились в результате нагрева
при сварке или наплавке
|
|
Зона термического влияния
|
|
Ндп. Переходная зона
|
|
D. Wärmeeinflusszone
|
|
Е. Heat
affected zone
|
|
F. Zone thermiquement
atfectée; Zone influencée thermiquement
|
|
125. Сжатая дуга
|
Дуга, столб которой сжат с помощью сопла
плазменной горелки, потока газа или внешнего электромагнитного поля
|
|
D. Eingeschnürter Lichtbogen
|
|
Е. Constricted arc
|
|
F. Arc contracté; Arc
étranglé
|
|
126. Дуга прямого
действия
|
Дуга, при которой объект сварки включен в
цепь сварочного тока
|
|
D. Direktor Lichtbogen
|
|
Е. Transferred arc
|
|
F. Arc transféré
|
|
127. Дуга
косвенного действия
|
Дуга, при которой объект сварки не включен
в цепь сварочного тока
|
|
D. Nichtübertragener
Lichtbogen; Indirekter Lichtbogen
|
|
Е.
Non-tninsrerred arc
|
|
F. Arc non transféré
|
|
128. Прямая
полярность
|
Полярность, при которой электрод
присоединяется к отрицательному полюсу источника питания дуги, а объект
сварки - к положительному
|
|
D. Minuspolung; Normale Polung
|
|
Е. Straight polarity
|
|
F.Polarité normale (directe)
|
|
129. Обратная
полярность
|
Полярность, при которой электрод
присоединяется к положительному полюсу источника питания дуги, а объект
сварки - к отрицательному
|
|
D. Pluspolung; Umgekehrte Polung
|
|
Е. Reversed polarity
|
|
F. Polnrité inverse
(négative)
|
|
130. Магнитное дутье
|
Отклонение дуги в результате действия
магнитных полей или ферромагнитных масс при сварке
|
|
D. Magnetisclie Blaswirkung
|
|
E. Magnetic are blow
|
|
F. Soufflage magnétique
|
|
131. Осадка при
сварке
|
Операция местной пластической деформации
свариваемых частей при сварке с применением давления
|
|
Осaдкa
|
|
D. Stauchen; Stauchung
|
|
E. Upaetting
|
|
F. Réfoulement
|
|
132. Грат при
сварке
|
Металл, выдавленный за счет осадки при
сварке
|
|
Грат
|
|
D. Schweissgrat
|
|
Е. Upset metal; Flash
|
|
F. Métal refoulé;
Bavure
|
|
133. Угар при
сварке
|
Потери металла на испарение и окисление при
сварке
|
|
Угар
|
|
D.Abbrandverlust; Abbrand
|
|
Е. Burn-out loss; Burn-out;
Burn-off, loss
|
|
P. Perte de soudure
|
|
134. Установочная
длина свариваемых частей
|
Длина свариваемых частей, выступающих за
зажимные приспособления при стыковой контактной сварке и сварке трением
|
|
Установочная длина
|
|
D. Einspannlänge
|
|
Е. Initial
extension
|
|
F. Longueur hors-mors
|
|
135. Свариваемость
|
По ГОСТ 29273-92
|
|
D. Schweissbarkeit
|
|
Е.
Weldability
|
|
F. Soudabilité
|
|
136. Коэффициент
расплавления
|
Коэффициент, выраженный отношением массы
электрода, расплавленной за единицу времени горения дуги, отнесенной к
единице сварочного тока
|
|
D. Abschmelzkoeffizient; Abschmeizfaktor
|
|
Е. Fusion
coefficient
|
|
F. Coefficient de fusion
|
|
137. Коэффициент
наплавки при сварке
|
Коэффициент, выраженный отношением массы
металла, наплавленной за единицу времени горения дуги, отнесенной к единице
сварочного тока
|
|
Коэффициент наплавки
|
|
D. Auftragskoeffizient
|
|
Е. Metal deposit factor
|
|
F. Coefficient de dépot
(deposition)
|
|
138. Коэффициент
потерь при сварке
|
Коэффициент, выраженный отношением потерь
металла при сварке на угар и разбрызгивание к массе расплавленного
присадочного металла
|
|
Коэффициент потерь
|
|
D. Relativer Schweissgutverlust
|
|
Е. Relative loss of filler metal
during deposition
|
|
F. Coefficient de perte en
métal
|
|
139. Погонная
энергия
|
Энергия, затраченная на единицу длины
сварного шва при сварке плавлением
|
|
D. Streckenenergie
|
|
Е. Heat
input
|
|
F. Energie absorbée par unite
de longueur
|
|
ОБОРУДОВАНИЕ И МАТЕРИАЛЫ
|
|
140. Сварочный
пост
|
Специально оборудованное рабочее место для
сварки
|
|
D. Schweissplatz (mit
Ausrüstungen)
|
|
Е. Welding station
|
|
F. Poste de soudage
|
|
141. Сварочная установка
|
Установка, состоящая из источника питания,
сварочного аппарата или машины для сварки и механизмов относительного
перемещения сварочной аппаратуры и изделия
|
|
D. Schweissanlage
|
|
Е.
Welding machine
|
|
F. Machine à souder
|
|
142. Автомат для
дуговой сварки
|
Аппарат для автоматической дуговой сварки
|
|
Автомат
|
|
D. Lichtbogenschweissautomat
|
|
Е. Automatic arc welding machine
|
|
F. Machine automatique de soudage
à l’arc
|
|
143. Полуавтомат
для дуговой сварки
|
Аппарат для механизированной дуговой
сварки, включающий горелку и механизм подачи проволоки с ручным перемещением
горелки
|
|
Полуавтомат
|
|
D. Halbautomat für
Lichtbogenschweissen
|
|
Е. Semi-automatic arc welding
machine
|
|
F. Machine semi-automatique de
soudage à l’arc
|
|
144. Сварочная
головка
|
Устройство, осуществляющее подачу сварочной
проволоки и поддержание заданного режима сварки.
Примечание. Сварочная головка может составлять часть автомата для дуговой сварки
|
|
D. Schweisskopf
|
|
Е.
Welding head
|
|
F. Tête de soudage
|
|
145. Мундштук
сварочной головки
|
Часть сварочной головки, предназначенная
для направления сварочной проволоки в зону сварки и подвода к ней
электрического тока
|
|
D. Kontakt- und Fuhrungs-rohr
|
|
Е. Nozzle
|
|
F. Buse
|
|
146. Трактор для
дуговой сварки
|
Переносной аппарат для дуговой сварки с самоходной
тележкой, которая перемещает его вдоль свариваемых кромок по поверхности
изделия или переносному пути
|
|
D. Schweisstraktor
|
|
Е.
Welding tractor
|
|
F. Tracteur de soudage à l’arc
|
|
147. Горелка для
дуговой сварки
|
Устройство для дуговой сварки в защитном
газе или самозащитной проволокой, обеспечивающее подвод электрического тока к
электроду и газа в зону дуги
|
|
D. Lichtbogenschweissbrenner
|
|
Е. Arc
welding torch
|
|
F. Chalumeau (forclie) de soudage
à l’arc
|
|
148. Сопло горелки
для дуговой сварки
|
Сопло для подвода и направления газа с
целью защиты сварочной ванны и электрода от воздействия воздуха
|
|
Сопло
|
|
D. Düse
|
|
Е. Welding torch nozzle
|
|
F. Buse de chalumeau (de torche)
|
|
149.
Электрододержатель для дуговой сварки
|
Приспособление для закрепления электрода и
подвода к нему тока
|
|
Электродержатель
|
|
D. Elektrodenhalter
|
|
Е.
Electrode holder
|
|
F. Porte-électrode
|
|
150. Сварочный выпрямитель
|
-
|
|
D. Sctrweissgleichrichter
|
|
Е. Welding rectifier
|
|
F. Rdresseur de soudage
|
|
151. Сварочный
генератор
|
-
|
|
D. Schweissgenerator
|
|
Е. Welding
generator
|
|
F. Générateur de
soudage
|
|
152. Сварочный
агрегат
|
Агрегат, состоящий из сварочного генератора
и приводного двигателя
|
|
D. Schweissagregat
|
|
Е. Welding set
|
|
F. Groupe électrogène
de soudage
|
|
153. Сварочный
преобразователь
|
Сварочный агрегат, в котором приводным
двигателем является электрический двигатель
|
|
D. Schweissumformer
|
|
Е. Welding
converter
|
|
F. Convertisseur de soudage
|
|
154. Горелка для
газовой сварки
|
Устройство для газовой сварки с
регулируемым смешением газов и созданием направленного сварочного пламени
|
|
Горелка
|
|
D. Schweissbrenner
|
|
Е. Gas torch
|
|
F. Chalumeau à gas
|
|
155. Инжекторная
горелка
|
Горелка для газовой сварки со встроенным
инжектором для подсоса горючего газа струей кислорода
|
|
Ндп. Горелка низкого давления
|
|
D. Injektorschweissbrenner;
Saugschweissbrenner; Niederdruckschweissbrenner
|
|
Е. Injector blowpipe; Injector
torch; Low-pressure torch (blowpipe)
|
|
F. Chalumeau à basse pression;
Chalumeau à injectcur
|
|
156.
Безынжекторная горелка
|
Горелка для газовой сварки, в которой
поступление горючего газа и кислорода в смеситель осуществляется под
одинаковым давлением
|
|
Ндп. Горелка высокого давления
|
|
D. Schweissbrenner oline Injektor
|
|
E. Pressure welding torch; Blowpipe without injector
|
|
F. Chalumeau sans injecteur;
Chalumeau à haute pression
|
|
157. Окислительное
сварочное пламя
|
Сварочное пламя, в средней зоне которого
имеется избыток кислорода
|
|
Окислительное пламя
|
|
D. Oxydierende Flamme
|
|
Е. Oxidizing flame
|
|
E. Flamme oxydante
|
|
158.
Науглероживающее сварочное пламя
|
Сварочное пламя, в средней зоне которого
имеется свободный углерод
|
|
Науглероживающее пламя
|
|
D. Aufkohlende Flamme
|
|
Е. Carburizing flame
|
|
F. Flamme carburante
|
|
159. Ацетиленовый
генератор
|
Аппарат для получения ацетилена посредством
разложения карбида кальция водой
|
|
D. Azetylenentwickler;
Azetylenerzeuger
|
|
Е.
Acetylene generator
|
|
F. Generateur
d’acétylène
|
|
160.
Электролизно-водный генератор
|
Аппарат для получения водородно-кислородной
смеси электролитическим разложением воды
|
|
D. Wasser-Elektrolyse Generator
|
|
Е. Water electrolytic generator
|
|
F. Générateur
d’électrolyse aqueuse
|
|
161.
Газ-заменитель
|
Горючий газ, применяемый при газовой сварке
и нагреве вместо ацетилена
|
|
D. Ersatzgas
|
|
E. Changing gas
|
|
F. Gaz de remplacement
|
|
162. Механическое оборудование для сварки
|
Оборудование, предназначенное для установки
свариваемых частей в удобное для сварки пространственное положение,
перемещения их при сварке, а также для размещения и перемещения сварочного
оборудования и сварщиков при выполнении сварочных операций
|
|
D. Mechanische
Schweissausrüstungen
|
|
E. Machinery for welding
|
|
F. Equipement méclianique de
soudage
|
|
163. Сварочный
вращатель
|
Устройство для вращения изделий при сварке
кольцевых швов и наплавке поверхностей вращения
|
|
D. Drehvorrichtung
|
|
E. Manipulator
|
|
F. Positionneur; Manipulateur de
soudage
|
|
164. Универсальный
сварочный вращатель
|
Сварочный вращатель для вращения
свариваемых изделий с различными углами наклона оси вращения
|
|
D. Dreh- und Schwenkvorrichtung
|
|
E. Versatile welding rotator
|
|
F. Manipulateur universet de soudage
|
|
165. Роликовый
сварочный вращатель
|
Сварочный вращатель, в котором вращение
свариваемых изделий обеспечивается приводными роликами
|
|
Роликовый вращатель
|
|
D. Rollen-Drehvorrichtung
|
|
E. Driving roller device
|
|
F. Manipulateur à rouleaux
|
|
166. Сварочный
кантователь
|
Устройство для установки свариваемых частей
и удобное для сварки положение
|
|
Кантователь
|
|
D. Kantapparat; Kanter
|
|
E. Welding tilter
|
|
F. Culbuteur de soudage
|
|
167. Сварочный
кондуктор
|
Приспособление для сборки и закрепления
друг относительно друга свариваемых частей в определенном положении
|
|
Кондуктор
|
|
D. Spannvorrichtung
|
|
E. Jig; Fixture
|
|
F. Dispositit de fixation; Monturc
|
|
168. Флюсовый
аппарат
|
Аппарат для подачи или подачи и уборки
сварочного флюса
|
|
D. Pulverzufuhr-
und-absaugvorrichtung
|
|
E. Flux apparatus
|
|
F. Disposilif d’amenée de flux
|
|
169. Подкладка
|
Деталь или приспособление, устанавливаемые
при сварке плавлением под кромки свариваемых частей
|
|
D. Feste Badsicherung
|
|
E. Backing bar; Fixed molten pool support
|
|
F. Latte; Support
|
|
170. Флюсовая
подушка
|
Подкладка в виде приспособления,
удерживающего расплавленный металл ванны при помощи флюса
|
|
D. Pulverkissen
|
|
E. Flux backing; Flux cushion
|
|
F. Support de flux
|
|
171. Флюсо-медная
подкладка
|
Подкладка из медной пластины, покрытой
тонким слоем флюса, обеспечивающая формирование шва, удержание расплавляемого
металла и отвод тепла
|
|
D. Kupfer-Schweisspulver-Unterlage
|
|
E. Combined copper-flux backing
|
|
F. Latte en cuivre et en flux
|
|
172. Сварочная проволока
|
Проволока для использования в качестве
плавящегося электрода либо присадочного металла при сварке полавлением
|
|
D. Schweissdraht
|
|
E. Welding wire
|
|
F. Fil pour soudage; Fil (baguette)
à soudage
|
|
173. Электродная
проволока
|
Сварочная проволока для использования в
качестве плавящегося электрода
|
|
D. Elektrodendraht
|
|
E. Electrode wire I"
|
|
F. Fil électrode
|
|
174. Присадочная
проволока
|
Сварочная проволока, используемая как
присадочный металл и не являющаяся электродом
|
|
D. Zusatzdraht; Schweisszusatzdraht
|
|
E. Filler wire
|
|
F. Fil d’apport (de soudure)
|
|
175. Самозащитная
проволока
|
Электродная проволока, содержащая вещества,
которые защищают расплавленный металл от вредного воздействия воздуха при
сварке
|
|
D. Selbstschusatzdraht
|
|
E. Self-shielding wire
|
|
F. Fil-éleclrode
autoprotége
|
|
176. Порошковая
проволока
|
Сварочная проволока, состоящая из
металлической оболочки, заполненной порошкообразными веществами
|
|
D. Pulverdraht;
Röhrchendralit
|
|
E. Flux cored electrode (wire)
|
|
F. Fil fourré
|
|
177. Неплавящийся электрод для дуговой сварки
|
Деталь из электропроводного материала,
включаемая в цепь сварочного тока для подвода его к сварочной дуге и не
расплавляющаяся при сварке
|
|
Неплавящийся электрод
|
|
D. Nichtabschmeizende Elektrode
|
|
E. Non-consumable electrode
|
|
F. Electrode non consumable
|
|
178. Плавящийся
электрод для дуговой сварки
|
Металлический электрод, включаемый в цепь
сварочного тока для подвода его к сварочной дуге, расплавляющийся при сварке
и служащий присадочным металлом
|
|
Плавящийся электрод
|
|
D. Abschmelzende Elektrode
|
|
E. Consumable electrode
|
|
F. Electrode consumable
|
|
179. Покрытый
электрод
|
Плавящийся электрод для дуговой сварки,
имеющий на поверхности покрытие, адгезионно связанное с металлом электрода
|
|
D. Umhüllte Elektrode
|
|
E. Covered electrode; Coated electrode
|
|
P. Electrode cnrobée
|
|
180. Покрытие
электрода
|
Смесь веществ, нанесенная на электрод для
усиления ионизации, защиты от вредного воздействия среды, металлургической
обработки сварочной ванны
|
|
Покрытие
|
|
Ндп. Обмазка электрода
|
|
D. Elektrodenumhüllung;
EIcktrodenmantel
|
|
E. Electrode coating
|
|
F. Enrobage de l’électrode;
Revétement d’électrode
|
|
181. Коэффициент
массы покрытия электрода
|
Коэффициент, выражаемый отношением массы
покрытия к массе покрытой части стержня электрода
|
|
Коээфициент массы покрытия
|
|
D. Umhüllungsmassebeiwert
|
|
E. Coating mass factor
|
|
F. Facteur de masse du
revêtement
|
|
182. Сварочный
флюс
|
Материал, используемый при сварке для
химической очистки соединяемых поверхностей и улучшении качества шва
|
|
Флюс
|
|
D. Schweisspulver; Flussmittel;
Pulver
|
|
E. Welding flux
|
|
F. Flux de soudage
|
|
183. Флюс для
дуговой сварки
|
Сварочный флюс, защищающий дугу и сварочную
ванну от вредного воздействия окружающей среды и осуществляющий
металлургическую обработку ванны
|
|
D. Pulver für Lichtbogenschweissen
|
|
E. Arc welding
flux
|
|
F. Flux
pour le soudage à l’arc
|
|
184. Плавленный
сварочный флюс
|
Флюс для дуговой сварки, полученный
сплавлением его составляющих и последующей грануляцией расплава
|
|
Плавленный флюс
|
|
D. Schmelzpulver
|
|
E. Fused flux
|
|
F. Flux fondu en poudre
|
|
185. Керамический
сварочный флюс
|
Флюс для дуговой сварки порошкообразных
материлов со связующим веществом, грануляцией и последующей термической
обработкой
|
|
Керамический флюс
|
|
D. Sinterpulver für
UP-Schweissen
|
|
E. Ceramic agglomerated flux
|
|
F. Flux céramique; Flux
agglomere
|
|
ДЕФЕКТЫ СВАРНЫХ СОЕДИНЕНИЙ
|
|
186. Трещина
сварного соединения
|
Дефект сварного соединения в виде разрыва в
сварном шве и (или) прилегающих к нему зонах
|
|
Трещина
|
|
D. Riss
|
|
E. Crack
|
|
F. Fissure
|
|
187. Продольная трещина сварного соединения
|
Трещина сварного соединения,
ориентированная вдоль оси сварного шва

|
|
Продольная трещина
|
|
D. Längsriss
|
|
E. Longitudinal crack
|
|
F. Fissure longitudinale
|
|
188. Поперечная
трещина сварного соединения
|
Трещина сварного соединения,
ориентированная поперек оси сварного шва

|
|
Поперечная трещина
|
|
D. Qiicrriss
|
|
E. Transverse crack
|
|
F. Fissure
trunsversale
|
|
189. Разветвленная
трещина сварного соединения
|
Трещина сварного соединения, имеющая
ответвления в различных направлениях

|
|
Разветвленная трещина
|
|
D. Verzweigter Riss
|
|
E. Branched crack
|
|
F. Fissure ramifiée
|
|
190. Микротрещина
сварного соединения
|
Трещина сварного соединения, обнаруженная
при пятидесятикратном и более увеличении
|
|
Микротрещина
|
|
D. Mikroriss
|
|
E. Miero-сrack
|
|
F. Microfissure
|
|
191. Усадочная
раковина сварного шва
|
Дефект в виде полости или впадины,
образованный при усадке металла шва в условиях отсутствия питания жидким
металлом

|
|
Усадочная раковина
|
|
D. Lunker
|
|
E. Shrinkage cavity
|
|
F. Retassure
|
|
192. Вогнутость
корня шва
|
Дефект в виде углубления на поверхности
обратной стороны сварного одностороннего шва

|
|
D. Konkavität der Nahtwurzel
|
|
E. Root concavtiy
|
|
F. Concavité de la racine (de
la soudure)
|
|
193. Свищ в
сварном шве
|
Дефект в виде воронкообразного углубления в
сварном шве

|
|
Свищ
|
|
D. Porengang
|
|
Е. Worm-hole
|
|
F. Soufflure vermiculaire
|
|
194. Пора в
сварном шве
|
Дефект сварного шва в виде полости округлой
формы, заполненной газом
|
|
Пора
|
|
Ндп. Газовое включение
|
|
D. Gaspore; Gaseinschluss
|
|
Е. Gas pore; Blowhole
|
|
F. Porosité de la soudure
|
|
195. Цепочка пор в
сварном шве
|
Группа пор в сварном шве, расположенных в
линию

|
|
Цепочка пор
|
|
D. Porenzeile
|
|
E. Linear porosity
|
|
F. Chaine des pores
|
|
196. Непровар
|
Дефект в виде несплавления в сварном
соединении вследствие неполного расплавления кромок или поверхностей ранее
выполненных валиков сварного шва
|
|
D. Kaltschweisstelle;
Einbrandfehler
|
|
Е. Lack of fusion
|
|
F. Manque de
pénétration
|
|
197. Прожог
сварного шва
|
Дефект в виде сквозного отверстия в сварном
шве, образовавшийся в результате вытекания части металла сварочной ванны
|
|
Прожог
|
|
D. Verbrannte Schweissnahat
|
|
Е. Burn-through
|
|
F. Soudure brûlée
|
|
198. Шлаковое
включение сварного шва
|
Дефект в виде вкрапления шлака в сварном
шве
|
|
Шлаковое включение
|
|
D. Schlackeeinschluss
|
|
Е. Slag inclusion
|
|
F. Inclusion du laitier
|
|
199. Брызги
металла
|
Дефект в виде затвердевших капель на
поверхности сварного соединения
|
|
D. Spritzer; Metallspritzer
|
|
Е. Spatters
|
|
F. Eclaboussures
|
|
200. Поверхностное
окисление сварного соединения
|
Дефект в виде окалины или пленки окислов на
поверхности сварного соединения
|
|
Поверхностное окисление
|
|
D. Oberilache oxydation
|
|
Е. Surface
oxidation
|
|
F. Oxydation superficielle
|
|
201. Подрез зоны
сплавления
|
Дефект в виде углубления по линии
сплавления сварного шва с основным металлом
|
|
Подрез
|
|
D. Einhrandkerbe
|
|
E. Undercut
|
|
F. Morsure; Caniveau
|
|
202. Наплыв на
сварном соединении
|
Дефект в виде натекания металла шва на
поверхность основного металла или ранее выполненного валика без сплавления с
ним
|
|
Наплыв
|
|
Ндп. Стек
|
|
D. Wulst
|
|
Е. Overlap
|
|
F. Débordenient
|
|
203. Смещение
сваренных кромок
|
Неправильное положение сваренных кромок
друг относительно друга
|
|
Смещение кромок
|
|
D. Kantenversats
|
|
Е. Edge displacement
|
|
F. Dénivellation des bords
|