Бесплатная библиотека стандартов и нормативов www.docload.ru

Все документы, размещенные на этом сайте, не являются их официальным изданием и предназначены исключительно для ознакомительных целей.
Электронные копии этих документов могут распространяться без всяких ограничений. Вы можете размещать информацию с этого сайта на любом другом сайте.
Это некоммерческий сайт и здесь не продаются документы. Вы можете скачать их абсолютно бесплатно!
Содержимое сайта не нарушает чьих-либо авторских прав! Человек имеет право на информацию!

 

ГОСУДАРСТВЕННЫЙ СТАНДАРТ СОЮЗА ССР

ПРОДУКТЫ КОКСОВАНИЯ ХИМИЧЕСКИЕ

МЕТОД ОПРЕДЕЛЕНИЯ ОБЩЕЙ СЕРЫ

ГОСТ 6263-80

ИПК ИЗДАТЕЛЬСТВО СТАНДАРТОВ

Москва

ГОСУДАРСТВЕННЫЙ СТАНДАРТ СОЮЗА ССР

ПРОДУКТЫ КОКСОВАНИЯ ХИМИЧЕСКИЕ

Метод определения общей серы

Cool chemical products.

Method for the determination of total sulphur.

ГОСТ
6263-80*

Взамен
ГОСТ 6263-69

Постановлением Государственного комитета СССР по стандартам от 8 февраля 1980 г. № 657 дата введения установлена

01.01.82

Ограничение срока действия снято по протоколу № 3-93 Межгосударственного Совета по стандартизации, метрологии и сертификации (ИУС 5-6-93)

* Переиздание (июнь 1998 г.) с Изменением №1, утвержденным в июле 1986 г. (ИУС 10-86)

Настоящий стандарт распространяется на химические продукты коксования (жидкие и твердые) и устанавливает метод определения массовой доли общей серы.

Определение массовой доли общей серы основано на сжигании навески вещества в токе воздуха или кислорода, окислении образовавшегося сернистого ангидрида перекисью водорода и последующем определении серной кислоты методом титрования.

Метод позволяет определять массовую долю общей серы не менее 0,05 %.

1. АППАРАТУРА И РЕАКТИВЫ

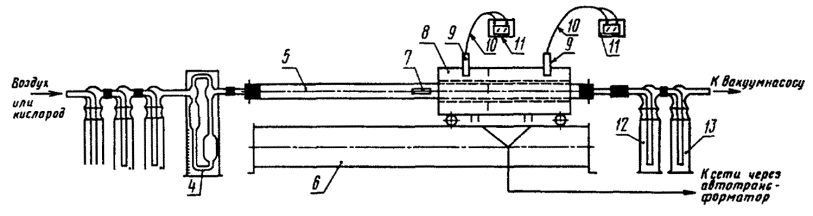
1.1. Прибор для определения серы (см. чертеж) состоит из следующих частей:

печь электрическая трубчатая горизонтальная подвижная двухсекционная, длиной (275 ± 1,5) мм, диаметром отверстия (30 ± 1,5) мм, обеспечивающая температуру нагрева первой секции печи 400 - 450 °С, второй секции печи 800 - 850 °С;

термометр термоэлектрический любого типа;


Прибор для определения серы

1, 2, 3 - склянки для очистки воздуха; 4 - реометр; 5 - кварцевая или фарфоровая труба; 6 - подставка для печи; 7 - фарфоровая лодочка; 8 - электрическая трубчатая печь; 9 - отверстие для термометра; 10 - термоэлектрический термометр; 11 - милливольтметр; 12, 13 - поглотительные склянки


милливольтметр по ГОСТ 9736-91;

автотрансформатор лабораторный, типа РНО-250-2, РНО-250-05 или аналогичный;

труба кварцевая или фарфоровая, длиной 700 - 800 мм, наружным диаметром 18 - 22 мм;

склянки поглотительные и для очистки воздуха по ГОСТ 25336-82;

реометр стеклянный лабораторный по ГОСТ 9932-75.

Вакуум-насос лабораторный любого типа или насос водоструйный по ГОСТ 25336-82 или общая магистраль для нагнетания или отсоса воздуха.

Лодочка фарфоровая по ГОСТ 9147-80, типа ЛС или пробирка кварцевая длиной (65 ± 5) мм, диаметром 6,3 - 7,0 мм, изготовленная из кварцевой трубы.

Проволока нихромовая длиной 700 мм, диаметром 2 - 3 мм, загнутая с одной стороны крючком.

Микробюретка по ГОСТ 29251-91, вместимостью 5 см3.

Капельница стеклянная лабораторная по ГОСТ 25336-82.

Колба мерная по ГОСТ 1770-74.

Пипетки по ГОСТ 29227-91.

Весы лабораторные общего назначения 1-го и 2-го классов точности по ГОСТ 24104-88 с наибольшим пределом взвешивания 200 г.

Кислород газообразный технический по ГОСТ 5583-78, в баллоне.

Вещество инертное: окись алюминия, кирпич ИНЗ-600, фракции 0,25 - 0,5 мм, или глина шамотная, прокаленные при 900 °С. Шамотную глину измельчают в ступке до размеров частиц 0,25 - 0,5 мм.

Калий марганцовокислый по ГОСТ 20490-75, раствор с массовой концентрацией 0,05 г/см3.

Индикаторы: метиловый красный, спиртовой раствор с массовой концентрацией 0,002 г/см3 и метиленовый синий, спиртовой раствор с массовой концентрацией 0,001 г/см3, взятые в соотношении 1:1; нитхромазо, водный раствор с массовой концентрацией 0,002 г/см3.

Перекись водорода по ГОСТ 10929-76, раствор с массовой концентрацией 0,03 г/см3.

Натрия гидроокись по ГОСТ 4328-77, х.ч., раствор с массовой концентрацией 0,3 г/см3 и с молярной концентрацией эквивалента 0,01 моль/дм3; поправку на титр раствора с концентрацией 0,01 моль/дм3 определяют по водному раствору серной кислоты.

Барий хлористый по ГОСТ 4108-72, х.ч., раствор с молярной концентрацией эквивалента 0,01 моль/дм3, поправку на титр определяют по водно-спиртовому раствору серной кислоты в присутствии индикатора нитхромазо.

Спирт этиловый ректификованный технический по ГОСТ 18300-87.

Спирт изопропиловый по ГОСТ 9805-84.

Вода дистиллированная по ГОСТ 6709-72.

Кислота серная по ГОСТ 4204-77, водный раствор с молярной концентрацией эквивалента 0,01 моль/дм3 и водно-спиртовой раствор с молярной концентрацией 0,01 моль/дм3 в растворе изопропилового спирта с массовой концентрацией 0,5 г/см3.

(Измененная редакция, Изм. № 1).

2. ПОДГОТОВКА К АНАЛИЗУ

2.1. Для очистки воздуха или кислорода в склянку 1 наливают раствор марганцовокислого калия с массовой концентрацией 0,05 г/см3, в склянку 2 - раствор гидроокиси натрия с массовой концентрацией 0,3 г/см3, склянку 3 оставляют пустой.

(Измененная редакция, Изм. № 1).

2.2. Для улавливания продуктов сжигания в поглотительные склянки 12 и 13 наливают по 40 см3 раствора перекиси водорода и по 3 - 4 капли индикаторов метилового красного и метиленового синего или их смеси (склянка 13 является контрольной).

В случае определения массовой доли общей серы в продуктах, содержащих примеси азотистых соединений, в поглотительные склянки 12 и 13 наливают по 40 см3 раствора перекиси водорода, по 40 мл изопропилового спирта и по 3 - 4 капли индикатора нитхромазо.

2.3. Раствор перекиси водорода перед анализом нейтрализуют раствором гидроокиси натрия с молярной концентрацией эквивалента 0,01 моль/дм3 в присутствии индикаторов метилового красного и метиленового синего или их смеси до перехода окраски раствора от фиолетовой до зеленой. В случае анализа продуктов, содержащих азотистые соединения, перекись водорода нейтрализуют раствором хлористого бария в присутствии индикатора нитхромазо до перехода окраски раствора от сине-фиолетовой до бирюзовой.

(Измененная редакция, Изм. № 1).

2.4. Очистительные и поглотительные склянки соединяют между собой и с печью встык с помощью резиновых трубок. Все резиновые трубки и пробки должны быть тщательно вымыты и прокипячены в дистиллированной воде.

Собранный прибор проверяют на герметичность. Для этого отводную трубку контрольной склянки 13 присоединяют к вакуум-насосу, просасывают воздух через весь прибор и закрывают отводную трубку очистительной системы. При этом не должны появляться пузырьки воздуха в поглотительных склянках с жидкостью.

3. ПРОВЕДЕНИЕ АНАЛИЗА

3.1. Пробу твердого продукта предварительно измельчают до тонкого порошка.

Навеску продукта помещают в лодочку (равномерно распределяя по всей длине) или в пробирку, предварительно заполненные наполовину инертным веществом, и быстро засыпают слоем того же инертного вещества.

Масса навески в зависимости от предполагаемой массовой доли серы в анализируемом продукте и погрешность взвешивания указаны в табл. 1.

Таблица 1

Массовая доля серы в продукте, %

Масса навески, г

Погрешность взвешивания, г

От 0,05 до 0,1

Около 0,2

±0,0002

Св. 0,1 » 0,5

»    0,1

±0,0002

» 0,5 » 1,0

»    0,05

±0,0002

» 1,0

»    0,01

±0.00005

Для взвешивания навески массой 0,01 г используют весы только 1-го класса точности.

(Измененная редакция, Изм. № 1).

3.2. Лодочку или пробирку с навеской помещают в кварцевую или фарфоровую трубу и продвигают ее проволокой к печи, примерно на середину трубы, быстро присоединяют все поглотительные склянки и пропускают через систему воздух со скоростью около 0,5 дм3/мин или кислород со скоростью 0,15 - 0,20 дм3/мин.

Предварительно нагретую печь с температурой первой секции 400 - 450 °С и второй секции 800 - 850°С медленно и равномерно надвигают на лодочку и полностью сжигают продукт.

Сжигание проводят в течение 25 - 30 мин. Для отдельных продуктов (стирольно-инденовой смолы и других) в зависимости от физико-химических свойств и массовой доли серы - до 60 мин.

Полноту сжигания контролируют по цвету раствора в поглотительной склянке 13, который к концу сжигания восстанавливается от фиолетового до первоначального зеленого.

После сжигания отключают подачу воздуха, отсоединяют поглотительные склянки и титруют содержимое поглотительной склянки 720,01 н. раствором гидроокиси натрия до перехода фиолетовой окраски в зеленую.

Если сжигают продукты с примесями азотистых соединений, содержимое поглотительной склянки 12 титруют раствором хлористого бария до перехода сине-фиолетовой окраски в бирюзовую.

При массовой доле серы свыше 10 % содержимое поглотительной склянки 12 количественно переводят дистиллированной водой в мерную колбу, доводят объем колбы водой до метки и титруют аликвотную часть раствора.

3.3. Перед анализом и при замене реактивов проводят контрольный анализ в таких же условиях, с таким же количеством реактивов, но без анализируемого продукта.

4. ОБРАБОТКА РЕЗУЛЬТАТОВ

4.1. Массовую долю общей серы (X) в процентах вычисляют по формуле

,

где V - объем раствора гидроокиси натрия или хлористого бария с молярной концентрацией эквивалента точно 0,01 моль/дм3, израсходованный на титрование анализируемой пробы, см3;

V1 - объем точно 0,01 н. раствора гидроокиси натрия или хлористого бария, израсходованный на титрование в контрольном анализе, см3;

V2 - объем раствора в мерной колбе, см3;

V3 - объем аликвотной части раствора, см3;

0,00016032 - масса серы, соответствующая 1 см3 точно 0,01 н. раствора гидроокиси натрия или хлористого бария, г;

m - масса навески анализируемого продукта, г.

4.2. За результат анализа принимают среднее арифметическое двух параллельных определений, допускаемые расхождения между которыми не должны превышать значений, указанных в табл. 2. Правильность результатов анализа устанавливают методом добавок известного количества элементной серы в виде твердого вещества или раствора к анализируемой пробе.

Таблица 2

Массовая доля серы, %

Допускаемое расхождение при доверительной вероятности Р = 0,95 %

для одной лаборатории

для разных лабораторий

От 0,05 до 0,2

0,02

0,03

Св. 0,2 » 0,5

0,04

0,05

» 0,5 » 1,5

0,05

0,06

» 1,5 » 5,0

0,20

0,30

» 5,0 » 15,0

0,25

0,35

4.1, 4.2. (Измененная редакция, Изм. № 1).

СОДЕРЖАНИЕ

 

 




Rambler's Top100 Яндекс цитирования
  Copyright © 2008-2026, www.docload.ru