Бесплатная библиотека стандартов и нормативов www.docload.ru

Все документы, размещенные на этом сайте, не являются их официальным изданием и предназначены исключительно для ознакомительных целей.
Электронные копии этих документов могут распространяться без всяких ограничений. Вы можете размещать информацию с этого сайта на любом другом сайте.
Это некоммерческий сайт и здесь не продаются документы. Вы можете скачать их абсолютно бесплатно!
Содержимое сайта не нарушает чьих-либо авторских прав! Человек имеет право на информацию!

 

ГОСУДАРСТВЕННЫЙ СТАНДАРТ СОЮЗА ССР

МАШИНЫ ЗЕМЛЕРОЙНЫЕ.
ЗЕМЛЕВОЗЫ

ТЕРМИНЫ, ОПРЕДЕЛЕНИЯ И ТЕХНИЧЕСКАЯ ХАРАКТЕРИСТИКА
ДЛЯ КОММЕРЧЕСКОЙ ДОКУМЕНТАЦИИ

ГОСТ 27249-87
(ИСО 7132-84)

ГОСУДАРСТВЕННЫЙ КОМИТЕТ СССР ПО СТАНДАРТАМ

Москва

ГОСУДАРСТВЕННЫЙ СТАНДАРТ СОЮЗА ССР

МАШИНЫ ЗЕМЛЕРОЙНЫЕ. ЗЕМЛЕВОЗЫ

Термины, определения и техническая характеристика для коммерческой документации

Earth-moving machinery. Dumpers. Terminology and commercial specifications

ГОСТ
27249-87

(ИСО 7132-84)

Срок действия с 01.01.88

до 01.01.93

1. НАЗНАЧЕНИЕ

Настоящий стандарт устанавливает термины, определения и содержание технической характеристики для коммерческой документации по самоходным землевозам.

2. ОБЛАСТЬ ПРИМЕНЕНИЯ

Настоящий стандарт распространяется на землевозы по ИСО 6165.

3. ССЫЛКИ

3.1. Ссылочные нормативно-технические документы приведены в обязательном приложении 2.

4. ТЕРМИНЫ И ОПРЕДЕЛЕНИЯ

4.1. Землевоз - самоходная колесная машина с открытым кузовом, которая транспортирует, разгружает или распределяет материал. Загрузка землевоза осуществляется внешними средствами (см. ИСО 6165).

4.2. Базовая машина - землевоз по технической документации изготовителя.

4.3. Рабочее оборудование - комплект составных частей, монтируемых на базовой машине для обеспечения выполнения ее основной функции в соответствии с назначением.

4.4. Дополнительное оборудование - поставляемая по выбору заказчика сборочная единица из составных частей, которая может быть смонтирована на базовой машине для специального использования.

4.5. Составная часть - деталь или сборочная единица из деталей базовой машины, рабочего оборудования или дополнительного оборудования.

5. БАЗОВАЯ МАШИНА

5.1. Типы землевозов

5.1.1. По способу разгрузки

5.1.1.1. С задней разгрузкой (черт. 1).

5.1.1.2. С донной разгрузкой (черт. 2).

5.1.1.3. С боковой разгрузкой (черт. 3).

5.1.2. По системе управления поворотом

5.1.2.1. С передними управляемыми колесами (черт. 4).

5.1.2.2. С шарнирно-сочлененной рамой (черт. 5).

5.1.3. По системе привода хода

5.1.3.1. С задними ведущими колесами (черт. 6).

5.1.3.2. Со всеми ведущими колесами (черт. 7).

5.1.3.3. Со средними ведущими колесами (черт. 8).

5.1.4. По числу осей

5.1.4.1. Двухосные (черт. 9).

5.1.4.2. Трехосные (черт. 10).

5.1.4.3. С числом осей более трех (черт. 11).

Землевоз с задней разгрузкой

Черт. 1

Землевоз с донной разгрузкой

Черт. 2

Землевоз с боковой разгрузкой

Черт. 3

Землевоз с передними управляемыми колесами

1 - управляемые колеса

Черт. 4

Землевоз с шарнирно-сочлененной рамой

1 - центр поворота

Черт. 5

Землевоз с задними ведущими колесами

1 - ведущие колеса

Черт. 6

Землевоз со всеми ведущими колесами

1 - ведущие колеса

Черт. 7

Землевоз со средними ведущими колесами

1 - ведущие колеса

Черт. 8

Двухосный землевоз

Черт. 9

Трехосный землевоз

Черт. 10

Землевоз с числом осей более трех

Черт. 11

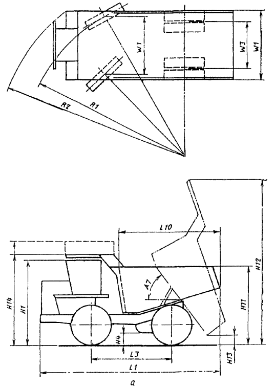
5.2. Размерные характеристики (черт. 12).

Определения размерных характеристик - по ИСО 6746/1.

Определения размерных характеристик приведены в приложении 1.

Размерные характеристики базовой машины (землевоза)

R1 - радиус поворота; R2 - габаритный радиус поворота; а - землевоз с жесткой рамой; b - землевоз со сдвоенным задним мостом, с - полуприцепной землевоз

Черт. 12

5.3. Масса

5.3.1. Эксплуатационная масса - масса базовой машины с порожним кузовом, с полностью заправленными топливным баком, гидросистемой, системами смазывания и охлаждения и с учетом массы оператора (75 кг).

5.3.2. Масса груженой машины - сумма эксплуатационной массы и массы номинального груза, указанной изготовителем.

5.3.3. Распределение массы по осям - масса, приходящаяся на каждую ось машины в порожнем и груженом состояниях.

5.3.4. Отгрузочная масса - масса базовой машины без оператора, с порожним кузовом, с полностью заправленными гидросистемой, системами смазывания и охлаждения, с 10 %-ной заправкой топливного бака, а также с кабиной, тентом и устройством ROPS* или без них по указанию изготовителя.

____________

* ROPS - устройства защиты при опрокидывании.

5.3.5. Масса кабины, тента, устройства ROPS - масса кабины, тента и устройства ROPS со всеми их составными частями и элементами крепления к базовой машине.

5.4. Наименования составных частей

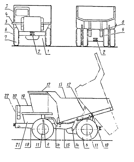
5.4.1. Наименования составных частей двухосного землевоза: 1 - бампер; 2 - шкворень буксирного приспособления; 3 - кабина; 4 - крыло; 5 - колесо; 6 - шина; 7 - тормоз; 8 - брус выталкивателя кусков породы; 9 - подвеска (дополнительная); 10 - ось шарнира крепления кузова; 11 - мост (мосты); 12 - стойка, удерживающая поднятый кузов; 13 - кузов; 14 - гидроцилиндр подъема кузова; 15 - система привода; 16 - трубопровод отвода выхлопных газов в атмосферу или на обогрев кузова; 17 - козырек; 18 - основная рама; 19 - капот; 20 - лестница, 21 - силовая установка; 22 - решетка радиатора.

5.4.2. Наименования составных частей двух- и четырехколесного трактора (тягача): 1 - бампер; 2 - буксирный крюк; 3 - нижний защитный лист картера; 4 - основная рама; 5 - крыло; 6 - шкворень сцепного устройства; 7 - сцепное устройство; 8 - ось шарнира поперечного качания; 9 - серьга сцепного устройства; 10 - ось шарнира продольного качания.

5.4.3. Наименования составных частей полуприцепа: 1 - гнездо шкворня сцепного устройства; 2 - хобот; 3 - кузов; 4 - донные заслонки; 5 - основная рама; 6 - толкающая рама; 7 - тяговая рама; 8 - выталкиватель; 9 - задняя заслонка; 10 - гидроцилиндр подъема кузова.

а - донная разгрузка; b - боковая разгрузка; с - задняя разгрузка; d - задняя разгрузка; е - задняя разгрузка

6. ЭКСПЛУАТАЦИОННАЯ ТЕРМИНОЛОГИЯ

6.1. Мощность нетто двигателя - по ИСО 1585.

6.2. Максимальная скорость движения - по ИСО 6014.

6.3. Тяговое усилие на ведущих колесах - усилие в точке контакта шины с опорной поверхностью, приводящее землевоз в движение.

6.3.1. Тяговое усилие на ведущих колесах машины с механической трансмиссией - усилие, определяемое расчетом или измерениями при номинальной частоте вращения коленчатого вала и максимальном крутящем моменте двигателя на каждой передаче переднего хода. Максимальное тяговое усилие может быть ограничено массой машины и условиями сцепления шин с грунтом.

6.3.2. Тяговое усилие на ведущих колесах машины с гидромеханической; электрической или гидрообъемной трансмиссией - усилие, характеризуемое кривыми зависимости тягового усилия от скорости движения машины на каждой передаче переднего хода, полученными расчетом или измерением. Максимальное тяговое усилие может быть ограничено массой машины и условиями сцепления шин с грунтом.

6.4. Время разгрузки порожнего кузова с возвратом - время, необходимое для имитации разгрузки и возврата кузова, заслонок или выталкивателя в исходное положение при номинальной частоте вращения коленчатого вала двигателя.

6.5. Управляемость

6.5.1. Радиус поворота - по ГОСТ 27257-87 (ИСО 7457).

6.5.2. Габаритный диаметр поворота - по ГОСТ 27257-87 (ИСО 7457).

6.6. Эффективность торможения - по ИСО 3450.

6.7. Масса номинального груза - указанная изготовителем масса груза для перевозки в кузове.

7. ТЕХНИЧЕСКАЯ ХАРАКТЕРИСТИКА ДЛЯ КОММЕРЧЕСКОЙ ДОКУМЕНТАЦИИ, ВЫРАЖЕННАЯ В ЕДИНИЦАХ СИ (ПРИМЕРЫ)

7.1. Двигатель (привести характеристики):

изготовитель и модель;

с воспламенением от сжатия или с искровым зажиганием;

тактность (двух- или четырехтактный);

с естественным всасыванием, механическим наддувом или газотурбонаддувом;

число цилиндров;

диаметр цилиндра;

ход поршня;

рабочий объем цилиндров;

система охлаждения (воздушное или водяное);

вид топлива;

мощность-нетто на маховике ... при ... об/мин.;

максимальный крутящий момент ... при … об/мин.;

тип стартера;

напряжение в системе электрооборудования ... В.

7.2. Трансмиссия (указать тип)

Примеры:

с ручным переключением, со сцеплением на маховике;

с сервопереключением передач, с гидротрансформатором;

объемная гидропередача;

электрическая трансмиссия;

число скоростей переднего и заднего хода.

Скорости движения вперед и назад (следует привести график зависимости тягового усилия на ведущих колесах от скорости движения).

7.3. Ведущий мост (мосты) (указать тип)

Примеры:

управляемый;

жестко закрепленный, балансирный и (или) с подвеской;

гидрообъемный;

электрический;

коническая передача;

дифференциал: стандартный, самоблокирующийся с муфтой свободного хода, с механизмом блокировки;

планетарная конечная передача.

7.4. Рулевое управление (указать тип) (ГОСТ 27254-87 (ИСО 5010).

Примеры:

шарнирно-сочлененная рама;

передние управляемые колеса;

с усилителем, ручное, гидрообъемное;

аварийное.

7.4.1. Эффективность:

радиус поворота ...., влево и вправо;

габаритный диаметр поворота машины.

7.5. Тормоза

7.5.1. Рабочие тормоза

Примеры:

тип (колодочные, дисковые, мокрые или сухие);

система привода (механическая, пневматическая, гидравлическая, электрическая, комбинированная и т.д.).

7.5.2. Стояночный тормоз (указать тип)

7.5.3. Резервный тормоз (указать тип)

7.5.4. Тормоз-замедлитель:

тип;

система привода.

7.5.5. Эффективность торможения (указать) (см. ИСО 3450)

7.6. Шины:

тип и размер;

норма елейности;

размер обода.

7.7. Гидросистема

7.7.1. Подъем кузова:

подача насоса … при давлении ... и номинальной частоте вращения коленчатого вала двигателя;

давление открывания предохранительного клапана ...;

тип насоса;

гидроцилиндры подъема кузова: число, тип;

время подъема кузова ...

7.7.2. Рулевое управление:

подача насоса ... при давлении ...;

тип насоса;

давление открывания предохранительного клапана ...

7.8. Подвеска - отдельного колеса или всего моста

7.8.1. Тип (указать)

Примеры:

механическая подвеска: спиральная пружина, листовая рессора;

цилиндр амортизатора: пневматический, гидравлический, пневмогидравлический;

с применением эластомера;

пневматическая.

7.8.2. Предельные возможности:

ход поршня

7.8.3. Зависимость прогиба от нагрузки (жесткость):

порожний землевоз;

груженый землевоз.

7.9. Вместимость кузова, м3 (см. ИСО 6483)

7.10. Масса:

распределение эксплуатационной массы порожнего землевоза: передний мост; ведущий мост; поддерживающий мост;

общая эксплуатационная масса порожнего землевоза;

масса полезного груза;

распределение массы груженого землевоза: передний мост; ведущий мост; поддерживающий мост;

общая масса груженого землевоза.

7.11. Заправочные емкости:

топливный бак;

картер двигателя;

система охлаждения;

гидросистема;

трансмиссия;

дифференциал;

конечная передача.

7.12. Габаритные размеры землевоза (представить контурный чертеж)

Примеры основных размеров:

максимальная общая высота без кузова;

дорожный просвет под мостами;

дорожный просвет под днищем кузова с донной разгрузкой при закрытых заслонках;

дорожный просвет под открытыми заслонками;

высота загрузки;

высота в положении разгрузки;

высота разгрузки;

максимальная высота с кузовом;

максимальная ширина;

колея;

максимальная длина;

колесная база;

расстояние между осями сдвоенного моста;

радиус поворота;

габаритный диаметр поворота.


ПРИЛОЖЕНИЕ 1
Обязательное

Размерные характеристики. Условные обозначения, термины и определения

Условное обозначение

Термин

Определение

Схема

Н11

Высота загрузки

Расстояние по координате Z от опорной плоскости отсчета (GRP) до верхней точки бортов порожнего кузова

Н12

Высота в положении разгрузки

Расстояние по координате Z от GRP до верхней точки землевоза с максимально поднятым кузовом

Н13

Высота разгрузки (задней или боковой)

Расстояние по координате Z от GRP до нижней точки максимально поднятого кузова

Н14

Максимальная высота кузова землевоза или сцепного устройства

Расстояние по координате Z от GRP до верхней точки кузова или сцепного устройства при установке порожнего кузова в положение загрузки с устройством защиты от просыпающегося материала, если землевоз оборудован этим устройством

L8

Колесная база полуприцепа

Расстояние по координате Х между двумя плоскостями X, проходящими через центры задних колес тягача и задних колес полуприцепа. Для машин со сдвоенным мостом за центр колес принимают линию, проходящую посредине расстояния между двумя осями колес сдвоенного моста

L9

Расстояние между осями колес сдвоенного моста

Расстояние по координате Х между двумя плоскостями X, проходящими через центры передних и задних колес сдвоенного моста

L10

Длина грузовой части кузова

Расстояние по координате Х между двумя плоскостями X, проходящими через крайнюю заднюю внутреннюю точку кузова и крайнюю переднюю внутреннюю точку грузовой части кузова

А7

Угол разгрузки кузова с задней разгрузкой

Угол в плоскости У между днищем максимально поднятого кузова и GRP


ПРИЛОЖЕНИЕ 2
Обязательное

Ссылочные нормативно-технические документы

Раздел, пункт, в котором приведена ссылка

Обозначение соответствующего стандарта ИСО

Обозначение отечественного нормативно-технического документа, на который дана ссылка

2.4.1

ИСО 6746/1

-

6.1

ИСО 1585

-

6.2

ИСО 6014

-

6.5.1

ИСО 7457

ГОСТ 27257-87 (ИСО 7457)

6.6

ИСО 3450

-

7.1

ИСО 5010

ГОСТ 27254-87 (ИСО 5010)

7.5.5

ИСО 3450

-

7.9

ИСО 6483

-

ИНФОРМАЦИОННЫЕ ДАННЫЕ

1. ВНЕСЕН Министерством строительного, дорожного и коммунального машиностроения СССР

2. Постановлением Государственного комитета СССР по стандартам от 30.03.87 № 1027 введен в действие государственный стандарт СССР ГОСТ 27249-87, в качестве которого непосредственно применен международный стандарт ИСО 7132-84, с 01.01.88

СОДЕРЖАНИЕ

 




Rambler's Top100 Яндекс цитирования
  Copyright © 2008-2026, www.docload.ru