Бесплатная библиотека стандартов и нормативов www.docload.ru

Все документы, размещенные на этом сайте, не являются их официальным изданием и предназначены исключительно для ознакомительных целей.
Электронные копии этих документов могут распространяться без всяких ограничений. Вы можете размещать информацию с этого сайта на любом другом сайте.
Это некоммерческий сайт и здесь не продаются документы. Вы можете скачать их абсолютно бесплатно!
Содержимое сайта не нарушает чьих-либо авторских прав! Человек имеет право на информацию!

 

ГОСУДАРСТВЕННЫЕ СТАНДАРТЫ СОЮЗА ССР

ДРЕВЕСИНА

ОТБОР ОБРАЗЦОВ И МЕТОДЫ ИСПЫТАНИЙ

ГОСТ 16483.10-73*
(СТ СЭВ 816-77)

ГОСУДАРСТВЕННЫЙ КОМИТЕТ СССР ПО СТАНДАРТАМ

Москва

ГОСУДАРСТВЕННЫЙ СТАНДАРТ СОЮЗА ССР

ДРЕВЕСИНА

Методы определения предела прочности при сжатии вдоль волокон.

Wood. Methods for determination
of ultimate strength in compression parallel the grain

ГОСТ
16483.10-73*

(СТ СЭВ 816-77)

Взамен

ГОСТ 16483.10-72

Постановлением Государственного комитета стандартов Совета Министров СССР от 23 октября 1973 г. № 2364 срок введения установлен

с 01.07.74

Постановлением Госстандарта от 23.11.83 № 5486 срок действия продлен

до 01.07.89

Настоящий стандарт распространяется на древесину и устанавливает методы определения предела прочности при сжатии вдоль волокон.

Стандарт соответствует CT СЭВ 816-77 и МС ИCO 3787-76 в части определения предела прочности при сжатии вдоль волокон кондиционированных образцов.

Методы не распространяются на авиационные пиломатериалы и заготовки.

(Измененная редакция, Изм. № 2).

1. МЕТОД ОПРЕДЕЛЕНИЯ ПРЕДЕЛА ПРОЧНОСТИ ПРИ СЖАТИИ ВДОЛЬ ВОЛОКОН

Метод предназначен для определения предела прочности древесины при кондиционировании образцов по ГОСТ 16483.0-78.

1.1. Аппаратура:

машина испытательная по ГОСТ 7855-84 с погрешностью измерения нагрузки не более 1%;

штангенциркуль по ГОСТ 166-80 с погрешностью измерения не более 0,1 мм;

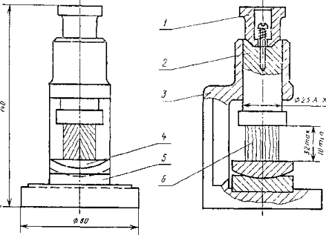
приспособление к испытательной машине (см. чертеж);

аппаратура для определения влажности - по ГОСТ 16483.7-71.

(Измененная редакция, Изм. № 1, 3).

1.2. Подготовка к испытанию

1.2.1. Образцы изготовляют в форме прямоугольной призмы основанием 20х20 мм и длиной вдоль волокон 30 мм.

1.2.2. Точность изготовления, влажность и количество образцов должны соответствовать требованиям ГОСТ 16483.0-78.

1 - колпачок; 2 - пуансон; 3 - корпус; 4 - шаровая опора; 5 - плита; 6 - образец.

1.3. Проведение испытания

1.3.1. Размеры а и b поперечного сечения образца измеряют на середине длины с погрешностью не более 0,1 мм.

1.3.2. Образец помещают в приспособление для испытания на сжатие. Нагрузку на образец передают через пуансон 2. Образец нагружают равномерно с постоянной скоростью нагружения или постоянной скоростью перемещения нагружающей головки машины. Скорость должна быть такой, чтобы образец разрушился через (1,0±0,5) мин после начала нагружения. При использовании машины с электромеханическим приводом допускается проводить нагружение образца равномерно со скоростью (25000±5000) Н/мин или проводить испытание при скорости перемещения нагружающей головки испытательной машины 4 мм/мин при условии достижения предела прочности при сжатии вдоль волокон в указанный интервал времени. Максимальную нагрузку Р измеряют с погрешностью не более 1 %.

(Измененная редакция, Изм. № 1,3).

1.3.3. После испытаний определяют влажность образцов в соответствии с требованиями ГОСТ 16483.7-71. Пробой для определения влажности является весь образец.

Минимальное количество испытываемых на влажность образцов должно соответствовать ГОСТ 16483.0-78.

(Измененная редакция, Изм. № 1).

1.4. Обработка результатов

1.4.1. Предел прочности древесины при кондиционировании образцов (sW) в МПа вычисляют по формуле

где Рmах - максимальная нагрузка, Н;

a и b - размеры поперечного сечения образца, мм.

Вычисление производят с округлением до 0,5 МПа.

1.4.2. Предел прочности (sW) в МПа пересчитывают на влажность 12 % по формулам:

для образцов с влажностью меньше предела гигроскопичности

где a - поправочный коэффициент, равный 0,04;

sW - предел прочности образца с влажностью W в момент испытания, МПа;

W - влажность образца в момент испытания, %;

для образцов с влажностью, равной или больше предела гигроскопичности

где sW - предел прочности образца с влажностью W в момент испытания, МПа;

 - коэффициент пересчета при влажности 30 %, равный;

0,475 - для клена; 0,535 - для вяза шершавого эллиптического и ясеня; 0,550 - для акации, вяза гладкого, листоватого и среднего, дуба, липы и ольхи; 0,450 - для бука, сосны кедровой и обыкновенной; 0,445 - для граба, груши, ели, ивы, ореха, осины, пихты и тополя; 0,400 - для березы и лиственницы.

Вычисление производят с округлением до 0,5 МПа.

1.4.3. Статистическую обработку опытных данных выполняют по ГОСТ 16483.0-78.

1.4.1-1.4.3. (Измененная редакция, Изм. № 1).

1.4.4. Результаты испытаний и расчетов записывают в протокол испытании, форма которого приведена в приложении 1.

2. МЕТОД ОПРЕДЕЛЕНИЯ ПРЕДЕЛА ПРОЧНОСТИ ПРИ СЖАТИИ ВДОЛЬ ВОЛОКОН НЕКОНДИЦИОНИРОВАННЫХ ОБРАЗЦОВ

2.1. Аппаратура по п. 1.1.

2.2. Подготовка к испытанию

2.2.1. Образцы изготовляют по п. 1.2.1.

2.2.2. Точность изготовления и количество образцов должны соответствовать требованиям ГОСТ 16483.0-78.

2.2.3. Образцы должны находиться до испытания в условиях, исключающих изменение их начальниц влажности. При определении предела прочности без определения влажности допускается увлажнять образцы до влажности более 30% в воде при температуре 15-25°С в течение:

не менее 4 ч - образцы из древесины, ели, сосны кедровой, заболони сосны обыкновенной, березы и других рассеяннососудистых пород;

не менее 20 ч - образцы из древесины лиственницы, ядра сосны, дуба и других кольцесосудистых пород.

2.3. Проведение испытания по пп. 1.3.1 - 1.3.3. После испытания определяют влажность каждого образца с погрешностью не более 1% по ГОСТ 16483.7-71. Пробой для определения влажности является весь образец.

Влажность увлажненных образцов и из свежесрубленной древесины не определяют.

2.4. Обработка результатов

2.4.1. Предел прочности образца с влажностью в момент испытания (sW) в МПа вычисляют по формуле

где Рmax - максимальная нагрузка, Н;

а и b - размеры поперечного сечения образца, мм.

Вычисление производят с округлением до 0,5 МПа.

2.4.2. Предел прочности пересчитывают на влажность 12% (s12) в МПа по формуле

где  - коэффициент пересчета, определяемый по таблице при известной плотности древесины.

Если определение плотности не производилось, допускается принимать коэффициент пересчета равным средней величине для исследуемой породы по таблице приложения 2.

Вычисление производят с округлением до 0,5 МПа.

Пример. Коэффициент пересчета  для породы с плотностью 650 кг/м3 равен 0,502. Коэффициент  для породы с плотностью 700 кг/м3 равен 0,525. Коэффициент  для породы с плотностью 670 кг/м3 определяют по формуле

(Измененная редакция, Изм. № 1).

2.4.3. Статистическую обработку опытных данных выполняют по ГОСТ 16483.0-78.

2.4.4. Результаты испытаний и расчетов заносят в протокол, форма которого приведена в приложении 3.

Влажность, %

Коэффициент пересчета  при плотности r12 кг/м3

400

450

500

550

600

650

700

750

800

850

900

5

1,485

1,480

1,475

1,463

1,450

1,430

1,403

1,380

1,348

1,310

1,270

6

1,393

1,386

1,380

1,375

1,363

1,345

1,330

1,308

1,280

1,250

1,220

7

1,321

1,315

1,308

1,300

1,290

1,275

1,262

1,245

1,221

1,200

1,176

8

1,240

1,235

1,230

1,228

1,221

1,210

1,200

1,188

1,170

1,150

1,135

9

1,172

1,170

1,168

1,163

1,160

1,151

1,142

1,132

1,120

1,110

1,098

10

1,108

1,105

1,103

1,102

1,100

1,095

1,090

1,083

1,078

1,070

1,061

11

1,048

1,046

1,045

1,044

1,042

1,041

1,040

1,038

1,032

1,030

1,028

12

1,000

1,000

1,000

1,000

1,000

1,000

1,000

1,000

1,000

1,000

1,000

13

0,945

0,947

0 948

0,949

0,950

0,951

0,955

0,960

0,963

0,068

0,970

14

0,898

0,899

0,900

0,901

0,903

0,910

0,915

0,920

0,925

0,935

0,941

15

0,849

0,850

0,852

0,855

0,860

0,868

0,873

0,882

0,892

0,902

0,915

16

0,803

0,808

0,810

0,815

0,820

0,833

0,850

0,855

0,865

0,880

0,890

17

0,768

0,770

0,775

0,780

0,783

0,798

0,806

0,818

0,848

0,855

0,870

18

0,725

0,730

0,735

0,741

0,751

0,764

0,780

0,790

0,808

0,830

0,850

19

0,690

0,695

0,700

0,708

0,720

0,730

0,740

0,760

0,785

0,810

0,830

20

0,655

0,660

0,670

0,680

0,685

0,700

0,720

0,740

0,760

0,788

0,810

21

0,625

0,630

0,638

0,645

0,655

0,672

0,693

0,710

0,738

0,765

0,795

22

0,600

0,605

0,611

0,620

0,631

0,650

0,670

0,690

0,716

0,746

0,780

23

0,570

0,580

0,582

0,595

0,608

0,625

0,647

0,668

0,695

0,730

0,765

24

0,550

0,556

0,561

0,570

0,585

0,608

0,628

0,650

0,676

0,714

0,750

25

0,525

0,533

0,540

0,550

0,560

0,585

0,610

0,630

0,660

0,700

0,736

26

0,503

0,512

0,520

0,530

0,542

0,567

0,590

0,612

0,645

0,686

0,723

27

0,480

0,490

0,500

0,510

0,525

0,548

0,570

0,600

0,632

0,672

0,710

28

0,460

0,470

0,480

0,490

0,508

0,530

0,552

0,580

0,620

0,660

0,698

29

0,444

0,452

0,464

0,475

0.492

0,515

0,536

0,570

0,607

0,650

0,688

30

0,428

0,432

0,446

0,460

0,476

0,502

0,525

0,555

0,596

0,640

0,680

Примечание. Коэффициенты пересчета  для промежуточных значений плотности определяют линейным интерполированием коэффициентов  для смежных значений плотности.

ПРИЛОЖЕНИЕ 1

Рекомендуемое

ПРОТОКОЛ
определения предела прочности при сжатии вдоль волокон

Порода_______________________ Температура воздуха Q, °С___________________

Скорость нагружения, Н/мин__________________

Степень насыщенности воздуха j, % ____________________________________

Маркировка образца

Размеры поперечного сечения образца, мм

Максимальная нагрузка Рmax, H

Влажность W, %

Предел прочности МПа

Примечание

а

b

sW

s12

 

 

 

 

 

 

 

 

*___*___________19___г.              Подпись_______________

ПРИЛОЖЕНИЕ 2

Справочное

Влажность, %

Средние коэффициенты пересчета  для пород

вяз эллиптический, ясень

акация, вяз гладкий, листоватый и средний дуб, липа, ольха

клен

бук, сосна кедровая и обыкновенная

граб, груша, ель, ива, орех, осина, пихта, тополь

береза, лиственница

5

1,480

1,355

1,335

1,480

1,335

1,520

6

1,395

1,305

1,275

1,401

1,275

1,440

7

1,320

1,240

1,220

1,325

1,220

1,350

8

1,250

1,190

1,175

1,250

1,175

1,279

9

1,180

1,145

1,130

1,190

1,130

1,190

10

1,120

1,095

1,085

1,125

1,085

1,120

11

1,055

1,050

1,040

1,060

1,040

1,055

12

1,000

1,000

1,000

1,000

1,000

1,000

13

0,940

0,955

0,955

0,950

0,955

0,945

14

0,895

0,915

0,915

0,900

0,915

0,895

15

0,845

0,880

0,880

0,855

0,880

0,850

16

0,800

0,840

0,840

0,805

0,835

0,800

17

0,760

0,810

0,805

0,760

0,800

0,755

18

0,720

0,780

0,765

0,725

0,765

0,715

19

0,685

0,750

0,735

0,685

0,735

0,675

20

0,655

0,720

0,705

0,650

0,705

0,640

21

0,620

0,690

0,680

0,615

0,670

0,605

22

0,600

0,665

0,650

0,585

0,640

0,570

23

0,580

0,640

0,625

0,560

0,610

0,540

21

0,565

0,620

0,600

0,535

0,585

0,515

25

0,550

0,605

0,580

0,515

0,560

0,490

26

0,545

0,585

0,555

0,495

0,535

0,470

27

0,540

0,575

0,535

0,480

0,510

0,450

28

0,535

0,565

0,515

0,470

0,490

0,430

29

0,535

0,555

0,495

0,455

0,465

0,415

³30

0,535

0,550

0,475

0,450

0,445

0,400

Изменение № 3 ГОСТ 16183.10-73 Древесина. Методы определения предела прочности при сжатии вдоль волокон

Утверждено и введено в действие Постановлением Государственного комитета СССР по стандартам от 11.10.88 № 3430

Дата введения 01.01.89

СОДЕРЖАНИЕ

 




Rambler's Top100 Яндекс цитирования
  Copyright © 2008-2026, www.docload.ru