Бесплатная библиотека стандартов и нормативов www.docload.ru

Все документы, размещенные на этом сайте, не являются их официальным изданием и предназначены исключительно для ознакомительных целей.
Электронные копии этих документов могут распространяться без всяких ограничений. Вы можете размещать информацию с этого сайта на любом другом сайте.
Это некоммерческий сайт и здесь не продаются документы. Вы можете скачать их абсолютно бесплатно!
Содержимое сайта не нарушает чьих-либо авторских прав! Человек имеет право на информацию!

 

ГОСУДАРСТВЕННЫЙ СТАНДАРТ СОЮЗА ССР

 

ПИЛОМАТЕРИАЛЫ И ЗАГОТОВКИ

МЕТОД ОПРЕДЕЛЕНИЯ ПРЕДЕЛА ПРОЧНОСТИ ПРИ ПРОДОЛЬНОМ РАСТЯЖЕНИИ

ГОСТ 21554.5-78

 

ГОСУДАРСТВЕННЫЙ КОМИТЕТ СССР ПО СТАНДАРТАМ

Москва

 

 

РАЗРАБОТАН Министерством лесной и деревообрабатывающей промышленности СССР

ИСПОЛНИТЕЛИ

А.М. Боровиков, канд. техн. наук; С.А. Кабаков; Н.Н. Дулевский

ВНЕСЕН Министерством лесной и деревообрабатывающей промышленности СССР

Зам. министра В.Ф. Зарецкий

УТВЕРЖДЕН И ВВЕДЕН В ДЕЙСТВИЕ Постановлением Государственного комитета стандартов Совета Министров СССР от 14 июля 1978 г. № 1899

 

ГОСУДАРСТВЕННЫЙ СТАНДАРТ СОЮЗА ССР

ПИЛОМАТЕРИАЛЫ И ЗАГОТОВКИ

Метод определения предела прочности при продольном растяжении

Sawn timber and semi-manufactures. Method for determining the ultimate strength in tension parallel to grain

ГОСТ
21554.5-78

(СТ СЭВ 2024-79)

Постановлением Государственного комитета стандартов Совета Министров СССР от 14 июля 1978 г. № 1899 срок введения установлен

с 01.01. 1980 г.

до 01.01. 1985 г.

 

Несоблюдение стандарта преследуется по закону

Настоящий стандарт распространяется на обрезные конструкционные пиломатериалы и заготовки хвойных и лиственных пород и устанавливает метод определения предела прочности при продольном растяжении.

Сущность метода заключается в измерении нагрузки, разрушающей образец при продольном растяжении, и вычислении напряжения при этой нагрузке.

Стандарт не распространяется на авиационные пиломатериалы и заготовки а также на испытания малых чистых образцов.

Стандарт полностью соответствует СТ СЭВ 2024-79

Измененная редакция, Изм. № 1.

1. ОТБОР ОБРАЗЦОВ

1.1. Образцы отличаются от пиломатериалов и заготовок длиной. Общая длина образца должна быть такой, чтобы длина его рабочей части, свободной от захватов, превышала ширину не менее чем в 8 раз.

1.2. Для определения минимальной прочности образец выпиливают так, чтобы он включал наиболее слабое из-за наличия сортоопределяющих пороков сечение пиломатериала или заготовки. Это сечение должно быть расположено в пределах зоны, распространяющейся на 1,5 ширины по обе стороны от центра образца.

1.3. Влажность образцов должна соответствовать требованиям нормативно-технической документации на пиломатериалы и заготовки.

1.4. Количество образцов зависит от целей испытания. План контроля при приемочных испытаниях устанавливают в нормативно-технической документации на пиломатериалы и заготовки.

Для исследовательских целей выборку формируют по ГОСТ 18231-73 в количестве не менее 140 образцов.

1.4. Измененная редакция, Изм. № 1.

2. АППАРАТУРА

Машина испытательная по ГОСТ 7855-74, обеспечивающая измерение нагрузки с погрешностью не более 1%, приспособленная для испытания образцов длиной согласно п. 1.1.

Приспособление (см. справочное приложение 1), состоящее из двух агрегатов, соединенных с нагружающим механизмом машины и передающих усилие на образец с помощью натяга, создаваемого клиновидными губками. Сопрягающиеся с образцом поверхности губок должны иметь рифление и скос, постепенно уменьшающий давление на образец от максимальной величины до нуля (см. справочное приложение 2). Предельное значение шкалы силоизмерителя испытательной машины не должно превышать нагрузку Fраз более чем в 3 раза.

Измененная редакция, Изм. № 1, 2.

Штангенциркуль по ГОСТ 166-73 с погрешностью измерения не более 0,1 мм.

Аппаратура и материалы для определения влажности пиломатериалов и заготовок по ГОСТ 16588-79.

3. ПРОВЕДЕНИЕ ИСПЫТАНИЙ

3.1. У каждого образца на середине длины измеряют толщину S и ширину b с округлением до 0,1 мм.

3.1. Измененная редакция, Изм. № 1.

3.2. Образец зажимают в захватах приспособления тка, чтобы продольные оси образца и захватов совпадали.

Нагрузку на образец прикладывают непрерывно при постоянной скорости роста напряжений или постоянной скорости перемещения захвата. Скорость должна быть такой, чтобы продолжительность нагружения до разрушения образца составляла не менее 2 и не более 5 мин. Допускается испытание со скоростью роста напряжений (0,15±0,05) МПа/с.

3.2. Измененная редакция, Изм. № 1.

3.3. Влажность образцов определяют по ГОСТ 16588-79.

3.3. Измененная редакция, Изм. № 1.

4. ОБРАБОТКА РЕЗУЛЬТАТОВ

4.1. Предел прочности каждого образца при продольном растяжении (s) в мегапаскалях вычисляют с округлением до 0,1 МПа по формуле

,

где Fразр - разрушающая нагрузка, Н;

b - ширина образца, мм;

t - толщина образца, мм.

Образцы, разрушившиеся в захватах, при расчетах не учитывают.

4.1. Измененная редакция, Изм. № 1.

4.2. За результат испытаний принимают среднюю арифметическую величину предела прочности отобранных образцов.

При испытаниях с исследовательскими целями статистический анализ опытных данных выполняют по ГОСТ 16483.0-78

4.3. Результаты измерений и расчетов заносят в протокол испытаний, приведенный в рекомендуемом приложении. В графе "примечание" протокол указывают характер разрушения образца.

 

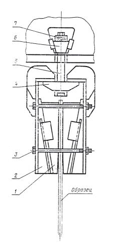
ПРИЛОЖЕНИЕ 1

Справочное

Приспособление для передачи растягивающего усилия на образец

1 - губка; 2 - скоба; 3 - болт; 4 - основание; 5 - тяга; 6 - сухарь; 7 - гайка

 

ПРИЛОЖЕНИЕ 2

Справочное

Клиновидная губка, используемая в захватах для испытания на растяжение пиломатериалов и заготовок

1, 4 - плиты; 2 - направляющая; 3 - ребро; 5 - связь

 

ПРИЛОЖЕНИЕ 3

Рекомендуемое

ПРОТОКОЛ
определения предела прочности пиломатериалов и заготовок при продольном растяжении

 

Сечение _________________________

Порода __________________________

Район произрастания ______________

_________________________________

Температура воздуха, °С _____________

Степень насыщенности воздуха, %

___________________________________

Длина образцов, мм _________________

Скорость роста напряжений, МПа/с

___________________________________

Тип захватов _________________________

 

Марка образца

Размеры поперечного сечения образцов, мм

Разрушающая нагрузка, Fразр, Н

Влажность образцов W, %

Предел прочности при растяжении s, МПа

Примечание

 

Толщина s

Ширина b

 

 

 

 

 

 

 

 

 

 

 

 

 

 

 

"___" ______________ 19 __ г. Подпись __________________

 

 

СОДЕРЖАНИЕ

1. Отбор образцов

2. Аппаратура

3. Проведение испытаний

4. Обработка результатов

Приложение 1 Приспособление для передачи растягивающего усилия на образец

Приложение 2 Клиновидная губка, используемая в захватах для испытания на растяжение пиломатериалов и заготовок

Приложение 3 Протокол определения предела прочности пиломатериалов и заготовок при продольном растяжении

 

 




Rambler's Top100 Яндекс цитирования
  Copyright © 2008-2026, www.docload.ru