Бесплатная библиотека стандартов и нормативов www.docload.ru

Все документы, размещенные на этом сайте, не являются их официальным изданием и предназначены исключительно для ознакомительных целей.
Электронные копии этих документов могут распространяться без всяких ограничений. Вы можете размещать информацию с этого сайта на любом другом сайте.
Это некоммерческий сайт и здесь не продаются документы. Вы можете скачать их абсолютно бесплатно!
Содержимое сайта не нарушает чьих-либо авторских прав! Человек имеет право на информацию!

 

ГОСТ Р 51032-97

ГОСУДАРСТВЕННЫЙ СТАНДАРТ РОССИЙСКОЙ ФЕДЕРАЦИИ

 

МАТЕРИАЛЫ СТРОИТЕЛЬНЫЕ

МЕТОД ИСПЫТАНИЯ
НА РАСПРОСТРАНЕНИЕ ПЛАМЕНИ

 

МИНСТРОЙ РОССИИ

Москва

Предисловие

1 РАЗРАБОТАН Государственным центральным научно-исследовательским и проектно-экспериментальным институтом комплексных проблем строительных конструкций и сооружений им. В. А. Кучеренко (ЦНИИСК им. Кучеренко) Государственного научного центра «Строительство» (ГНЦ «Строительство»), Всероссийским научно-исследовательским институтом противопожарной обороны (ВНИИПО) МВД России с участием Московского института пожарной безопасности МВД России

ВНЕСЕН Управлением стандартизации, технического нормирования и сертификации Минстроя России

2   ПРИНЯТ и введен в действие постановлением Минстроя России от 27.12.96 г. № 18-93

 

Содержание

Введение

1 Область применения

2 Нормативные ссылки

3 Определения, обозначения и сокращения

4 Основные положения

5 Классификация строительных материалов по группам распространения пламени

6 Образцы для испытания

7 Оборудование для испытания

8 Калибровка установки

9 Проведение испытания

10 Обработка результатов испытания

11 Протокол испытания

12 Требования безопасности

 

 

Введение

Настоящий стандарт разработан на основе проекта стандарта ИСО/ПМС 9239.2 «Основные испытания - Реакция на огонь - Распространение пламени по горизонтальной поверхности покрытий пола под действием радиационного теплового источника зажигания».

Разделы 6 - 8 настоящего стандарта аутентичны соответствующим разделам проекта стандарта ИСО/ПМС 9239.2.

 

ГОСТ Р 51032-97

ГОСУДАРСТВЕННЫЙ СТАНДАРТ РОССИЙСКОЙ ФЕДЕРАЦИИ

МАТЕРИАЛЫ СТРОИТЕЛЬНЫЕ

МЕТОД ИСПЫТАНИЯ НА РАСПРОСТРАНЕНИЕ ПЛАМЕНИ

BUILDING MATERIALS

SPREAD FLAME TEST METHOD

Дата введения 1997-01-01

1 Область применения

Настоящий стандарт устанавливает метод испытания на распространение пламени по материалам поверхностных слоев конструкций полов и кровель, а также классификацию их по группам распространения пламени.

Настоящий стандарт применяется для всех однородных и слоистых горючих строительных материалов, используемых в поверхностных слоях конструкций полов и кровель.

2 Нормативные ссылки

В настоящем стандарте использованы ссылки на следующие стандарты:

ГОСТ 12.1.005-88 ССБТ. Общие санитарно-гигиенические требования к воздуху рабочей зоны

ГОСТ 12.1.019-79 ССБТ. Электробезопасность. Общие требования и номенклатура видов защиты

ГОСТ 3044-84 Преобразователи термоэлектрические. Номинальные статические характеристики преобразования

ГОСТ 18124-95 Листы асбестоцементные плоские. Технические условия

ГОСТ 30244-94 Материалы строительные. Методы испытания на горючесть

СТ СЭВ 383-87 Пожарная безопасность в строительстве. Термины и определения

3 Определения, обозначения и сокращения

В настоящем стандарте применяют термины и определения по СТ СЭВ 383, а также следующие термины с соответствующими определениями.

Время воспламенения - время от начала воздействия пламени источника зажигания на образец до его воспламенения.

Распространение пламени - распространение пламенного горения по поверхности образца в результате воздействия, предусмотренного настоящим стандартом.

Длина распространения пламени (L) - максимальная величина повреждения поверхности образца в результате распространения пламенного горения.

Экспонируемая поверхность - поверхность образца, подвергающаяся воздействию лучистого теплового потока и пламени от источника зажигания при испытании на распространение пламени.

Поверхностная плотность теплового потока (ППТП) - лучистый тепловой поток, воздействующий на единицу поверхности образца.

Критическая поверхностная плотность теплового потока (КППТП) - величина теплового потока, при которой прекращается распространение пламени.

4 Основные положения

Сущность метода состоит в определении критической поверхностной плотности теплового потока, величину которого устанавливают по длине распространения пламени по образцу в результате воздействия теплового потока на его поверхность.

5 Классификация строительных материалов
по группам распространения пламени

5.1 Горючие строительные материалы (по ГОСТ 30244) в зависимости от величины КППТП подразделяют на четыре группы распространения пламени: РП1, РП2, РП3, РП4 (таблица 1).

Таблица 1

Группа распространения пламени

Критическая поверхностная плотность теплового потока, кВт/м2

РП1

11,0 и более

РП2

от 8,0, но менее 11,0

РП3

от 5,0, но менее 8,0

РП4

менее 5,0

6 Образцы для испытания

6.1 Для испытаний изготавливают 5 образцов материала размером 1100 ´ 250 мм. Для анизотропных материалов изготавливают 2 комплекта образцов (например, по утку и по основе).

6.2 Образцы для стандартного испытания изготавливают в сочетании с негорючей основой. Способ крепления материала к основе должен соответствовать используемому в реальных условиях.

В качестве негорючей основы следует применять асбестоцементные листы по ГОСТ 18124 толщиной 10 или 12 мм.

Толщина образца с негорючей основой должна составлять не более 60 мм.

В тех случаях, когда техническая документация не предусматривает использование материала по негорючему основанию, образцы изготавливают с основой и креплением, соответствующими реальным условиям применения.

6.3 Кровельные мастики, а также мастичные покрытия пола следует наносить на основу в соответствии с технической документацией, но не менее чем в четыре слоя, при этом расход материала при нанесении на основу каждого слоя должен соответствовать принятому в технической документации.

Образцы полов, применяемых с лакокрасочными покрытиями, следует изготавливать с этими покрытиями, нанесенными в четыре слоя.

6.4 Образцы кондиционируют при температуре (20 ± 5) °С и относительной влажности (65 ± 5) % не менее 72 ч.

7 Оборудование для испытания

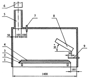
7.1 Схема установки для испытаний на распространение пламени приведена на рисунке 1.

Размеры даны справочно в мм

1 - испытательная камера; 2 - платформа; 3 - держатель образца; 4 - образец; 5 - дымоход;
6 - вытяжной зонт; 7 - термопара; 8 - радиационная панель; 9 - газовая горелка;
10 - дверца со смотровым окном

Рисунок 1 - Установка для испытаний на распространение пламени

Установка состоит из следующих основных частей:

1) испытательная камера с дымоходом и вытяжным зонтом;

2) источник лучистого теплового потока (радиационная панель);

3) источник зажигания (газовая горелка);

4) держатель образца и устройство для введения держателя в испытательную камеру (платформа).

Установку оборудуют приборами для регистрации и измерения температуры в испытательной камере и дымоходе, величины поверхностной плотности теплового потока, скорости потока воздуха в дымоходе.

7.2 Испытательную камеру и дымоход (рисунок 1) изготавливают из листовой стали толщиной от 1,5 до 2 мм и облицовывают изнутри негорючим теплоизоляционным материалом толщиной не менее 10 мм.

Переднюю стенку камеры оборудуют дверцей со смотровым окном из термостойкого стекла. Размеры смотрового окна должны обеспечивать возможность наблюдения за всей поверхностью образца.

7.3 Дымоход соединяется с камерой через проем. Над дымоходом устанавливают зонт вытяжной вентиляции.

Производительность вытяжного вентилятора должна составлять не менее 0,5 м3/с.

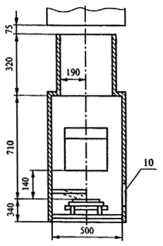
7.4 Радиационная панель имеет следующие размеры:

длина

(450±10) мм;

ширина

(300±10) мм.

Электрическая мощность радиационной панели должна составлять не менее 8 кВт.

Угол наклона радиационной панели (рисунок 2) к горизонтальной плоскости должен составлять (30 ± 5) °.

7.5 Источником зажигания является газовая горелка с диаметром выходного отверстия (1,0 ± 0,1) мм, обеспечивающая формирование факела пламени длиной от 40 до 50 мм. Конструкция горелки должна обеспечивать возможность ее вращения относительно горизонтальной оси. При испытании пламя газовой горелки должно касаться точки «ноль» («0») продольной оси образца (рисунок 2).

Размеры даны справочно в мм

1 - держатель; 2 - образец; 3 - радиационная панель; 4 - газовая горелка

Рисунок 2 - Схема взаимного расположения радиационной панели,
образца и газовой горелки

7.6 Платформу для размещения держателя образца изготавливают из жаропрочной или нержавеющей стали. Платформу устанавливают на направляющих в нижней части камеры вдоль ее продольной оси. По всему периметру камеры между ее стенками и краями платформы следует обеспечить зазор общей площадью (0,24 ± 0,04) м2.

Расстояние от экспонируемой поверхности образца до потолка камеры должно составлять (710 ± 10) мм.

7.7 Держатель образца изготавливают из жаропрочной стали толщиной (2,0 ± 0,5) мм и оснащают приспособлениями для крепления образца (рисунок 3).

1 - держатель; 2 - крепежные элементы

Рисунок 3 - Держатель образца

7.8 Для измерения температуры в камере (рисунок 1) используют термоэлектрический преобразователь по ГОСТ 3044 с диапазоном измерения от 0 до 600 °С и толщиной не более 1 мм. Для регистрации показаний термоэлектрического преобразователя используют приборы с классом точности не более 0,5.

7.9 Для измерения ППТП используют водоохлаждаемые приемники теплового излучения с диапазоном измерения от 1 до 15 кВт/м2. Погрешность измерения должна составлять не более 8 %.

Для регистрации показаний приемника теплового излучения используют регистрирующий прибор с классом точности не более 0,5.

7.10 Для измерения и регистрации скорости потока воздуха в дымоходе используют анемометры с диапазоном измерения от 1 до 3 м/с и основной относительной погрешностью не более 10 %.

8 Калибровка установки

8.1 Общие положения

8.1.1 Цель калибровки состоит в установлении требуемых настоящим стандартом величин ППТП в контрольных точках калибровочного образца (рисунок 4 и таблица 2) и распределении ППТП по поверхности образца при скорости потока воздуха в дымоходе (1,22 ± 0,12) м/с.

Таблица 2

Контрольная точка

ППТП, кВт/м2

L1

9,1 ± 0,8

L2

5,0 ± 0,4

L3

2,4 ± 0,2

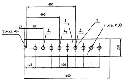
8.1.2 Калибровку проводят на образце, изготовленном из асбестоцементных листов по ГОСТ 18124, толщиной от 10 до 12 мм (рисунок 4).

1 - калибровочный образец; 2 - отверстия для измерителя теплового потока

Рисунок 4 - Калибровочный образец

8.1.3 Калибровку проводят при метрологической аттестации установки или замене нагревательного элемента радиационной панели.

8.2 Порядок проведения калибровки

8.2.1 Устанавливают в дымоходе скорость потока воздуха от 1,1 до 1,34 м/с. Для этого выполняют следующее:

- помещают в дымоход анемометр так, чтобы его входное отверстие располагалось по оси дымохода на расстоянии (70 ± 10) мм от верхнего края дымохода. Анемометр следует жестко фиксировать в установленном положении;

- закрепляют калибровочный образец в держателе образца и устанавливают его на платформу, вводят платформу в камеру и закрывают дверцу;

- измеряют скорость потока воздуха и, при необходимости, путем регулирования расхода воздуха в вентиляционной системе устанавливают требуемую скорость потока воздуха в дымоходе в соответствии с 8.1.1, после чего анемометр удаляют из дымохода.

При этом радиационную панель и газовую горелку не включают.

8.2.2 После проведения работ по 8.2.1 устанавливают величины ППТП в соответствии с таблицей 2. С этой целью выполняют следующее:

- включают радиационную панель и прогревают камеру до достижения теплового баланса. Тепловой баланс считают достигнутым, если температура в камере (рисунок 1) изменяется не более чем на 7 °С в течение 10 мин;

- устанавливают в отверстие калибровочного образца в контрольной точке L2 (рисунок 4) приемник теплового излучения так, чтобы поверхность чувствительного элемента совпадала с верхней плоскостью калибровочного образца. Показания приемника теплового излучения регистрируют через (30 ± 10) с;

- при несоответствии измеренной величины ППТП требованиям, указанным в таблице 2, регулируют мощность радиационной панели для достижения теплового баланса и повторяют измерения ППТП;

- описанные выше операции повторяют до достижения величины ППТП, требуемой настоящим стандартом для контрольной точки L2.

8.2.3 Операции по 8.2.2 повторяют для контрольных точек L1, и l3 (рисунок 4). При соответствии результатов измерений требованиям таблицы 2 проводят измерения ППТП в точках, расположенных на расстоянии 100, 300, 500, 700, 800 и 900 мм от точки «0».

По результатам калибровки строят график распределения величин ППТП по длине образца.

9 Проведение испытания

9.1 Подготовку установки к испытаниям проводят в соответствии с 8.2.1 и 8.2.2. После этого открывают дверцу камеры, зажигают газовую горелку и располагают ее так, чтобы расстояние между факелом пламени и экспонируемой поверхностью составляло не менее 50 мм.

9.2 Устанавливают образец в держатель, фиксируют его положение с помощью приспособлений для крепления, помещают держатель с образцом на платформу и вводят в камеру.

9.3 Закрывают дверцу камеры и включают секундомер. После выдержки в течение 2 мин приводят пламя горелки в контакт с образцом в точке «0», расположенной по центральной оси образца. Оставляют факел пламени в этом положении в течение (10 ± 0,2) мин. По истечении этого времени возвращают горелку в исходное положение.

9.4 При отсутствии воспламенения образца в течение 10 мин испытание считают законченным.

В случае воспламенения образца испытание заканчивают при прекращении пламенного горения или по истечении 30 мин от начала воздействия на образец газовой горелки путем принудительного гашения.

В процессе испытания фиксируют время воспламенения и продолжительность пламенного горения.

9.5 После окончания испытания открывают дверцу камеры, выдвигают платформу, извлекают образец.

Испытание каждого последующего образца проводят после охлаждения держателя образца до комнатной температуры и проверки соответствия ППТП в точке L2 требованиям, указанным в таблице 2.

9.6 Измеряют длину поврежденной части образца по его продольной оси для каждого из пяти образцов. Измерения проводят с точностью до 1 мм.

Повреждением считается выгорание и обугливание материала образца в результате распространения пламенного горения по его поверхности. Оплавление, коробление, спекание, вспучивание, усадка, изменение цвета, формы, нарушение целостности образца (разрывы, сколы поверхности и т.п.) повреждением не являются.

10 Обработка результатов испытания

10.1 Длину распространения пламени определяют как среднее арифметическое значение по длине поврежденной части пяти образцов.

10.2 Величину КППТП устанавливают на основании результатов измерения длины распространения пламени (10.1) по графику распределения ППТП по поверхности образца, полученному при калибровке установки.

10.3 При отсутствии воспламенения образцов или длине распространения пламени менее 100 мм следует считать, что КППТП материала составляет более 11 кВт/м2.

10.4 В случае принудительного гашения образца по истечении 30 мин испытания величину ППТП определяют по результатам измерения длины распространения пламени на момент гашения и условно принимают эту величину равной критической.

10.5 Для материалов с анизотропными свойствами при классификации используют наименьшую из полученных величин КППТП.

11 Протокол испытания

В протоколе испытания приводят следующие данные:

- наименование испытательной лаборатории;

- наименование заказчика;

- наименование изготовителя (поставщика) материала;

- описание материала или изделия, техническую документацию, а также торговую марку, состав, толщину, плотность, массу и способ изготовления образцов, характеристику экспонируемой поверхности, для слоистых материалов - толщину каждого слоя и характеристику материала каждого слоя;

- параметры распространения пламени (длина распространения пламени, КППТП), а также время воспламенения образца;

- вывод о группе распространения материала с указанием величины КППТП;

- дополнительные наблюдения при испытании образца: выгорание, обугливание, плавление, вспучивание, усадка, расслоение, растрескивание, а также другие особые наблюдения при распространении пламени.

12 Требования безопасности

Помещение, в котором проводят испытания, должно быть оборудовано приточно-вытяжной вентиляцией. Рабочее место оператора должно удовлетворять требованиям электробезопасности по ГОСТ 12.1.019 и санитарно-гигиеническим требованиям по ГОСТ 12.1.005.

 

 

Ключевые слова: материалы строительные, распространение пламени, поверхностная плотность теплового потока, критическая плотность теплового потока, длина распространения пламени, образцы для испытания, испытательная камера, радиационная панель

 

 




Rambler's Top100 Яндекс цитирования
  Copyright © 2008-2026, www.docload.ru