|
Пункт
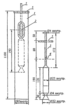
4.5.2.1 рисунок 2
|

1 - цилиндр; 2 - метка на цилиндре 1000 см3,
3 - пипетка; 4 - уровень суспензии в цилиндре; 5 - опорная
крышка пипетки
Рисунок
2 - Металлический цилиндр и мерная пипетка
|

1 - цилиндр; 2 - пипетка; 3 - метка на
цилиндре (1000 мл); 4 - уровень суспензии в цилиндре; 5 -
опорная крышка пипетки
Рисунок
2 - Металлический цилиндр и мерная пипетка
|