Бесплатная библиотека стандартов и нормативов www.docload.ru

Все документы, размещенные на этом сайте, не являются их официальным изданием и предназначены исключительно для ознакомительных целей.
Электронные копии этих документов могут распространяться без всяких ограничений. Вы можете размещать информацию с этого сайта на любом другом сайте.
Это некоммерческий сайт и здесь не продаются документы. Вы можете скачать их абсолютно бесплатно!
Содержимое сайта не нарушает чьих-либо авторских прав! Человек имеет право на информацию!

 

ГОСУДАРСТВЕННЫЙ СТАНДАРТ СОЮЗА ССР

МОДУЛЬНАЯ КООРДИНАЦИЯ РАЗМЕРОВ
В СТРОИТЕЛЬСТВЕ

ОСНОВНЫЕ ПОЛОЖЕНИЯ

ГОСТ 28984-91

ГОСУДАРСТВЕННЫЙ СТРОИТЕЛЬНЫЙ КОМИТЕТ СССР

Москва

ГОСУДАРСТВЕННЫЙ СТАНДАРТ СОЮЗА ССР

МОДУЛЬНАЯ КООРДИНАЦИЯ РАЗМЕРОВ В СТРОИТЕЛЬСТВЕ

Основные положения

Modular size coordination in building engineering. Basic rules

ГОСТ
28984-91

Дата введения 01.07.91

Настоящий стандарт распространяется на здания и сооружения различного назначения всех отраслей народного хозяйства.

Стандарт обязателен при разработке:

норм, стандартов и других нормативных документов, содержащих данные о регламентации размеров, применяемых для строительства;

проектов зданий и сооружений;

сортаментов, номенклатур, каталогов и проектов строительных конструкции и изделий;

сортаментов, номенклатур, каталогов и проектов оборудования здании, заменяющего конструктивные элементы или составляющего с ними единое целое (шкафы-перегородки, встроенные шкафы, стеллажи в складах и др.), а также оборудования, размеры элементов которого в отдельности и в сочетании с другими элементами или нормированными свободными проходами должны быть согласованы с размерами объемно-планировочных и конструктивных элементов зданий (лифты, эскалаторы, мостовые опорные, подвесные и иные краны, секционные шкафы, элементы оборудования кухонь, столы для аудиторий и др.).

Настоящий стандарт не обязателен при проектировании и строительстве зданий и сооружений:

уникальных;

экспериментальных, если такие отступления обусловлены особенностями эксперимента;

с применением изделий, размеры которых не приведены в соответствие с модульной координацией размеров в строительстве, при условии, что отступления не приведут к необходимости изменения установленных размеров других изделий;

с размерами, определяемыми специфическими видами оборудования, размеры и форма которых препятствуют применению правил модульной координации размеров в строительстве;

реконструируемых, построенных ранее без соблюдения правил модульной координации в строительстве (в том числе пристраиваемых к объектам) и реставрируемых;

проектируемых полностью или частично с косоугольными и криволинейными очертаниями, причем отступления в этих случаях допускаются только в той мере, в которой это необходимо в связи с особенностями формы;

с размерами, установленными специальными международными соглашениями.

Стандарт устанавливает основные положения модульной координации размеров в строительстве зданий и сооружений, являющейся одной из основ унификации и стандартизации размеров в строительстве для обеспечения взаимосогласованности, взаимозаменяемости и ограничения количества типоразмеров строительных изделий и элементов оборудования.

Принятые в стандарте специальные термины и пояснения приведены в приложении.

1. ОБЩИЕ УКАЗАНИЯ

1.1. Модульная координация размеров в строительстве (МКРС) должна осуществляться на базе модульной пространственной координационной системы и предусматривать предпочтительное применение прямоугольной модульной пространственной координационной системы (черт. 1).

При проектировании зданий, сооружений, их элементов, строительных конструкций и изделий на основе модульной пространственной координационной системы применяют горизонтальные и вертикальные модульные сетки на соответствующих плоскостях этой системы.

1.2. МКРС устанавливает правила назначения следующих категорий размеров:

основных координационных размеров: шагов (L0, В0) и высот этажей 0) зданий и сооружений;

координационных размеров элементов: длины (10), ширины (b0), высоты (h0), толщины, диаметра (d0)

конструктивных размеров элементов: длины (I), ширины (b), высоты (h), толщины, диаметра (d).

2. МОДУЛИ И ПРЕДЕЛЫ ИХ ПРИМЕНЕНИЯ

2.1. Для координации размеров принят основной модуль, равный 100 мм и обозначенный буквой М.

2.2. Для назначения координационных размеров объемно-планировочных и конструктивных элементов, строительных изделий, оборудования, а также для построения систематических рядов однородных координационных размеров должны применяться наряду с основным следующие производные модули (черт. 2):

Прямоугольная модульная пространственная координационная система

K1, K2, К3 - коэффициенты кратности модулей в плане и по высоте здания (сооружения)

Черт. 1

укрупненные модули (мультимодули) 60М; 30М; 15M; 12М; 6М; 3М, соответственно равные 6000; 3000; 1500; 1200; 600; 300 мм;

дробные модули (субмодули) 1/2М; 1/5M; 1/10М; 1/20M; 1/50М; 1/100M, соответственно равные 50; 20; 10; 5; 2; 1 мм.

Укрупненный модуль 15M допускается при необходимости дополнения ряда размеров, кратных 30М и 60М, при наличии технико-экономических обоснований.

Взаимосвязь между модулями различной крупности

Черт. 2

2.3. Производные модули, указанные в п. 2.2, следует применять до следующих предельных координационных размеров объемно-планировочного элемента, строительной конструкции, изделия или элемента оборудования:

60М - в плане и по высоте без ограничения;

30М - в плане до 18000 мм, при технико-экономических обоснованиях - без ограничения; по высоте - без ограничения;

15М - в плане до 18000 мм; по высоте - без ограничения;

12М - в плане до 12000 мм; по высоте - без ограничения;

6М - в плане до 7200 мм; по высоте - без ограничения;

3М - в плане до 3600 мм, при технико-экономических обоснованиях в плане до 7200 мм, по высоте - без ограничения;

М - по всем измерениям в пределах до 1800 мм;

1/2М - то же, до 600 мм;

1/5M - то же, до 300 мм;

1/10М - по всем измерениям в пределах до 150 мм;

1/20M -то же, до 100 мм;

1/50М - то же, до 50 мм;

1/100M - то же, до 20 мм.

Принятые пределы применения модулей необязательны для аддитивных (слагаемых) координационных размеров конструктивных элементов.

Допускается применение высот этажей 2800 мм, кратных модулю М, за установленным для него пределом.

2.4. Укрупненные модули для размеров в плане каждого конкретного вида зданий, его планировочных и конструктивных элементов, проемов и т.д. должны составлять группу, выбранную из общего ряда, установленного п. 2.2, таким образом, чтобы каждый относительно больший модуль был кратен всем меньшим, чем достигается совместимость членений модульных сеток (черт. 3).

В зданиях, состоящих из отдельных связанных между собой корпусов или относительно самостоятельных частей, различных по объемно-планировочной структуре и конструктивной системе, для каждой из частей может применяться своя группа укрупненных модулей из указанных в п. 2.2.

3. КООРДИНАЦИОННЫЕ И КОНСТРУКТИВНЫЕ РАЗМЕРЫ СТРОИТЕЛЬНЫХ ЭЛЕМЕНТОВ И ЭЛЕМЕНТОВ ОБОРУДОВАНИЯ

3.1. Координационные размеры конструктивных элементов и элементов оборудования принимают равными соответствующим размерам их координационных пространств.

3.2. Координационные размеры конструктивных элементов устанавливают в зависимости от основных координационных размеров здания (сооружения).

3.3. Координационный размер конструктивного элемента принимают равным основному координационному размеру здания (сооружения), если расстояние между двумя координационными осями здания (сооружения) полностью заполняют этим элементом (черт. 4).

Пример группировки укрупненных модулей, обеспечивающей совместимость модульных сеток

Черт. 3

Черт. 4

Примечание. Вместо указанных на чертеже координационных размеров L0, l0 (длина) могут быть соответственно приняты B0, b0 (ширина) или Н0, h0{высота).

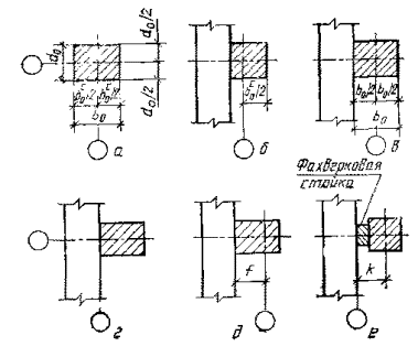
3.4. Координационный размер конструктивного элемента принимают равным части основного координационного размера здания (сооружения), если несколько конструктивных элементов заполняют расстояние между двумя координационными осями здания (сооружения) (черт. 5а, б).

Черт. 5

Примечание. На чертежах 5 и 6 L0i, и l0i (где i = 1, 2, 3) имеют тот же смысл, что и в п. 1.2 для L0, l0.

3.5. Координационный размер конструктивного элемента может быть больше основного координационного размера здания (сооружения), если конструктивный элемент выходит за пределы основного координационного размера здания (сооружения) (черт. 6).

В этом случае

l01 = L01+a1+a2;                                                            (1)

l02 = L02-a2.                                                              (2)

Черт. 6

3.6. Координационные размеры проемов окон, дверей и ворот, аддитивные размеры конструктивных элементов в плане и по высоте, а также размеры шагов и высот этажей в некоторых зданиях, не требующих больших объемно-планировочных элементов, назначают предпочтительно кратными укрупненным модулям 12М, 6М и ЗМ.

3.7. Координационные размеры, не зависящие от основных координационных размеров (например, сечения колонн, балок, толщины стен и плит перекрытий), назначают предпочтительно кратными основному модулю М или дробным модулям 1/2М, 1/5M.

3.8. Координационные толщины плитных изделий и тонкостенных элементов назначают кратными дробным модулям 1/10М, 1/20M, а ширину швов и зазоров между элементами - кратной также 1/50М и 1/100М.

Черт. 7

3.9. Координационные размеры, кратные 3М/2 и 1/2М/2, допускаются при членении пополам координационных размеров, равных нечетному числу модулей 3М и 1/2M.

3.10. Конструктивные размеры (l, b, h, d) строительных элементов следует определять, исходя из их координационных размеров за вычетом соответствующих частей ширины зазоров (черт. 7), то есть

l = l0 - q1 - q2.                                                               (3)

Размеры зазоров следует устанавливать в соответствии с ГОСТ 21778, ГОСТ 21779, ГОСТ 21780, ГОСТ 26607.

4. ПРИВЯЗКА КОНСТРУКТИВНЫХ ЭЛЕМЕНТОВ К КООРДИНАЦИОННЫМ ОСЯМ

4.1. Расположение и взаимосвязь конструктивных элементов следует координировать на основе модульной пространственной координационной системы путем привязки их к координационным осям.

4.2. Модульная пространственная координационная система и соответствующие модульные сетки с членениями, кратными определенному укрупненному модулю, должны быть, как правило, непрерывными для всего проектируемого здания или сооружения (черт. 8а).

Прерывную модульную пространственную координационную систему с парными координационными осями и вставками между ними, имеющими размер С, кратный меньшему модулю (черт. 8б, в), допускается применять для зданий с несущими стенами в следующих случаях:

1) в местах устройства деформационных швов;

2) при толщине внутренних стен 300 мм и более, особенно при наличии в них вентиляционных каналов; в этом случае парные координационные оси проходят в пределах толщины стены с таким расчетом, чтобы обеспечить необходимую площадь опоры унифицированных модульных элементов перекрытий (черт. 8в);

3) когда прерывная система модульных координат обеспечивает более полную унификацию типоразмеров индустриальных изделий, например, при панелях наружных и внутренних продольных стен, вставляемых между гранями поперечных стен и перекрытий.

4.3. Привязку конструктивных элементов определяют расстоянием от координационной оси до координационной плоскости элемента или до геометрической оси его сечения.

4.3.1. Привязку несущих стен и колонн к координационным осям осуществляют по сечениям, расположенным в уровне опирания на них верхнего перекрытия или покрытия.

4.3.2. Конструктивная плоскость (грань) элемента в зависимости от особенностей примыкания его к другим элементам может отстоять от координационной плоскости на установленный размер или совпадать с ней.

Расположение координационных осей в плане зданий с несущими стенами

а - непрерывная система с совмещением координационных осей с осями несущих стен; б - прерывная система с парными координационными осями и вставками между ними, в - прерывная система при парных координационных осях, проходящих в пределах толщины стен

Черт. 8

4.4. Привязку конструктивных элементов зданий к координационным осям следует принимать с учетом применения строительных изделий одних и тех же типоразмеров для средних и крайних однородных элементов, а также для зданий с различными конструктивными системами.

4.5. Привязку несущих стен к координационным осям принимают в зависимости от их конструкции и расположения в здании.

4.5.1. Геометрическая ось внутренних несущих стен должна совмещаться с координационной осью (черт. 9а); асимметричное расположение стены по отношению к координационной оси допускается в случаях, когда это целесообразно для массового применения унифицированных строительных изделий, например, элементов лестниц и перекрытий.

4.5.2. Внутренняя координационная плоскость наружных несущих стен должна смещаться внутрь здания на расстояние f от координационной оси (черт. , в), равное половине координационного размера толщины параллельной внутренней несущей стены d0в/2 или кратное М, 1/2М или 1/5M. При опоре плит перекрытий на всю толщину несущей стены допускается совмещение наружной координационной плоскости стен с координационной осью (черт. 9г).

4.5.3. При стенах из немодульного кирпича и камня допускается размер привязки корректировать в целях применения типоразмеров плит перекрытий, элементов лестниц, окон, дверей и других элементов, применяемых при иных конструктивных системах зданий и устанавливаемых в соответствии с модульной системой.

Привязка стен к координационным осям

Черт. 9

Примечания:

1. Размеры привязок указаны от координационных осей до координационных плоскостей элементов.

2. Наружная плоскость наружных стен находится с левой стороны каждого изображения.

4.6. Внутренняя координационная плоскость наружных самонесущих и навесных стен должна совмещаться с координационной осью (черт. 9д) или смещаться на размер е с учетом привязки несущих конструкций в плане и особенности примыкания стен к вертикальным несущим конструкциям или перекрытиям (черт. 9е).

4.7. Привязка колонн к координационным осям в каркасных зданиях должна приниматься в зависимости от их расположения в здании.

4.7.1. В каркасных зданиях колонны средних рядов следует располагать так, чтобы геометрические оси их сечения совмещались с координационными осями (черт. 10а). Допускаются другие привязки колонн; в местах деформационных швов, перепада высот (п. 4.8) и в торцах зданий, а также в отдельных случаях, обусловленных унификацией элементов перекрытий в зданиях с различными конструкциями опор.

4.7.2. Привязку крайних рядов колонн каркасных зданий и крайним координационным осям принимают с учетом унификаций крайних элементов конструкций (ригелей, панелей стен, плит, перекрытий и покрытий) с рядовыми элементами; при этом в зависимости от типа и конструктивной системы здания привязку следует осуществлять одним из следующих способов:

1) внутреннюю координационную плоскость колонн смещают от координационных осей внутрь здания на расстояние, равное половине координационного размера ширины колонны средних рядов b0c/2 (черт. 10б);

2) геометрическую ось колонн совмещают с координационной осью (черт. 10в);

3) внешнюю координационную плоскость колонн совмещают с координационной осью (черт. 10г).

4.7.3. Внешнюю координационную плоскость колонн допускается смещать от координационных осей наружу на расстояние f (черт. 10д), кратное модулю 3М и, при необходимости, М или 1/2М.

В торцах зданий допускается смещать геометрические оси колонн внутрь здания на расстояние k (черт. 10е), кратное модулю 3М и, при необходимости, М или 1/2М.

4.7.4. При привязке колонн крайних рядов к координационным осям, перпендикулярным к направлению этих рядов, следует совмещать геометрические оси колонн с указанными координационными осями; исключения возможны в отношении угловых колонн и колонн у торцов зданий и деформационных швов.

4.8. В зданиях в местах перепада высот и деформационных швов, осуществляемых на парных или одинарных колоннах (или несущих стенах), привязываемых к двойным или одинарным координационным осям, следует руководствоваться следующими правилами:

1) расстояние с между парными координационными осями (черт. 11а, б, в) должно быть кратным модулю 3М и, при необходимости, М или 1/2М; привязка каждой из колонн к координационным осям должна приниматься в соответствии с требованиями п. 4.7;

2) при парных колоннах (или несущих стенах), привязываемых к одинарной координационной оси, расстояние к от координационной оси до геометрической оси каждой из колонн (черт. 11г) должно быть кратным модулю 3М и, при необходимости, М или 1/2М;

3) при одинарных колоннах, привязываемых к одинарной координационной оси, геометрическую ось колонн совмещают с координационной осью (черт. 11д).

Примечание. При расположении стены между парными колоннами одна из ее координационных плоскостей совпадает с координационной плоскостью одной из колонн.

Привязка колонн каркасных зданий к координационным осям

Черт. 10

Примечания:

1. Внутренние координационные плоскости стен (на чертеже показаны условно) могут смещаться наружу или внутрь в зависимости от особенностей конструкции стены и ее крепления

2. Размеры привязок от координационных осей указаны до координационных плоскостей элементов.

Привязка колонн и стен к координационным осям в местах деформационных швов

Черт. 11

4.9. В объемно-блочных зданиях объемные блоки следует, как правило, располагать симметрично между координационными осями непрерывной модульной сетки.

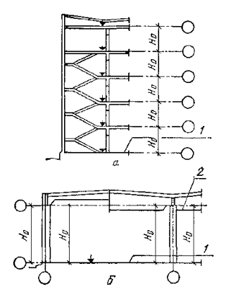
4.10. В многоэтажных зданиях координационные плоскости чистого пола лестничных площадок следует совмещать с горизонтальными основными координационными плоскостями (черт. 12а).

4.11. В одноэтажных зданиях координационную плоскость чистого пола следует совмещать с нижней горизонтальной основной координационной плоскостью (черт. 12б).

В одноэтажных зданиях, имеющих наклонный пол, с нижней горизонтальной основной координационной плоскостью следует совмещать верхнюю линию пересечения пола с координационной плоскостью наружных стен.

4.12. В одноэтажных зданиях с верхней горизонтальной основной координационной плоскостью совмещают наиболее низкую опорную плоскость конструкции покрытия (черт. 12б).

4.13. Привязку элементов цокольной части стен к нижней горизонтальной основной координационной плоскости первого этажа и привязку фризовой части стен к верхней горизонтальной основной координационной плоскости верхнего этажа принимают с таким расчетом, чтобы координационные размеры нижних и верхних элементов стен были кратными модулю 3М и, при необходимости, М или 1/2М.

Модульная (координационная) высота этажа

1 - координационная плоскость чистого пола; 2 - подвесной потолок

Черт. 12

ПРИЛОЖЕНИЕ

Справочное

ТЕРМИНЫ И ПОЯСНЕНИЯ

Термин

Пояснение

1. Модульная координация размеров в строительстве (MKPC)

Взаимное согласование размеров зданий и сооружений, а также размеров и расположения их элементов, строительных конструкций, изделий и элементов оборудования на основе применения модулей

2. Модуль

Условная линейная единица измерения. применяемая для координации размеров зданий и сооружении, их элементов, строительных конструкций, изделий и элементов оборудования

3. Основной модуль

Модуль, принятый за основу для назначения других, производных от него модулей

4. Производный модуль

Модуль, кратный основному модулю или составляющий его часть

5. Укрупненный модуль (мультимодуль)

Производный модуль, кратный основному модулю

6. Дробный модуль (субмодуль)

Производный модуль, составляющий часть основного модуля

7. Модульная пространственная координационная система

Условная трехмерная система плоскостей и линий их пересечения с расстояниями между ними, равными основному или производным модулям

8. Координационная плоскость

Одна из плоскостей модульной пространственной координационной системы, ограничивающих координационное пространство

9. Основная координационная плоскость

Одна из координационных плоскостей, определяющих членение зданий на объемно-планировочные элементы

10. Координационная линия

Линия пересечения координационных плоскостей

11. Координационное пространство

Модульное пространство, ограниченное координационными плоскостями, предназначенное для размещения здания, сооружения, их элемента, конструкции, изделия, элемента оборудования

12. Модульная сетка

Совокупность линий на одной из плоскостей модульной пространственной координационной системы

13. Координационная ось

Одна из координационных линий, определяющих членение здания или сооружения на модульные шаги и высоты этажей

14. Привязка к координационной оси

Расположение конструктивных и строительных элементов, а также встроенного оборудования, по отношению к координационной оси

15. Модульный размер

Размер, равный или кратный основному или производному модулю

16. Координационный размер

Модульный размер, определяющий границы координационного пространства в одном из направлении

17. Основные координационные размеры

Модульные размеры шагов и высот этажей

18. Модульный шаг

Расстояние между двумя координационными осями в плане

19. Модульная высота этажа (координационная высота этажа)

Расстояние между горизонтальными координационными плоскостями, ограничивающими этаж здания

20. Конструктивный размер

Проектный размер строительной конструкции, изделия, элемента оборудования, определенный в соответствии с правилами МКРС

21. Вставка

Пространство между двумя смежными основными координационными плоскостями в местах разрыва модульной координационной системы, в том числе и местах деформационных швов

ИНФОРМАЦИОННЫЕ ДАННЫЕ

1. РАЗРАБОТАН И ВНЕСЕН Центральным научно-исследовательским и проектно-экспериментальным институтом промышленных зданий и сооружений (ЦНИИпромзданий) Госстроя СССР

РАЗРАБОТЧИКИ

Я. П. Ватман, канд. техн. наук (руководитель темы); М. Р. Николаев; Г. П. Володин; М. И. Иванов; Л. С. Экслер; Д. М. Лаковский; Э. И. Пищик; Л. Г. Мовшович

2. УТВЕРЖДЕН И ВВЕДЕН В ДЕЙСТВИЕ постановлением Государственного строительного комитета СССР от 10.04.91 № 16

3. ВВЕДЕН ВПЕРВЫЕ

4. ССЫЛОЧНЫЕ НОРМАТИВНО-ТЕХНИЧЕСКИЕ ДОКУМЕНТЫ

Обозначение НТД, на который дана ссылка

Номер пункта

ГОСТ 21778-81

3.10

ГОСТ 21779-82

3.10

ГОСТ 21780-83

3.10

ГОСТ 26607-85

3.10

СОДЕРЖАНИЕ

 




Rambler's Top100 Яндекс цитирования
  Copyright © 2008-2026, www.docload.ru