Бесплатная библиотека стандартов и нормативов www.docload.ru

Все документы, размещенные на этом сайте, не являются их официальным изданием и предназначены исключительно для ознакомительных целей.
Электронные копии этих документов могут распространяться без всяких ограничений. Вы можете размещать информацию с этого сайта на любом другом сайте.
Это некоммерческий сайт и здесь не продаются документы. Вы можете скачать их абсолютно бесплатно!
Содержимое сайта не нарушает чьих-либо авторских прав! Человек имеет право на информацию!

 

ГОСУДАРСТВЕННЫЙ СТАНДАРТ СОЮЗА ССР

 

ЕДИНАЯ СИСТЕМА КОНСТРУКТОРСКОЙ ДОКУМЕНТАЦИИ

ПРАВИЛА ВЫПОЛНЕНИЯ ЧЕРТЕЖЕЙ РАЗЛИЧНЫХ ИЗДЕЛИЙ

УСЛОВНЫЕ ИЗОБРАЖЕНИЯ ЗУБЧАТЫХ КОЛЕС, РЕЕК,
ЧЕРВЯКОВ И ЗВЕЗДОЧЕК ЦЕПНЫХ ПЕРЕДАЧ

ГОСТ 2.402-68
(СТ СЭВ 286-76)

 

МОСКВА - 1998

 

ГОСУДАРСТВЕННЫЙ СТАНДАРТ СОЮЗА ССР

Единая система конструкторской документации

УСЛОВНЫЕ ИЗОБРАЖЕНИЯ ЗУБЧАТЫХ КОЛЕС, PEEK, ЧЕРВЯКОВ И ЗВЕЗДОЧЕК ЦЕПНЫХ ПЕРЕДАЧ

Unified system for design documentation.
Conventional representation of gears, racks, worms and chain wheels

ГОСТ
2.402-68

(CT СЭВ 286-76)

Взамен
ГОСТ 3460-59

Утвержден Комитетом стандартов, мер и измерительных приборов при Совете Министров СССР в декабре 1967 г. Срок введения установлен

с 01.01.71

 

1. Настоящий стандарт устанавливает условные изображения, применяемые при выполнении чертежей зубчатых колес, реек, червяков и звездочек цепных передач, а также при выполнении сборочных чертежей, содержащих указанные детали.

Стандарт соответствует CT СЭВ 286-76.

2. Условные изображения зубчатых колес, реек, червяков, звездочек цепных передач должны быть выполнены по правилам, изложенным в пп. 3 - 12, и соответствовать чертежам, указанным в табл. 1 и 2.

3. Зубья зубчатых колес, звездочек цепных передач и витки червяков вычерчивают в осевых разрезах и сечениях, зубья реек - в поперечных.

В остальных случаях зубья и витки не вычерчивают и изображаемые детали ограничивают поверхностями выступов (табл. 1, черт. 1 - 9).

Если необходимо показать профиль зуба или витка, вычерчивают зуб или виток на выносном элементе; допускается показывать их на ограниченном участке изображения детали (табл. 1,черт. 1б, 6).

4. Окружности и образующие поверхностей выступов зубьев и витков (цилиндров, конусов и т.п.) показывают сплошными основными линиями, в том числе и в зоне зацепления (табл. 1, черт. 1 - 9; табл. 2, черт. 1 - 4, 9, 11, 12).

5. На чертежах зубчатых колес, реек, червяков, звездочек цепных передач показывают делительные окружности, делительные линии, образующие делительных поверхностей (цилиндров, конусов и т.п.) и окружности больших оснований делительных конусов (табл. 1, черт. 1 - 6, 8, 9).

6. На сборочных чертежах зубчатых и червячных передач показывают начальные окружности, начальные линии, образующие начальных поверхностей и окружности больших оснований начальных конусов (табл. 2, черт. 1 - 11).

7. На чертежах глобоидных червяков и сопрягаемых с ними колес, а также на сборочных чертежах глобоидных червячных передач показывают расчетные окружности и образующие расчетных поверхностей (табл. 1, черт. 7; табл. 2, черт. 12).

8. Делительные, начальные, расчетные окружности и линии, образующие делительных, начальных и расчетных поверхностей, окружности больших оснований делительных и начальных конусов показывают штрихпунктирными тонкими линиями.

9. Окружности и образующие поверхностей впадин зубьев и витков в разрезах и сечениях показывают на всем протяжении сплошными основными линиями.

На видах цилиндрических зубчатых колес, червяков, реек и звездочек цепных передач допускается показывать окружности и образующие поверхностей впадин зубьев или витков, при этом их наносят сплошными тонкими линиями (табл. 1, черт. 1б, 8; табл. 2, черт. 1а).

10. Если секущая плоскость проходит через ось зубчатого колеса или звездочки, то на разрезах и сечениях зубчатых колес и звездочек, а также на поперечных разрезах и сечениях реек и червяков зубья и витки условно совмещают с плоскостью чертежа и показывают нерассеченными независимо от угла наклона зуба и угла подъема витка (табл. 1, черт. 1 - 9).

11. Если секущая плоскость проходит перпендикулярно к оси зубчатого колеса или звездочки, вдоль червяка или вдоль рейки, то зубчатые колеса, звездочки, червяки и рейки, как правило, показывают нерассеченными.

При необходимости показать их рассеченными применяют местный разрез и проводят штриховку до линии поверхности впадин (табл. 2, черт. 11б).

12. Если секущая плоскость проходит через оси обоих зубчатых колес, находящихся в зацеплении, то на разрезе в зоне зацепления зуб одного из колес (предпочтительно ведущего) показывают расположенным перед зубом сопрягаемого колеса (табл. 2, черт. 1а, 2, 4а, 5 - 7).

Если секущая плоскость проходит через ось червячного колеса или червяка, то виток червяка показывают расположенным перед зубом колеса (табл. 2, черт. 11, 12).

Если секущая плоскость проходит через ось зубчатого колеса реечного зацепления, то зуб колеса показывают перед зубом рейки (табл. 2, черт. 3).

В перечисленных случаях невидимые контуры допускается не наносить, если это не затрудняет чтение чертежа.

13. Если необходимо показать направление зубьев зубчатого колеса, рейки или витков червяка, то на изображение поверхности зубьев или витков наносят (как правило, вблизи оси) три сплошные тонкие линии с соответствующим наклоном.

На изображении зубчатого или реечного зацепления направление зубьев указывают на одном из элементов зацепления (табл. 2, черт. 1б, в, г, 4б; 9).

14. При изображении зацепления коническими зубчатыми колесами с пересечением осей под углом, отличным от прямого, коническое колесо, ось которого наклонена к плоскости проекции, параллельной оси парного колеса, изображают окружностью большего основания начального конуса, совмещенного с плоскостью чертежа; то же колесо, проецируемое на плоскость, перпендикулярную к оси парного колеса, изображают треугольником, вершина и основание которого получаются проецированием вершины и диаметра большого основания начального конуса (табл. 2, черт. 5, 6).

15. При изображении винтового зацепления с пересечением осей под углом, отличным от прямого, колесо, ось которого наклонена к плоскости проекций, изображают начальной окружностью, совмещенной с плоскостью чертежа (табл. 2, черт. 10).

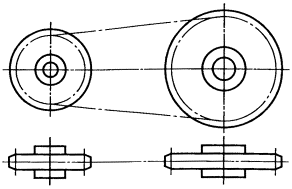
16. При изображении цепных передач цепь показывают штрихпунктирной тонкой линией, соединяющей делительные окружности звездочек (табл. 2, черт. 13).

Таблица 1

Наименование

Условное изображение

1. Колесо зубчатое цилиндрическое

Черт. 1

2. Колесо зубчатое цилиндрическое с внутренними зубьями

Черт. 2

3. Колесо зубчатое коническое

Черт. 3

4. Колесо зубчатое плоское

Черт. 4

5. Колесо зубчатое червячное

Черт. 5

6. Червяк цилиндрический

Черт. 6

7. Червяк глобоидный

Черт. 7

8. Рейка зубчатая

Черт. 8

9. Звездочка цепной передачи

Черт. 9

Таблица 2

Наименование

Условное изображение

1. Зацепление внешнее цилиндрическими зубчатыми колесами

Черт. 1

2. Зацепление внутреннее цилиндрическими зубчатыми колесами

Черт. 2

3. Зацепление реечное

Черт. 3

4. Зацепление внешнее коническими зубчатыми колесами с пересечением осей под прямым углом

Черт. 4

5. Зацепление внешнее коническими зубчатыми колесами с пересечением осей под углом, отличным от прямого

Черт. 5

6. Зацепление плоскоконическое

Черт. 6

7. Зацепление паллоидное

Черт. 7

8.Зацепление гипоидное

Черт. 8

9. Зацепление винтовое цилиндрическими зубчатыми колесами с пересечением осей под прямым углом

Черт. 9

10. Зацепление винтовое цилиндрическими зубчатыми колесами с пересечением осей под углом, отличным от прямого

Черт. 10

11. Зацепление с цилиндрическим червяком

Черт. 11

12. Зацепление с глобоидным червяком

Черт. 12

13. Цепная передача

Черт. 13

 




Rambler's Top100 Яндекс цитирования
  Copyright © 2008-2026, www.docload.ru