Бесплатная библиотека стандартов и нормативов www.docload.ru

Все документы, размещенные на этом сайте, не являются их официальным изданием и предназначены исключительно для ознакомительных целей.
Электронные копии этих документов могут распространяться без всяких ограничений. Вы можете размещать информацию с этого сайта на любом другом сайте.
Это некоммерческий сайт и здесь не продаются документы. Вы можете скачать их абсолютно бесплатно!
Содержимое сайта не нарушает чьих-либо авторских прав! Человек имеет право на информацию!

 

ГОСУДАРСТВЕННЫЙ СТАНДАРТ СОЮЗА ССР

КАТАНКА АЛЮМИНИЕВАЯ

ТЕХНИЧЕСКИЕ УСЛОВИЯ

ГОСТ 13843-78
[
СТ СЭВ 1562-88]

Е

ГОСУДАРСТВЕННЫЙ КОМИТЕТ СССР
ПО
УПРАВЛЕНИЮ КАЧЕСТВОМ ПРОДУКЦИИ И СТАНДАРТАМ

Москва

ГОСУДАРСТВЕННЫЙ СТАНДАРТ СОЮЗА ССР

КАТАНКА АЛЮМИНИЕВАЯ

Технические условия

Rod aluminium wire.
Technical conditions

ГОСТ
13843-78

[CT СЭВ 1562-88]

Срок действия с 01.01.80

до 01.01.95

в части п. 4.7 с 01.01.82

Настоящий стандарт распространяется на алюминиевую катанку, получаемую непрерывным литьем и прокаткой, предназначенную для изготовления проволоки и других электротехнических целей.

Стандарт устанавливает требования к алюминиевой катанке, изготовляемой для нужд народного хозяйства и для экспорта.

(Измененная редакция, Изм. № 2).

1. МАРКИ И РАЗМЕРЫ

1.1. Катанка должна изготовляться пяти марок:

АКЛП-М - мягкая;

АКЛП-ПТ - полутвердая;

АКЛП-Т1, АКЛП-Т2, АКЛП-Т3 - твердая.

В зависимости от удельного электросопротивления постоянному току мягкую и полутвердую катанку изготовляют первого, второго и третьего классов, твердую - первого и второго классов.

В первом и втором классах - удельное электросопротивление определяется на катанке;

в третьем классе - удельное электросопротивление определяется на протянутой из катанки отожженной проволоке.

(Измененная редакция, Изм. № 3).

1.2. Диаметры катанки и предельные отклонения по ним должны соответствовать указанным в табл. 1.

Коды ОКП приведены в справочном приложении 2.

Таблица 1

мм

Номинальный диаметр

Предельное отклонение по диаметру катанки марок

АКЛП-М, АКЛП-ПТ

АКЛП-Т1

АКЛП-Т2, АКЛП-Т3

9

±0,3

±0,3

±0,3

9,5

±0,3

±0,3

±0,3

11,5

±0,4

±0,4

-

12

±0,4

-

-

14

±0,5

-

-

15

±0,5

-

-

18

+0,8

-0,3

-

-

19

±0,8

-

-

23

±1,0

-

-

25

±1,0

-

-

(Измененная редакция, Изм. № 1, 2, 3).

1.3. (Исключен, Изм. № 1).

1.4. По требованию потребителя допускается изготовлять катанку других номинальных диаметров, при этом предельные отклонения должны соответствовать ближайшему большему размеру, указанному в табл. 1.

(Измененная редакция, Изм. № 1).

1.5. Овальность катанки не должна превышать:

для диаметров до 10 мм - 0,4 мм,

для диаметров свыше 10 до 15 мм - 0,6 мм и для диаметров свыше 15 мм - 0,9 мм.

Примеры условного обозначения

Катанка первого класса, полутвердая, марки АКЛП-ПТ, из алюминия А5Е диаметром 9 мм:

Катанка I АКЛП-ПТ--9 ГОСТ 13843-78

То же, второго класса, из алюминия марки А7Е, диаметром 11,5 мм:

Катанка II АКЛП-ПТ--11,5 ГОСТ 13843-78

(Измененная редакция, Изм. № 3).

2. ТЕХНИЧЕСКИЕ ТРЕБОВАНИЯ

2.1. Катанку изготовляют в соответствии с требованиями настоящего стандарта по технологическому регламенту, утвержденному в установленном порядке.

Катанка марок АКЛП-М и АКЛП-ПТ первого и третьего классов должна изготовляться из алюминия марки А5Е, второго - из алюминия марки А7Е по ГОСТ 11069-74.

Твердая катанка (марок АКЛП-Т1, АКЛП-Т2, АКЛП-Т3) первого и второго классов должна изготовляться соответственно из алюминия марок А5Е и А7Е с массовой долей железа до 0,4 % и суммы примесей титана, ванадия, марганца и хрома - до 0,01 %.

По требованию потребителя допускается изготовлять катанку марок АКЛП-М и АКЛП-ПТ с массовой долей железа не более 0,16 %.

змененная редакция, Изм. № 3).

2.2. Катанка по всей длине должна иметь чистую, ровную, гладкую поверхность без посторонних включений, трещин, закатов, прирезов, заусенцев, плен, раковин, забоин, размер которых (глубина или высота) превышает отклонения, указанные в табл. 1.

(Измененная редакция, Изм. № 2).

2.3. Механические свойства и удельное электрическое сопротивление постоянному току катанки должны соответствовать указанным в табл. 2. По требованию потребителя катанка марки АКЛП-ПТ должна изготовляться с относительным удлинением не менее 15 %.

Таблица 2

Марка катанки

Временное сопротивление разрыву, МПа

Удельное электрическое сопротивление при температуре 20 °С, Ом · мм2/м, не более

Класс I

Класс II

Класс III

аклп-м

Не более 80

0,0280*

0,0277*

По ГОСТ 11069-74

АКЛП-ПТ

Не менее 83

0,0281*

0,0280*

По ГОСТ 11069-74

АКЛП-Т1

Не менее 98

0,0281

0,0280

-

АКЛП-Т2

Не менее 105

0,0281

0,0280

-

АКЛП-Т3

Не менее 110

0,0282

0,0281

-

* Только для катанки диаметром 9 и 9,5 мм.

(Измененная редакция, Изм. № 3).

2.4. (Исключен, Изм. № 3).

2.5. (Исключен, Изм. № 1).

2.6. Катанка всех марок должна выдерживать технологическую пробу волочением. При этом не должно быть более одного обрыва на две тонны катанки по дефектам металлургического характера (закаты, плены, раковины, посторонние включения).

(Измененная редакция, Изм. № 1),

2.7. (Исключен, Изм. № 1).

2.8. Катанка должна быть намотана в бухты одним отрезком массой от 600 до 2500 кг.

(Измененная редакция, Изм. № 3).

2.9. Катанка должна быть намотана в бухты без перепутывания, перехлестывания и залипания витков, препятствующих свободной размотке при ее волочении. Плотность намотки должна обеспечивать целостность бухт на операциях транспортирования и упаковывания.

змененная редакция, Изм. № 2).

2.10. По требованию потребителя катанка должна выдерживать количество скручиваний (табл. 3) по двум направлениям без появления трещин или разрушения образца.

Таблица 3

Номинальный диаметр, мм

Количество скручиваний

9,0

5/5

Св. 9,0 до 15,0

4/4

(Введен дополнительно, Изм. № 2).

3. ПРАВИЛА ПРИЕМКИ

3.1. Катанка принимается партиями. Партия должна состоять из катанки одного класса, одной марки, одной или нескольких плавок и одного размера.

Каждая партия катанки сопровождается документом о качестве, в котором указывают:

товарный знак или наименование и товарный знак предприятия-изготовителя;

диаметр катанки;

марку катанки;

номер плавки;

удельное электрическое сопротивление;

механические свойства;

массу партии;

номер партии;

количество бухт в партии.

(Измененная редакция, Изм. № 1, 2).

3.2. Проверке на соответствие требованиям пп. 2.2; 2.8 и 2.9 следует подвергать каждую бухту катанки, а пп. 1.2; 2.1; 2.3; 2.10 - 2 % бухт, но не менее одной бухты от партии.

Проверке на соответствие требованиям пп. 2.6 следует подвергать 2 % бухт, но не менее двух бухт от партии.

(Измененная редакция, Изм. № 2, 3).

3.3. Проверка на соответствие требованиям п. 2.3 в части удельного электросопротивления катанки третьего класса, пп. 2.6 и 2.9 в части залипания витков должна производиться у потребителя.

(Измененная редакция, Изм. № 3).

3.4. При получении неудовлетворительных результатов испытаний хотя бы по одному из показателей по нему проводят повторное испытание на удвоенном количестве бухт, взятых от той же партии.

Результаты повторных испытаний распространяются на всю партию.

4. МЕТОДЫ ИСПЫТАНИЙ

4.1. Определение химического состава катанки производят по ГОСТ 3221-85 или другими методами, не уступающими по точности стандартному. При разногласиях определение химического состава катанки производят по ГОСТ 3221-85.

(Измененная редакция, Изм. № 2).

4.2. Измерение диаметра катанки должно производиться не менее чем в двух местах: в начале и в конце бухты на расстоянии не менее 1 м от конца. Измерение проводят микрометром по ГОСТ 6507-78 или другими измерительными инструментами с погрешностью не более 0,1 мм. За результат принимается среднее арифметическое наибольшего и наименьшего значений в каждом измеряемом сечении.

Овальность катанки проверяют по ГОСТ 26877-86.

(Измененная редакция, Изм. № 2, 3).

4.3. Проверка качества поверхности катанки по п. 2.2 должна проводиться внешним осмотром наружных витков бухт.

Зачистка обнаруженных дефектов должна производиться по плоскости на длине 8 мм до исчезновения дефектов.

За величину дефекта принимают разность между диаметром катанки, измеренным рядом с зачищенным местом, и диаметром катанки, в месте, где производилась зачистка. Допускается измерение дефекта проводить индикаторным глубиномером по ГОСТ 7661-67.

Проверку на соответствие требованию п. 2.9 проводят визуально по геометрии наружных витков бухты. Отсутствие залипания витков определяют при проведении технологической пробы волочением.

(Измененная редакция, Изм. № 1, 2).

4.4. Контроль механических свойств катанки производят по ГОСТ 1497-84 на образцах- с начальной расчетной длиной 200 мм, отобранных на расстоянии не менее 1 м от начала или конца бухты.

(Измененная редакция, Изм. № 2).

4.4а. Испытание на скручивание проводят по ГОСТ 1545-80 на образце с рабочей длиной 300 мм, отобранном на расстоянии не менее 1 м от начала или конца бухты.

(Введен дополнительно, Изм. № 3).

4.5. Удельное электрическое сопротивление катанки проверяют по ГОСТ 7229-76 на образцах с расчетной длиной 1 м, отобранных на расстоянии не менее 1 м от начала или конца бухты.

Площадь поперечного сечения образцов определяют путем расчета по массе, принимая плотность алюминия равной 2,703 г/см3.

4.6. Технологическую пробу волочением осуществляют на многократной машине за одну операцию в следующем режиме: диаметром 9 и 9,5 мм до диаметра 1,7 - 2,0 мм; диаметром 11,5 мм и выше - с суммарным обжатием 50 - 70 %.

Допускаются обрывы при технологической пробе, если в месте обрыва отсутствуют дефекты металлургического характера.

4.5 - 4.6. (Измененная редакция, Изм. № 1, 2).

4.7. (Исключен, Изм. № 1).

5. УПАКОВКА, МАРКИРОВКА, ТРАНСПОРТИРОВАНИЕ И ХРАНЕНИЕ

5.1. Упаковка, маркировка, транспортирование и хранение катанки должны производиться по ГОСТ 18690-82.

5.2. Каждая бухта должна быть перевязана отрезками катанки или отходами алюминиевой проволоки не менее чем в трех местах для обеспечения целостности бухт при их транспортировании. Допускаются вмятины на поверхности катанки от обвязок, не выходящие за пределы полуторных допусков по диаметру.

Для катанки, предназначенной для экспорта, а также по согласованию изготовителя с потребителем допускается применение упаковки по нормативно-технической документации.

5.3. Транспортная маркировка по ГОСТ 14192-77.

Каждая бухта катанки должна быть снабжена ярлыком с указанием:

товарного знака или наименования и товарного знака предприятия-изготовителя;

номера плавки;

номера бухты;

массы бухты;

марки катанки;

диаметра катанки в миллиметрах;

штампа технического контроля;

даты изготовления.

Штамп технического контроля допускается проставлять на пломбе, закрепляемой на бухте после ее обвязки.

5.2, 5.3. (Измененная редакция, Изм. № 1, 2).

5.4. (Исключен, Изм. № 2).

5.5. (Исключен, Изм. № 1).

5.6. Транспортирование катанки должно проводиться в крытых железнодорожных вагонах повагонными отправками.

По согласованию изготовителя с потребителем допускается транспортировать бухты катанки в открытых вагонах.

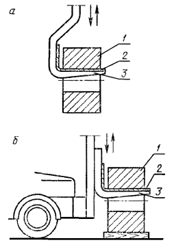
Погрузо-разгрузочные работы проводятся по схеме, приведенной в обязательном приложении 1.

(Измененная редакция, Изм. № 1, 2).

5.7. Катанка должна храниться в закрытых помещениях в условиях, исключающих механическое повреждение, воздействие влаги, загрязнений и химически активных веществ.

(Измененная редакция, Изм. № 2).

ПРИЛОЖЕНИЕ 1

Обязательное

Схема погрузки бухт катанки

а) краном; б) автопогрузчиком

1 - бухта; 2 - предохраняющая прокладка (резина, войлок, древесина и т.п.); 3 - захват

(Измененная редакция, Изм. № 1, 2).

ПРИЛОЖЕНИЕ 2

Справочное

Диаметр, мм

Коды ОКП

АКЛП-М

17 1213 0100

АКЛП-ПТ

17 1213 0200

Класс I

Класс II

Класс III

Класс I

Класс II

Класс III

9,0

17 1213 0101

17 1213 0102

17 1213 0103

17 1213 0201

17 1213 0202

17 1213 0203

9,5

17 1213 0104

17 1213 0105

17 1213 0106

17 1213 0204

17 1213 0205

17 1213 0206

11,5

-

-

17 1213 0107

-

-

17 1213 0207

12,0

-

-

17 1213 0108

-

-

17 1213 0208

14,0

-

-

17 1213 0109

-

-

17 1213 0209

15,0

-

-

17 1213 0110

-

-

17 1213 0210

18,0

-

-

17 1213 0111

-

-

17 1213 0211

19,0

-

-

17 1213 0112

-

-

17 1213 0212

23,0

-

-

17 1213 0113

-

-

17 1213 0213

25,0

-

-

17 1213 0114

-

-

17 1213 0214

Продолжение

Диаметр, мм

Коды ОКП

АКЛП-Т1

17 1213 0300

АКЛП-Т2

17 1213 0400

АКЛП-Т3

17 1213 0500

Класс I

Класс II

Класс I

Класс II

Класс I

Класс II

9,0

17 1213 0301

17 1213 0302

17 1213 0401

17 1213 0402

17 1213 0501

17 1213 0502

9,5

17 1213 0303

17 1213 0304

17 1213 0403

17 1213 0404

17 1213 0503

17 1213 0504

11,5

17 1213 0305

17 1213 0306

-

-

-

-

12,0

-

-

-

-

-

-

14,0

-

-

-

-

-

-

15,0

-

-

-

-

-

-

18,0

-

-

-

-

-

-

19,0

-

-

-

-

-

-

23,0

-

-

-

-

-

-

25,0

-

-

-

-

-

-

(Измененная редакция, Изм. № 3).

ИНФОРМАЦИОННЫЕ ДАННЫЕ

1. РАЗРАБОТАН И ВНЕСЕН Министерством цветной металлургии СССР

РАЗРАБОТЧИКИ СТАНДАРТА:

М.Д. Либерман, Н.С. Зобнина

2. УТВЕРЖДЕН И ВВЕДЕН В ДЕЙСТВИЕ Постановлением Государственного комитета стандартов Совета Министров СССР от 08.06.78 1561

3. Срок первой проверки - 1984 г. Периодичность проверки - 5 лет

4. Стандарт полностью соответствует СТ СЭВ 1562-88

5. ВЗАМЕН ГОСТ 13843-68 и ГОСТ 5.807-74

6. ССЫЛОЧНЫЕ НОРМАТИВНО-ТЕХНИЧЕСКИЕ ДОКУМЕНТЫ

7. ПЕРЕИЗДАНИЕ (май 1990 г.) с Изменениями 1, 2, 3, утвержденными в апреле 1984 г., декабре 1988 г., октябре 1989 г. (ИУС 7-84, 2-89, 2-90)

8. Срок действия продлен до 01.01.95 Постановлением Государственного комитета СССР по управлению качеством продукции и стандартам 3946 от 05.12.88

СОДЕРЖАНИЕ

 




Rambler's Top100 Яндекс цитирования
  Copyright © 2008-2026, www.docload.ru