Бесплатная библиотека стандартов и нормативов www.docload.ru

Все документы, размещенные на этом сайте, не являются их официальным изданием и предназначены исключительно для ознакомительных целей.
Электронные копии этих документов могут распространяться без всяких ограничений. Вы можете размещать информацию с этого сайта на любом другом сайте.
Это некоммерческий сайт и здесь не продаются документы. Вы можете скачать их абсолютно бесплатно!
Содержимое сайта не нарушает чьих-либо авторских прав! Человек имеет право на информацию!

 

ГОСУДАРСТВЕННЫЙ СТАНДАРТ СОЮЗА ССР

ЗАКЛЕПКИ классов точности В и С.

ГОСТ 10304-80
(СТ СЭВ 1329-78)

ГОСУДАРСТВЕННЫЙ КОМИТЕТ СССР ПО СТАНДАРТАМ
Москва

ГОСУДАРСТВЕННЫЙ СТАНДАРТ СОЮЗА ССР

ЗАКЛЕПКИ классов точности В и С.

Технические условия

Rivets classes В and С. General specifications

ГОСТ
10304-80*

(СТ СЭВ 1329-78)

Взамен
ГОСТ 10304-68

Постановлением Государственного комитета СССР по стандартам от 6 мая 1980 г. № 2011 срок введения установлен

с 01.01.81

Проверен в 1985 г. Постановлением Госстандарта от 23.04.85 № 1138 срок действия продлен

до 01.01.91

(Измененная редакция, Изм. № 3).

Настоящий стандарт распространяется на заклепки общемашиностроительного применения, классов точности В и С, предназначенные для работы при температуре от плюс 300 до минус 60°С.

Стандарт полностью соответствует СТ СЭВ 1329-78.

1. ТЕХНИЧЕСКИЕ ТРЕБОВАНИЯ

1.1. По форме, размерам, предельным отклонениям, не указанным в настоящем стандарте, заклепки должны соответствовать стандартам на технические условия.

(Измененная редакция, Изм. № 3).

1.2. Схема построения условных обозначений заклепок приведена в обязательном приложении.

1.3. Марки материалов и их условные обозначения должны соответствовать указанным в табл. 1.

Таблица 1

Материал

Вид

Марка

Обозначение стандарта

Условное обозначение марки

(группы)

Углеродистые стали

Ст 2*

 

00

10*, 10кп

ГОСТ 1050-88

ГОСТ 5663-79

или ГОСТ 10702-78

01

Ст 3*

ГОСТ 14085-79

или ГОСТ 499-70

02

15*, 15кп

ГОСТ 1050-74

ГОСТ 5663-79

или ГОСТ 10702-78

03

Низколегированная сталь

09Г2

ГОСТ 19281-73

10

Коррозионно-стойкие стали

12Х18Н9Т, 12Х18Н10Т

ГОСТ 5632-72

ГОСТ 5949-75

21

Латунь

Л 63

ГОСТ 12920-67

ГОСТ 15527-70

32

Л 63

(антимагнитная)

33

Медь

М3

ГОСТ 859-78

ГОСТ 1535-71

38

МТ

ГОСТ 2112-79

Алюминиевые сплавы

АМг5П

ГОСТ 14838-78

31

Д18

ГОСТ 4784-74

36

АД1

37

* Сведения о материалах приведены в справочном приложении 2.

(Измененная редакция, Изм. № 3).

Допускается применять другие материалы с временным сопротивлением не ниже указанного в табл. 2.

(Измененная редакция, Изм. № 1, 2).

1.3а. Заклепки должны изготовляться с покрытиями или без покрытий. Виды покрытий и их условные обозначения - по ГОСТ 1759.0-87. Выбор толщины покрытий - по ГОСТ 9.303-84.

(Измененная редакция, Изм. № 1, 2, 3).

1.4. Технические требования к покрытиям - по ГОСТ 9.301-86.

(Измененная редакция, Изм. № 3).

1.5. Временное сопротивление срезу заклепок должно соответствовать указанному в табл. 2.

Таблица 2

Материал заклепок

Вид термообработки

Временное сопротивление срезу, МПа (кгс/мм2), не менее

Наименование

Марка

Сталь

Ст2, Ст3

Отжиг

250 (25)

10, 15

250 (25)

10кп, 15кп

250 (25)

09Г2

Без термической обработки

380 (38)

12Х18Н9Т,

12Х18Н10Т

Закалка

430 (43)

Латунь

Л63

Отжиг

-

Л 63 (антимагнитная)

Медь

М3, МТ

190 (19)

Алюминиевые сплавы

АМг5П

Без термической обработки

160 (16)

АД1

60 (6)

Д18

Закалка и естественное старение

190 (19)

(Измененная редакция, Изм. № 3).

1.6. Допускается изготовлять заклепки без термической обработки.

1.7. Заклепка должна выдерживать испытание в холодном состоянии на прочность соединения головки со стержнем. Изгиб головки по отношению к стержню на угол 15° должен происходить без возникновения поперечных надрывов.

(Измененная редакция, Изм. № 3).

1.8. Конец стержня или металла, подготовленного для изготовления заклепок, должен выдерживать испытание на расклепываемость без появления в образованной головке трещин и надрывов. Испытанию на расклепываемость допускается не подвергать заклепки, изготовленные методом холодной штамповки, и термообработанные заклепки.

(Измененная редакция, Изм. № 3).

1.9. Поверхность заклепок должна быть чистой, без грата, трещин, надрывов, расслоений материала, пузырей, раковин и отделяющейся окалины.

На поверхности допускаются:

поверхностные дефекты, допускаемые стандартами на проволоку и прутки, из которых изготовляют заклепки, в том числе дефекты, измененные в результате деформирования материала при высадке. Глубина измененных дефектов на головках должна быть не более 0,2 мм;

следы инструмента и закаты, находящиеся в пределах допустимых отклонений размеров заклепок;

заусеницы на головке, если их величина не превышает половины поля допуска на диаметр головки заклепки; для заклепок с диаметром стержня d > 16 мм заусеницы на головках не более 1 мм;

неотделяющийся цветной налет окисей.

(Измененная редакция, Изм. № 2, 3).

1.9а. Шероховатость поверхности заклепок не должна превышать:

Ra = 6,3 мкм для класса точности В,

Ra = 50 мкм для класса точности С.

Шероховатость поверхностей заклепок, изготовленных методом холодной штамповки, и шероховатости торца стержня не контролируются.

(Введено дополнительно, Изм. № 3).

1.10. Поля допусков и предельные отклонения размеров заклепок должны соответствовать указанным в табл. 3.

Таблица 3

Наименование параметра

Поля допусков и предельные отклонения

Класс точности В

Класс точности С

Диаметр стержня d

jsl4

jsl5

Диаметр головки D

jsl5

jsl6

Длина заклепки L

Высота головки Н > 1 мм

jsl6

(Измененная редакция, Изм. № 3).

1.11. Допускаемые отклонения формы и расположения поверхностей не должны превышать следующих значений:

косой срез стержня (черт. 1):

a = 3° для диаметров от 1 до 16 мм;

a = 5°      »        »          свыше 16 мм;

допуск перпендикулярности опорной и торцовой поверхностей головок относительно оси стержня (черт. 1) t; t = 0,0175D для класса точности В и t = 0,0349D для класса точности С;

Черт. 1

высота цилиндрического пояска b и недопрессовка на вершине головок в виде площадок D1 (черт. 2) - согласно табл. 4

Черт. 2

Таблица 4

мм

D

До 3

Св. 3 до 6

Св. 6 до 10

Св. 13

Св. 18 до 30

Св. 30 до 50

Св. 50

b, не более

0,3

0,4

0,6

1,5

2,0

2,5

3,0

D1, не более

0,5D

0,6D

Для заклепок диаметром стержня до 6 мм по согласованию между изготовителем и потребителем допускается увеличение значений b, указанных в табл. 4 на 0,1 мм;

допуск соосности оси головки относительно оси стержня (черт. 2) - согласно табл. 5.

Таблица 5

мм

d

От 1 до 1,6

Св. 1,6 до 2,5

Св. 2,5 до 5

Св. 5 до 8

Св. 8 до 18

Св. 18 до 24

Св. 24 до 36

а

0,2

0,32

0,4

0,6

1,0

2,0

3,0

уменьшение диаметра стержня, измеренное на расстоянии, равном диаметру стержня от конца заклепки, - согласно табл. 6.

Таблица 6

мм

d

От 1 до 10

Св. 10 до 13

Cв. 13 до 18

Св. 18 до 30

Св. 30 до 36

Уменьшение диаметра конца стержня

В пределах нижнего отклонения

-0,7

-0,8

-1,0

-1,4

(Измененная редакция, Изм. № 3).

2. ПРИЕМКА

(Измененная редакция, Изм. № 3).

2.1. Правила приемки заклепок - по ГОСТ 17769-83.

(Измененная редакция, Изм. № 3).

2.2. Каждая партия заклепок должна сопровождаться документом о качестве с указанием:

наименования или товарного знака завода-изготовителя;

условного обозначения заклепок;

перечня и результатов проведенных испытаний;

массы нетто партии;

средств временной противокоррозионной защиты и срока защиты.

Примечание. Допускается вкладывать документ о качестве заклепок в тару или контейнер, при этом должна обеспечиваться сохранность его при транспортировании.

(Измененная редакция, Изм. № 3).

3. МЕТОДЫ КОНТРОЛЯ И ИСПЫТАНИЙ

(Измененная редакция, Изм. № 3).

3.1. Контроль механических свойств заклепок должен производиться на соответствие требованиям табл. 2.

3.2. Контроль качества покрытий - по ГОСТ 9.302-79.

3.3. Внешний вид заклепок (п. 1.9) проверяют визуально без применения увеличительных приборов.

Для заклепок диаметром менее 3 мм допускается применение увеличительных средств (до 3´).

3.4. Шероховатость поверхности проверяют сравнением с образцами шероховатости по ГОСТ 9378-75 или приборами.

Шероховатость поверхности заклепок, изготовленных методом холодной высадки, не контролируется.

3.5. Отклонения размеров и расположения поверхностей заклепок проверяют предельными калибрами, шаблонами, контрольными матрицами, универсальными измерительными приборами или инструментом.

Длина заклепок при косом срезе конца должна проверяться по короткой стороне стержня.

(Измененная редакция, Изм. № 3).

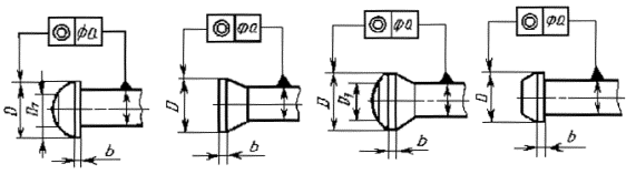
3.6. Высоту потайных и полупотайных головок заклепок проверяют с помощью контрольной матрицы и шаблона по схеме, указанной на черт. 3.

Высоту полупотайных головок заклепок Н контролируют по размеру (H+h) с допуском, равным по величине допуску на размер Н, черт. 4.

Допускаются другие методы контроля высоты головок.

(Измененная редакция, Изм. № 3).

Черт. 3

Черт. 4

3.7. Отклонение от перпендикулярности опорной поверхности головки к оси стержня проверяют угловым шаблоном или щупом по просвету между опорной поверхностью головки и торцевой поверхностью контрольной матрицы.

3.8. Прямолинейность стержня заклепок проверяют по свободному вхождению заклепки в контрольную матрицу, диаметр отверстия которой соответствует максимальному диаметру стержня заклепки.

Поле допуска отверстия матрицы - Н14.

3.9. Отклонение от соосности головки относительно стержня заклепок определяют разностью размеров s и s1 (черт. 5), измеренных с помощью штангенглубиномера или микрометрического глубиномера. Допускаются другие методы контроля.

(Измененная редакция, Изм. № 1, 3).

3.10. Значения величины угла и радиуса скругления плоской головки, радиуса под головкой, перпендикулярности опорной и торцовой поверхностей голосок к оси стержня, прямолинейности стержня, косой срез стержня и соосность головки относительно оси стержня допускается не контролировать в готовых заклепках при условии обеспечения этих геометрических параметров инструментом.

(Измененная редакция, Изм. № 2, 3).

Черт. 5

Черт. 6

3.11. Прочность соединения головки со стержнем испытывают в контрольной матрице по схеме, указанной на черт. 6 ударами по головке заклепки до соприкосновения ее опорной поверхности с плоскостью матрицы.

Диаметр отверстия матрицы d1 должен выбираться из 2-го ряда ГОСТ 11284-75.

Надрывы под головкой не допускаются.

Испытанию не подлежат заклепки с потайной и полупотайной головками, отожженные и изготовленные горячей штамповкой.

3.12. Испытание на расклепываемость стержня заклепок - по ГОСТ 8818-73.

Допускается проводить испытание стальных заклепок с диаметром стержня более 10 мм в горячем состоянии (при температуре 850-950 °С).

3.13. Испытание заклепок на срез стержня проводят по требованию потребителя по методике, согласованной между изготовителем и потребителем.

При определении значения временного сопротивления срезу расчет ведется по действительному диаметру заклепок.

Допускается вместо заклепок подвергать испытанию образцы проволоки из бухты, которая была использована для высадки заклепок (при условии, что эти образцы термообработаны одновременно с представленными на испытание заклепками).

(Введено дополнительно, Изм. № 1).

3.14. Методика контроля покрытий - по ГОСТ 9.302-88.

(Введено дополнительно, Изм. № 3).

4. Транспортирование и хранение

Упаковка заклепок, маркировка тары, транспортирование и хранение - по ГОСТ 18160-72.

(Введено дополнительно, Изм. № 3).

Разд. 5. (Исключен, Изм. № 1).

ПРИЛОЖЕНИЕ 1
Обязательное

Схема построения условного обозначения заклепок

1-класс точности. Класс точности В не указывается; 2-диаметр стержня;

3-длина; 4-условное обозначение марки (группы) материала; 5-марка материала. Указывается для групп 01, 03, 21, 38 и для материала, не предусмотренного в настоящем стандарте. Допускается не указывать марку материала для групп 01, 03, 21, 38; 6-условное обозначение вида покрытия. Отсутствие покрытия не указывается; 7-толщина покрытия; 8 - обозначение стандарта на конкретный вид заклепок.

Пример условного обозначения заклепки класса точности С, диаметром d = 8 мм, длиной L = 20 мм, из материала группы 38, марки меди МЗ, с никелевым покрытием толщиной 6 мкм:

Заклепка С 8 ´ 20.38.М3.136 ГОСТ ...

(Измененная редакция, Изм. № 2, 3).

ПРИЛОЖЕНИЕ 2
Справочное

Материалы для изготовления заклепок

Кроме стандартных материалов, приведенных в табл. 1, для изготовления заклепок применяют следующие марки стали: Ст2, Ст3 по ОСТ 14-2-188-86 и ОСТ 14-15-193-86; сталь марок 10, 15 по ТУ 3-80-80.

(Введено дополнительно, Изм. № 3).

СОДЕРЖАНИЕ

 




Rambler's Top100 Яндекс цитирования
  Copyright © 2008-2026, www.docload.ru