Бесплатная библиотека стандартов и нормативов www.docload.ru

Все документы, размещенные на этом сайте, не являются их официальным изданием и предназначены исключительно для ознакомительных целей.
Электронные копии этих документов могут распространяться без всяких ограничений. Вы можете размещать информацию с этого сайта на любом другом сайте.
Это некоммерческий сайт и здесь не продаются документы. Вы можете скачать их абсолютно бесплатно!
Содержимое сайта не нарушает чьих-либо авторских прав! Человек имеет право на информацию!

 

ГОСУДАРСТВЕННЫЙ СТАНДАРТ СОЮЗА ССР

АЗОТ ГАЗООБРАЗНЫЙ И ЖИДКИЙ

ТЕХНИЧЕСКИЕ УСЛОВИЯ

ГОСТ 9293-74
(ИСО 2435-73)

ГОСУДАРСТВЕННЫЙ КОМИТЕТ СССР ПО УПРАВЛЕНИЮ
КАЧЕСТВОМ ПРОДУКЦИИ И СТАНДАРТАМ

Москва

ГОСУДАРСТВЕННЫЙ СТАНДАРТ СОЮЗА ССР

АЗОТ ГАЗООБРАЗНЫЙ И ЖИДКИЙ

Технические условия

Gaseous and liquid nitrogen.
Specifications

ГОСТ
9593-74*

(ИСО 2435-73)

Взамен
ГОСТ 9293-59

Постановлением Государственного комитета стандартов Совета Министров СССР от 25 июля 1974 г. № 1773 срок введения установлен

с 01.01.76

Проверен в 1985 г. Постановлением Госстандарта от 27.09.85 № 3163 срок действия продлен

до 01.01.92

Несоблюдение стандарта преследуется по закону

Настоящий стандарт распространяется на газообразный и жидкий азот, получаемый из атмосферного воздуха способом низкотемпературной ректификации.

Газообразный азот предназначается для создания инертной атмосферы при производстве, хранении и транспортировании легко окисляемых продуктов, при высокотемпературных процессах обработки металлов, не взаимодействующих с азотом, для консервации замкнутых металлических сосудов и трубопроводов и других целей.

Жидкий азот используется как хладагент, а также (после газификации) для целей, указанных выше для газообразного азота.

Газообразный азот - инертный газ без цвета и запаха плотностью 1,25046 кг/м3 при 0°C и давлении 101,3 кПа. Удельный объем газообразного азота равен 860,4 дм3/кг при давлении около 105 Па и температуре 290 К.

Жидкий азот - бесцветная жидкость, без запаха с температурой кипения 77,35 К при давлении 101,3 кПа и удельным объемом 1,239 дм3/кг при температуре 77,35 К и давлении 101,3 кПа.

Стандарт соответствует международному стандарту ИСО 2435-73 в части технического газообразного азота, предназначенного для технических систем самолета, по содержанию азота, кислорода, водяных паров, масла.

Формула: N2.

Молекулярная масса (по международным атомным массам 1985 г.) - 28,016.

(Измененная редакция, Изм. № 3).

1. ТЕХНИЧЕСКИЕ ТРЕБОВАНИЯ

1.1. По физико-химическим показателям газообразный и жидкий азот должен соответствовать нормам, указанным в табл. 1.

1.2. Коды ОКП технического газообразного и жидкого азота, а также газообразного и жидкого азота особой чистоты приведены в табл. .

Таблица 1

Наименование показателя

Норма для марки газообразного и жидкого азота

особой чистоты

повышенной чистоты

технического

1-й сорт

2-й сорт

1-й сорт

2-й сорт

1-й сорт

2-й сорт

1. Объемная доля азота, %, не менее

99,999

99,996

99,99

99,95

99,6

99,0

2. Объемная доля кислорода, %, не более

0,0005

0,001

0,001

0,05

0,4

1,0

3. Объемная доля водяного пара в газообразном азоте, %, не более

0,0007

0,0007

0,0015

0,004

0,009

Выдерживает испытание по п. 3.6

4. Содержание масла в газообразном азоте

Не определяется

Выдерживает испытание по п. 3.7

5. Содержание масла, механических примесей и влаги в жидком азоте

Выдерживает испытание по п. 3.8

6. Объемная доля водорода, %, не более

0,0002

0,001

Не нормируется

7. Объемная доля суммы углеродсодержащих соединении в пересчете на СН4, %, не более

0,0003

0,001

Не нормируется

Примечания:

1. Показатель по подпункту 1 таблицы включает примеси инертных газов (аргон, неон, гелий).

2. По согласованию с потребителем в техническом газообразном азоте 1-го сорта, транспортируемом по трубопроводу, допускается объемная доля водяного пара более 0,009 %.

3. Допускается уменьшение количества жидкого азота вследствие его испарения при транспортировании и хранении не более чем на 10 %.

4. Газообразный технический азот, предназначенный для авиации, следует выпускать с объемной долей водяного пара не более 0,003 %. Для остальных показателей нормы должны быть не ниже соответствующих норм для технического азота 2-го сорта.

5. На воздухоразделительных установках низкого давления Кт-12, КтК-35, Кт-5 и др. и на установке Кт-3600 разрешается получать жидкий технический азот с объемной долей азота не менее 97,0 %.

(Измененная редакция, Изм. № 2, 3).

Таблица 1a

Наименование продукта

Код ОКП

Азот газообразный технический компримированный:

21 1412 0100

первый сорт

21 1412 0130

второй сорт

21 1412 0140

Азот газообразный технический несжатый:

21 1412 0300

первый сорт

21 1412 0330

второй сорт

21 1412 0340

Азот жидкий технический:

21 1412 0200

первый сорт

21 1412 0230

второй сорт

21 1412 0240

Азот газообразный особой чистоты:

21 1412 0400

первый сорт

21 1412 0430

второй сорт

21 1412 0440

Азот жидкий особой чистоты:

21 1412 0500

первый сорт

21 1412 0530

второй сорт

21 1412 0540

Азот газообразный повышенной чистоты:

21 1412 0700

первый сорт

21 1412 0730

второй сорт

21 1412 0740

Азот жидкий повышенной чистоты:

21 1412 0800

первый сорт

21 1412 0830

второй сорт

21 1412 0840

(Измененная редакция, Изм. № 2, 3).

2. ПРАВИЛА ПРИЕМКИ

2.1. Газообразный и жидкий азот принимается партиями. Партией считают однородный по своим качественным показателям азот одной сменной выработки, сопровождаемый одним документом о качестве, при этом при перевозке азота в цистернах или автореципиентах за партию принимается каждая цистерна или автореципиент.

Партией газообразного азота, транспортируемого по трубопроводу, считается любое количество азота, направляемого потребителю в течение 24 ч.

Каждая партия газообразного и жидкого азота должна сопровождаться документом о качестве, содержащим следующие данные:

наименование предприятия-изготовителя и его товарный знак;

наименование и сорт продукта;

номер партии;

дату изготовления;

объем газообразного азота в кубических метрах, массу жидкого азота в тоннах или килограммах (вычисленные в соответствии с рекомендуемым приложением 2);

результаты проведенных анализов или подтверждение о соответствии продукта требованиям настоящего стандарта;

обозначение настоящего стандарта;

номер цистерны жидкого азота.

(Измененная редакция, Изм. № 2).

2.2. Для проверки изготовителем качества газообразного азота, транспортируемого в баллонах, отбирают 2% баллонов от партии до 200 баллонов и пять баллонов от партии более 200 баллонов.

2.3. Для проверки изготовителем качества жидкого азота пробу отбирают от каждой транспортной цистерны номинальной вместимостью 10 м3 и более. При наполнении цистерн меньшей вместимостью или сосудов Дьюара пробу отбирают из стационарной емкости до наполнения партии или из разделительного аппарата до и после наполнения партии.

Объем пробы жидкого азота не должен быть менее 2,5 дм3.

2.4. Для проверки потребителем качества газообразного азота отбирают 2% баллонов от партии, но не менее двух баллонов при партии менее 100 баллонов.

Для проверки потребителем качества жидкого азота пробу отбирают от каждой транспортной цистерны или 10% единиц продукции.

2.5. Для проверки изготовителем и потребителем качества газообразного азота, транспортируемого в автореципиентах, пробу отбирают от каждого автореципиента.

2.6. Для проверки изготовителем и потребителем качества газообразного азота, транспортируемого по трубопроводу, пробу отбирают не менее одного раза за 24 ч.

2.7. При получении неудовлетворительных результатов анализа газообразного или жидкого азота хотя бы по одному из показателей должна проводиться повторная проверка на удвоенной выборке или удвоенном объеме проб от той же партии.

Результаты повторных анализов распространяются на всю партию.

3. МЕТОДЫ АНАЛИЗА

3.1. Методы отбора проб

3.1.1. Пробу газообразного азота из баллонов или автореципиента отбирают при давлении (14,7±0,5) МПа [(150±5) кгс/см2] или (19,6±1,0) МПа [(200±10) кгс/см2].

Пробу газообразного азота из баллона, автореципиента или трубопровода отбирают непосредственно в прибор для анализа. Соединительные трубки от места отбора пробы до прибора должны быть продуты не менее чем десятикратным объемом анализируемого азота.

Пробу газообразного азота из трубопровода отбирают с помощью газоотборной трубки из нержавеющей стали или другого коррозионно-стойкого материала с внутренним диаметром не менее 5 мм, введенной в трубопровод на глубину 1/3 его диаметра.

Пробу газообразного азота для определения объемной доли водяных паров отбирают через трубку из нержавеющей стали, предварительно высушенную в сушильном шкафу.

(Измененная редакция, Изм. № 3).

3.1.2. Пробу жидкого азота отбирают в установку (черт. 1), которая включает криогенный сосуд типа СК-6, рассчитанный на давление 0,03 МПа (0,3) (кгс/см2), с крышкой, снабженной двумя трубками, одна из которых доходит до дна сосуда, вторая - короткая, закрыта зажимом, и змеевиковый испаритель, изготовленный из трубки из нержавеющей стали длиной 500 мм с внутренним диаметром 1,5 мм, погруженный в сосуд с водой, или непосредственно в прибор для анализа через испаритель. Испаритель присоединяют к открытому вентилю емкости с жидким азотом после появления в нем капель жидкого азота.

1 - трубка резиновая с зажимом; 2 - медная трубка 6 ´ 1 мм; 3 крышка; 4 - трубка резиновая; 5 - прокладка; 6 - испаритель; 7 - трубка из нержавеющей стали 3 ´ 0,7 мм; 8 - криогенный сосуд; 9 - сосуд с водой

Черт. 1

Перед отбором пробы криогенный сосуд охлаждают небольшим количеством (50-100 см3) анализируемого продукта. Неиспарившийся остаток жидкости выливают из сосуда и сразу вливают в него пробу жидкого азота, заполняя сосуд примерно на 1/2 объема.

При открытом зажиме закрывают криогенный сосуд крышкой и присоединяют к нему испаритель, погруженный в сосуд с нагретой водой (50-60)°С. Короткую трубку присоединяют к баллону с газообразным азотом, открытием редукционного вентиля которого регулируют скорость поступления жидкого азота в испаритель.

Пробу жидкого азота для определения содержания механических примесей, влаги и масла отбирают в стеклянную колбу вместимостью 1000 см3.

(Измененная редакция, Изм. № 2, 3).

3.2. Определение объемной доли азота

Объемную долю азота (X) в процентах вычисляют по разности между 100 и содержанием примесей

Х= 100 - (X1 + X2 + X3 + X4),

где   Х1 - объемная доля кислорода, %;

X2 - объемная доля водяного пара, %;

Х3 - объемная доля водорода, %;

X4 - объемная доля суммы углеродсодержащих соединений в пересчете на СО2, %;

Примечание. При определении объемной доли азота в газообразном техническом азоте 1-го сорта объемную долю водяного пара не учитывают.

(Измененная редакция, Изм. № 2, 3).

3.3. Определение объемной доли кислорода в количестве до 0,5 %

Объемную долю кислорода определяют колориметрическим методом, основанным на окислении одновалентной меди в двухвалентную. При этом бесцветный раствор медноаммиачного комплекса одновалентной меди окрашивается в синий цвет.

3.3.1. Аппаратура, реактивы и растворы:

колба 1-1000-2 по ГОСТ 1770-74;

бюретки 6-2-1 и 6-2-5 по ГОСТ 20292-74;

пипетка 2-1-10 по ГОСТ 20292-74 или других типов вместимостью 10 см3;

пипетка 2-1-25 по ГОСТ 20292-74 или других типов вместимостью 25 см3;

пипетка 1-1-2 по ГОСТ 20292-74 или других типов вместимостью 2 см3;

цилиндр 1-250 по ГОСТ 1770-74;

весы лабораторные общего назначения с наибольшим пределом взвешивания 200 г 2-го класса точности;

аммиак водный по ГОСТ 3760-79, растворы с массовой долей 25 и 4%;

аммоний хлористый по ГОСТ 3773-72;

аргон газообразный по ГОСТ 10157-79;

азот газообразный особой чистоты по настоящему стандарту;

вода дистиллированная по ГОСТ 6709-72;

калий йодистый по ГОСТ 4232-74, раствор с массовой долей 10%;

кислота уксусная по ГОСТ 61-75, х. ч., ледяная;

крахмал по ГОСТ 10163-76, раствор с массовой долей 1%;

натрий серноватистокислый (тиосульфат натрия) 5-водный по ГОСТ 27068-86, раствор концентрации с (Na2S2O3 . 5H2O) =0,05 моль/дм3;

Проволока медная круглая электротехническая типа ММ, диаметром 0,8-2,5 мм;

медь однохлористая по ГОСТ 4164-79;

смазка для кранов;

аммиачный раствор однохлористой меди, готовят из расчета 12 г однохлористой меди, 36 г хлористого аммония, 145 см3 раствора аммиака с массовой долей 25 % на 1000 см3 воды. Раствор готовят в бутыли вместимостью 5-10 дм3, заполненной спиралями из медной проволоки. В бутыль наливают воду и раствор аммиака, затем вносят навески хлористого аммония и однохлористой меди. Бутыль закрывают пробкой с двумя отводными трубками, одна из которых доходит до дна бутыли, вторая - короткая, не погружена в раствор.

Раствор продувают через длинную трубку аргоном или азотом особой чистоты до полного растворения солей и обесцвечивания раствора. После этого раствор защищают от доступа воздуха с помощью резиновой камеры, заполненной инертным газом, или другими способами;

медь сернокислая по ГОСТ 4165-78, 0,05 моль/дм3 раствор, готовят следующим образом: 12,484 г свежеперекристаллизованной сернокислой меди растворяют в воде в колбе вместимостью 1000 см3. Для проверки титра переносят 25 см3 приготовленного раствора в коническую колбу, прибавляют 2-3 см3 уксусной кислоты и 10 см3 раствора йодистого калия. Выделившийся йод оттитровывают раствором тиосульфата натрия; в конце титрования (бледно-желтая окраска раствора) прибавляют 2-3 см3 крахмала и титруют до исчезновения синей окраски.

Поправочный коэффициент (K1) для раствора сернокислой меди вычисляют по формуле

,

где V1 - объем раствора тиосульфата натрия концентрации точно 0,05 моль/дм3, см3;

25 - объем раствора сернокислой меди, взятый для анализа, см3.

Образцовые растворы колориметрической шкалы готовят в пробирках (черт. 2). В каждую пробирку наливают раствор сернокислой меди в количествах, указанных в табл. 2, и затем доводят объем раствора до 25 см3 раствором аммиака с массовой долей 4%.

Срок годности образцовых растворов - шесть месяцев.

Черт. 2

Таблица 2

Номер образцового раствора

Объем раствора сернокислой меди концентрации точно 0,05 моль/дм3, см3

Объем кислорода в пробе, соответствующий окраске раствора,

см3

Номер образцового раствора

Объем раствора сернокислой меди концентрации точно 0,05 моль/дм3, см3

Объем кислорода в пробе, соответствующий окраске раствора, см3

1

0,05

0,015

10

1,00

0,300

2

0,10

0,030

11

1,20

0,360

3

0,15

0,045

12

1,40

0,420

4

0,20

0,060

13

1,60

0,480

5

0,25

0,075

14

1,80

0,540

6

0,35

0,105

15

2,00

0,600

7

0,45

0,135

16

2,40

0,720

8

0,65

0,195

17

2,80

0,840

9

0,85

0,255

18

3,20

0,960

Примечание. Объем кислорода, эквивалентный 1 см3 раствора сернокислой меди концентрации 0,05 моль/дм3, равен

 при 20°С и 101,3 кПа (760 мм рт. ст.).

Если концентрация раствора сернокислой меди не точно 0,05 моль/дм3, то значения, приведенные в графах 3 и 6, умножают на коэффициент K1.

(Измененная редакция, Изм. № 2, 3).

3.3.2. Описание прибора

Установка для определения кислорода (черт. 3) состоит из сосуда для анализа, бутыли со стеклянным сифоном для аммиачного раствора однохлористой меди и пробирок с образцовыми растворами.

I - промывка поглотительным раствором крана и коммуникаций; II - ввод раствора в объем Б; III - кран закрыт.

1 - кран серповидный; 2, 4, 6 - краны одноходовые; 3 - сосуд для анализа; 5 - сифон; 7 - камера резиновая, заполненная инертным газом; 8 - бутыль с поглотительным раствором.

Черт. 3

Сосуд для анализа типа СВ-7631М (черт. 4) имеет два объема А и Б, разделенные двухходовым краном 2, снабженным отростком для присоединения к месту отбора пробы, и одноходовым краном 1 для введения в сосуд поглотительного раствора. Вместимость объема А от 100 до 5000 см3; вместимость объема Б около 25 см3.

Сосуд 3 (черт. 3) имеет серповидный кран 1 для введения поглотительного раствора в объем Б и кран 2 для присоединения к месту отбора пробы. Объемы А и Б соединены трубкой небольшого диаметра с круговой меткой, ограничивающей вместимость объема Б около 25 см3.

Вместимость объема А для сосудов всех типов определяют с погрешностью не более 0,1 см3 по объему воды или ее массе.

I - соединение сосуда А с атмосферой; II - кран закрыт;

III - соединение сосуда А с сосудом Б;

1 - одноходовой кран; 2 - двухходовой кран.

Черт. 4

В зависимости от объемной доли кислорода в анализируемом азоте используют сосуды вместимостью:

около 100 см3 - для газообразного и жидкого азота с объемной долей кислорода до 0,5 %;

не менее 1000 см3 - для газообразного азота с объемной долей кислорода до 0,005%;

не менее 5000 см3 - для газообразного и жидкого азота с объемной долей кислорода до 0,001%.

(Измененная редакция, Изм. № 2).

3.3.3. Проведение анализа

Краны 1 и 2 открывают и присоединяют сосуд для анализа к месту отбора пробы. Продувают сосуд не менее чем десятикратным объемом анализируемого газа.

Уменьшив поток газа, закрывают кран 1, затем кран 2 и отсоединяют сосуд от места отбора пробы.

Давление газа в сосуде выравнивают с атмосферным быстрым поворотом крана 2, кончик которого предварительно погружают в воду. Отмечают барометрическое давление и температуру помещения.

Заполняют объем Б через кран 1 раствором однохлористой меди, предварительно сливая из сифона первую порцию раствора. Закрывают кран 1.

Подбирают образцовый раствор равной окраски с окраской раствора в объеме Б.

Раствор однохлористой меди переливают в объем А. Энергично встряхивают сосуд до полного поглощения раствором кислорода из анализируемого газа.

Возвращают раствор в объем Б и подбирают образцовый раствор равной окраски с окраской раствора в объеме Б.

(Измененная редакция, Изм. № 3).

3.3.4. Обработка результатов

Объемную долю кислорода (X1) в процентах вычисляют по формуле

,

где V2 - объем кислорода, соответствующий выбранному образцовому раствору до поглощения кислорода, см3;

V3 - объем кислорода, соответствующий выбранному образцовому раствору после поглощения кислорода, см3;

Vп - объем газа, взятый для анализа, см3, приведенный к 20°С и 101,3 кПа по формуле

Vп =V . K2,

где   V - объем газа, взятый для анализа, равный вместимости объема А, см3;

К2 - коэффициент для приведения объема сухого газа к 20°С и 101,3 кПа, указанный в табл. 3.

,

где V4 - объем газа, взятый для анализа, см3, равный общей вместимости сосуда для анализа, включающей объемы А, Б и внутренний объем трубки для отбора пробы до крана 2.

За результат анализа принимают среднее арифметическое результатов двух параллельных определений, расхождение между которыми не должно превышать допускаемое расхождение, равное 15 %.

Допускаемая относительная суммарная погрешность результата анализа ±30 % при доверительной вероятности 0,95.

Таблица 3

Температура, ºC

Показания барометра, кПа (мм рт. ст.)

93,3

(700)

94,6

(710)

96,0

(720)

97,2

(730)

98,2

(740)

100,0

(750)

101,3

(760)

102,6

(770)

Коэффициент K2

10

0,953

0,967

0,980

0,933

1,007

1,021

1,035

1,049

12

0,946

0,960

0,974

0,985

1,000

1,014

1,028

1,042

14

0,940

0,954

0,967

0,979

0,993

1,007

1,021

1,035

16

0,934

0,947

0,960

0,972

0,986

1,000

1,014

1,028

18

0,927

0,940

0,954

0,966

0,979

0,993

1,007

1,021

20

0,921

0,934

0,947

0,959

0,973

0,987

1,000

1,014

22

0,915

0,928

0,941

0,952

0,966

0,980

0,993

1,007

24

0,908

0,921

0,934

0,946

0,960

0,973

0,986

1,000

26

0,903

0,916

0,928

0,940

0,953

0,966

0,979

0,993

28

0,896

0,909

0,922

0,933

0,947

0,960

0,973

0,987

30

0,890

0,903

0,916

0,927

0,941

0,954

0,967

0,980

32

0,885

0,897

0,910

0,921

0,934

0,947

0,961

0,974

34

0,879

0,891

0,904

0,915

0,928

0,941

0,954

0,967

35

0,876

0,889

0,901

0,912

0,925

0,938

0,951

0,964

Допускается определение объемной доли кислорода в газообразном азоте, транспортируемом по трубопроводу, промышленными автоматическими газоанализаторами непрерывного действия по ГОСТ 13320-81. Погрешность измерения не должна превышать 10 отн. %.

Объемную долю кислорода допускается определять многошкальными приборами с гальванической ячейкой с твердым электролитом с относительной погрешностью измерений не выше 10 %. При этом объемная доля водорода и горючих примесей в анализируемом азоте не должна превышать 1 % от измеряемой объемной доли кислорода.

При разногласиях в оценке объемной доли кислорода определение проводить по методу, изложенному в п. 3.3.

(Измененная редакция, Изм. № 2, 3).

3.4. Определение объемной доли кислорода в количестве свыше 0,5 %

Объемную долю кислорода определяют абсорбционным методом по изменению объема пробы азота после поглощения кислорода щелочным раствором пирогаллола.

3.4.1. Реактивы, растворы и приборы:

вода дистиллированная по ГОСТ 6709-72;

поглотительный раствор, готовят следующим образом: 44 г пирогаллола «А», растворяют в 132 см3 водного раствора гидроокиси калия с массовой долей 37%; раствор наливают в поглотительный сосуд газоанализатора и заливают тонким слоем вазелинового масла;

калия гидроокись, водный раствор с массовой долей 37%;

ланолин безводный;

масло вазелиновое;

жидкость запирающая, готовят растворением 61 г натрия сернокислого кристаллического по ГОСТ 4171-76 или 27 г натрия сернокислого безводного по ГОСТ 4166-76 и 10 г серной кислоты в 108 см3 воды. Жидкость подкрашивают добавлением нескольких капель раствора метилового оранжевого;

метиловый оранжевый (индикатор) 0,1%-ный водный раствор;

кислота серная по ГОСТ 4204-77;

газоанализатор химический типа КГА;

цилиндр 1-250 по ГОСТ 1770-74;

весы лабораторные общего назначения с наибольшим пределом взвешивания 200 г 2-го класса точности.

(Измененная редакция, Изм. № 2, 3).

3.4.2. Проведение анализа

Анализ на приборе типа КГА проводят по ГОСТ 5439-76, при этом используют один поглотительный сосуд, заполненный щелочным раствором пирогаллола.

(Новая редакция, Изм. № 3).

3.4.3. Обработка результатов

Объемную долю кислорода (X1) в процентах вычисляют по формуле

X1=100 - V,

где 100 - первоначальный объем азота, см3;

V - объем непоглощенных газов, см3.

За результат анализа принимают среднее арифметическое результатов двух параллельных определений, абсолютное расхождение между которыми не превышает допускаемое расхождение, равное 0,2%.

Допускаемая абсолютная суммарная погрешность результата анализа ±0,2% при доверительной вероятности 0,95.

Допускается определение содержания кислорода в газообразном азоте, транспортируемом по трубопроводу и наполняемом в баллоны или автореципиенты промышленными автоматическими газоанализаторами непрерывного действия по ГОСТ 13320-81. Погрешность измерения не должна превышать 10 % отн.

При разногласиях в оценке объемной доли кислорода определение проводить по методу, изложенному в п. 3.4.

(Измененная редакция, Изм. № 2, 3).

3.5. Определение объемной доли водяного пара в газообразном азоте

3.5.1. Аппаратура

Влагомеры газов кулонометрические, рассчитанные на измерение микроконцентраций водяного пара (типа «Байкал-3» и др.), с относительной погрешностью измерения не выше 10 % в области измерений от 0 до 20 млн-1 (ppm) и не выше 5% при более высоких концентрациях.

3.5.2. Проведение анализа

Кулонометрический метод основан на непрерывном количественном извлечении водяного пара из испытуемого газа гигроскопичным веществом и одновременном электролитическом разложении извлекаемой воды на водород и кислород, при этом ток электролиза является мерой концентрации водяного пара.

Прибор соединяют с точкой отбора трубкой из нержавеющей стали. Расход газа устанавливают (50±1) см3/мин. Переключатель диапазонов измерения устанавливают так, чтобы показания прибора были в пределах второй трети измерительной шкалы, градуированной в миллионных долях (ppm). Ток электролиза измеряется микроамперметром.

Температура баллона с анализируемым газом должна быть не ниже 15ºС. Анализ проводят по инструкции, прилагаемой к прибору.

3.5.3. Обработка результатов

Объемную долю водяного пара (X3) в млн-1 определяют в соответствии с установившимися показаниями прибора.

Допускается определять объемную долю водяного пара конденсационным методом, приведенным в приложении 1.

При разногласиях в оценке объемной доли водяного пара анализ проводят кулонометрическим методом.

(п. 3.5 новая редакция, Изм. № 3).

3.6. Определение содержания капельной влаги в газообразном азоте 2-го сорта

Баллон, наполненный азотом, устанавливают вентилем вниз и через 10 мин приоткрывают вентиль. При этом в вентиле не должна появляться вода.

(Измененная редакция, Изм. № 2).

3.7. Определение содержания масла в газообразном азоте

3.7.1. Материалы, и приборы:

вата медицинская гигроскопическая по ГОСТ 5556-81;

трубка стеклянная длиной 10-11 см, диаметром 1,6 см с оттянутым концом;

трубка стеклянная диаметром 0,5-0,6 см;

реометр типа РДС по ГОСТ 9932-75 или счетчик газовый барабанный типа РГ-700.

(Измененная редакция, Изм. № 3).

3.7.2. Проведение анализа

100 см3 азота пропускают со скоростью 2-3 дм3/мин через стеклянную трубку диаметром 1,6 см, в которую вложен тампон из гигроскопической ваты. Узкий конец трубки длиной 2-3 см, диаметром 0,5-0,6 см соединяют резиновой трубкой с реометром или счетчиком газа. Второй широкий конец трубки закрывают резиновой пробкой со вставленной в нее стеклянной трубкой диаметром 0,5-0,6 см, которую присоединяют к баллону с азотом.

Газообразный азот соответствует требованиям настоящего стандарта, если на тампоне не образуется масляного пятна.

3.8. Определение содержания масла, механических примесей и влаги в жидком азоте

3.8.1. Посуда и реактивы:

колбы по ГОСТ 25336-82, вместимостью 1000 см3;

цилиндры мерные по ГОСТ 1770-74, вместимостью 10 см3;

пробирки по ГОСТ 25336-82, вместимостью 20 см3;

часы песочные на 5 мин;

вода дистиллированная по ГОСТ 6709-72;

кислота уксусная по ГОСТ 61-75, х. ч., ледяная;

эфир этиловый.

(Измененная редакция, Изм. № 3).

3.8.2. Проведение анализа

В сухую обезжиренную колбу наливают 1 дм3 азота. Медленно испаряют азот и отогревают колбу до комнатной температуры. На внутренней поверхности колбы не должно быть твердых частиц и капель воды.

Для определения содержания масла наливают в колбу последовательно 2 см3 эфира и 2 см3 уксусной кислоты, смывают дно и стенки колбы и выливают раствор в пробирку для анализа. Затем к раствору добавляют 5 см3 воды.

В контрольную пробирку наливают 8 см3 воды. Через 5 мин сравнивают мутность раствора и воды на черном фоне. При отсутствии масла прозрачность раствора должна соответствовать прозрачности воды в контрольной пробирке.

3.9. Определение объемной доли водорода

3.9.1. Аппаратура

Многошкальные газоанализаторы с гальванической ячейкой с твердым электролитом типа «Лазурит» или другие с относительной погрешностью не выше 10%.

3.9.2. Проведение анализа

Принцип работы газоанализатора основан на реакции взаимодействия водорода с кислородом в реакторе при высокой температуре в присутствии катализатора, измерении с помощью кулономерического чувствительного элемента количества образовавшейся в результате этой реакции влаги и последующем определении остаточного количества водорода с помощью твердоэлектролитного чувствительного элемента.

Подготовка к анализу и его проведение выполняются согласно инструкции по эксплуатации прибора.

3.9.3. Обработка результатов

Объемную долю водорода (X3) в процентах определяют в соответствии с установившимися показаниями прибора.

Объемную долю водорода допускается определять газоадсорбционным хроматографическим методом с применением хроматографа с высокочувствительным детектором по теплопроводности с порогом чувствительности по водороду не выше 0,2 млн-1.

За результат анализа принимают среднее арифметическое результатов трех параллельных определений, расхождение между наиболее отличающимися значениями которых не должно превышать допускаемое расхождение, равное 15%.

При разногласиях в оценке объемной доли водорода анализ проводят на газоанализаторе типа «Лазурит».

3.10. Определение объемной доли суммы углеродсодержащих соединений

Объемную долю суммы углеродсодержащих соединений в пересчете на CH4 определяют газохроматографическим методом с предварительным гидрированием окиси и двуокиси углерода.

3.10.1. Аппаратура, материалы и реактивы

хроматограф с пламенно-ионизационным детектором с порогом чувствительности по пропану не выше 2,5.10-8 мг/с;

реактор-трубка из нержавеющей стали диаметром от 3 до 5 мм, длиной 100-300 мм, наполненная катализатором, помещенная в печь, рассчитанную на нагревание до 500 °С;

вспомогательное оборудование для хроматографического анализа;

лупа измерительная по ГОСТ 25706-83, 16Х, с ценой деления 1 мм;

линейка металлическая по ГОСТ 427-75;

набор сит типа СП-200 или сита аналогичного типа;

шприцы медицинские инъекционные типа Рекорд по ГОСТ 22967-90 вместимостью 1; 10 см3;

секундомер механический;

расходомер пенный;

азот по настоящему стандарту газообразный «особой чистоты» дополнительно очищенный от углеродсодержащих соединений до объемной доли не более 0,0001 %;

водород технический по ГОСТ 3022-80 марки А и Б, дополнительно очищенный от углеродсодержащих соединений до объемной доли не более 0,0001 %;

воздух сжатый по ГОСТ 17433-80, класс загрязненности не выше 2-го;

метан газообразный чистый с объемной долей основного вещества не менее 99,6 %;

азот жидкий технический по настоящему стандарту;

никель (II) азотнокислый 6-водный по ГОСТ 4055-78;

окись меди по ГОСТ 16539-79;

ангидрон;

силикагель технический мелкопористый по ГОСТ 3956-76, фракция с частицами размером 0,5-1 мм;

цеолит синтетический СаХ или NaX фракция с частицами размером от 0,25 до 0,6 мм;

смеси поверочные газовые с объемной долей метана в воздухе 2,5 млн-1 и 7,5 млн-1 - ГСО № 3896-87; 10 млн-1 - ГСО № 3897-87 по Госреестру;

смесь поверочная газовая с объемной долей двуокиси углерода в азоте 15 млн-1, 20 млн-1, 25 млн-1 - ГСО 3744-87; 50 млн-1 - ГСО 3746-87 по Госреестру;

вода дистиллированная по ГОСТ 6709-72.

3.10.2. Подготовка к анализу

Устанавливают в хроматографе газохроматографическую колонку, не заполненную адсорбентом (длиной не более 1м).

Катализатор для наполнения реактора готовят следующим образом. Высушивают силикагель при 180-200 °С в течение 4 ч в сушильном шкафу, помещают в фарфоровую чашку и заливают раствором азотнокислого никеля (на 20 г адсорбента около 10 г Ni(NO3)2. 6H2O), растворенного в воде. Адсорбент должен быть полностью погружен в раствор. Избыток растворителя выпаривают. Массу прокаливают при температуре 600-800 °C до прекращения выделения окислов азота, затем охлаждают, наполняют реактор, присоединяют его к хроматографу и восстанавливают образовавшуюся окись никеля до металлического никеля в токе водорода (расход 60 см3/мин) при 400-500 °С в течение 4 ч.

Активность катализатора проверяют с помощью поверочной газовой смеси двуокиси углерода в азоте. В реакторе, присоединенном с помощью тройника к газохроматографической колонке (на выходе газа), двуокись углерода гидрируют водородом при 450-500 °C до метана. Пик метана фиксируется пламенно-ионизационным детектором. По высоте пика метана определяют объемную долю двуокиси углерода и сравнивают ее с номинальным содержанием двуокиси углерода в смеси. Допускаемое расхождение результатов - не более 5 %.

Дополнительную очистку водорода проводят в двух колонках, первая из которых наполнена ангидроном, вторая - высушенным и прокаленным синтетическим цеолитом. Вторая колонка охлаждается жидким азотом. Дополнительная очистка азота - окисью меди при температуре 700-750 °C с последующим удалением влаги и двуокиси углерода в двух колонках, как указано выше.

3.10.3. Градуировка хроматографа

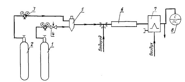
Хроматографическую установку (черт. 5) градуируют методом абсолютной градуировки, используя для этого поверочные газовые смеси. По хроматограммам поверочных газовых смесей строят градуировочный график зависимости высоты пика метана в миллиметрах, приведенной к чувствительности регистратора M1, от объемной доли метана в процентах.

1 - баллон с анализируемый газом; 2 - баллон с газом-носителем; 3 - редуктор баллона; 4 - вентиль тонкой регулировки; 5 - дозатор; 6 - газохроматографическая колонка; 7 - реактор; 8 - детектор пламенно-ионизационный; 9 - измерительный прибор

Черт. 5

Условия градуировки следующие: расход газа-носителя азота - 30-60 см3/мин, водорода - 30-40 см3/мин, воздуха - 250-300 см3/мин, доза градуировочной смеси - 1-2 см3. Чувствительность регистратора устанавливают опытным путем в зависимости от состава градуировочной смеси и типа хроматографа.

Градуировочный график строят по средним значениям высоты пиков метана, рассчитанных по результатам не менее трех параллельных определений.

Градуировку проверяют один раз в три месяца.

3.10.4. Проведение анализа

Пробу анализируемого газа вводят в хроматограф с помощью дозатора. Температура реактора 450-500 °С. Расход газа-носителя, водорода и воздуха должен быть идентичен принятому при градуировке прибора.

Чувствительность регистратора выбирают такой, чтобы пик определяемой примеси был максимальным в пределах диаграммной ленты регистратора.

3.10.5. Обработка результатов

Объемную долю суммы углеродсодержащих соединений в пересчете на CH4 (Х4) в процентах определяют по градуировочному графику по высоте пика метана, приведенной к чувствительности регистратора M1.

За результат анализа принимают среднее арифметическое результатов трех параллельных определений, расхождение между наиболее отличающимися значениями которых не превышает допускаемое расхождение, равное 15 %.

Допускаемая относительная суммарная погрешность результата анализа ±25 % при доверительной вероятности 0,95.

(п.п. 3.9, 3.10 новая редакция, Изм. № 3).

3.11. Объемную долю кислорода и суммы углеродсодержащих соединений в пересчете на СH4 допускается определять газоадсорбционным хроматографическим методом с применением хроматографа с высокочувствительным детектором с порогом чувствительности по каждой определяемой примеси не выше 0,1 ppm.

(Измененная редакция, Изм. № 2, 3).

4. УПАКОВКА, МАРКИРОВКА, ТРАНСПОРТИРОВАНИЕ И ХРАНЕНИЕ

4.1. Упаковка, маркировка, транспортирование и хранение газообразного и жидкого технического азота, азота повышенной чистоты и азота особой чистоты - по ГОСТ 26460-85, при этом:

номинальное давление азота при 20°С в баллонах и автореципиентах (15,0±0,5) МПа (150±5) кгс/см2) или (20,0±1,0) МПа (200±10) кгс/см2);

(Измененная редакция, Изм. № 2, 3).

4.2-4.6. (Исключены, Изм. № 2).

5. ГАРАНТИИ ИЗГОТОВИТЕЛЯ

5.1. Изготовитель гарантирует соответствие качества газообразного и жидкого азота требованиям настоящего стандарта при соблюдении условий хранения и транспортирования.

5.2. Гарантийный срок хранения газообразного азота - 18 мес. со дня изготовления продукта.

5.1-5.2. (Измененная редакция, Изм. № 2).

6. ТРЕБОВАНИЯ БЕЗОПАСНОСТИ

6.1. Азот нетоксичен, невзрывоопасен.

6.2. Накопление газообразного азота вызывает явление кислородной недостаточности и удушья. Содержание кислорода в воздухе рабочей зоны должно быть не менее 19% (по объему).

6.3. Жидкий азот - низкокипящая жидкость, которая может вызвать обмораживание кожи и поражение слизистой оболочки глаз. При отборе проб жидкого азота необходимо работать в защитных очках.

6.4. При повышении в жидком азоте содержания кислорода до 30% (по объему) (например, в результате испарения жидкого азота) возможно образование пожаро-, взрывоопасных смесей с органическими веществами. Поэтому в ваннах или других открытых сосудах, предназначенных для проведения работ в среде жидкого азота, присутствие масел, органических растворителей и других пожаро-, взрывоопасных веществ недопустимо.

Перед использованием и проведением работ с применением жидкого азота должна проводиться проверка содержания в нем кислорода.

Слив жидкого азота должен проводиться в специально отведенных местах, не имеющих покрытий из асфальта, дерева или других органических материалов.

6.5. Перед проведением ремонтных работ или освидетельствованием бывшей в эксплуатации транспортной или стационарной емкости жидкого азота ее необходимо отогреть до температуры окружающей среды и продуть воздухом.

Начинать работать разрешается только после того, как содержание кислорода внутри цистерны и оборудования будет не менее 19% (по объему).

6.6. При работе в атмосфере азота необходимо пользоваться изолирующим кислородным прибором или шланговым противогазом.

ПРИЛОЖЕНИЕ 1
Рекомендуемое

ОПРЕДЕЛЕНИЕ ОБЪЕМНОЙ ДОЛИ ВОДЯНОГО ПАРА КОНДЕНСАЦИОННЫМ МЕТОДОМ

1. Объемную долю водяного пара определяют приборами конденсационного типа с пороговой чувствительностью не выше 1,5 млн-1.

Относительная погрешность прибора не должна превышать 10 %.

Метод основан на измерении температуры насыщения газа водяным паром при появлении росы на охлажденной зеркальной поверхности.

Анализ проводят по инструкции, приложенной к прибору.

Объемную долю водяного пара в соответствии с найденной температурой насыщения определяют по таблице.

Объемная доля водяного пара,

млн-1 (ppm)

Температура насыщения, ºC

Объемная доля водяного пара,

млн-1 (ppm)

Температура насыщения, ºC

2,55

-70

23,4

 -54

3,44

-68

31,1

-52

4,60

-66

39,4

-50

6,10

-64

49,7

-48

8,07

-62

63,2

-46

10,6

-60

80

-44

14,0

-58

101

-42

18,3

-56

127

-40

Примечание. Объемная доля, равная 1 млн-1, соответствует 1. 10-4 %.

(Измененная редакция, Изм. № 3).

ПРИЛОЖЕНИЕ 2
Рекомендуемое

ОПРЕДЕЛЕНИЕ КОЛИЧЕСТВА АЗОТА, ОТПУСКАЕМОГО ПОТРЕБИТЕЛЮ

1. Объем газообразного азота в стальном баллоне (Vп) в м3 при 20°С и 101,3 кПа вычисляют по формуле

Vп =K . Vб ,

где Vб - вместимость баллона, дм3. В расчетах принимается среднестатистическая величина вместимости баллонов не менее чем из 100 шт.;

К - коэффициент для вычисления объема газа в баллоне, учитывающий сжимаемость азота, давление и температуру газа в баллоне, вычисляют по формуле

,

где Р - давление газа в баллоне, измеренное манометром, кгс/см2;

0,968 - коэффициент пересчета технических атмосфер (кгс/см2) в физические атмосферы;

t - температура газа в баллоне при измерении давления, °С;

Z - коэффициент сжимаемости азота при температуре t°С, указанный в таблице.

Давление, МПа, (кгс/см2)

Температура, °С

-50

-25

0

20

25

50

Коэффициент сжимаемости азота

10(100)

0,905

0,918

0,985

1,001

1,005

1,018

14,5(145)

0,93

0,95

1,001

1,02

1,023

1,037

20,4 (200)

0,958

0,968

1,035

1,053

1,06

1,076

Например, при поставке газообразного азота в баллонах по ГОСТ 949-73 вместимостью 40 дм3 количество газа в баллоне при рабочем давлении 150 кгс/см2 при 20°С составляет

.

2. Количество жидкого азота, отпускаемого потребителю в транспортных цистернах, определяют по указателю уровня жидкого азота (УЖА) в тоннах.

При переводе массы жидкого азота в м3 газообразного азота при 20°С и 101,3 кПа пользуются формулой

,

где т - масса жидкого азота, т;

1,165 - плотность газообразного азота, кг/м3.

Приложение 3 - исключено.

(Измененная редакция, Изм. № 3).

СОДЕРЖАНИЕ

 




Rambler's Top100 Яндекс цитирования
  Copyright © 2008-2026, www.docload.ru