Бесплатная библиотека стандартов и нормативов www.docload.ru

Все документы, размещенные на этом сайте, не являются их официальным изданием и предназначены исключительно для ознакомительных целей.
Электронные копии этих документов могут распространяться без всяких ограничений. Вы можете размещать информацию с этого сайта на любом другом сайте.
Это некоммерческий сайт и здесь не продаются документы. Вы можете скачать их абсолютно бесплатно!
Содержимое сайта не нарушает чьих-либо авторских прав! Человек имеет право на информацию!

 

ГОСТ 12345-2001
(ИСО 671-82, ИСО 4935-89)

МЕЖГОСУДАРСТВЕННЫЙ СТАНДАРТ

СТАЛИ ЛЕГИРОВАННЫЕ
И ВЫСОКОЛЕГИРОВАННЫЕ

Методы определения серы

МЕЖГОСУДАРСТВЕННЫЙ СОВЕТ
ПО СТАНДАРТИЗАЦИИ, МЕТРОЛОГИИ И СЕРТИФИКАЦИИ

Минск

Предисловие

1 РАЗРАБОТАН Российской Федерацией, Межгосударственным техническим комитетом по стандартизации МТК 145 «Методы контроля металлопродукции»

ВНЕСЕН Госстандартом России

2 ПРИНЯТ Межгосударственным Советом по стандартизации, метрологии и сертификации (протокол № 19 от 24 мая 2001 г.)

За принятие проголосовали:

Наименование государства

Наименование национального органа по стандартизации

Азербайджанская Республика

Азгосстандарт

Республика Армения

Армгосстандарт

Республика Беларусь

Госстандарт Республики Беларусь

Республика Казахстан

Госстандарт Республики Казахстан

Кыргызская Республика

Кыргызстандарт

Республика Молдова

Молдовастандарт

Российская Федерация

Госстандарт России

Республика Таджикистан

Таджикстандарт

Туркменистан

Главгосслужба «Туркменстандартлары»

Республика Узбекистан

Узгосстандарт

Украина

Госстандарт Украины

3 Приложение А настоящего стандарта соответствует международному стандарту ИСО 671-82 «Сталь и чугун. Определение массовой доли серы титриметрическим методом после сжигания навески пробы» в части области распространения и отбора проб.

Приложение Б настоящего стандарта соответствует международному стандарту ИСО 4935-89 «Сталь и чугун. Определение массовой доли серы методом инфракрасной абсорбционной спектроскопии после сжигания навески пробы в индукционной печи» в части области распространения и отбора проб.

4 Постановлением Государственного комитета Российской Федерации по стандартизации и метрологии от 28 августа 2001 г. № 356-ст межгосударственный стандарт ГОСТ 12345-2001 введен в действие непосредственно в качестве государственного стандарта Российской Федерации с 1 марта 2002 г.

5 ВЗАМЕН ГОСТ 12345-88

СОДЕРЖАНИЕ

1 Область применения. 2

2 Нормативные ссылки. 2

3 Общие требования. 2

4 Титриметрический йодид-йодатный метод определения серы.. 2

5 Тетраборатный метод определения серы.. 6

6 Кулонометрический метод определения серы.. 9

7 Инфракрасно-абсорбционный метод определения серы.. 10

Приложение А Сталь и чугун. Определение массовой доли серы титриметрическим методом после сжигания навески пробы (ИСО 671-82) 10

Приложение Б Сталь и чугун. Определение массовой доли серы методом инфракрасной абсорбционной спектроскопии после сжигания навески пробы в индукционной печи (ИСО 4935-89) 14

Приложение В Технические особенности индукционных печей и инфракрасных анализаторов, изготовляемых для определения серы.. 18

ГОСТ 12345-2001
(ИСО 671-82, ИСО 4935-89)

МЕЖГОСУДАРСТВЕННЫЙ СТАНДАРТ

СТАЛИ ЛЕГИРОВАННЫЕ И ВЫСОКОЛЕГИРОВАННЫЕ

Методы определения серы

Alloyed and high-alloyed steels.
Methods of sulphur determination

Дата введения 2002-03-01

1 Область применения

Настоящий стандарт устанавливает титриметрические методы определения серы: йодид-йодатный и тетраборатный (при массовой доле серы от 0,002 % до 0,50 %) и методы определения серы, основанные на применении автоматических анализаторов: кулонометрический и инфракрасно-абсорбционный (при массовой доле серы от 0,001 % до 0,50 %) в легированных и высоколегированных сталях.

Допускается определение серы титриметрическим методом по международному стандарту ИСО 671-82, приведенным в приложении А, и методом инфракрасной спектроскопии по международному стандарту ИСО 4935-89, приведенным в приложении А.

2 Нормативные ссылки

В настоящем стандарте использованы ссылки на следующие стандарты:

ГОСТ 177-88 Водорода перекись. Технические условия

ГОСТ 546-88 (ИСО 431-81) Катоды медные. Технические условия

ГОСТ 859-2001 Медь. Марки

ГОСТ 2603-79 Ацетон. Технические условия

ГОСТ 3118-77 Кислота соляная. Технические условия

ГОСТ 4145-74 Калий сернокислый. Технические условия

ГОСТ 4199-76 Натрий тетраборнокислый 10-водный. Технические условия

ГОСТ 4202-75 Калий йодноватокислый. Технические условия

ГОСТ 4232-74 Калий йодистый. Технические условия

ГОСТ 4234-77 Калий хлористый. Технические условия

ГОСТ 4328-77 Натрия гидроокись. Технические условия

ГОСТ 5583-78 (ИСО 2046-73) Кислород газообразный технический и медицинский. Технические условия

ГОСТ 9147-80 Посуда и оборудование лабораторные фарфоровые. Технические условия

ГОСТ 10163-76 Крахмал растворимый. Технические условия

ГОСТ 13610-79 Железо карбонильное радиотехническое. Технические условия

ГОСТ 14261-77 Кислота соляная особой чистоты. Технические условия

ГОСТ 16539-79 Меди (II) оксид. Технические условия

ГОСТ 20490-75 Калий марганцовокислый. Технические условия

ГОСТ 24363-80 Калия гидроокись. Технические условия

ГОСТ 25336-82 Посуда и оборудование лабораторные стеклянные. Типы, основные параметры и размеры

ГОСТ 28473-90 Чугун, сталь, ферросплавы, хром, марганец металлические. Общие требования к методам анализа

3 Общие требования

Общие требования к методам анализа - по ГОСТ 28473.

4 Титриметрический йодид-йодатный метод определения серы

4.1 Сущность метода

Метод основан на сжигании навески стали в токе кислорода при температуре 1300 - 1400 °С в присутствии плавня с последующим поглощением сернистого газа водой и титрованием образующейся сернистой кислоты титрованным раствором смеси йодноватокислого калия и йодистого калия в присутствии индикатора крахмала.

4.2 Аппаратура

Установка для титриметрического йодид-йодатного метода определения серы (рисунок 1) состоит из баллона с кислородом или кислородопровода 1, снабженного редукционным вентилем и манометром для пуска и регулирования тока кислорода; склянки Тищенко 2, содержащей раствор марганцовокислого калия 40 г/дм3 в растворе гидроокиси калия или натрия 400 г/дм3; сушильной колонки 3, заполненной в нижней части натронной известью или натронным асбестом (аскаритом), а в верхней части - хлорнокислым магнием, для очистки кислорода сухим способом; ротаметра или газового счетчика 4; двухходового крана 5; огнеупорной муллитокремнеземистой трубки 6 внутренним диаметром 18 - 22 мм и длиной 650 - 800 мм, концы которой должны выступать из печи не менее чем на 200 мм с каждой стороны. Трубку закрывают металлическими затворами или хорошо подогнанными резиновыми пробками с отверстиями, в которые вставляют стеклянные трубки для подключения соединительных трубок. Для предотвращения обгорания резиновых пробок их внутреннюю поверхность закрывают асбестовыми прокладками, надетыми на концы стеклянных трубок.

Рисунок 1 - Установка для определения массовой доли серы йодид-йодатным методом

Чтобы удалить примесь серы из огнеупорной трубки, ее перед работой прокаливают при рабочей температуре по всей длине в трубчатой печи 7, обеспечивающей температурный нагрев до 1400 °С; термопары с регулятором 8 для регулирования температуры печи; фарфоровой неглазурованной лодочки 9 по ГОСТ 9147, предназначенной для сжигания навески и выдерживающей температуру до 1400 °С. Перед работой лодочку прокаливают при рабочей температуре в токе кислорода и хранят в эксикаторе по ГОСТ 25336. Шлиф крышки эксикатора не должен покрываться смазывающими веществами; трансформатора 10 для регулирования рабочего напряжения печи; стеклянной трубки 11 с расширением или хлоркальциевой трубки, заполненной стеклянной или обычной ватой, для очистки смеси газов, выходящих из печи, от механических примесей, образующихся при сжигании навески и уносимых из печи током кислорода; крана 12; микробюретки 13 или бюретки вместимостью 25 см3, содержащей титрованный раствор йодид-йодата калия; поглотительного сосуда 14; контрольного сосуда сравнения 15.

Поглотительный сосуд состоит из двух стеклянных сосудов (рисунок 2), соединенных двумя стеклянными палочками. В сосуде 1 протекает процесс поглощения и титрования двуокиси серы, в сосуде 2 находится раствор сравнения для контроля окраски раствора во время титрования. В сосуд 1 впаяна Г-образная стеклянная трубка диаметром 7 мм, оканчивающаяся барботером с поплавком, через который в поглотительный сосуд поступают газообразные продукты горения, образующиеся в результате сжигания навески. В нижней части сосуда имеется кран для слива раствора.

Рисунок 2 - Устройство поглотительного сосуда

Допускается применение поглотительной ячейки другой формы без сосуда сравнения.

Крючок, с помощью которого лодочки вводят в трубку для сжигания и извлекают из нее, изготовляют из жаропрочной низкоуглеродистой проволоки квадратного или круглого сечения со стороной квадрата или диаметром от 3 до 5 мм и длиной от 500 до 600 мм.

4.3 Реактивы и растворы

Кислород чистотой не менее 99,0 % по ГОСТ 5583.

Кислота соляная по ГОСТ 3118 или ГОСТ 14261.

Калия гидроокись по ГОСТ 24363 или натрия гидроокись по ГОСТ 4328.

Калий марганцовокислый по ГОСТ 20490, раствор 40 г/дм3 в растворе гидроокиси калия 400 г/дм3: 40 г марганцовокислого калия растворяют при нагревании в 700 - 800 см3 воды. После охлаждения в раствор добавляют 400 г гидроокиси калия и разбавляют водой до 1000 см3. Раствор должен быть свежеприготовленным.

Магний хлорнокислый безводный (ангидрон).

Калий йодноватокислый по ГОСТ 4202.

Калий йодистый по ГОСТ 4232.

Калий йодид-йодат, титрованный раствор: 0,111 г йодноватокислого калия, 15 г йодистого калия и 0,4 г гидрата окиси калия помещают в стакан вместимостью 250 см3 и растворяют в 100 см3 воды. Раствор переносят в мерную колбу вместимостью 1000 см3, доливают до метки водой и перемешивают. Раствор хранят в склянке из темного стекла.

1 см3 раствора соответствует 0,00005 г серы. Для определения серы в материалах, содержащих менее 0,020 % серы, титрованный раствор разбавляют в соотношениях 1:1, 1:4, 1:6.

Крахмал растворимый по ГОСТ 10163.

Раствор массовой концентрации 0,5 г/дм3: 0,5 г растворимого крахмала растирают в фарфоровой ступке с 50 см3 воды и суспензию вливают тонкой струёй в 950 см3 кипящей воды. К полученному раствору приливают 15 см3 соляной кислоты, охлаждают и приливают небольшими порциями при перемешивании раствор йодид-йодата до получения бледно-голубой окраски раствора.

Плавни: медь металлическая по ГОСТ 546 или ГОСТ 859; окись меди по ГОСТ 16539, ос.ч; железо карбонильное радиотехническое по ГОСТ 13610.

Допускается применение в качестве плавня пятиокиси ванадия.

4.4 Подготовка к анализу

Для приведения установки (рисунок 1) в рабочее состояние концы огнеупорной муллитокремнеземистой трубки закрывают металлическим затвором или резиновыми пробками со вставленными в них стеклянными или металлическими некорродирующими трубками. Затем один конец трубки соединяют с помощью резинового шланга с баллоном, содержащим кислород, или кислородопроводом через поглотительные склянки для очистки кислорода, а второй - с поглотительным сосудом. Соединения должны быть, по возможности, короткими. После этого в оба сосуда приливают по 50 - 80 см3 раствора крахмала бледно-голубой окраски. Пропускают ток кислорода со скоростью 2 дм3/мин. Если крахмальный раствор в поглотительном сосуде через 3 - 4 мин обесцветится (что указывает на выделение из фарфоровой трубки газов, восстанавливающих раствор йодноватистого калия), то, не прекращая тока кислорода, к поглотительному раствору приливают из бюретки раствор йодноватокислого калия до тех пор, пока интенсивность окраски раствора в поглотительном и контрольном сосудах не будет одинаковой.

Участок системы между трубкой сжигания и поглотительным сосудом должен быть сухим.

Для проверки установки на герметичность закрывают кран 12 и подают в систему кислород. Установка герметична, если в склянке 2 через некоторое время прекратится появление пузырьков газа. В противном случае установку следует разобрать, стеклянные части и соединительные трубки проверить, краны протереть, смазать вазелином и вновь проверить установку на герметичность.

Перед началом работы, а также после замены трубок сжигают две-три произвольные навески стали.

4.5 Проведение анализа

4.5.1 В зависимости от массовой доли серы в анализируемой пробе берут навеску в количестве, приведенном в таблице 1.

Таблица 1

Массовая доля серы, %

Масса навески, г

От 0,002 до 0,050 включ.

1,0

Св. 0,0500 » 0,100    »

0,5

»    0,100   » 0,400    »

0,2

4.5.2 Навеску стали помещают в прокаленную фарфоровую лодочку и прибавляют равномерным слоем 1 г меди или окиси меди при анализе легированных сталей. При анализе высоколегированных сталей прибавляют 1,5 г смеси плавней, состоящей из железа и меди или железа и окиси меди, в обоих случаях в соотношении 1:2.

Закрывают краны 5 и 12. Лодочку с навеской пробы и плавнем помещают в наиболее нагретую часть трубки, которую быстро закрывают металлическим затвором или резиновой пробкой, затем осторожно открывают кран 5 и подают кислород в печь со скоростью 2 дм3/мин. Анализируемую пробу выдерживают под давлением в течение 20 с, открывают осторожно кран 12 и подают газ в поглотительный сосуд.

В процессе горения навески необходимо вести наблюдение за изменением окраски раствора в поглотительном сосуде, в котором происходит поглощение окислов серы. Во время сжигания навески окраска раствора в поглотительном сосуде должна быть все время близкой к окраске раствора в контрольном сосуде. Для этого к раствору в поглотительном сосуде (по мере уменьшения интенсивности окраски) добавляют из бюретки по каплям раствор йодноватокислого калия.

Титрование считают законченным, когда интенсивность окраски растворов в обоих сосудах будет одинаковой. Продолжительность измерения (сжигания навески металла) - 3 мин.

4.5.3 Для проверки полноты сгорания навески кислород продолжают подавать в течение 30 с. Если интенсивность окраски раствора не уменьшается, определение считают законченным. После сжигания анализируемой пробы лодочку извлекают из печи крючком, поглотительный раствор сливают из сосуда и промывают сосуд водой.

4.5.4 Для внесения соответствующей поправки в результат анализа проводят контрольный опыт.

4.6 Обработка результатов

4.6.1 Массовую долю серы X, %, вычисляют по формуле

                                                          (1)

где V - объем раствора йодноватокислого калия, израсходованный на титрование раствора анализируемого образца, см3;

V1 - объем раствора йодноватокислого калия, израсходованный на титрование раствора в контрольном опыте, см3;

Т - массовая концентрация раствора йодноватокислого калия, г/см3 серы;

m - масса навески анализируемого образца, г.

4.6.2 Массовую концентрацию раствора йодноватокислого калия устанавливают по стандартному образцу стали, близкому по химическому составу и массовой доле серы к анализируемой стали, в соответствии с п. 4.5.

4.6.3 Массовую концентрацию раствора йодноватокислого калия Т, г/см3 серы, вычисляют по формуле

                                                  (2)

где Сст - массовая доля серы в стандартном образце, %;

m - масса навески стандартного образца, г;

V - объем раствора йодноватокислого калия, израсходованный на титрование раствора стандартного образца, см3;

V1 - объем раствора йодноватокислого калия, израсходованный на титрование раствора в контрольном опыте, см3.

4.6.4 Нормы точности и нормативы контроля точности определения массовой доли серы приведены в таблице 2.

Таблица 2

Массовая доля серы, %

Погрешность результата анализа Δ, %

Допускаемое расхождение, %

двух параллельных определений d2

трех параллельных определений d3

двух средних результатов анализа, выполненных в различных условиях dк

результатов анализа стандартного образца и аттестованного значения δ

От 0,001 до 0,002 включ.

0,0008

0,0008

0,0010

0,0010

0,0005

Св. 0,002 » 0,005 »

0,0012

0,0012

0,0015

0,0015

0,0008

» 0,005 » 0,010 »

0,0016

0,0017

0,0020

0,0020

0,0010

» 0,010 » 0,020 »

0,0024

0,0025

0,0030

0,0030

0,0016

» 0,020 » 0,050 »

0,004

0,004

0,005

0,005

0,003

» 0,050 » 0,100 »

0,006

0,007

0,008

0,008

0,004

» 0,100 » 0,200 »

0,010

0,010

0,012

0,012

0,006

» 0,200 » 0,500 »

0,016

0,017

0,020

0,020

0,010

5 Тетраборатный метод определения серы

5.1 Сущность метода

Метод основан на сжигании навески стали в токе кислорода при 1300 - 1400 °С в присутствии плавня с последующим поглощением сернистого газа окисляющим раствором, состоящим из сернокислого калия и перекиси водорода. Образующуюся серную кислоту оттитровывают раствором тетрабората натрия в присутствии смеси индикаторов метилового красного и метиленового синего.

5.2 Аппаратура

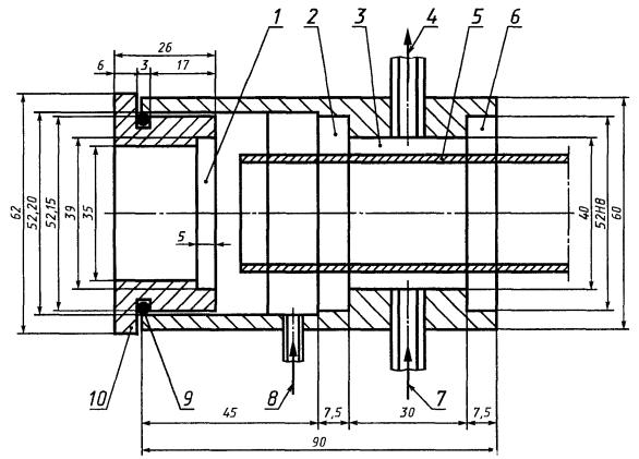
Установка для определения серы тетраборатным методом (рисунок 3) состоит из баллона с кислородом или кислородопровода 1, снабженного редукционным вентилем и манометром для пуска и регулирования тока кислорода; склянки Тищенко 2, содержащей раствор марганцовокислого калия 40 г/дм3 в растворе гидроокиси натрия 400 г/дм3; сушильной колонки 3, заполненной в нижней части натронной известью или натронным асбестом (аскаритом), а в верхней части - хлорнокислым магнием, для очистки кислорода сухим способом; ротаметра 4 для измерения расхода кислорода; трехходового крана 5 для пуска кислорода в поглотительный сосуд через печь или минуя печь; огнеупорной муллитокремнеземистой трубки 6 внутренним диаметром 18 - 20 мм и длиной 650 - 800 мм, предназначенной для сжигания навески. Концы трубки должны выступать из печи не менее чем на 200 мм с каждой стороны. Трубку закрывают металлическими затворами или хорошо подогнанными резиновыми пробками с отверстиями, в которые вставляют стеклянные трубки для подключения соединительных трубок. Для предотвращения обгорания резиновых пробок их внутреннюю поверхность закрывают асбестовыми прокладками, надетыми на концы стеклянных трубок. Чтобы удалить примесь серы из огнеупорной трубки, ее перед работой прокаливают при рабочей температуре по всей длине в трубчатой печи 7, обеспечивающей температурный нагрев до 1400 °С; термопары с регулятором 8 для регулирования температуры печи фарфоровой лодочки 9 по ГОСТ 9147, предназначенной для сжигания навески и выдерживающей температуру до 1400 °С. Перед работой лодочки прокаливают в токе кислорода при рабочей температуре. Для хранения прокаленных лодочек используют эксикатор по ГОСТ 25336, шлиф крышки которого не должен покрываться смазывающими веществами; трансформатора 10 для регулирования напряжения печи; стеклянной трубки 11, заполненной стекловатой, для очистки смеси газов от окислов, образующихся при сжигании; крана 12 для изолирования печи от поглотительного сосуда; микробюретки 13; поглотительного сосуда 14; сосуда сравнения 15; барботажной трубки 16; резиновой трубки 17 для подачи кислорода через барботажную трубку в поглотительный сосуд, минуя печь.

Рисунок 3 - Установка для определения массовой доли серы тетраборатным методом

Соединения между отдельными частями установки должны быть короткими.

Крючок, с помощью которого лодочки вводят в трубку для сжигания и извлекают из нее, изготовляют из жаропрочной низкоуглеродистой проволоки квадратного или круглого сечения со стороной квадрата или диаметром от 3 до 5 мм, длиной от 500 до 600 мм.

5.3 Реактивы и растворы

Кислород чистотой не менее 99,0 % по ГОСТ 5583.

Магний хлорнокислый безводный (ангидрон).

Калий марганцовокислый по ГОСТ 20490, раствор 40 г/дм3 в растворе гидроокиси натрия 400 г/дм3: 40 г марганцовокислого калия растворяют при нагревании в 700 - 800 см3 воды. После охлаждения в раствор добавляют 400 г гидроокиси натрия и разбавляют водой до 1000 см3. Раствор должен быть свежеприготовленным.

Кальций хлористый безводный по ГОСТ 4234.

Калий сернокислый по ГОСТ 4145.

Водорода перекись по ГОСТ 177, раствор 300 г/дм3.

Поглотительный раствор: 5 г сернокислого калия растворяют в 300 см3 предварительно прокипяченной и охлажденной воды, добавляют 100 см3 раствора перекиси водорода и доводят до 2500 см3 водой, предварительно прокипяченной и охлажденной.

Метиловый красный (C15H14O2N3Na).

Метиленовый синий (С16H18N3SCl . 3H2О), раствор 1 г/дм3.

Смесь индикаторов: 0,1 г метилового красного растворяют при перемешивании и нагревании в 300 см3 этилового спирта и смешивают с 50 см3 раствора метиленового синего.

Натрий 10-водный тетраборнокислый (Na2B4O7 . 10H2O) по ГОСТ 4199, титрованный раствор: 1,1894 г тетрабората натрия растворяют в предварительно прокипяченной воде в мерной колбе вместимостью 2000 см3. Этой же водой доливают колбу до метки и раствор перемешивают.

1 см3 раствора соответствует 0,00005 г серы.

Для определения серы в материалах, содержащих менее 0,020 % серы, титрованный раствор разбавляют в соотношении 1:1.

Плавни: железо карбонильное радиотехническое по ГОСТ 13610, медь металлическая по ГОСТ 546 или ГОСТ 859, окись меди по ГОСТ 16539.

5.4 Подготовка к анализу

Для приведения установки (рисунок 3) в рабочее состояние концы огнеупорной муллитокремнеземистой трубки закрывают металлическим затвором или резиновыми пробками со вставленными в них стеклянными или металлическими некорродирующими трубками. Один конец трубки соединяют с помощью резинового шланга с баллоном, содержащим кислород, через поглотительные склянки для очистки кислорода, а второй - с поглотительным сосудом.

Печь нагревают до 1300 - 1400 °С. Открывают баллон с кислородом и пропускают его через печь в поглотительный сосуд со скоростью 1,2 дм3/мин по ротаметру.

Затем в поглотительный сосуд 14 наливают 50 см3 поглотительного раствора и 5 - 6 капель смеси индикаторов. Раствор нейтрализуют несколькими каплями титрованного раствора тетрабората натрия до получения устойчивой светло-зеленой окраски раствора.

Во время нейтрализации поглотительного раствора кислород пропускают через печь в поглотительный сосуд.

Для проверки установки на герметичность перед началом анализа сжигают две-три навески стандартного образца стали в присутствии плавня по п. 5.5.

Для внесения соответствующей поправки в результат анализа пробы необходимо провести контрольный опыт путем сжигания двух навесок плавня.

5.5 Проведение анализа

В зависимости от массовой доли серы берут навеску в количестве, приведенном в таблице 1.

Навеску стали помещают в прокаленную фарфоровую лодочку и покрывают равномерным слоем 1 г меди или окиси меди при анализе легированных сталей. При анализе высоколегированных сталей применяют 1,5 г смеси плавней, состоящей из железа и меди или железа и окиси меди, в обоих случаях в соотношении 1:2.

Закрывают кран 12 (рисунок 3), соединяющий печь с поглотительным сосудом 14. Кран 5 поворачивают в положение, при котором кислород поступает в поглотительный сосуд через трубку 17, минуя печь.

Открывают фарфоровую трубку и помещают лодочку с навеской металла и плавнем в наиболее нагретую часть фарфоровой трубки, которую закрывают металлическим затвором или резиновой пробкой и нагревают навеску металла при 1300 - 1400 °С в течение 1 мин без доступа кислорода. Во время нагревания образца газ должен барботировать в поглотительном сосуде, чтобы не допустить засасывания раствора в барботажную трубку. Поворачивают кран 5 в положение, при котором кислород поступает в печь, затем быстро открывают кран 12 и сжигают навеску металла в токе кислорода в течение 3 мин.

Образующаяся при этом двуокись серы поглощается поглотительным раствором с образованием серной кислоты, в результате чего происходит изменение окраски раствора из светло-зеленой в малиновую. Из бюретки приливают по каплям раствор тетрабората натрия до получения устойчивой светло-зеленой окраски. Титрование считается законченным, когда интенсивность окраски раствора не будет меняться в течение 1 мин.

Прекращают подачу кислорода в печь. Для этого перекрывают кран 12 и быстро поворачивают кран 5 в положение, при котором кислород поступает в поглотительный сосуд, минуя печь, и извлекают лодочку из трубки.

Участок системы между трубкой сжигания и поглотительным сосудом должен быть сухим; для надежности перед началом работы его промывают этиловым спиртом и эфиром.

Недопустимо засасывание поглотительного раствора в барботажную трубку 16.

Если в процессе сжигания навески металла или в момент переключения кранов все же наблюдается засасывание поглотительного раствора в барботажную трубку, то необходимо слить раствор из поглотительного сосуда и просушить его путем длительного пропускания горячего потока кислорода, проходящего через печь, или заменить поглотительный сосуд другим сосудом с сухой барботажной трубкой.

Для предотвращения засасывания поглотительного раствора в барботажную трубку вместо подачи кислорода в поглотительный сосуд через трехходовой кран 5 и резиновую трубку 17 допускается трехходовой кран убрать и подачу кислорода осуществлять с различной скоростью двумя самостоятельными источниками. Через верхний отвод барботажной трубки непрерывно подавать кислород со скоростью 0,3 дм3/мин, при этом кран 12 должен быть закрыт, а в период сжигания навески металла кран 12 открыть и кислород пропустить через печь и нижний отвод барботажной трубки со скоростью 1,2 дм3/мин, при этом необходимо исключить одноминутную выдержку в процессе сжигания навески металла. После сжигания навески металла в течение 3 мин и оттитровывания поглотительного раствора кран 12 перекрыть, открыть пробку и выгрузить лодочку из трубки; кислород в поглотительную ячейку продолжать подавать через верхний отвод барботажной трубки со скоростью 0,3 дм3/мин.

5.6 Обработка результатов

5.6.1 Массовую долю серы X, %, вычисляют по формуле

                                                       (3)

где Т - массовая концентрация раствора тетрабората натрия, г/см3 серы;

V - объем раствора тетрабората натрия, израсходованный на титрование пробы, см3;

V1 - объем раствора тетрабората натрия, израсходованный на титрование в контрольном опыте, см3;

т - масса навески, г.

Массовую концентрацию раствора тетрабората натрия устанавливают по стандартному образцу стали, близкому по химическому составу и массовой доле серы к анализируемой стали, в соответствии с п. 5.5.

5.6.2 Массовую концентрацию раствора тетрабората натрия Т, г/см3 серы, вычисляют по формуле

где Сст - массовая доля серы в стандартном образце, %;

т - масса стандартного образца, г;

V - объем раствора тетрабората натрия, израсходованный на титрование раствора стандартного образца, см3;

V1 - объем раствора тетрабората натрия, израсходованный на титрование в контрольном опыте, см3.

5.7 Нормы точности и нормативы контроля точности определения массовой доли серы приведены в таблице 2.

6 Кулонометрический метод определения серы

6.1 Сущность метода

Метод основан на сжигании навески стали в токе кислорода в присутствии плавня при температуре 1300 - 1400 °С, поглощении образовавшейся двуокиси серы поглотительным раствором с определенным начальным значением pH ~ 3,3 и последующем измерении на установке для кулонометрического титрования количества электричества, необходимого для восстановления исходного значения рН, которое пропорционально массовой доле серы в навеске анализируемой пробы.

6.2 Аппаратура

Кулонометрическая установка любого типа, в том числе в комплекте с корректором массы, обеспечивающая точность результатов анализа, предусмотренную настоящим стандартом.

Лодочки фарфоровые по ГОСТ 9147, предварительно прокаленные в токе кислорода при рабочей температуре. При определении массовой доли серы менее 0,005 % лодочки прокаливают непосредственно перед проведением анализа.

Трубчатая печь сопротивления, обеспечивающая температурный нагрев до 1400 °С. Допускается применение индукционных печей.

Весы лабораторные или автоматические (корректор массы). При использовании автоматических весов погрешность измерения массы навески не должна превышать ± 0,001 г.

6.3 Реактивы и растворы

Кислород чистотой не менее 99,0 % по ГОСТ 5583.

Поглотительный и вспомогательный растворы в соответствии с инструкцией, прилагаемой к прибору, и типом применяемой кулонометрической установки.

Плавень: пятиокись ванадия. Допускается применение в качестве плавня карбонильного радиотехнического железа по ГОСТ 13610, а также вольфрама при использовании индукционных печей.

Эфир сернокислый (медицинский).

Допускается применение других летучих органических растворителей: ацетона по ГОСТ 2603, хлороформа.

6.4 Подготовка к анализу

Перед проведением анализа установку приводят в рабочее состояние согласно инструкции, прилагаемой к прибору.

Перед началом работы, а также после замены трубок для насыщения системы сжигают две-три произвольные навески стали с массовой долей серы 0,10 % - 0,20 %.

Градуировку прибора проводят по стандартным образцам углеродистых сталей.

6.5 Проведение анализа

В лодочку помещают навеску стали массой 0,25 - 0,50 г в зависимости от массовой доли серы в пробе. Покрывают навеску стали равномерным слоем плавня.

В случае необходимости навеску рекомендуется предварительно промывать эфиром или другим летучим органическим растворителем и высушивать на воздухе.

Лодочку с навеской металла и плавнем помещают в наиболее нагретую часть фарфоровой трубки, которую быстро закрывают металлическим затвором, нажимают на клавишу «сброс» и сжигают навеску металла при температуре 1300 - 1400 °С.

В процессе сжигания навески металла на цифровом табло осуществляется непрерывный отсчет показаний. Анализ считают законченным, если цифровые показатели на табло не изменяются в течение одной минуты или изменяются на величину холостого счета прибора, а стрелка индикатора pH установится в исходное положение.

Параллельно через все стадии анализа проводят анализ контрольного опыта. Для этого в прокаленную фарфоровую лодочку помещают плавень - пятиокись ванадия массой 0,2 или 0,4 г (в зависимости от химического состава анализируемой стали) и сжигают его при рабочей температуре в течение времени, затрачиваемого на сжигание навески анализируемого материала стали.

6.6 Обработка результатов

6.6.1 Массовую долю серы S, %, вычисляют по формуле

,                                                        (5)

где m1 - масса навески, по которой отградуирован прибор, г;

а - показания прибора, полученные в результате сжигания навески анализируемого материала, %;

а1 - среднее арифметическое значение показаний прибора, полученное в результате сжигания плавня, при проведении контрольного опыта, %;

т - масса анализируемой навески металла, г.

При использовании корректора массы формула приобретает вид

S = а - а1.                                                             (6)

6.6.2 Нормы точности и нормативы контроля точности определения массовой доли серы приведены в таблице 2.

7 Инфракрасно-абсорбционный метод определения серы

7.1 Сущность метода

Метод основан на сжигании навески стали в токе кислорода при температуре 1700 °С и определении количества образовавшейся двуокиси серы путем измерения поглощенной ею инфракрасной радиации.

7.2 Аппаратура

Любой тип автоматического анализатора, основанный на принципе абсорбции инфракрасной радиации, обеспечивающий точность результатов анализа, предусмотренную настоящим стандартом.

7.3 Реактивы

Кислород чистотой не менее 99,0 % по ГОСТ 5583.

Эфир сернокислый (медицинский).

Допускается применение других летучих органических растворителей: ацетона по ГОСТ 2603, хлороформа.

Плавень применяют в зависимости от типа используемого анализатора.

7.4 Подготовка к анализу

Перед проведением анализа установку приводят в рабочее состояние в соответствии с инструкцией, прилагаемой к прибору.

Градуировку прибора проводят по стандартным образцам сталей типа углеродистой.

7.5 Проведение анализа

Анализ проводят в соответствии с инструкцией, прилагаемой к прибору.

В случае необходимости навеску рекомендуется предварительно промывать эфиром или другим летучим органическим растворителем и высушивать на воздухе.

Для внесения соответствующей поправки в результат анализа пробы проводят контрольный опыт.

7.6 Обработка результатов

7.6.1 Массовую долю серы S, %, вычисляют по формуле

S = a - a1,                                                                 (7)

где a - показания прибора, полученные в результате сжигания навески анализируемого материала, %;

а1 - показания прибора, полученные в результате сжигания плавня, % (контрольного опыта).

Нормы точности и нормативы контроля точности определения массовой доли серы приведены в таблице 2.

ПРИЛОЖЕНИЕ А
(обязательное)

Сталь и чугун. Определение массовой доли серы титриметрическим методом после сжигания навески пробы (ИСО 671-82)

А.1 Область применения

Настоящий стандарт устанавливает титриметрический метод определения массовых долей серы в стали и чугуне после сжигания испытуемой пробы в токе кислорода.

А.2 Нормативные ссылки

В настоящем стандарте использованы ссылки на следующие стандарты:

ГОСТ 5583-78 (ИСО 2046-73) Кислород газообразный технический и медицинский. Технические условия

ГОСТ 7565-81 (ИСО 377-2-89) Чугун, сталь и сплавы. Методы отбора проб для химического состава

А.3 Сущность метода

Метод основан на сжигании навески пробы в токе кислорода при температуре 1450 °С в присутствии, при необходимости, металлического плавня, поглощении образующегося сернистого газа окисляющим раствором, состоящим из сернокислого калия и пероксида водорода, и оттитровывании образующейся серной кислоты стандартным раствором тетраборнокислого натрия.

А.4 Реактивы

При проведении анализа, если нет других указаний, используют реактивы известной аналитической чистоты, дистиллированную воду или воду эквивалентной чистоты.

Примечание - С целью проверки содержания серы в реактивах проводят контрольный опыт и, при необходимости, вносят соответствующие поправки в результаты анализа.

А.4.1 Кислород чистотой не менее 99,0 % по ГОСТ 5583 без примесей серы.

А.4.2 Асбест натронный (аскарит), размер частиц около 2 мм.

А.4.3 Магний хлорнокислый Mg(ClO4)2, размер частиц около 2 мм.

А.4.4 Чистое железо с известным содержанием серы.

А.4.5 Плавни: железо, медь, олово с известным содержанием серы.

А.4.6 Поглотительный раствор: 5 г сернокислого калия растворяют в 200 см3 кипяченой и охлажденной воды, добавляют 100 см3 пероксида водорода и доводят до 2500 см3 кипяченой и охлажденной водой.

А.4.7 Натрий тетраборнокислый, стандартный раствор, соответствующий 0,010 % серы для 1 г/см3 навески: 2,3839 г тетраборнокислого натрия (Na2B4O7 . 10H2O) взвешивают с точностью до четвертого десятичного знака и растворяют в 2000 см3 кипяченой и охлажденной воды.

А.4.8 Раствор смеси индикаторов: 0,1 г метиленового синего и 0,3 г метилового красного растворяют в дистиллированной воде и разбавляют дистиллированной водой до 500 см3.

Примечание - Соотношения между величинами навесок индикаторов допускается устанавливать в зависимости от чувствительности глаза аналитика. Интенсивность окраски индикатора можно оценивать с помощью оптического прибора.

А.5 Аппаратура

Установка для проведения анализа приведена на рисунке А.1. Отдельные узлы установки связаны между собой герметичными соединительными трубками.

Рисунок А.1 - Установка для определения массовой доли серы тетраборатным методом

А.5.1 Источник кислорода 7 (баллон с кислородом или кислородопровод), снабженный редукционным вентилем и манометром для пуска и регулирования тока кислорода.

А.5.2 Очистительная и осушительная колонка 2, заполненная натронным асбестом и хлорнокислым магнием (п. А.4.3).

А.5.3 Ротаметр 3 для измерения расхода кислорода от 0,2 до 3 дм3/мин.

А.5.4 Трубчатая электропечь 9, обеспечивающая внутри трубки постоянную температуру 1420 °С.

А.5.5 Огнеупорная трубка 6, предназначенная для сжигания пробы при 1450 °С, состоящая из широкой части внутренним диаметром 27 мм и длиной 450 мм и узкой части внутренним диаметром 3 мм и длиной 250 мм.

Примечания

1 Место сужения трубки должно приходиться на центральную, самую горячую зону.

2 Соединение трубки 6 с газовым выпускным краном 10 подвергается воздействию очень горячей газообразной смеси, покидающей электропечь, и поэтому должно охлаждаться, в особенности, если оно изготовлено из натурального или синтетического каучука. Охлаждение должно быть таким, чтобы температура на внутренней поверхности соединения, находящейся в соприкосновении с газообразной смесью, не превышала 40 °С.

А.5.6 Кран для пуска кислорода 4.

А.5.7 Устройство 5 для пуска кислорода с окошком, позволяющим визуально наблюдать за процессом сжигания (рисунок А.2).

1 - цветное стекло, установленное на эпоксидной смоле; 2 - уплотнительная резиновая прокладка; 3 - водяная камера; 4 - отвод воды; 5 - трубка сжигания; 6 - уплотнительная резиновая прокладка; 7 - подача воды; 8 - подача кислорода; 9 - торсидальная прокладка; 10 - втулка с насечкой

Рисунок А.2 - Устройство для трубки сжигания с водяным охлаждением

А.5.8 Платина - платинородиевая термопара 7, высокотемпературный конец которой располагается у внешней поверхности трубки поблизости от лодочки и огнеупорной капсулы. Необходимо установить и периодически проверять зависимость между температурой внутри трубки 6 и показаниями прибора.

А.5.9 Лодочка 8, изготовленная из огнеупорного материала, с широким плоским дном длиной от 80 до 100 мм, высотой 8 - 9 мм, шириной 15 - 16 мм, предназначенная для сжигания навески и выдерживающая двухкратный нагрев до 1420 °С (рисунок А.3).

1 - лодочка; 2 - капсула

Рисунок А.3

А.5.10 Огнеупорная капсула 15 (рисунок A.1), изготовленная из материала, состоящего из диоксида алюминия и 12,0 % - 15,0 % оксида кремния, внутренним диаметром 14 мм, наружным диаметром 16 мм, длиной 50 мм. Пористость капсулы обеспечивает постоянный равномерный поток газа через всю поверхность навески при заданном расходе газа от 4 до 5 дм3/мин и давлении 250 мм водного столба (рисунок А.3). Перед применением лодочку и капсулу прокаливают в потоке чистого кислорода при 1420 °С в течение 10 мин и хранят в эксикаторе.

А.5.11 Газовый впускной кран 10 внутренним диаметром 2,5 мм, предназначенный для того, чтобы не допустить подъема абсорбирующего раствора по барботажной трубке, когда печь открывают для того, чтобы вставить в нее лодочку с огнеупорной капсулой, и во время предварительного нагрева, когда в результате окисления металла в печи создается вакуум.

А.5.12 Барботажная трубка 13 (рисунок А.1) с отверстиями приведена на рисунке А.4.

Рисунок А.4 - Барботажная трубка с отверстиями

А.5.13 Поглотительный сосуд 14 диаметром не менее 35 мм, высотой 140 мм.

А.5.14 Бюретка 12 вместимостью 10 см3, заполненная стандартным раствором натрия (А.4.7).

А.5.15 Газовая трубка 11 должна быть максимально короткой.

А.6 Отбор и подготовка проб

Отбор и подготовку проб для анализа проводят в соответствии с требованиями ГОСТ 7565.

А.7 Методика проведения анализа

В связи с опасностью взрыва при проведении анализа необходимо исключить все возможные контакты хлорнокислого магния с органическими веществами.

А.7.1 Подготовка к анализу

Для того, чтобы убедиться в герметичности установки, полноте выгорания навески и отсутствии серы в огнеупорных материалах, необходимо перед выполнением анализа провести предварительное определение серы в нескольких навесках стали или чугуна с известной массовой долей серы. Проверку герметичности аппаратуры можно проводить, не вводя лодочку с капсулой в трубку для зажигания.

Примечание - Результаты, полученные при этих определениях, а также разница между средним значением и известной массовой долей серы в анализируемых пробах, не должны отличаться от соответствующих значений, присущих всем методам определения серы.

А.7.2 Навеска

Масса навески анализируемой пробы в виде мелкой стружки размером в несколько десятых долей миллиметра должна составлять:

1,0 ± 0,001 г - при массовой доле серы в образце менее 0,10 %;

0,5 ± 0,001 г - при массовой доле серы в образце 0,10 % - 0,20 %;

при массовой доле серы более 0,20 % величину навески анализируемой пробы необходимо рассчитать таким образом, чтобы массовая доля серы в ней составляла не более 1000 мкг. Для сохранения одинаковых условий сжигания навеску пробы следует дополнить до 1 г чистым железом (А.4.4).

А.7.3 Проведение анализа

А.7.3.1 Сжигание нежаропрочных сталей и чугунов

Электрическую печь 9 нагревают так, чтобы внутри трубки температура составляла не менее 1420 °С. Открывают краны 4 и 10, пропускают кислород со скоростью 1,2 дм3/мин через печь в сосуд с поглотительным раствором (А.4.6), при этом уровень раствора должен обязательно подняться на 80 мм выше отверстий барботажной трубки 13.

Добавляют в поглотительный раствор 4 - 5 капель смеси индикаторов (А.4.8) и нейтрализуют его стандартным раствором тетраборнокислого натрия (А.4.7) до получения устойчивой светло-зеленой окраски раствора. Отмечают уровень стандартного раствора в бюретке V1 в кубических сантиметрах.

Закрывают краны 4 и 10, прекратив подачу кислорода. Открывают заслонку входного устройства 5 и помещают лодочку с капсулой и анализируемой пробой в широкую, наиболее нагретую часть трубки сжигания 6. Закрывают заслонку входного устройства 5, открывают входной кран 4 для потока кислорода со скоростью 1,2 дм3/мин, а затем быстро открывают кран для вывода газа 10.

Навеску пробы сжигают в течение 3 мин в потоке кислорода. Образующийся при этом сернистый газ полностью переходит из трубки сжигания в поглотительный сосуд, где поглощается поглотительным раствором, который титруют в течение 4 мин стандартным раствором тетраборнокислого натрия (А.4.7) до получения устойчивой светло-зеленой окраски. Отмечают уровень стандартного раствора в бюретке V2 в кубических сантиметрах.

Конец титрования можно установить также потенциометрическим методом.

А.7.3.2 Сжигание жаростойких сталей и чугунов

В связи с тем, что начальный этап сжигания этих сталей и чугунов затруднителен, к навеске пробы необходимо добавлять определенное количество плавня (А.4.5), но при этом следует иметь в виду, что размеры лодочки и капсулы рассчитаны для сжигания навески массой не более 1,2 г.

А.8 Обработка результатов

А.8.1 Массовую долю серы S, %, вычисляют по формуле

,                               (А.1)

где 0,00010 - массовая концентрация раствора тетраборнокислого натрия, г/см3 серы;

(V2 - V1) - объем раствора тетраборнокислого натрия, израсходованный на титрование, см3;

т - масса навески анализируемой пробы, г.

ПРИЛОЖЕНИЕ Б
(обязательное)

Сталь и чугун. Определение массовой доли серы методом инфракрасной абсорбционной спектроскопии после сжигания навески пробы в индукционной печи (ИСО 4935-89)

Б.1 Область применения

Настоящий стандарт устанавливает инфракрасно-абсорбционный метод определения массовой доли серы в стали и чугуне после сжигания пробы в индукционной печи.

Метод применяют при определении массовой доли серы в диапазоне 0,002 % - 0,10 %.

Б.2 Нормативные ссылки

В настоящем стандарте использованы ссылки на следующие стандарты:

ГОСТ 1770-74 Посуда мерная лабораторная стеклянная. Цилиндры, мензурки, колбы, пробирки. Общие технические условия

ГОСТ 5583-78 (ИСО 2046-73) Кислород газообразный технический и медицинский. Технические условия

ГОСТ 7565-81 (ИСО 377-2-89) Чугун, сталь и сплавы. Метод отбора проб для химического состава

ГОСТ 29169-91 (ИСО 648-77) Посуда лабораторная стеклянная. Пипетки с одной меткой

ГОСТ 29251-91 (ИСО 385-1-84) Посуда лабораторная стеклянная. Бюретки. Часть 1. Общие требования

Б.3 Сущность метода

Метод основан на сжигании навески пробы в высокочастотной индукционной печи в потоке кислорода в присутствии плавня и определении количества образовавшегося диоксида серы по поглощению в инфракрасной области.

Б.4 Реактивы и материалы

При проведении анализа, если нет других указаний, используют реактивы известной аналитической чистоты, дистиллированную воду или воду эквивалентной чистоты.

Б.4.1 Кислород чистотой не менее 99,5 % по ГОСТ 5583.

Для удаления органических примесей, содержащихся в кислороде, перед фильтром очистки устанавливают трубку с катализатором (диоксид меди или платина), нагретую до температуры выше 450 °С.

Б.4.2 Железо металлическое с массовой долей серы менее 0,0005 %.

Б.4.3 Растворитель, пригодный для промывки жирной или грязной стружки, например ацетон.

Б.4.4 Магний хлорнокислый Mg(ClO4)2 размером частиц 0,7 - 1,2 мм.

Б.4.5 Плавень - вольфрам с массовой долей серы не более 0,0005 %. Размер частиц плавня зависит от типа используемого прибора.

Б.4.6 Стандартные растворы серы.

Взвешивают с точностью до 0,1 мг указанные в таблице Б.1 количества сернокислого калия, предварительно высушенного при 105 - 110 °С в течение 1 ч до постоянной массы и охлажденного в эксикаторе.

Переносят навески в семь мерных колб вместимостью 100 см3, растворяют в дистиллированной воде, доводят до метки (дистиллированной водой) и перемешивают.

Таблица Б.1

Стандартный раствор серы

Масса навески сернокислого калия, г

Массовая концентрация стандартного раствора серы, мг/см3

1

0,2174

0,40

2

0,3804

0,70

3

0,5434

1,00

4

1,0869

2,00

5

1,9022

3,50

6

2,7172

5,00

7

4,3475

8,00

Б.4.7 Аскарит (асбест, пропитанный гидроксидом натрия) размером частиц от 0,7 до 1,2 мм.

Б.5 Аппаратура

При проведении анализа, если нет других указаний, применяют только обычный лабораторный прибор.

Вся лабораторная стеклянная посуда должна соответствовать ГОСТ 29251, ГОСТ 29169 и ГОСТ 1770.

Характеристики выпускаемых промышленных приборов приведены в приложении В.

Б.5.1 Микропипетки на 50 и 100 см3 с погрешностью измерения не более 1 см3.

Б.5.2 Капсула оловянная диаметром около 6 мм, высотой 18 мм, объемом 0,4 см3, массой 0,3 г.

Б.5.3 Тигли керамические, способные выдержать нагрев в индукционной печи. Перед использованием тигли прокаливают в электропечи в воздухе или струе кислорода в течение двух часов при температуре 1100 °С и хранят в эксикаторе.

Примечание - При определении низких содержаний серы рекомендуется прокаливать тигли при температуре 1350 °С в струе кислорода.

Б.6 Отбор и подготовка проб

Отбор и подготовку проб для анализа проводят в соответствии с требованиями ГОСТ 7565.

Б.7 Методика проведения анализа

Техника безопасности

Основная опасность связана с возможностью получения ожогов при предварительном прокаливании керамических тиглей и работе с расплавом. Следует пользоваться специальными щипцами для тиглей и контейнерами для использованных тиглей. При использовании баллонов с кислородом следует соблюдать обычные для этого случая меры предосторожности. После завершения сжигания пробы следует немедленно удалить кислород из печи, так как повышенное содержание кислорода в замкнутом пространстве может привести к воспламенению и взрыву.

Б.7.1 Подготовка к анализу

Для предварительной очистки кислород пропускают через трубку, заполненную аскаритом (асбестом, пропитанным раствором гидроксида натрия), и трубку с хлорнокислым магнием. Для очистки кислорода от пыли используют фильтр из стекловаты или металлическую сетку из нержавеющей стали, которые следует чистить или заменять по мере необходимости. Камеру сгорания печи, подставку под тигли и фильтры необходимо периодически чистить для удаления осевших окислов.

Каждый блок оборудования после его включения необходимо прогреть в течение времени, указанного в инструкции к прибору.

После очистки камеры сгорания печи замены или очистки фильтров, а также после перерыва в работе прибора для стабилизации его работы необходимо провести сжигание нескольких проб, состав которых аналогичен анализируемым.

Через установку пропускают кислород и устанавливают контрольно-измерительные приборы на нуль. Если шкала измерительного прибора регистрирует массовую долю серы сразу в процентах, необходимо настроить прибор для каждой области калибровки. Для этого выбирают стандартный образец с массовой долей серы, близкой к максимальному в калибровочном интервале. Анализ образца проводят, как указано в Б.7.4, и устанавливают аттестованное значение массовой доли серы на измерительной шкале прибора.

Примечание - Настройку шкалы проводят перед калибровкой по Б.7.4, она не заменяет и не корректирует саму калибровку.

Б.7.2 Проба для анализа

Анализируемую пробу обезжиривают, промыв в соответствующем растворителе, высушивают для удаления следов растворителя и взвешивают с точностью до 1 мг:

1 г - при массовой доле серы менее 0,04 %;

0,5 г - при массовой доле серы более 0,04 %.

Примечание - Масса навески может зависеть от типа используемого анализатора.

Б.7.3 Контрольный опыт

Перед проведением анализа необходимо дважды провести контрольный опыт.

Оловянную капсулу (Б.5.2) помещают в керамический тигель (Б.5.3) и слегка прижимают ее ко дну тигля. Добавляют чистое железо (Б.4.2) в количестве, соответствующем навеске анализируемой пробы, и (1,5 ± 0,1) г плавня (Б.4.5). Помещают керамический тигель с его содержимым на подставку под тигли, поднимают ее до положения сжигания и закрывают камеру сгорания печи. В конце цикла сжигания и измерения удаляют тигель из камеры сгорания и записывают показания прибора.

Полученные результаты в миллиграммах серы переводят с помощью калибровочного графика и рассчитывают значение контрольного опыта, вычитая массу серы в чистом железе из найденного значения (примечание 1).

Среднее значение контрольного опыта определяют по двум параллельным результатам (примечание 2).

Примечания

1 Для определения содержания серы в чистом железе готовят два керамических тигля, в каждый из которых помещают оловянную капсулу, слегка прижав ее ко дну тигля, добавляют 0,500 г чистого железа (Б.4.2) в один керамический тигель и 1,000 г - в другой тигель, покрыв каждую навеску плавнем (Б.4.5) в количестве (1,5 ± 0,1) г;

выполняют с тиглями операции, указанные в Б.7.4;

полученные результаты в миллиграммах серы переводят с помощью калибровочного графика (Б.7.5).

Массу серы (m2) в 0,500 г чистого железа (Б.4.2) вычисляют вычитанием m3, соответствующей 0,500 г чистого железа, из m4, соответствующей 1,000 г чистого железа. Масса (m5) серы в 1 г чистого железа вдвое больше массы (m2) серы в 0,500 г чистого железа

m5 = 2m2 = 2(т4 - т3).                                             (Б.1)

2 Среднее значение контрольного опыта не должно превышать 0,005 мг серы, а разность между значениями двух параллельных измерений контрольного опыта не должна превышать 0,003 мг серы. Если эти значения превышают указанные значения, необходимо установить и устранить причину загрязнения.

Б.7.4 Определение

Оловянную капсулу (Б.5.2) помещают в керамический тигель (Б.5.3), слегка прижимают ее ко дну, помещают в нее навеску анализируемой пробы (Б.7.2) и покрывают плавнем (Б.4.5) в количестве (1,5 ± 0,1) г. Тигель с содержимым помещают на специальную подставку для тиглей, приводят прибор в режим сжигания и закрывают камеру сгорания. Согласно инструкции по эксплуатации прибора включают печь. По окончании сжигания и измерения тигель удаляют и записывают результаты анализа.

Б.7.5 Подготовка к построению калибровочного графика

Б.7.5.1 Образцы с массовой долей серы менее 0,005 %

Б.7.5.1.1 Подготовка калибровочных растворов

С помощью микропипетки (Б.5.1) вводят по 50 см3 воды и каждого из стандартных растворов серы (таблица Б.2) в четыре оловянные капсулы. Затем растворы медленно испаряют при температуре 90 °С до полного высыхания, капсулы охлаждают до комнатной температуры и помещают в эксикатор.

Таблица Б.2

Стандартный раствор серы

Масса серы, мг

Массовая доля серы в анализируемой пробе, %

Вода

0

0,0000

1

20

0,0020

2

35

0,0035

3

50

0,0050

Б.7.5.1.2 Измерение

Оловянную капсулу помещают в керамический тигель (Б.5.3), слегка прижимают ее ко дну тигля, добавляют 1,000 г чистого железа (Б.4.2) и покрывают плавнем (Б.4.5) в количестве (1,5 ± 0,1) г. Далее действуют, как указано в Б.7.4.

Б.7.5.1.3 Построение калибровочного графика

Из значений измерений, найденных для каждого калибровочного раствора, вычитают значения, полученные для контрольного опыта. Калибровочный график строят по найденным таким образом истинным значениям показаний шкалы и соответствующим им значениям серы в миллиграммах в каждом калибровочном растворе.

Б.7.5.2 Образцы с массовой долей серы от 0,005 % до 0,04 %

Б.7.5.2.1 Подготовка растворов калибровочной серии

С помощью микропипетки (Б.5.1) вводят по 50 см3 воды и каждого из стандартных растворов серы (таблица Б.3) в пять оловянных капсул (Б.5.2). Затем растворы медленно испаряют при температуре 90 °С до полного высыхания, капсулы охлаждают до комнатной температуры и помещают в эксикатор.

Таблица Б.3

Стандартный раствор серы

Масса серы, мг

Массовая доля серы в анализируемой пробе, %

Вода

0

0,0000

1

50

0,0050

2

100

0,0100

3

250

0,0250

4

400

0,0400

Б.7.5.2.2 Измерение

Измерение проводят по Б.7.5.1.2

Б.7.5.2.3 Построение калибровочного графика - по Б.7.5.1.3.

Б.7.5.3 Образцы с массовой долей серы от 0,04 % до 0,1 %

Б.7.5.3.1 Подготовка калибровочных растворов

С помощью микропипетки (Б.5.1) вводят по 100 см3 воды и каждого из стандартных растворов серы (таблица Б.4) в пять оловянных капсул (Б.5.2). Затем растворы медленно испаряют при температуре 90 °С до полного высыхания, капсулы охлаждают до комнатной температуры и помещают в эксикатор.

Таблица Б.4

Стандартный раствор серы

Масса серы, мг

Массовая доля серы в анализируемой пробе, %

Вода

0

0,0000

1

100

0,0200

2

200

0,0400

3

350

0,0700

4

500

0,1000

Б.7.5.3.2 Измерения

Оловянную капсулу помещают в керамический тигель (Б.5.3), слегка прижимают ее ко дну тигля, добавляют 0,500 г чистого железа (Б.4.2) и покрывают плавнем (Б.4.5) в количестве (1,5 ± 0,1) г. Тигель и содержимое его необходимо обработать, как указано в Б.7.4.

Б.7.5.3.3 Построение калибровочного графика - по Б.7.5.1.3

Б.8 Обработка результатов

Б.8.1 Расчет

Показания для анализируемых проб, полученные на шкале прибора, переводят с помощью калибровочного графика (п. Б.7.5.1) в соответствующие значения массовой доли серы (m0) в миллиграммах.

Массовую долю серы Ws, %, вычисляют по формуле

                                               (Б.2)

где      m0 - масса серы в анализируемой пробе, мг;

 - масса серы в контрольном опыте, мг;

m - масса навески анализируемой пробы, г.

Б.8.2 Точность метода

Точность измерений в данном методе характеризуется следующими метрологическими характеристиками:

повторяемостью (r), внутрилабораторной воспроизводимостью (R) и межлабораторной воспроизводимостью (Rw).

Между массовой долей серы и r, R и Rw, приведенными в таблице Б.5, существует логарифмическая зависимость.

Таблица Б.5

Массовая доля серы, %

Повторяемость r, %

Внутрилабораторная воспроизводимость R, %

Межлабораторная воспроизводимость Rw, %

0,002

0,00021

0,00059

0,00025

0,005

0,00037

0,00111

0,00048

0,010

0,00057

0,00179

0,00077

0,020

0,00088

0,00289

0,00126

0,050

0,00156

0,00543

0,00239

0,100

0,00241

0,00878

0,00389

Б.9 Протокол испытания

Протокол испытания должен содержать следующие сведения:

- всю информацию о лаборатории и дате анализа;

- использованный метод со ссылкой на настоящий стандарт;

- результаты и форму, в которой выражены образцы;

- любые необычные особенности, отмеченные в ходе проведения анализа;

- любые операции, не указанные в настоящем стандарте, или любые операции, которые могли бы повлиять на результаты анализа.

ПРИЛОЖЕНИЕ В
(справочное)

Технические особенности индукционных печей и инфракрасных анализаторов, изготовляемых для определения серы

B.1 Источник кислорода (баллон или кислородопровод) должен быть снабжен редукционным вентилем для регулирования давления кислорода, подаваемого в печь. При этом регулятор давления должен быть рассчитан на 28 кг/м2.

В.2 Устройство для очистки кислорода состоит из поглотительной трубки, наполненной асбестом, пропитанным гидроксидом натрия, для поглощения диоксида углерода, и осушительной трубки с хлорнокислым натрием.

В.3 Измеритель газового потока (реометр), рассчитанный на измерение в диапазоне 0 - 4 дм3/мин.

В.4 Высокочастотная индукционная печь

В.4.1 Печь для сжигания состоит из индукционной катушки и высокочастотного генератора. Камера печи представляет собой кремнеземистую трубку (наружный диаметр 30 - 40 мм, внутренний диаметр 26 - 36 мм, длина трубки 200 - 220 мм), которая вставлена внутрь индукционной катушки. На концах трубки находятся металлические пластины, укрепленные металлическими кольцами. В пластинах имеются входное и выходное отверстия для газа.

В.4.2 Высокочастотный генератор мощностью 1,5 - 2,5 кВт может иметь различную частоту в зависимости от конкретного изготовителя.

Применяют частоты: 2 - 6 мГц, 15 мГц или 20 мГц. Энергия от генератора подается на индукционную катушку, в которую помещена кремнеземистая трубка, охлаждаемая воздухом.

В.4.3 Тигель с образцом, флюсом и плавнем помещают на подставку, расположенную так, чтобы при ее подъеме металл в тигле оказывался непосредственно внутри индукционной катушки, что обеспечивает эффективную связь при подаче энергии.

В.4.4 Диаметр индукционной катушки, число витков, геометрические размеры камеры печи и мощность генератора определяет фирма-изготовитель

В.4.5 Температура сжигания зависит как от факторов, указанных в В.4.4, так и от свойств металла в тигле, формы и массы анализируемого образца.

В.5 Пылеуловитель, предназначенный для очистки тока кислорода, выходящего из печи, от пыли и окислов металлов.

В.6 Инфракрасный анализатор

В.6.1 Для большинства приборов этого типа характерно, что газообразные продукты сжигания переносятся в систему анализатора непрерывным потоком кислорода. Поток газа проходит через ячейку, где фотоэлемент регистрирует излучение, поглощенное диоксидом серы в инфракрасной области спектра, излучение измеряется и суммируется за заданный период времени. Сигнал преобразуется в процентное содержание серы и выводится на шкалу прибора.

В.6.2 В некоторых анализаторах продукты сжигания собираются в атмосфере кислорода при контролируемом давлении в заданном объеме, и эту смесь анализируют на содержание диоксида серы.

В.6.3 Анализатор обычно снабжается электронными приспособлениями для установки шкалы прибора на нуль, компенсации холостого опыта, установки наклона калибровочной кривой и коррекции в случае ее нелинейного характера. Кроме того, анализатор имеет, как правило, возможность ввода массы навески стандартного образца и анализируемой пробы для автоматической коррекции считываемого результата. Приборы могут быть также снабжены автоматическими весами для взвешивания тиглей, навесок испытуемых образцов и передачи значений их масс в калькулятор.




Rambler's Top100 Яндекс цитирования
  Copyright © 2008-2026, www.docload.ru