|
|
ГОСГРАЖДАНСТРОЙ ЛенЗНИИЭП РЕКОМЕНДАЦИИ ПО
ПРОЕКТИРОВАНИЮ НАРУЖНЫХ СТЕН ПАНЕЛЬНЫХ
ЖИЛЫХ ЗДАНИЙ ДЛЯ СЕВЕРНОЙ
СТРОИТЕЛЬНО-КЛИМАТИЧЕСКОЙ ЗОНЫ РСН 58-86 Утверждены Государственным
комитетом РСФСР по делам строительства Постановлением № 42 от 22
апреля 1986 г. Ленинград 1986 В "Рекомендациях"
изложены основные принципы выбора материалов, расчета и конструирования
наружных бетонных стен, панелей и их соединений, а также технологические
требования к антикоррозионной защите связей и герметизации стыков. "Рекомендации" разработаны кандидатами техн. наук Г.В. Косой, А.В. Копацким, Г.М. Зайцевой, инж. И.Н. Сидько, Ю.Ф. Медведевой, В.А. Чуркиной, О.Л. Федотовым (ЛенЗНИИЭП), д-ром техн. наук проф. С.В. Александровским (НИИСФ) и лауреатом Государственной премии Совета Министров СССР, Заслуженным строителем РСФСР А.Н.Вожовым (Госстрой РСФСР) . При этом были использованы
материалы НИИЖБа (кандидаты техн. наук Л.И. Карпикова, Б.П. Филиппов), ЦНИИЭП
жилища (инженер А.В. Кривакин), СибЗНИИЭПа (инженер А.И. Аронов), Норильского
вечернего индустриального института (канд. техн. наук Т.В. Златинская), ЛатНИИ
строительства (канд. техн. наук Г.С. Кобринский). "Рекомендации"
предназначены для инженеров проектных организаций и домостроительных
предприятий и отражают требования к типовому и экспериментальному
проектированию наружных стен полносборных жилых зданий массовой застройки в
северной строительно-климатической зоне. 1. ОБЩИЕ ПОЛОЖЕНИЯ
1.1. Настоящие
"Рекомендации" разработаны на основании и в развитие СНиП II-3-79* [1],
СНиП 2.03.01-84
[2]
и ВСН 32-77 [3]. 1.2. Рекомендации распространяются на проектирование наружных стен из бетонных материалов для надземных этажей жилых зданий, строящихся в северной строительно-климатической зоне, исключая сейсмические районы. 1.3. Рекомендации
предназначены для проектирования стен жилых зданий на основе конструктивных
систем с поперечными и продольными несущими стенами, с поперечными несущими
стенами, с продольными несущими стенами, высотой не более 9 этажей, однорядной
и горизонтальной полосовой разрезки. 1.4. Конструкции стеновых
панелей должны отвечать требованиям СНиП II-3-79* [1],
СНиП 2.03.01-84
[2],
ГОСТ
11024-84 [4] и других нормативных
документов. 1.5. Выбор конструкции наружных стен производится с учетом климата района строительства, наличия или возможностей доставки строительных материалов и изделий, имеющейся базы строительной индустрии и технико-экономических показателей вариантов конструктивных решений с целью снижения приведенных затрат, в том числе затрат на отопление. 1.6. Конструкции панелей, их
соединений между собой, с перекрытиями и внутренними стенами должны
обеспечивать их совместную работу со зданием в условиях
температурно-влажностных воздействий и неравномерной осадки основания. 1.7. Стены могут быть
несущими или ненесущими. Панели из ячеистого бетона следует проектировать
ненесущими. 1.8. Панели стен выполняется
однослойными или трехслойными с эффективным утеплителем, с высокой степенью
заводской готовности, с учетом требований надежности и унификации конструкций. 1.9. Вновь разрабатываемые
типовые проекты зданий должны предусматривать однослойный и трехслойный
варианты наружных стен. 1.10. Проектирование стен,
панелей и их стыков выполняется на основе теплофизических. расчетов и расчетов
по предельным состояниям первой и второй групп, а также расчетов долговечности. 1.11. При выборе типа
ограждения предпочтение следует отдавать, при равноценных прочих условиях.
более долговечной конструкции, отвечающей требованиям по долговечности раздела
6 настоящих "Рекомендаций". 1.12. Материалы для наружных
стен (компоненты бетонной смеси, арматура, арматурные и закладные изделия,
отделочные и теплоизоляционные материалы) должны удовлетворять требованиям
действующих нормативных документов и раздела 2 настоящих "Рекомендаций". 2. МАТЕРИАЛЫ
2.1.Бетон
2.1.1. Для бетонных слоев
трехслойных панелей и для однослойных панелей следует применять бетоны видов,
структур и классов или проектных марок по прочности на сжатие, принимаемых, в
соответствии с ГОСТ
11024-84 [4]. При этом для трехслойных
панелей с жесткими связями следует применять легкие бетоны марок по средней
плотности D 1200-D 1500. 2.1.2. Однослойные панели
изготавливаются из следующих видов бетонов (в том числе поризованных) на
пористых заполнителях: керамзитобетона, шлакопемзобетона, шунгизитобетона,
керамзитоперлитобетона, керамзитополистиролбетона, бетона на зольном гравии, а
также из ячеистых бетонов вида А. В качестве мелкого
заполнителя следует преимущественно применять пористые пески. Допускается при
технико-экономическом обосновании изготовление панелей из других видов бетонов
на местных пористых заполнителях, удовлетворяющих требованиям действующих
стандартов и технических условий. 2.1.3.
Конструкционно-теплоизоляционные бетоны на пористых заполнителях должны
соответствовать требованиям ГОСТ 25820-83 [5], а ячеистые бетоны вида А - ГОСТ 25485-82 [6]. Ячеистый бетон должен
приниматься марок по средней плотности: D 600, D 700, D 800, D 900, D
1000. 2.1.4. Тяжелый бетон
наружных слоев трехслойных панелей на гибких связях должен соответствовать
требованиям ГОСТ 25192-82
[7]. 2.1.5. Нормативные и
расчетные сопротивления бетонов, а также коэффициенты условий работы
принимаются по СНиП
2.03.01-84 [2]. 2.1.6. Марку бетона по
морозостойкости для панелей наружных стен следует назначать в соответствии с
результатами расчета их долговечности по методике, приведенной в разделе 6
настоящих "Рекомендаций". При этом марка бетона по морозостойкости
должна быть не менее приведенной в табл. 10 СНиП 2.03.01-84 [2]
и в ГОСТ
11024-84 [4]. 2.1.7. В пояснительной
записке к проектам должны быть учтены положения "Руководства" [8]. 2.2. Растворы для
монтажных швов и бетоны для замоноличивания стыков
2.2.1. При выборе вида,
проектных марок и состава раствора для монтажных швов необходимо учитывать
требования СН
290-74 [9]. Замоноличивание стыков
следует осуществлять с учетом требований СНиП III-15-76 [10] и СНиП III-16-80 [11]. 2.2.2. Рекомендуется
применять растворы марок по средней плотности не более D 1600, изготовленные на
легких заполнителях (фракция не более 5 мм). 2.2.3. Для заполнения стыков
и швов следует применять растворы и бетоны марок по морозостойкости F не ниже
принятых для панелей. 2.2.4. Применение бетонов с
противоморозными добавками для замоноличивания стыков панелей наружных стен
должно осуществляться в соответствии с указаниями "Руководств" [12,
13],
"Пособия" [14]. 2.2.5. Электропрогрев бетона
с противоморозными добавками производится только при температуре воздуха ниже
минус 25°С
в соответствии с требованиями "Руководства" [15]. 2.3. Арматура
2.3.1.
Для армирования панелей следует применять арматурную сталь видов и классов,
указанных в ГОСТ 11024-84 [4]. При выборе вида и марок арматурной стали должны учитываться
температурные условия эксплуатации конструкций и характер их нагружения
согласно приложению 1 СНиП 2.03.01-84 [2]. 2.3.2. Для гибких связей
рекомендуется применять арматурную строительную сталь, указанную в работе [16],
с учетом п
.2.3.1 и 2.3.7
настоящих "Рекомендаций". 2.3.3. Для закладных
деталей, воспринимающих нагрузки при температуре наружного воздуха от -40 до
-60°С, следует применять стали в соответствии с табл. 50 СНиП II-23-81 [17]. 2.3.4. Монтажные петли
должны изготовляться из стали классов и марок, указанных в п. 2.24 СНиП 2.03.01-84
[2],
с учетом расчетной зимней температуры при монтаже конструкций. 2.3.5. Сварку арматуры и
закладных деталей следует осуществлять в соответствии с СН 393-78 [18]. Типы сварных соединений
арматуры должны приниматься с учетом приложений 3 и 4 СНиП 2.03.01-84 [2]. 2.3.6. Закладные и накладные
металлические детали должны быть защищены от коррозии в соответствии со СНиП II-28-73*
[19]. 2.3.7.
При типовом проектировании защиту от коррозии гибких связей из стали классов АI и АII в панелях с утеплителем из пенопласта полиcтирольного (ГОСТ 15588-70*) [20] следует предусматривать цинкованием с толщиной слоя покрытия не менее
100 мкм или в соответствии с подпунктами а) и б). При экспериментальном проектировании защиту от коррозии гибких связей
из стали классов АI и AII в средах утеплителей
из феноло-резольного пенопласта ФРП-1 (ГОСТ 20916-75) [21], минеральной ваты на синтетическом связующем (ГОСТ 9573-82 [22]) следует предусматривать: а) покрытием из эпоксидных порошковых композиций П-ЭП-971
(ТУ-6-10-1604-77 [23]), П-ЭП-534 (ТУ-6-10-1090-83 [24]) толщиной не менее 300-350 мкм; б) комбинированными покрытиями, состоящими из полимерной пленки
толщиной 250-300 мкм на основе порошкового полиэтилена высокого ПЭВД
(ТУ-6-05-1866.78 [25]) или низкого давления ПЭНД (ГОСТ 16338-77 [26]) по цинковому покрытию толщиной не менее 50 мкм, нанесенному
металлизацией или гальваническим способом. 2.3.8. Рекомендуемые
защитные покрытия на основе порошковых полимеров должны наноситься в заводских
условиях методом электростатического осаждения порошковой полимерной композиции
на предварительно очищенную и обезжиренную поверхность гибких связей с
последующим оплавлением композиции и охлаждением расплавленного покрытия в
соответствии с приложением
1. 2.4. Утеплители
2.4.1. Для утепления
трехслойных панелей следует применять эффективные теплоизоляционные материалы с
плотностью не более 200 кг/м3. 2.4.2. В качестве наиболее
эффективного теплоизоляционного материала для трехслойных панелей наружных стен
и для теплопакетов в стыках рекомендуется пенопласт полистирольный ПСБ ми
ПСБ-С, отвечающий требованиям ГОСТ 15588-70* [20]. Утеплитель из
пенополистирола на торцах панелей должен быть защищен несгораемыми материалами
толщиной 25 мм, расположенными либо в панели, либо в стыке между панелями. В
качестве таких материалов следует применять: асботкань, асбокартон или слой
цементно-песчаного раствора толщиной не менее 25 мм. 2.4.3. В качестве теплоизоляции в трехслойных
панелях и для теплопакетов в стыках рекомендуется применять жесткие плиты и
блоки из пенопласта на основе резольных формальдегидных смол (ГОСТ
20916-75* [21]. 2.4.4. Допускается применение в качестве утеплителей, в
трехслойных панелях и для теплопакетов в стыках, жестких плит из минеральной
ваты на синтетическом связующем марки не ниже 125 при условии их соответствия
требованиям ГОСТ
9573-82* [22],
а также плит минераловатных повышенной жесткости на синтетическом связующем,
соответствующих требованиям ГОСТ
22950-78 [27]. 3. КОНСТРУКЦИИ ПАНЕЛЕЙ И
СТЫКОВ
3.1. Стены
3.1.1. Конструкции стен
технических этажей и теплых чердаков принимаются аналогичными конструкциям стен
рядовых этажей. 3.1.2. Применение панелей из
ячеистого бетона в цокольной части зданий или в технических этажах не
допускается. 3.1.3. Разрезка стен
температурными и осадочными швами осуществляется в той же плоскости, что и
внутренних конструкций. В зданиях, возводимых на
вечномерзлых основаниях, используемых по II принципу, поперечные стены
в зоне швов должны иметь конструкцию, аналогичную конструкции наружных стен. 3.1.4. Конструкция торцевых
стен должна, как правило, предусматривать опирание на них перекрытий.
Допускается в случае необходимости постановка в торцах дополнительных поперечных
несущих стен. 3.1.5. В рабочих чертежах
элементов наружных крупнопанельных стен должны указываться: вид материала, его
плотность и влажность в изделиях при отпуске их с завода, а также его основные
характеристики, класс бетона по прочности на сжатие, марка бетона по
морозостойкости. Кроме того, должны быть указаны вид, класс и марка стали
арматуры и закладных деталей и предусмотрена их защита от коррозии. 3.1.6. С целью экономии
стали, в панелях наружных стен рекомендуется применять закладные крепежные и
строповочные детали со штампованными полосовыми анкерами, проектирование
которых следует осуществлять в соответствии с РСТ Латв. CCP
944-84 [28]
и с учетом требований "Пособия" [29]. 3.1.7. Все горизонтальные
наружные участки стен, выступающие за внешнюю плоскость более чем на 50 мм, а
также другие части стен, подверженные прямому воздействию атмосферной влаги
(например, подоконные сливы), должны иметь уклон не менее 10 %, капельники и
оцинкованные металлические окрытия с выносом не менее 40 мм, обеспечивающие
отвод атмосферной влаги от стен и защиту их от увлажнения. Оцинкованные окрытия
устраиваются на парапетах, подоконниках, за водосточными желобами и лотками,
под козырьками, у обрезов цоколя, на балконах, лоджиях, эркерах и т.п. Подоконные отливы должны
иметь по бокам отвороты высотой не менее 50 мм. Высота примыкающей к стене
части металлических окрытий должна быть не менее 50 мм. 3.2. Трехслойные
панели
3.2.1. В районах с низкими
температурами наружного воздуха наиболее целесообразны трехслойные панели с
эффективным утеплителем. 3.2.2. Связь между наружным
и внутренним бетонными армированными слоями трехслойных панелей осуществляется
либо одиночными металлическими стержнями (гибкие связи), либо обетонированными
стальными сварными каркасами, образующими железобетонные ребра (жесткие связи). Соединение слоев может
осуществляться армированными отдельными связями-шпонками из бетона. 3.2.3. Предпочтение следует
отдавать панелям с гибкими связями, обеспечивающими свободу
температурно-влажностных деформаций наружного железобетонного слоя относительно
внутреннего. 3.2.4. Применение
трехслойных панелей с жесткими связями между наружным и внутренним слоями
допускается только при отсутствии технической возможности применения
трехслойных панелей с гибкими связями. 3.2.5. По конструктивному
решению трехслойные панели выполняются однорядной разрезки. 3.2.6. С целью обеспечения
наиболее благоприятных санитарно-гигиенических условий жилища, улучшения
влажностного режима конструкций стен трехслойные панели предпочтительно
изготавливать из бетона на пористых заполнителях. 3.2.7. Толщина панели и ее
слоев принимается на основании теплотехнического расчета и расчета на прочность
и раскрытие трещин, но не менее значений, оговоренных ГОСТ
11024-84 [4]. 3.2.8. Сопротивление
паропроницанию внутреннего слоя трехслойной панели должно быть больше, чем наружного,
не менее чем на 20 %. 3.2.9. Ориентировочные значения сопротивления теплопередаче трехслойных панелей в зависимости от их конструкции и условий эксплуатации приведены в табл. 1 и 2. Требуемое и экономически целесообразное сопротивление теплопередаче в зависимости от расчетных температур наружного воздуха приведено в табл. 3. Сопротивление теплопередаче трехслойных
наружных стен Rо в условиях эксплуатации А
Сопротивление теплопередаче трехслойных
наружных стен Rо в условиях эксплуатации Б
Сопротивления теплопередаче
3.2.10. По периметру
трехслойных панелей с гибкими связями следует делать утолщение с наружной или
внутренней стороны наружного слоя с целью образования профиля, необходимого для
размещения в монтажных швах герметизирующих и уплотняющих материалов. Предпочтение следует
отдавать утолщениям с наружной стороны (рис. 1)
для сохранения одинаковой толщины утеплителя по всей плоскости стены и
соответственно для обеспечения равного сопротивления теплопередаче стен по полю
панели и в зоне стыков, для защиты вертикальных и горизонтальных стыков от
затекания воды с поверхности панели, а также для упрощения технологии
формования панелей "лицом вниз". 3.2.11. Армирование
трехслойных панелей осуществляется, в соответствии с расчетом, каркасами,
расположенными по контуру панели и проемов во внутреннем слое, и сетками,
расположенными у наружных и внутренних поверхностей соответствующих слоев. 3.2.12. В зоне углов оконных
и дверных проемов на участках панелей шириной 300 мм размер ячеек сеток
рекомендуется принимать вдвое меньшим, чем по полю панелей, или укладывать в
этих местах дополнительные сетки. 3.2.13. Конструкции гибких
связей и их сечения следует принимать в соответствии с
"Рекомендациями" [30]. Гибкие связи трехслойных панелей могут устанавливаться отдельно или в виде элементов каркасов.
Рис 1. Стыки трехслойных панелей наружных стен с ребрами наружу: а - вертикальный стык; 6 - горизонтальный стык 1 - панель наружной стены; 2 - панель внутренней стены; 3 - теплоизоляционный вкладыш; 4 - бетон; 5 - оклеечная воздухоизоляция; 6 - уплотняющая прокладка; 7 - герметизирующая мастика; 8 - панель перекрытия; 9 - цементно-песчаный раствор 3.2.14. Соединение элементов
гибких связей трехслойных панелей с каркасами следует осуществлять вязальной
проволокой или электросваркой - в случае применения связей из нержавеющих сталей,
не требующих антикоррозионных покрытий. 3.2.15. Подъемные петли в
трехслойных панелях с гибкими связями рекомендуется располагать во внутреннем
бетонном слое. Анкерующие крюки подъемных петель должны быть развернуты в
плоскости бетонных слоев и соединены с арматурой этих слоев. 3.2.16. Выпуски стержней и
закладные детали для устройства связей в стыках трехслойных панелей должны
размещаться во внутреннем слое панелей. 3.2.17. Бетонные ребра
панелей с жесткими связями должны обеспечивать защиту арматуры от коррозии и
быть толщиной не менее 50 мм. 3.2.18. Трехслойные панели с
местными связями (шпонками) рекомендуется выполнять из двух ребристых
железобетонных слоев с взаимно перпендикулярными ребрами и заключенных между
ними двух слоев плитного утеплителя (рис.2)
[65]. Внутренний несущий
железобетонный слой проектируется с вертикальными ребрами, наружный
железобетонный слой - с горизонтальными. Места пересечения
вертикальных и горизонтальных ребер армируются для образования шпонки размером
не менее 60х60 мм, соединяющей внутренний и наружный слои. Фасад Вид с внутренней стороны
Рис. 2. Трехслойная панель со шпонками в местах пересечения ребер наружного и внутреннего слоев: 1 - сетка наружного слоя; 2 - сетка внутреннего слоя; 3 - каркас ребра; 4 - арматура шпонки; 5 - утеплитель 3.2.19. Теплоизоляционные плиты или блоки должны быть расположены в один или несколько слоев плотно друг к другу. При их расположении в несколько слоев, они должны быть уложены со смещением швов в смежных слоях на величину не менее их толщины. 3.2.20. Влагоемкие
утеплители должны быть защищены от увлажнения водонепроницаемой пленкой в
процессе изготовления и при транспортировании панелей. 3.2.21. В трехслойных панелях с утеплителем, не защищенным в торцах от проникновения воздуха бетонными ребрами, должна быть предусмотрена воздухоизоляция верхней и нижней горизонтальных граней панелей, осуществляемая путем оклейки воздухо-защитными лентами. Воздухоизоляция вертикальных торцевых граней таких панелей обеспечивается с помощью оклеечной изоляции в стыках. 3.3. Однослойные
панели
3.3.1. По конструктивному
решению однослойные панели из легкого бетона выполняются цельными однорядной
разрезки или горизонтальной полосовой разрезки, из автоклавного ячеистого
бетона - однорядной разрезки и горизонтальной полосовой разрезки цельными или
составными. Укрупнительную сборку
составных панелей из поясных элементов и простенков следует производить в
соответствии с "Руководством" [3l]. 3.3.2. Рекомендуемые толщины однослойных панелей в зависимости от применяемых материалов для различных условий эксплуатации приведены в табл. 4 и 5. Рекомендуемые толщины
однослойных панелей наружных стен для условий эксплуатации А, мм
Таблица 5 Рекомендуемые толщины однослойных панелей наружных стен для условий эксплуатации Б, мм
3.3.3. Армирование однослойных панелей из легкого бетона осуществляется в соответствии с расчетом или конструктивно каркасами, расположенными по контуру панелей и окон. Перемычки армируются пространственными каркасами. В углах оконных и дверных
проемов с фасадной стороны необходимо устанавливать Г-образные сварные сетки с
ячейками 50´50 мм, заводя их за грани
углов проемов на 300 мм. 3.3.4. Закладные элементы в
панелях из ячеистого бетона, следует устанавливать в изделия до термообработки
или замоноличивать в полости, рассверленные после термовлажностной обработки
изделий, или крепить винтовыми анкерами с редкой и глубокой нарезкой. 3.3.5. Арматура и закладные детали в панелях из ячеистого бетона должны быть защищены от коррозии. 3.4. Стыки панелей
для массового строительства
3.4.1. Стыки наружных стен
должны удовлетворять требованиям прочности, долговечности, тепло- и
звукоизоляции и быть воздухо- и влагонепроницаемыми. Закладные детали и
соединительные элементы должны быть расположены таким образом, чтобы
исключалась возможность их разрушения от коррозии в течение общего срока службы
здания. 3.4.2. Стыки однослойных и
трехслойных панелей наружных стен следует осуществлять с обязательной
установкой теплоизоляционных вкладышей из эффективных материалов и заливкой
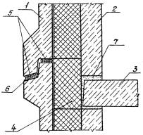
полости стыков бетоном или раствором с противоморозными добавками. 3.4.3. Соединение панелей осуществляется путем сварки закладных деталей, расположенных вне зоны замоноличиваемой полости стыка, а также установки соединительных скоб в петлевые выпуски панелей (рис. 3) или в штампованные закладные детали (рис. 4) с последующим их бетонированием. Все металлические соединения защищаются слоем цементного раствора.
1 - панель наружной стены; 2 - панель внутренней стены; 3 - бетон; 4 - теплоизоляционный вкладыш; 5 - арматурные выпуски с монтажными диафрагмами; 6 - соединительные детали; 7 - несгораемый утеплитель
Рис.4. Стык однослойных панелей наружных стен со штампованными закладными деталями: 1 - панель наружной стены; 2 - панель внутренней стены; 3 - штампованная закладная деталь; 4 - соединительная деталь; 5 - бетон; 6 - уровень поверхности бетона 3.4.4. Установка
теплоизоляционных вкладышей в полость стыка должна производиться после монтажа
смежных панелей наружных стен и приклейки воздухо-защитной пленки, перед
установкой панели внутренней стены. 3.4.5. Конструкция узлов соединения
трехслойных панелей наружных стен с перекрытиями должна обеспечивать передачу
вертикальных нагрузок на внутренний бетонный слой панели шириной не менее 100 мм. 3.4.6. Горизонтальный стык
однослойных и трехслойных панелей наружных стен из легкого или тяжелого бетонов
следует проектировать с противодождевым барьером и с укладкой теплопакета в
уровне перекрытия. Высота противодождевого барьера должна приниматься не менее
высоты подъема водяного столба, эквивалентного нормативному скоростному напору
ветра и не менее 80 мм (рис. 1,б). 3.4.7. Для применения в сухой зоне, а также в районах Севера, где ветровой напор (с учетом повышающего коэффициента, учитывающего высоту здания) не превышает 60 кгс/м2, разрешается горизонтальные стыки выполнять без противодождевого барьера, но с декомпрессионной камерой в виде треугольной выемки высотой 60 мм в вышестоящей панели (рис. 5) [50].
Рис. 5. Горизонтальный стык панелей наружных стен с декомпрессионной камерой: 1 - панель наружной стены; 2 - панель перекрытия; 3 - цементно-песчаный раствор; 4 - декомпрессионная камера 3.5. Стыки панелей
для экспериментального строительства
3.5.1. При экспериментальном
строительстве вертикальные стыки рекомендуется выполнять "сухими" или
с заполнением полости стыков заливочным пенопластом. 3.5.2. При заполнении полости стыков заливочным пенопластом соединение панелей наружных и внутренних стен следует осуществлять с помощью сварки металлических закладных и накладных деталей, расположенных вне зоны пенопласта (рис. 6). Заливка пенопласта производится в "чулок" из синтетической пленки во избежание растекания заливочной композиции.
Рис. 6. Стык трехслойных панелей наружных стен с гибкими связями, заполненный заливочным пенопластом: а - в уровне верха панели; б - в уровне низа панели 1 - панель
наружной стены; 2 - панель внутренней стены; 3 - заливочный пенопласт; 4 -
оклеечная воздухоизоляция; 5 - закладная деталь; 6 - соединительная накладная
деталь; 7 - несгораемый утеплитель; 8 - цементно-песчаный раствор 3.5.3. Рекомендуется применять "сухие" стыки "внахлестку" с заведением концов панелей наружных стен смежных пролетов друг за друга (рис. 7). Соединение панелей наружных и внутренних стен при этом может осуществляться с помощью электросварки или накладок, прикрепленных болтами к гайкам, приваренным к закладным деталям.
Рис. 7. "Сухой" стык панелей наружных стен внахлест: 1 - панель
наружной стены; 2 - панель внутренней стены; 3 - пакля, смоченная в гипсовом
растворе; 4 - гипсовый раствор; 5 -уплотняющая прокладка; 6 - герметизирующая
мастика; 7 - закладная деталь; 8 - накладная соединительная деталь 3.5.4. Для обеспечения сохранности противодождевого барьера и повышения воздухозащитных свойств горизонтального стыка целесообразно выполнять его лабиринтным, располагая нижнюю грань "зуба" в одном уровне с горизонтальной плоскостью внутреннего, несущего слоя панели (рис. 8) или выше его [63].
Рис.8. Лабиринтный горизонтальный стык трехслойных панелей наружных стен с гибкими связями: 1 -
наружный слой; 2 - внутренний слой; 3 - панель перекрытия; 4 -
теплоизоляционный вкладыш; 5 - уплотняющая прокладка; 6 - герметизирующая
мастика; 7 - цементно-песчаный раствор 3.6. Водо - и
воздухозащита стыков панелей наружных стен
3.6.1. Стыки между панелями
наружных стен следует применять закрытого типа. 3.6.2. В снегозаносимых районах (при объеме снегопереноса более 400 м3/м, см. рис.1 СНиП 2.01.01-82 [32] и во влажной зоне (см. приложение 1 СНиП II-3-79* [l]) рекомендуется применять стыки панелей "внахлестку" (рис. 7) или стыки с нащельниками (рис. 9). Нащельники могут быть изготовлены из алюминия и алюминиевых сплавов (ГОСТ 24767-81 [33]).
Узел А
Рис.
9. Стык трехслойных стеновых панелей с нащельником: 1 - панель
наружной стены; 2 - панель внутренней стены; 3 - бетон; 4 - арматурные выпуски;
5 - соединительные детали; 6 - теплоизоляционный вкладыш; 7- оклеечная
воздухоизоляция; 8 - нащельник; 9 - мастика; 10 - герметик; 11 - шпилька с
резьбой; 12 - упорная планка 3.6.3. Водо - и воздухоизоляция
стыков обеспечивается герметизацией устья стыка мастикой "Тегерон"
(ТУ 21-29-87-82 [34])
на основе бутилкаучуков по упругой прокладке "Бутапор"
(ТУ-550-2-123-80 [35])
или других морозостойких прокладок (ГОСТ
19177-81 [36]).
При этом на чертежах следует указывать на необходимость применения грунтов КН-2
(ГОСТ
24064-80 [37]) или 51-Г-18 для
покрытия поверхности стыка, а также подосновы из "Бутапора" перед
нанесением мастики. Герметизация устья стыков производится в соответствии с
"Рекомендациями" [38]
и приложением
3 настоящих "Рекомендаций". 3.6.4. Допускается
применение мастики "Эластосил 11-06" (ТУ 6-02-775-76 [39])
и уплотняющих прокладок "Вилатерм-С" (ТУ 6-05-221-653-84 [40]). 3.6.5. Рекомендуется
применение двухступенчатой герметизации, при которой уплотняющие прокладки
заводятся не только снаружи, в устье стыка, но также устанавливаются во
внутренней зоне стыка: в горизонтальных стыках - по верху противодождевого
гребня; в вертикальных стыках однослойных панелей - в монтажном шве
непосредственно за воздухо-защитной лентой; в вертикальных стыках трехслойных
панелей - в монтажных швах между внутренним слоем наружных стен и боковыми
гранями поперечных внутренних стен. Пористые прокладки,
устанавливаемые изнутри помещений, обеспечивают дополнительную защиту от
инфильтрации воздуха к защиту стыка от проникновения пара из помещения. 3.6.6. В колодцах
вертикальных стыков следует устраивать оклеечную воздухоизоляцию с внутренней
стороны устья воздухоза-щитными лентами "Герлен" (ТУ 400-1-165-79 [41]);
"Герволент" (ТУ 21-29-46-76 [42])
или "Ликален" (ТУ 21-29-88-80 [43]). 3.6.7. Защитное покрытие
мастики в стыках снаружи следует предусматривать из полимерцементного состава
или краски ПХВ. 3.6.8. Указания по
герметизации швов панелей наружных стен в проектах следует давать
дифференцированно в зависимости от расчетных температур наружного воздуха. 3.6.9. Указания по
герметизации стыков в проектах должны быть составлены с учетом
"Инструктивного письма" [44]. 3.6.10. Герметизация мест примыкания оконных и дверных блоков к элементам стен производится мастикой "Тегерон". 3.7. Защитные слои
и отделка панелей
3.7.1. Отделка многослойных
и однослойных панелей, формуемых в горизонтальном положении, должна
производиться в соответствии с ВСН
66-89-76 [45]
и ГОСТ
11024-84 [4]. 3.7.2. Однослойные и
многослойные панели должны иметь защитные слои надлежащей долговечности. Их
марка по морозостойкости должна быть на одну ступень выше, чем материал стены,
но не ниже F 50. 3.7.3. Класс или марка
бетона и раствора наружного защитно-декоративного слоя по прочности на сжатие
должны быть: для однослойных панелей из легкого бетона - В 7,5 или М 100, для
сплошных трехслойных панелей - равными классу или марке бетона наружного слоя
панели или отличающимися от них не более, чем на одну ступень, но не ниже В 7,5
или М 100 и не выше В 15 или М 200. 3.7.4. Отделка осуществляется долговечными паропроницаемыми декоративными покрытиями, выбираемыми с учетом возможностей базы стройиндустрии, а именно: цветными поризованными бетонами и растворами, бетонами на пористых заполнителях с вскрытием их замедлителями твердения, каменными дроблеными материалами, нанесенными по свежеуложенному раствору или по клеющей подложке, а также пневматическим нанесением полимерцементных или полимер-минеральных паст. 3.7.5. Адгезия отделочных
покрытий должна составлять не менее 0,7 МПа. 3.7.6. Стеновые панели из
ячеистого бетона должны иметь долговечные наружные защитно-декоративные слои из
эластичных паропроницаемых материалов. При выборе наружной отделки таких
панелей следует учитывать СН 277-80 [46]. 3.7.7. Применение различных
видов отделки панелей наружных стен следует осуществлять в соответствии с приложением
2. 4. ИЗГОТОВЛЕНИЕ,
ПЕРЕВОЗКА И МОНТАЖ ПАНЕЛЕЙ
4.1. Составы бетонов, режимы
тепловой или автоклавной обработки изделий и последующих операций с ними на
заводах должны выбираться с учетом ограничения образования и раскрытия
технологических трещин в панелях. 4.2. Формование панелей
может осуществляться как лицевой поверхностью вниз, так и вверх. Однако
предпочтение следует отдавать изготовлению панелей лицевой поверхностью вниз
для получения более долговечного наружного слоя и повышения качества фасадной
поверхности изделий. 4.3. На заводах должен
соблюдаться строгий контроль за качеством изделия в соответствии с требованиями
ГОСТ
11024-84 [4] и ГОСТ
8829-85 [47]. Должны соблюдаться
правила хранения и транспортирования изделий в соответствии с требованиями ГОСТ
13015.0-83 [48]. Не допускается
глубокая разделка трещин под затирку раствором. 4.4. При изготовлении
трехслойных панелей с гибкими связями их подъем из горизонтального в
вертикальное положение рекомендуется производить с помощью кантователя. 4.5. Транспортные средства
для перевозок панелей должны быть соответствующим образом оборудованы для
обеспечения их сохранности при перевозках. 4.6. Транспортировка и
хранение панелей должны производиться в вертикальном положении, в закрепленном
состоянии с зазором между панелями не менее 10 см и на необходимом числе (не
менее трех) упругих прокладок. 4.7. При транспортировке и
складировании панели должны быть защищены от увлажнения. 4.8. Монтаж крупнопанельных
стен при температуре наружного воздуха ниже минус 50°С не допускается. 4.9. При производстве
монтажных работ в зимних условиях для заделки швов и стыков панелей наружных
стен рекомендуется применение растворов с начальной подвижностью,
соответствующей хорошей водоудерживающей способности. Каждый стык должен быть
замоноличен без перерывов во времени. 4.10. Необходимо исключать
превышения ширины растворных швов в стыках над проектной шириной, неравномерное
нанесение растворного слоя и применение частично затвердевших или промороженных
растворов. 4.11. При монтаже стен
должны применяться ограничители, гарантирующие минимальную ширину стыка,
требуемую для заполнения его герметиком. В процессе строительства должен
соблюдаться строгий контроль за качеством герметика. Допуск ширины монтажных швов
между стеновыми панелями следует назначать в соответствии с расчетом по методике
ГОСТ
21780-83 (СТ СЭВ 3740-82) [49]. 4.12. Монтаж стен должен
осуществляться с учетом требований СНиП III-16-80 [50]. 4.13. При монтаже стен
антикоррозионная защита стальных соединительных элементов должна осуществляться
с учетом положений СНиП II-23-76 [51]. 5. РАСЧЕТ СТЕН НА
НАГРУЗКИ И ВОЗДЕЙСТВИЯ
5.1. Общие
положения расчета
5.1.1. При проектировании
стен должны быть произведены: теплофизический расчет, расчет на все виды
нагрузок и воздействий с учетом их работы в системе здания. 5.1.2. Значения нагрузок и
параметры воздействий, значения коэффициентов перегрузок, коэффициентов
сочетаний, а также подразделение нагрузок и воздействий на постоянные и
временные (длительные, кратковременные, особые) должны приниматься в
соответствии с требованиями СНиП II-6-74 [52]. 5.2. Расчет
прочности, деформативности и трещиностойкости
5.2.1. При расчете на
нагрузки учитываются все статические и динамические усилия, возникающие в
панелях на стадии их изготовления, транспортирования, монтажа и эксплуатации. 5.2.2. Расчет стены в
системе элементов здания выполняется на температурно-влажностные воздействия,
неравномерную осадку здания при строительстве на вечномерзлых грунтах по II
принципу их использования и на ветровые нагрузки. Постоянные нагрузки
собственной массы стен и опирающихся на них перекрытий и покрытий, временные
нагрузки на перекрытия (масса мебели, перегородок, людей) и покрытия (масса
снегового покрова) определяются без учета взаимодействия панелей стен с другими
элементами здания. 5.2.3. Расчет стен на температурно-влажностные
воздействия выполняется в соответствии с "Рекомендациями" [53]. Расчет выполняется для двух
стадий: монтажной и эксплуатационной. Определение температурных усилий на
стадии монтажа следует выполнять с учетом изменения расчетной схемы стены
вследствие ее наращивания. 5.2.4. Проверку величин
усилий в сварных стыках и ширины раскрытия трещин в бетоне панелей, а также
проверку величин температурных деформаций и ширины раскрытия трещин
вертикальных стыков между панелями следует осуществлять в соответствии с
"Рекомендациями" [54].
При этом расчет температурных деформаций вертикальных стыков между стеновыми
панелями производится для зоны герметизации и зоны замоноличивания. 5.2.5. Расчет усилий в
стенах, вызванных неравномерной осадкой зданий, расположенных на оттаивающих
вечномерзлых основаниях, производится в соответствии с рекомендациями
"Руководства" [55]. 5.2.6. Расчет наружных стен
на ветровые воздействия выполняется только для жилых зданий точечного типа. При
этом наружные стены рассматриваются как диафрагмы, жестко соединенные с
перекрытиями. 5.2.7. Расчет стен в системе
здания рекомендуется выполнять по программам: "STEP"
(ЛенЗНИИЭП) - на температурные воздействия; АПЖБК (НИИАС) и ИТ-К-51
(ЛенЗНИИЭП) - на неравномерные осадки оттаивающего основания; "Парад-ЕС"
(ЦНИИЭПжилища) и ИТ-К-4В (ЛенЗНИИЭП) - на ветровые воздействия. 5.2.8. Расчет стен следует
производить по методикам, содержащимся в ВСН 32-77 [3]
и "Рекомендациях" [30]. 5.2.9. При расчете панели в
своей плоскости ее расчетная мoдeль принимается в виде рамы. 5.2.10. Расчет элементов
панели (простенков, перемычек), ее связей и стыков по предельным состояниям
первой и второй групп осуществляется в соответствии с требованиями СНиП 2.03.01-84
[2]
и с учетом рекомендаций BCH 32-77 [3]. 5.2.11. При расчете панелей
на усилия, возникающие при подъеме, транспортировании и монтаже, собственную
массу элемента следует вводить в расчет с коэффициентом динамичности, равным
при транспортировании 1,8; при подъеме и монтаже - 1,5; при этом коэффициент
перегрузки к собственной массе элемента не вводится. 5.2.12. Расчет трехслойных
панелей с жесткими связями должен производиться с учетом совместной работы
внутреннего и наружного железобетонных слоев. При этом должна быть проверена
прочность и трещиностойкость этих слоев. Проверку прочности
внутреннего наиболее нагруженного слоя допускается производить без учета его
совместной работы с наружным слоем. 5.2.13. Расчет закладных
деталей производится с учетом требований СНиП 2.03.01-84 [2]
и "Пособия" [29]. 5.3.
Теплофизический расчет
5.3.1. По теплозащитным
свойствам, а также по паропроницанию и воздухопроницанию панели наружных стен
должны удовлетворять требованиям СНиП II-3-79* [1]. 5.3.2. Сопротивление
теплопередаче Rо наружных стен следует принимать равным экономически
целесообразному сопротивлению теплопередаче Rоэк, определенному по методике СНиП II-3-79* [1]
и в соответствии с "Руководствами" [56],
[64].
При этом сопротивление теплопередаче Ro должно быть не менее
требуемого сопротивления теплопередаче Roтр по санитарно-гигиеническим
условиям, определенного по формуле [l] СНиП II-3-79* [1]. При вариантном
проектировании конструкций допускается определение экономически целесообразного
сопротивления теплопередаче путем введения повышающего коэффициента Кэк
к значению требуемого сопротивления теплопередаче Величина коэффициента Кэк
принимается равной для трехслойных панелей: с жесткими связями - 1,3; с гибкими связями - 1,5; для однослойных панелей: из бетонов на пористых
заполнителях - 1,1; из ячеистых бетонов - 1,3. 5.3.3. Расчет сопротивления
паропроницанию выполняется по СНиП II-3-79* [l] из условия недопустимости
накопления влаги в конструкции в период эксплуатации с учетом сопротивления
паропроницанию наружных защитно-декоративных слоев и водонепроницаемой пленки,
в которую оборачиваются влагоемкие утеплители при изготовлении трехслойных
панелей. 5.3.4. Термическое
сопротивление наружных стен с оконными проемами и теплопроводными включениями
следует определять как приведенное термическое сопротивление Rпр неоднородной ограждающей
конструкции, в соответствии со СНиП II-3-79* [l]. 6. РАСЧЕТ ДОЛГОВЕЧНОСТИ НАРУЖНЫХ СТЕН
6.1. Общие положения расчета
6.1.1. Долговечность
наружных ограждающих конструкций определяется сроком их службы с сохранением в
требуемых пределах эксплуатационных качеств в данных климатических условиях при
заданном режиме эксплуатации зданий. Для наружных ограждающих
конструкций жилых зданий установлены следующие степени долговечности: I
степень - со сроком службы не менее 100 лет; II степень - со сроком
службы не менее 50 лет; III степень - со сроком
службы не менее 20 лет. 6.1.2. Требуемая степень
долговечности наружных ограждающих конструкций для жилых зданий устанавливается
в зависимости от их класса по капитальности. 6.1.3. По СНиП II-Л.1-71*
[57] жилые здания подразделяются на четыре класса по капитальности в
соответствии с требованиями главы СНиП II-А.3.62 [58] и по степени
огнестойкости в соответствии с требованиями главы СНиП II-А-80 [59]. Жилые
здания следует проектировать: I класса - по долговечности
и огнестойкости основных конструкций не ниже 1 степени; II класса - по долговечности
и огнестойкости основных конструкций - не ниже II степени; III класса - по
долговечности основных конструкций не ниже II степени и огнестойкости - не ниже
III степени; IV класса - по долговечности
основных конструкций не ниже III степени, степень огнестойкости не нормируется. 6.1.4. Жилые здания следует
проектировать: I класса - любой этажности; II класса - высотой не более девяти
этажей; III класса - высотой не более пяти этажей и IV класса - высотой не
более двух этажей. 6.1.5. Жилые панельные
здания для северной строительно-климатической зоны должны проектироваться II и
III классов с наружными ограждающими конструкциями II степени долговечности. 6.1.6. Требуемую
долговечность наружных стен следует обеспечивать применением материалов,
имеющих надлежащие прочность, морозостойкость и влагостойкость, а также
соответствующими конструктивными решениями, предусматривающими, в случае
необходимости, специальную защиту элементов конструкции, выполняемых из
недостаточно стойких материалов. 6.1.7. Срок службы отдельных
элементов, от которых зависит долговечность наружных стен (стальные закладные и
крепежные детали, связи, узлы и их сопряжения), должен быть не ниже срока
службы всей конструкции. 6.1.8. Наружные панели стен
должны иметь защитные слои надлежащей долговечности. Их марка по
морозостойкости должна быть на 1-2 ступени выше, чем у материала стены. Панели наружных стен без
защитного слоя не экономичны, так как по условиям их долговечности должны в
целом изготавливаться из материала с более высокой маркой по морозостойкости по
сравнению со стеной с защитным слоем. 6.1.9. Обеспечение
требований долговечности наружных крупнопанельных стен является обязательным
этапом их проектирования, а при выборе типа ограждения предпочтение следует
отдавать более долговечной конструкции. 6.1.10. Долговечность
наружной ограждающей конструкции оценивается по ее сравнительному или
фактическому значениям. Под долговечностью понимается продолжительность в годах
первого доремонтного периода эксплуатации ремонтируемой ограждающей конструкции
или ее элемента, например, защитного слоя (сравнительная долговечность) или
продолжительность срока службы ремонтируемой конструкции, а также неремонтируемой
конструкции или ее неремонтируемой части, например, простенка. Сравнительная долговечность
ограждающей конструкции не должна быть ниже нормативной периодичности
комплексных капитальных ремонтов, предусмотренной "Положением" [60] и
равной для зданий с крупнопанельными стенами 30 годам. Фактическая долговечность
ограждающей конструкции не должна быть ниже требуемой степени ее долговечности
(см. п. 6.1.1) для жилых зданий II класса (см. п.п. 6.1.3 и
6.1.4) равной 50 годам. 6.1.11. Наружная ограждающая
конструкция, долговечность которой прогнозируется, должна удовлетворять всем
требованиям СНиП
2.03.01-84 [2]
и СНиП II-3-79* [l]. 6.1.12. Долговечность q, лет, наружной стены или ее наружного
защитного слоя определяется по формуле
где N -
выдерживаемое материалом стены или соответственно ее наружным защитным слоем
число циклов попеременного замораживания при стандартных испытаниях на
морозостойкость, численно равное цифровому индексу устанавливаемой в них его
марки по морозостойкости (например, 35 при F 35); wн - массовое отношение влаги
в материале, соответствующее его полному водонасыщению без вакуумирования,
принимаемое по табл. 6; wр - равновесное массовое
отношение влаги в материале, ниже которого при температуре минус 20°С лед не образуется, принимаемое по табл. 7; wэ(з), wэ(л) - массовые отношения влаги в
материале в зоне промерзания ограждения в условиях его эксплуатации на
зимне-весеннем (з) и летне-осеннем (л) периодах года соответственно при
расчетах на долговечность; x(ti) - соответствующие данному
- зимне-весеннему или летне-осеннему периоду года переменные коэффициенты,
принимаемые по табл. 8 в зависимости от достигаемой материалом отрицательной
температуры ti в каждом отдельном случае i ее
перехода через 0°C ниже
температуры начала замерзания tнз в нем жидкой влаги (см.
табл. 6); ni(з), ni(л) - число таких случаев i достижения температуры в году на этих периодах соответственно. Таблица 6
Таблица 7
При обычно наблюдаемом
нестационарном (неустановившемся) температурном поле ограждения при данной
температуре ti (см. разделы 6.2 и 6.3)
наблюдается только один цикл i, поэтому в этом случае
Для установления числа
случаев i и соответствующих им температур ti, по которым находятся
коэффициенты x(ti), необходимо
предварительное определение полных нестационарных температурных полей
ограждающей конструкции в зимне-весеннем и летне-осеннем периодах года с учетом
характеристик климатической активности района строительства, влияющих на
долговечность наружных ограждений. 6.1.13. При рабочем
проектировании однослойных наружных стен без или с наружным защитным слоем
долговечность тела стены qст определяется в соответствии
с п. 6.1.12 по программе "КLIMAT", разработанной HИИСФ и
приведенной с соответствующими пояснениями в приложении 4. Долговечность же
наружного защитного слоя qсл при этом определяется по
формуле
где индексы "ст" и "сл"
указывают на принадлежность данной величины к материалу тела стены или
защитного слоя соответственно. 6.1.14. При вариантном
проектировании наружных стен, а также при отсутствии ЭВМ, долговечность стены и
ее наружного слоя может определяться по формуле (1) с учетом указаний п.п.
6.1.15-6.1.17 и разделов в 2. 6.3 и 6.4 (см. приложения 5, 6, 7). Таблица 8
6.1.15. Долговечность
наружного защитного слоя наружной стеновой панели без применения ЭВМ
определяется по формуле (1) при коэффициентах x (ti), найденных для середины
этого слоя по ее полному температурному полю, отыскиваемому с учетом указаний
разделов 6.2 или 6.3. 6.1.16. Долговечность тела
наружной стеновой панели без применения ЭВМ определяется по формуле (1) при
коэффициентах x (ti), найденных для середины
слоя устойчивого промерзания при активных периодах года, по ее полному
температурному полю, отыскиваемому с учетом указаний разделов 6.2 или 6.3. Толщина слоя устойчивого
промерзания стены при активных периодах года устанавливается в соответствии с
указаниями п.п. 6.2.6 или 6.3.7. 6.1.17. Массовые отношения
влаги в материале wэ(з) и wэ(л) в зоне промерзания стены в
условиях ее эксплуатации в зимне-весеннем (з) и летне-осеннем (л) периодах года
при расчете ее долговечности без применения ЭВМ принимаются соответственно
равными
где gо и gоmin
- плотности материала стены в сухом состоянии соответственно расчетная и
минимальная из указанных в приложении 3 СНиП II-3-79Х [1]
для такого материала из данной родственной группы; w - соответствующее расчетное массовое
отношение влаги в материале при теплофизическгх расчетах, приведенное в этом
приложении; Dwср - его предельно допустимое
приращение, принимаемое по табл. 14 СНиП II-3-79Х [1]. 6.2. Расчет нестационарного
температурного поля однослойной наружной ñòåíû
в
çèìíå-âåñåííåì
и летне-осеннем периодах года для прогнозирования ее долговечности без
применения ЭВМ 6.2.1. Стена с защитным
слоим считается однослойной. При определении ее температурнoгo поля различия в
теплофизических характеристиках защитного слоя и тела стены не учитываются. Их
значения принимаются соответствующими материалу тела стены. 6.2.2. Теплофизические
характеристики материала стены g(w), с(w), l(w) и 6.2.3. Квазистационарная
составляющая температурного поля в зимне-весеннем и летне-осеннем периодах года
однослойной стены общей толщиной d, связанная с годовым ходом
среднемесячных температур наружного воздуха t см, при температуре
внутреннего воздуха tв определяется по формуле t(x, t) = m1 + m3x + m5x2 + m6x3 + (m2 + m4x) t , (3) где х -
координата точки стены, отсчитываемая от ее наружной поверхности; t - время, отсчитываемое от середины месяца
зимне-весеннего или, соответственно, летне-осеннего периодов года, предшествующего
началу периодических оттепелей или соответственно заморозков на этих периодах с
переходом через tнз; mi
- постоянные коэффициенты,
определяемые по формулам:
в которых
причем a - коэффициент температуропроводности материала
стены; b - темп изменения среднемесячных температур наружного воздуха в
зимне-весеннем или летне-осеннем периодах года, определяемый в соответствии с
указаниями п. 6.4.4; tв
- расчетная температура внутреннего воздуха, принимаемая по ГОСТ 12.1.005-76 и
нормам проектирования жилых зданий, а
Здесь
где aв и aн - коэффициенты теплоотдачи
внутренней поверхности стены и наружной поверхности стены для зимних условий,
определяемые, соответственно, по табл. 4 и 6 СНиП II-3-79Х [l]. 6.2.4. Гармонические
составляющие температурного поля однослойной стены определяются с учетом
соответствующих амплитуд и периодов, назначаемых в соответствии с указаниями
п.п. 6.4.3 и 6.4.6. Учитываются две таких
составляющих: составляющая, связанная с
суточными колебаниями температуры наружного воздуха со средней амплитудой Ас
(см. п. 6.4.3) и периодом Р=24 ч; составляющая, связанная с
устойчивыми периодическими заморозками и оттепелями со средними амплитудами Ар,
периодами Рр и числом mp в году (см. п. 6.4.6). 6.2.5. Амплитуды суточных
колебали температуры в слое стены, отстоящем на расстоянии Х от ее наружной
поверхности, определяются по формуле где Ап - амплитуда суточных колебаний
температуры на наружной поверхности стены, равная
В формулах (9) и (10): Р -
период суточных колебаний температуры, равный 24 ч; Ас - средняя
амплитуда суточных колебаний температуры наружного воздуха, принимаемая по
указаниям п. 6.4.3. 6.2.6. Амплитуды колебаний
температуры в слое стены, отстоящем на расстоянии Х от ее наружной поверхности,
связанные с устойчивыми периодическими заморозками и оттепелями с периодом Рр
(см. п. 6.4.6), находится по формуле
где Ар - средняя
расчетная амплитуда этих заморозков и оттепелей на данном зимне-весеннем или,
соответственно, летне-осеннем периодах года, определяемая в соответствии с
указаниями п. 6.4.6; d -
толщина стены. 6.2.7. Полное температурное
поле однослойной стены находится наложением на его составляющую (3) двух
гармонических колебаний (см. п. 6.2.4) с амплитудами и периодами, назначаемыми
в соответствии с указанием п.п. 6.2.5, 6.2.6, 6.4.3 и 6.4.6. 6.2.8. Глубина устойчивого
промерзания однослойной стены в активном периоде года находится приравниванием
0°С левой части уравнения (3). Она определяется дважды: для начала зимне-весеннего
и конца летне-осеннего периодов, находится
как средне-арифметическое из этих двух ее значений. 6.3. Расчет нестационарного
температурного поля трехслойной наружной стены с эффективным утеплителем на
зимне-весеннем и летне-осеннем периодах года дли прогнозирования ее
долговечности без применения ЭВМ 6.3.1. Расчет
нестационарного температурного поля трехслойной наружной стены производится с
учетом указаний п.п. 6.2.1 и 6.2.2. 6.3.2. Квазистационарная
составляющая температурного поля трехслойной стены (рис. 10) на зимне-весеннем
и летне-осеннем периодах года, связанная с годовым ходом среднемесячных
температур наружного воздуха t см, при температуре
внутреннего воздуха tв для каждого
из трех слоев стены определяется, соответственно, по формулам:
Здесь: х и t - имеют тот же смысл, что и в формуле (3); а1,
а2, а3 -
коэффициенты температуропроводности отдельных слоев стены; bi и сi
- постоянные коэффициенты, которые определяются по формулам
где с = l1 b0 (tв - tсм) ; (14) l1, l2, l3 - коэффициенты
теплопроводности слоев стены; d1, d2, d3 - толщины этих слоев; где b8 = -bb0 ; (17) с4 = hнс3 , (18) а остальные постоянные сi
находятся решением системы совместных уравнений
Рис. 10. Схема
трехслойной стены с эффективным утеплителем
6.3.3. Гармонические
составляющие температурного поля трехслойной стены с соответствующими
амплитудами и периодами определяются в соответствии с указаниями п. 6.2.4. При
этом суточные колебания температуры учитываются только для наружного слоя
стены. 6.3.4. Амплитуды суточных
колебаний температуры в наружном слое трехслойной стены определяются в
соответствии с указаниями п. 6.2.5. 6.3.5. Амплитуды колебаний
температуры каждого из трех слоев трехслойной стены, связанные с устойчивыми
периодическими заморозками и оттепелями с периодом Рр (см. п.
6.4.6), определяются, соответственно по формулам: где Ар имеет тот же смысл, что и в
формуле (11). 6.3.6. Полные температурные
поля для каждого из трех слоев трехслойной стены находятся наложением на их
соответствующую квазистационарную составляющую (12) двух гармонических
колебаний (см. п.п. 6.З.З и 6.2.4) с амплитудами и периодами, назначаемыми в
соответствии с пп. 6.3.4, 6.2.5, 6.3.5 и 6.4.6. 6.3.7. Глубина устойчивого
промерзания трехслойной стены в активные периоды года принимается равной
толщине d1 ее наружного холодного слоя
(рис. 10). 6.4. Определение
характеристик климатической активности района строительства, влияющих на
долговечность наружных ограждающих конструкций, при ее прогнозировании без
применения ЭВМ 6.4.1. Для расчета полных
нестационарных температурных полей наружных ограждающих конструкций в
зимне-весеннем и летне-осеннем периодах года, с учетом которых производится
прогнозирование их долговечности, необходимо располагать данными о
характеристиках климатической активности района строительства. К их числу
относятся следующие данные о температуре наружного воздуха: среднемесячные температуры t см по
месяцам года; средние амплитуды Ас
суточных колебаний температуры по месяцам года с периодом Р = 24 ч; среднесуточные температуры tсс по
дням месяцев года; темп в изменениях
среднемесячных температур tсм в их годовом ходе в
зимне-весеннем и летне-осеннем периодах года; средние расчетные
полупериоды Рр устойчивых периодических заморозков и оттепелей по отношению к
годовому ходу среднемесячных температур tсм в зимне-весеннем и летне-осеннем
периодах года; средние расчетные амплитуды
Ар этих заморозков и оттепелей с полупериодом Рр в зимне-весеннем к
летне-осеннем периодах года; среднее расчетное число mр указанных заморозков и
оттепелей в году в зимне-весеннем и летне-осеннем периодах года; средняя календарная дата
начала устойчивых периодических оттепелей по отношению к годовому ходу
среднемесячных температур tсм в зимне-весеннем периоде
года; средняя календарная дата
начала устойчивых периодических заморозков по отношению к годовому ходу
среднемесячных температур tсм в летне-осеннем периоде года. Указанные характеристики
климатической активности района строительства определяются с помощью указаний
п.п. 6.4.2-6.4.7. П р и м е ч а н и е.
Зимне-весенним и летне-осенним периодами года называются его активные периоды в
указанное время, на которых возможны периодические оттепели и заморозки с
переходами температуры наружного воздуха через 0°С. 6.4.2. Среднемесячные
температуры tcì наружного воздуха определяются по СНиП
2.01.01-82 [32]. 6.4.3. Средние амплитуды Ас
суточных колебаний температуры наружного воздуха определятося по приложению 2
СНиП 2.01.01-82. П р и м е ч а н и е. В
приложении 2 СНиП 2.01.01-82 [32] указаны удвоенные значения Ас. 6.4.4. Темп в изменении
среднемесячных температур tсм наружного воздуха в
зимне-весеннем и летне-осеннем периодах года определяется по графику их
годового хода (см. п. 6.4.2) на указанных его участках, где эти температуры
изменяются практически линейно (см. приложение 5). 6.4.5. Среднесуточные
температуры tcc наружного воздуха определяются по наблюдениям за
год близлежащей к району строительства метеорологической станции, публикуемым в
специальных ежегодно выпускаемых метеорологических ежемесячниках (см.
приложение 5). 6.4.6. Средние расчетные,
амплитуд Ар, средние расчетные периоды Рр, среднее
значение mp и календарные даты начала
устойчивых периодических оттепелей и заморозков в зимне-весеннем и
летне-осеннем периодах года определяются как средние арифметические за
последние 5 лет по графикам годового хода его среднемесячных температур (п
.6.4.2). При этом учитываются только периодические оттепели и периодические
заморозки с переходом на tнз (см. приложение 5). 6.4.7. Для ряда городов
северной строительно-климатической зоны средние расчетные характеристики
климатической активности Рр, Ар, mр, связанные с устойчивыми
периодическими заморозками и оттепелями, и календарные даты начала последних,
найденные в соответствии с указаниями п. 6.4.6, приведены в табл. 9. Таблица 9 Средние расчетные
характеристики климатической активности
| |||||||||||||||||||||||||||||||||||||||||||||||||||||||||||||||||||||||||||||||||||||||||||||||||||||||||||||||||||||||||||||||||||||||||||||||||||||||||||||||||||||||||||||||||||||||||||||||||||||||||||||||||||||||||||||||||||||||||||||||||||||||||||||||||||||||||||||||||||||||||||||||||||||||||||||||||||||||||||||||||||||||||||||||||||||||||||||||||||||||||||||||||||||||||||||||||||||||||||||||||||||||||||||||||||||||||||||||||||||||||||||||||||||||||||||||||||||||||||||||||||||||||||||||||||||||||||||||||||||||||||||||||||||||||||||||||||||||||||||||||||||||||||||||||||||||||||||||||||||||||||||||||||||||||||||||||||||||||||||||||||||||||||||||||||||||||||||||||||||||||||||||||||||||||||||||||||||||||||||||||||||||||||||||||||||||||||||||||||||||||||||||||||||||||||||||||||||||||||||||||||||||||||||||||||||||||||||||||||||||||||||||||||||||||||||||||||||||||||||||||||||||||||||||||||||||||||||||||||||||||||||||||||||||||||||||||||||||||||||||||||||||||||||||||||||||||||||||||||||||
|
|
Зимне-весенний период года |
Летне-осенний период года |
||||||||||||
|
|
оттепели |
заморозки |
оттепели |
заморозки |
||||||||||
|
Город |
начало (число, месяц) |
полупериод РР,
сут. |
АР, оС |
mР, цикл год |
полупериод РР,
сут. |
АР, оС |
mР, цикл год |
начало (число, месяц) |
полупериод РР,
сут. |
АР, оС |
mР, цикл год |
полупериод РР,
сут. |
АР, оС |
mР, цикл год |
|
Воркута |
30.04 |
1,9 |
3,8 |
4 |
4,7 |
4,1 |
7 |
29.09 |
4,8 |
3,2 |
3 |
3,3 |
3,1 |
2 |
|
Магадан |
02.05 |
2,0 |
2,1 |
3 |
4,7 |
2,2 |
3 |
08.10 |
4,9 |
4,4 |
1 |
4,7 |
2,9 |
1 |
|
Надым |
16.04 |
3,6 |
5,2 |
4 |
5,7 |
6,1 |
6 |
29.09 |
3,7 |
3,0 |
3 |
3,4 |
3,8 |
2 |
|
НовыйУренгой |
20.04 |
3,3 |
2,7 |
3 |
5,7 |
7,0 |
6 |
28.09 |
3,9 |
2,8 |
3 |
2,5 |
3,2 |
2 |
|
Норильск |
27.04 |
1,6 |
3,7 |
1 |
10,8 |
10,5 |
3 |
28.09 |
4,0 |
4,1 |
1 |
1,6 |
2,5 |
1 |
|
Сургут |
04.04 |
5,8 |
5,7 |
5 |
3,4 |
4,0 |
6 |
03.10 |
6,1 |
7,5 |
4 |
2,4 |
3,5 |
5 |
|
Тында |
09.04 |
3,5 |
3,6 |
3 |
5,2 |
3,8 |
3 |
01.10 |
3,4 |
3,6 |
2 |
2,9 |
3,4 |
2 |
|
Якутск |
16.04 |
4,6 |
4,6 |
2 |
6,1 |
4,4 |
2 |
25.10 |
2,7 |
1,8 |
2 |
5,7 |
5,2 |
2 |
1.1. Нанесение
антикоррозионных покрытий на гибкие связи производят после выполнения
механических и термических операций.
Перед нанесением порошковых
композиций поверхность металла очищают от загрязнений, рыхлой ржавчины
механическим способом. Жировые загрязнения удаляют растворителем - бензином,
уайт-спиритом и др.
1.2. После очистки и
обезжиривания сухую поверхность гибких связей покрывают полимерными порошковыми
композициями. Полимерные порошковые композиции наносятся на гибкие связи
методом электростатического распыления или в ваннах ионизированного кипящего
слоя.
1.3. Для нанесения
порошковых композиций применяются специально сконструированные камеры.
Осаждение порошковых
композиций осуществляется при напряжении электростатического поля 40-70 кВ.
Длительность процесса
осаждения, необходимая для получения заданной толщины покрытия 300-350 мкм, должна быть 15-20 с.
1.4. Оплавление осаждающего
слоя порошковой полимерной композиции производится в печах конвективного,
индукционного или лучистого нагрева.
Оплавление полиэтиленовых
композиций осуществляется при температуре 220-230°С, эпоксидных композиций -
при 180-210°С.
Длительность процесса
пленкообразования без учета инерции массы стержня составляет для
полиэтиленового покрытия 7 мин, для эпоксидного - 15 мин.
1.5. Охлаждение
расплавленного покрытия из полиэтилена производится водой в душевой или ванной
установке.
Охлаждение эпоксидного
расплава осуществляется на воздухе, на участке, оборудованном вентиляцией.
1.6. Заводской участок по
нанесению покрытий из порошковых полимеров должен иметь два отделения:
подготовки поверхности
арматуры;
нанесения и оплавления
покрытия.
Выбор, и конструирование
технологического оборудования участка определяется требуемой
производительностью цеха по выпуску изделий.
В случае применения
комбинированных покрытий отделение подготовки поверхности арматуры должно
включать пост для нанесения цинкового покрытия.
|
Климатический подрайон |
Географическое положение
подрайона |
Тип панелей и основные
материалы |
Способы отделки |
|
1 |
2 |
3 |
4 |
|
IА |
Северные части Восточной Сибири за исключением прибрежных участков. Основные города: Верхоянск, Мирный, Оймякон, Туруханск, Хатанга, Якутск |
Однослойные ячеистые бетоны вида А |
При формовании в горизонтальном положении "лицом вниз": 1) цветными поризованными растворами (D 1200-1400) с гладкой поверхностью и последующей гидрофобизацией кремнийорганическими составами; 2) цветными поризованными растворами с рельефной поверхностью (укладка на дно формы профилированных матриц, формование на полиэтиленовой пленке, механическая обработка поверхности после термообработки); 3) каменными дроблеными материалами (до 20 мм) по слою цветного поризованного раствора При формовании по резательной технологии: нанесение пневматическим способом защитно-декоративных слоев (толщина не менее 1,2 мм) из эластичных паропроницаемых полимерцементных и полимерминеральных на основе латекса СКС 65-ГП "б", поливинилацетатной эмульсии, кремнийорганических соединений |
|
|
|
Трехслойные тяжелые бетоны и бетоны на пористых заполнителях Однослойные бетоны на пористых заполнителях |
При формовании "лицом вниз": 1) декоративными поризованными бетонами или бетонами на пористых заполнителях с вскрытием с помощью замедлителей твердения; 2) нанесением пневматическим
способом защитно-декоративных слоев из полимерцементных и полимерминеральных
паст (для легкобетонных панелей) |
|
IБ и IГ |
Азиатская часть прибрежной зоны, прилегающей к Северному Ледовитому океану (IБ). Основные города: Диксон, Норильск, Тикси, Амбарчик
Европейская часть побережья Северного Ледовитого океана и Тихоокеанское побережье, за исключением его южной части (от Чукотки до Охотска) (IГ). Основные города: Нарьян-Мар, Воркута, Салехард, Анадырь, Магадан |
Трехслойные тяжелые бетоны и бетоны на пористых заполнителях Однослойные бетоны на пористых заполнителях |
При формовании "лицом вверх": 1) слоем декоративного поризованного раствора с фактурой "под шубу", получаемой рассыпкой через сито влажного песка, образующего при падении комками на свежеуложенную поверхность декоративной рельеф; 2) нанесением пневматическим путем цветных полимерцементных и полимерминеральных паст толщиной не менее 1,2 мм; 3) плазменной обработкой поверхности. При формовании "лицом вниз": 1) декоративными поризованными бетонами или бетонами на пористых заполнителях с обнажением зерен заполнителя с помощью замедлителей твердения; 2) слоем декоративного поризованного цементного раствора, наносимого на целлофановую или полиэтиленовую пленку с уложенными под ней рельефообразующими материалами и последующей гидрофобизацией поверхности; 3) нанесением пневматическим путем цветных полимерцементных и полимерминеральных паст толщиной не менее 1,2 мм |
3.1. Мастика
"Тегерон" представляет собой вязкую однородную массу, изготовленную
на основе синтетического каучука, наполнителей, пластификаторов и добавок.
3.2. На строительную
площадку мастика "Тегерон" поставляется готовой к применению в виде
брикетов диаметром 40 мм, длиной 40-50 см, массой 2-2,5 кг, упакованных в
полиэтиленовую пленку толщиной не более 40 мкм по ГОСТ 10354-82 [61].
Допускается поставка мастики "Тегерон" в виде жгутов того же диаметра
длиной 1-1,5 м, упакованных также в полиэтиленовую пленку.
3.3. Герметизирующая мастика
"Тегерон" должна отвечать требованиям технических условий ТУ
21-29-87-82 [34] и соответствовать нормам, указанным в таблице 10.
Таблица 10
|
|
Норма |
|
|
Наименование показателя |
высшая категория |
1-я категория |
|
Предел прочности при растяжении |
0,01 |
0,007 |
|
Относительное удлинение при максимальной нагрузке не менее, % |
15 |
10 |
|
Характер разрушения |
Когезионный |
Когезионный |
|
Водопоглощение не более, % |
0,4 |
0,4 |
|
Стекание мастики при 70°С (теплостойкость) не более, мм |
2 |
2 |
|
Относительное удлинение при температуре минус 60°С, не менее |
10 |
7 |
3.4. Упаковку и маркировку
мастики "Тегерон" производят в соответствии с ГОСТ 14791-79 [62] и
транспортируют в любых крытых транспортных средствах, хранят в закрытых
помещениях, предохраняющих ее от воздействия солнечных лучей,
атмосферных.осадков, растворителей и механических повреждений.
3.5. Гарантийный срок
хранения мастики "Тегерон" один год со дня ее изготовления.
3.6. В качестве уплотнительного
материала и упругой подосновы под мастичный герметик "Тегерон"
используются пористые прокладки.
3.7. Мастика
"Тегерон" и пористые прокладки, доставленные на стройплощадку,
хранятся в специально подготовленном закрытом помещении, которое в зимний период
времени должно обогреваться. По мере необходимости указанные материалы подаются
в будку герметизаторщика.
3.8. Работы по герметизации
стыков панелей мастикой "Тегерон" проводятся только в сухую погоду.
3.9. Герметизация стыков
панелей мастикой "Тегерон" осуществляется при помощи
электрогерметизатора.
Для герметизации стыков
панелей при отрицательных температурах включается обогреватель герметизатора,
который обеспечивает температуру мастики на выходе +35 ¸ +40 °С.
3.10. Мастика укладывается в полость стыка ровным валиком толщиной 15-20 мм. Загерметизированный стык панелей сразу после нанесения мастики уплотняется при помощи расшивки.
Программа "KLIMAT"
разработана на базе общих принципов расчета долговечности наружных стен,
изложенных в разделе 6 настоящих "Рекомендаций". Она позволяет,
основываясь на метеорологических данных о климате района строительства,
определить долговечность однослойной наружной стены.
Расчет долговечности по
программе "КLIМАТ" осуществляется по климатическим данным за
каждый один выбранный год из числа последних пяти лет. Для этого в соответствии
с п. 6.4.5 "Рекомендаций" задаются значениями среднесуточных
температур по дням месяцев этого года на его активных летне-осеннем и
зимне-весеннем периодах. Продолжительность этих периодов обычно равна 60-90
суток. Промежуточными результатами такого расчета являются: определение
температурного поля стены на каждом из указанных активных периодов; вычисление
максимальной глубины зоны промерзания стенового ограждения на каждом из этих
периодов. Расчет долговечности повторяют для каждого года. 'За окончательное
значение долговечности стены принимается среднее значение долговечности ее
наименее долговечного слоя по пяти расчетным годам.
Программа написана на языке
Фортран-4. Объем машинной памяти, необходимый для ее реализации, 26 кбайт.
ALI, AL2 - соответственно, коэффициенты теплоотдачи
внутренней dв и наружной dн (для зимних условий)
поверхностей стены;
LA - коэффициент теплопроводности материала стены lм;
НЗ - толщина
стены d;
ТВ -
температура воздуха внутри помещения tв;
АО -
коэффициент температуропроводности материала стены aм;
СU -
удельная теплоемкость материала стены См;
ОМ -
объемная масса материала ограждения gм;
ОМRZ -
число циклов попеременного замораживания
, соответствующее марке по морозостойкости F
материала стены;
В10, В11,
В12, В13 - коэффициенты регрессии b0, b1, b2, b3 для определения количества
незамерзшей воды в материале, необходимые для вычисления переменных значений
коэффициента x (ti);
IKLMN - число активных периодов в году, равное двум;
N - число суток в рассматриваемом интервале времени одного активного
периода года;
D1
- разность среднесуточных температур начальных к последних суток
рассматриваемого активного периода года;
TN - начальная среднесрочная температура на рассматриваемом активном
периоде года;
АМР -
амплитуда суточных колебаний температуры наружного воздуха Ас;
WR - равновесное массовое отношение влаги в материале, ниже которого при
температуре -20°С лед в нем не образуется Wр;
WN - массовое отношение влаги в материале, соответствующее его полному
водонасыщению без вакуумирования (при испытании на морозостойкость по
стандартной методике) Wн;
А6, В6, В7 -
коэффициенты расчетной эпюры распределения влажности по толщине наружной стены a, b, d (рис.
11);

У (1) - массив значений
среднесуточных температур наружного воздуха на данном активном периоде года.
1. Ввод данных о материала и
геометрических размерах наружной стены осуществляется оператором READ на
строке 10, посредством которого происходит считывание с перфокарт значений
следующих величин: aн, aв, lм, d, tв, ам, см,
gм,
, b0, b1, b2, b3.
Значения aв, aн приведены в табл. 4 и 6 СНиП II-3-79Х [l].
Значение lм принимается соответствующим
среднему для всей стены массовому отношению влаги в материале в
эксплуатационных условиях Wcp = КС, где К = 0,71 для
материалов, у которых величина С определяется по формуле (22).
Для материалов, у которых
вид расчетной эпюры распределения влажности определен по данным натурных
обследований (см., например, табл. 11), Wср = 0,16а + 0,83С - 0,22ad. Для определения lм используются
экспериментальные данные о зависимости lм от
W, èëè ïри отсутствии таких данных, линейная
интерполяция на случай W=Wcp данных приложения 3 CÍèÏ
II-3-79Х [l], относящихся к случаю Б.
Расчетная эпюра
распределения влажности по толщине наружной стены приведена на рис. 11. Параметры
этой эпюры, характерные для наружных однослойных стен зданий, строящихся в
северной строительной климатической зоне, по данным их натурных обследований
для трех материалов приведены в табл. 11.
Анализ большого числа данных
натурных обследований наружных стен показал, что для однослойных стен без
облицовки, или с наружными защитными слоями, имеющими обычную
паропроницаемость, значение массовых отношений влаги в толще ограждения близки
в летне-осеннем и зимне-весеннем периодах, поэтому их можно принимать одинаковыми
и равными Wср. Для материалов, не указанных в табл. 11, при
отсутствии данных натурных обследований при расчете долговечности наружных стен
можно принимать
С = W + D Wср , (22)
где W -
расчетное массовое отношение влаги в материале в эксплуатационных условиях,
принимаемое по приложению 3 CÍèÏ II-3-79Х
[l];
а = 0,6 С ;
b = 1,2 С/d; d = С/d .
Таблица
11
|
Материал |
а, % по массе |
b, % по массе см |
c, % по массе |
d, % по массе см |
|
Ячеистый
бетон, g0 = 700 кг/м3 |
5,60 |
0,46 |
11,10 |
-0,40 |
|
Керамзитобетон,
g0 = 1000 кг/м3 |
3,30 |
0,85 |
14,60 |
-0,40 |
|
Шунгизитогазобетон, g0 = 1160 кг/м3 |
3,70 |
0,93 |
14,40 |
-0,56 |
Толщина ограждения d задается в метрах, величина tв - в °С. Значение
tв
принимается по ГОСТ 12.1.005-76 и Нормам проектирования зданий. Для жилых зданий
tв
= 18 °С.
Значение ам для
материалов во влажном состоянии определяется по формуле
(23)
где сж
- удельная теплоемкость жидкости
сж = 4,19 (кДж/кг ×°С);
со - то же для материала стены в сухом
состоянии (определяется по приложению 3 СНиП II-3-79Х);
g0 - объемная масса материала
в сухом состоянии (указана там же).
Объемная теплоемкость смgм и объемная масса gм материала во влажном
состоянии определяются по формулам
смgм = соgо + сж (Wср × gо) ; (24)
gм = g0 = (1 + Wср) . (25)
Марка материала по
морозостойкости принимается по результатам стандартных испытаний на
морозостойкость.
Коэффициенты регрессии b0, b1, b2, b3 принимаются по табл. 12.
Таблица 12
|
Материал |
g0, кг/м3 |
b0×102, кг/кг |
b1 |
b2,°С |
b3×102, (кг/кг) °С |
|
Цементно-песчаный раствор |
2120 1935 1725 |
3,239 0,549 2,197 |
0,411 0,786 0,260 |
9,052 0,573 1,915 |
-1,637 -0,605 -1,193 |
|
Шунгизитогазобетон |
1160 |
4,063 |
0,219 |
-3,875 |
-0,304 |
|
Керамзитобетон |
1430 1000 |
3,833 4,448 |
0,219 0,129 |
-4,269 0,934 |
-0,340 -1,758 |
|
Ячеистый бетон |
850 |
2,353 |
0,242 |
-7,670 |
-1,135 |
2. Ввод значения IKLMN,
соответствующего числу активных периодов года, осуществляется оператором READ
(строка 18). На протяжении одного года обычно наблюдаются два периода (IKLMN = 2).
3. Ввод климатических данных
и данных о влажностном состоянии материала ограждения осуществляется
посредством оператора "READ" на строке 23. Этот
оператор выполняется один раз для каждого активного периода года, в результате
чего осуществляется считывание с перфокарт значений величин N, D1, TN, Ac, Wp, Wн, а, b, d.
Величина N
соответствует числу суток в выбранном интервале времени на изучаемом активном
периоде года. Непременным условием реализации программы является задание числа N
четным.
IN -
среднесуточная температура наружного воздуха в первые сутки на выбранном
интервале времени для каждого активного периода года.
D1 -
разность между среднесуточными температурами наружного воздуха первых и
последних суток на данном активном периоде года.
TN и D1 -
определяются по метеорологическим данным о среднесуточных температурах
наружного воздуха в районе строительства (п. 6.4.5 "Рекомендаций").
Ас - амплитуда
суточных колебаний температуры наружного воздуха средняя для всего активного
периода года. Значение Ас может быть взято по метеорологическим
ежегодникам, непосредственно по данным ближайшей к пункту строительства
метеостанции или определено с учетом данных СНиП 2.01.01-82 [32].
Значения Wp и Wн, соответственно, берутся из табл. 6 и 7 раздела 6
настоящих "Рекомендаций".
4. Ввод хода среднесуточных
температур осуществляется оператором READ (строка 27). Необходимо
задавать среднесуточные температуры в виде одномерного массива с числом
значений N, которое выбирается таким образом, чтобы в активный
период года попали все случаи переходов через 0°С на данном летне-осеннем или
зимне-весеннем периоде.
1 РROGRAM KLIMAT
2 С МОДЕЛИРОВАНИЕ ХОДА ТЕМПЕРАТУР
3 IHTEGER S,C2
4 REAL LA
5 СОMPLЕХ C7,
S7
6 EXTERNAL C7,S7
7 DIMEINSION
Y(96), А(48), В(48), F(96), С2(96)
8 1,G4(80), I10(99), 120(99),
G50(99) ,
9 2G55(300),VD(10, 20), TS(10,
180)
10 READ (5,83) AL1, AL2, LA, H3, TB,
AO, CU, OM
11 1,0MRZ,
В10, В11, B12, В13
12 С
AL1, AL2 (BT/M2*OC) LA (BT/M*OC) H3(M) TB(OC) АО(M2/Ч)
13 С CU(КДЖ/КГ*OC)
ОМ(КГ/М3)
14 83 FORMAT
(3F12.6)
15 WRITE (6,3) AL1, AL", LA, H3,
TB, AO, CU, OM
16 1,OMRZ, B10, B11, B12, B13
17 3 FORMAT (1Х,27НИСХОДНЫЕ О
МАТЕРИАЛЕ/1Х,7F12/6)
18 READ (5,8) IKLMN
19 8 FORMAT
(18)
20 DO
200 IKLM=1, IKLMN
21 WRITE (6,9) IKLM
22 9 FORMAT (1Х,//1Х, 9Н ВАРИАНТ N, 1X, 18//)
23 READ (5,10) E,r) N, D1, TN,
AMP,WR,WN, A6, B6, B7
24 10 FORMАТ
(18,8F6, 1)
25 WRITE (6,11) N, D1, TN, AMP, WR,
WN, A6, B6, В7
26 11 FORMАТ (1X,16Н ДАННЫЕ О
КЛИМАТЕ,/1Х,18,8F6.1)
27 READ (5,20)(Y(1),1 = 1,N)
28 20 FORMАТ
(4F8.1)
29 A0=0.0
30 Q=Д1/N
31 D0 30 I=1,N
32 Y(I)=Y(I)-(Q*6,28*I/N+TN)
33 30 AO=AO+Y(I)
34 J = (N-2)/2
35 J1=N*2
36 T=AO/N
37 D0 40 K=1,J
38 A(K)=0.0
39 B(K)=0.0
40 DO 40 I=1,N
41 R=SIN(K*1*6,28/N)
42 P=COS(K*l*6,28/N)
43 A1=(2.0/N)*Y(I)*P
44 B1=(2.0/N)*Y(I)*R
45 A(K)=A(K)+A1
46 40 B(K)=B(K)+B1
47 WRITE (6,50)
48 50 FORMAT
(4X,37HKОЭФФИЦИЕНТЫ МОДЕЛИ T = Q =
= A(K)= B(К) =)
49 VRITE (6,60)T,Q,(A(S),D(S),S= 1,J)
50 60 FORMAT
(1X,6F8,1)
51 DO 70 I=1,N
52 Х=6.28*1/N
53 F1=G(A,B,X,J)
54 70 F(I)
= Q*X+TN+T+F1
55 OST=0
56 DO 64 L=1,N
57 Y(L)=Y(L)+(Q*6.28*L/N+TN)
58 64 OST=OST+(Y(L)-F(L))/L
59 OST=OST/N/6.28
60 D0 66 I=1,N
61 66 F(I)=F(I)+OST*6.28*/1/N
62 Q=Q+OST
63 65 WRITE (6,67)
64 67 FORMAT
(4X,35H...CИCTEМАТИЧECKAЯ ОШИБКА УЧТЕНА...)
65 WRITE (6,622) OST
66 622 FORMAT(1X,4HOST=,F10.8)
67 WRITE (6,59)
68 59 FORMAT (4х,20НAЗНАЧЕНИЯ Y(I) И F(I))
69 WRIТЕ (6,62) (Y(L),F(L),
L=1,N)
70 62 FORMAT
(1X,8F8,1)
71 С ПРОВЕРКА АДЕКВАТНОСТИ МОДЕЛИ
72 S1=0.0
73 S11=0.0
74 N1=N-2*J-1
75 N2=3*N-N
76 DO 80 I=1,N
77 S11=S11+3*(0.05*Y(I))**2
78 80 S1=S1+(Y(I)-F(I)**2
79 S2=S1/N1/S11/N2
80 WRITE
(6,81)
81 81 FORMАТ (1Х,18 НКРИТЕРИЙ ФИШЕРА F=)
82 WRITE (6,82) S2,N1,N2
83 82 FORMAT (1X,F8.4,25Н
(СРАВНИТЬ С ТАБЛИЧНЫМ ДЛЯ,
3HN1=,
84 113,
ЗHN2=, 13, 1H))
85 С РАСЧЕТ ДОЛГОВЕЧНОСТИ ОГРАЖДАЮЩЕЙ КОНСТРУКЦИИ
86 Т=Т+TN
87 DO 502 N3=1,7
88 A2=0.01
89 IF (N3.EQ.7) GO TO 506
90 А2=НЗ/NЗ-0.01
91 506 CONTINUE
92 WEX=A6+A2*B6
93 IF (A2.LE.H3/3) GО-ТО 601
94 WEХ=А6+Н/3*В6+А2*В7
95 601 CONTINUE
96 TNZ=(B12+B13*WEX)/(WEX*(1.0-B11)-B10)
97 DO 500 I=2,J1
98 A3=6.28*1/J1
99 SF1=TS4(A2,A3,AL2,LA,AO,AMP,N)
100 SF=TS1(A2,AЗ,AL1,AL2,LA,HЗ,TB,T,AO,Q)
101 GALL
TS3(A2,A3,A,B,AL2,LA,AO,CU,OM,AL1,H3,J,C7,
S7,TS31)
102 TS(N3,1)=SF1+TS31-TNZ
103 500 СОNTINUE
104 WRIТЕ (6,501) A2,TNZ
105 501 FORMAT (1Х,8НСЛОЙ А2=,F8.4,5Н
ТNZ=,F8.4)
106 С ОПРЕДЕЛЕНИЕ ГЛУБИНЫ УСТОЙЧИВОГО ПРОМЕРЗАНИЯ
107 IF (KONTR.EQ.5) GO TO 502
108 F2=0.0
109 F3=0.0
110 DO 504 N=2,J1
111 F2=F2+ABS(TS(N3,N4))
112 F3=F3+TS(N3,N4)
113 504 CONTINUE
114 IF (F2.EQ.F3) GO ТO
502
115 KONTR=5
116 WRITE
(6,505) A2
117 505 FORMAT
(1Х,23Н ГЛУБИНА ПРОМЕРЗАНИЯ А2=,F8.4)
118 502 CONTINUE
119 DO 602 N5=1,7
120 А2=0.01
121 IF (N5.ЕQ.7)
GO TO 603
122 А2=НЗ/N5-0,01
123 60 CONTINUE
124 WEX=A6+A2*B6
125 IF (A2.LE.H3/3) GO TO 605
126 WEX=A6+H/3*B6+A2*B7
127 605 CONTIHUE
128 C НАХОЖДЕНИЕ ТОЧЕК TS-TNZ
129 M=1
130 С2(М)=2
131 DO
84 I=3,J1
132 M1=I-1
133 G2=TS(NS,I)
134 G3=TS(NS,M1)
135 IF (ABS(G2+GЗ),GT.ABS(G2-GЗ))
GO TO 84
136 M+M+1
137 IF (G2,LЕ.GЗ)
C2(M)=M1
138 IF (G2.GT.G3) C2(M)=I
139 84 COUTINUE
140 C2(M+1)=J1
141 С БЛОК ФОРМИРОВАНИЯ МАССИВА АМПЛИTУД ЗАМОРОЗКОВ
142 DO 98
К1=2,J1
143 I1=С2(К1)
144 IF (I1.EQ.O) GO TO 98
145 K2=K1-1
146 12=C2(K2)
147 M=0
148 DO 94 I=12,I1
149 М=M+1
150 G4(М)=ТS(N5,1)
151 94 CONTINUE
152 G5=0.0
153 DO 95 M=1,39
154 IF (G4(M).GE.G4(IM+1)) CO TO 95
155 IF (G4(M).GE.G5) GO TO 95
156 G5=G4 (V)
157 95 CONTINUE
158 IF (G5.NE.O.O) GO TO 109
159 DO 61 М=1,39
160 IF (G4(M).LE.G4(M+1)) GO TO 61
161 IF (G4(M).LE.G5) GO TO 61
162 G5=G4(M)
163 61 CONTINUE
164 109 K3=K1-1
165 I10(K3)=I1
166 120(K3)=12
167 G50(K3)=G5
168 DO 97 M=1,40
169 97 G4(M)=0.0
170 98 CONTINUE
171 K4=0
172 КЗ =1
173 89 K4=K4+3
174 G55(K4-2)=FLOAT(I20(K3))
175 G55(K4-1)=FLOAT(I10(KЗ))
176 G55(K4)=G50(K3)
177 IF (I10(K3).EQ.J1) GO TO 91
178 IF (G50(K3).NE.G50(K3+1)) GO TO 99
179 IF (I10(K3).NE.120(K3+1)) GO TO 99
180 G55(K4-1)=FLOAT(I10(K3+1))
181 K3=K3+1
182 99 K3=K3+1
183 IF (КЗ.LE.98) GO TO 89
184 91 CONTINUE
185 K5=0
186 DO 105 N7=1,300
187 IF (G55(N7).LT.O.O) K5=K5+1
188 105 CONTINUE
189 К6=К5*6+3
190 WRITE (6, 106) K5
191 106 FORMAT (1X,18НПЕРЕХОДЫ ЧЕРЕЗ
ТNZ/1Х,2НN=,14)
192 WRITE
(6,102)
193 102 FORMAT (1Х,3(13Н НОМ.ТОЧЕК,ЗХ,4НАМП.))
194 WRITE (6,10T) (G55(N),N=1,К6)
195 101 FORMAT
(1X,9(F5.1,2X))
196 U20=-B10+(1-B11)*WN-(B12+B13*WN)/(-20)
197 N8=9
198 IF (G55(3).LT.O.O) GO TO 401
199 N8=6
200 401 CONTINUE
201 К6=К6-3
202 V=0.0
203 IF (N8,GT.K6) GO TO 604
204 DO 402 N6=N8,К6, 6
205 W1=WEX-WR
206 IF (W1.LE.O.O) WEX=WR+0,00001
207 IF (G55(N6).EQ.O.O) GO TO 402
208 U=-B10+(1-B11)*WN-(B12+B13*WN)/G55(N6)
209 IF (U.LE.O.O) U=0.00001
210 V=V+(U/U20)*(WEX-WR)
211 WRITE (6,14) N6,WEX,U,20,V,G55(N6)
212 14 FORMAT(1X,I4,5F12.6)
213 402 CONTINUE
214 604 VD(IKLM,NS)=V
215 DO 606 N9=1,300
216 G55(N9)=0.0
217 606 CONTINUE
218 DO 602 I=2,J1
219 ТS(N5,I)=0,0
220 602 CONTINUE
221 KONTR=0
222 200 CONTINUE
223 DO 900 N5=1,7
224 A2=0.01
225 IF (N5.EQ.7) GO TO 901
226 A2=H3/N5-0.01
227 901 СОNTINUE
228 DО 900 IKLM=1, IKLMN,2
229 VDS=VD(IKLM,N5)+VD(IKLM,N5)
230 WRITE (6,16) VDS
231 16 FORMAT
(1Х,4НVDS=,F11.6)
232 IF (VDS.EQ.O.O) GO TO 903
233 DUR=OMRZ*(WN-WR)/VDS
234 WRITE (6,902) IKLM,A2,DUR
235 902 FORMAТ(1Х,5НГОД N, 13, 8НСЛОЙ А2=,F8.4,
236 118НДОЛГОВЕЧНОСТЬ
DUR=,F12.3/)
237 GO TO 900
238 903 WRITE
(6,904) IKLM,A2
239 904 FORMAT (1Х,9НВАРИАНТ N, 13, 8HСЛОЙ
А2=,F8.4
240 1, 23НПЕРЕХОДОВ ЧЕРЕЗ TNZ
НЕТ/)
241 900 CONTINUE
242 STOP
243 END
1 SUBROUTINE
IS3(Z1,X3,A,B,AL2,LA,AO,CU,OM,AL1,H3,
J,C7,S7,TS31)
2 REAL LA
3 COMPLEX C7,S7
4 COMPLEX A7,PB7,P7,B7,S70,C70
5 DIMENSION A (48), B(48)
6 TS31=0.0
7 N=2*J+2
8 DO 300 K=1,J
9 S=SQRT(2*3,14*CU*OM*LA*K/24/3.6N)
10 A7=(S*(H3-Z1)/LA)*(1/1.414+(0.0,1.0)31.414
11 PB7=(AL1/S)/(1/1.414+(0.0,1.0)/1.414)
12 S70=S7(A7)
13 C70=C7(A7)
14 Р7=(S70+PB7*С70)/(С70+PB7*S70)
15 SZ=0,5*EXP(H3*S/LA/1.414)*SQRT((1+AL1*1.414/S+
(AL1/S)**2)*
16 1 (1+S*1,414/AL2*(S/AL2)**2))
17 SF=H3*S/LA/1.414-ATAN(1/(1+S/AL1*1.414))+
ATAN(1/(1+AL2/S*1.414))
18 IF (ZI,EQ.O.O) GO TO 200
19 В7=С7+PВ7*S70
20 GO TO 100
21 200 B7=1+P7*S/AL2
22 100 CONTINUE
23 A4=SZ/CABS(B7)
24 FAZ=SF-ATAN(REAL(B7)/AIMAG(B7))
25 T831=TS31+(A(K)/A4)*COS(K*XЗ+FAZ)+(B(K)/A4)*
SIN(K*X3+FAZ)
26 300 CONTINUE
27 RETURN
28 END
1 FUNCTION
G(V,U,Z,J)
2 DIMENSION V(48), U(48)
3 G1=0.0
4 DO 64 K=1,J
5 64 G1=G1+V(K)*COS(K*Z)+U(K)*SIN(K*Z)
6 G=G1
7 RETURN
8 END
1 FUNCTION TS1(Z1,XЗ,AL1,AL2,LA,HЗ,TB,T,AO,Q)
2 REAL LA
3 H1=AL1/LA
4 Н2=АL2/LА
5 H=H1*H2/(H1+H2+H1*H2*H3)
6 C2=(-Q*H*H3/(144*H1*H2))»(3*(2.0+H1»H3)*(H2-H)
7 1-Н2*Н*НЗ*(3.0+Н1+H3))
8 C=C2/H2
9 SК2=Н*(TВ-Т)
10 SK1=(SK2+H2*T)/H2
11 HM1=SК1+С/АО
12 HM2=Q/(24*H2)*(H2-H)
13 HM3=SK2+C2/AO
14 HM4=-H*Q/24
15 НM5=НМ2/(2*АО)
16 НМ6=-H*Q/144/АО
17 TS1=HM1+HM3*Z1+HMS*Z1**2+HM6*Z1**3+
+(HM2+HM4*Z1)*X3
18 RETURN
19 END
1 FUNCTION TS4(Z1,ХЗ,АL2,LА,АО,AMP,N)
2 REAL LA
3 D2=SQRT(3.14/AO)
4 AN=AMP/SQRT(1+2*D2*LA/AL2+2*D2**2*(LA/AL2)**2)
5 AM=ATAN(1/(1+AL2/D2/LA))
6 TS4=AN*EXP(-Z1*D2)*COЗ(XЗ*N-(Z1*D2+AM))
7 RETURN
8 END
1 COMPLEX FUNCTIONS S7(X7)
COMPLEX X7, SI, S
3 S=(0.0,0.0)
4 DO 1 I=1,20
5 M=2*I-1
6 G=1.0
7 DO 2 L1=1,М
8 2 G=G*1
9 S1=(X7**M)/G
10 S=S+S1
11 1 CONTINUE
12 4 S7=S
13 RETURN
14 END
1 СОMPLЕХ
FUNCTION C7(X7)
2 COMPLEX X7,C1,C
3 C=(0.0,0.0)
4 DO 11 I=1,20
5 M=2*I
6 G=1.0
7 DO 21 L1=1,2
8 21 G=G*L1
9 C1=(X7 **M)/G
10 C=C+C1
11 11 СONTINUE
12 41 C7=C+(1.0,0.0)
13 RETURN
14 END
Дано: район строительства - Норильск.
Определить: характеристики
климатической активности района строительства.
Ввиду отсутствия данных
полных многолетних метеорологических наблюдений в Норильске воспользуемся
данными метеорологической станции п. Дудинка, весьма близко расположенного к
Норильску (табл. 13 и 14).
Таблица
13
|
Район |
Среднемесячные температуры
наружного воздуха tсм по месяцам года, °С |
||||||||||||
|
строительства |
I |
II |
III |
IV |
V |
VI |
VII |
VIII |
IX |
X |
XI |
XII |
|
|
Норильск |
-27,6 |
-25,2 |
-21,4 |
-14,0 |
-5,2 |
5,9 |
13,4 |
10,4 |
3,6 |
-8,8 |
-21,8 |
-25,6 |
|
Таблица 14
|
Район |
Средние суточные амплитуды
температуры наружного воздуха АС |
|||||||||||
|
строительства |
I |
II |
III |
IV |
V |
VI |
VII |
VIII |
IX |
X |
XI |
XII |
|
Норильск |
4,1 |
3,7 |
4,35 |
4,75 |
3,75 |
4,1 |
4,65 |
4,05 |
3,05 |
3,15 |
3,9 |
4,0 |
По наблюдениям этой станции,
взятым из метеорологических ежемесячников, найдены среднесуточные температуры
по дням за 1973-1976 гг. для летне-осеннего (сентябрь-ноябрь) и зимне-весеннего
(апрель-май) периодов года. Пример соответствующего графика годового хода этих
температур за 1973 г. на летне-осеннем периоде этого года показан на рис. 12.
Там же нанесена кривая годового хода среднемесячных температур (табл. 13) на
указанном периоде года и на нем выделены границы

участка, где наблюдаются периодические изменения
среднесуточных температур с переходами через 0°С, за пределами которого
температура наружного воздуха уже скачкообразно, но устойчиво повышается или
понижается без переходов через 0°С. В границах этого участка определены
полупериоды и амплитуды соответствующих переходов (заморозков и оттепелей)
через кривую годового хода среднемесячных температур. Таким же образом для
каждого из рассматриваемых годов были найдены полупериоды оттепелей и
заморозков, их амплитуды и их количества в году на зимне-весеннем и
летне-осеннем периодах (табл. 15 и 16).
Таблица 15
|
Год |
Характеристики
|
Летне-осенний период |
Зимне-весенний период |
|||||||||
|
|
климатической
активности |
оттепели |
заморозки |
оттепели |
заморозки |
|||||||
|
|
Амплитуда, |
2,7 |
9,6 |
12,8 |
8,8 |
9,8 |
11,2 |
5,6 |
14,5 |
7,2 |
11,5 |
|
|
1973 |
°С |
средняя 8,4 |
средняя 9,9 |
средняя 5,6 |
средняя 11,1 |
|||||||
|
|
Полупериод, |
2,25 |
2,25 |
6,75 |
9,5 |
7,0 |
5,0 |
2,6 |
8,75 |
8,75 |
13,0 |
|
|
|
сут. |
средний 3,75 |
средний 7,2 |
средний 2,6 |
средний 10,2 |
|||||||
|
|
Амплитуда, |
5,6 |
6,0 |
9,6 |
9,6 |
6,2 |
5,4 |
|||||
|
1974 |
°С |
средняя 5,6 |
средняя 6,0 |
средняя 9,6 |
средняя 7,1 |
|||||||
|
|
Полупериод, |
6,0 |
10,5 |
11,0 |
14,0 |
12,5 |
11,5 |
|||||
|
|
сут. |
средний 6,0 |
средний 10,5 |
средний 11,0 |
средний 12,7 |
|||||||
|
|
Амплитуда, |
- |
- |
15,0 |
11,6 |
7,8 |
11,0 |
|||||
|
1975 |
°С |
средняя 0 |
средняя 0 |
средняя 13,3 |
средняя 9,4 |
|||||||
|
|
Полупери- |
- |
- |
6,0 |
5,0 |
7,0 |
18,0 |
|||||
|
|
од,
сут. |
средний 0 |
средний 0 |
средний 5,5 |
средний 12,5 |
|||||||
|
|
Амплитуда, |
- |
- |
12,8 |
8,0 |
6,2 |
7,0 |
|||||
|
1976 |
°С |
средняя 0 |
средняя 0 |
средняя 10,0 |
средняя 6,6 |
|||||||
|
|
Полупериод, |
- |
- |
8,0 |
5,0 |
4,0 |
16,0 |
|||||
|
|
сут. |
средний 0 |
средний 0 |
средний 6,5 |
средний 10,25 |
|||||||
Таблица 16
|
|
Зимне-весенний период |
Летне-осенний период |
||||
|
Год |
количество оттепелей m |
количество заморозков m |
начало оттепелей |
количество оттепелей m |
количество заморозков m |
начало оттепелей |
|
1973 |
1 |
3 |
5 мая |
3 |
3 |
23 сентября |
|
1974 |
1 |
3 |
27 апреля |
1 |
1 |
19 сентября |
|
1975 |
2 |
2 |
14 апреля |
- |
- |
- |
|
1976 |
2 |
2 |
19 апреля |
- |
- |
- |
|
Итого за 4 года |
6 |
10 |
~ 25 апреля |
4 |
4 |
~ 20 сентября |
Пользуясь табл. 15, найдем,
что на зимне-весеннем периоде года:
средняя амплитуда оттепелей
![]()
средняя амплитуда заморозков
![]()
средний полупериод оттепелей
![]()
средний полупериод
заморозков
![]()
Таким образом на
зимне-весеннем периоде:
средняя расчетная амплитуда
заморозков и оттепелей
![]()
средний расчетный период
оттепелей и заморозков
Рр = 6,3+ 10,4 = 16,7 сут.;
среднее расчетное число
заморозков и оттепелей в год
![]()
Аналогичным образом найдем,
что на летне-осеннем периоде года:
средняя амплитуда оттепелей
![]()
средняя амплитуда заморозков
![]()
средний полупериод оттепелей
![]()
средний полупериод
заморозков
![]()
Таким образом на
летне-осеннем периоде:
средняя расчетная амплитуда
заморозков и оттепелей
![]()
средний расчетный период
оттепелей и заморозков
Рр = 4,3 + 8 = 12,3сут.;
среднее расчетное число
заморозков и оттепелей в год
![]()
На рис. 13 по данным табл.
13 построена кривая годового хода среднемесячных температур и с помощью табл.
14 определены приближенно зимне-весенний и летне-осенний периоды года, на
которых возможны переходы температуры наружного воздуха через 0°С, и для них
определены темпы измeнeния среднемесячных температур, как тангенсы угла наклона
соответствующих участков кривой к выбранным осям времени t с
началом его отсчета в предшествующем им месяце. Эти темпы оказались равными:
на зимне-весеннем периоде - b = 0,0131 °С/ч;
на летне-осеннем периоде - b = -0,0166 °С/ч.

Таким образом все
характеристики климатической активности района строительства tсм, tсс, b, Ас, Ар,
Рр, mр и начала оттепелей и заморозков определены.
Дано: Стена жилого дома
толщиной d = 0,4 м из керамзитобетона gо = 1000 кг/мЗ с F 35 на
пористом песке с защитном слоем толщиной
dр = 3 см из
цементно-песчаного раствора состава 1:2 с
gо = 1935 кг/мЗ и F50.
Район строительства -
Норильск. Условия эксплуатации Б (см. приложения 1 и 2 СНиП II-3-79Х [l]).
Оценить долговечность
защитного слоя
Находим: w =
0,1;
lо= 0,27 Вт/м°С;
Со = 0,84 кДж/кг×°С; (СНиП II-3-79Х [1],
приложение 3)
l = 0,41 Вт/м×°С;
Dwср = 0,05 (СНиП II-3-79, табл. 14);
aн = 23 Вт/м2×°С (СНиП II-3-79, табл. 6);
aв = 8,7 Вт/м2×°С (СНиП II-3-79, табл. 4);
tв = 18°С (ГОСТ 12.1.005-76);
tсм - по табл. 11;
Ас - по табл.12;
Сж - 4,19 кДж/кг×°С
Далее находимх:
1,171×10-3 м2/ч
(п. 6.2.2);
(формулы
8)
х С учетом того, что 1 кДж =
0,278 Вт×ч.
2,151 м-1 (формула 7).
Определяем квазистационарное
температурное поле стены (п. 6.2.3) на зимне-весеннем периоде года при tcм
= -14,0°С (табл. 13, рис. 13) и b = 0,0131 °С/ч (приложение 5).
= 2,151 [18 - (-14,0)] = 68,832 °С/м;
(68,832-56,097×14) = -12,773 °С (формулы 5);
[3 (2+21,219×0,4)×(56,097-2,151) -
-2,151×56,097×0,4 (3+21,219×0,4)] = -0,00180 °C×м/ч;
= -3,209×10-5 °С×м2/ч (формулы 6).
Далее находим:
°С;
(56,097 - 2,151) = 0,0126 °С/ч;
= 67,295 °С/м;
m4 = -2,151 × 0,0131 = -0,0282 °С/м×ч;
5,380 °С/м2;
-4,014 °С/м3 (формулы 4).
Для срединной плоскости
защитного слоя (х = 0,015 м) (п.6.1.15)
m1 + m3х + m5х2 + m6х3 =
-12,800+67,295×0,015+5,380×0,0152-
- 4,014×0,0153 = -11,790 °С;
m2 + m4х = 0,0126-0,0282×0,015 = 0,0122 °С/ч.
Таким образом для него
(формула 3):
t (0,015; t) = -11,790 + 0,0122 t (°С).
Амплитуду Ac суточных
колебаний температуры наружного воздуха найдем как среднюю для V и VI
месяцев (табл. 14):
°С
и для них (п.6.2.4) Р = 24 ч.
При этом
=
![]()
и амплитуда суточных температурных колебаний на
наружной поверхности стены (формула 10) равна
3,2 °С;
а в слое Х = 0,015 м (формула 9)
А (0,015) = 3,2 ехр
2,7 °С.
Амплитуда же колебаний температуры этого слоя на
указанном периоде, связанная с периодическими устойчивыми оттепелями и
заморозками (приложение 5), равна
А (0,015) =
[1+21,219
(0,4-0,015)] = 8,8 °.
Интервал времени, где
возможны переходы температуры стены в точке х = 0,015 м через 0°С, равен 30-50
сут. (рис. 13). Для его границ (формула 3) для t = 30 сут.
t (0,015; 30) = -11,790+0,0122×30×24 = -3,0°С,
а для t = 50 сут.
t (0,015; 50) = -11,790+0,0122×50×24 = 2,9°C.
На рис.14 с учетом этого для
срединной плоскости защитного слоя х = 0,015 м построен линейный график
квазистационарного изменения (0,015; t) во времени в интервале
30-50 сут. на зимне-весеннем периоде
года и на него с учетом п.6.2.4 наложены два гармонических колебания температуры
этой плоскости с найденными амплитудами А (0,015) = 2,7°С и периодом Р = 24 ч и
А (0,015) = 8,8°С и периодом 16,7 сут.
Теперь определим
квазистационарное температурное поле стены на летне-осеннем периоде года при tсм=
13,4°С (табл. 13) и и = -0,0166 °С/ч (приложение 5):
= 2,151 (18-13,4) = 9,895
°С/м;
(9,895+56,097×13,4) = 13,576 °С (формулы 5);
[3 (2+21,219×0,4)×(56,097-2,151) -
-2,151×56,097 (3+21,219×0,4)] = 0,00229 °С м/ч;
°С м/ч (формулы 6).
Далее находим:
°С ;
(56,097 - 2,151) = -0,0160 °С/ч;
°С/м;
°С/м×ч;
°С/м2;
°С/м3 (формулы 4).


Для срединной плоскости
защитного слоя (х = 0,015м) (п.6.1.15)
m1 + m3х + m5х2 + m6х6 =
13,611+11,850×0,015-6,832×0,0152 +
+5,081×0,0153 = 13,787 °Ñ;
m2 + m4х = -0,0160+0,0357×0,015 = -0,0155 °С/ч.
Таким образом
t (0,015; t) = 13,787 - 0,0155 t (°C).
Суточные колебания
температуры наружного воздуха на летне-осеннем периоде года (IX месяц) имеют
амплитуду Ас = 3,1°С (табл.14) и для них (п. 6.2.4) Р = 24 ч.
Поэтому амплитуда суточных
колебаний на наружной поверхности стены (формула 10) на летне-осеннем периоде
года будет равна
°С ,
а в слое х = 0,015 м (формула 9)
А (0,015) = 2,6 ехр
= 2,2 °С.
Амплитуда же колебаний температуры этого слоя на
указанном периоде года, связанная с устойчивыми заморозками и оттепелями
(приложение 5)
А (0,015) =
[1+21,219 (0,4-0,015)] = 7,7 °С.
Возможный интервал времени,
где могут быть переходы температуры стены в точке х = 0,015 м через 0°С, равен
25-45 сут. Для его границ (формула 3) для t = 25 сут.
t (0,015; 25) = 13,787-0,0155×25×24 = 4,5 °C,
а для t = 45 сут.
t (0,015; 45) = 13,787-0,0155×45×24 = -2,9 °C.
На рис. 15 с учетом этого
построен линейный график квазистационарного изменения t (0,015; t) во времени в интервале 25-45 сут. на
летне-осеннем периоде года и на него наложены два гармонических колебания
температуры этого слоя с найденными амплитудами А (0,015) = 2,2 °С и периодом Р
= 24 ч и А (0,015) = 7,7 °С и периодом Р = 12,3 сут.
Из рис. 14 и 15 следует, что
на зимне-весеннем периоде года в защитном слое будет 15 переходов через 0°С, из
них 2 (5 и 9) за tнз =-3,5°С (табл. 6), а на летне-осеннем периоде - 3
перехода через 0°С и из них 2 (1 и 3) через tнз. Для указанных переходов за
tнз
определяем температуры переходов ti и им соответствующие
коэффициенты x (ti) (табл. 8):
зимне-весенний период
1. t5 = -16,6 °С x (t5) = 0,952 ;
2. t9 = -11,8 °С 
летне-осенний период
1. t1 = -8,2 °C x (t1)
= 0,694
2. t3 = -4,4 °С 
Для материала защитного слоя
(цементно-песчаный раствор) мы будем иметь:
wн = 0,094 (табл. 6);
wр = 0,006 (табл. 7);
(СНиП II-3-79Х [1],
приложение 3);
Dwср = 0,035 (СНиП II-3-79Х [1],
табл. 14, среднее для легкого и
тяжелого
бетонов).
Поэтому (формулы 2)
![]()
![]()
При этом долговечность
защитного слоя по формуле (1) будет равна
![]()
Таким образом, для
обеспечения нормативного срока службы защитного слоя, равного 50 годам (см.
п.п. 6.1.1-6.1.5), понадобится либо один капитальный ремонт, либо повышение марки защитного слоя по
морозостойкости до F 75. В этом случае долговечность защитного слоя
![]()
и будет уже близка к нормативной.
Дано: Условия приложения 6.
Оценить долговечность всей
стены.
Квазистационарное
распределение температуры в стене с учетом формулы (3) и найденных в приложении
6 коэффициентов будет равно:
на зимне-весеннем периоде
t(х,t) = -12,800+67,295х+5,380х2-4,014х3+(0,0126-0,0282х)
t °С;
на летне-осеннем периоде
t(х,t) = 13,611+11,850х-6,832х2+5,081х3+(0,0357х-0,0160)
t °С.
Пользуясь указаниями п.
6.2.8, для отыскания глубины промерзания стены будем иметь два уравнения:
на начало зимне-весеннего
периода (при t = 30 сут.)
4,014х3 - 5,380х2 -
46,991x - 3,728 = 0;
для конца летне-осеннего
периода (при t = 45 сут.)
5,081х3 - 6,832х2
+ 50,406х - 3,669 = 0.
Решая эти уравнения, найдем
глубину промерзания стены:
в первом случае х = 7,78 см;
во втором случае х = 7,42
см.
Таким образом, для обоих
случаев можно принять
см.
Из них на защитный слой приходится 3 см и на тело
стены 4,6 см. Таким образом, придется оценить долговечность стены для слоя
см ~ 5 см.
По полной аналогии с
примером 6 для зимне-весеннего и летне-осеннего периодов года строим линейные
графики квазистационарного изменения температуры установленного слоя стены t (0,05;
t) во времени и на них накладываем два
гармонических колебания температуры рассматриваемого слоя. После чего найдем,
что на зимне-весеннем периоде в стене будет 6 переходов через 0°С и из них 2 (4
и 6) - за tнз = -2,7°С
(табл.6), а на летне-осеннем периоде 6 переходов за 0°С и из них два (1 и 6) -
за tнз.
Для указанных переходов за tнз определяем температуры
переходов ti и коэффициенты x(ti) (табл. 8):
зимне-осенний период
1. t4 = -13,4 °С x (t4) = 0,913 ;
2. t6 = -8,8 °С 
летне-весенний период
1. t1 = -5,6 °С x (t1) = 0,590 ;
2. t6 = -3,0 °С 
Для материала стены
(керамзитобетон) мы будем иметь:
wн = 0,18 (табл. 6) ;
wр = 0,018 (табл. 7) ;
(СНиП II-3-79Х [1],
приложение 3);
Dwср = 0,05 (СНиП II-3-79Х, табл. 14).
Поэтому (формулы 2) ![]()
0,05 + 0,05 = 0,1 .
Теперь по формуле (1)
находим долговечность стены:
35 лет,
что меньше нормативной долговечности ограждающих
конструкций жилых зданий, равной 50 годам (см. п.п. 6.1.1-6.1.5). Поэтому
необходимо повысить марку по морозостойкости материала тела стены до F50.
Тогда мы будем иметь ее долговечность, равную нормативной
50 лет.
1. СНиП II-3-79*. Строительная
теплотехника. Нормы проектирования. М., Стройиздат, 1982.
2. СНиП
2.03.01-84.
Бетонные и железобетонные конструкции. М., Стройиздат, 1985.
3. ВСН 32-77. Инструкция по
проектированию конструкции панельных жилых зданий. М., Госгражданстрой, 1978.
4. ГОСТ 11024-84. Панели стеновые наружные бетонные и железобетонные
для жилых и общественных зданий. Общие технические условия.
5. ГОСТ 25820-83. Бетоны легкие.
Технические условия.
6. ГОСТ
25485-82.
Бетоны ячеистые. Технические условия.
7. ГОСТ 25192-82.
Бетоны. Классификация и общие технические требования.
8. Руководство по повышению
морозостойкости бетонных и железобетонных конструкций для условий Крайнего
Севера. М., НИИЖБ, Госстрой СССР, 1973.
9. СН
290-74. Инструкция по приготовлению и применению строительных растворов.
М., Стройиздат, 1975.
10. СНиП III-15-76.
Бетонные и железобетонные конструкции монолитные. М., Стройиздат, 1976.
11. СНиП III-16-80.
Правила производства и приемки работ. Бетонные и железобетонные конструкции
сборные.
12. Руководство по
применению бетона с противоморозными добавками. М., Cтройиздат, 1978.
13. Руководство по
производству бетонных работ в зимних условиях в районах Дальнего Востока,
Сибири и Крайнего Севера. М., Стройиздат, 1982.
14. Пособие по возведению
каменных и полносборных зданий в зимних условиях. М., ЦНИИСК, 1984.
15. Руководство по
электротермообработке бетона. М., Стройиздат, 1971.
17. СНиП II-23-81. Cтальные конструкции.
Нормы проектирования. М., Стройиздат, 1982.
18. СН 393-78. Инструкция по
сварке соединений арматуры и закладных деталей железобетонных конструкций. М.,
Стройиздат, 1979.
19. СНиП II-28-73*.
Защита строительных конструкций от коррозии. Нормы проектирования. М.,
Стройиздат, 1980.
20. ГОСТ 15588-70*. Плиты
теплоизоляционные из пенопласта полистирольного.
21. ГОСТ
20916-75. Плиты теплоизоляционные из пенопласта на основе резольных
фенолоформальдегидных смол.
22. ГОСТ 9573-82Х. Плиты теплоизоляционные из
минеральной ваты на синтетическом связующем. Технические условия.
23. ТУ-6-10-1604-77. Краска
порошковая серая П-ЭП-971. Технические условия.
24. ТУ-6-10-1890-83. Краска
порошковая серая П-ЭП-534. Технические условия.
25. ТУ-6-05-1866.78.
Полиэтилен высокого давления 16803-070. Технические условия.
26. ГОСТ 16338-77. Полиэтилен низкого давления. Технические условия.
27. ГОСТ 22950-78. Плиты минераловатные повышенной жесткости на синтетическом связующем.
Технические условия.
28. PÑT Латв.ССР 944-84. Детали
закладные со штампованными полосовыми анкерами для сборных железобетонных
конструкций.
29. Пособие по применению
закладных крепежных и строповочных деталей со штампованными полосовыми анкерами
с объемно-просечными усилениями. (ЛатНИИстроительства, ЦНИИЭПжилища, Рига,
1984).
32. СНиП 2.01.01-82.
Строительная климатология и геофизика. М., Стройиздат, 1983.
33. ГОСТ 24767-81. Профили холодногнутые из алюминия и алюминиевых сплавов для
ограждающих строительных конструкций. Технические условия.
34. ТУ 21-29-87-82. Мастика
герметизирующая нетвердеющая морозостойкая строительная "Тегерон".
35. ТУ 550.2.123-80.
Прокладки резиновые пористые уплотняющие "Бутапор".
36. ГОСТ 19177-81. Прокладки
резиновые пористые уплотняющие. Технические условия.
37. ГОСТ 24064-80. Мастики
клеящие каучуковые.
38. Рекомендации по
применению нетвердеющей морозостойкой строительной мастики "Тегерон"
для герметизации стыков крупнопанельных зданий, эксплуатирующихся на Севере.
М., ВНИИстройполимер, 1982.
39. ТУ 6-02-775-76.
Клей-герметик кремнийорганический "Эластосил 11-06".
40. ТУ 6-05-221-653-84.
Уплотняющая прокладка "Вилатерм-С".
41. ТУ 400-1-165-79. Лента
воздухозащитная "Герлен".
42. ТУ 21-29-46-76. Лента
воздухозащитная "Герволент".
43. ТУ 21-29-88-80. Лента
герметизирующая липкая "Ликален" для стыков строительных конструкций.
44. Инструктивное письмо по
устройству водо- и воздухоизоляции стыков панелей наружных стен в
крупнопанельных зданиях. М., ЦНИИЭПжилища, 1983.
45. ВСН
66-89-76. Инструкция по отделке фасадных поверхностей панелей наружных
стен. М., Госстройиздат, 1977.
46. СН 277-80.
Инструкция по технологии изготовления изделий из автоклавных ячеистых бетонов.
М., Стройиздат, 1981.
47. ГОСТ
8829-85. Конструкции и изделия бетонные и железобетонные сборные. Методы
испытаний нагружением и оценка прочности, жсткости и трещиностойкости.
48. ГОСТ
13015.0-83. Конструкции и изделия бетонные и железобетонные сборные. Общие
технические требования.
49. ГОСТ
21780-83. (ÑT СЭВ 3740-82). Система
обеспечения точности геометрических параметров в строительстве. Расчет точности.
50. А. с. № 1000528.
Горизонтальное сопряжение наружных стеновых панелей. Б.И., 1983, № 8.
51. СНиП III-23-76.
Правила производства и приемки работ. Защита строительных конструкций и
сооружений от коррозии.
52. СНиП II-6-74.
Нагрузки и воздействия. Нормы проектирования. М., Стройиздат, 1976.
53. Рекомендации по расчету
конструкций крупнопанельных зданий на температурно-влажностные воздействия. М.,
Стройиздат, 1983.
54. Рекомендации по проверке
прочности, трещиностойкости и деформативности наружных стен из однослойных и
слоистых бетонных и железобетонных панелей при температурно-усадочных
воздействиях. М., ЦНИИЭПжилища, 1981.
55. Руководство по
проектированию конструкций панельных жилых зданий для особых грунтовых условий.
М., Стройиздат, 1982.
57. СНиП II-Л.1-71Х.
Жилые здания. Нормы проектирования. М., Стройиздат, 1980.
58. СНиП II-А.3-62.
Классификация зданий и сооружений. Основные положения проектирования. М.,
Стройиздат, 1962.
59. СНиП II-2-80.
Противопожарные нормы проектирования зданий и сооружений. М., Стройиздат, 1980.
60. Положение о проведении
планово-предупредительного ремонта жилых и общественных зданий. Госстрой СССР,
Рига, "Авотс", 1981.
61. ГОСТ 10354-82. Пленка
полиэтиленовая.
62. ГОСТ 14791-79. Мастика
герметизирующая нетвердеющая строительная. Технические условия.
65. А.с. № 170163. Способ
изготовления трехслойных плит. Б.И., 1965, № 8.
|
|
|
|