Бесплатная библиотека стандартов и нормативов www.docload.ru

Все документы, размещенные на этом сайте, не являются их официальным изданием и предназначены исключительно для ознакомительных целей.
Электронные копии этих документов могут распространяться без всяких ограничений. Вы можете размещать информацию с этого сайта на любом другом сайте.
Это некоммерческий сайт и здесь не продаются документы. Вы можете скачать их абсолютно бесплатно!
Содержимое сайта не нарушает чьих-либо авторских прав! Человек имеет право на информацию!

 

ГОСУДАРСТВЕННЫЙ СТАНДАРТ СОЮЗА ССР

БОЛТЫ ПУТЕВЫЕ ДЛЯ СКРЕПЛЕНИЯ
РЕЛЬСОВ УЗКОЙ КОЛЕИ

ГОСТ 8144-73

ГОСУДАРСТВЕННЫЙ КОМИТЕТ СССР ПО СТАНДАРТАМ

Москва

ГОСУДАРСТВЕННЫЙ СТАНДАРТ СОЮЗА ССР

БОЛТЫ ПУТЕВЫЕ ДЛЯ СКРЕПЛЕНИЯ РЕЛЬСОВ УЗКОЙ КОЛЕИ

Fishplate bolts for narrow gauge

ГОСТ
8144-73*

Взамен
ГОСТ 8144-56

Постановлением Государственного комитета стандартов Совета Министров СССР от 22 февраля 1973 г. № 431 срок введения установлен

с 01.01.74

Проверен в 1983 г. Постановлением Госстандарта от 19.12.83 № 6329 срок действия продлен

до 01.01.94

Несоблюдение стандарта преследуется по закону

Настоящий стандарт распространяется на путевые болты, применяемые для скрепления железнодорожных рельсов узкой колеи.

Нормы и показатели, указанные в стандарте, соответствуют требованиям высшей категории качества.

(Измененная редакция, Изм. № 1).

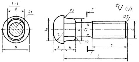
1. КОНСТРУКЦИЯ И РАЗМЕРЫ

1.1. Конструкция и размеры болтов должны соответствовать указанным на черт. 1 и в таблице.

d2 » среднему диаметру резьбы.

Черт. 1

Размеры, мм

Номинальный диаметр резьбы d

12

16

18

Шаг резьбы

1,75

2

2,5

Диаметр головки D (пред. откл. h15)

20

27

31

Высота головки К (пред. откл. js16)

7,5

9,5

11,5

Радиус головки R

8

11

12

Радиус под головкой R2

1

1,5

 

А (пред. откл. h15)

15,5

21

23,5

Размеры

А1 (пред. откл. js16)

16,5

22

24,5

подголовка

В (пред. откл. h15)

12

16

18

 

h (пред. откл. h15)

7

9

10

Радиус подголовка R1 »

6,5

8,5

9,5

Длина болта l (пред. откл. js17)

58

72

88

Длина резьбы b

Номин.

30

35

45

 

Пред. откл.

+ 3,5

+ 4

+ 5

Несоосность оси головки относительно оси стержня, не более

0,9

Пример условного обозначения болта диаметром резьбы d = 12 мм, класса прочности 5,8:

Болт 12.58 ГОСТ 8144-73

(Измененная редакция, Изм. № 1).

1.2. Резьба - по ГОСТ 24705-81, поле допуска 8g - по ГОСТ 16093-81.

2. ТЕХНИЧЕСКИЕ ТРЕБОВАНИЯ

2.1. Механические свойства болтов диаметром резьбы 12 мм должны соответствовать классу прочности 5.8, а болтов диаметром 16 и 18 мм - классам прочности 3.6 или 5.8 по ГОСТ 1759-70.

2.2. Допускается:

а) скругление кромок головки радиусом до 1 мм, не выводящее диаметр головки за пределы поля допуска;

б) притупление овального подголовка со стороны резьбовой части до 1/3 его высоты;

в) горизонтальное расположение заусенцев (облой) на головке болтов до 0,5 мм на сторону. Заусенец не входит в размер диаметра головки болта и замер его производится отдельно;

г) изготовление болтов с диаметром d2 = d.

2.3. Болты должны быть укомплектованы гайками по ГОСТ 5915-70.

Механические свойства гаек должны соответствовать классу прочности 5 по ГОСТ 1759-70.

Гайки могут быть навинчены на болты или упакованы в тару. При упаковке гаек в тару транспортирование их должно производиться совместно с болтами.

2.4. Масса болтов указана в справочном приложении.

2.5. Остальные технические требования - по ГОСТ 1759-70 для изделии класса точности С.

(Измененная редакция, Изм. № 1).

3. ПРАВИЛА ПРИЕМКИ

3.1. Правила приемки - по ГОСТ 17769-83.

4. МЕТОДЫ ИСПЫТАНИЙ

4.1. Методы испытаний болтов - по ГОСТ 1759-70 с учетом дополнения к п. 2.24: отверстие в косой шайбе должно выполняться по форме подголовка. Скос шайбы должен быть направлен перпендикулярно плоской стороне подголовка (черт. 2).

Черт. 2

Примечание. Испытание на прочность соединения головки со стержнем не производится.

5. УПАКОВКА И МАРКИРОВКА

5.1. Упаковка и маркировка - по ГОСТ 18160-72.

ПРИЛОЖЕНИЕ к ГОСТ 8144-73

Справочное

ТЕОРЕТИЧЕСКАЯ МАССА БОЛТОВ

Номинальный диаметр резьбы d, мм

Теоретическая масса 1000 шт. болтов, кг »

12

59,16

16

135,83

18

207,42

СОДЕРЖАНИЕ

 




Rambler's Top100 Яндекс цитирования
  Copyright © 2008-2026, www.docload.ru