
ГОСУДАРСТВЕННЫЙ
СТАНДАРТ СОЮЗА ССР
КОНВЕЙЕРЫ ЛЕНТОЧНЫЕ
НАИМЕНОВАНИЯ
ЧАСТЕЙ
ГОСТ
25722-83
(СТ
СЭВ 1331-78)
ГОСУДАРСТВЕННЫЙ
КОМИТЕТ СССР ПО СТАНДАРТАМ
Москва
ГОСУДАРСТВЕННЫЙ
СТАНДАРТ СОЮЗА ССР
|
КОНВЕЙЕРЫ
ЛЕНТОЧНЫЕ
Наименования
частей
Belt coveyors. Name of parts
|
ГОСТ
25722-83
(СТ
СЭВ 1331-78)
|
Постановлением
Государственного комитета СССР по стандартам от 14 апреля 1983 г. № 1839 срок
введения установлен
с 01.01.84
1. Настоящий стандарт
распространяется на стационарные, передвижные и переносные ленточные конвейеры
и устанавливает наименования их частей.
Стандарт
полностью соответствует СТ СЭВ 1331-78.
2.
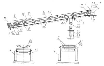
Наименования частей ленточных конвейеров должны соответствовать указанным на
чертеже и в табл. 1, а их исполнений - на
чертеже и в табл. 2.

Таблица 1
|
Позиция
|
Наименование части
|
Позиция
|
Наименование части
|
|
1
|
Привод
|
5
|
Конвейерная лента
|
|
1.1
|
Опорная рама привода
|
5.1
|
Верхняя ветвь
|
|
1.2
|
Приводной барабан
|
5.2
|
Нижняя ветвь
|
|
1.3
|
Приводной механизм
|
6
|
Загрузочное устройство
|
|
2
|
Поворотное устройство
|
7
|
Разгрузочное устройство
|
|
2.1
|
Опорная конструкция поворотного устройства
|
8
|
Роликоопора
|
|
2.2
|
Оборотный барабан
|
8.1
|
Верхняя роликоопора
|
|
3
|
Натяжное устройство
|
8.2
|
Нижняя роликоопора
|
|
3.1
|
Опорная конструкция натяжного устройства
|
9
|
Очиститель внешней стороны ленты
|
|
3.2
|
Натяжной барабан
|
10
|
Очиститель внутренней стороны ленты
|
|
3.3
|
Отклоняющий барабан
|
11
|
Очиститель барабана
|
|
3.4
|
Натяжной груз
|
12
|
Направляющий лоток
|
|
3.5
|
Ограждение натяжного груза
|
13
|
Устройство для аварийного выключения привода
|
|
4
|
Став (опорная конструкция средней части конвейера)
|
14
|
Ограждение барабана
|
Таблица 2
|
Позиция
|
Наименование части
|
Исполнение
|
|
1
|
Привод
|
Привод с редуктором и электродвигателем; привод с
мотор-барабаном
|
|
3
|
Натяжное устройство
|
Грузовое натяжное устройство; винтовое натяжное
устройство; лебедочное натяжное устройство
|
|
5
|
Конвейерная лента
|
Резинотканевая конвейерная лента; резинотросовая
конвейерная лента; цельнопрокатная стальная конвейерная лента; проволочная
конвейерная лента
|
|
6
|
Загрузочное устройство
|
Стационарная воронка; загрузочная тележка
(передвижная воронка); питатель
|
|
7
|
Разгрузочное устройство
|
Лоток; плужковый сбрасыватель; барабанный
передвижной разгружатель
|
|
8
|
Роликоопора
|
Желобчатая роликоопора; плоская роликоопора;
гирляндная роликоопора (с шарнирным креплением роликов)
|