Бесплатная библиотека стандартов и нормативов www.docload.ru

Все документы, размещенные на этом сайте, не являются их официальным изданием и предназначены исключительно для ознакомительных целей.
Электронные копии этих документов могут распространяться без всяких ограничений. Вы можете размещать информацию с этого сайта на любом другом сайте.
Это некоммерческий сайт и здесь не продаются документы. Вы можете скачать их абсолютно бесплатно!
Содержимое сайта не нарушает чьих-либо авторских прав! Человек имеет право на информацию!

 

ГОСУДАРСТВЕННЫЙ СТАНДАРТ СОЮЗА ССР

АЭРОДРОМЫ

ДНЕВНАЯ МАРКИРОВКА ИСКУССТВЕННЫХ ПОКРЫТИЙ

ГОСТ 23331-78

ГОСУДАРСТВЕННЫЙ КОМИТЕТ СССР ПО СТАНДАРТАМ

Москва

РАЗРАБОТАН Министерством гражданской авиации

ИСПОЛНИТЕЛИ

В. Н. Иванов; В. И. Черников; В. Я. Ларионов; Ю. А. Самородов (руководитель темы); А. А. Сердюченко

ВНЕСЕН Министерством гражданской авиации

Член Коллегии И. С. Разумовский

УТВЕРЖДЕН И ВВЕДЕН В ДЕЙСТВИЕ Постановлением Государственного комитета СССР по стандартам от 27 октября 1978 г. № 2801

ГОСУДАРСТВЕННЫЙ СТАНДАРТ СОЮЗА ССР

АЭРОДРОМЫ

Дневная маркировка искусственных покрытий

Aerodromes. Daylight marking of artificial covers

ГОСТ
23331-78

Постановлением Государственного комитета СССР по стандартам от 27 октября 1978 г. № 2801 срок введения установлен

с 01.01.1980 г.

Несоблюдение стандарта преследуется по закону

Настоящий стандарт распространяется на аэродромы с искусственными покрытиями и устанавливает дневную маркировку искусственных покрытий строящихся и эксплуатируемых аэродромов.

Стандарт соответствует требованиям Международной организации гражданской авиации («Аэродромы. Приложение 14 к конвенции ИКАО»).

1. ОБЩИЕ ПОЛОЖЕНИЯ

1.1. Маркировка искусственных взлетно-посадочных полос (ИВПП), рулежных дорожек (РД), мест стоянок (МС)* и перронов предназначена для обеспечения безопасности при выполнении взлетно-посадочных операций и рулении и обязательна для аэродромов всех классов определенных СНиП 2.05.08-85 в зависимости от размеров аэродрома и ветровой загрузки летной полосы.

* Маркировку МС, в обоснованных случаях, допускается не наносить.

(Измененная редакция, Изм. № 1).

1.2. Маркировка искусственных покрытий аэродромов должна наноситься в виде линий, цифр, букв согласно черт. 1.

1.3. Маркировка искусственных покрытий должна выполняться специальными красками или другими материалами, требования к которым устанавливаются нормативно-технической документацией. Материалы должны обеспечивать видимость знаков при различных условиях освещенности и не вызывать опасности неравномерного торможения колес самолетов.

Схема маркировки аэродрома

1 - искусственная взлетно-посадочная полоса; 2 - рулежные дорожки; 3 - перрон; 4 - места стоянки

Черт. 1

1.4. Все маркировочные знаки ИВПП должны быть белого цвета и иметь максимальную контрастность в любых условиях.

(Новая редакция, Изм. № 1).

1.5. Маркировочные знаки РД, МС и перрона должны быть контрастирующими по форме или цвету с маркировочными знаками ИВПП и иметь для аэродромов гражданской авиации оранжевый (желтый) цвет. Для аэродромов других министерств и ведомств допускается использование белого цвета. Исключение составляют маркировочные знаки оконтуривающих линий зон обслуживания самолетов, имеющие красный цвет, и путей движения специальных машин - белый цвет.

(Изменение редакции, Изм. № 1).

1.6. В отдельных случаях допускается нанесение дополнительной информации, необходимой для решения конкретных задач.

2. МАРКИРОВКА ИСКУССТВЕННЫХ ВЗЛЕТНО-ПОСАДОЧНЫХ ПОЛОС (ИВПП)

2.1. На покрытии ИВПП маркировочными знаками обозначают: продольную ось ИВПП, порог, цифровое значение посадочного магнитного путевого угла (ПМПУ), зону приземления, фиксированное расстояние и край. Маркировка покрытий ИВПП аэродромов всех классов должна соответствовать черт. 2, а размеры маркировочных знаков - табл. 1.


Таблица 1

Расположение, размеры и количество маркировочных знаков на ИВПП

 

ЭЛЕМЕНТЫ МАРКИРОВКИ ИВПП ПО КЛАССАМ АЭРОДРОМОВ

Порог

Осевая линия

Зона приземления

Зона фиксированного расстояния

А

Б

В

Г

Д

Е

А

Б

В

Г

Д

Е

А, Б

В

Г

Д

А, Б

В

Расстояние от торца ИВПП, м, не менее

6,0

6,0

6,0

6,0

6,0

6,0

 

 

 

 

 

 

 

 

 

 

 

 

Размеры знака:

 

 

 

 

 

 

 

 

 

 

 

 

 

 

 

 

 

 

длина, м, не менее

30,0

30,0

30,0

30,0

30,0

12,0

30,0

30,0

30.0

30,0

30,0

12,0

22,5

22,5

22,5

18,0

50,0

50,0

ширина, м

1,8-2,0

1,8-2,0

1,8-2,0

1,8-2,0

1,8-2,0

1,8-2,0

0,5

0,5

0,5

0,3

0,3

0,3

0,3

0,3

0,3

0,3

8,0

8,0

Расстояние от начала маркировки порога, м

-

-

-

-

-

-

63,0-78,0

63,0-78,0

63,0-78,0

63,0-78,0

63,0-78,0

45,0

150,0

150,0

150,0

150,0

300,0

300,0

Количество полос, шт.

В зависимости от ширины ИВПП

В зависимости от длины ИВПП

12,0

8,0

6,0

4,0

2,0

2,0

Расстояние между внутренними сторонами знаков, ближайшими к оси ИВПП, м

3,6-4,0

3,6-4,0

3,6-4,0

3,6-4,0

3,6-4,0

3,6-4,0

-

-

-

-

-

-

22,5

18,0-22,5

18,0-22,5

18,0

22,5

18,0-22,5

Расстояние между знаками, м

1,8-2,0

1,8-2,0

1,8-2,0

1,8-2,0

1,8-2,0

1,8-2,0

30,0

30,0

30,0

30,0

30,0

12,0

150,0

150,0

150,0

150,0

-

-

Примечание: 1. На ИВПП, оборудованных для эксплуатации по II или III категориям ИКАО, осевая линия должна иметь ширину 0,9 м.

2. Значение в скобках соответствует маркировке параллельных полос.

3. Количество знаков зоны приземления дано с учетом знаков фиксированного расстояния для одного курса посадки.

4. При наличии на аэродроме двух и более ИВПП маркировку каждой из них выполняют по классу, соответствующему их длине.

(Измененная редакция, Изм. № 1).


2.2. Ось ИВПП на аэродромах всех классов маркируют продольными полосами одинаковой длины, расположенными на равном расстоянии друг от друга, за исключением случая, указанного в п. 2.9.

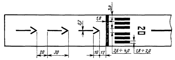
2.3. Порог ИВПП маркируют параллельными прямоугольными полосами, расположенными симметрично оси ИВПП на расстоянии не менее 6 м от торца и не более 3 м от кромок ИВПП. Ширина маркировочных полос и расстояние между ними должно быть 1,8-2 м, а расстояние между двумя полосами, ближайшими к оси - 3,6-4 м. Длина полос должна быть не менее 30 м. При временном или постоянном смещении порога ИВПП маркировка его должна производиться в соответствии с черт. 3.

2.4. Цифровые знаки ПМПУ располагаются на концевых участках ИВПП, у каждого порога, и состоят из двухзначных чисел, обозначающих магнитный азимут оси ИВПП, измеренный по часовой стрелке от магнитного полюса (если смотреть со стороны посадки). Эти числа устанавливают отбрасыванием последнего знака истинной величины азимута, с округлением при значении его больше 5 в большую сторону и меньше 5 в меньшую, когда получается однозначное число, перед ним ставится цифра 0 согласно табл. 2. Размеры и форма цифр должны соответствовать черт. 4.

Маркировка ИВПП

А Б В, Г, Д и Е - классы аэродромов; 1 - порог; 2 - цифровой знак ПМПУ; 3 - ось ИВПП; 4 - фиксированное расстояние; 5 - зона приземления

Черт. 2

Маркировка смещенного порога

Черт. 3

Таблица 2

Определение цифрового знака, обозначающего посадочный магнитно-путевой угол (ПМПУ) рабочего направления ИВПП

ПМПУ в градусах

Цифровой знак ИВПП

ПМПУ в градусах

Цифровой знак ИВПП

05-14

01

185-194

19

15-24

02

195-204

20

25-34

03

205-214

21

35-44

04

215-224

22

45-54

05

225-234

23

55-64

06

235-244

24

65-74

07

245-254

25

75-84

08

255-264

26

85-94

09

265-274

27

95-104

10

275-284

28

105-114

11

285-294

29

115-124

12

295-304

30

125-134

13

305-314

31

135-144

14

315-324

32

145-154

15

325-334

31

155-164

16

335-344

34

165-174

17

345-354

35

175-184

18

355-004

36

2.5. Зону приземления маркируют парами прямоугольных симметричных полос, расположенных параллельно оси ИВПП, которые наносят с продольными интервалами 150 м от начала маркировки порога ИВПП.

(Измененная редакция, Изм. № 1).

2.6. Фиксированное расстояние на аэродромах классов А, Б и В обозначается парой параллельных прямоугольных полос, расположенных симметрично оси ИВПП на расстоянии 300 м от начала маркировки порога ИВПП.

(Измененная редакция, Изм. № 1).

2.7. Края ИВПП маркируют в международных аэропортах, а также на оборудованных по I, II и III категориям ИКАО ИВПП и выполняют в виде двух сплошных линий шириной по 0,9 м, каждую из которых располагают вдоль боковой границы ИВПП на расстоянии 3 м от знаков маркировки порога и 1 м от кромки покрытия.

Форма и размеры цифр и букв на ИВПП

Черт. 4

2.8. Параллельные ИВПП дополнительно со стороны захода на посадку маркируют латинскими буквами L (левая) и R (правая), которые располагают между знаками порога и цифровыми знаками (ПМПУ) согласно черт. 5. Форма букв и их размеры приведены в черт. 4.

2.9. В местах пересечения ИВПП маркировку главной ИВПП сохраняют. Вспомогательные ИВПП на участках пересечения с главной не маркируют.

2.10. В местах пересечения ИВПП с РД маркировку края ИВПП прерывают, а маркировку РД сохраняют.

Маркировка параллельных ИВПП

Черт. 5

2.11. Неклассифицированные аэродромы маркируют согласно черт. 6.

(Новая редакция, Изм. № 1).

Схема маркировки неклассифицированных аэродромов

1 - порог; 2 - ось ИВПП

Черт. 6

(Новая редакция, Изм. № 1).

3. МАРКИРОВКА РУЛЕЖНЫХ ДОРОЖЕК (РД)

3.1. Покрытия РД маркируют по продольной оси РД, на участках сопряжения РД с ИВПП и в местах ожидания самолетов перед выруливанием на ИВПП согласно черт. 7.

3.2. Продольную ось РД (траекторию движения носового колеса) на прямолинейных и криволинейных участках маркируют сплошной линией шириной 0,15 м по всей длине, за исключением тех случаев, когда она пересекается с маркировкой места ожидания при выруливании на ИВПП.

Маркировку осевой линии РД в местах сопряжения с ИВПП продолжают параллельно маркировке осевой линии ИВПП на расстоянии не менее 60 м от точки касания.

3.3. Маркировочный знак места ожидания самолета перед выруливанием на ИВПП наносят на расстоянии от оси ИВПП согласно табл. 3 и маркируют в соответствии с черт. 7.

Таблица 3

Характеристика расположения РД по отношению к ИВПП

Расстояние от оси ИВПП до знака ожидания на РД, м., для аэродрома класса

А, Б, В

Г, Д

Е

Расположение РД в начале и в средней части ИВПП

 

 

 

для ИВПП, оборудованных по I, II и III категориям ИКАО не менее

120

-

-

для ИВПП, не оборудованных по I, II и III категориям ИКАО не менее

90

75

30

(Новая редакция, Изм. № 1).

3.4. Ненесущие поверхности обочин РД, площадок ожидания и перронов, трудно отличимые от несущих поверхностей, отделяют рулежными боковыми маркировочными полосами.

Рулежная боковая маркировочная полоса состоит из двух сплошных линий шириной по 0,15 м с интервалом между ними 0,15 м и наносится по кромке несущего покрытия так, чтобы внешний край полосы совпадал с кромкой несущего покрытия и имел тот же цвет, что и осевая линия РД - черт. 7.

Маркировка РД

1 - место ожидания самолетов; 2 - ось РД; 3 - участок сопряжения РД с ИВПП; 4 - край ИВПП; 5 - рулежная боковая маркировочная полоса

Черт. 7

(Новая редакция, Изм. № 1).

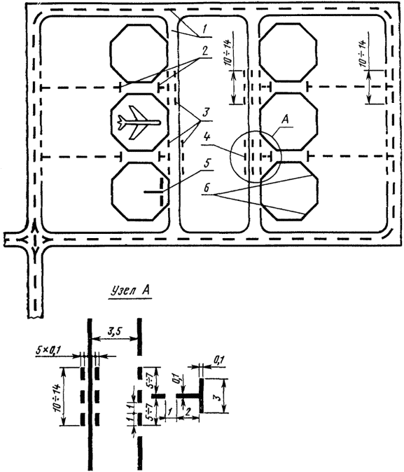
4. МАРКИРОВКА МЕСТ СТОЯНКИ (МС) и ПЕРРОНА

4.1. Маркировку МС и перрона производят с учетом размещения типов самолетов и особенностей технологии их обслуживания. На местах стоянок и перроне наносят: оси руления самолетов по прямой, кривой (линии заруливания, разворота и выруливания); Т-образные знаки остановки самолетов и специальных машин; номера стоянок самолетов, контуры зон обслуживания и пути движения специальных машин согласно черт. 8-11.

Маркировка МС

Примечание: Числитель - размеры для аэродромов классов А, Б и В; знаменатель - для Г и Д.

1 - оси руления по прямой и кривой; 2 - Т-образный знак, место остановки самолета; 3 - цифра (номер стоянки); 4 - зона обслуживания

Черт. 8

(Новая редакция, Изм. № 1).

Форма и размер цифр на МС и перроне

Черт. 9

4.2. Заход самолета на стоянку при помощи тягача, а также выход самолета со стоянки на тяге собственных двигателей или при помощи тягача осуществляется по кривой соответствующей эксплуатационному радиусу поворота. Заход самолета на стоянку на тяге своих двигателей производится по кривой соответствующей минимальному радиусу поворота самолета. Линии захода самолета на тупиковую стоянку маркируют по кривой, соответствующей эксплуатационному радиусу.

(Новая редакция, Изм. № 1).

4.3. Т-образный знак обозначает место остановки крайней габаритной точки самолета. Форма и размеры знака приведены на черт. 8. Расстояние между Т-образными знаками должно равняться размаху крыла расчетного типа самолета, плюс безопасное расстояние между стоящими самолетами (а = 4 - 7,5 м.).

(Новая редакция, Изм. № 1).

Расстояние между осями руления по прямой и поперечными линиями Т-образного знака должно равняться половине размаха крыла расчетного типа самолета, плюс безопасное расстояние oт стоящего самолета до двигающегося самолета или препятствия (а = 4 - 7,5м).

4.4. Цифры, обозначающие порядковый номер места стоянки для всех классов аэродромов, наносят на расстоянии 2 м впереди Т-образного знака. Форма цифр и размеры приведены на черт. 9.

4.5. Контур зоны обслуживания наносят сплошной линией красного цвета шириной 0,15 м в виде восьмиугольника. Размеры восьмиугольника должны соответствовать габаритным размерам эксплуатируемых самолетов. Все стороны восьмиугольника должны находиться на расстоянии 2 м от крайних габаритных точек самолетов.

Маркировка перрона

Черт. 10

(Новая редакция, Изм. № 1).

Пути движения специальных машин

1 - пути движения специальных машин; 2 - знак Т для остановки специальных машин; 3 - пунктирные линии, разрешающие въезд или выезд специальных машин; 4 - место вынужденного въезда или выезда; 5 - знак остановки самолета; 6 - контур зоны обслуживания

Черт. 11

При маркировке зоны обслуживания групповых стоянок самолетов групп III и IV, маркировочную линию восьмиугольника располагают на расстоянии 1,5 м от крайней габаритной точки самолета.

4.6. Пути движения специальных машин для аэродромов всех классов маркируют сплошными и пунктирными линиями с шагом 1 м шириной 0,10 м, белого цвета согласно черт. 11. Все пути движения специальных машин не должны совмещаться с осями руления самолетов.

(Измененная редакция, Изм. № 1).

4.7. Односторонние пути движения специальных машин должны проходить перед стоящими самолетами на расстоянии 2 м от носовой части и от консоли крыла самолета, ширина одностороннего пути движения должна быть 3,5 м.

4.8. Двухсторонние пути движения специальных машин проходят за стоящими самолетами и имеют ширину 7 м.

4.9. Пути движения маркируют двумя сплошными линиями, обозначающими ширину проезжей части, двухсторонние пути движения дополнительно маркируют разделительной пунктирной линией. Между стоянками самолетов предусматриваются специальные проезды, где сплошная линия прерывается и заменяется пунктирной (черт. 11).

4.10. В промежутках между стоянками самолетов наносят знак Т белого цвета, указывающий место остановки специальных машин. Маркировочный знак Т располагают на расстоянии не менее 10 м от крайних габаритных точек стоящих самолетов. Форма и размер знака приведены на черт. 11.

СОДЕРЖАНИЕ

 




Все подробности Где продать украшения Graff у нас на сайте.
Rambler's Top100 Яндекс цитирования
  Copyright © 2008-2026, www.docload.ru