Бесплатная библиотека стандартов и нормативов www.docload.ru

Все документы, размещенные на этом сайте, не являются их официальным изданием и предназначены исключительно для ознакомительных целей.
Электронные копии этих документов могут распространяться без всяких ограничений. Вы можете размещать информацию с этого сайта на любом другом сайте.
Это некоммерческий сайт и здесь не продаются документы. Вы можете скачать их абсолютно бесплатно!
Содержимое сайта не нарушает чьих-либо авторских прав! Человек имеет право на информацию!

 

ГОСУДАРСТВЕННЫЙ СТАНДАРТ СОЮЗА ССР

СОСУДЫ И АППАРАТЫ

СОСУДЫ С РУБАШКАМИ

НОРМЫ И МЕТОДЫ РАСЧЕТА НА ПРОЧНОСТЬ

ГОСТ 25867-83
(СТ СЭВ 3650-82)

ГОСУДАРСТВЕННЫЙ КОМИТЕТ СССР ПО СТАНДАРТАМ

Москва

ГОСУДАРСТВЕННЫЙ СТАНДАРТ СОЮЗА ССР

Сосуды и аппараты

СОСУДЫ С РУБАШКАМИ

Нормы и методы расчета на прочность

Vessels and apparatus.
Jacketed vessels.
Norms and methods of strength calculation

ГОСТ
25867-83

(СТ СЭВ 3650-82)

Постановлением Государственного комитета СССР по стандартам от 13 июля 1983 г. № 3106 срок введения установлен

с 01.07.84

Настоящий стандарт распространяется на стальные сосуды с U-образной или цилиндрической рубашкой, с рубашкой, сопряженной анкерными трубами или отбортовкой, а также с рубашкой с каналами для обогрева или охлаждения сосуда, нагруженные избыточным давлением в сосуде или в рубашке, собственным весом и стесненностью температурных деформаций и отвечающие требованиям ОСТ 26-291-79, и устанавливает нормы и методы расчета на прочность.

Настоящий стандарт должен применяться совместно с ГОСТ 14249-80.

Стандарт полностью соответствует СТ СЭВ 3650-82.

1. УСЛОВИЯ ПРИМЕНЕНИЯ РАСЧЕТНЫХ ФОРМУЛ

1.1. Общие условия применения расчетных формул

1.1.1. Расчетные формулы применимы при условии, что в рубашке действует только избыточное внутреннее давление ().

1.1.2. Расчетные формулы для проверок малоцикловой прочности (пп. 2.6, 3.6, 4.6, 5.6) применимы при условии, что рабочие температуры не превышают значений, при которых следует учитывать ползучесть материалов, то есть когда допускаемое напряжение, приведенное в ГОСТ 14249-80, определяется только по пределу текучести или временному сопротивлению (пределу прочности). Если нет точных данных, то формулы применимы при условии, что расчетная температура не превышает следующих значений:

380 °С - для углеродистой стали;

420 °С - для низколегированной стали;

525 °С - для аустенитной стали.

1.1.3. Формула для определения допускаемого размаха напряжений [] действительна при условии, что радиусы кривизны, полученные методом холодной деформации (r0, r1, r2), больше четырехкратной толщины стенки.

1.1.4. Проверка на малоцикловую прочность приведена только для мест сопряжения сосуда с рубашкой или каналом. Для всех других элементов, испытывающих циклическую нагрузку, расчет следует производить по ГОСТ 25859-83.

1.1.5. Проверка на малоцикловую прочность приведена для напряжений, вызываемых изменениями средних температур стенок. Если возникающая разница температур между соседними точками составляет больше 15 °С для углеродистой и низколегированной стали или 20 °С для аустенитной стали, то расчет на малоцикловую прочность производят по ГОСТ 25859-83.

1.2. Условия применения формул для сосудов с U-образной и цилиндрической рубашкой.

1.2.1. Расчетные формулы применимы при соотношении:

диаметров

толщины стенки и диаметров

толщин стенок

1.2.2. Расчетные формулы для сопряжений при помощи конуса применимы для углов a = 30°, a = 45° и радиуса отбортовки

.

1.2.3. Расчетные формулы для сопряжений при помощи конуса применимы при условии полностью проваренных сварных швов, а для числа циклов нагружения N > 103 - при условии двустороннего сварного шва между конусом и рубашкой (см. черт. 5 справочного приложения).

1.2.4. Расчетные формулы для сопряжения при помощи кольца применимы при толщине кольца

 - для U-образной рубашки;

 - для цилиндрической рубашки.

1.2.5. Расчетные формулы для сопряжений при помощи кольца применимы при условии полностью проваренных сварных швов между кольцом и рубашкой (см. черт. 6, а, б, в справочного приложения).

1.2.6. Диаметр окружности сопряжения рубашки с днищем сосуда должен удовлетворять условию

.

Расчет сопряжения рубашки с днищем сосуда не проводят, если оно соответствует черт. 7 справочного приложения.

1.3. Условия применения формул для сосудов с рубашками, сопряженными анкерными трубами или отбортовками

1.3.1. Угол шага  сопряжения анкерными трубами или отбортовками должен удовлетворять условию

.

1.3.2. Расчетные формулы по пп. 4.3-4.5 применимы при соотношении шагов

.

1.3.3. Расчетная формула для сопряжения отбортовкой применима при углах отбортовки от 30 до 45° (см. черт. 9 справочного приложения) и при проваренных сварных швах.

1.3.4. Расчетные формулы для анкерных труб применимы при размере сварного шва

.

1.3.5. Расчет на усталость по п. 4.6 применим при соотношении толщин стенок

.

1.4. Условия применения формул для сосудов с каналами

1.4.1. Расчетные формулы по п. 5 применимы при ширине канала

;

высоте канала

и половине центрального угла канала

.

1.4.2. Расчетные формулы для каналов применимы при V-образных сварных швах с полным проваром, а для каналов полукруглого сечения также и при угловых швах.

1.4.3. Расчет на усталость по п. 5.6 применим при соотношении толщин стенок

.

2. СОСУДЫ С U-ОБРАЗНОЙ РУБАШКОЙ

2.1. Цилиндрические обечайки

2.1.1. Расчет цилиндрических обечаек на внутреннее избыточное давление проводят по ГОСТ 14249-80. Расчетное давление для рубашки равно р2 и расчетное давление для сосуда р1, если p1 > 0.

2.1.2. Расчет цилиндрической обечайки сосуда на наружное давление проводят по ГОСТ 14249-80. При p1 < 0 за расчетное давление для сосуда принимают , а для рубашки p2 + .

При p1 > 0 расчетное давление в зоне рубашки равно р2 или р2 - р1, если выполняются условия ГОСТ 14249-80. Расчетную длину L следует определять по ГОСТ 14249-80.

2.1.3. Цилиндрическую стенку сосуда с кольцами жесткости рассчитывают по ГОСТ 14249-80.

Направляющие спирали можно рассматривать как кольца жесткости, если выполнены следующие условия:

а) шаг спирали ts должен быть не более 0,3 D1. Если , то цилиндрическую обечайку следует рассчитывать как гладкую обечайку;

б) за расчетную длину l2 при расчете по ГОСТ 14249-80 принимают расстояние вдоль оси сосуда от конечной точки расчетной длины (см. черт. 1 справочного приложения) до точки замыкания первого витка направляющей спирали, охватывающего всю окружность сосуда. Для направляющих спиралей, выполненных с концевыми кольцами, действительно определение l2 по ГОСТ 14249-80;

в) расчетные длины b, l1 и l2 при расчете по ГОСТ 14249-80 определяют по формулам:

                                        (1)

                                                    (2)

                                  (3)

г) поперечное сечение направляющей спирали должно, удовлетворять условию , чтобы исключить потерю устойчивости из плоскости;

д) для обеспечения прочности обоих угловых швов на направляющей спирали должно быть выполнено условие

.                                                                  (4)

Расчетный коэффициент сварного шва  определяют как отношение длины сварного шва к общей длине спирали. При этом расстояние между двумя концами прерванного шва не должно превышать восьмикратной толщины стенки обечайки s1, а сумма длин сварных швов не должна быть меньше половины наружной поверхности направляющей спирали на одном витке. Оба конца спирали должны начинаться швом.

2.2. Днища

2.2.1. Расчет выпуклых днищ на внутреннее избыточное и наружное давление проводят по ГОСТ 14249-80. Расчетные давления принимают согласно пп. 2.1.1 и 2.1.2. Для днища сосуда, нагруженного избыточным давлением р2, допускается проводить расчет по другим методам, которые учитывают отсутствие давления на участке в пределах d1.

2.2.2. При расчете днища рубашки отверстие диаметром d1 не учитывают.

2.3. Сопряжение рубашки с корпусом сосуда при помощи конуса (черт. 5 справочного приложения)

2.3.1. Вспомогательные параметры определяют по формулам:

а) коэффициент осевого усилия

                                                              (5)

б) коэффициент, учитывающий расстояние между корпусом сосуда и рубашкой

                                                                (6)

в) коэффициент радиуса конической отбортовки

    (7)

г) коэффициент длины сопряжения

                                                  (8)

д) коэффициент отношения прочности корпуса сосуда и рубашки;

             (9)

Если в сосуде вакуум (p1 < 0), то в формулу (9) подставляют р1 = 0;

е) расчетные коэффициенты прочности сварного шва:

                                                                (10)

     (11)

ж) относительная эффективная несущая длина конуса

.                                                     (12)

2.3.2. Допускаемое избыточное давление в рубашке

.                                                        (13)

2.3.3 Коэффициент сопряжения при помощи конуса

                                                   (14)

где

                                        (15)

                                                  (16)

                                       (17)

Коэффициенты прочности f1, f2, f3 и f4 определяют по черт. 1-4 настоящего стандарта в зависимости от вспомогательных параметров.

2.3.4. Определение размеров сопряжения при помощи конуса.

Толщина стенки конуса должна быть равна или больше толщины стенки сопряженной цилиндрической рубашки. Если необходимо увеличить толщину стенки конуса, то следует одновременно увеличить и толщину стенки сопряженной цилиндрической обечайки рубашки на длине

Толщину стенки конуса рассчитывают методом итерации по формулам (18) и (19);

                                                       (18)

S2 ³ S2R + c.                                                                  (19)

Коэффициент осевого усилия А рассчитывают по формуле (5), а коэффициент В - по формуле (14), причем в качестве исходного значения для s2 берут исполнительную толщину стенки цилиндрической рубашки.

Коэффициент прочности f1

Черт. 1

Коэффициент прочности ft

Черт. 2

Коэффициент прочности f3

Черт. 3

Коэффициент прочности f4

Черт. 4

2.4. Сопряжение рубашки с корпусом сосуда при помощи кольца (см. черт. справочного приложения).

2.4.1. Вспомогательные параметры определяют по формулам:

а) расчетные коэффициенты прочности сварного шва

    (20)

  (21)

б) параметры кольца

                                                    (22)

                                                             (23)

                                                             (24)

в) относительный момент нагружения

                                                  (25)

где А - коэффициент осевого усилия по формуле (5);

г) относительный реактивный момент в стенке сосуда

                          (26)

если p1 > p2 > 0, то в формулу (26) подставляют p1 = 0;

д) относительный реактивный момент в стенке рубашки

                                                 (27)

е) относительный реактивный момент в месте сопряжения кольца со стенкой сосуда

M3 = min{QH2; (1 + 2Н)М1}.                                                        (28)

2.4.2. Допускаемое избыточное давление в рубашке

                                                     (29)

2.4.3. Определение высоты кольца

           (30)

                                                       (31)

При наличии в формуле (30) отрицательного значения под знаком радикала соответствующий член при определении максимума не учитывают. Если в обоих членах значении под знаком радикала отрицательны, то толщину кольца определяют по п. 1.2.4.

2.4.4. Расчет сварных швов.

Размер сварного шва между сосудом и кольцом при сопряжениях (см. черт. 6 а, б, г справочного приложения) определяют по формуле

                           (32)

2.5. Нагрузка от собственного веса.

Собственные веса G1 и G2 вызывают в конусе или в кольце осевое усилие

Проверку несущей способности от совместного действия осевого усилия и избыточного давления в рубашке следует проводить по формуле

                                                          (33)

где 2] - допускаемое избыточное давление по формуле (13) для сопряжения при помощи конуса и по формуле (29) для сопряжения при помощи кольца;

А - коэффициент осевого усилия по формуле (5).

2.6. Проверка на малоцикловую прочность. Размах напряжений приближенно рассчитывают по формуле

                  (34)

где

[р]2 - допускаемое избыточное давление по формуле (13) для сопряжения при помощи конуса, по формуле (29) для сопряжения при помощи кольца.

2.6.1. Разность температурных относительных удлинений определяют по формуле

                                                      (35)

За расчетное принимают наибольшее абсолютное значение eт, которое получается за время рабочего цикла.

2.6.2. Общий аффективный коэффициент концентрации ук определяют по табл. 1.

2.6.3. Проверку на малоцикловую прочность проводят из условий

.                                              (36)

Допускаемый размах напряжений  определяют по формуле

                                                            (37)

Допускаемую амплитуду напряжения определяют по ГОСТ 25859-83. Допускаемое число рабочих циклов  определяют для соответствующей амплитуды напряжений по ГОСТ 25859-83

                                                             (38)

Эффективные коэффициенты концентрации

Таблица 1

Конструкция

Исполнение по чертежам справочного приложения

bК1

bК2

vк

Сосуды с U-образной рубашкой по черт. 1 справочного приложения

Черт. 5а

-

-

4,0

» 5б

-

-

» 5в

-

-

» 5г

-

-

Черт. 6а

-

-

3,5

» 6б

-

-

3.5

» 6в

-

-

3,0

» 6г

-

-

5,5

Сосуды с цилиндрической рубашкой по черт. 2 справочного приложения

Черт. 5а

2,0

1,6

2,5

» 5б

2,5

» 5в

2,0

» 5г

2,0

Черт. 6а

2,0

1,6

2,5

» 6б

1,6

1,6

2,5

» 6в

2,0

1,2

2,0

» 6г

2,0

2,0

3,5

Сосуды с рубашкой, сопряженной анкерными трубами или отбортовкой по черт. 3 справочного приложения

Черт. 9

2,0

-

-

Черт. 10

2,0

-

-

Сосуды с каналами по черт. 4 справочного приложения

Черт. 11

2,0

-

-

3. СОСУДЫ С ЦИЛИНДРИЧЕСКИМИ РУБАШКАМИ

3.1. Цилиндрические обечайки.

Цилиндрические обечайки рассчитывают в соответствии с пп. 2.1.1-2.1.3.

3.2. Сопряжение при помощи конуса (см. черт. 5 справочного приложения).

Конические сопряжения удовлетворяют требованиям прочности, если они выполнены с толщиной стенки, равной толщине стенки цилиндрической обечайки рубашки, и если они соответствуют требованиям п. 1.2.2 и формулы (39)

                                                  (39)

3.3. Сопряжение при помощи кольца (см. черт. 6 справочного приложения).

3.3.1. Определение высоты кольца

                                                 (40)

                                             (41)

3.3.2. Сварные швы

Размер сварного шва между сосудом и кольцом при сопряжениях по черт. 6 а, б, г справочного приложения определяют по формуле

                            (42)

для колец при сопряжении по черт. 6 в справочного приложения

а = h0.

3.4. Компенсаторы.

Если по результатам расчета на малоцикловую прочность необходимо встроить в рубашку компенсатор (см. п. 3.6.3), то допускаемое избыточное давление [р2] в рубашке рассчитывают для сопряжений при помощи конуса по формуле (13) и для сопряжений при помощи кольца по формуле (29). При этом коэффициент осевого усилия A рассчитывают по формуле

                                     (44)

Компенсатор рассчитывают при нагружении давлением р2 и силой реакции

3.5. Нагрузка от собственного веса сосуда или рубашки. Проверку несущей способности при нагружении конических или кольцевых сопряжений собственным весом сосуда или рубашки проводят по формуле

                                                          (45)

где F - осевое усилие по п. 2.5;

2] - допускаемое избыточное давление по формуле (13) для сопряжения при помощи конуса и по формуле (29) для сопряжения при помощи кольца;

А - коэффициент осевого усилия по формуле (5).

При наличии компенсатора на рубашке формула (45) применима при условии, что опорные элементы не расположены на рубашке.

3.6. Проверка на малоцикловую прочность

3.6.1. Сопряжение рубашки с корпусом сосуда при помощи конуса по черт. 5 справочного приложения

Относительное продольное удлинение в рубашке

                                                      (46)

где  - определяют согласно п. 2.6.1;

                                         (47)

 - по формуле (6).

Относительное продольное удлинение рубашки должно удовлетворять условию

                                               (48)

Расчетный коэффициент прочности сварного шва

                                                  (49)

где  - коэффициент снижения допускаемых напряжений при расчете на устойчивость по черт. 8 ГОСТ 14249-80, определенный для рубашки.

Размах напряжений в сварном шве между сосудом и конусом

                                             (50)

Размах напряжений в сварном шве между рубашкой и конусом по черт. 5 а, б справочного приложения

                                    (51)

где bк1, bк2, gк - см. табл. 1;

                            (52)

где

                                            (53)

                                    (54)

Проверку на малоцикловую прочность проводят по формуле (55), а для конусов по черт. 5 а, б справочного приложения - дополнительно по формуле (56)

                                          (55)

                                           (56)

Допускаемые размахи напряжений  или допускаемое число рабочих циклов [N]1 и [N]2 определяют согласно п. 2.6.3. Индекс 1 относится к сварному шву между корпусом сосуда и сопряжением при помощи конуса, а индекс 2 к сварному шву между рубашкой и сопряжением при помощи конуса.

3.6.2. Сопряжение рубашки с корпусом сосуда при помощи кольца по черт. 6 справочного приложения. Относительное продольное удлинение в рубашке

                           (57)

где  - см. п. 2.6.1.

Относительное продольное удлинение рубашки должно удовлетворять условию

                                               (58)

Расчетный коэффициент прочности сварного шва

                                       (59)

где  - коэффициент снижения допускаемых напряжений при расчете на устойчивость по черт. 8 ГОСТ 14249-80, определенный для рубашки;

 - по табл. 2.

Таблица 2

Погонный момент инерции и коэффициент прочности сварного шва

Сопряжение при помощи кольца по черт. 6 справочного приложения

W1

W2

а

б

в

г

0,5

Размах напряжений в сварном шве между сосудом и кольцом

                               (60)

Размах напряжений в сварном шве между рубашкой и кольцом

                 (61)

где W1, W2 - по табл. 2;

 - по табл. 1.

Проверку на малоцикловую прочность проводят по формулам (55) и (56), при этом допускаемые размахи напряжений  или допускаемое число рабочих циклов [N]1 и [N]2 определяют согласно п. 2.6.3. Индекс 1 относится к сварному шву между корпусом сосуда и кольцом, а индекс 2 к сварному шву между рубашкой и кольцом.

3.6.3. Если не удовлетворяются требования малоцикловой прочности по пп. 3.6.1 или 3.6.2, необходимо произвести конструктивные изменения, например, предусмотреть компенсатор.

В этом случае он должен воспринимать температурное удлинение, равное  при рабочем числе циклов. Дальнейший расчет следует выполнять по п. 3.4.

3.6.4. Допускается определять уточненное значение размаха напряжений, а также допускаемую амплитуду или допускаемое число циклов в соответствии с ГОСТ 25859-83.

4. СОСУДЫ, ЧАСТИЧНО ОХВАЧЕННЫЕ РУБАШКАМИ, СОПРЯЖЕННЫМИ С КОРПУСОМ АНКЕРНЫМИ ТРУБАМИ И ОТБОРТОВКАМИ

4.1. Цилиндрическая обечайка

4.1.1. Цилиндрическую обечайку сосуда рассчитывают по ГОСТ 14249-80 на внутреннее избыточное давление с расчетным давлением р1, если p1 > 0.

4.1.2. Если p1 < 0, то цилиндрическую обечайку сосуда рассчитывают по ГОСТ 14249-80 на наружное давление с расчетным давлением .

4.1.3. Части цилиндрической обечайки сосуда, охваченные рубашкой, и цилиндрические части рубашки при нагружении давлением р2 рассчитывают по п. 4.3 как плоские участки.

Если p1 < 0, следует дополнительно выполнять условие по формуле (62) и требование п. 1.3.1, чтобы исключить появление вмятин на цилиндрической обечайке сосуда:

                                                (62)

4.2. Днища

4.2.1. Выпуклые днища рассчитывают по ГОСТ 14249-80 на внутреннее избыточное давление с расчетным давлением p1, если p1 > 0, и на наружное давление с расчетным давлением p1, если p1 < 0.

4.2.2. Части днища сосуда, охваченные рубашкой, и части рубашки в зоне днища при нагружении давлением р2 рассчитывают по п. 4.3 как плоские участки. При этом в формулы вместо толщины стенки цилиндрической обечайки s1 подставляют толщину днища сосуда s3 и вместо толщины стенки цилиндрической обечайки s2 толщину днища рубашки s4.

4.3. Плоские участки

4.3.1. Допускаемое избыточное давление в рубашке:

для стенки сосуда

                     (63)

для стенки рубашки

                                               (64)

Коэффициенты прочности f5 и f6 определяют по черт. 5 настоящего стандарта в зависимости от отношения d0/t0 и от относительного реактивного момента т по формуле (66)

                                                                      (65)

     (66)

Коэффициенты прочности f5 и f6

Черт. 5

4.3.2. Определение размеров плоских участков

Определение шага:

                              (67)

                                                      (68)

                                                          (69)

Для заданного отношения d0/to и т по черт. 5 определяют коэффициенты прочности f5 и f6. Если задаться диаметром do, то t1 и t2 можно получить методом итерации. При определении tp и tт по формулам (69) и (65) необходимо учитывать требование п. 1.3.2.

Определение толщин стенок

                                           (70)

                                                             (71)

                                                     (72)

                                                        (73)

Шаг t0 определяют по формуле (65), коэффициенты прочности f5 и f6 по черт. 5. Для сосудов с рубашками на анкерных трубах значение s2 определяют методом последовательных приближений с учетом зависимости s2 от m по формуле (66).

4.3.3. Краевые зоны рубашек, сопряженных с корпусом анкерными трубами или отбортовками.

Размеры сопряжений при помощи конуса определяют по п. 3.2 и размеры сопряжений при помощи кольца - по п. 3.3.

Расстояния от края рубашки до первого ряда анкерных труб или отбортовок должны удовлетворять условиям:

                                                      (74)

                                                   (75)

где t0 - по черт. 5 при m по формуле (66).

4.4. Определение толщины отбортовок (см. черт. 9 справочного приложения)

                                         (76)

где

;                                                            (77)

                                                         (78)

t0 - по формуле (65).

4.5. Определение толщины анкерных труб (см. черт. 10 справочного приложения)

                                   (79)

где h - по формуле (78)

;                                                          (80)

                                                            (81)

Определяемые по формулам (80) и (81) размеры угловых швов и анкерных труб должны отвечать требованию п. 1.3.4.

4.6. Проверка на малоцикловую прочность

4.6.1. Размах напряжений в сварных швах:

а) сопряжение отбортовкой

                                        (82)

б) сопряжение анкерными трубами

                                   (83)

где  - см. п. 2.6.1;

К5 - по черт. 6;

t0 - определяют по формуле (65);

 - по табл. 1;

Коэффициент K5

при

Черт. 6

для рубашки на цилиндрической обечайке:

                                                            (84)

                                                           (85)

для рубашки на выпуклом днище:

                                                            (86)

                                                             (87)

4.6.2. Размах напряжений в плоских участках

                                              (88)

где К6 - по черт. 7; to - определяют по формуле (65)

Коэффициент K6

Черт. 7

                 (89)

Коэффициент K1

Черт. 8

4.6.3. Проверку на малоцикловую прочность проводят по формулам:

                                               (90)

                                                 (91)

Допускаемые размахи напряжений  или допускаемое число рабочих циклов [N]3 и [N]4 определяют согласно п. 2.6.3. Индекс 3 относится к сварному шву между корпусом сосуда и сопряжением отбортовкой или к сварному шву между рубашкой и анкерной трубой, индекс 4 относится к рубашке.

4.7. Допускается применение методики, указанной в разд. 2 для приближенного расчета сосудов, полностью охваченных рубашками.

5. СОСУДЫ С КАНАЛАМИ

5.1. Цилиндрическая обечайка

5.1.1. Цилиндрическую обечайку сосуда рассчитывают по ГОСТ 14249-80 на внутреннее избыточное давление с расчетным давлением p1, если p1 > 0.

5.1.2. Если p1 < 0, то цилиндрическую обечайку сосуда рассчитывают по ГОСТ 14249-80 на наружное давление с расчетным давлением /p1/.

5.1.3. В сосудах со змеевиковым каналом (черт. 4а справочного приложения) его можно рассматривать как кольцо жесткости и цилиндрическую обечайку рассчитывать как укрепленную кольцами жесткости по ГОСТ 14249-80 при условии, что учитываются следующие особенности:

а) шаг змеевикового канала ts должен быть не более 0,3 D1. Если , то цилиндрическую обечайку рассчитывают как гладкую обечайку;

б) расчетную длину l2 при расчете по ГОСТ 14249-80 определяют как осевое расстояние от начала или конца расчетной длины (см. черт. 4 а справочного приложения) до места окончания первого витка змеевикового канала, охватывающего всю окружность рубашки;

в) расчетные значения b, l1 и lе при расчете по ГОСТ 14249-80 определяют по формулам:

                                                  (92)

                                                              (93)

;     (94)

г) используемые в ГОСТ 14249-80 величины е, Iк и Ак определяют по формулам:

                                                (95)

                                              (96)

                             (97)

5.1.4. Цилиндрическую обечайку сосуда при нагружении давлением р2 в каналах рассчитывают как полосу обечайки шириной b2 по п. 5.3.

5.2. Днища

5.2.1. Выпуклые днища рассчитывают по ГОСТ 14249-80 на внутреннее избыточное давление с расчетным давлением p1, если p1 > 0, и на наружное давление с расчетным давлением p1, если p1 < 0.

5.2.2. Выпуклые днища при нагружении давлением р2 в каналах рассчитывают как полосу обечайки шириной b2 по п. 5.3.2.

5.3. Полоса обечайки под каналами

5.3.1. Каналы по окружности цилиндрической обечайки

                          (98)

Если p1 > 0, то должно дополнительно выполняться условие

                          (99)

Если p2 > p1 > 0, то должно дополнительно выполняться условие

                                            (100)

5.3.2. Каналы вдоль оси цилиндрической обечайки и каналы на днище

                            (101)

5.4. Каналы

5.4.1. Вспомогательные параметры

Коэффициент понижения прочности V в зоне сопряжения штуцера с каналом рассчитывают по ГОСТ 24755-81. Если канал и штуцер выполнены из трубы одинаковых размеров и материала, то коэффициент V рассчитывают по формуле

                                  (102)

Расчетное значение коэффициента прочности сварного шва: для V-образного шва (см. черт. 11 а, в справочного приложения)

                                                       (103)

для углового шва (см. черт. 11 б справочного приложения)

;                                                  (104)

                                                               (105)

Коэффициенты понижения прочности  каналов рассчитывают по формулам:

                                                         (106)

                                                          (107)

5.4.2. Допускаемое избыточное давление в канале

                                                      (108)

5.4.3. Определение толщины стенки канала

                                                          (109)

                                                                 (110)

при этом размер сварного шва для угловых швов

5.5. Распределительные каналы в сосудах с регистровыми каналами (см. черт. 4 б справочного приложения). Расчет производят в соответствии с п. 5.4, причем следует использовать величины V,  по формулам:

                                                          (112)

                                                          (113)

                                                          (114)

где  - по п. 5.4.1.

5.6. Проверка на усталостную прочность

5.6.1. Размах напряжений в сварных швах между сосудом и каналом

                           (115)

где eТ - см. п. 2.6.1;

bк1 - по табл. 1;

                                           (116)

     (117)

   (118)

5.6.2. Размах напряжений в поперечном; сечении канала

                                              (119)

5.6.3. Проверку на малоцикловую прочность проводят из условий:

                                                   (120)

                                                    (121)

Допускаемые размахи напряжений  или допускаемое число рабочих циклов [N]5 и [N]6 определяют согласно п. 2.6.3. Индекс 5 относится к сварному шву между корпусом сосуда и каналом, а индекс 6 - к каналам.

ПРИЛОЖЕНИЕ
Справочное

ТЕРМИНЫ И ИХ ОБОЗНАЧЕНИЯ

Термины

Обозначение

Коэффициент осевого усилия

А

Площадь поперечного сечения канала, мм2 (см2)

АК

Размер сварного шва (черт. 6, 8, 10, 11а), мм (см)

а

Коэффициент сопряжения при помощи конуса

В

Наибольший свободный интервал между двумя жесткими элементами для цилиндрической обечайки с кольцами жесткости, мм (см)

b

Ширина кольца (черт. 6), мм (см)

b0

Толщина ленты направляющей спирали (черт. 11), мм (см)

b1

Ширина канала (черт. 11), мм (см)

b2

Сумма всех прибавок к расчетным толщинам стенок, мм (см)

с

Внутренний диаметр сосуда (черт. 1-11), мм (см)

D1

Внутренний диаметр рубашки (черт. 1-11), мм (см)

D2

Средний диаметр сосуда D3 = D1 + s1, мм (см)

D3

Средний диаметр рубашки D4 = D2 + s2, мм (см)

D4

Наибольший внутренний диаметр компенсатора, мм (см)

Dк

Расчетный диаметр, мм (см): для цилиндрической обечайки DR = D1, для днища DR = D1

DR

Наружный диаметр отбортовки или анкерной трубы (черт. 9 и 10), мм (см)

do

Диаметр окружности сопряжения рубашки с днищем сосуда (черт. 1, 7), мм (см); если рубашка присоединена не к днищу, то d1 принимают равным нулю

d1

Модуль упругости материала сосуда при расчетной температуре, МПа (кгс/см2)

E1

Модуль упругости материала рубашки или канала при расчетной температуре, МПа (кгс/см2)

E2

Расстояние от середины стенки рубашки до наружной стороны стенки сосуда, мм (см)

eо

Расстояние от центра тяжести поперечного сечения канала от середины стенки сосуда, мм (см)

e2

Осевое усилие от собственного веса, Н (кгс)

F

Коэффициенты прочности сопряжений при помощи конуса

f1, f2, f3, f4

Коэффициенты прочности сопряжений анкерными трубами и отбортовками

f5, f6.

Собственный вес сосуда и его содержимого, Н (кгс)

G1

Собственный вес рубашки и ее содержимого, Н (кгс)

G2

Относительный размер кольца

H

Исполнительная толщина кольца (черт. 6), мм (см)

h0

Расчетная толщина кольца, мм (см)

h0R

Ширина ленты направляющей спирали (черт. 8), мм (см)

h1

Высота канала , мм (см)

h2

Момент инерции поперечного сечения канала относительно оси, проходящей через его центр тяжести параллельно стенке сосуда, мм4 (см4)

IK

Коэффициенты для: расчета напряжений в зоне сопряжения при помощи конуса

Ко, K1, К2

Коэффициенты для расчета напряжений в сопряжении анкерными трубами или отбортовкой

К3, К4, К5, K6, К7, K8

Коэффициенты для расчета напряжений в каналах

K9, K10, К11

Расчетная длина рубашки (черт. 1-4 а), мм (см)

L

Расчетные длины цилиндрических обечаек с кольцами жесткости (черт. 1, 4 а), мм (см)

l1, l2

Длина примыкающего элемента, учитываемая при определении расчетной длины (черт. 1, 4 а), мм (см); определяют по ГОСТ 14249-80

13

Эффективная длина стенки обечайки, учитываемая при определении эффективного момента инерции кольца или канала, мм (см)

le

Исполнительная длина укрепления стенки рубашки в месте сопряжения при помощи конуса (черт. 5) или расстояние от первого кольцевого шва до отбортовки (черт. 5 в), мм (см)

lR

Относительный момент нагружения

M0

Относительные реактивные моменты

m1, m2, M3

Относительный реактивный момент в месте сопряжения анкерными трубами или отбортовками

m

Количество рабочих циклов

N

Допускаемое количество рабочих циклов рассматриваемого материала при расчетной температуре в размахе напряжений  по п. 2.6.3 (i = 0; 1; 2; ... 6)

Число витков направляющей спирали

n1

Число витков змеевикового канала

n2

Число замыканий змеевикового канала

n3

Относительное давление

P

Расчетное давление в сосуде при эксплуатации или испытании, МПа (кгс/см2), Если абсолютное давление больше атмосферного (избыточное давление), то p1 > 0; если абсолютное давление меньше атмосферного (вакуум), то p1 < 0;

p1

Расчетное давление в рубашке или в канале в состоянии эксплуатации или испытания, МПа (кгс/см2)

p2

Допускаемое внутреннее избыточное давление в рубашке или в канале, МПа (кгс/см2)

[p2]

Геометрический параметр кольца

Q

Радиус кривизны в вершине днища сосуда по внутренней поверхности (черт. 3, 7), мм (см)

R1

Радиус кривизны в вершине днища рубашки по внутренней поверхности (черт. 3, 7), мм (см)

R2

Внутренний радиус кривизны отбортовки для конических сопряжений (черт. 5 в), мм (см)

r0

Внутренний радиус кривизны отбортовки для сопряжений с отбортовкой (черт. 9), мм (см)

r1

Наружный радиус канала (черт. 11), мм (см)

r2

Средний радиус канала r3 = r2 - 0,5s2 мм (см)

r3

Исполнительная толщина стенки анкерной трубы (черт. 10), мм (см)

s0

Расчетная толщина стенки анкерной трубы, мм (см)

sor

Исполнительная толщина стенки цилиндрической обечайки сосуда (черт. 1-11), мм (см)

s1

Расчетная толщина стенки цилиндрической обечайки сосуда, мм (см)

s1R

Исполнительная толщина стенки цилиндрической обечайки рубашки и конуса или канала (черт. 1-11), мм (см)

s2

Расчетная толщина стенки цилиндрической обечайки рубашки и конуса или канала, мм (см)

s2R

Исполнительная толщина стенки днища сосуда (черт. 3, 7), мм (см)

s3

Исполнительная толщина стенки днища рубашки мм (см)

s4

Расчетная толщина стенки рубашки, мм (см); на цилиндрической обечайке sR = s2, на выпуклом днище sR = s4

sR

Рабочая температура, °С

T

Разность между средней температурой стенки сосуда и температурой 20 °С, °С

Разность между средней температурой стенки рубашки или канала и температурой 20 °С, °С

Эффективный шаг анкерных труб или отбортовок, мм (см)

t0

Расчетный шаг анкерных труб или отбортовок, мм (см)

t1, t2

Шаг анкерных труб или отбортовок вдоль оси мм (см) на цилиндрической обечайке - по черт. 3, 9, 10; на длине

tp.

Шаг анкерных труб или отбортовок по окружности, мм (см); на цилиндрической обечайке ; на длине

tT

Расстояние вдоль оси от края рубашки до первого ряда анкерных труб или отбортовок (черт. 3), мм (см)

tL

Расстояние по окружности от края рубашки до первого ряда анкерных труб или отбортовок, мм (см)

tK

Шаг направляющей спирали или змеевикового канала (черт. 4, 8, 11) мм (см)

ts

Коэффициент понижения прочности при наличии отверстий в канале в зоне штуцеров

V

Момент сопротивления сварного шва на единицу его длины между корпусом сосуда и кольцом, мм2 (см2)

W1

Момент сопротивления сварного шва на единицу его длины между кольцом и рубашкой, мм2 (см2)

W2

Вспомогательные величины

Х1, X2, X3

Угол конического сопряжения (черт. 5), ...°

а

Коэффициент температурного удлинения материала сосуда, 1/°С

а1

Коэффициент температурного удлинения материала рубашки или канала, 1/°С

а2

Эффективные коэффициенты концентрации

Общий эффективный коэффициент концентрации

Половина центрального угла канала (черт. 11), ...°

Угол шага анкерных труб или отбортовок на цилиндрической обечайке по окружности (черт. 3), ...°

Угол шага анкерных труб или отбортовок на днище (черт. 3), ...°

Угол по окружности от края рубашки до первого ряда анкерных труб или отбортовок (черт. 3), ...°

Относительное продольное удлинение в рубашке

Допускаемое относительное продольное удлинение в рубашке

Разность температурных относительных удлинений

Коэффициент, учитывающий расстояние между корпусом сосуда и рубашкой

Коэффициент нагружения

Коэффициент отношения прочности корпуса сосуда и рубашки

Коэффициент длины сопряжения

Относительная эффективная несущая длина конуса

Коэффициент радиуса отбортовки

Амплитуда напряжений, МПа (кгс/см2)

Размахи напряжений, МПа (кгс/см2) (i = 0; 1; 2; ... 6)

Допускаемое напряжение для кольца сопряжения или анкерной трубы при расчетной температуре МПа (кгс/см2)

Допускаемое напряжение для стенки сосуда при расчетной температуре, МПа (кгс/см2)

Допускаемое напряжение для стенки рубашки или канала при расчетной температуре, МПа (кгс/см2)

Допускаемая амплитуда напряжения рассматриваемого материала при расчетной температуре и при количестве рабочих циклов N, МПа (кгс/см2)

Допускаемый размах напряжений, МПа (кгс/см2) (i =  0; 1; 2;. .., 6)

Расчетный коэффициент прочности сварного шва на направляющей спирали

Коэффициент снижения допускаемых напряжений при расчете на устойчивость

Коэффициент прочности сварного шва

Коэффициенты понижения прочности канала

Расчетные коэффициенты прочности сварных швов

Коэффициент прочности сварного радиального шва в кольце сопряжения

Коэффициент прочности сварного продольного сосуда шва

Коэффициент прочности сварного продольного рубашки шва

Коэффициент прочности сварного кольцевого шва сосуда

Коэффициент прочности сварного кольцевого рубашки шва

Половина угла обхвата рубашки с сопряжением анкерными трубами или отбортовкой (черт. 3), ... °

Величины  определяют по ГОСТ 14249-80.

 

Примечание. Черт. 1-11 настоящего приложения не определяют конструкцию и приведены только для указания расчетных размеров.

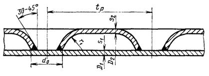
Сосуды с U-образной рубашкой

а - с сопряжением при помощи конуса; б - с сопряжением при помощи кольца

Черт. 1

Сосуды с цилиндрической рубашкой

а - с сопряжением при помощи конуса; б-с сопряжением при помощи кольца

Черт. 2

Сосуды с рубашками, сопряженными с корпусом сосуда анкерными трубами или отбортовкой

а - с отбортовкой; б - с анкерными трубами

Черт. 3

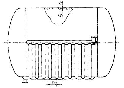
Сосуды со змеевиковыми каналами

Черт. 4а

Сосуды с регистровыми каналами

Черт. 4б

Сопряжение рубашки с корпусом сосуда при помощи конуса

Черт. 5

Сопряжение рубашки с корпусом сосуда при помощи кольца

Черт. 6

Сопряжение рубашки с днищем

Черт. 7

Направляющая спираль

Черт. 8

Сопряжение рубашки с корпусом сосуда отбортовкой

Черт. 9

Сопряжение рубашки с корпусом сосуда анкерными трубами

Черт. 10

а - полукруглое сечение с V-образным швом; б - полукруглое сечение с угловым швом; в - сегментное сечение

Черт. 11

СОДЕРЖАНИЕ

 




Rambler's Top100 Яндекс цитирования
  Copyright © 2008-2026, www.docload.ru