|
|
ГОСТ 19127-73* МЕЖГОСУДАРСТВЕННЫЙ СТАНДАРТ НАКЛАДКИ ДВУХГОЛОВЫЕ К
РЕЛЬСАМ Конструкция и размеры ИПК ИЗДАТЕЛЬСТВО СТАНДАРТОВ Москва МЕЖГОСУДАРСТВЕННЫЙ СТАНДАРТ
Утвержден Постановлением
Государственного комитета стандартов Совета Министров СССР от 14 сентября 1973 г.
№ 2157. Срок введения установлен с 01.01.75 Ограничение срока действия
снято по протоколу № 4-93 Межгосударственного Совета по стандартизации,
метрологии и сертификации (ИУС 4-94) * Переиздание (август 1998 г.) с Изменением № 1, утвержденным в июне
1985 г. (ИУС 9-85) 1.
Настоящий стандарт распространяется на стыковые двухголовые накладки к
железнодорожным рельсам типа Р43. 2.
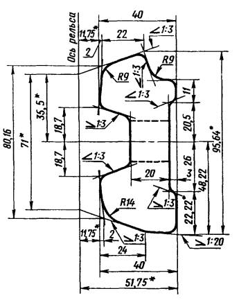
Конструкция и размеры накладок должны соответствовать указанным на черт. 1 (расчетные
данные указаны в приложении). Черт. 1 * Размеры для справок Черт. 2 * Размеры
для справок 3.
Исполнения накладок и расположение болтовых отверстий с наружной стороны
накладок должны соответствовать указанным на черт. 2. Выбор исполнения накладок
устанавливается по согласованию между изготовителем и потребителем. Условное
обозначение накладки к
рельсам типа Р43 исполнения 1: Накладка
1Р43 ГОСТ 19127-73 То же,
исполнения 2. Накладка
2Р43 ГОСТ 19127-73. (Измененная редакция, Изм. №
1). 4.
Радиусы закруглений, не указанные на чертеже, выполняются размером 2-6 мм. 5.
Предельные отклонения по размерам накладки в миллиметрах должны соответствовать
указанным ниже: По размерам болтовых отверстий со стороны
продавливания........... ±0,5 По смешению отверстий от номинального расположения................. ±1,0 По высоте.................................................................................................. ±0,5 По толщине шейки................................................................................... ±0,8 По длине................................................................................................... ±4,0 Высота
накладки проверяется шаблоном по опорным поверхностям. 6. Размеры,
на которые не установлены предельные отклонения, в готовых накладках не
контролируются, но должны обеспечиваться технологией с точностью до ±1,0 мм. 7.
Технические требования - по ГОСТ
4133-73. ПРИЛОЖЕНИЕСправочное РАСЧЕТНЫЕ
ДАННЫЕ Площадь
поперечного сечения проката, см2....................... 26,65 Расстояние
до центра тяжести, см: от верха
накладки................................................................... 4,92 от низа
накладки..................................................................... 4,53 от
внешней грани.................................................................... 1,88 Угол
наклона осей к горизонту: главной..................................................................................... -4º 03’ нейтральной............................................................................ 23º 08’ Момент
инерции, см4: относительно
центральных осей: горизонтальной....................................................................... 190,0 вертикальной........................................................................... 27,1 центробежный......................................................................... -11,6 относительно
главных осей: наибольший............................................................................. 190,8 наименьший............................................................................ 26,3 Момент сопротивления,
см3: по верху
накладки................................................................... 38,9 по низу
накладки.................................................................... 42,1 по
внешней грани (наибольший).......................................... 14,4 Масса,
кг: 1 м
проката.............................................................................. 20,92 накладки
исполнения 1.......................................................... 16,01 накладки
исполнения 2.......................................................... 9,49 Примечание. Масса определена, исходя из номинальных размеров и
плотности стали 7850 кг/м3. ПРИЛОЖЕНИЕ.
(Измененная
редакция, Изм. № 1). |
|
|
|
|