Бесплатная библиотека стандартов и нормативов www.docload.ru

Все документы, размещенные на этом сайте, не являются их официальным изданием и предназначены исключительно для ознакомительных целей.
Электронные копии этих документов могут распространяться без всяких ограничений. Вы можете размещать информацию с этого сайта на любом другом сайте.
Это некоммерческий сайт и здесь не продаются документы. Вы можете скачать их абсолютно бесплатно!
Содержимое сайта не нарушает чьих-либо авторских прав! Человек имеет право на информацию!

 

МИНИСТЕРСТВО ТРАНСПОРТНОГО СТРОИТЕЛЬСТВА

ГОСУДАРСТВЕННЫЙ ВСЕСОЮЗНЫЙ ДОРОЖНЫЙ
НАУЧНО-ИССЛЕДОВАТЕЛЬСКИЙ ИНСТИТУТ

СОЮЗДОРНИИ

МЕТОДИЧЕСКИЕ РЕКОМЕНДАЦИИ
ПО ПРОЕКТИРОВАНИЮ И ТЕХНОЛОГИИ
СООРУЖЕНИЯ КОНСТРУКЦИЙ
ЗАСТЕННОГО И БЕСТРАНШЕЙНОГО
ТРУБЧАТОГО ДРЕНАЖА

Москва 1989 г.

Приведены варианты конструктивных решений застенного и бестраншейного трубчатого дренажа с использованием геотекстильных материалов и методы их расчета.

Даны указания по технологии устройства застенного дренажа в различных удерживающих противооползневых конструкциях и бестраншейного дренажа.

Изложена методика испытаний геотекстильных материалов на фильтрацию; приведено описание программ расчета дренажных конструкций на ЭВМ и даны контрольные примеры.

Предисловие

Основными задачами при строительстве автомобильных дорог являются сокращение материалоемкости, сроков и стоимости работ, снижение трудозатрат и эксплуатационных расходов. Решение этих задач особенно важно при сооружении дорог в оползневых районах из-за необходимости обеспечения длительной устойчивости откосов земляного полотна и дорог на склонах.

Наиболее эффективная мера по предотвращению оползневых деформаций - использование комплекса противооползневых мероприятий, включающих, как правило, поверхностный водоотвод, удерживающие конструкции и т.п. Кроме того, к этим мероприятиям относится устройство застенного и горизонтального бестраншейного трубчатого дренажа, первый из которых предназначен для отвода грунтовых вод из-за удерживающих конструкций, второй - для осушения откосов выемок и оползневых склонов.

Настоящие Методические рекомендации разработаны на основе выполненных в 1985-1987 гг. исследований дренажных конструкций с применением геотекстильных материалов, предназначенных для использования взамен традиционных дренажных конструкций из зернистых материалов.

Методические рекомендации разработали кандидаты технических наук Ю. В. Пудов и Л. И. Семендяев при участии инж. Т. Ю. Уткиной (Союздорнии) и канд. техн. наук Э. Н. Силагадзе (Тбилгипроавтодортранс).

Замечания и пожелания по настоящей работе просьба направлять по адресу: 143900, Московская обл., г. Балашиха-6, ш. Энтузиастов, 79, Союздорнии.

1. Общие положения

1.1. Настоящие Методические рекомендации разработаны в развитие основных положений соответствующих глав СНиП 2.05.02-85 и СНиП 3.08.03-85 и предназначены для применения при проектировании и сооружении автомобильных дорог в сложных инженерно-геологических условиях взамен традиционных дренажных конструкций, включающих фильтрующие обсыпки из зернистых материалов, в том числе взамен дренажных траншей, прорезей, штолен и галерей.

Методические рекомендации могут быть также использованы при осушении котлованов и строительных площадок на склонах, мокрых выемок и при восстановлении застенного дренажа различных удерживающих противооползневых конструкций.

1.2. Предложенные технические решения рассчитаны на использование в качестве основного дренирующего элемента конструкций нетканого иглопробивного геотекстильного материала, изготавливаемого из синтетических волокон.

Варианты конструктивных решений назначают по результатам технико-экономического сравнения с учетом физико-механических свойств грунтов и возможностей технологического оборудования.

1.3. Перед проектированием конструкций застенного и бестраншейного горизонтального трубчатого дренажа определяют пористость и коэффициент фильтрации грунтов оползневого массива и допустимый уровень обводнения толщи грунтов, при котором обеспечивается заданная степень устойчивости откоса или оползневого склона. Этот этап расчета выполняют по известным методикам или по программам расчета на ЭВМ [4, 5] на основании инженерно-геологических изысканий и данных физико-механических свойств грунтов.

1.4. Устройство дренажных конструкций следует относить к скрытым работам, на которые оформляется соответствующий акт с обязательной регистрацией качества геотекстильного материала, его сплошности, однородности; приводятся паспортные данные и результаты контрольных испытаний.

2. Основные требования к геотекстильным материалам

2.1. В дренажных конструкциях допускается применять геотекстильные материалы из синтетических волокон только одного вида (полиэфир, полипропилен, поливинилхлорид, полиамид) или их смеси, при этом предпочтение следует отдавать геотекстильным материалам из полипропиленовых волокон, наиболее устойчивых к воздействию кислот, щелочей и микроорганизмов.

2.2. При проектировании застенного дренажа следует использовать нетканые геотекстильные материалы толщиной не менее 0,3 см, а бестраншейного трубчатого дренажа - толщиной не менее 0,1 см.

Расчетные характеристики геотекстильных материалов назначают после их испытаний в лаборатории на фильтрационных приборах типа приборов Союздорнии (прил. 1). Для предварительных расчетов допускается использовать данные, приведенные в технических условиях на геотекстильные материалы.

2.3. Расчетную толщину геотекстильных материалов определяют на образце размером 50 ´ 200 мм, равномерно пригруженном нагрузкой, соответствующей весу грунта в натурных условиях, как среднее из замеров каждой из четырех сторон образца с помощью толщиномера согласно ГОСТ 15902.1-80.

В условиях строительных организаций допускается использовать микрометр.

2.4. Одним из критериев качества и эксплуатационной надежности геотекстильных материалов является его однородность, показателем которой служит выраженное в процентах отклонение толщины или массы по площади полотна. Это отклонение для геотекстильных материалов, используемых в дренажных конструкциях, не должно превышать 10 % в сторону уменьшения от среднего значения. Наличие разрывов и дыр на полотне геотекстильного материала недопустимо.

2.5. Геотекстильные материалы (особенно из полипропилена, поливинилхлорида и полиамида) следует хранить в условиях, исключающих попадание на них воды, пыли и облучение их солнечными лучами.

3. Проектирование застенного дренажа

3.1. Застенный дренаж предназначен для отвода грунтовых вод из-за удерживающих противооползневых сооружений.

Застенный дренаж из геотекстильных материалов устраивают в виде сплошной прослойки или отдельных прослоек, располагаемых за удерживающими конструкциями типа сборных или монолитных подпорных стен и стен, сооружаемых методом "стена в грунте", за облицовочными плитами в конструкциях из буронабивных свай, под покрытием из пневмонабрызга или плит в нагельных конструкциях и конструкциях анкерного крепления.

Во всех случаях устройства дренажа из геотекстильного материала нижнюю часть прослойки обертывают вокруг перфорированной дренажной трубы, а отвод воды из трубы осуществляют через дренажные окна, устраиваемые в теле удерживающего сооружения на уровне размещения дренажных труб.

3.2. При формировании защитного или несущего покрытия из торкретбетона или монолитного бетона по поверхности уложенной геотекстильной прослойки, например при устройстве нагельной конструкции (рис. 1), между прослойкой из геотекстиля и покрытием размещают прослойку из водонепроницаемого материала, например из полиэтиленовой пленки, для защиты геотекстиля от кольматации его цементным раствором.

Рис. 1. Схема нагельной конструкции:

1 - лоток; 2 - дренажное окно; 3 - покрытие; 4 - арматурная сетка; 5 - нагели; 6 - прослойка из водонепроницаемого материала; 7 - геотекстильный материал

3.3. Расчет конструкции застенного дренажах) применением геотекстильного материала в общем случае выполняют в такой последовательности (рис. 2):

x) Целесообразно выполнять на ЭВМ по разработанной в Союздорнии программе РЗД [3].

определяют максимальный приток воды qт к дренажу при расчетном уровне Н грунтовых вод;

устанавливают нагрузку Р от грунта на геотекстильный материал в уровне расположения дренажной трубы и определяют расчетную толщину dк геотекстильного материала;

вычисляют объем воды q, который может пройти через поперечное сечение геотекстильного материала (с учетом его обжатия грунтом) в уровне расположения дренажной трубы;

назначают (в случае необходимости) площадь поперечного сечения F дренажного канала и определяют расстояние l между дренажными каналами;

назначают тип дренажной трубы и определяют ее водоприемную способность qвт, скорость оттока воды из дренажных труб Vm и ее максимальный расход q0;

определяют расстояние L между дренажными окнами.

Рис. 2. Схема застенного дренажа:

1 - подпорная стена; 2 - дренажное окно; 3 - лоток; 4 - канал; 5 - геотекстиль; 6 - дренажная труба; 7 - грунт

3.4. Максимальный приток воды к застенному дренажу на участке длины стены l (см) определяют по формуле

qm=l H Kф,                                                                   (1)

где Kф - коэффициент фильтрации грунта, см/с.

3.5. Расчетную толщину dк геотекстильного материала устанавливают в лаборатории при сжатии образца геотекстиля под нагрузкой Р, соответствующей весу грунта в натурных условиях и определяемой по формуле

P = [g (h - H) + H (g - gв) + q’] tg2(45 - ) - 2 C tg(45 - ),              (2)

где g и gв - объемная плотность соответственно грунта и воды, Н/м3;

h - расстояние от поверхности грунта до уровня размещения дренажной трубы, м;

q - приведенная удельная поверхностная нагрузка, Н/м;

j - угол внутреннего трения грунта, град;

С - сцепление грунта, Па.

3.6. Объем воды q, который может пройти через поперечное сечение геотекстильного материала в уровне дренажной трубы, составляет

q = l dк Kфт x,                                                               (3)

где Kфт - коэффициент продольной фильтрации геотекстильного материала с учетом его обжатия под нагрузкой Р, см/с;

x - коэффициент, учитывающий снижение Kфт в процессе кольматации геотекстильного материала.

Коэффициенты Kфт и x определяют при испытаниях на фильтрационных приборах (типа приборов Союздорнии) образцов геотекстиля при удельной нагрузке Р (см. прил. 1).

3.7. Эффективная работа дренажа в течение всего срока службы сооружения может быть обеспечена лишь при соблюдении условия

qm £ q                                                                   (4)

или

H Kф £ dк Kфт x.                                                       (5)

Из условия (5) можно определить необходимые dк или Kфт геотекстильного материала:

Kфт ³ .                                                              (6)

3.8. При отсутствии геотекстильных материалов с необходимыми характеристиками пропускную способность дренажа увеличивают путем устройства на тыльной (обращенной к грунту) поверхности стены вертикальных каналов, формируемых при бетонировании монолитных стен или изготовлении панелей и блоков при сборном варианте.

Для сокращения времени отвода воды из-за удерживающего сооружения вертикальные каналы соединяют горизонтальными или наклонными каналами, располагаемыми через 1,0-1,5 м по высоте стены. Во всех случаях длина вертикальных каналов должна на 0,5 м превышать расчетный уровень Н грунтовых вод.

3.9. Объем воды qк, отводимой по вертикальному каналу, определяют по формуле

qк = b z C1,                                                   (7)

где b и z - соответственно ширина и глубина канала, см;

С1 - коэффициент Шези; для бетонных стен С1 = 0,7;

g - ускорение свободного падения, м/с2;

Hp - расчетный уровень понижения грунтовых вод, см.

Необходимое расстояние l между дренажными каналами назначают из условия

qm £ q + qк                                                                   (8)

или

l = .                                                       (9)

3.10. При расстоянии между каналами менее 1,5 м рекомендуется, исходя из условия (9), уточнить площадь поперечного сечения канала. Глубину канала назначают в пределах от 2 до 7 см, а ширину - 1-3 см.

При необходимости увеличения ширины канала до 5 см между поверхностью подпорной стены и геотекстильным материалом следует размещать металлическую или пластмассовую сетку, чтобы исключить прилегание геотекстиля к стенкам канала.

3.11. При выборе типа дренажной трубы следует учитывать, что подток воды к трубе должен быть равен возможному стоку воды в трубу через водоприемные отверстия или быть меньше его, т.е. необходимо соблюдать условие

qm £ qвт,                                                                       (10)

где

qвт = l’ b1 a n1 n2 Vm;                                                          (11)

l - длина дренажной трубы, м; l’ = ;

b1 и a - соответственно длина и ширина водоприемного отверстия, см;

n1 - количество отверстий в одном ряду по периферии трубы;

n2 - количество рядов отверстий на 1 м длины трубы.

Скорость оттока воды определяют по формулам [1]:

для гладкостенных труб

Vm = 200,2 R0,718 i0,57×100;                                                      (12)

для гофрированных труб

Vm = 77,5 R0,665 i0,57×100,                                                      (13)

где R - гидравлический радиус дренажной трубы, м; R = D/4;

D - внутренний диаметр трубы, м;

i - уклон дренажной трубы; i = tg a

a  - угол наклона дренажной трубы к горизонту, град; a = 0,5 ¸ 2°.

При несоблюдении условия (10) необходимо изменить тип дренажной трубы или применить трубы большего диаметра.

3.12. Отвод грунтовых вод, поступающих по геотекстильному материалу и каналам в дренажные трубы, осуществляют через дренажные окна, имеющиеся в удерживающем сооружении на уровне дренажных труб. Оптимальное расстояние между дренажными окнами L устанавливают из условия работы дренажной трубы полным сечением:

.                                                               (14)

Максимальный расход воды q0 из дренажных перфорированных труб определяют по формулам [1]:

для гладкостенных труб

q0 = 58,1 D2,718 i0,57 × 106;                                                     (15)

для гофрированных труб

q0 = 24,2 D2,665 i0,493 × 106.                                                      (16)

3.13. При проектировании застенного дренажа следует учитывать также возможность его устройства только из геотекстильного материала. В этом случае нижний конец полотнища геотекстиля сворачивают в рулон, формируя тем самым приемный канал для отвода воды через окна из-за застенного пространства.

Необходимое расстояние L между дренажными окнами при заданной ширине l, геотекстильного материала, формирующего канал, определяют по формуле

.                                                    (17)

Ширину l1 рекомендуется принимать в пределах 1-3 м. Минимальное расстояние L между дренажными окнами составляет 0,6 d (где d - диаметр окна, см; d ³ 7 см).

Целесообразность применения геотекстиля взамен труб устанавливают по результатам технико-экономического сравнения различных вариантов.

3.14. При незначительном притоке грунтовых вод к удерживающему сооружению рекомендуется формировать застенный дренаж из отдельных полотнищ геотекстиля, размещенных на определенном расстоянии друг от друга. В данном случае расчет притока воды к дренажу выполняют по формуле (1), принимая l = l2 + l3 (где l2 - ширина полотнища геотекстиля, м; l3 - расстояние между полотнищами, м). Оптимальное значение l3 при заданной ширине полотнища геотекстиля определяют по формуле

.                                                    (18)

3.15. Для повышения эффективности работы застенного дренажа допускается взамен дренажных каналов устанавливать между подпорной стеной и геотекстильным материалом синтетическую сетку, продольные и поперечные стержни которой введены друг в друга на глубину не более половины их диаметра, при этом вертикальные стержни сетки должны примыкать к стене. Возможность использования того или иного типа сетки определяют из условия

,                                                             (19)

где R1 - радиус стержня сетки, см;

п3 - расстояние между стержнями, см.

4. Проектирование бестраншейного трубчатого дренажа

4.1. Бестраншейный горизонтальный трубчатый дренаж предназначен для осушения откосов мокрых выемок и оползневых склонов. Его выполняют в виде отдельных дрен, располагаемых или параллельно друг другу или веерообразно под углом 1-4° к горизонтали (рис. 3). Применение того или иного варианта расположения дрен принимают исходя из конкретных условий производства работ в зависимости от возможностей расположения бурового станка и удобства отвода поступающей по дренам воды за пределы выемки или оползневого массива. Дрены устраивают путем введения в предварительно пробуренные скважины пластмассовых перфорированных труб, заключенных в оболочку из нетканого геотекстильного материала.

4.2. Бестраншейный горизонтальный дренаж рассчитываютx) в такой последовательности:

x) Расчет целесообразно проводить на ЭВМ по разработанной в Союздорнии программе РГД [2].

оценивают степень устойчивости откоса или оползневого склона при наиболее неблагоприятных условиях воздействия природных факторов и определяют необходимый уровень понижения грунтовых вод в выбранном месте размещения дренажа;

Рис. 3. Схема бестраншейного горизонтального дренажа:

1 - лоток; 2 - водоотводная часть дрены; 3 - водоприемная часть дрены; 4 - грунт; 5 - уровень грунтовых вод после осушения грунтового массива; 6 - поверхность скольжения

назначают тип дренажной трубы (гладкостенная, гофрированная и т.п.), ее диаметр и тип фильтрующего геотекстильного материала для оболочки дрен и определяют максимально возможный приток воды в дрену с учетом характеристик грунтов, перфорации дренажных труб и расчетного коэффициента поперечной фильтрации геотекстильного материала;

назначают уклон дрен и определяют максимальный отвод воды из дрены, скорость оттока, водоприемную способность дрены и ее длину;

определяют расстояние между дренами, а также время осушения оползневого массива; если необходимо сократить время осушения, то расчет уточняют, применяя другие типы дрен или фильтров либо изменяя расстояние между дренами.

4.3. Оценку степени устойчивости откоса или оползневого склона, установление мест размещения дренажа и необходимого уровня понижения грунтовых вод выполняют по известным методикам или по программам расчета устойчивости на ЭВМ [4 - 6]. Тип дренажной трубы и геотекстильного материала назначают с учетом того, чтобы диаметр дрен составлял не более 0,9 диаметра скважины. Расчетный коэффициент поперечной фильтрации геотекстильного материала принимают с учетом его кольматации грунтовыми частицами и определяют при испытании на фильтрационном приборе (типа прибора Союздорнии) образца геотекстильного материала при удельной нагрузке Р¢:

Р¢ = (g h + q¢) tg2(45 - ).                                         (20)

4.4. Максимальный подток q¢max воды к дрене определяют исходя из критической скорости фильтрации воды в грунте:

q¢max = p D1 l4 ,                                             (21)

где D1 - внешний диаметр дренажной трубы, см;

l4 - длина дрены, см; l4 = 100 см;

J¢ - градиент напора на границе грунт-дрена; J¢ = 1

п - активная пористость грунта;

;                                                                 (22)

e - коэффициент пористости;

wn - максимальная молекулярная влагоемкость грунта [7], % массы скелета грунта (табл. 1).

4.5. Во всех случаях подток воды к дрене должен быть равен (или меньше) возможному втоку q¢вт воды в дрену, определяемому характеристиками фильтрующей оболочки из геотекстильного материала, количеством и размером водоприемных отверстий в дренажной трубе (см. п. 3.11):

q¢max £ q¢вт = p D1 l4 Kфп;                                                                           (23)

q¢max £ q²вт = b d n1 n2 Vm,                                                (24)

где Kфп - расчетный коэффициент поперечной фильтрации геотекстильного материала, см/с.

Таблица 1

Грунт

Размер частиц, мм

Максимальная молекулярная влагоемкость, % массы скелета грунта

Песок:

 

 

      крупный

1-0,5

1,57

      средний

0,5-0,25

1,60

мелкий

0,25-0,1

2,73

Песчаная пыль

0,1-0,05

4,75

Ил

0,05-0,005

10,18

Глина

< 0,005

44,85

Скорость оттока воды из дрены Vm и максимальный отток q0 воды определяют по формулам (12), (13), (15) и (16).

4.6. Если не соблюдается условие п. 2.3, то необходимо изменить тип геотекстильного материала. При несоблюдении условия п. 2.4 следует изменить тип дренажной трубы, например перейти на использование дренажных труб с большим количеством водоприемных отверстий или применить трубы большего диаметра. При этом необходимо вновь определить q¢max и проверить соблюдение условий пп. 2.3 и 2.4.

В качестве дополнительной меры можно использовать также увеличение угла наклона дрен до 4°.

4.7. Оптимальную длину l5 водоприемной части дрены (см. рис. 3) определяют из условия обеспечения возможности оттока воды из дрены при работе дренажной трубы полным сечением:

l5 = .                                                                    (25)

Однако в ряде случаев при расчете дрен, особенно при малом коэффициенте фильтрации грунтов, длина водоприемной части дрены может оказаться чрезмерно большой (несколько сотен метров). Это приводит к необходимости использовать специальные буровые станки и увеличивать стоимость дренажа. Следует также учитывать и то, что максимальная длина дрен определяется в основном геологическим строением оползневого массива и может составить всего несколько десятков метров. Поэтому при расчете длины водоприемной части дрен необходимо соблюдать условие

lдоп ³ l5 + ln,                                                                 (26)

где lдоп - допустимая длина дрены, определяемая геологическим строением оползневого массива и параметрами бурового оборудования, см;

ln - длина дрены от водосбросного лотка до начала водоприемной части, см.

4.8. С учетом установленного значения l5, а также постоянного притока воды с верховой части склона расстояние между дренами при параллельном их расположении L0 определяют по формуле /2/

,                               (27)

где Н1 - расчетный уровень грунтовых вод, см;

h0 - уровень грунтовых вод у дрены, см; h0 = 0,5 D.

При веерном расположении дрен величина L0 соответствует расстоянию между дренами в средней части водоприемной длины дрен.

4.9. Необходимое количество п4 дрен определяют по формуле

п4 = ,                                                                     (28)

где В - ширина или часть ширины оползневого массива при блоковом варианте его осушения, см.

Если L0 > 1 м, то расчет целесообразно повторить, применив дренажные трубы большего диаметра, и принять окончательное решение на основе технико-экономического сравнения вариантов.

4.10. Полное время осушения Т оползневого массива с учетом времени, необходимого для постоянного перехвата грунтовых вод, поступающих с верховой части склона, определяют по формуле

,                  (29)

где A - коэффициент, определяемый по  (табл. 2);

hp - расчетный уровень понижения грунтовых вод (см. рис. 3), см.

Таблица 2

z = h0/H1

A

z = h0/H1

A

z = h0/H1

A

0

0,86236

0,3

0,817

0,7

0,597

0,05

0,86100

0,4

0,781

0,8

0,497

0,10

0,85700

0,5

0,734

0,9

0,357

0,20

0,84200

0,6

0,674

 

 

Если время осушения Т больше требуемого, то следует применить дрены большего диаметра или с большей водоприемной способностью и повторить расчет. Кроме того, если известно требуемое время осушения, то можно из зависимости (29), задавшись значением T, определить расстояние L0 при ранее вычисленной длине l5 водоприемной части дрены. При этом следует учитывать, что первый вариант даст возможность получить наиболее экономичное решение и ко второму варианту нужно прибегать лишь в тех случаях, когда необходимо ускорить осушение массива.

5. Технология сооружения застенного дренажа

5.1. Технология сооружения застенного дренажа в конструкциях сборных и монолитных подпорных стен в общем случае включает: формирование на тыльной (обращенной к грунту) поверхности стены и ее отдельных элементов продольных и поперечных каналов и устройство в ее нижней части дренажных окон; навешивание на стену полотнища из геотекстильного материала; укладку в основании стены на уровне дренажных окон перфорированной трубы; обертывание нижнего конца полотнища вокруг дренажной трубы и его фиксацию; засыпку застенного пространства местным грунтом.

5.2. При необходимости устройства продольных и поперечных каналов их выполняют в процессе бетонирования стены или изготовления ее элементов с использованием опалубки с прикрепленными к ней брусками, толщину и ширину которых устанавливают расчетом.

5.3. Навешивание полотнищ геотекстильного материала выполняют путем их крепления к арматурным выпускам, заранее устроенным через 0,5-0,7 м в подпорной стене на уровне верха полотнищ геотекстиля, или при помощи Г-образных скоб с тросами и присоединенных к тросам стержней, к которым и крепят проволочными скрутками верхний конец полотнищ (рис. 4). Скобы и стержни снимают после засыпки грунта в застенное пространство до уровня верха полотнищ.

Рис. 4. Схема навешивания полотнища из геотекстильного материала:

1 - дренажное окно; 2 - канал; 3 - геотекстиль; 4 - стержень; 5 - трос; 6 - скоба

5.4. Перфорированные дренажные трубы располагают вплотную к стене, а нижние концы полотнищ наворачивают на трубу или обертывают вокруг нее и присыпают грунтом.

Во всех случаях контакт дренажных труб с грунтом не допускается.

При устройстве застенного дренажа из отдельных полотнищ геотекстиля, размещенных друг от друга на расстоянии l3 (см. п. 3.14), дренажную трубу в зоне между полотнищами заключают в оболочку из геотекстильного материала.

5.5. Синтетические сетки взамен дренажных каналов устанавливают с примыканием вертикальных стержней сетки к поверхности стены. Нижний край сеток во всех случаях следует располагать на уровне основания дренажной трубы, не допуская его вывода за ее пределы. Крепление сеток к стене выполняют аналогично креплению геотекстильных полотнищ.

5.6. Устройство застенного дренажа в удерживающих конструкциях из буронабивных свай со сборными облицовочными плитами (рис. 5) включает: навешивание на буронабивные сваи полотнищ из геотекстильного материала; укладку на поверхность бетонного опорного бруса дренажных труб и обертывание их краями полотнищ; монтаж облицовочных плит с креплением полотнищ к тыльной (обращенной к грунту) поверхности плит и заполнение зазора между плитами и поверхностью грунта в межсвайных промежутках песком или местным грунтом.

Рис. 5. Устройство дренажа в конструкциях из буронабивных свай:

1 - окно; 2 - дренажная труба; 3 - геотекстиль; 4 - плиты; 5 - грунт; 6 - ростверк; 7 - буронабивные сваи

5.7. Для удобства монтажных работ рекомендуется перед монтажом плит крепить геотекстильный материал непосредственно к плитам, например битумом в нескольких точках по поверхности плиты, оставляя выпуски геотекстиля шириной 20 см с нижней и одной из боковых сторон плиты. В этом случае только нижний ряд плит крепят дополнительно к заранее уложенному полотнищу геотекстильного материала (рис. 6).

5.8. При необходимости последующего омоноличивания покрытия из плит бетонным раствором застенный дренаж в конструкциях из буронабивных свай выполняют с креплением полотнищ геотекстиля штырями к грунту в межсвайных промежутках и навешиванием поверх полотнищ покрытия из водонепроницаемого материала, например полиэтиленовой пленки, для защиты геотекстиля от кольматации его цементным раствором. Нижние концы водонепроницаемого материала приклеивают битумом к основанию нижней плиты или к поверхности опорного бруса, если в нем есть ниша для размещения дренажных труб (рис. 7). Бетонный раствор для заполнения пространства между плитами и водонепроницаемым материалом подают после монтажа плит каждого ряда или после монтажа всех плит с использованием бетонолитной трубы, вводимой в специально выполненные для этого отверстия в ростверке.

Рис. 6. Конструкция дренажа из отдельных элементов:

1 - окно; 2 - плиты; 3 - геотекстиль; 4 - грунт; 5 - буронабивные сваи; 6 - ростверк; 7 - дренажная труба; 8 - опорный брус; 9 - места крепления геотекстиля к плите

5.9. При сооружении нагельных креплений и анкерных конструкций застенный дренаж выполняют из полотнищ геотекстильного материала, укладываемых под покрытие или анкерные плиты. Если покрытие устраивают из монолитного бетона или торкретбетона, то между покрытием и геотекстильным полотнищем размещают прослойку из водонепроницаемого материала, а отвод воды из-под покрытия осуществляют через дренажные окна, располагаемые в нижней части покрытия.

После устройства покрытия водонепроницаемый материал из этих мест удаляют (см. рис. 1).

Рис. 7. Застенный дренаж в конструкциях из буронабивных свай с монолитной облицовочной стенкой:

1 - дренажное окно; 2 - брус; 3 - опалубка; 4 - бетон; 5 - пленка; 6 - геотекстиль; 7 - ростверк; 8 - отверстие; 9 - сваи; 10 - штырь; 11 - слои битума; 12 - дренажная труба

6. Технология сооружения бестраншейного дренажа

6.1. В общем случае технология сооружения бестраншейного горизонтального дренажа включает подготовительные работы, устройство водоприемного коллектора или водоотводного лотка, комплектование дрен из гибких гофрированных труб, бурение скважин с обсадными трубами, извлечение бурового става и введение в обсадные трубы дрен, извлечение обсадных труб и обустройство устья скважины.

При длине дрен до 30 м в грунтах, обеспечивающих устойчивость стенок скважин до введения в них дрен, допускается бурение скважин без обсадных труб.

6.2. Подготовительные работы включают планировку поверхности грунта на строительной площадке; устройство временной дороги для транспортировки материалов и оборудования; доставку на площадку геотекстильного материала и дренажных труб и их складирование под навесом; перевозку бурового оборудования, керамических труб с соединительными деталями для водоприемного коллектора или деталей для водоотводного лотка; разбивку мест для бурения скважин. При применении переносного бурового станка, например станка типа Тони-Боринг, на поверхности площадки в местах будущих скважин при необходимости устраивают покрытие из сборных железобетонных плит.

6.3. В случае необходимости применения водоотводного лотка (рис. 8) его устраивают перед бурением скважин. С этой целью используют готовые элементы, например бетонные плитки, которые укладывают в заранее подготовленную траншею с омоноличиванием стыков, начиная с низовой стороны. Если в процессе строительства возникает опасность оползневых подвижек, то целесообразно устраивать водоотводные лотки с покрытием из геотекстильных материалов, обработанных битумом (расход битума 2-4 л/м2).

Рис. 8. Примыкание дрен к водоотводному лотку:

1 - водоприемная часть дрены; 2 - водоотводная часть дрены; 3 - оголовок; 4 - плитки

6.4. При использовании для сбора воды из дрен незаглубленного коллектора из керамических труб перед бурением скважин размечают ось коллектора, устанавливают под ним опоры из бетонных элементов сечением 8 ´ 8 см (рис. 9), размечают водосбросную часть коллектора, находящуюся за пределами рабочей площадки. Оставшуюся часть коллектора устраивают по мере бурения скважин и установки дрен. Соединение керамических труб коллектора друг с другом и подсоединение дрен к коллектору осуществляют с помощью соединительных деталей из поливинилхлорида (ПВХ) или полиэтилена высокой плотности (ПЭВП) промышленного изготовления [8].

Рис. 9. Сброс грунтовых вод по коллектору:

1 - водоприемная часть дрены; 2 - водоотводная часть дрены; 3 - переходник; 4 - коллектор; 5 - опора

6.5. Водоприемную часть дрены выполняют из перфорированных гладкостенных или гофрированных пластмассовых труб из ПВХ или ПЭВП, заключенных в оболочку из нетканого геотекстильного материала, а водоотводную часть - из гладкостенных пластмассовых труб. Соединение водоотводной и водоприемной частей дрены обеспечивается муфтами или раструбной сваркой [7]. Возможно устройство дрен только из перфорированных труб. В этом случае водоотводную часть дрены заключают в оболочку из водонепроницаемого материала, например полиэтиленовой пленки или геотекстиля, обработанного битумом.

6.6. Процесс комплектования дрен, в который входят заключение водоприемной части дрены в оболочку из нетканого геотекстильного материала, устройство в головной части дрены заглушки и направляющего наконечника, соединение водоприемной и водоотводной частей дрен или формирование на водоотводной части дрены оболочки из водонепроницаемого материала, рекомендуется выполнять под навесом на стеллажах с использованием двух бухтодержателей. На одном из них устанавливают бухту пластмассовых труб, а на втором - готовые дрены, которые затем доставляют к месту производства работ.

6.7. Защитную фильтрующую оболочку из геотекстильного материала на водоприемной части дрены устраивают следующим образом: перфорированную трубу обертывают полоской геотекстиля шириной 40-50 см по винтовой линии, начиная с конца дрены, чтобы винтовой шов был направлен по ходу движения при введении дрены в скважину. Концы полоски закрепляют на трубе клеем, сваркой или проволокой. При устройстве водоприемной и водоотводной частей дрены из единой перфорированной трубы водоотводную часть дрены обертывают полоской из водонепроницаемого материала или геотекстиля, обработанного вяжущим, с заведением ее концов на оболочку из геотекстильного материала и прикреплением к трубе проволочными скрутками или клеем.

6.8. Заглушку в головной части дрены выполняют из дерева, пластмассы или жгута из геотекстильного материала, а направляющий наконечник овоидального очертания - из проволоки диаметром 6-8 мм (рис. 10). При длине дрены более 40 м рекомендуется через каждые 2-3 м устраивать промежуточные дугообразные направляющие из проволоки диаметром 3-6 мм, прикрепляя их к дрене проволочными скрутками.

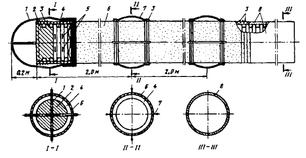
Рис. 10. Конструкция дрены:

1 - проволока; 2 - заглушка; 3 - скрутка; 4 - перфорированная трубка; 5 - отверстия; 6 - геотекстиль; 7 - направляющая; 8 - водоотводная часть дрены

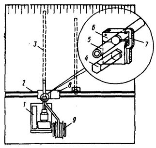
6.9. Бурение скважин выполняют буровыми станками горизонтального бурения с использованием обсадных труб. Водоотводный лоток перед началом буровых работ закрывают переносными деревянными щитами, чтобы исключить попадание в него бурового шлама. После окончания бурения буровой став извлекают и в скважину подают готовую дрену, диаметр которой не должен превышать 0,9 внутреннего диаметра обсадных труб. При длине дрен до 60 м рекомендуется вводить их в скважины вручную; при большей длине дрен следует использовать буровой станок с простейшими приспособлениями, выполненными, например, в виде зажима или цангового захвата, прикрепленного к подающему механизму станка (рис. 11).

Рис. 11. Схема установки дрены в скважину:

1 - буровой станок; 2 - лоток; 3 - скважина; 4 - переходник к буровому станку; 5 - дрена; 6 - зажим; 7 - ключ; 8 - щит; 9 - бухтодержатель

6.10. После введения дрены в скважину извлекают обсадные трубы, перемещают буровой станок на новое место производства работ, производят обустройство устья скважины, устанавливая сборный или монолитный бетонный оголовок (см. рис. 8), монтируют очередное звено коллектора с подсоединением к нему дрены (см. рис. 9) или снимают переносные щиты с лотка и очищают его от бурового шлама.

Приложение 1

Методика испытания геотекстильных материалов на фильтрацию

Водопроницаемость - один из основных показателей материала, определяющих условия его применения. Различают продольную (радиальную) и поперечную водопроницаемость полотна.

Испытания проводят на фильтрационном приборе Союздорнии (рис. 1 настоящего приложения).

Методика испытаний геотекстиля на поперечную водопроницаемость заключается в следующем:

вырезают круглый образец диаметром d = 130 мм и определяют его толщину d под удельными нагрузками 0,005; 0,01; 0,025; 0,05 и 0,1 МПа;

разбирают фильтрационный прибор и укладывают образец 7 геотекстиля на перфорированный диск 6, устанавливают резиновое уплотнительное кольцо 5 и собирают прибор с укладкой на поверхность образца геотекстиля 7 пластмассовой сетки 8;

испытания проводят под вертикальными нагрузками 0,005; 0,01; 0,025; 0,05 и 0,1 МПа, что соответствует весу гирь на подвеске (табл. 1).

Таблица 1

Удельная нагрузка, МПа

0,005

0,01

0,025

0,05

0,1

Вес гири на подвеске, Н

0,485

1,27

3,625

7,55

15,4

Каждый образец испытывают при одной и той же вертикальной нагрузке и напорах 10, 20, 30 и 40 см. При необходимости испытания проводят и при напорах до 1500 см.


Рис. 1. Схема фильтрационного прибора:

1 - корпус прибора; 2 - среднее кольцо; 3 - верхнее кольцо; 4 - воздушный клапан; 5 - уплотнительное резиновое кольцо; 6 - перфорированный диск; 7 - образец геотекстиля диаметром 130 мм; 8 - сетка; 9 - перфорированный штамп; 10 - шток; 11 - нагрузка; 12 - нижние штуцера; 13 - верхние штуцера; 14 - водомерный бак; 15 - наливной штуцер; 16 - сливные штуцера; 17 - кран; 18 - малый водомерный бак; 19 - запорный клапан; 20 - сливные штуцера; 21 - кран; 22 - манометр; 23 - резиновый диск диаметром 90 мм; 24 - образец геотекстиля диаметром 90 мм с отверстием в центре диаметром 30 мм; 25 - резиновый диск диаметром 130 мм с отверстием в центре диаметром 30 мм


Испытания при напорах до 100 см проводят с использованием водомерного бака 14 или малого бака 18 (см. рис. 1), а при больших напорах - через приставку с манометром 22, один шланг от которого подсоединяют к водопроводному крану, а второй - к нижнему штуцеру 12 в нижней части прибора.

Прибор заполняют водой до верхних штуцеров 13 для удаления пузырьков воздуха из образца геотекстиля, периодически приподнимая штамп.

Расход воды определяют по времени заполнения мерного цилиндра емкостью 1,0 л.

По окончании выполнения каждой серии опытов строят график Q = f (d; J; Р), где Q - расход воды, л/с; J - градиент; Р - вертикальная нагрузка, МПа.

Коэффициент поперечной фильтрации Kпоп определяют по формуле

Kпоп = ,

где V - объем мерного цилиндра, см3; V = 1000;

R - радиус образца, см; R = 5;

Н - напор, см;

t - время заполнения мерного цилиндра, с.

Радиальную (вдоль полотна) водопроницаемость геотекстильных материалов определяют в следующем порядке:

вырезают круглый образец 24 геотекстиля (см. рис. 1) диаметром 90 мм и отверстием в центре диаметром 30 мм и определяют на аналогичном ему сплошном образце толщину материала под нагрузками 0,005; 0,01; 0,025; 0,05 и 0,1 МПа;

снимают верхний цилиндр прибора, укладывают на перфорированный диск 6 резиновый уплотнительный диск 25 диаметром 130 мм с отверстием в центре диаметром 30 мм и устанавливают верхний цилиндр прибора на место;

укладывают на уплотнительный диск 25 образец геотекстиля 24 и закрывают его сверху дополнительным сплошным резиновым уплотнительным диском 23. Сверху устанавливают штамп 9 и навинчивают на цилиндр верхнюю крышку прибора.

Испытания проводят под вертикальными нагрузками 0,005; 0,01; 0,025; 0,05 и 0,1 МПа, что соответствует весу гири на подвеске, указанному в табл. 2.

Таблица 2

Удельная нагрузка, МПа

0,005

0,01

0,025

0,05

0,1

Вес гири на подвеске, H

2,65

8,3

25,26

53,52

110,04

В дальнейшем каждый образец испытывают при одной и той же удельной нагрузке и различных напорах.

Коэффициент радиальной фильтрации определяют по формуле

Kрад = ,

где R и r1 - внешний и внутренний радиусы образца, см; R = 4,5; r1 = 1,5.

Кольматация характеризует степень уменьшения фильтрационной способности геотекстильного материала при суффозионном выносе грунтовых частиц. Этот показатель следует учитывать при использовании геотекстильных материалов в дренажных конструкциях.

Испытания выполняют на специальном приборе Союздорнии (рис. 2), включающем верхнюю 1 и нижнюю 16 части корпуса, соединяемые винтами 28. Внутри верхней части корпуса установлена форма 5 с перфорированными стенками, снабженная перфорированным цилиндром 2.

Рис. 2. Схема прибора для определения кольматации геотекстиля:

1 - корпус в сборе; 2 - перфорированный цилиндр; 3 - геотекстиль; 4 - грунт; 5 - форма; 6 - кольцевой зазор; 7 - отверстие; 8 - гнездо; 9 - заглушка; 10, 21, 28 30 - винты; 11, 12, 15, 23, 24, 27 - прокладки; 13, 31 - гайки; 14, 32 - шайбы; 16 - корпус; 17 - вставка; 18, 26 - хомуты; 19, 25 - штуцера; 20 - основание; 22 - переходник; 29 - манометр; 33 - выходная трубка; 34 - входная трубка

Прибор имеет выходную (33) и входную (34) трубки и манометр, установленный на переходнике 22 входной трубки.

Методика испытаний состоит в следующем. В форму 5 устанавливают перфорированный цилиндр 2 в предварительно взвешенной оболочке 3 из геотекстильного материала; устанавливают форму на подставку и заполняют пространство между геотекстилем и стенками формы смесью глины и среднезернистого песка в соотношении 1:1 в три слоя с уплотнением каждого слоя кольцевой трамбовкой до оптимальной плотностиx). После этого помещают форму на нижнюю часть 16 корпуса прибора, устанавливают верхнюю часть 1 корпуса и соединяют их хомутами 18 и винтами 28; подключают входную трубку 34 к водопроводному крану через фильтр очистки и заполняют прибор водой при поднятой выше корпуса прибора выходной трубке 33 и вывинченном винте 21 до тех пор, пока из отверстия 7 не покажется вода; завинчивают винт 21, отключают подачу воды и оставляют прибор на 2 ч для водонасыщения образца.

x) При необходимости испытания проводят с местным грунтом.

Перед испытанием выходную трубку подсоединяют к сливному баку, снабженному фильтром-отстойником, и подают в прибор воду под давлением 10 МПа. Испытания ведут в течение 5 ч, замеряя не реже 2 раз в 1 ч расход воды.

Степень кольматации x геотекстильных материалов определяют по формуле

x = ,

где Q0 и Qк - соответственно начальный и конечный расход воды, см3/с.

Максимальный диаметр частиц, прошедших в фильтр-отстойник через образец геотекстильного материала, определяют ареометрическим методом, а количество частиц, задержанных геотекстильным материалом n¢, рассчитывают после разборки прибора и высушивания образца геотекстиля по формуле

n¢ = ,

где Pк и P0 - конечная и начальная массы образца геотекстильного материала, г;

F - площадь образца, см2.

Результаты испытаний геотекстильного материала на кольматацию используют при назначении расчетного коэффициента фильтрации Kр.ф:

Kр.ф = Kф x

Приложение 2

Описание программ расчета застенного и бестраншейного дренажа на ЭВМ

Застенный дренаж

Представленная выше методика расчета застенного дренажа была положена в основу вычислительного алгоритма и соответствующей программы РЗД для ЭВМ ЕС-1022, написанной с использованием алгоритмического языка программирования Фортран-IV (ДОС ЕС).

С использованием программы РЗД может быть осуществлен расчет застенного дренажа с использованием как дренажных (гладкостенных и гофрированных) труб, так и рулонов из геотекстильных материалов.

Программа ориентирована на многовариантный режим счета. При расчете очередного варианта определяются следующие характеристики: количество отводных каналов, площадь сечения канала, оптимальное расстояние между дренажными окнами. При использовании взамен перфорированных труб геотекстиля рассчитывается расстояние между окнами при заданной ширине геотекстильного материала. Во всех случаях обязательно определяется ориентировочная стоимость строительно-монтажных работ.

По каждому просчитанному варианту на печать выдаются исходные данные и результаты расчетов.

В процессе работы программы осуществляется частичный контроль правильности задания исходной информации по каждому варианту. Так, если объем исходной информации больше необходимого, то на печать выдается фраза "Неверно заданы исходные данные. Вариант снят". В таких случаях программа автоматически переходит к рассмотрению следующего варианта. Режим работы программы во многом зависит от конкретных исходных данных.

В зависимости от получаемых при расчете промежуточных результатов вычислений программой осуществляется анализ целесообразности устройства водоотводных каналов. Если в их устройстве нет необходимости, то программой выдается на печать сообщение "В устройстве водоотводных каналов нет необходимости" и приводятся данные о количестве дренажных окон, расстоянии между ними и стоимости варианта, после чего программа автоматически переходит к расчету следующего варианта.

В обычном режиме программа осуществляет расчет двух вариантов конструкции застенного дренажа. Основной заключается в расчете конструкции из пластмассовых труб. Результаты расчета выдаются на печать как автономные при решении одного из вариантов дренажной конструкции. После этого программой рассматривается вариант (при тех же исходных данных, но с использованием уже имеющихся результатов расчета) применения в дренажной конструкции взамен дренажных труб геотекстильных материалов. Программа анализирует целесообразность такого решения и при получении положительных результатов осуществляет расчет параметров такой конструкции с последующим выводом результатов расчетов на печать в качестве второго варианта конструкции застенного дренажа. Если по результатам анализа второй вариант конструкции застенного дренажа оказывается нецелесообразным, то программа без вывода на АЦПУ дополнительной информации переходит к вводу данных для расчета следующего варианта.

Таким образом, по результатам расчета каждого варианта возможны три разновидности программных сообщений:

1) сообщение о том, что нет необходимости в устройстве водоотводных каналов; результаты расчета застенного дренажа;

2) результаты расчета застенного дренажа в случае использования дренажных труб;

3) результаты расчета застенного дренажа как из дренажных труб, так и из геотекстильных материалов.

По каждому варианту конструкции застенного дренажа определяется ориентировочная стоимость строительно-монтажных работ.

Исходные данные для расчета по программе РЗД одного варианта готовятся в следующем виде:

& ARRAY W =

H - расчетный уровень грунтовых вод, см;

q - поверхностная нагрузка, Н/м;

g - удельный вес грунта, Н/м3;

C - сцепление грунта, кПа;

j - угол внутреннего трения грунта, град;

d - максимальный размер частиц грунта, мм;

Kф - коэффициент фильтрации грунта, см/с;

e - коэффициент пористости;

dк - толщина геотекстильного материала, см;

Kф.кр - расчетный продольный коэффициент фильтрации геотекстильного материала (с учетом его сжатия оползневым грунтом и кольматации в процессе эксплуатации сооружения), см/с;

D± - внутренний диаметр дрены, см (при использовании гладкостенных дренажных труб значение D берется со знаком "+", а для гофрированных труб - со знаком "-");

a - угол наклона дренажной трубы к горизонту, град;

h - расстояние от верха подпорной стены до уровня расположения дренажной трубы, см;

b - ширина канала, см;

z - глубина канала, см;

B - протяженность (длина) подпорной стены, м.

Способ подготовки исходных данных - бесформатный.

Задание на расчет следующего варианта готовится аналогичным способом и располагается на перфокартах вплотную за заданием на расчет предыдущего варианта.

Признаком конца вариантов является задание вида

& ARRAY W = 999999. & END

Общее количество вариантов на расчет не ограничено никакими формальными условиями.

Время расчета одного варианта - 1-2 мин.

При проведении расчетов на ЭВМ после загрузки программы РЗД осуществляется последовательное решение вариантов в соответствии с подготовленным пакетом перфокарт с исходными данными. Результаты расчета каждого варианта выводятся на АЦПУ.

При правильно подготовленных исходных данных вмешательство оператора в процесс счета после загрузки программы не предполагается.

Контрольные примеры

Исходные данные 1-го варианта

Расчетный уровень грунтовых вод Н = 400,00 см.

Поверхностная нагрузка q = 10 кН/м.

Удельный вес грунта g = 18 кН/м3.

Сцепление грунта С = 20 кПа.

Угол внутреннего трения грунта j = 12,00°.

Максимальный размер частиц грунта d = 0,10 мм.

Коэффициент фильтрации грунта Kф = 0,00200 см/с.

Коэффициент пористости e = 0,400.

Толщина геотекстильного материала dк = 0,200 см.

Расчетный продольный коэффициент фильтрации геотекстильного материала Kф.кр = 0,0500 см/с.

Внутренний диаметр дрены D = -6,50 см.

Угол наклона дренажной трубы a = 1,00°.

Расстояние от верха подпорной стены до уровня расположения дренажной трубы h = 600,00 см.

Ширина канала b = 0,50 см.

Глубина канала z = 1,00 см.

Протяженность подпорной стены B = 50,00 м.

Расчетный уровень понижения грунтовых вод H1 = 50,00 см.

Максимальная ширина геотекстиля для формирования дрены взамен дренажных труб l1 = 300,000 см.

Результаты решения задачи

Глубина дренажного канала z = 1,00 см.

Ширина дренажного канала b = 0,50 см.

Расчетная площадь сечения дренажного канала F = 0,50 см2.

Количество дренажных каналов n1 = 14.

Расстояние между дренажными каналами l = 3,73 м.

Количество дренажных окон n2 = 1.

Расстояние между дренажными окнами L = 50,00 м.

Стоимость строительно-монтажных работ по устройству дренажа из труб Э = 0,592 тыс. руб.

Исходные данные 2-го варианта аналогичны 1-му, за исключением dк = 0,600 см и Kф.кр = 0,1000 см/см.

Результаты решения задачи

Глубина дренажного канала z = 0,95 см.

Ширина дренажного канала b = 0,50 см.

Расчетная площадь сечения дренажного канала F = 0,47 см2.

Количество дренажных каналов n1 = 10.

Расстояние между дренажными каналами l = 5,00 м.

Количество дренажных окон n2 = 1.

Стоимость строительно-монтажных работ по устройству дренажа из труб Э = 0,589 тыс. руб.

Расстояние между дренажными окнами L = 2,08 м.

Количество дренажных окон при использовании геотекстиля n2¢ = 24.

Необходимая ширина геотекстиля l1 = 3,000 м.

Стоимость строительно-монтажных работ по устройству дренажа из геотекстиля Э1 = 0,823 тыс. руб.

Исходные данные 3-го варианта аналогичны 1-му, за исключением dк = 0,600 см и Kф.кр = 0,3000 см/с.

Результаты решения задачи

В устройстве водоотводных каналов нет необходимости.

Глубина дренажного канала z = 0,0 см.

Ширина дренажного канала b = 0,0 см.

Расчетная площадь сечения дренажного канала F = 0,0 см2.

Количество дренажных каналов n1 = 0,0.

Расстояние между дренажными каналами l = 0,0 м.

Количество дренажных окон n2 = 1.

Расстояние между дренажными окнами L = 50,00 м.

Стоимость строительно-монтажных работ по устройству дренажа из труб Э = 0,580 тыс. руб.

Расстояние между дренажными окнами при использовании геотекстиля L = 6,25 м.

Количество дренажных окон при использовании геотекстиля n2¢ = 8.

Необходимая ширина геотекстиля l1 = 3,00 м.

Стоимость строительно-монтажных работ по устройству дренажа из геотекстиля Э1 = 0,800 тыс. руб.

Бестраншейный дренаж

Приведенная выше методика расчета горизонтального дренажа была положена в основу вычислительного алгоритма и соответствующей программы для ЭВМ ЕС-1022, написанной с использованием алгоритмического языка программирования Фортран-IV (ДОС ЕС). Программа РГД предназначена для расчета горизонтального дренажа с использованием как гладкостенных, так и гофрированных дренажных труб при заданных количестве и размерах отверстий в них при условии применения фильтра из материала с известными значениями коэффициента фильтрации.

При заданных характеристиках оползневого грунта и ширине зоны осушения программой осуществляется расчет расстояния между дренами: длины водоприемной части дрены, а также общей длины дрены. Определяются также минимально необходимое для осушения склона количество дрен с известными параметрами, время, по истечении которого склон может считаться обезвоженным до требуемого уровня, и ориентировочная стоимость строительно-монтажных работ.

Программа ориентирована на многовариантный счет. Время расчета одного варианта не превышает 1 мин.

Исходные данные для расчета по программе РГД одного варианта готовятся в следующем виде:

& ARRAY W =

Dн - внешний диаметр дрены, см;

D - внутренний диаметр дрены, см;

a - угол наклона дренажных труб к горизонту, град;

b - длина одной щели в дренажной трубе, см;

d - ширина одной щели в дренажной трубе, см;

n1 - количество отверстий в одном ряду по периферии дрены;

n2 - количество рядов отверстий на 1 м дрены;

Kф - коэффициент поперечной фильтрации материала фильтра, см/с;

K - коэффициент фильтрации грунта, см/с;

Н - расчетный уровень грунтовых вод над дреной, см;

Т - требуемое время осушения склона, сут;

ln - длина дрены от водосбросного лотка до начала водоприемной части, см;

d - максимальный размер частиц грунта, мм;

e - коэффициент пористости;

hp - расчетный уровень понижения грунтовых вод, см;

В - ширина оползневого массива, м;

l - максимально возможная длина дрены, м;

& END

Исходная информация для расчета следующего варианта готовится аналогичным образом и размещается в тексте перфокарт непосредственно за заданием на расчет предыдущего варианта.

Признаком конца вариантов является значение VV (1) = 999999. Остальные значения исходных данных неважны и могут быть опущены.

При подготовке исходных данных на расчет вариантов следует иметь в виду, что при использовании гладкостенных дренажных труб значение внутреннего диаметра дрены Dв VV берется со знаком "+", а для гофрированных - со знаком "-".

Способ подготовки исходных данных - бесформатный. На суммарное количество вариантов ограничения в программе не предусмотрены.

При проведении расчетов на ЭВМ после загрузки программы РГД решение осуществляется в такой последовательности: ввод исходных данных для расчетов очередного варианта и их печать на АЦПУ, расчет варианта, вывод результатов расчета на АЦПУ.

В тех случаях, когда при заданных исходных данных не может быть обеспечена достаточная степень осушения склона, в качестве результатов расчета на АЦПУ выводится фраза "При заданных характеристиках дренажных труб и фильтров невозможно обеспечить необходимую степень обезвоживания склона. Для обеспечения возможности решения задачи необходимо либо увеличить диаметр дрен, либо изменить тип фильтра".

При правильно подготовленных исходных данных вмешательство оператора в процесс счета после загрузки программы не предполагается.

Контрольные примеры

Исходные данные 1-го варианта

Внешний диаметр дрены Dн = 7,5 см.

Внутренний диаметр дрены Dв = -6,5 см.

Угол наклона дренажных труб a = -5,00°.

Длина одной дренажной щели b = 0,5000 см.

Ширина одной дренажной щели d = 0,20 см.

Количество отверстий в одном ряду по периферии дрены n1 = 10,00.

Количество рядов отверстий на 1 м дрены n2 = 20,00.

Коэффициент поперечной фильтрации материала фильтра Kфп = 0,3000 см/с.

Коэффициент фильтрации грунта Kф = 0,00120 см/с.

Расчетный уровень грунтовых вод над дреной Н = 300,00 см.

Требуемое время осушения склона Т = 50 сут.

Длина дрены от водосбросного лотка до начала водоприемной части ln = 1600,00 см.

Максимальный размер частиц грунта d = 0,70 мм.

Коэффициент пористости грунта e = 0,360.

Расчетный уровень понижения грунтовых вод hp = 50,00 см.

Ширина оползневого массива В = 54,00 м.

Максимально возможная длина дрены l = 150,00 м.

Результаты решения задачи

Расстояние между дренами L0 = 9,85 м.

Длина водоприемной части дрены l5 = 134,00 м.

Общая длина дрены lд = 150,00 м.

Общее количество дрен n4 = 6,0.

Время осушения оползневого массива Т = 50,00 сут.

Стоимость строительно-монтажных работ S = 5,50 тыс. руб.

Коэффициент заполнения дрены водой на выходе K = 0,286498.

Исходные данные 2-го варианта

Внешний диаметр дрены Dн = 7,5 см.

Внутренний диаметр дрены Dв = -6,5 см.

Угол наклона дренажных труб a = 5,00°.

Длина одной дренажной щели b = 0,5000 см.

Ширина одной дренажной щели d = 0,20 см.

Количество отверстий в одном ряду по периферии дрены n1 = 10,00.

Количество рядов отверстий на 1 м дрены n2 = 20,00.

Коэффициент поперечной фильтрации материала фильтра Kфп = 0,3000 см/с.

Коэффициент фильтрации грунта Kф = 0,00129 см/с.

Расчетный уровень грунтовых вод над дреной Н = 300,00 см.

Требуемое время осушения склона Т = 4,00 сут.

Длина дрены от водосбросного лотка до начала водоприемной части ln = 1600,00 см.

Максимальный размер частиц грунта d = 0,70 мм.

Коэффициент пористости грунта e = 0,360.

Расчетный уровень понижения грунтовых вод hp = 50,00 см.

Ширина оползневого массива В = 54,00 м.

Максимально возможная длина дрены l = 150,00 м.

Результаты решения задачи

Расстояние между дренами L0 = 2,72 м.

Длина водоприемной части дрены l5 = 134,00 м.

Общая длина дрены lд = 150,00 м.

Общее количество дрен n4 = 20,00.

Время осушения оползневого массива Т = 4,00 сут.

Стоимость строительно-монтажных работ S = 19,47 тыс. руб.

Коэффициент заполнения дрены водой на выходе K = 0,286498.

ЛИТЕРАТУРА

1. Мурашко А. И. Горизонтальный пластмассовый дренаж. Минск: Ураджай, 1973.

2. Пудов Ю. В. и др. Расчет бестраншейного горизонтального дренажа. Программы для решения задач дорожного строительства на ЭВМ. Союздорнии. М., 1987.

3. Пудов Ю. В. и др. Расчет застенного дренажа из геотекстильных материалов. Программы для решения задач дорожного строительства на ЭВМ. Союздорнии. М., 1988.

4. Семендяев Л. И. и др. Оценка устойчивости склонов с учетом напорных горизонтов и фильтрационного давления. Программы для решения задач дорожного строительства на ЭВМ. Союздорнии. М., 1987.

5. Семендяев Л. И. и др. Расчет устойчивости склонов по методу КЦПС. Программы для решения задач дорожного строительства на ЭВМ. Союздорнии. М., 1984.

6. Семендяев Л. И. и др. Расчет устойчивости склонов по методу горизонтальных сил. Программы для решения задач дорожного строительства на ЭВМ. Союздорнии. М., 1985.

7. Шахунянц Г. М. Земляное полотно железных дорог. М.: Трансжелдориздат, 1953.

8. Шапиро Г. И. и др. Пластмассовые трубопроводы. М.: Химия, 1986.

СОДЕРЖАНИЕ

Предисловие. 1

1. Общие положения. 1

2. Основные требования к геотекстильным материалам.. 2

3. Проектирование застенного дренажа. 2

4. Проектирование бестраншейного трубчатого дренажа. 6

5. Технология сооружения застенного дренажа. 9

6. Технология сооружения бестраншейного дренажа. 11

Приложение 1 Методика испытания геотекстильных материалов на фильтрацию.. 14

Приложение 2 Описание программ расчета застенного и бестраншейного дренажа на ЭВМ.. 17

Литература. 22

 




Rambler's Top100 Яндекс цитирования
  Copyright © 2008-2025, www.docload.ru