Бесплатная библиотека стандартов и нормативов www.docload.ru

Все документы, размещенные на этом сайте, не являются их официальным изданием и предназначены исключительно для ознакомительных целей.
Электронные копии этих документов могут распространяться без всяких ограничений. Вы можете размещать информацию с этого сайта на любом другом сайте.
Это некоммерческий сайт и здесь не продаются документы. Вы можете скачать их абсолютно бесплатно!
Содержимое сайта не нарушает чьих-либо авторских прав! Человек имеет право на информацию!

 

МИНИСТЕРСТВО ТОПЛИВА И ЭНЕРГЕТИКИ РОССИЙСКОЙ ФЕДЕРАЦИИ

АКЦИОНЕРНАЯ КОМПАНИЯ
ТРУБОПРОВОДНОГО ТРАНСПОРТА НЕФТЕПРОДУКТОВ
«ТРАНСНЕФТЕПРОДУКТ»

«УТВЕРЖДАЮ»

Президент Акционерной компании

трубопроводного транспорта

нефтепродуктов «Транснефтепродукт»

И.Т. Ишмухаметов

«____»_______________ 1997 г.

«УТВЕРЖДАЮ»

Заместитель Министра

топлива и энергетики

Российской Федерации

Е.С. Морозов

«____»_______________ 1997 г.

РУКОВОДЯЩИЙ ДОКУМЕНТ

ИНСТРУКЦИЯ
ПО ЛИКВИДАЦИИ АВАРИЙ И ПОВРЕЖДЕНИЙ
НА МАГИСТРАЛЬНЫХ НЕФТЕПРОДУКТОПРОВОДАХ

РД 153-112-014-97

 

«СОГЛАСОВАНО»

Госгортехнадзором России

Письмо № 10-03/543

от 27.12.96 г.

«СОГЛАСОВАНО»

Начальник управления

развития систем нефтепродукто-

и топливообеспечения

Минтопэнерго России

А.И. Лаухин

«____»_______________ 1997 г.

1997 г.

Инструкция разработана в Институте проблем транспорта энергоресурсов (ИПТЭР) при участии специалистов ТОО «ТЭК»: Гумеровым Р.С., Гараевой В.А., Бадритдиновой Г.Р. (ИПТЭР); Ишмухаметовой Р.Т., Абдрахмановым А.А. (ТОО «ТЭК»).

ПРИНЯТЫЕ В ИНСТРУКЦИИ СОКРАЩЕНИЯ

МНПП       - магистральный нефтепродуктопровод

АО             - акционерное общество

АВР           - аварийно-восстановительные работы

АВС           - аварийно-восстановительная служба

ОАВП        - опорный аварийно-восстановительный пункт

АВП           - аварийно-восстановительный пункт

ЛПДС        - линейно-производственная диспетчерская станция

ПС             - перекачивающая станция

НС             - наливная станция

ПО АО      - производственное отделение АО (РУМНПП)

ВВО           - ведомственная военизированная охрана

ДПД           - добровольная пожарная дружина

ЧС              - чрезвычайная ситуация

ГО              - гражданская оборона

УВД           - управление внутренних дел

ГСМ          - горюче-смазочные материалы

РУКОВОДЯЩИЙ ДОКУМЕНТ

Инструкция по ликвидации аварий и повреждений на магистральных нефтепродуктопроводах

«Инструкция по ликвидации аварий и повреждений на магистральных нефтепродуктопроводах» устанавливает правила и порядок организации и проведения аварийно-восстановительных работ на магистральных нефтепродуктопроводах АК «Транснефтепродукт». В Инструкции отражены характеристики аварий на магистральных нефтепродуктопроводах и их классификация, вопросы организации аварийно-восстановительной службы, а также организации выполнения аварийно-восстановительных работ. В зависимости от характера аварии или повреждения приводится конкретная технология ремонта, подробно излагаются требования по качественному и безопасному производству всех операций и работ, включая ликвидацию последствий аварий.

При разработке данной Инструкции использованы требования и положения действующих руководящих документов, относящихся к аварийно-восстановительному ремонту, учтены результаты законченных НИОКР, опыт эксплуатации нефтепродуктопроводов.

1. ОБЩИЕ ПОЛОЖЕНИЯ

1.1. Настоящая Инструкция устанавливает порядок организации и производства аварийно-восстановительных работ, меры по охране труда при их выполнении на магистральных нефтепродуктопроводах и отводах на них.

1.2. Выполнение требований настоящей Инструкции необходимо в целях сокращения времени простоя трубопроводов при авариях, обеспечения безопасности производства ремонтных работ, снижения ущерба для окружающей среды.

1.3. Данная Инструкция является обязательным документом для всех работников акционерных обществ акционерной компании «Транснефтепродукт» и сторонних организаций, привлекаемых для осуществления АВР на МНПП.

1.4. При организации и проведении АВР на МНПП необходимо руководствоваться требованиями настоящей Инструкции и действующих нормативных документов по охране труда и пожарной безопасности при эксплуатации МНПП и производстве ремонтных работ на взрывоопасных, взрывопожароопасных и пожароопасных объектах /1,…, 13, 17/.

Примечание: Инструкция не содержит специальных требований по производству АВР на переходах через водные преграды.

2. ХАРАКТЕРИСТИКА АВАРИЙ

2.1. Виды аварий и повреждений

2.1.1. Аварией на линейной части МНПП считается событие, связанное с возникновением неконтролируемой утечки транспортируемого нефтепродукта в результате разрушения (разгерметизации) трубопровода, запорной арматуры, оборудования для запуска или приема внутритрубных средств очистки и дефектоскопии.

Аварии с потерей герметичности трубопровода проявляются в виде свищей, трещин, разрывов тела трубы, аварий запорной арматуры и фланцевых соединений с выходом нефтепродукта.

2.1.2. Повреждение магистрального трубопровода - это нарушение его исправного состояния при сохранении работоспособности.

К повреждениям трубопроводов относятся различные по происхождению гофры, вмятины, каверны, царапины, забоины, непровары, поры, неоднородность металла, отклонения выше нормы геометрического сечения труб, провисы и отдельные неплотности в конструкции трубопровода (сальники, прокладки и др.).

2.2. Классификация аварий

2.2.1. Причинами происхождения аварий на магистральных трубопроводах являются:

дефекты материала (труб, фасонных изделий, арматуры и др.);

коррозия;

брак строительно-монтажных работ;

механические повреждения при производстве работ вблизи трубопровода;

ошибки эксплуатационного персонала;

стихийные явления (землетрясения, наводнения, оползни и т.п.);

действия сторонних организаций;

действия физических лиц.

2.2.2. Способы обнаружений аварий на магистральных нефтепродуктопроводах подразделяются на:

визуальные (по выходу перекачиваемого продукта на поверхность; обнаруживаются либо при контрольном обходе специальными патрульными группами, либо работниками других служб трубопровода, а также посторонними лицами);

специальные автоматизированные системы обнаружения аварий;

косвенные (по изменению технологических параметров перекачки: падению давления, снижению производительности и т.п.).

2.2.3. В зависимости от расположения дефектов на трубопроводе аварии подразделяются:

по основному металлу труб;

в сварных соединениях (продольный или поперечный швы);

на запорной арматуре;

на устройствах трубопровода (вантуз, отборы давления, указатель прохождения средств очистки и диагностики).

2.2.4. По условиям трассы и климата (аналогично характеристике участков трубопровода) аварии происходят на:

равнинных участках трассы;

переходах через препятствия;

болотистых участках трассы;

горных и скальных участках трассы;

подводных участках трубопроводов.

2.2.5. Последствия аварий всех видов в зависимости от тяжести разделяются на три категории.

2.2.5.1. К последствиям 1 категории относятся аварии, приведшие:

- к смертельному случаю или травматизму с потерей работоспособности или групповому травматизму;

- к воспламенению нефтепродукта или взрыву его паров;

- нарушению работоспособности объекта МНПП более 24 часов или потерям перекачиваемого продукта в окружающую среду свыше 100 куб. м.

2.2.5.2. К последствиям 2 категории относятся аварии, приведшие к нарушению работоспособности объекта МНПП от 8 до 24 часов или потерям перекачиваемого продукта в окружающую среду от 10 до 100 куб. м.

2.2.5.3. К последствиям 3 категории относятся аварии, приведшие к нарушению работоспособности объекта МНПП от 0,5 до 8 часов или потерям перекачиваемого продукта в окружающую среду от 1 до 10 куб. м.

2.2.6. Нарушение герметичности трубопровода, не подпадающее под определение аварии, классифицируется как повреждение.

3. ОРГАНИЗАЦИЯ ЛИКВИДАЦИИ АВАРИЙ

3.1. Аварийно-восстановительная служба

3.1.1. Ликвидация аварий на линейной части магистральных трубопроводов должна выполняться силами аварийно-восстановительных служб с привлечением сил и средств местных органов власти и предприятий через местные органы управления, штабы по делам ГО и ЧС, МВД, в зависимости от тяжести (категории) аварии и возможных последствий для окружающей среды и населенных пунктов.

3.1.2. Аварийно-восстановительная служба включает:

аварийно-восстановительные пункты, создаваемые на ЛПДС, перекачивающих станциях или наливных станциях;

центральные аварийно-ремонтные службы или опорные аварийно-восстановительные пункты при производственных отделениях АО.

Подразделения АВС должны быть укомплектованы персоналом в соответствии со штатным расписанием. Персонал подразделений АВС должен знать специфику и расположение закрепленных за ним объектов, их расположение относительно соседних трубопроводов, сооружений, линий электропередач, связи и т.д., а также знать правила ведения работ в охранной зоне трубопроводов, кабелей, воздушных линий и других сооружений и коммуникаций, расположенных в зоне прохождения обслуживаемого трубопровода.

3.1.3. Пожарная безопасность при ликвидации аварий должна обеспечиваться силами вневедомственной пожарной охраны УВД, отрядами ведомственной военизированной охраны и добровольными пожарными дружинами.

3.1.4. На период аварийно-восстановительных работ на месте их проведения может быть организовано дежурство медперсонала.

3.1.5. Временная связь с местом проведения аварийно-восстановительных работ организуется и обеспечивается работниками АО «Телекомнефтепродукт».

3.1.6. Трасса магистральных трубопроводов должна быть разбита на участки, закрепляемые приказом для аварийно-восстановительного ремонта и технического обслуживания за подразделениями АВС. Протяженность участка трассы, закрепляемого за каждым подразделением АВС, должна составлять 200 - 250 км в однониточном исполнении в обычных и пустынных условиях. На болотистых и горных трассах протяженность закрепляемого за АВС участка составляет 100 - 150 км.

3.1.7. На каждом участке трассы трубопровода должен быть создан аварийный запас труб в объеме 0,1 % от общей протяженности. Эта норма должна быть увеличена до 0,3 % для трасс трубопроводов в горах, в заболоченных районах и солончаковых почв. Складирование аварийного запаса труб должно предусматриваться на площадках ПС или усадьбах линейных обходчиков.

3.1.8. АВС должны выполнять следующие функции:

оперативная ликвидация аварий и повреждений;

содержание в постоянной готовности к АВР всех технических средств;

повышение уровня профессиональной подготовки ремонтного персонала путем обучения, тренировок, учений и т.д.;

содержание всех объектов линейной части в состоянии, отвечающем требованиям «Правил технической эксплуатации магистральных нефтепродуктопроводов» /1/ и «Правил охраны магистральных трубопроводов» /2/;

осуществление контроля за состоянием трассы путем регулярного патрулирования;

проведение плановых мероприятий на своем участке трубопровода с целью недопущения и предотвращения аварий (участие и надзор за всеми работами, выполняемыми другими службами и организациями в охранной зоне, проведение мероприятий технического обслуживания и ремонта согласно графику);

своевременное пополнение запасов ГСМ, запчастей и материалов.

3.1.9. АВС должны быть оснащены в соответствии с «Табелем технического оснащения аварийно-восстановительных пунктов магистральных нефтепродуктопроводов» /17/.

3.1.10. Ремонтная техника и технические средства АВС используются только при ликвидации аварий и выполнении плановых мероприятий по техническому обслуживанию и ремонту трубопроводов. Все табельные и используемые при ликвидации аварий и их последствий технические средства должны иметь в комплекте соответствующие инструкции по эксплуатации: персонал АВС должен хорошо знать эти инструкции и применять технические средства в строгом соответствии с их назначением.

Запрещается использовать персонал, аварийную технику и технические средства для работ, не связанных с техническим обслуживанием и ремонтом (ТОР) магистральных трубопроводов.

3.1.11. При возникновении аварии на линейной части трубопровода АВС действует в соответствии с планом ликвидации возможных аварий, разработанным заранее для закрепленного за ЛВС участка трассы.

3.1.12. С целью повышения оперативности и отработки технологии АВР в целом и ее отдельных операций в каждом АО, ПО АО и АВП должны проводиться учения и учебно-тренировочные занятия. Программы учений должны быть направлены на выполнение мероприятий плана ликвидации возможных аварий. Количество занятий (учений) и их содержание определяются руководством АО и ПО АО в зависимости от квалификации ремонтного персонала, сложности обслуживаемого участка, трассы, природно-климатических условий и т.п.

3.1.13. Учения и учебно-тренировочные занятия должны проводиться с периодичностью:

в АВП - не реже 1 раза в месяц;

в ОАВП - не реже 1 раза в квартал.

Разрешается не проводить очередные учения и учебно-тренировочные занятия в тех из перечисленных выше подразделений АВС, которые были использованы на ликвидации аварий или производстве врезок на обслуживаемых участках трубопроводов.

3.1.14. Учения по обмену передовым опытом организации, новейшими техническими средствами и методами производства аварийно-восстановительных работ в масштабах АК организуются и проводятся по специальной программе с частотой один раз в 3 - 5 лет.

3.2. План ликвидации возможных аварий

3.2.1. Для участков трассы каждого АВП должны быть разработаны планы ликвидации возможных аварий, определяющие обязанности и порядок действия ответственных должностных лиц и персонала аварийных служб, позволяющие более оперативно и организованно принять экстренные меры по восстановлению трубопровода, обеспечивающие безопасность соседних объектов, защиту окружающей среды и, тем самым, значительно уменьшить последствия аварии.

3.2.2. План ликвидации возможных аварий должен содержать:

оперативную часть;

техническую часть;

порядок, взаимоотношений и взаимодействия с другими организациями в «соответствии с «Правилами охраны...» /2/, «Инструкцией по производству строительных работ...» /8/, «Положением о взаимоотношениях ведомств, коммуникации которых проходят в одном техническом коридоре» /3/.

3.2.3. В оперативной части Плана ликвидации возможных аварий должны быть отражены следующие вопросы:

распределение обязанностей между отдельными службами и лицами, участвующими в ликвидации аварии, и порядок их взаимодействия;

списки, адреса, телефоны должностных лиц, которые должны быть извещены об аварии; эти списки и адреса должны находиться у диспетчера АО и ПО АО;

действия группы патрулирования (контрольной группы) АВС в начальный период после обнаружения аварии;

перечень организации, предприятий и хозяйств, а также порядок их оповещения о возможном распространении разлившегося при аварии нефтепродукта и о границах взрыво- и пожароопасной зоны с целью принятия совместных мер по обеспечению безопасности населенных пунктов, объектов народного хозяйства и по защите окружающей среды;

маршруты следования;

мероприятия по спасению и защите людей;

мероприятия по спасению (сохранению) материальных ценностей;

правила и сроки оформления установленной документации.

3.2.4. Техническая часть плана должна содержать:

оперативный журнал ликвидации аварии;

перечень необходимой технической документации для организации работ по ликвидации аварий на трубопроводах;

план и профиль участка трубопровода с указанием глубины залегания всех подземных комбинаций;

схемы подъездов к сооружениям трубопровода;

виды возможных аварий;

методы ликвидации аварий;

перечень технических средств в зависимости от характера аварии и природно-климатических условий;

примерный график выполнения работ по ликвидации аварий;

мероприятия по предотвращению разлива и загорания продукта;

мероприятия по охране природных богатств;

мероприятия по обследованию состояния трубопроводов после ликвидации аварии;

порядок закрытия и открытия линейных задвижек;

мероприятия по сбору и утилизации разлитого нефтепродукта, а также по ликвидации последствий разлива нефтепродукта.

3.2.5. Планом должны быть предусмотрены действия персонала АВС, ВВО, ДПД при возникновении вследствие аварии на трубопроводе угрозы жизни людей близлежащих населенных пунктов, а также мероприятия по спасению людей и материальных ценностей.

3.2.6. Предприятия, эксплуатирующие в техническом коридоре магистральные трубопроводы, линии электропередач и связи обязаны:

совместно разработать и иметь у себя для руководства общую схему объектов с точным указанием их взаиморасположения;

иметь планы ликвидации возможных аварий на подведомственных объектах, в которых должны быть предусмотрены меры по защите всех объектов технического коридора от повреждений при производстве аварийно-восстановительных работ и ликвидации последствий аварии.

Планы должны быть согласованы со всеми предприятиями-владельцами объектов в техническом коридоре.

Все планы, независимо от условий пролегания трубопроводов, согласовываются с органами Госпожнадзора и Госгортехнадзора.

3.2.7. Планы ликвидации возможных аварий разрабатываются и пересматриваются комиссией в составе начальника отдела эксплуатации, старшего диспетчера, главного механика, главного энергетика, инженера по технике безопасности, представителя АО «Телекомнефтепродукт», начальника пожарной части, подписываются членами комиссии и утверждаются главным инженером ПО АО.

3.2.8. Планы ликвидации возможных аварий разрабатываются в соответствии с фактическим состоянием линейной части трубопровода, аварийной техники, подъездных путей, наличием кадров и т.д. При изменении фактического состояния в план должны быть в течение месяца внесены соответствующие изменения и дополнения.

3.2.9. Планы ликвидации возможных аварий должны находиться у главного инженера и диспетчера ПО АО, начальника АВС; у сменного оператора ЛПДС и начальника караула ВОХР должны находиться выписки из раздела плана, касающиеся этих служб.

3.2.10. К плану, находящемуся у диспетчера, должен быть приложен оперативный журнал аварий.

3.2.11. План ликвидации возможных аварий должен быть тщательно изучен инженерно-техническими работниками ЛПДС, которые имеют отношение к ликвидации аварий (начальник ЛПДС, гл. инженер, инженер по эксплуатации и т.д.) и всеми членами бригады АВС. Знание плана проверяется во время учебно-тренировочных занятий.

3.2.12. Все изменения, вносимые в план ликвидации возможных аварий, доводятся под роспись работникам АВП и руководству ЛПДС, а также должны отражаться в должностных инструкциях работников АВП.

3.3. Организация производства АВР

3.3.1. С момента получения сигнала об аварии должно быть организовано выполнение мероприятий плана ликвидации возможных аварий, которое осуществляются в три этапа.

Этап 1. Поиск места аварии и определение ее характера. Организует и отвечает за его выполнение начальник ЛПДС или руководитель подразделения, за которым закреплена трасса.

Этап 2. Сбор, выезд и доставка персонала и технических средств АВС к месту производства восстановительных работ. Ответственным исполнителем является начальник АВС.

Этап 3. Организация и выполнение аварийно-восстановительных работ на трубопроводе. Ответственный - назначенный приказом (распоряжением) по АО или ПО АО из числа руководителей АО, ПО АО, АВС, ЛПДС, ПС.

До начала аварийно-восстановительных работ ПО АО их руководителем должны быть уточнены и доведены до сведения каждого работника конкретные обязанности, объемы и сроки предстоящих работ, меры техники безопасности и пожарной безопасности, а также действия на случай возможных обвалов, осыпей, селей и др. опасных явлений. При необходимости назначается ответственное лицо за выполнение работ по локализации и сбору нефтепродукта.

3.3.2. При получении сигнала об аварии начальник ЛПДС или диспетчер должны оперативно (в рабочее время - в течение 1 часа, в нерабочее время - не позднее чем через 2 часа) выслать патрульную группу из числа работников АВС для контрольного осмотра трассы с целью определения точного места аварии.

3.3.3. Патрульная группа, выезжающая на контрольный осмотр трассы, должна иметь средства индивидуальной защиты, сигнальные знаки для ограждения места разлива перекачиваемого нефтепродукта, необходимый инструмент, инвентарь, материалы и средства связи. В группе назначается старший.

3.3.4. При обнаружении следов выхода нефтепродукта на поверхность патрульная группа должна:

немедленно сообщать о выходе перекачиваемого нефтепродукта начальнику ЛПДС, диспетчеру ПО АО, оператору перекачивающей или наливной станции;

при непосредственной, угрозе попадания нефтепродукта в район транспортных магистралей остановить движение по шоссе, железным дорогам и рекам, поставив об этом в известность через диспетчера ПО АО соответствующие структуры (ГАИ, управление железной дороги и т.д.) или МЧС;

приступить к действию согласно плану ликвидации возможных аварий.

3.3.5. При обнаружении утечки нефтепродукта, во время облета трассы бортоператор обязан:

тщательно осмотреть с воздуха место утечки и прилегающую территорию;

по радио связать с диспетчером ПО АО или АО и передать радиограмму с указанием точного места, характера истечения водоемов и угрожающей им опасности, состояния погоды, подъездных путей и проездов;

продублировать свое сообщение диспетчеру ПО АО через диспетчера ближайшего аэропорта;

выйти на связь с диспетчером ближайшей ПС и продублировать сообщение о выходе нефтепродукта, ждать от диспетчера дальнейших указаний.

3.3.6. Руководитель ЛПДС (начальник АВС), на участке которого произошла авария, после получения сообщения от патрульной группы о месте и характере аварии обязан продублировать это сообщение диспетчеру ПО АО и принять на себя руководство по ликвидации аварии до прибытия на место аварии руководителя ПО АО или ответственного руководителя, назначенного распоряжением по АО.

3.3.7. Руководитель ЛПДС, АВП до прибытия лица, ответственного за ликвидацию аварии, назначенного АО, ПО АО прибыв на место аварии, уточняет обстановку, обеспечивает удаление людей из опасных мест при разливе, локализует поврежденный участок закрытием задвижек по согласованию с диспетчером ПО АО, принимает меры по предупреждению дальнейшего растекания нефтепродукта, исключая попадание нефтепродукта в водоемы, населенные пункты, определяет места расстановки техники, нахождения людей, обустройства рабочей площадки, емкостей сбора нефтепродукта и других сооружений, приступает к устранению аварии.

3.3.8. Руководитель аварийно-восстановительных работ:

прибывает лично к месту аварии, сообщает об этом диспетчеру и возглавляет руководство аварийно-восстановительными работами;

уточняет характер аварии и передает уточненные данные диспетчеру ПО или АО;

сообщив и согласовав с руководством ПО АО или самостоятельно (в случае непосредственной угрозы жизни людей и др. чрезвычайных обстоятельств), сообщает о возможных последствиях аварии местным органам власти и управления, а также по мере необходимости, службе «скорой помощи», ГАИ, милиции; в зависимости от конкретных условий и технологии ремонта определяет необходимость организации дежурства работников пожарной охраны и медперсонала;

применительно к конкретным условиям принимает решение о способе ликвидации аварии:

в соответствии с принятым способом ликвидации аварии уточняет необходимое количество аварийных бригад, техники и технических средств для обеспечения непрерывной работы по ликвидации аварии, сообщает руководству для принятия мер по оповещению населения и подключению дополнительных средств ремонта;

назначает своего заместителя, связных и ответственного за ведение оперативного журнала, а также других ответственных лиц, исходя из конкретной сложившейся обстановки;

организует размещение бригад, обеспечивает их отдых и питание;

после завершения монтажных работ по ликвидации аварии и ознакомления с результатами контроля сварных соединений, сообщает, если они положительны, телефонограммой диспетчеру ПО или АО об окончании монтажных работ и готовности трубопровода к возобновлению перекачки. При обнаружении неплотности швов, трещин, подтеков принимает меры по их устранению одним из способов, рекомендованных для данного случая;

назначает ответственных по открытию линейных задвижек, по распоряжению диспетчера приступает к их открытию;

осматривает отремонтированный участок, сварные швы и другие технологические соединения на герметичность после пуска трубопровода и достижения в нем рабочего давления, докладывает о состоянии участка диспетчеру ПО АО или АО;

все данные по монтажу участка заносит в журнал сварочных работ;

после выполнения изоляции и засыпки трубы составляет акт на скрытые работы;

в течение всего времени производства работ по ликвидации аварии поддерживает постоянную связь с диспетчером ПО АО.

3.3.9. Диспетчер ПО АО, получив информацию об аварийной ситуации обязан:

немедленно известить об этом диспетчера и руководство ПО АО;

связаться с руководителем ЛПДС (начальником АВС), на участке которого произошла авария, дать распоряжение о сборе аварийных бригад;

действовать в соответствии с указаниями руководства ПО АО, положениями должностной инструкции и плана ликвидации аварий.

3.3.10. Диспетчер АО при получении сведений об аварии обязан:

немедленно известить об этом генерального директора (главного инженера), далее действовать по их указаниям, а также в соответствии с должностной инструкцией и планом ликвидации возможных аварий проинформировать о характере аварии и принятых мерах;

известить отдел организации капитального ремонта и аварийно-восстановительных работ или управление поставок и перевозок или дежурных по АК «Транснефтепродукт»;

согласовать с диспетчером ПО АО схему и порядок отключения аварийного участка, контролировать ход выполнения мероприятий по ликвидации аварии.

3.3.11. Начальник (гл. инженер) ПО АО при получении сведений об аварии обязан:

изучить создавшуюся обстановку, уточнить действия ответственных лиц на месте аварии, а в случае необходимости скорректировать действия аварийных служб согласно оперативной части плана ликвидации возможных аварий;

принять решение о необходимости выделения дополнительных сил ПО АО;

уточнить ожидаемый объем стока, перекачиваемого продукта, определить возможность освобождения аварийного участка от продукта в ближайшие резервуары ЛПДС, используя при этом параллельно проложенные трубопроводы;

дать указание диспетчеру ПО АО об осуществлении принятых решений, предварительно согласовав их с диспетчером АО, выехать к месту аварии;

по прибытии на место ознакомиться с изменениями обстоятельств, происшедших за время нахождения в пути и принять руководство по ликвидации аварии на себя.

3.3.12. Руководство АО извещает об аварии соответствующий округ Госгортехнадзора в соответствии с «Временным порядком уведомления и представления органам Госгортехнадзора России информации по авариям и опасным условиям эксплуатации объектов магистрального транспорта газа и опасных жидкостей» (постановление Госгортехнадзора России от 04.05.95 № 22), штаб ГО и региональный орган Министерства РФ по делам ГО, ЧС и ликвидации последствий стихийных бедствий.

Извещение об авариях, сопровождающихся несчастными случаями, руководство АО направляет органу профсоюза, в состав которого входит АО, и в организации, определенные «Положением о порядке расследования и учета несчастных случаев на производстве», утвержденным постановлением Правительства РФ от 03.06.95 № 558, п. 4).

3.3.13. С момента приема сообщения об аварии диспетчером или официально назначенным лицом ведется учет характера и хода ликвидации аварии. Любые переключения, связанные с ремонтируемым участком трубопровода, могут производиться только по распоряжению (согласованию) ответственного руководителя работ.

3.3.14. На время ликвидации аварии руководством производственно-технологического управления связи организуется связь диспетчера с местом производства аварийно-восстановительных работ, назначается лицо, ответственное за ее обеспечение.

Ответственный руководитель работ должен иметь надежную и постоянную связь с ближайшими ПС, ПО АО, а при необходимости также с метеослужбой, селевой станцией.

3.3.15. Ликвидация аварии (повреждения) на МНПП, проходящих в одном техническом коридоре, производится по плану, согласованному со всеми организациями-владельцами коммуникаций. Приступать к ликвидации аварии допускается без дополнительного согласования с владельцами коммуникаций, приняв меры к обеспечению сохранности других коммуникаций коридора во время производства работ и сообщив о работах всем заинтересованным организациям.

Персонал службы должен хорошо знать район участков трассы трубопроводов, в том числе расположение соседних коммуникаций, населенных пунктов, объектов народного хозяйства, сельскохозяйственных угодий, направление и скорость водотоков и т.д.

3.3.16. Повреждения коммуникаций, происшедшие вследствие неисправности или при производстве работы на соседних коммуникациях, расследуются комиссионно с привлечением всех заинтересованных сторон и устраняются за счет виновной организации и с привлечением ее сил.

3.3.17. Устранение последствий стихийных бедствий (оползней, размывов трассы и т.п.) выполняется владельцами коммуникаций технического коридора совместными силами.

3.3.18. Ликвидация аварий на магистральных трубопроводах может производиться без согласования с землепользователем, но с обязательным последующим его уведомлением.

4. ПРОИЗВОДСТВО АВАРИЙНО-ВОССТАНОВИТЕЛЬНЫХ РАБОТ

4.1. Технология ликвидации аварий и повреждений

4.1.1. К технологии ликвидации аварий предъявляются следующие требования:

надежное восстановление герметичности трубопровода;

обеспечение проектного уровня прочности и несущей способности ремонтируемого участка трубопровода;

обеспечение нормативного времени простоя трубопровода при ремонте;

наименьшее воздействие на окружающую среду, соседние коммуникации и объекты народного хозяйства;

сохранение проектных размеров внутренней полости трубопровода с целью обеспечения возможности пропуска очистных и диагностических средств.

4.1.2. Аварийно-восстановительные работы включают:

подготовительные мероприятия;

локализацию и сбор перекачиваемого продукта;

земляные работы;

герметизацию внутренней полости;

сварочно-монтажные работы;

контроль сварных соединений;

изоляцию трубопровода;

ликвидацию последствий аварий;

другие работы.

Указанный перечень работ не является обязательным для всех видов аварий и зависит от конкретных условий, характера и места дефекта на трубопроводе.

4.1.3. В каждом конкретном случае в зависимости от характера и места аварии, а также в зависимости от напряженности работы трубопровода и других обстоятельств должен быть выбран соответствующий способ ремонта, а именно:

4.1.3.1. Устранение течи в результате образования свищей на теле трубы выполняется путем установки пробок или хомутов. Пробки в виде заглушек устанавливаются на одиночных свищах (см. п. 4.6.4.29). На семейство свищей и участок питтинговой коррозии накладывается хомут (рис. 1), либо заплата с прижимным устройством (рис. 2).

4.1.3.2. Свищи и трещины на сварных швах ликвидируют путем наложения и приварки специальных галтельных муфт (хомутов) (рис. 3).

4.1.3.3. Трещины по телу трубы длиной менее 50 мм ликвидируют методом наложения заплаты или установки хомута.

4.1.3.4. Трещины по телу трубы длиной более 50 мм, разрывы и поврежденные коррозией участки трубопровода на длине, большей диаметра трубы, должны ремонтироваться путем замены дефектного участка трубопровода новым (рис. 4).

4.1.3.5. Аварии, происшедшие в результате заклинивания пропускаемых внутри трубопровода устройств, ликвидируются после определения места нахождения этих устройств и пробок путем замены участка трубопровода.

4.1.3.6. Аварии на линейной арматуре ликвидируются:

в сальниковых устройствах (донабивкой сальниковых камер) без остановки перекачки с помощью специальных приспособлений;

во фланцевых соединениях (между крышкой и корпусом, на байпасах) - с остановкой перекачки, заменой прокладок;

при разгерметизации корпуса задвижки либо потере работоспособности запорного устройства - путем вырезки целиком задвижки и замены ее на новую.

4.1.3.7. При авариях на соединительных элементах трубопровода (тройники, переходники, отводы) восстановление должно проводиться путем замены дефектной детали соответствующей по параметрам новой.

4.1.3.8. Установка заглушек, заплат и плоских хомутов при ликвидации аварий на трубопроводе производится как временное средство и устраняется при проведении капитального ремонта на данном участке трубопровода или в случае создания в результате таких ремонтов препятствий для пропуска очистных устройств.

4.1.4. Способы ликвидации повреждений устанавливаются в каждом конкретном случае в зависимости от характера и размеров дефекта. Работы должны выполняться в плановом порядке либо одновременно с ликвидацией аварии на данном трубопроводе.

4.2. Подготовительные мероприятия

4.2.1. Аварийно-восстановительные работы необходимо обеспечить выполнением подготовительных мероприятий:

уточнение места аварии и задержание продукта;

доставка ремонтных средств и персонала к месту аварии;

подготовка ремонтной площадки;

организация водоотлива и водоотвода;

обеспечение безопасности соседних коммуникаций и объектов народного хозяйства.

Все мероприятия выполняются в соответствии с планом ликвидации возможных аварий, требованиями техники безопасности, инструкциями по эксплуатации используемых технических средств и настоящей «Инструкцией».

Рис. 1. Аварийный хомут

Рис. 2. Прижимное устройство:

1 - скобы; 2 - планки; 3 - гайка; 4 - маховичок; 5 - червяк; 6 - пята; 7 - планки; 8 - прокладки (бензостойкая резина или свинец); 9 - шарнирное соединение; 10 - трубопровод; 11 - сварной шов.

Рис. 3. Галтельная муфта:

1 - трубопровод; 2 - муфта

Рис. 4. Ликвидация разрыва (трещины) трубопровода вставкой катушки (пример):

I - разорвавшаяся по сварному стыку труба;

II - вырезка аварийного стыка и введение глиняных пробок;

III - пригонка нового патрубка (катушки) и вварка его в трубопровод;

1 - разорвавшийся стык; 2 - патрубок (катушка); 3 - глиняные тампоны; 4 - трубопровод после ликвидации аварии

4.2.2. Уточнение места аварии предполагает изучение аварийного участка трубопровода (повреждены труба, арматура, переход или что-либо еще, уточняются рельеф, условия пролегания, характер разлива продукта, наличие поверхностных вод, залесенность, возможность подъезда и т.п.) с целью уточнения потребности в технических средствах и рабочей силе, конкретизации всех мероприятий по выполнению аварийно-восстановительного ремонта.

При этом, в первую очередь, определяются и обозначаются границы территории, загрязненные нефтепродуктом (следует учитывать скрытность растекания его под снегом) и принимаются срочные меры по задержанию вытекшего продукта.

4.2.3. Доставка ремонтных средств и персонала в район аварии должна осуществляться, как правило, наземным (колесным, гусеничным) транспортом, имеющимся в распоряжении АВП, ПО АО, АО. В зависимости от конкретных обстоятельств могут быть использованы воздушные, водные и железнодорожные транспортные средства, применение которых должно быть предусмотрено заранее (план ликвидации возможных аварий), либо целесообразно с точки зрения руководства АО, ПО АО. При применении перечисленных нетрадиционных транспортных средств необходимо выполнение всех технических и организационных требований, оговоренных в специальном соглашении между АО и транспортной организацией.

4.2.4. Подготовка ремонтной площадки должна выполняться в зависимости от технологии ликвидации аварии, привлекаемых для этого технических средств, природно-климатических и погодных условий, а также в соответствии с требованиями техники безопасности и пожарной безопасности.

4.2.5. Сварочные агрегаты, насосные установки, компрессоры и другие несамоходные механизмы должны устанавливаться на спланированные горизонтальные площадки, которые либо подбираются на местности, либо подготавливаются специально.

Размеры площадок определяются в зависимости от габаритов механизма, запаса устойчивости площадки на уклоне, условий обслуживания таким образом, чтобы во всех случаях от крайних габаритных точек до конца площадки со всех сторон было не менее 1 м.

4.2.6. При невозможности устройства горизонтальных площадок в горных условиях должны применяться меры по обеспечению устойчивости механизма путем закрепления их упорами, якорением за деревья, скалы или тракторы.

4.2.7. В болотистых условиях трасс или в условиях распутицы необходимо обеспечить возможность базирования и маневрирования технических средств, которая осуществляется повышением несущей способности почвы. Для этого сооружаются:

временные подъездные пути;

пешеходные дорожки;

ремонтные площадки;

временные вертолетные площадки;

вспомогательные площадки.

В зависимости от характеристики почвы для повышения ее несущей способности могут быть использованы:

лежки или слани из лесоматериалов;

слани из отбракованных труб;

деревянные инвентарные щиты ЛВ-11 (ЛВ-11БО и пр.);

настилы из деревянных железнодорожных шпал;

сборно-разборные клеефанерные дорожные покрытия (СРНП);

стальная плетеная сетка (ГОСТ 5336-80) в сочетании с рулонными синтетическими неткаными материалами типа «СНМ» или «Дорнит Ф-1»;

покрытия СРНП-1, СРНП-2 и др.

Технические характеристики некоторых типов временных покрытий приведены в табл. 1.

4.2.8. Полосу строительства подъездных путей необходимо расчищать по возможности без нарушения поверхностного слоя. Крупные деревья и кустарники срезаются заподлицо с землей. Трелевка леса выполняется трелевочными тракторами ТДТ-55а, ТТ-4 или др. Могут также использоваться гусеничные тракторы на болотном ходу, например, Т-100МБ.

4.2.9. На болотах с устойчивыми торфами устраиваются лежневые дороги поперечной укладкой бревен диаметром 12 - 20 см на продольные лежки или лежневые дороги из инвентарных щитов (например, деревянные щиты ЛВ-11, ЛВ-11ВБ).

4.2.10. При глубине торфа 0,8 м и выше или неустойчивом подстилающем грунте, а также на травяных болотах с ровной поверхностью без кочек и пней применяются инвентарные слани из лесоматериалов или настилы из шпал. Все дорожные покрытия применяются в соответствии с инструкцией по их применению.

4.2.11. Для передвижения ремонтного персонала во время выполнения аварийно-восстановительных работ устраиваются пешеходные дорожки. Пешеходные дорожки могут быть устроены из стальной плетеной сетки (ГОСТ 5336-80) в сочетании с рулонными синтетическими материалами «СНМ», «Дорнит Ф-1» или другими рулонными материалами, позволяющими создать конструктивно-фильтрующую прослойку покрытия.

Таблица 1

Техническая характеристика временных покрытий

Покрытия

Размеры щита, мм

Масса, кг, 1 п. м. 1 шт.

Материал

Примечание

длина

ширина

высота (толщина)

1. Переносной щит ЛВ-11 (Л8-11В)

6160 - (6190)

1100 - 1200

190

-

Дерево-металл

 

2. Сборно-разборное дорожное покрытие СРДП-1

 

3500

300

85 - 100

Дерево, фанера, металл

Максимальная нагрузка 200 кН

3. Настил из шпал

3000 - 4000

2750

150

(180)

750

(1400)

Деревянные шпалы, металл

 

4. Пешеходная дорожка

-

-

-

-

Стальная плетеная сетка ГОСТ 53-36-80, рулонный синтетич. материал «Дорнит Ф-1» или др.

«Дорнит Ф-1» может служить конструктивно фильтрующей прослойкой, различных типов временных дорог

5. Сборно-разборное несущее покрытие СРНП-1

5000

4000

600

264

Дерево-металл

Максимальная нагрузка, кН, автомобильн. - 200, гусенич. - 365

6. Сборно-разборная ремонтная площадка СРРП-2

16500

12800

470

55,83

Дерево-металл

Максимальная нагрузка, кН, автомобильн. - 200, гусенич. - 250

4.2.12. Размеры сооружаемой на болоте ремонтной площадки должны обеспечивать установку и размещение необходимых для ликвидации конкретной аварии технических средств и материалов, нормальную работу землеройной и грузоподъемной техники. Расстояние границ ремонтной площадки до разлившегося нефтепродукта в целях безопасности должно составлять не менее 100 м.

4.2.13. Перед сооружением ремонтной площадки выполняются следующие подготовительные операции:

определение наличия коммуникаций сторонних организаций;

определение конфигурации и размеров площадки;

фиксация положения кромок площадки путем забивки колышков;

планировка площадки.

Ремонтная площадка сооружается теми же средствами и способами, что и сооружение временных подъездных путей (п.п. 4.2.8, 4.2.9).

4.2.14. При ликвидации аварий на магистральных трубопроводах, проложенных в условиях болот, временные вертолетные площадки должны сооружаться в соответствии с требованиями «Инструкции по проектированию вертолетных станций, вертодромов и посадочных площадок для вертолетов гражданской авиации». Вертолетные площадки должны обеспечивать безопасную работу вертолетов и максимально возможную близость к месту аварии. Расстояние от вертолетной площадки до зданий и сооружений населенных пунктов и промышленных сооружений должно быть не менее 150 м, а до воздушных высоковольтных линий электропередач (ЛЭП), расположенных в пределах полос воздушных подходов (ПВП), - не менее 1 км. Это расстояние может быть сокращено до 500 м, если ЛЭП, пересекающая ПВП со стороны вертолетной площадки, закрыта складками местности, лесопосадками, зданиями, не выходящими за пределы условной плоскости ограничения препятствий. Вне ПВП площадка должна быть удалена от ЛЭП не менее чем на 300 м. Это расстояние может быть сокращено до 120 м, если ЛЭП закрыта на всем протяжении затеняющими объектами.

4.2.15. Работы по сооружению вертолетной площадки включают расчистку и планировку площадки, укладку настилов (при необходимости) и оборудование площадки.

4.2.16. При наличии леса на выбранном участке в районе строительства вертолетами доставляются и необходимая техника для валки леса, и бригада рабочих, которая расчищает площадку от деревьев в квадрате 50 ´ 50 м. Окончательная расчистка и планировка производится бульдозером.

4.2.17. Вертолетная площадка непосредственно на болоте сооружается с использованием СРДП или бревен диаметром не менее 18 см, прочно скрепленных между собой, причем бревна верхнего наката должны укладываться поперек направления принятого старта. Для вертолетов МИ-6, МИ-10 настил из бревен устраивается не менее чем в два наката, для остальных вертолетов в один накат. Размеры настила в соответствии с типом вертолета должны быть: 30 ´ 30 м - для МИ-6, МИ-10 и 10 ´ 10 - для остальных типов вертолетов.

4.2.18. Вертолетные площадки должны быть оборудованы маркировочными знаками упрощенного типа, ветроуказателем стандартных размеров, осветительной аппаратурой.

Для маркировки вертолетных площадок в летний период выкладываются белые угловые знаки размером 2 ´ 2 ´ 0,3 м и центральный знак в виде кольца с наружным диаметром 3 м и внутренним - 2 м, а при наличии снежного покрова устраиваются только угловые знаки черного цвета.

Примечание: в случае экстренного производства работ допускается обозначение угловых знаков флажками черного или красного цветов высотой не более 0,4 м.

4.2.19. Для рациональной организации и обеспечения безопасности погрузочно-разгрузочных работ, а также создания необходимых условий производства АВР необходимо предусмотреть следующие вспомогательные площадки:

площадку для складирования и подготовки грузов к транспортировке;

площадку для стоянки и обслуживания аварийной техники;

площадку для размещения жилого городка;

площадку для размещения противопожарной техники.

4.2.20. Вспомогательные площадки следует располагать за зоной воздушных подходов. Расстояние от служебных площадок до летной полосы в соответствии с типом вертолета должно составлять: для МИ-6 и МИ-10 не менее 70 м, для МИ-8 - 50 м, а для других типов вертолетов - 20 - 30 м.

4.2.21. Безопасность вспомогательных площадок достигается удалением площадок не менее чем на 100 м от границы разлитого продукта. Для площадок выбирается ровный или слабо покатый сухой участок местности с обеспеченным водоотводом. Целесообразно площадки располагать на открытой местности или на полянке, предварительно планируя их и обеспечивая водоотводом.

4.2.22. В случае расположения вспомогательных площадок в лесу или непосредственно в болотистой местности, сооружение их производится соответственно методом очистки территории от леса или с использованием СРДП (деревянных инвентарных щитов) аналогично работам по сооружению ремонтной и вертолетной площадок.

4.2.23. При производстве работ в стесненных условиях (на полке в горах и в ущелье):

должны быть приняты меры против повреждения трубопровода (при необходимости наезда на заглубленный трубопровод выполнить подсыпку грунта над трубой не менее 1,0 метра и применять защитный настил из досок или бревен, а при работе вблизи надземного трубопровода - защитить его футеровкой);

механизмы должны размещаться на полке в соответствии с технологической последовательностью их применения и возможностью беспрепятственного отхода после отработки, не задерживая выполнение последующих операций АВР.

4.2.24. В период подготовки ремонтной площадки необходимо предусмотреть и выполнить ряд мероприятий (при необходимости) по отводу поверхностных вод. Для этого в зависимости от конкретных условий сооружают отводную (обводную) канаву, устраивают дамбу выше площадки ремонта либо роют водосборный котлован с последующей откачкой воды.

4.2.25. Осложняющее влияние грунтовых вод на ремонтные работы снижают путем понижения их уровня (иглофильтровальные установки, устройство котлованов с более низким уровнем дна, чем ремонтный) либо используют различные кессоны, шпунтование.

4.2.26. Одновременно с производством подготовительных работ следует обеспечить сохранность и работоспособность соседних коммуникаций в соответствии с требованиями «Положения о взаимоотношениях ведомств, коммуникации которых проходят в одном техническом коридоре» /3/, а также принять все меры, предусмотренные в плане ликвидации возможных аварий, по безопасности близрасположенных объектов народного хозяйства и по защите окружающей среды.

4.3. Локализация и сбор разлитого перекачиваемого нефтепродукта

4.3.1. При получении сигнала об аварии диспетчером ПО АО или АО должны быть приняты все меры по сокращению объема вытекающего продукта:

остановка перекачки по поврежденному участку трубопровода;

определение места аварии;

перекрытие линейных задвижек, отсекающих поврежденный участок трубопровода;

команду на закрытие линейных задвижек дает диспетчер ПО АО или АО после согласования или извещения об этом руководства ЛПДС (АВС). Порядок отключения задвижек зависит от профиля трассы трубопровода. Прежде всего, закрывается линейная задвижка со стороны наиболее высокой отметки по отношению к месту утечки.

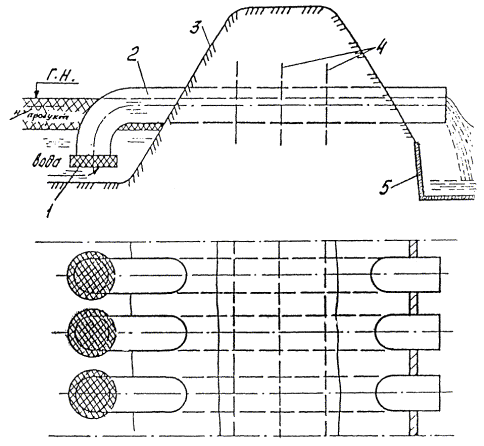
4.3.2. Если на пути движения разлитого нефтепродукта заблаговременно созданы запруды на водотоках или амбары, руководитель АВС организует дежурство на них с целью своевременного принятия мер по предотвращению перелива перекачиваемого нефтепродукта и регулирования сброса воды. В тех местах, где отсутствуют сооружения для задержания нефтепродукта, устраиваются временные запруды (рис. 5). Для исключения воронкообразования концы труб сброса, опускаемых в воду временных запруд, оснащаются спецголовкой.

Рис. 5. Запруда для улавливания нефтепродукта на водоток:

1 - защитная съемная решетка; 2 - труба (Æ 377 - 520 мм); 3 - насыпь; 4 - стальные приварные пластины; 5 - лоток

4.3.3. Обвалования земляных амбаров должны устраиваться, начиная с пониженных мест со стороны жилых поселков, водоемов, рек, дорог, лесных массивов. Амбар для нефтепродукта должен быть устроен не ближе 50 м от места производства ремонтных работ. Высота земляного вала не должна превышать 1,5 м при ширине по верху не менее 0,5 м и крутизне откосов не более 45 градусов.

4.3.4. В целях недопущения перелива амбара при его наполнении необходимо подсыпкой грунта или регулированием водотока обеспечить разность отметок уровня нефтепродукта и верха обвалования не менее 0,5 м. При попадании в амбар воды следует устраивать дренаж для ее сброса.

4.3.5. В случае попадания перекачиваемого нефтепродукта в реки должны быть приняты меры по его улавливанию и утилизации. Улавливание производится с помощью боковых заграждений типа «Уж», устанавливаемых поперек реки в более спокойном ее течении. Способ установки заграждений, схема расстановки и якорения боновых заграждений и объемы подготовительных мероприятий должны быть предусмотрены планами ликвидации возможных аварий. Уловленный нефтепродукт направляют вдоль ограждения к одному из берегов для последующей откачки.

Затем нефтепродукт следует собрать с поверхности воды специальными нефтесборщиками или откачать его насосами в смеси с водой в специальные емкости, устанавливаемые на берегу с целью последующей его утилизации.

Объемы емкостей и способы утилизации нефтепродукта определяются при разработке планов ликвидации возможных аварий.

4.3.6. Места устройства заграждений на водотоках должны определяться руководством АВР заблаговременно в каждом конкретном случае с таким расчетом, чтобы к подходу головной части потока нефтепродукта были закончены работы по сооружению заграждений.

4.3.7. По прибытии на место аварии старший патрульной группы докладывает диспетчеру ситуацию и принимает срочные меры по обеспечению безопасности населения, объектов народного хозяйства, транспортных средств.

С этой целью необходимо:

ограничить растекание нефтепродукта на местности;

оповестить (при необходимости) население близлежащих поселков об опасности и мерах предосторожности вплоть до эвакуации).

Диспетчер ПО АО или АО через местные органы власти (чрезвычайную комиссию, штабы по делам ГО и ЧС и т.п.) должен предупредить население и владельцев объектов народного хозяйства о возможной угрозе попадания перекачиваемого нефтепродукта в населенные пункты и на объекты народного хозяйства согласно заранее разработанной системе оповещения.

4.3.8. В зависимости от характера аварии и от местных условий для сбора разлитого и освобожденного из трубопровода нефтепродукта могут быть использованы следующие сооружения и емкости:

резервуарные парки перекачивающих станций;

неповрежденные участки аварийного трубопровода или параллельно проложенного трубопровода;

земляные амбары, котлованы, обвалования или ямы-накопители;

емкости существующих защитных противопожарных сооружений или естественные складки местности;

система заранее подготовленных (например, мелиоративных) каналов, траншей;

мягкие резино-тканевые резервуары или другие емкости.

Объемы используемых емкостей должны обеспечивать прием разлитого и откачиваемого или сливаемого самотеком нефтепродукта из аварийного участка трубопровода.

4.3.9. Задержанный нефтепродукт должен быть собран, закачан в трубопровод или вывезен на ближайшую ПС. Методы зачистки остатков нефтепродукта и пропитанного им грунта рассмотрены в разделе «Ликвидация последствий аварии».

4.4. Земляные работы

4.4.1. Земляные работы при ликвидации аварии на трубопроводе включают:

устройство земляного амбара, сооружение запруд или обвалований для сбора и улавливания продукта, траншей для отвода перекачиваемого продукта;

подготовку площадки для производства АВР, вспомогательных площадок, устройство проездов, переездов и т.п.;

создание ремонтного котлована и его засыпка.

4.4.2. Перед началом работ по сооружению котлована определяется положение трубопровода в грунте трубоискателем ТИ-12 или другими методами и осуществляется разбивка его границ.

4.4.3. Вскрытие поврежденного участка трубопровода и устройство ремонтного котлована производятся с помощью имеющейся в наличии землеройной техники. При этом не допускаются удары по трубопроводу рабочим органом механизма.

Размеры котлована должны обеспечивать производство работ по ликвидации аварии (центровку труб, сварку неповоротных стыков, изоляцию трубопровода и др.), возможность работы трубоукладчика или крана с допустимым вылетом стрелы. Глубина котлована должна быть не менее чем на 0,6 м ниже нижней образующей трубы.

4.4.4. Разработка ремонтного котлована с вертикальными стенками без крепления допускается в связных грунтах естественной влажности на глубину, указанную в табл. 2; крутизна откосов котлована, выполняемого без креплений, в зависимости от грунта определяется согласно данным таблицы 3.

Таблица 2

Допускаемая глубина ремонтного котлована с вертикальными стенками различных грунтов

Грунт

Глубина котлована, м

1. Насыпной, песчаный, гравелистый

1,0

2. Супесчаный

1,25

3. Суглинистый

1,25

4. Глинистый

1,50

5. Особоплотный нескальный

2,0

Таблица 3

Наибольшая допустимая крутизна откосов котлована в грунтах естественной влажности

Грунт

Отношение высоты откоса к его заложению при глубине выемки, м

до 1 м

1 - 3

3 - 5

1. Насыпной

1:0,55

1:1

1:1,25

2. Песчаный и гравелистый (влажный, но не насыщенный)

1:0,5

1:1

1:1

3. Супесь

1:0,25

1:0,67

1:0,85

4. Суглинок

1:0

1:0,25

1:0,75

5. Глина

1:0

1:0,25

1:0,5

6. Лессовый сухой

1:0

1:0,5

1:0,5

Примечание: при глубине котлована (траншеи) более 5 м крутизна откоса устанавливается расчетом

4.4.5. При сильном притоке грунтовых вод стенки ремонтного котлована укрепляются металлическими или деревянными шпунтами, сваями или другими средствами (например, ремонтной герметичной камерой РГК) с одновременными мерами по понижению уровня грунтовых вод.

Удаление грунтовых вод, поступающих в котлован, производится открытым водоотливом, а для сбора воды в котловане устраивается приямок.

4.4.6. После окончания всех ремонтных работ трубопровод должен быть засыпан грунтом. Засыпку необходимо производить рыхлым грунтом. При отсутствии рыхлого грунта трубопровод должен присыпаться на 10 - 20 см привозным грунтом и только после этого местным грунтом. По верху засыпанного котлована устраивается валик с учетом последующей осадки грунта. По ширине валик должен перекрыть котлован не менее чем на 0,5 м в каждую сторону.

4.4.7. В местах пересечения трубопровода с подземными коммуникациями или кабелями, проходящими в пределах глубины котлована, засыпка котлована должна производиться с послойным уплотнением грунта в присутствии представителя организации, эксплуатирующей данную коммуникацию.

4.4.8. Площадки и полки в зависимости от рельефа местности и характеристики грунтов устраиваются в виде выемки или полунасыпи-полувыемки.

На косогорах с поперечным уклоном от 8 до 12 градусов площадки должны устраиваться в виде полунасыпи-полувыемки, от 12 до 18 градусов - с уступами для насыпи, более 18 градусов - в виде чистой выемки.

4.4.9. Земляные работы на участках с поперечным уклоном не более 3 градусов и продольным уклоном до 15 градусов выполняются механизмами на гусеничном и колесном ходу обычными методами. На косогорах с поперечным уклоном более 8 градусов и продольным более 15 градусов необходимо обеспечивать устойчивость работающих механизмов путем устройства полок и (или) анкеровкой. С этой целью необходимо закреплять работающий механизм стальным канатом (тросом) за находящиеся на вершине склона (или выше по склону) лебедки, трактора и другие механизмы, выполняющие роль якоря. Примерная схема закрепления представлена на рис. 6 (лебедка может быть заменена каким-либо гусеничным механизмом, обеспечивающим надежную анкеровку трубоукладчика). Лебедка устанавливается на заранее подготовленный фундамент либо на площадке с обязательным надежным ее закреплением.

4.4.10. Стальные тросы (канаты) для заякоривания работающих на склоне механизмов должны выбираться в соответствии с планом ликвидации возможных аварий. Длина троса должна обеспечивать якорящему механизму возможность располагаться на горизонтальной площадке или на более высоком участке косогора.

4.4.11. При уклонах более 15 градусов необходимо закреплять экскаватор тросами за расположенные выше по склону тракторы, бульдозер, лебедки и т.п. Способ закрепления, количество, марки удерживающих механизмов, выбор каната (троса) должны быть определены в плане ликвидации возможных аварий.

При этом в зависимости от условий возможны два варианте выполнения работ:

а) при небольшой (до 50 м) протяженности склона удерживающие механизмы располагаются на его вершине на горизонтальной площадке. По мере разработки грунта трос разматывается на длину передвижки экскаватора:

б) на склонах большей протяженности эскаватор удерживается несколькими тракторами или бульдозерами, расположенными на склоне. Каждый трос крепится к отдельному якорю (трактору) и к тумбе экскаватора или к балкам его ходовой части (рис. 7). При перемещении тракторов по мере разработки котлована экскаватор заякоривается ковшом в грунт и продолжает работу только после постановки тракторов на тормоз и плавного натяжения канатов опусканием экскаватора вниз по склону.

Рис. 6. Схема анкеровки трубоукладчика при помощи лебедки:

1 - трубоукладчик; 2 - трос (крепится к фаркопу трубоукладчика); 3 - лебедка; 4 - транспортируемый груз (труба); 5 - анкер

При использовании в качестве подвижного якоря бульдозер устанавливается отвалом в сторону спуска, для большей устойчивости заглубляя отвал.

4.4.12. На продольных уклонах 35 градусов и более работа экскаватора даже при его надежном закреплении недопустима.

4.4.13. На полках и участках трассы с продольным уклоном до 15 градусов работа по сооружению ремонтного котлована выполняется обычными методами с помощью экскаватора, оборудованного обратной лопатой, в направлении сверху-вниз по склону.

4.4.14. На продольных уклонах свыше 35 градусов разработку грунта ведут лотковым способом с помощью бульдозера сверху-вниз последовательными слоями толщиной 0,2 - 0,6 м. При этом обязательна анкеровка бульдозера одним или двумя тракторами (бульдозерами), которые находятся вверху на склоне и вытаскивают бульдозер на исходную позицию (рис. 8).

4.4.15. Разработка ремонтного котлована на уклонах более 45 градусов производится вручную с применением средств малой механизации, отбойных молотков и т.п.

4.4.16. Работы по засыпке траншей и ремонтных котлованов на уклонах могут выполняться бульдозерами (рис. 9) или экскаваторами с обеспечением их устойчивости.

4.4.17. По завершении аварийно-восстановительных работ трубопровода на уклонах, где возможно образование оползня или эрозии почвы под действием поверхностных вод, необходимо восстановить первоначальный рельеф местности (возвратить вынутый при сооружении полок, площадок, траншей и котлованов грунт, уплотнить его) и закрепить почву растительностью (одернением, посевом трав и т.п.).

4.4.18. Разработка мерзлого грунта должна производиться после предварительного рыхления. Рыхление грунта можно производить механическим способом. Для рыхления грунта могут использоваться пневматические ломы-лопаты, отбойные молотки; при обработке земляного амбара - машины ударного действия, навесные рыхлители, баровые машины.

4.5. Герметизация внутренней полости трубопровода

4.5.1. С целью предотвращения возгорания поступающих из трубопровода перекачиваемого продукта и газов, а также недопущения загазованности места производства АВР необходимо надежно герметизировать внутреннюю полость трубопровода - изолировать ее специальными средствами от внешней среды на весь период производства сварочно-монтажных работ.

Рис. 7. Схема крепления экскаватора на уклоне:

1, 2 - бульдозер; 3 - трос; 4 - экскаватор; 5 - отвал; 6 - котлован; 7 - трубопровод

Рис. 8. Схема разработки ремонтного котлована бульдозером:

1 - трубопровод; 2 - ремонтный котлован; 3 - бульдозер; 4 - трос

Рис. 9. Схема производства работ при засыпке котлована:

1 - трубоукладчик; 2 - бульдозер; 3 - ремонтный котлован; 4 - трубопровод; 5 - трос

4.5.2. Герметизация производится с помощью тампонов или механических перекрывающих устройств. В качестве материалов для создания тампонов могут применяться глина и быстросхватывающиеся композиционные материалы, создаваемые из таких распространенных армирующих материалов, как стекловолокно и стеклопластик, обладающих высокой механической прочностью, коррозионной стойкостью, небольшой плотностью (1,6 - 1,8 г/см3) и т.д.

4.5.3. В зависимости от принятой технологии АВР могут быть использованы два метода герметизации:

с открытого торца;

через специальные «окна» или патрубки с задвижками.

4.5.4. В тех случаях, когда вырезка дефектного участка возможна с помощью УКЗ, труборезов типа «Файн», «МР» и т.д., то есть возможно создание открытых торцов до перекрытия внутренней полости трубопровода, целесообразнее применить метод герметизации с открытого торца.

После вырезки дефектного участка и опорожнения от продукта с торца трубопровода устанавливается механический тампон-герметизатор, например, конструкции ПОМН «Дружба» (рис. 10), допущенный к применению в установленном порядке, либо создаются тампоны из глины или композиционных материалов.

4.5.5. Тампон из глины создается послойной укладкой и трамбованием на длину не менее двух диаметров трубопровода.

4.5.6. Герметизация через «окна» может применяться при невозможности вырезки дефектного участка безогневым способом или с использованием энергии взрыва, а также при использовании в качестве герметизатора быстросхватывающихся материалов, не требующих предварительного опорожнения трубопровода от перекачиваемого продукта.

4.5.7. При использовании тампонов на основе глины необходимо организовать контроль состояния тампона на герметичность путем осмотра его торцевой части на наличие трещин и усадки по верхней образующей, а также отбором и анализом проб воздуха на наличие газов через каждые полчаса. При необходимости производится дополнительная утрамбовка тампона и донабивка свежей глины. При отрицательной температуре воздуха необходимо принять меры по теплоизоляции тампона снаружи трубопровода. Во избежание потери герметичности тампона не допускаются удары по трубе и ее вибрация от работающих механизмов.

4.5.8. Герметизация внутренней полости трубопровода с использованием быстросхватывающихся материалов должна производиться в соответствии с инструкцией по применению этих материалов при ликвидации аварий на трубопроводах.

Рис. 10. Тампон-герметизатор

1 - серьга; 2 - манжета; 3 - труба Æ 219 ´ 8; 4 - скоба; 5 - автомобильная резиновая камера; 6 - патрубок; 7 - манжета; 8 - скоба; 9 - стыковочный узел; 10 - труба

4.5.9. Для обеспечения контроля за состоянием внутренней полости освобожденного трубопровода (уровнем перекачиваемого нефтепродукта и сбросом избыточного давления газа) высверливаются с двух сторон за тампонами контрольные отверстия диаметром 8 - 12 мм, достаточным для стравливания избыточного давления в трубопроводе. Расстояние от тампонов до отверстий должно быть не менее 30 м. При невозможности соблюдения указанного требования необходимо организовать отвод газов из трубопровода на безопасное расстояние, исключающее их возгорание от искр при производстве сварочно-монтажных работ.

После завершения восстановительных работ отверстия должны быть устранены забивкой металлических пробок (см. п. 4.6.4.29).

4.5.10. В случае обнаружения через контрольное отверстие повышения уровня нефтепродукта в трубопроводе до тампона необходимо принять меры по его сбросу путем сверления отверстий или врезки задвижки необходимого диаметра в нижней части трубы.

С целью ускорения сброса нефтепродукта могут быть подключены откачивающие насосы. Для этого в нижней части трубы выполняют приварку бобышек, форма и размеры которых должны соответствовать рис. 11 и табл. 4. Приварка бобышек производится угловым равносторонним швом в два слоя.

Таблица 4

Размеры приварных бобышек

Диаметр резьбы, Двн

Диаметр наружный, Дн

Высота бобышки, мм

30

50

35

36

58

41

42

72

47

48

80

53

56

85

61

62

90

65

Примечание: материал бобышек - малоуглеродистая сталь (СТ-20).

После приварки бобышки выполняют просверливание стенки трубопровода с помощью специального приспособления.

По окончании ремонта бобышка должна быть заглушена соответствующим винтом и обварена по верху резьбового соединения.

4.6. Сварочно-монтажные работы

4.6.1. До начала сварочно-монтажных работ должны быть определены толщина стенки и материал поврежденного участка трубопровода по исполнительной документации, которые уточняются на месте производства АВР.

Размеры бобышки

Двн - диаметр внутренней резьбы;

Дн - наружный диаметр (резьбы) бобышки;

Н - толщина бобышки;

Дм - диаметр магистральной трубы.

Рис. 11.

Требования к сварочным соединениям

4.6.2. При подготовке и выполнении сварочно-монтажных работ необходимо руководствоваться требованиями ВСН 006-89 /7/ и СНиП III-42-80 /5/.

4.6.2.1. Свариваемые трубы обрезаются со скосом кромок (рис. 12) и притупляются на 1,5 - 2,5 мм.

4.6.2.2. Края свариваемых участков трубопровода должны зачищаться до металлического блеска на ширину не менее 10 мм. Зачистка должна производиться шлифовальными машинками, напильниками или металлическими щетками.

4.6.2.3. Типы и марки применяемых электродов по своим механическим свойствам, назначению должны соответствовать маркам сталей свариваемых труб и обеспечивать свойства сварного соединения не ниже свойств основного металла.

4.6.2.4. При аварийно-восстановительных работах на трубопроводах электродуговую сварку следует выполнять качественными электродами (табл. 5 и 6), удовлетворяющими требованиям ГОСТ 9467-75, позволяющими выполнять сварку в любых пространственных положениях на постоянном токе обратной полярности (плюс на электроде). Каждая партия электродов должна иметь сертификат. Запрещается применение при АВР электродов неизвестной марки.

4.6.2.5. Перед применением электроды должны быть прокалены (просушены), и проверено качество состояния их покрытия. Не должно быть повреждений покрытия, растрескивания его. Покрытие должно быть постоянной толщины относительно стержня, а при ударе о твердый предмет и при изгибе - не отставать от стержня. При обнаружении следов ржавчины на стержне под покрытием электроды отбраковываются.

4.6.2.6. Применение электродов с целлюлозным покрытием связано с выполнением ряда дополнительных требований:

сварку выполнять методом «замочной скважины» (окна), т.е. в процессе сварки электросварщик, поддерживая угол наклона электрода в пределах 40 - 90 градусов, постоянно должен вести окно за торцом электрода;

после сварки корневого шва этими электродами обязателен «горячий проход» (т.е. выполнение второго слоя шва по неостывшему корневому слою шва со скоростью 18 - 20 м/ч);

время между окончаниями сварки первого слоя шва и началом выполнения «горячего прохода» не должно превышать 5 минут. Если перерыв более 5 мин., следует поддерживать температуру стыка на уровне требуемой температуры предварительного подогрева (при невыполнении этого требования стык должен быть вырезан и заварен вновь).

Таблица 5

Электроды с покрытием основного вида для сварки и ремонта поворотных и неповоротных стыков труб при любых условиях прокладки трубопроводов

Электроды

Свариваемые трубы

Назначение

Тип по ГОСТ 9467-75

Марка

Диаметр, мм

Толщина стенки, мм

Нормативное значение временного сопротивления разрыву, МПа (кГс/кв. мм)

Для сварки, ремонта корневого слоя шва и подварки изнутри трубы

Э 42 А

УОНИ-13/45

2,0 - 2,5

3,0

2,0 - 2,6

2,5 - 3,25

5 - 8

6 - 26 и более

5 - 8

8 - 26 и более

до 490 (50) включительно

до 568 (60) включительно

Э 50 А

УОНИ-13/55

АВ-52у

НИБАЗ 55

Супербаз

Фокс ЕВ 50

ОК 48.04

ВСО-50 СК

 

 

 

Для сварки и ремонта заполняющих и облицовочных слоев шва (после «горячего» прохода электродами с целлюлозным покрытием или после сварки корневого слоя электродами с основным покрытием)

Э 42 А

УОНИ-13/45

3,0 - 4,0

5 - 26 и более

до 431 (44) включительно

Э 50 А

УОНИ-13/55

Гарант

3,0 - 3,25

5 - 8

до 539 (55)

 

Фокс ЕВ 50

ОК 48.04.

ОЗС-ВНИИСТ-27

4,0 - 5,0

6 - 26 и более

 

Э 60

ВСФ-65у

ОЭС-24

Шварц-ЭК

ОК 7379

3,0 - 3,25

 

539 - 588 (55 - 600) включительно

 

Э 60

АБ-62Д

Нибаз 65

Кессель

5520 Мо

4,0 - 5,0

6 - 26 и более

538 - 583 (55 - 60)

 

Э 70

ВСФ-75

АБ-65Д

ОК74

4,0 - 5,0

10 - 26 и более

588 - 637 (60 - 65)

Примечание. Каждый диаметр (группа диаметров) электродов относится ко всем маркам электродов, сгруппированных согласно типу по ГОСТ 9467-75. Например, группа диаметров 2,0 - 2,6 относится ко всем маркам электродов типа Э50А от УОНИ-13/55 до ОК 48.04, то же самое для диаметра 3,0 и 3,25.

Электроды АБ-52у и ВСО-50СК диаметром 3,0 мм - только для сварки корневого слоя шва. Электроды ВСФ-75 предназначены для сварки стыков труб из термически упроченных труб с нормальным пределом прочности 637 МПа (65 кгс/ кв. мм). Электроды УОНИ-13/45 предпочтительнее применять для сварки труб из низкоуглеродистых нелегированных сталей типа Ст. 20 СП и т.п.; при сварке тонкостенных труб (толщина стенки 5 - 8 мм) для корневого 1 слоя шва предпочтительнее электроды диаметром 2,0 - 2,6 мм.

Таблица 6

Электроды с покрытием целлюлозного вида для сварки неповортных стыков труб при подземной прокладке трубопроводов

Электроды

Свариваемые трубы

Назначение

Тип по ГОСТ 9467-75

Марка

Диаметр, мм

Толщина стенки, мм

Нормативное значение временного сопротивления разрыву, МПа (кГс/кв. мм)

Для сварки первого (корневого) слоя

Э 42

ВСЦ-4

Фокс Цель

3,0 - 3,25

5 - 8

До 588 (60)

 

Кобе-6010

Пайпвелд-6010

4,0

6 - 26

 

 

Тиссен Цель 70

 

 

 

Э 50

ВСЦ-4А

Кобе-7010

3,0 - 3,25

5 - 8

539 - 637 (55 - 65) включительно

 

Пайпвелд-7010

4,0

6 - 26 и более

 

Для сварки второго слоя шва (горячего прохода)

Э-42

ВСЦ-4

Фокс Цель 70

3,0 - 3,25

5 - 8

До 588 (60)

 

Кобе-6010

Пайпвелд-6010

Тиссен Цель 70

4,0

10 - 26 и более

 

Э 50 и

Э 60

ВСЦ-4А, ВСЦ-60

Фокс Цель Мо

Кобе-8010 Пайпвелд-7010

4,0 - 5,0

6 - 26 и более

539 - 588 (55 - 60) включительно

Для сварки заполняющих слоев шва

Э 60

ВСЦ-60

5,0

10 - 26 и более

539 - 588 (55 - 60) включительно

Рис. 12. Разделка кромок труб под сварку:

а - при одинаковой толщине стенки труб; б, в - при разной толщине свариваемых труб и деталей; S - толщина стенки трубы; а - зазор

4.6.2.7. В определенных случаях перед сварочными работами необходимо выполнить просушку (или подогрев) кольцевыми нагревателями торцов стыкуемых труб и прилегающих к ним участков шириной не менее 150 мм.

4.6.2.8. Просушка торцов труб нагревом до температуры 20 - 50 градусов обязательна при наличии влаги на трубах, а также при температуре окружающего воздуха ниже +5 градусов в случае сварки труб с нормативным временным сопротивлением разрыву 539 МПа (55 кГс/кв. мм) и выше.

4.6.2.9. Предварительный подогрев следует выполнять перед прихваткой и сваркой в тех случаях, когда совокупность условий соответствует таблицам 7 и 8.

4.6.2.10. Температуру подогрева свариваемых кромок необходимо контролировать контактным термометром (например, марки ТП-1 и ТП-2) или термокарандашами (термокраской). Температуру замеряют на расстоянии 10 - 15 мм от торца труб; место замера должно быть предварительно зачищено металлической щеткой.

4.6.2.11. Предварительный подогрев перед нанесением каждого последующего слоя шва после корневого не требуется, если перерыв в работе составил не более 5 минут.

4.6.2.12. Величину эквивалентного углерода ({С}э, %) в таблицах 7 и 8 можно определить по маркировке на концах труб, по сертификату на трубы либо по химическому составу стали и упрощенной формуле (1):

                                                            (1)

где: С и Мп - процентное содержание в трубной стали углерода и марганца.

4.6.2.13. При стыковке труб с разной величиной эквивалента углерода и при разностенных трубах температуру подогрева выбирают по большему его значению, а при разностенных трубах - устанавливают максимальное значение температуры.

4.6.2.14. В процессе сварки должны выполняться требования и к сварочному току, установленные в зависимости от типов (марок) и диаметров электродов, а также от пространственного положения и направления сварки (табл. 9).

4.6.2.15. В зависимости от толщины стенок труб сварка должна производиться в несколько слоев. Минимальное число слоев сварного шва при сварке неповоротного стыка приведено в табл. 10.

4.6.2.16. Перерывы при сварке первого корневого слоя шва не должны быть более 3 мин. В случае более длительных перерывов следует поддерживать температуру торцов труб на уровне требуемой температуры предварительного подогрева.


Таблица 7

Температура предварительного подогрева при сварке корневого слоя шва электродами с целлюлозным покрытием

Таблица 8

Температура предварительного подогрева при сварке корневого слоя шва электродами с основным видом покрытия


Таблица 9

Рекомендуемые значения сварочного тока

Диаметр электродов, мм

Сварочный ток (А) в зависимости от пространственного положения шва

Примечание

нижнее

вертикальное

потолочное

 

Способом на «подъем»

 

2,0 - 2,5

50 - 90

40 - 80

40 - 50

Для электродов с основным видом покрытия

3,0 - 3,25

90 - 130

80 - 120

90 - 110

4,0

140 - 180

110 - 170

150 - 180

 

Способом на «спуск»

 

3,0 - 3,25

1 слой

90 - 110

90 - 110

80 - 100

Для электродов с целлюлозным покрытием

4,0 - 1 слой

120 - 160

120 - 160

100 - 140

4,0 «горячий проход»

140 - 180

150 - 170

140 - 170

5,0 - П слой «горячий проход» и заполняющий слой

180 - 200

200 - 220

 

Для электродов с основным покрытием

3,0 - 1 слой

80 - 100

110 - 130

90 - 110

Для электродов с основным видом покрытия

4.6.2.17. Сварной шов облицовочного слоя должен перекрывать основной металл в каждую сторону от шва на 2,5 - 3,5 мм и иметь усиление высотой 1 - 3 мм.

4.6.2.18. Чтобы предупредить образование дефектов между слоями перед наложением каждого последующего слоя шва, поверхность предыдущего слоя должна быть очищена от шлака и брызг наплавленного металла. После окончания сварки поверхность облицовочного слоя шва также должна быть очищена от шлака и брызг.

4.6.2.19. Сварной шов не должен иметь трещин, прожогов, подрезов глубиной 0,5 мм и более, недопустимых смещений кромок (см. п. 4.6.3.8), кратеров, выходящих на поверхность пор.

Таблица 10

Минимальное допустимое число слоев шва при ручной дуговой сварке

Толщина стенки трубы, мм

Минимальное число слоев шва при сварке корневого слоя шва электродами с разным видом покрытия

целлюлозный

основной

До 10

3

2

10 - 15

4

3

15 - 20

5

4

20 - 25

5

5

25 - 32

7

6

4.6.2.20. Ремонтные работы на магистральных нефтепродуктопроводах с применением сварки допускается проводить при температурах окружающего воздуха до -40 град. С.

Во избежание образования трещин в сварных соединениях необходимо:

защищать места монтажно-сварочных работ от ветра и снега;

тщательно очищать концы стыкуемых труб от снега, наледи и остатков влаги во избежание попадания испарений в зону сварочной дуги;

сборку стыков проводить с минимальными зазорами для того, чтобы добиться хорошего провара корня шва и избежать увеличенных внутренних напряжений.

Кроме того, при температуре воздуха ниже -20 град. С следует:

предварительно подогревать свариваемые кромки до температуры 180 - 200 град. С;

увеличить длину прихваток против обычной до 100 - 120 мм;

перед сваркой прокалить электроды до полного удаления влаги;

сварку стыков вести без перерыва от начала до конца на повышенном режиме, увеличив силу сварочного тока на 15 - 20 % против принятой при нормальной температуре;

тщательно заваривать кратеры и замыкающие участки швов;

при перерывах сварки между слоями более 10 минут, а также после окончания сварки с целью снижения скорости охлаждения швов сварные соединения укрыть сухим теплоизоляционным асбестовым полотном.

4.6.2.21. Сборочные зазоры стыков устанавливаются в зависимости от методов сварки, толщины стенок труб и применяемых электродов. Зазор между кромками должен быть равномерным по всему периметру стыка. Допустимые зазоры в зависимости от толщины стенок труб и применяемых электродов приведены в таблице 11.

Таблица 11

Зазор между кромками при сборке труб

Способ сварки

Диаметр электрода или сварочной проволоки, мм

Величина зазора при толщине стенки трубы, мм

До 8

8 - 10

10 и более

Ручная дуговая сварка электродами с основным покрытием

2,0 - 2,5

1,5 - 2,5

-

-

3,0 - 3,25

2,0 - 3,0

2,5 - 3,5

3,0 - 3,5

Ручная дуговая сварка электродами с целлюлозным покрытием

3,0 - 3,25

1,5 - 2,0

-

-

4,0

 

1,5 - 2,5

1,5 - 2,5

Ручная дуговая сварка электродами с рутиловым покрытием

2,0 - 2,5

1,5 - 2,5

-

-

3,0 - 3,25

2,0 - 3,0

2,5 - 3,5

3,0 - 3,5

Примечание: величину зазора при сварке способом «на спуск» электродами с основным покрытием следует устанавливать по максимальному значению.

4.6.2.22. Запрещается оставлять стыки на прихватках или незаконченными сваркой.

4.6.2.23. Все сварные швы, выполненные при ликвидации аварий, должны обозначаться личным клеймом сварщика (если стык варили несколько сварщиков, то проставляется столько клейм, сколько было сварщиков). Клейма наносят на расстоянии 100 - 150 мм от стыка в верхней половине трубы. На трубах из стали с нормативным значением временного сопротивления разрыву до 55 кГс/кв. мм клеймо ставится наплавкой или механическим способом, а при значениях более 55 кГс/кв. мм наносится несмываемой краской.

Замена дефектного участка

4.6.3. Ремонт отказавшего участка трубопровода путем его замены производится при обнаружении (наличии):

трещины длиной 50 мм и более в сварном шве или основном металле трубы;

разрыва кольцевого (монтажного) шва;

разрыва продольного (заводского) шва и металла трубы;

вмятины глубиной, превышающей 3,5 % от диаметра трубы;

царапины глубиной более 30 % от толщины стенки и длиною 50 мм и более.

В этом случае работы выполняются в такой последовательности:

а) вырезка дефектного участка;

б) подготовка концов трубопровода под монтаж и сварку;

в) подготовка новой катушки (вставки);

г) подгонка вставки по месту;

д) прихватка и сварка вставки в трубопровод;

е) контроль сварочно-монтажных работ.

Примечание: операции б) и в) могут выполняться в обратном порядке, а между отдельными монтажными операциями возможно выполнение других работ (набивка и донабивка тампона и т.д.).

4.6.3.1. Длина вырезаемого дефектного участка трубопровода должна быть больше самого дефектного участка не менее чем на 100 мм с каждой стороны.

4.6.3.2. Способ вырезки дефектного участка трубопровода должен назначаться в зависимости от конкретных условий, наличия соответствующих технических средств и примененной технологии АВР. Могут быть использованы:

холодная резка (с помощью специальных машинок для резки труб во взрывобезопасном исполнении типа МРТ, «Файн»);

газовая резка (резка пламенем от сгорания пропано-кислородной смеси);

резка с применением энергии взрыва.

4.6.3.3. При выборе способа вырезки следует иметь в виду, что:

холодная резка требует обеспечения свободного вращения вокруг трубопровода двигателя с редуктором, т.е. соответствующей подготовки котлована, а также охлаждения рабочего органа (фрезы) смазочно-охлаждающей жидкостью с целью обеспечения пожарной безопасности;

газовая резка возможна только при условии выполнения всех противопожарных требований, предъявляемых к ведению огневых работ во взрывоопасных условиях (т.е. трубопровод должен быть опорожнен и загерметизирован);

вырезка дефектного участка трубопровода с помощью энергии взрыва применяется на заполненных перекачиваемым продуктом или опорожненных трубопроводах в соответствии с действующими нормативными правилами и инструкциями /12, 26, 27, 28/.

4.6.3.4. Подготовка концов трубопровода под монтаж и сварку выполняется как с целью правильного формирования сварного шва, так и с целью соответствия размеров вставки размерам вырезанной части трубопровода. Для этого рекомендуется применение специальных приспособлений для разметки, которые позволяют переносить размеры вставки на концы трубопровода или наоборот - размеры вырезанной части трубопровода на вставку (например, тросовое устройство для разметки катушек, показанное на рис. 13). В этом случае концы трубопровода отрезаются по тем же размерам, как и новые вставки с учетом зазоров и притупления кромок, что обеспечивает качество и быстроту выполнения монтажных работ.

4.6.3.5. Минимальная длина катушки должна составлять не менее 0,5 м для труб диаметром до 530 мм; для труб диаметром 530 мм и более - равной диаметру трубопровода, а толщина стенки ввариваемой трубы должна быть не менее толщины стенки магистрали. Катушка должна изготавливаться из предварительно спрессованной трубы. Давление опрессовки должно соответствовать 0,95 предела текучести, указанного в сертификатах на трубы, а время с момента опрессовки до ремонта не должно превышать полгода.

4.6.3.6. Монтаж катушки производится с помощью специальных приспособлений (домкрат, струбцина, наружный центратор и т.п.) и грузоподъемных механизмов (автокран, кран-трубоукладчик) и т.д.

4.6.3.7. Расстояние между швами приварки катушки и кольцевыми стыками на основном трубопроводе должно быть не менее диаметра трубы. В исключительных случаях допускается уменьшение этого расстояния до 250 мм, но при этом старый сварной стык на трубопроводе должен быть подварен изнутри и просвечен.

4.6.3.8. При сборке труб под сварку смещение кромок при одинаковой толщине стенки допускается до 20 % толщины стенки трубы, но не более 3 мм на 1/3 окружности стыка.

Смещение кромок на нижней (потолочной) части стыка не допускается.

4.6.3.9. Соединение разностенных труб, труб с деталями трубопроводов или труб с запорной арматурой допускается при следующем соответствии (табл. 12).

Таблица 12

Допускаемая разностенность свариваемых труб

Наибольшая толщина стенки, мм

Разность толщин стыкуемых элементов, мм

Не более 12,0

Не более 2,5

Более 12,0

Не более 3,0

4.6.3.10. При большей разностенности, чем указано в табл. 12, между стыкуемыми элементами должен быть вмонтирован переходник заводского изготовления или вставка из труб промежуточной толщины длиной не менее 250 мм.

Рис. 13. Устройство для разметки катушек.

1 - регулировочная штанга; 2 - тросик; 3 - установочный винт; 4 - чертилка.

4.6.3.11. Допускается соединение разностенных труб при разностенности до 1,5 толщины путем специальной обработки кромок, как это показано на рис. 12б, а при разностенности более 1,5 толщины стенки - путем обработки кромок с двух сторон (рис. 12в).

4.6.3.12. Сборка труб с заводским швом, сваренным с одной стороны, производится так, чтобы продольные швы обеих труб имели смещение не менее 100 мм.

При сборке труб, у которых заводской шов выполнен с внутренним подваром, смещение продольных швов не обязательно.

4.6.3.13. Допускается правка плавных вмятин на торцах труб глубиной до 3,5 % диаметра труб и деформированных концов труб безударными разжимными устройствами. При этом на трубах из сталей с нормативным временным сопротивлением разрыву до 539 МПа (55 кГс/кв. мм) допускается правка вмятин и деформированных концов труб при положительных температурах без подогрева. При отрицательных температурах окружающего воздуха необходим подогрев на 100 - 150 градусов. На трубах из сталей с нормативным временным сопротивлением разрыву 539 МПа (55 кГс/кв. мм) и выше - с местным подогревом на 150 - 200 градусов при любых температурах окружающего воздуха.

4.6.3.14. Стыкуемые трубы фиксируются при помощи прихваток, которые располагаются равномерно по периметру стыка; длина прихваток зависит от диаметра труб и должна соответствовать табл. 13.

Таблица 13

Количество и длина прихваток

Наименование

Диаметр, мм

до 400

400 - 1000

1000 - 1400

Количество прихваток не менее

2

3

4

Длина прихваток, мм

30 - 50

60 - 100

100 - 200

4.6.3.15. Наложение шва поверх прихваток допускается только после их тщательной зачистки от шлака. Неудовлетворительно выполненные прихватки должны быть полностью удалены.

Допускается производить сварку стыка двумя сварщиками при диаметре трубопровода 529 - 720 мм, а при длине вставляемой катушки более 3 м разрешается сварка одновременно двух стыков.

4.6.3.16. В горных условиях вследствие напряженного состояния трубопроводов после вырезки дефектного участка может наблюдаться значительное нарушение соосности и «уход» концов трубопровода. В этих случаях для облегчения центровки катушки и восстановления соосности трубопровода необходимо концы трубопровода освобождать от грунта на расстоянии 15 - 20 м в обе стороны от дефектного участка. Если вскрытие трубопровода не обеспечивает выполнение центровки, необходимо применить кривые вставки холодного гнутья.

4.6.3.17. Выполнение АВР с заменой дефектного участка трубопроводов, проложенных в ущельях, труднодоступных для технических средств, производится путем демонтажа участка трубопровода с его извлечением из ущелья с помощью лебедок, установленных на верхнем портале. Восстановительная работа выполняется вне ущелья, после чего трубопровод протаскивают по временным или постоянным опорам с постепенным наращиванием и укладывают вновь в ущелье. Протаскивание рекомендуется производить вниз по склону при одновременной работе тяговой и тормозной лебедок, установленных соответственно на нижнем и верхнем портале.

Приварка накладных элементов

4.6.4. В случае аварий трубопроводов в виде свищей и трещин длиной до 50 мм ремонт выполняется без опорожнения от перекачиваемого продукта путем приварки накладных элементов (заплат, хомутов, муфт).

4.6.4.1. Размеры накладных элементов и муфт должны перекрывать место дефекта не менее чем по 40 мм от края дефекта. Заплатка должна иметь эллипсовидную форму. Допустимые размеры заплат и муфт представлены в табл. 14, в которой принято: а - размер элемента в направлении оси трубопровода (большая ось эллипса); в - ширина заплаты (рис. 14).

4.6.4.2. Все кромки накладных элементов, а также поперечные кромки муфт, привариваемых без технологических колец, должны быть обварены под углом a = 45 ... 90 градусов без притупления. Наибольшая прочность достигается при a = 45 градусов (рис. 15).

4.6.4.3. Поперечные кромки муфт с технологическими кольцами, а также одна из кромок технологических колец должны быть подготовлены под сварку под углом 40... 50 без притупления.

4.6.4.4. Муфты необходимо использовать в случае, если дефектный участок больше допустимых размеров заплат.

4.6.4.5. Длина муфты без технологических колец должна быть в пределах 150 - 300 мм.

4.6.4.6. При длине муфты более 300 мм на ее концах должны быть использованы технологические кольца (рис. 15).

4.6.4.7. Длина технологического кольца должна быть не менее 65, 80, 110 мм соответственно для трубопроводов диаметрами 426, 530, 720 мм.

Рис. 14. Размещение заплат

Рис. 15. Разделка кромок и сварка коротких муфт и заплат

1 - заплата, муфта; 2 - труба

Рис. 16. Схема монтажа и сборки муфты с технологическими кольцами

4.6.4.8. Для трубопроводов диаметром 219 - 377 мм следует использовать муфты без технологических колец.

Таблица 14

Труба

Заплата

Муфта

Д, мм

а ³ в

без колец

с кольцами

а, мм

в, мм

а, мм

в, мм

219

150

150

150 - 200

 

245

150

150

150 - 200

 

273

150

150

150 - 250

 

325

150 - 200

150 - 200

150 - 300

 

351

150 - 200

150 - 200

150 - 300

 

377

150 - 200

150 - 200

150 - 300

 

426

150 - 250

150 - 250

150 - 300

300 - 400

530

150 - 300

150 - 300

150 - 300

300 - 500

720

150 - 400

150 - 400

150 - 300

300 - 700

4.6.4.9. Заплаты, муфты и технологические кольца должны быть изготовлены из труб, механические свойства, химический состав и толщина стенок которых такие же, как у ремонтируемого участка трубопровода.

4.6.4.10. Муфты и кольца изготавливаются из двух половин. Зазор между кромками при сборке муфты или кольца должен быть равномерным по всему продольному направлению и находиться в пределах 2 - 3,5 мм.

4.6.4.11. Для получения требуемого зазора между кромками при сборке муфты или кольца допускается приварка сборочных скоб.

4.6.4.12. Продольные кромки половин муфты и колец должны быть обработаны под стандартную V-образную разделку с углом скоса кромок 30 плюс, минус 5 град, и выборкой под металлическую прокладку. При выполнении сварного шва вдоль боковой образующей трубопровода скос нижней кромки следует уменьшить до 10 плюс, минус 2 град.

4.6.4.13. Поперечные кромки муфты, технологических колец должны быть обработаны под углом 20 - 25 град. без притупления. Кольца обрабатываются с одной стороны.

4.6.4.14. Муфты и кольца должны плотно прилегать к наружной поверхности трубы.

4.6.4.15. При наличии утечки между трубой и накладным элементом помещают прокладку из уплотняющего материала (резины или свинца).

Прижатие заплат к очищенному трубопроводу должно обеспечивать необходимую плотность и устойчивость прилегания по всей площади соединения. С этой целью следует применять специальное устройство (наружные центраторы, прижимные хомуты, струбцины, домкраты и т.п.). Рекомендуется приспособление, показанное на рис. 17, которое позволяет производить прижатие латок на трубопроводы диаметрами от 300 до 720 мм двумя рабочими с минимальной затратой времени. Оно состоит из специальной гайки с винтом, опоры, стержня-ручки, троса диаметром 12,5 мм, установочного винта и двух зажимов заводского изготовления марки К-055. Винт изготавливается из металлического стержня диаметром 42 мм с отверстием диаметром 25 мм для стержня-ручки, канавкой для фиксации опоры. Опора изготавливается из металлического стержня диаметром 55 мм с сетчатой накаткой и отверстием для установочного винта. Трос крепится одним концом жестко к гайке, второй конец закрепляется зажимом при установке приспособления на трубопроводе.

Технология монтажа:

установка опоры и винта на латку;

запасовка троса в ушко специальной гайкой и закрепление зажимов;

вращение рукоятки винта - прижатие латки;

приварка латки.

4.6.4.16. Непосредственно перед сваркой кромки заплат и муфт прилегающие к ним внутренние и наружные поверхности на ширину не менее 10 мм должны быть очищены до металлического блеска. Участки поверхности трубы, примыкающие к кромкам заплат и муфт, шириной не менее четырех толщин стенки трубопровода также должны быть очищены до металлического блеска.

4.6.4.17. Участки поверхности трубы под заплатой и муфтой должны быть очищены от ржавчины, грязи, масел. Места коррозии металла труб должны быть заполнены материалом, предотвращающим дальнейшую местную коррозию.

4.6.4.18. Муфту следует собирать на поврежденном участке трубопровода, стягивать между собой полумуфты при помощи сборочных скоб или наружного центратора до получения минимально допустимого зазора, а затем продольные кромки фиксировать прихватками. Полумуфты с приваренными сборочными скобами стягиваются болтами или шпильками, пропущенными в отверстие скоб.

4.6.4.19. Технологические кольца следует собирать по обе стороны от муфты, а скошенная кромка кольца должна быть обращена к муфте.

4.6.4.20. Продольные швы муфты, технологического кольца и трубопровода должны быть смещены относительно друг друга на величину не менее 100 мм.

4.6.4.21. Приварка продольных швов муфты и колец к стенке трубопровода запрещена. Для этого в местах сборки продольных швов на поверхность трубопровода следует наклеить с помощью жидкого стекла полоску стеклоткани или асбеста либо металлическую пластину толщиной 1,5 - 2 мм, шириной 200 мм.

Рис. 17. Устройство для прижатия латок:

1 - трубопровод; 2 - латка; 3 - трос Æ 12,5 мм; 4 - опора; 5 - винт; 6 - гайка специальная; 7 - стержень; 8, 9 - зажимы К-055; 10 - винт установочный; 11 - прокладка

Схема монтажа и сборки муфты с технологическими кольцами показана на рис. 16.

4.6.4.22. Заплаты и муфты следует располагать на расстоянии друг от друга, от заводских и строительно-монтажных швов не менее 100 мм. При невозможности соблюдения этого условия дефектный участок должен заменяться катушкой.

4.6.4.23. После прихватки двух половин муфты и колец необходимо удалить все технологические элементы для их сборки, а также скобы, временно приваренные к сборочным элементам, и зачистить электрошлифмашинкой поверхность металла. Затем должна быть проведена сварка продольных швов.

4.6.4.24. После сварки продольных швов муфты и колец должны быть заварены поперечные швы с обязательным оплавлением всех трех элементов - стенки трубопровода, кромок муфты и колец. Необработанные поперечные кромки колец не должны завариваться.

4.6.4.25. Разрешается одновременная сварка двух продольных или поперечных швов двумя сварщиками.

Технология изготовления «бутылочных» муфт и их монтаж на трубопроводе

4.6.4.26. При повреждении трубопровода в виде гофр, вмятин, овальности и т.п. без нарушения герметичности, а также при небольших трещинах и свищах, закрытых временными средствами («чопики», накладки и т.д.) восстановление трубопровода может быть выполнено с помощью специальных муфт. При этом работы должны выполняться с соблюдением определенных далее правил и последовательности в соответствии с «Технологией ремонта местных повреждений трубопроводов», разработанной ИЭС им. Е.О. Патона АН УССР. Ремонт осуществляется с помощью установки на дефектном участке специальной «бутылочной» муфты.

4.6.4.26.1. Муфты заблаговременно изготавливают для всех диаметров обслуживаемых аварийно-восстановительным пунктом магистральных трубопроводов. Размеры муфт и их деталей приведены в табл. 15 и рис. 18.

Центральную цилиндрическую часть длиной L вырезают из трубы следующего большего по номинальному ряду диаметра Д. В качестве конической части муфты применяют соответствующий переходник заводского изготовления.

Цилиндрические части муфты длиной l3 изготавливают из двух полуобечаек, вырезанных из трубы диаметром Д. Из той же трубы готовят и кольца «К». Все детали муфты (кроме технологических колец) с помощью прихваток собирают на шаблоне и приваривают корень всех кольцевых швов. Затем муфту разрезают вдоль продольной оси на две половинки так, чтобы рез был продолжением незаваренных пазов конической части муфты. Обе половинки снимают с шаблона, абразивным кругом расчищают корень всех швов и проваривают их изнутри. Усиление подварочных швов, соединяющих коническую часть муфты с цилиндрической l3, снимают абразивным кругом заподлицо с основным металлом.

Рис. 18. Муфта для ремонта трубопровода:

1 - пробка; 2 - бобышка

Таблица 15

Размеры муфты для ремонта

Размеры трубы, мм

Размеры муфты, мм

d

S

D

S

L, не менее

l

l1 - l2

l3

k

219

6

273

8

200

 

 

 

 

273

8

325

8

250

 

 

 

 

325

8

377

9

300

 

 

 

 

377

9

426

9

300

 

 

 

 

426

9

530

10

300

 

 

 

 

530

7

720

10

350

 

 

 

 

530

10

720

12

350

 

 

 

 

530

12

720

14

350

 

 

 

 

530

10

630

10

300

 

 

 

 

530

12

630

12

300

 

 

 

 

720

7

820

10

400

 

l ³ d

 

 

720

10

820

12

400

 

l1 - l2 ³ 0,1d

 

 

720

12

820

14

400

 

l3 ³ 0,5d

 

 

720

14

820

16

450

 

k = 0,2d

 

 

4.6.4.26.2. Ремонт по данной технологии разрешается без удаления перекачиваемого продукта из трубопровода и остаточном давлении не более 2,0 МПа.

4.6.4.26.3. Полумуфты собирают на поврежденном участке трубопровода, стягивают их между собой до получения минимального зазора, а затем сваривают продольные швы.

При этом бобышка должна находиться в верхней точке муфты.

4.6.4.26.4. После заварки продольных швов муфты устанавливают технологические кольца «К» и сваривают их продольные швы.

4.6.4.26.5. Продольные швы муфты и продольные швы колец должны быть смещены относительно друг друга на величину не менее 100 мм, а зазор между муфтой и кольцом должен быть 6 - 8 мм.

Сварка выполняется с полным проваром.

4.6.4.26.6. После сварки продольных швов муфту кольцевыми швами приваривают к трубе и технологическим кольцам.

4.6.4.26.7. Через бобышку заливают нагретую до 0,5 - 0,8 град. С от рабочей температуры перекачиваемого продукта антикоррозионную жидкость так, чтобы в полости между наружной стенкой трубы и внутренней стенкой муфты не осталось воздушных пузырьков.

4.6.4.26.8. После заполнения полости в бобышку вставляют пробку и обваривают ее по периметру.

4.6.4.26.9. В качестве антикоррозионной жидкости может быть использовано трансформаторное масло, нефть.

4.6.4.26.10. После окончания сварочных работ со швов тщательно удаляется шлак и на отремонтированный участок наносится изоляция.

4.6.4.27. Перед наложением аварийных хомутов, состоящих из двух половин (см. рис. 1) с прокладкой из резины или свинца, а также с лапами и болтовыми стяжками (прокладка перекрывает дефект не менее чем на 40 мм в каждую сторону), необходимо определить границы дефекта (трещины). С этой целью участок трубопровода до 200 мм в каждую сторону от дефекта тщательно очищается от перекачиваемого продукта, изоляции и ржавчины, протирается ветошью, смоченной в керосине и просушивается.

После этого следует с помощью специальных приборов (ультразвуковых либо оптических) установить границы дефекта. Концы трещин засверливаются на расстоянии не менее 30 мм от краев; эти глухие отверстия забиваются металлическими пробками и обвариваются.

Половины хомутов шириной 200 - 300 мм устанавливаются на поврежденное место, стягиваются болтами. Зазор между трубой и хомутом не должен превышать 1,5 - 2,0 мм.

Прихватками закрепляется половина хомута, закрывающая дефектное место трубопровода. Затем выворачиваются болты, обрезаются лапы и к трубопроводу приваривается прихваченная половина хомута.

Примечания:

а) данная технология применяется в тех случаях, если принято решение о временном перекрытии дефекта; в течение года отремонтированный участок должен быть вырезан и заменен новой вставкой;

б) если целесообразно сразу отремонтировать дефектный участок более качественно (без последующей замены участка), то следует обваривать обе половинки хомута так, как это делается при установке муфты (см. п.п. 4.6.4.16 - 4.6.4.23).

4.6.4.27.1. Аварии при трещинах длиной до 50 мм на продольных стыках ликвидируются также с помощью аварийных хомутов, но при условии предварительного сошлифовывания сварного шва заподлицо с трубой.

4.6.4.28. Сквозные трещины длиной до 50 мм в поперечных сварных стыках должны ликвидироваться с помощью специальных галтельных хомутов, имеющих желоб. При монтаже в желоб помещается дефектный стык с прокладкой из бензостойкой резины или свинца. Прокладка должна перекрывать трещину на 50 - 70 мм с каждой стороны. Монтаж хомута с продольной вставкой и сварка выполняются по следующей технологии:

устанавливают половинки хомута на поврежденном месте трубопровода;

болтами (шпильками) стягивают хомут таким образом, чтобы сплошной шов имел зазор 2 - 3 мм, а внутреннюю поверхность хомута подгоняют к поверхности трубопровода;

приваривают половинки хомута между собой усиленным швом согласно ГОСТ 16037-80;

приваривают хомут к трубопроводу усиленными кольцевыми швами (сначала одну сторону, потом - другую);

окончательно подгоняют вставку по месту и приваривают сплошными швами;

после окончания приварки хомута к трубопроводу лапы привариваемых половин обрезаются заподлицо и производится визуальный контроль сварных швов на наличие дефектов.

Количество слоев сварного шва при приварке хомутов, заплат, муфт зависит от толщины материала: при толщине 7 - 9 мм делается 3 слоя, при толщине более 9 мм - 4 слоя.

4.6.4.29. Отдельные сквозные отверстия (свищи) диаметром до 8 - 12 мм могут быть устранены забивкой стальных пробок («чопиков»). Для обеспечения плотности «чопик» выполняется конической формы. «Чопик» забивают до полного перекрытия течи. Затем выступающую часть «чопика» срезают электросваркой, устанавливают сверху заплату с прокладкой из резины или свинца, прижимают и обваривают заплату.

Врезка отводов

4.6.5. С целью ускорения опорожнения трубопровода от перекачиваемого нефтепродукта, сооружения и подключения обводной линии, подключения резервной линии и т.д., при выполнении аварийно-восстановительного ремонта может быть принято решение о врезке отвода в основную магистраль.

4.6.5.1. В зависимости от диаметра врезаемого отвода выбирается соответствующая технология врезки.

Примечание: ниже рассмотрены технологические требования для присоединения отводов при соотношении d/D < 0,5 (где d - диаметр отвода, D - диаметр магистрали). При больших значениях d/D работы следует выполнять по специальным инструкциям.

4.6.5.2. При врезке отводов диаметром до 150 мм может быть применена технология врезки патрубков с соблюдением следующих требований:

врезаемый патрубок с задвижкой по прочностным характеристикам должен соответствовать основному трубопроводу;

высота патрубка (отвода) должна определяться технологически, исходя из конструкции применяемого прибора для врезки;

обязательна установка усиливающего воротника (рис. 19) при врезке отвода диаметром 100 мм и более, а сам воротник должен изготавливаться из трубы диаметром, равным диаметру магистрали с большей или равной толщиной стенки; ширина воротника - «в» должна быть равна в = 0,4d, где d - диаметр отвода, но не менее 100 мм. Разделка кромок свариваемых деталей показана на рис. 19, а по всему периметру соединения отвода с магистралью должна быть выполнена внутренняя подварка.

Рис. 19. Присоединение патрубка (отвода)

4.6.5.3. Врезка отводов диаметром 200 мм и более (рис. 20) должна выполняться путем присоединения к трубопроводу составного тройника заводского изготовления (тройник состоит из двух полуобечаек, одна из которых имеет отвод и усиливающие полукольца).

Подготовка к монтажным работам включает:

очистку места присоединения от изоляции;

определение местонахождения продольных и поперечных сварных швов;

определение толщины стенки трубы и ее качества (ультразвуковым методом контролируется пояс шириной 40 - 60 мм под предполагаемые кольцевые швы), стенка трубы не должна иметь дефектов и отклонений толщины более допускаемой по СНиП;

места под сварку следует зачистить до металлического блеска с помощью шлифмашинки, напильников, щеток;

кромки свариваемых деталей тройника зачищаются от грязи и ржавчины.

Рис. 20. Схема сборки тройника:

1 - стенка верхней полумуфты; 2 - стенка нижней полумуфты; 3 - стенка трубы; 4 - прокладка толщиной 1 - 2 мм (асбест); d - диаметр отвода; D - диаметр трубопровода; t - толщина стенки трубопровода; t1 - толщина стенки усиливающего кольца; H - ширина усиливающего кольца

4.6.5.4. Работы по присоединению тройника разрешается выполнять на опорожненных и заполненных перекачиваемым продуктом трубопроводах при внутреннем давлении до 2,0 МПа.

4.6.5.5. Тройник следует собирать на трубопроводе с помощью технологических скоб или наружных центраторов, добиваясь плотного прилегания полуобечаек к стенке трубы и обеспечения зазора между их кромками в 2 - 5 мм.

Монтаж и сварка тройниковых элементов (продольные и кольцевые швы обечаек, технологические кольца) выполняются с соблюдением требований технологии, приведенной в п.п. 4.6.4.26.1 - 4.6.4.26.10 для установки муфты.

4.6.5.6. Наружные центраторы и др. сборочные технологически элементы снимаются только после сварки корневого слоя продольных швов как тройника, так и силовых элементов.

4.6.5.7. Сварка продольных кромок полуобечаек тройника, особенно первых двух проходов, должна выполняться от середины к краям обратно-ступенчатым методом. Допускается одновременная сварка двух продольных швов или четырьмя сварщиками.

4.6.5.8. После сварки продольных швов силовых элементов и тройника должны выполняться кольцевые швы способом сварки «на подъем» с обязательным оплавлением всех составных элементов - стенки трубопровода, кромок тройника и силовых элементов.

Ремонт тройников

4.6.5.9. При авариях трубопроводов из-за дефектов тройников (отводов) следует вырезать тройниковый узел целиком и заменить его новым. В этом случае работы производятся аналогично вырезке и замене участка трубопровода («катушки»).

Последовательность работ должна быть следующей:

сначала отрезается соединение со стороны отвода, затем вырезается тройник как «катушка» из основной магистрали;

монтаж нового тройника начинается с вставки его в основную магистраль (как «катушка»); затем выполняется соединение отвода с соответствующим трубопроводом (при необходимости - через «катушку»).

Ликвидация аварий на линейной арматуре

4.6.6. Решение о способе ремонта при авариях на арматуре принимается руководителем работ по ликвидации аварии по согласованию с руководством ПО АО или АО в зависимости от наличия технических средств (заменяющих деталей и узлов, приспособлений и механизмов для ремонта, материалов и т.д.)

4.6.6.1. При повреждении корпуса, задвижки (обратного клапана) необходимо вырезать задвижку из трубопровода и вставить на ее место новую. При этом вырезка поврежденной арматуры производится аналогично вырезке поврежденного участка трубопровода, а соединение арматуры с трубопроводом должно производиться с помощью переходников заводского изготовления или катушек из труб с промежуточной толщиной стенки длиной не менее 250 мм. Работы выполняются с соблюдением требований завода-изготовителя задвижки.

4.6.6.2. При утечках во фланцевых соединениях, а также неисправностях в деталях арматуры, ликвидировать аварии допускается после освобождения ремонтируемого участка от перекачиваемого продукта до уровня ремонтируемого разъема. Замена прокладки может производиться в исключительных случаях по специальной технологии.

4.6.6.3. Набивка сальников задвижек должна производиться после остановки перекачки при отсутствии избыточного давления в трубопроводе.

Допускается набивка сальниковых уплотнений без остановки перекачки, которая должна выполняться по специальной инструкции, утвержденной или разрешенной к применению главным инженером АО.

4.6.6.3.1. Рекомендуется следующий способ и технология набивки сальниковой камеры. В качестве набивки должна применяться крошка маслобензостойкой резины (крошка может быть получена из бывших в употреблении шаровых разделителей или манжет скребков; размеры зерен крошки должны быть в пределах от 10 ´ 10 ´ 0,5 мм до 5 ´ 5 ´ 0,2 мм).

4.6.6.3.2. Смоченная в масле (машинном, трансформаторном, автоле и т.д.) крошка нагнетается в сальниковую камеру через специально подготовленное отверстие с помощью приспособления для набивки сальника (рис. 21).

Примечания:

1. Технологическая последовательность выполнения операций:

сверление отверстия под резьбу диаметром 22 мм на глубину (В-5) мм; где В - толщина стенок сальниковой камеры;

нарезается резьба М24;

вворачивается приспособление для сверловки под давлением, состоящее из пробкового крана высокого давления и камеры уплотнения;

после сверловки - закрытие крана и отвинчивание уплотнительной камеры сверла;

открытие крана;

ослабление грундбуксы;

нагнетание набивки до появления масла в щели между штоком задвижки и грундбуксой;

проверка легкости вращения или хода штока задвижки;

перекрытие крана и демонтаж нагнетателя.

2. Нагнетание наполнителя в сальниковую камеру производится гидротрансформатором (нагнетателем, рис. 21), который приводится в действие с помощью ручного насоса, соединяемого шлангом высокого давления с цилиндром низкого давления нагнетателя. (Этот цилиндр и манжеты могут быть взяты от главного цилиндра экскаватора ЭО-2621).

Ликвидация повреждений трубопроводов

4.6.7. В случае обнаружения повреждений трубопровода в виде коррозионных язв, царапин, забоин, задиров, вмятин, гофр и т.п. необходимо отремонтировать поврежденные участки.

4.6.7.1. Повреждения стенки трубопровода глубиной до 5 % от толщины трубы (царапины, язвы, задиры, забоины) ликвидируются шлифованием. При этом толщина стенки не должна быть выведена за пределы минусового допуска труб.


Рис. 21. Набивка сальника под давлением


4.6.7.2. Коррозионные повреждения глубиной более 5 % от толщины стенки труб могут быть отремонтированы в соответствии с РД 39-0147103-360-89 «Инструкция по безопасному ведению сварочных работ при ремонте нефте- и продуктопроводов под давлением» /9/.

4.6.7.3. В случае обнаружения вмятин глубиной до 3,5 % от диаметра трубопровода разрешается выправление их с помощью безударных устройств в соответствии с п. 4.6.3.13.

4.6.7.4. Все повреждения, которые не могут быть ликвидированы шлифованием, заваркой или выправлением, должны быть отремонтированы путем наложения и приварки накладных элементов в соответствии с РД 39-0147103-360-89 /9/.

4.6.7.5. Ремонт корродированных стенок трубопроводов путем формирования на их наружную поверхность высокопрочных стеклопластиков изоляционно-силовых оболочек (ИСО) следует производить согласно «Инструкции по восстановлению несущей способности нефтепроводов диаметром 273 - 820 мм с применением высокопрочных стеклопластиков» РД 39-Р-015-90 /14/.

4.7. Контроль сварных соединений и устранение их дефектов

4.7.1. Контроль качества сварочно-монтажных работ при ремонте трубопроводов организуется ответственным руководителем работ и выполняется:

пооперационным контролем, осуществляемым в процессе сборки и сварки стыков;

визуальным осмотром и обмером геометрических параметров сварных швов;

проверкой сплошности наплавленного металла неразрушающими методами контроля.

По результатам контроля оценивается качество работ и дается заключение о готовности трубопровода к пуску.

4.7.2. Некачественные сварные соединения разрешается ремонтировать, если в них имеются любые недопустимые дефекты (кроме трещин длиной более 50 мм) при условии, что суммарная длина участков ремонта не превышает 1/6 периметра стыка.

Стыки, имеющие трещины длиной более 50 мм или суммарную протяженность участков дефектов более 1/6 периметра стыка, необходимо вырезать.

Дефекты сварных соединений должны быть полностью удалены с помощью абразивных кругов или газовой резки с последующей зачисткой разделки до металлического блеска.

4.7.3. При ремонте стыка с трещиной длиной до 50 мм засверливают два отверстия на расстоянии не менее 30 мм от краев трещины с каждой стороны, дефектный участок вышлифовывают полностью и заваривают вновь.

4.7.4. Сварные швы после устранения всех дефектов подвергаются контролю неразрушающими методами в объеме 100 %.

4.7.5. Повторный ремонт сварных соединений не допускается.

4.8. Изоляция трубопровода

4.8.1. Для противокоррозионной защиты отремонтированного участка трубопровода должна применяться усиленная изоляция.

4.8.2. Изоляция на отремонтированный участок должна наноситься на очищенную поверхность трубопровода. Очистка выполняется в два этапа:

предварительный - после вскрытия трубопровода и создания ремонтного котлована;

окончательный - после окончания сварочно-монтажных работ.

4.8.3. Очистка должна производиться пневматическими или механическими щетками, скребками с последующей протиркой ветошью. Острые выступы, заусенцы, и брызги металла должны срубаться зубилом и зачищаться специальным инструментом.

4.8.4. На сухую чистую поверхность трубопровода и на 500 мм старой изоляции с обеих сторон отремонтированного участка ровным слоем без подтеков, сгустков и пропусков с помощью брезентового полотенца наносится грунтовка. На старую изоляцию грунтовка может наноситься кистью.

В качестве грунтовок используется:

раствор битума в бензине в отношении 1:3 (по объему);

клей № 88, разбавленный бензином (Б-70 или «Калоша») в отношении 1:1, вязкостью не более 30 сек по ВЗ-4.

Качество грунтовки проверяется внешним осмотром.

4.8.5. На высохшую грунтовку должна наматываться изоляционная лента в 3 - 4 слоя с нахлестом не менее 20 мм. Нахлест конца каждого слоя новой ленты на предыдущий составляет 300 мм и на старую изоляцию - 500 мм с обеих сторон от отремонтированного участка.

4.8.6. Лента наносится вручную двумя рабочими, стоящими по обе стороны трубопровода и передающими друг другу рулон ленты по мере ее намотки.

4.8.7. Концы ленты должны быть залиты битумной мастикой для улучшения герметизации заизолированного участка.

4.8.8. Качество заизолированного покрытия должно контролироваться внешним осмотром на прилипаемость и сплошность.

4.8.9. Внешний осмотр изолированного покрытия производится в процессе наложения каждого слоя изоляции. В изоляционном покрытии не должно быть пузырей, складок, зазоров между витками, разрывов и морщин.

4.8.10. Проверка прилипаемости изоляционного покрытия к трубопроводу заключается в следующем: в покрытии делают два надреза ножом под углом 50 град. и, если слои сами не отслаиваются, а поднимаются ножом с некоторым усилием (отрыв когезионный), то прилипаемость считается удовлетворительной.

4.8.11. Контроль изоляционного покрытия на сплошность производится искровым дефектоскопом.

4.8.12. При выявлении дефекта ремонт изоляции производится путем вырезки поврежденного участка (пузырь, складки, морщины) и наклейки 3-х слойной заплаты из той же изоляционной ленты, из которой произведено изоляционное покрытие. Заплата должна перекрывать вырезанный участок изоляции по периметру не менее чем на 100 мм.

4.8.13. Во всех случаях, когда имеется опасность нарушения изоляции при засыпке ремонтного котлована или при протаскивании отремонтированного участка в сложных условиях, необходимо защищать изоляцию футеровкой.

4.9. Ликвидация последствий аварий

4.9.1. После восстановления поврежденного участка трубопровода перекачиваемый нефтепродукт из ям-накопителей (земляного амбара, обвалования или других емкостей) должен быть закачан в отремонтированный или другой параллельно проложенный трубопровод передвижными насосными агрегатами ПНА-1, ПНА-2 или другими высоконапорными агрегатами, или перевезен в специальных емкостях на ближайшую перекачивающую станцию.

4.9.2. Закачка нефтепродукта в трубопровод производится через специально подготовленную обвязку с задвижкой и обратным клапаном. Обвязка должна быть предварительно опрессована на рабочее (проектное) давление трубопровода. После закачки задвижка должна быть демонтирована по специальной технологии. Разрешается оставлять задвижку, но в этом случае она должна быть заглушена, заключена в колодец (или ограждение), у которого должен быть выставлен постоянный предупредительный знак.

4.9.3. Параллельно с откачкой нефтепродукта из ям-накопителей производятся работы по уменьшению количества нефтепродукта, впитавшегося в почву. Для этого на зеркало нефтепродукта, остающегося на поверхности после откачки насосами, наносится сорбент (торф, солома и т.д.) из расчета 0,5 куб. м сорбента на 10 кв. м поверхности пятна нефтепродукта. После пропитывания сорбента продуктом его собирают, не нарушая верхний слой почвы, и вывозят на специальные пункты, где сорбент готовится к утилизации. Если сорбент не впитал с поверхности почвы весь нефтепродукт, операцию повторяют. Для локализации перекачиваемого нефтепродукта к ямам-накопителям и дренажным канавам дополнительно сооружают систему приточных канав.

4.9.4. Ликвидация последствий при попадании перекачиваемого нефтепродукта в водоемы должна предусматривать очищение воды до предельно допустимых концентраций (ПДК) нефтепродуктов в воде.

С этой целью (кроме упомянутых в п. 4.3.5 технических средств) применяют различные адсорбенты (например, перлит), либо устраивают отстойники (на малых водотоках) в виде запруд. Во всех случаях следует согласовать с местными инспектирующими органами способ ликвидации последствий аварии, а по окончании работ - оформить акт о результатах. Одновременно с работой по сбору перекачиваемого нефтепродукта на воде необходимо очистить от него берега водоемов.

4.9.5. Очистка поверхности болота от остатков нефтепродукта может быть осуществлена путем его смыва с поверхности болота или выжигания. При наличии на болоте сухого торфа выжигание нефтепродукта допускается только после полного водонасыщения слоя торфа, исключающего возможное его загорание.

4.9.5.1. Метод смыва нефтепродукта заключается в следующем: гидромонитором, поливомоечной машиной или другими техническими средствами, обеспечивающими подачу воды под давлением, вода подается из ближайшего источника по направлению к месту аварии или повреждения. Вода с нефтепродуктом собирается в приямке, устроенном на границе разлитого перекачиваемого нефтепродукта, откуда откачивается в котлован или обвалование.

4.9.5.2. Выжигание остатков разлитого нефтепродукта допускается как исключение при невозможности сбора его другими способами и производится после оформления разрешения на производство огневых работ, согласования с территориальными органами пожарной охраны и владельцами близрасположенных сооружений и коммуникаций.

4.9.5.3. Для предотвращения распространения нефтепродукта вокруг замазученной территории, по мере необходимости, создается противопожарная полоса.

4.9.6. При ликвидации разлива перекачиваемого нефтепродукта запрещается:

засыпать ямы-накопители и дренажные канавы с неполностью откачанным продуктом;

снимать загрязненную почву и вывозить ее в отвалы.

4.9.7. После окончания аварийно-восстановительных работ должна быть проведена рекультивация земель, поврежденных в результате аварии согласно РД 39-0147103-365-86 /15/.

4.10. Другие работы

4.10.1. Ряд специальных требований и операций следует выполнять при авариях, вызванных природными явлениями в горах (оползни, размывы, землетрясения), а также при авариях в пустынных районах, скальных грунтах и на переходах через автомобильные и железные дороги.

4.10.2. Оползневые явления в горах приводят, как правило, к разрыву или смятию трубопровода. Устранение дефекта на трубопроводе при оползнях не гарантирует того, что авария не повторится, и действие оползня может продолжаться.

4.10.3. Восстановление трубопровода выполняется в два этапа: восстановление работоспособности трубопровода (срочные работы); мероприятия по укреплению оползня (по специальному графику).

4.10.4. К срочным работам, выполняемым силами аварийно-восстановительной службы относятся:

а) установление планового очертания оползня;

б) выбор способа восстановления поврежденного участка трубопровода (замена катушки, монтаж обводной линии и т.п.);

в) ликвидация аварии и возобновление перекачки;

г) устройство траншеи вдоль трубопровода для устранения давления грунта на трубопровод (ширина траншеи со стороны давления грунта должна быть не менее 1 м); труба полностью освобождается от грунта (рис. 22) и под нее укладываются лежки;

д) комплекс мер по отводу поверхностного стока вод и перехвату грунтовых вод с тем, чтобы уменьшить обводнение оползающего грунта и тем самым увеличить коэффициент устойчивости (замедлить скорость движения оползня).

4.10.5. Полное восстановление трубопровода и его защита от действия оползня возможны только в результате проведения мероприятий:

всестороннего обследования оползня специализированной организацией (определяют очертания поверхности скольжения и глубину оползня до коренных устойчивых пород, физико-механические характеристики грунтов и зависимость их от влажности; определяют коэффициент устойчивости оползня и т.п.);

изучение напряженного состояния трубопровода в оползне (в том числе определяют допустимую стрелку прогиба по условию прочности труб);

разработка проектной организацией специального проекта и графика выполнения работ по закреплению оползня или по переносу трубопровода на новую трассу;

выполнения работ согласно проекту.

4.10.6. На весь период времени движения оползня (до полного его закрепления) необходимо:

принять меры по предотвращению давления оползающего грунта на трубопровод;

осуществлять контроль за состоянием и движением оползня.

Рис. 22. Временная защита трубопровода в оползне

4.10.7. В случае невозможности укрепления оползня следует вынести трубопровод на новую трассу по специальному проекту.

4.10.8. Если наземный или надземный участок трубопровода, проложенный в горах, подвергся воздействию осыпи или обвала, в результате чего участок оказался засыпанным, то его необходимо срочно расчистить, обследовать состояние изоляции и стенки трубы и, при необходимости, выполнить ремонт.

4.10.9. В случае повреждения или разрушения опор надземных участков трубопровода или переходов вследствие селей, обвалов, размывов, сейсмических воздействий, приведших к смещению трубопровода от проектного положения за счет его упругой деформации, необходимо срочно установить временные опоры в виде клетей из шпал, бревен и др. подручных материалов, не изменяя положения трубопровода.

Затем восстанавливаются либо сооружаются заново постоянные опоры, а трубопровод укладывается на них при остановленной перекачке.

При обнаружении деформации трубопровода (гофры, вмятины и др.) дефектный участок следует заменить новым. Новый участок до врезки в трубопровод должен быть подвергнут контролю и испытанию на прочность.

4.10.10. При ликвидации аварии в результате размыва и образования участков провисания необходимо восстановить первоначальное положение и закрепление трубопровода, а также выполнить противоэрозионные мероприятия.

4.10.11. Аварии трубопровода в горных условиях после сейсмических воздействий ликвидируются с соблюдением вышеизложенных требований настоящей Инструкции. Однако, т.к. в результате землетрясений трубопровод подвергается критическим воздействиям в нескольких местах, перекачку следует возобновить только после обследования и переиспытания данного участка.

4.10.12. При восстановлении трубопровода на участках в скальных грунтах необходимо учитывать трудность создания ремонтного котлована (требуется разработать свыше 20 куб. м скального грунта) в стесненных условиях непосредственно у трубопровода.

4.10.13. Наиболее целесообразным способом создания ремонтного котлована в скальных грунтах является их разработка с помощью баровых установок (рис. 23).

Рис. 23. Схема разработки ремонтного котлована в скальных грунтах баровыми установками:

1 - поперечная щель; 2 - продольная щель; 3 - насыпной грунт; 4 - трубопровод; 5 - скальный грунт.

Рекомендуется соблюдать следующий порядок производства работ:

определить положение трубопровода;

прорезать поперечные щели с одной стороны трубопровода на глубину будущего котлована;

прорезать продольную щель по периметру котлована;

разрушить отрезаемые объемы с помощью гидродомкратов;

переместить установку на другую сторону трубопровода и выполнить аналогичные операции;

выбрать из котлована грунт с помощью экскаватора;

доработать (если требуется) с помощью отбойного молотка выступы на дне котлована.

4.10.14. Ориентировочное время прорезания 20 - 30 погонных метров - 5 - 7 часов.

4.10.15. Остальные операции восстановительного ремонта трубопроводов в скальных грунтах выполняются обычными способами.

4.10.16. Аварии на переходах трубопроводов через автомобильные и железные дороги ликвидируются, как правило, путем замены дефектного участка новым.

4.10.17. Выполнение АВР на переходах магистральных трубопроводов через автомобильные и железные дороги включают следующие операции:

создание рабочего и приемного котлованов;

вырезка поврежденного участка трубопровода по обе стороны кожуха;

для демонтажа поврежденного участка вырезка участка трубопровода в рабочем котловане длиной: 2l2 + lq + 10 м;

освобождение кожуха от поврежденного трубопровода;

прокладка нового трубопровода внутри кожуха;

приварка трубопровода в приемном котловане;

вварка трубопровода в рабочем котловане;

устройство уплотнений, колодца, отводной канавы.

Длина перехода:

lпер = 2l2 + lq,

длина рабочего котлована:

lраб. котл. = 2l2 + lq + 10 (м),

где l2 = 25 м - для дорог общей сети;

l2 = 15 м - для промышленных железных дорог;

l2 = 10 м - автомобильные дороги;

l2пр. котл. = 2 м

l3 = 40 м - для дорог общей сети;

l3 = 25 м - для промышленных железных дорог.

4.10.18. Рабочий котлован должен иметь размеры, позволяющие установить в нем все необходимые машины и механизмы, выполнить работы, связанные с вытаскиванием поврежденного трубопровода из кожуха и прокладкой трубопровода внутри кожуха. Длина рабочего котлована определяется в соответствии с рис. 24.

4.10.19. Приемный котлован должен иметь размеры, позволяющие выполнить демонтаж поврежденного участка трубы (вырезку поврежденного трубопровода), сдвиг поврежденного участка трубопровода относительно кожуха в случае заклинивания и монтаж (приварку) новой катушки, герметизацию соединения кожуха и трубы.

Рис. 24. Схема разработки ремонтных котлованов на переходах через железные и автодороги

4.10.20. Длина вырезаемого участка трубопровода в рабочем котловане для обеспечения вытаскивания поврежденного трубопровода из кожуха должна равняться длине поврежденного участка плюс расстояние для обеспечения работы по вытаскиванию поврежденного трубопровода.

4.10.21. Протаскивание поврежденного трубопровода из кожуха производится тросами. Крюк троса с одной стороны цепляют за приваренные заранее серьги (ушки) к поврежденному трубопроводу или вырезанные в нем окна, с другой стороны к трактору или к лебедке.

4.10.22. Количество тросов и их характеристики определяются потребным тяговым усилием.

4.10.23. Для облегчения протаскивания поврежденного трубопровода (в случае заклинивания) возможно применение предварительной его сдвижки методом одновременного проворачивания со стороны рабочего и приемного котлована или протаскивания со стороны приемного котлована с одновременной вытяжкой из рабочего котлована.

4.10.24. При необходимости на трубопроводе закрепляют роликовые или др. опорные устройства, облегчающие процесс протаскивания трубопровода в кожух и фиксацию его положения таким образом, чтобы исключался контакт между кожухом и трубопроводом.

4.10.25. После земляных работ полностью восстанавливается начальное состояние придорожных сооружений, а также ландшафт местности, так как не восстановленный рельеф может интенсивно деформироваться под влиянием дождей, ветров и др. климатический факторов.

4.10.26. В случае невозможности вытаскивания поврежденного трубопровода из кожуха или значительной сдвижки его вместе с кожухом необходимо произвести ремонт созданием нового перехода.

4.10.27. Ремонт отказавшего участка трубопровода на переходе под автомобильными дорогами возможно осуществить разработкой траншей. При этом организуется временный объезд, который должен полностью заменить участок дороги, выведенный из эксплуатации по согласованию с ГАИ.

4.10.28. Ремонт трубопроводов на переходах через автомобильные дороги возможно осуществить частичным вскрытием автомобильной дороги и заменой отказавшего трубопровода с разработкой траншей. Все работы по частичному перекрытию дороги необходимо осуществлять по согласованию с ГАИ.

4.10.29. Засыпку восстановленного участка в пределах полотна дороги после производства ремонтных работ необходимо производить только гравием с послойным уплотнением грунта. Восстановление конструкции дороги (покрытие, насыпь и т.п.) выполняется по согласованию с эксплуатирующей ее организацией.

5. ТЕХНИКА БЕЗОПАСНОСТИ ПРИ ЛИКВИДАЦИИ АВАРИИ

5.1. Организация и производство аварийно-восстановительных работ на магистральных нефтепродуктопроводах должны соответствовать требованиям «Правил технической эксплуатации магистральных нефтепродуктопроводов» /1/, «Правил техники безопасности и промышленной санитарии при эксплуатации магистральных нефтепродуктопроводов» /4/, «Правил пожарной безопасности в Российской Федерации» /11/, «Правил пожарной безопасности при эксплуатации предприятий Госкомнефтепродукта СССР» /25/ и настоящей «Инструкции».

5.2. Перед началом работ по ликвидации аварий весь привлекаемый к ним персонал должен быть дополнительно проинструктирован ответственным производителем работ по безопасным методам и приемам ведения АВР, а также по правилам поведения во взрыво- и пожароопасной обстановке и других опасных условиях и обстоятельствах данной аварии. Запрещается допускать к работе заболевших и лиц в нетрезвом состоянии.

5.3. Персонал, выполняющий работы по ликвидации аварий и их последствий, должен быть одет в спецодежду и спецобувь согласно «Табелю технического оснащения аварийно-восстановительных пунктов магистральных нефтепродуктопроводов» /17/.

К работам в непосредственном контакте с разлитым нефтепродуктом допускаются только работники в соответствующей одежде, в непропускающей перекачиваемый продукт обуви и обеспеченные необходимыми средствами индивидуальной защиты (шланговыми противогазами, защитными очками, предохранительными поясами и т.д.).

5.4. При производстве аварийно-восстановительных работ продолжительностью более 12 часов для работающих должны быть созданы бытовые и санитарные условия в соответствии с действующими нормами.

5.5. Выхлопные трубы от двигателей внутреннего сгорания машин и механизмов должны быть выполнены с соблюдением противопожарных требований и оборудованы глушителями - искрогасителями, полностью исключающими возможность попадания искр от работающего двигателя в атмосферу.

5.6. Все агрегаты и механизмы в рабочей зоне устанавливаются в соответствии с п.п. 4.2.5 и 4.2.6. на безопасных расстояниях. Шланги, трубы, кабели и др. инвентарные соединительные элементы и узлы агрегатов должны быть исправными и использоваться только по назначению в соответствии с их техническими характеристиками. Временные линии для закачки продукта в трубопровод должны быть предварительно опрессованы на рабочее давление.

5.7. В слабых грунтах и топких местах должен быть устроен настил из бревен, брусьев, инвентарных щитов или сланей.

Общая нагрузка технических средств на настил не должна превышать расчетной величины, а для инвентарных покрытий - паспортных данных. Устойчивость работающих на настилах (покрытиях) механизмов должна обеспечиваться заякориванием либо оборудованием контргрузов.

5.9. Ремонтная площадка должна быть очищена от нефтепродукта и замазученности в радиусе 15 м путем снятия плодородного (биологически активного) верхнего слоя почвы (глубина снятия определяется по ГОСТ 17.5.3.06-85 /30/) и перемещения его во временный отвал, технической и биологической рекультивации.

5.9.1. Рекультивированные площади после завершения предусмотренных проектом мероприятий передаются землевладельцам для дальнейшего окультуривания и вовлечения в хозяйственный оборот в соответствии с «Положением о порядке передачи рекультивированных земель землепользователям предприятиями, организациями и учреждениями, разрабатывающими месторождения полезных ископаемых и торфа, проводящими геологоразведочные, изыскательские, строительные и иные работы, связанные с нарушением почвенного покрова» /31/.

5.9.2. Основанием для разработки земли землевладельцу служит акт, который содержит:

перечень проведенных мероприятий по рекультивации нарушенных и загрязненных нефтепродуктом земель с указанием сроков выполнения;

анализы почв и растительности после завершения рекультивации, подтверждающие эффективность рекультивационных работ;

анализы почв и растительности на контрольном участке.

5.9.3. Анализы проводятся по стандартным методикам в лабораториях, аттестованных для проведения подобных работ.

5.10. В сложных природно-климатических условиях трассы (экстремальное состояние погоды, пустыня, горные районы) руководитель аварийных работ на период производства АВР должен иметь постоянную связь с селевой и метеорологическими станциями и своевременно оповещать персонал о резких изменениях погоды и надвигающихся стихийных бедствиях (пурга, ураганный ветер, снегопад, сель, гроза и т.п.). Одновременно с этим им должны быть приняты меры по обеспечению безопасности людей (определены заранее безопасные места и укрытия, организована страховка работающих, система сигнализации и т.п.).

5.11. До начала работ по ликвидации аварий на горных участках трубопроводов руководитель работ должен осмотреть зону производства АВР и принять меры по обеспечению безопасности работ (удаление нависших камней, деревьев, укрепление оползающих откосов и насыпей, укрепление стен и сводов тоннеля, отвод поверхностных вод).

5.12. При работе на склонах крутизной более 35 градусов рабочие должны быть обеспечены съемными металлическими подковами с шипами, надеваемыми на подошвы обуви для уменьшения скольжения.

5.13. Во время работы на откосах высотой более 3 м и крутизной более 45 градусов (а при влажных грунтах крутизной более 30 градусов) рабочие обязаны закрепляться предохранительными поясами за стальной штырь или надежную опору. Штырь заделывается в вертикальный шпур, пробуренный на глубину 0,5 м в скальных грунтах или на 0,7 м в связанных грунтах.

5.14. Разработку грунта в непосредственной близости от действующих подземных коммуникаций следует выполнять в соответствии с «Правилами техники безопасности и промышленной санитарии при эксплуатации магистральных нефтепродуктопроводов» /4/. Необходимо пользоваться инструментом, исключающим искрообразование.

5.15. При ручной разработке мерзлого грунта клинья должны быть снабжены удерживающими рукоятками. Запрещается держать клинья руками.

5.16. Размеры ремонтного котлована должны обеспечить свободное производство всех видов работ при ликвидации повреждения (центровку труб, сварку неповоротных стыков, противокоррозионную изоляцию). Глубина котлована зависит от глубины заложения трубопровода и должна быть не менее чем 0,5 - 0,6 м ниже низа трубы. Форма котлована (откоса) должна обеспечивать устойчивость стенок (исключить обвал грунта). С этой целью допускается рытье котлована (траншеи) без откосов и креплений, если глубина его не превышает значений, указанных в п. 4.4.4. настоящей Инструкции (см. табл. 2). В котловане должно быть предусмотрено не менее двух удобных выходов в противоположных направлениях.

5.17. Работы в котловане по зачистке и уборке продукта должны выполняться с соблюдением требований действующих «Правил техники безопасности...» /4/ и «Типовой инструкции по организации безопасного проведения газоопасных работ» /24/.

5.18. При сильном притоке грунтовых вод стенки ремонтного котлована должны крепиться металлическими или деревянными шпунтами, а при отсутствии их - деревянными сваями.

5.19. Во время нахождения людей в котловане запрещается производить на бровке работы, связанные с перемещением механизмов.

5.20. Если в процессе работы в стенках котлована появятся трещины, грозящие обвалом, то рабочие должны немедленно покинуть его и принять меры против обрушения грунта (укрепления стенок котлована, срезание грунта или увеличение откосов и др.).

5.21. Во время ремонтных работ в котловане должны находиться только те лица, которые заняты выполнением конкретной работы в данное время.

5.22. Перед началом работ в котловане переносным газоанализатором проверяется уровень загазованности воздушной среды. При этом содержание паров нефтепродуктов и газов не должно превышать предельно допустимой концентрации (ПДК) по санитарным нормам. Значения предельно допустимых концентраций вредных веществ в воздухе рабочей зоны приведены в приложении 4.

Работа разрешается только после устранения опасных условий. В процессе работы следует периодически контролировать загазованность, а в случае необходимости - обеспечить принудительную вентиляцию.

5.23. Огневые работы должны выполняться в соответствии с «Правилами техники безопасности и промышленной санитарии при эксплуатации магистральных нефтепродуктопроводов» /4/, «Инструкцией по безопасному ведению сварочных работ при ремонте нефте- и продуктопроводов под давлением» (РД 39-0147103-160-89) /9/, «Типовой инструкцией по общим правилам безопасности при проведении огневых работ» /10/, «Правилами пожарной безопасности в Российской Федерации /11/, «Правилами пожарной безопасности при эксплуатации предприятий Госкомнефтепродукта СССР» /25/.

5.24. На проведение огневых работ должен быть оформлен наряд-допуск по специальной форме (приложение 5).

5.25. Перед началом огневых работ исполнители должны получить инструктаж по соблюдению мер безопасности при проведении огневых работ.

5.26. Глиняные и другие тампоны в трубопроводе должны плотно перекрывать внутреннюю полость, при трамбовке обеспечивать полную герметизацию концов ремонтируемого участка. Приспособления для трамбовки глины должны быть из материала, не дающего искр при ударах о трубу.

5.27. После набивки в ремонтируемом участке тампонов необходимо провести анализ воздуха на содержание горючих газов и паров для определения возможности проведения огневых работ.

Сварочные работы на трубопроводе допускаются при условии, что к месту огневых работ не будут поступать горючие пары и газы. Концентрация горючих паров и газов на ремонтируемом участке между герметизирующими тампонами трубопроводов не должна превышать предельно допустимую взрывобезопасную концентрацию: 5 % величины нижнего предела воспламенения данного пара или газа в воздухе (для бензина в объемных долях 0,04 % или 1,63 мг/л).

5.28. Для предотвращения возгорания резку трубопровода с применением взрывчатых веществ (УКЗ, ШКЗ и др.) можно выполнять после заполнения ремонтного котлована пеновоздушной смесью.

5.29. Если огневые работы продолжаются несколько дней и не исключена возможность внезапной утечки газов и паров, то перед началом и через каждый час во время этих работ необходимо контролировать состояние воздушной среды в ремонтном котловане и ремонтируемом трубопроводе.

Анализ производится после каждого перерыва и в случае, если у работающих возникают опасения возможности появления газов и паров нефтепродуктов на рабочем месте.

5.30. При невозможности соблюдения мер безопасности, предусмотренных нарядом-допуском, а также в случае появления на рабочем месте газов, паров нефтепродукта огневые работы должны быть немедленно прекращены, а работающие выведены из опасной зоны.

При обнаружении опасных концентраций необходимо:

выйти из загазованной зоны;

приостановить все работы, кроме требуемых по соображениям безопасности;

известить непосредственного руководителя работ;

ограничить загазованную зону знаками безопасности с учетом направления ветра и выставить посты в зоне поврежденного участка;

принять меры по устранению загазованности.

Работы могут быть возобновлены после устранения причин загазованности и утечки. При этом содержание паров нефтепродукта или газа не должно превышать предельно допустимой концентрации по санитарным нормам.

5.31. Рабочее место сварщика должно быть защищено от солнечных лучей, атмосферных осадков или сильного ветра зонтом, навесом и т.п.

5.32. Вырезка «окон» должна производиться специальным табельным приспособлением, допущенным к применению в установленном порядке.

5.33. До вырезки катушки во избежание создания опасной разности потенциалов между концами разрезаемого трубопровода последние шунтируются перемычкой или заземляются.

5.34. При вырезке участка необходимо следить за тем, чтобы перемычка или заземление не нарушались.

5.35. При вырезке «катушки» из трубопровода с применением энергии взрыва следует руководствоваться специальной инструкцией /23, 24/ и «Едиными правилами безопасности при взрывных работах» /12/.

5.36. При заполнении отремонтированного трубопровода перекачиваемым нефтепродуктом давление следует увеличивать постепенно и равномерно с постоянным контролем за показаниями приборов.

5.37. Во время поднятия давления в трубопроводе необходимо:

вести наблюдение за состоянием отремонтированного участка, находясь от него на расстоянии не ближе 50 м;

не допускать движения транспорта и нахождения людей вблизи от ремонтируемого участка.

5.38. При очистке старой изоляции запрещаются химические способы очистки и способы, сопровождающиеся снятием металлической стружки с поверхности трубопровода. При работах необходимо пользоваться защитными очками.

5.39. Работы по изоляции трубопроводов при ликвидации аварий относятся к разряду огнеопасных и требуют соблюдения соответствующих требований «Правил пожарной безопасности в Российской Федерации», «Правил пожарной безопасности при эксплуатации предприятий Госкомнефтепродукта СССР» и инструкций по хранению и использованию применяемых изоляционных материалов.

5.40. Транспортные средства, землеройные и грузоподъемные механизмы при производстве аварийно-восстановительных работ должны использоваться в строгом соответствии с их назначением, инструкциями по их эксплуатации и «Правилами техники безопасности и промышленной санитарии при эксплуатации магистральных нефтепродуктопроводов» /4/.

5.41. Постоянный контроль за соблюдением техники безопасности осуществляется руководителем работ или лицом, его замещающим.

5.42. Нарушение правил производства работ, охраны труда, техники безопасности, пожарной безопасности, срывов срока ликвидации аварии влечет за собой персональную ответственность в установленном порядке в зависимости от степени и характера нарушения в соответствии с должностными инструкциями.

СПИСОК ИСПОЛЬЗОВАННЫХ ИСТОЧНИКОВ

1. Правила технической эксплуатации магистральных нефтепродуктопроводов. - М.: Недра, 1988.

2. Правила охраны магистральных трубопроводов. - Уфа: ВНИИСПТнефть, 1992.

3. Положение о взаимоотношениях ведомств, коммуникации которых проходят в одном техническом коридоре. - Уфа: ВНИИСПТнефть, 1985.

4. Правила техники безопасности и промышленной санитарии при эксплуатации магистральных нефтепродуктопроводов. - М.: Недра, 1979.

5. СНиП III-42-80. Магистральные трубопроводы. Правила производства и приемки работ. - М.: Стройиздат, 1981.

6. СНиП III-4-80. Техника безопасности в строительстве. Правила производства и приемки работ. - М.: Стройиздат, 1983.

7. ВСН 006-89. Строительство магистральных и промысловых трубопроводов. Сварка. - М: Миннефтегазстрой, ВНИИСТ, 1990.

8. ВСН 31-81. Инструкция по производству строительных работ в охранных зонах магистральных трубопроводов Миннефтепрома. - Уфа: ВНИИСПТнефть, 1981.

9. РД 39-0147103-360-89. Инструкция по безопасному ведению сварочных работ при ремонте нефте- и продуктопроводов под давлением. - Уфа: ВНИИСПТнефть, 1989.

10. Типовая инструкция по общим правилам безопасности при проведении огневых работ. - М.: Роснефтепродукт, 1992.

11. Правила пожарной безопасности в Российской Федерации. М.: Инфра, 1994.

12. Единые правила безопасности при взрывных работах. - М.: Недра, 1976.

13. Инструкция по техническому расследованию, учету аварий и повреждений технологических объектов магистральных нефтепродуктопроводов и списанию сверхнормативных потерь нефтепродуктов. - М.: Госкомнефтепродукт СССР, 1984.

14. РД 39-Р-015-90. Инструкция по восстановлению несущей способности нефтепроводов диаметром 273 - 820 мм с применением высокопрочных стеклопластиков. - Уфа: ВНИИСПТнефть, 1990.

15. РД 39-0147103-365-86. Инструкция по рекультивации земель, загрязненных нефтью. - Уфа: ВНИИСПТнефть, 1987.

16. Отраслевые нормы бесплатной выдачи спецодежды, спецобуви и других средств индивидуальной защиты. - М.: 1975.

17. Табель технического оснащения аварийно-восстановительных пунктов магистральных нефтепродуктопроводов. - М.: АК «Транснефтепродукт», 1996.

18. Правила эксплуатации электроустановок потребителей. -М.: Энергоатомиздат, 1992.

19. Правила техники безопасности при эксплуатации электроустановок потребителей. - Днепропетровск, Проминь, 1977.

20. Каталог технических средств для АВР на магистральных нефтепроводах. - Уфа: ВНИИСПТнефть, 1986.

21. Каталог технических средств по сбору нефти с поверхности воды. - Уфа: ВНИИСПТнефть, 1987.

22. Временная инструкция по приварке тройников для производства экспериментальных работ на магистральных трубопроводах с применением оборудования для перекрытия трубопроводов ОПТ-720. - Уфа-Киев-Львов, 1987.

23. Система технического обслуживания и ремонта линейной части магистральных нефтепродуктопроводов. - Уфа: ИПТЭР, 1991.

24. Типовая инструкция по организации безопасного проведения газоопасных работ. - М.: Роснефтепродукт, 1992.

25. Правила пожарной безопасности при эксплуатации предприятий Госкомнефтепродукта СССР. - М.: Недра, 1984.

26. ТУ 88 УССР 085.345-85. Труборезы кумулятивные кольцевые седлообразные. Техническое описание и инструкция по эксплуатации. - Киев: ИЭС им. Е.О. Патона, АН УССР, 1985.

27. Инструкция о порядке хранения, использования и учета взрывчатых материалов. - М.: Госгортехнадзор СССР, 1984.

28. Правила перевозки взрывчатых материалов автомобильным транспортом. - М.: ВНИИ БД, 1983.

29. Временный порядок уведомления и представления органам Госгортехнадзора России информации по авариям и опасным условиям эксплуатации объектов магистрального трубопроводного транспорта газа и опасных жидкостей. Пост. Госгортехнадзора России от 04.05.95 № 22.

30. ГОСТ 17.5.3.06-85. Охрана природы. Земли. Требования к определению норм снятия плодородного слоя почвы при производстве земляных работ.

31. Положение о порядке передачи рекультивированных земель землепользователям предприятиями, организациями и учреждениями, разрабатывающими месторождения полезных ископаемых и торфа, проводящими геологоразведочные, изыскательские, строительные и иные работы, связанные с нарушением почвенного покрова. - М.: Колос, 1978.

Приложение № 1

АКТ
технического расследования аварии (повреждения) линейной части магистрального нефтепродуктопровода

«     »

__________________                                                                                                                 

(место составления акта)

Комиссия, назначенная приказом _____________________________________________

______________________ № ____ от «___»______________________________________

(наименование организации)

в составе:

председателя_______________________________________________________________

(Ф. И. О., должность)

и членов___________________________________________________________________

(Ф. И. О., должность)

после ознакомления с проектной и эксплуатационной документацией, изучения места аварии (повреждения) и обстоятельств, при которых произошла авария (повреждение) объекта, установила следующее:

Характеристика и свойства объекта

Данные расследования аварии (повреждения) объекта

Примечание

Объект расследования

1. АО

2. Нефтепродуктопровод

3. ЛПДС, НПС, НС

4. Объект расследования, место аварии, км

5. Дата и время аварии

6. Наименование ближайшего населенного пункта

7. Расстояние до ближайшего населенного пункта, км

8. Расстояние до ближайшего водотока, водоема, м

Техническая характеристика объекта расследования

9. Конструктивное исполнение объекта

10. Диаметр, толщина стенки (мм)

11. Марка стали и номер сертификата

12. Завод-изготовитель труб, оборудования (страна)

13. Проектное рабочее давление (Кгс/кв. см)

14. Тип защиты

15. Год установки защиты

16. Тип изоляции (марка)

17. Защитный потенциал в месте аварии (В)

18. Дата испытаний объекта

19. Величина испытательного давления (Кгс/кв. см)

20. Дата ввода в эксплуатацию

21. Дата последнего капитального ремонта

22. Величина рабочего давления в момент аварии (Кгс/кв. см)

23. Глубина заложения (м)

24. Наименование перекачиваемого нефтепродукта

25. Температура перекачиваемого продукта, град. С

26. Температура воздуха во время сварки (при строительстве), град. С

Условия эксплуатации

27. Характеристика местности

28. Геологические условия (грунт)

29. Высота снежного покрова (м)

30. Температура воздуха и состояние погоды в день аварии, град. С

31. Другие условия

Характеристика ремонтно-восстановительных работ

32. Дата, время и способ обнаружения аварии

33. Расстояние от ГПС (км)

34. Расстояние от НПС (по ходу) в км

35. Время остановки перекачки (час. мин.)

36. Время выезда на перекрытие трубопровода и время его перекрытия (час. мин.)

37. Время прекращения утечки нефтепродукта (час. мин.)

38. Время выезда и приезда на место аварии АВБ (час. мин.)

39. Время выезда и приезда на место аварии последующей АВБ (час. мин.)

40. Время обнаружения места аварии (час. мин.)

41. Время ликвидации аварии (час. мин.)

42. Способ ликвидации аварии

43. Время возобновления перекачки (час. мин.)

Характеристика аварии (повреждения)

44. Стадия эксплуатации, при которой произошла авария

45. Величина продольных и поперечных смещений концов труб (при вырезке катушки) мм

46. Характер и место дефекта

47. Размеры разрушения (мм)

48. Местоположение дефекта на окружности сечения трубы

49. Характер очага разрушения

50. Вид излома

Последствия аварии (повреждения)

51. Протяженность отказавшего участка (км)

52. Простой на НПС (час. мин.)

53. Простой на перегоне (час. мин.)

54. Объем произведенных работ (чел. ´ час.)

55. Затраты на ликвидацию аварии (тыс. руб.)

56. Безвозвратные потери нефтепродуктов (тн), в том числе распределение потерь нефтепродуктов по составляющим природной среды:

воздух (тн)

вода (тн)

грунт (тн)

57. Характеристика загрязненной местности (кв. м)

58. Стоимость безвозвратно потерянного нефтепродукта (тыс. руб.)

59. Убытки от простоя (тыс. руб.)

60. Штрафы (тыс. руб.)

61. Другие последствия аварии

62. Общий ущерб от аварии (тыс. руб.)

Заключение комиссии по результатам расследования аварии (повреждения)

63. Категория аварии

64. Причина аварии

65. Квалификация обслуживающего персонала (где и когда проходили обучение и инструктаж по технике безопасности, проверку знаний и квалификационной комиссии)

66. Организация, лица, виновные в аварии, предложенные меры их наказания

Прилагаемые оргтехмероприятия и сроки их исполнения

1.

2.

3.

Приложения к акту технического расследования:

1. Сокращенный профиль поврежденного участка с эпюрой давления, технологической схемой и ситуацией.

2. Ситуационный план с эскизом площади, залитой нефтепродуктом.

3. Справка товаро-транспортной службы с расчетом потерь нефтепродукта.

4. Эскиз (фото) разрушения с указанием размеров.

5. Эскиз восстановления участка поврежденного трубопровода (исполнительный документ).

6. Картограммы самопишущих манометров на нагнетании и всасывании ближайших перекачивающих станций отказавшего участка.

7. Заключение научно-исследовательского института (лаборатории) об исследовании образцов из дефектных участков (при необходимости).

8. Объяснительные записки и другие материалы (при необходимости).

9. Заключение комиссии.

Примечание:

1. Приложения должны быть подписаны всеми членами комиссии.

2. Акт технического расследования должен быть завизирован главным инженером акционерного общества.

Председатель комиссии:

Члены комиссии:

Приложение № 2

ПОЯСНЕНИЯ
к заполнению акта технического расследования аварии (повреждения) линейной части магистрального трубопровода

Информация, которую предполагается получить в графе 2 путем ответов на вопросы графы 1, касается непосредственно объекта аварии (места аварии): его территориальной принадлежности, месторасположения относительно головной и промежуточной перекачивающих станций, основных конструктивных, технико-технологических и других параметров, характеризующих непосредственно или опосредованно отказавший объект и обстоятельства аварии. Поэтому в перечне вопросов графы 1 опущены слова «в месте аварии», как излишние.

П.4. Объект расследования: тело трубы заводской поставки, тройник, переходник, вантуз, обратный клапан, узел пуска скребков, колена гнутые, узлы подключения коллектора к насосу.

П.9. Конструктивное исполнение объекта. Указывается способ прокладки: подземный, наземный, надземный, под автомобильной дорогой, под железной дорогой, по болоту, а также конструкция труб - бесшовная, прямошовная, со спиральным швом.

П.16. Тип изоляции. Указывается вид защитного покрытия (битумное, полимерное и т.п.) и тип изоляции (нормальная, усиленная).

П.17. Защитный потенциал. В числителе указывается величина защитного потенциала трубопровода в месте и на момент аварии, в знаменателе - необходимый для данного участка минимальный защитный потенциал, например: 0,6/0,85.

П.18. Дата приемочных испытаний (для периодических испытаний). Для трубопроводов с длительным сроком эксплуатации, испытываемых периодически, указывается дата последнего испытания.

П.19. Величина испытательного давления указывается в соответствии с пунктом 18.

П.25. Температура перекачиваемого продукта. В числителе указывается фактическая температура продукта в месте и в момент аварии, в знаменателе - расчетная температура в тех же условиях.

П.27. Характеристика местности. Указывается характеристика местности: уклон или изменение уклона (для пересеченной местности), равнина, а также характеристика поверхностного слоя: трава, пашня, кустарник, лес, болото и прочее.

П.28. Геологические условия. Указывается тип грунтов, в которых уложен участок подземного трубопровода: песчаный, супесчаный, глинистый, суглинистый, скальный, торфяной, а также их просадочность (по коэффициенту просадочности «в»: непросадочные - в < 0,1; просадочные - 0,1 £ в £ 0,3; сильнопросадочные - в > 0,3).

П.32. Дата, время и способ обнаружения аварии. Указывается год, месяц, число, час (с точностью до минут) обнаружения, а также способ ее обнаружения: по показанию приборов, визуально обходчиком, вертолетным патрулем, по дисбалансу перекачки и т.д.

П.42. Способ ликвидации аварии: замена трубы, вварка катушки, вырезка дефектного участка стыка и последующая заварка его, наварка заплат, установка хомута, забивка свища пробкой с последующей обваркой и т.д.

П.44. Стадия эксплуатации, при которой произошла авария - пуск в эксплуатацию, в процессе работы, капремонт и т.п.

П.45. Величина продольных и поперечных смещений концов труб.

Пункт заполняется в случае ремонта, сопровождаемого вырезкой трубы, катушки. Указывается величина смещений концов труб, определяемая при помощи установки маяков, фиксирующих продольные и поперечные смещения.

П.46. Характер и место дефекта: свищ на теле трубы, группа свищей на теле трубы, свищ в заводском продольном (спиральном) шве, разрыв по кольцевому монтажному шву, разрыв по околошовной зоне заводского спирального (продольного) шва, разрыв по целому металлу, трещина в заводском продольном (спиральном) шве, трещина по целому металлу, трещина переходника и т.д.

П.49. Характер очага разрушения: неметаллические включения, расслоения, поры, шлаковые включения, выходящие на поверхность излома, закаты, непровары, риски, царапины, подрезы, кратеры, свищи, поверхностные дефекты в виде вмятин, раковины, наплывы, перекрытие швов, следы зачистки дефектов, плены, рванины, открывшиеся пузыри, забоины, различного рода и происхождения трещины, различного рода и происхождения коррозионные повреждения; часто излом происходит при взаимном влиянии нескольких очагов разрушения.

П.50. Вид излома: хрупкий, вязкий, смешанный, усталостный, коррозионно-механическое разрушение (коррозионная усталость и коррозионное растрескивание), электрохимическая коррозия.

П.64. Причина аварии: несоблюдение норм проектирования, нарушение правил технической эксплуатации, несоблюдение требований СНиП, низкий уровень качества материалов или брак, брак строительно-монтажных работ, стихия, нарушение Правил производства работ в охранной зоны, коррозионные процессы, повреждение трубопровода посторонними лицами с целью хищения нефтепродуктов, акт терроризма.


Приложение № 3

ЖУРНАЛ УЧЕТА
аварий и повреждений на объектах нефтепродуктопроводов
акционерного общества
______ ___________________________

за______________ месяц ____________ года

№№ п/п

Наименование АО, ЛПДС, НПС, НС, нефтепродуктопровода (отвода), Ду (мм), толщина стенки (мм); год ввода, государство, республика, область, край

Км трассы

Дата и время

Характер разрушения

Причина аварии

Способ устранения

Виновные

Простой, час., мин. на

Потери н/п*, тонн

Убытки, млн. руб.

обнаружения аварии

ликвидации аварии

безвозвратно

в том числе:

Всего

в том числе:

головной станции

перегоне

воздух/

вода/

грунт

от потерь нефтепродукта

на ликвидацию

штрафы

 

 

 

 

 

 

 

 

 

 

 

 

 

 

 

 

 

 

 

 

 

 

 

 

 

 

 

 

 

 

 

 

 

 

 

 

 

 

 

 

 

 

 

 

 

 

 

 

 

 

 

 

 

 

 

 

 

 

 

 

 

 

 

 

 

 

 

 

 

 

 

 

 

 

 

 

 

 

 

 

 

 

 

 

 

 

 

 

 

 

 

 

 

 

 

 

 

 

 

 

 

 

 

 

 

 

 

 

 

 

 

 

 

 

 

 

 

 

 

 

 

 

 

 

 

 

 

 

 

 

 

 

 

 

 

 

 

 

 

 

 

 

 

 

 

 

 

 

 

 

 

 

 

 

 

 

 

 

 

 

 

 

 

 

 

 

 

 

 

 

 

 

 

 

 

 

 

 

 

 

 

 

 

 

 

 

 

 

 

 

 

 

 

 

 

 

 

 

 

 

 

 

 

 

 

 

 

 

 

 

 

 

 

 

 

 

 

 

 

 

 

 

 

 

 

 

 

 

 

 

 

 

 

 

 

 

 

 

 

 

 

 

 

 

 

 

 

 

 

 

 

 

 

 

 

 

 

 

 

 

 

 

 

 

 

 

 

 

 

 

 

 

 

 

 

 

 

 

 

 

 

 

 

 

 

 

 

 

 

 

 

 

 

 

 

 

 

 

 

 

 

 

 

 

 

 

* Указать наименование и марку нефтепродукта.


Приложение 4

Предельно допустимые концентрации вредных веществ в воздухе рабочей зоны

Вещества

Предельно допустимая концентрация, мг/куб. м

Аммиак

20

Бензин-растворитель (в пересчете на углерод)

300

Керосин (в пересчете на углерод)

300

Сероводород в смеси с углеводородами С1 - С5

3

Углеводороды С1 - С10

300

Хлористый бензол

0,005

Амиловый спирт

0,002

Спирт метиловый (метанол)

5

Приложение 5

(справочное)

УТВЕРЖДАЮ

________________________

(должность, Ф. И. О.,

________________________

подпись)

«___» _________19__г.

НАРЯД-ДОПУСК
на выполнение работ повышенной опасности

 

1. Выдан (кому) ____________________________________________________________

 

(должность руководителя работ,

 

__________________________________________________________________________

 

ответственного за проведение работ, Ф. И. О., дата)

 

2. На выполнение работ_____________________________________________________

 

(характер и содержание работы,

 

__________________________________________________________________________

 

опасные вредные и производственные факторы)

 

3. Место проведения работ___________________________________________________

 

(отделение, участок, установка,

 

__________________________________________________________________________

 

аппарат, выработка, помещение)

 

4. Состав бригады исполнителей (в том числе дублеры, наблюдающие)

 

(При большом числе членов бригады ее состав и требуемые сведения приводятся в прилагаемом списке с отметкой об этом в настоящем пункте.)

 

 

№№ п/п

Фамилия, имя, отчество

Выполняемая функция

Квалификация (разряд, группа по электробезопасности)

С условиями работы ознакомлен, инструктаж получил

 

Подпись

Дата

 

1.

Производитель работ (ответственный, старший исполнитель, бригадир)

 

 

 

 

 

2.

 

 

 

 

 

 

3.

 

 

 

 

 

5. Планируемое время проведения работ:

 

начало _______________время ______________ дата;

 

окончание ___________время ______________ дата.

 

Если это требует нормативный документ, регламентирующий безопасное проведение работ.

 

6. Меры по обеспечению безопасности_________________________________________

 

__________________________________________________________________________

 

(организационные и технические меры безопасности,

 

__________________________________________________________________________

 

осуществляемые при подготовке объекта к проведению

 

__________________________________________________________________________

 

работ повышенной опасности, при их проведении, средства

 

__________________________________________________________________________

 

коллективной и индивидуальной защиты, режим работы)

 

7. Требуемые приложения ___________________________________________________

 

(наименование схем, эскизов,

 

__________________________________________________________________________

 

анализов, ППР и т.п.)

 

8. Особые условия__________________________________________________________

 

__________________________________________________________________________

 

(в том числе присутствие лиц надзора при проведении работ)

 

9. Наряд выдал_____________________________________________________________

 

(должность, ф. и. о., подпись выдавшего наряд, дата)

 

__________________________________________________________________________

 

10. СОГЛАСОВАНО:

 

со службами (техники безопасности, пожарной охраны, ГСС (ВГСМ), механической, энергетической и др. при необходимости)

____________________________________

(название службы, ф. и. о.

____________________________________

ответственного лица, подпись, дата)

 

со взаимосвязанными цехами, участками, владельцем ЛЭП и др.

____________________________________

(цех, участок, ф. и. о.

____________________________________

ответственного лица, подпись, дата)

 

11. Объект к проведению работ подготовлен:

 

Ответственный за подготовку объекта

____________________________________

(должность, ф. и. о., подпись,

____________________________________

дата, время)

 

Руководитель работ

____________________________________

(должность, ф. и. о., подпись,

____________________________________

дата, время)

 

12. К выполнению работ допускаю:

____________________________________

(должность, ф. и. о., подпись,

____________________________________

дата, время)

 

13. Отметка о ежедневном допуске к работе, окончании этапа работы:

 

 

Дата

Меры безопасности по п. 6 выполнены

 

Начало работы

Окончание

 

Время (час, мин)

Подпись допускающего к работе

Подпись руководителя работ

Время (час, мин)

Подпись руководителя работ

14. Наряд-допуск продлен до _________________________________________________

 

(дата, время, подпись выдавшего

 

__________________________________________________________________________

 

наряд, ф. и. о., должность)

 

15. Продление наряд-допуска согласовано (в соответствии с п. 10)

 

__________________________________________________________________________

 

(название службы, цеха, участка, др., должность ответственного

 

__________________________________________________________________________

 

лица, ф. и. о., подпись, дата, время)

 

16. К выполнению работ на период продления допускаю__________________________

 

__________________________________________________________________________

 

(должность допустившего, ф. и. о., подпись, дата, время)

 

17. Изменения состава бригады исполнителей:

Введен в состав бригады

Выведен из состава бригады

Руководитель работ (подпись)

Ф. И. О.

С условиями работы ознакомлен, проинструктирован (подпись)

Квалификация, разряд, группа

Выполняемая функция

Дата, время

Ф. И. О.

Дата, время

Выполняемая функция

 

18. Работа выполнена в полном объеме, рабочие места приведены в порядок, инструмент и материалы убраны, люди выведены, наряд-допуск закрыт

 

__________________________________________________________________________

 

(руководитель работ, подпись, дата, время)

 

__________________________________________________________________________

 

__________________________________________________________________________

 

(начальник смены (старший по смене) по месту проведения работ,

 

__________________________________________________________________________

 

ф. и. о., подпись, дата, время)

 

СОДЕРЖАНИЕ

1. Общие положения. 2

2. Характеристика аварий. 2

2.1. Виды аварий и повреждений. 2

2.2. Классификация аварий. 3

3. Организация ликвидации аварий. 4

3.1. Аварийно-восстановительная служба. 4

3.2. План ликвидации возможных аварий. 5

3.3. Организация производства АВР. 7

4. Производство аварийно-восстановительных работ. 10

4.1. Технология ликвидации аварий и повреждений. 10

4.2. Подготовительные мероприятия. 11

4.3. Локализация и сбор разлитого перекачиваемого нефтепродукта. 16

4.4. Земляные работы.. 18

4.5. Герметизация внутренней полости трубопровода. 21

4.6. Сварочно-монтажные работы.. 25

4.7. Контроль сварных соединений и устранение их дефектов. 47

4.8. Изоляция трубопровода. 47

4.9. Ликвидация последствий аварий. 48

4.10. Другие работы.. 49

5. Техника безопасности при ликвидации аварии. 54

Список использованных источников. 58

Приложение № 1 Акт технического расследования аварии (повреждения) линейной части магистрального нефтепродуктопровода. 59

Приложение № 2 Пояснения к заполнению акта технического расследования аварии (повреждения) линейной части магистрального трубопровода. 62

Приложение № 3 Журнал учета аварий и повреждений на объектах нефтепродуктопроводов  64

Приложение 4 Предельно допустимые концентрации вредных веществ в воздухе рабочей зоны.. 65

Приложение 5 Наряд-допуск на выполнение работ повышенной опасности. 65

 




Rambler's Top100 Яндекс цитирования
  Copyright © 2008-2026, www.docload.ru