Бесплатная библиотека стандартов и нормативов www.docload.ru

Все документы, размещенные на этом сайте, не являются их официальным изданием и предназначены исключительно для ознакомительных целей.
Электронные копии этих документов могут распространяться без всяких ограничений. Вы можете размещать информацию с этого сайта на любом другом сайте.
Это некоммерческий сайт и здесь не продаются документы. Вы можете скачать их абсолютно бесплатно!
Содержимое сайта не нарушает чьих-либо авторских прав! Человек имеет право на информацию!

 

Министерство нефтяной промышленности
НПО "Бурение"

Всесоюзный научно-исследовательский институт
разработки и эксплуатации нефтепромысловых труб
(ВНИИТнефть)

ИНСТРУКЦИЯ
ПО ЗАЩИТЕ ОТ КОРРОЗИИ ВНУТРИПРОМЫСЛОВОГО
ОБОРУДОВАНИЯ ПРИ ПОМОЩИ ИНГИБИТОРОВ
ОТЕЧЕСТВЕННОГО ПРОИЗВОДСТВА

РД 39-0147014-348-89

Куйбышев 1989

Руководящий документ разработан Всесоюзным научно-исследовательским институтом разработки и эксплуатации нефтепромысловых труб.

В составлении инструкции принимали участие А.И. Жанко, Л.А. Григоровская, Л.В. Кияченкова (ВНИИТнефть), канд. техн. наук В.Н. Долинкин, канд. техн. наук Н.А. Громова (НИИМСК).

Согласован с зам. директора ВНИИСПТнефть К.Р. Низамовым, с главным инженером п/о "Куйбышевнефть" А.З. Шефером, с зам. директора НИИМСКа С.Ю. Павловым.

Утвержден начальником Главного научно-технического управления Миннефтепрома Е.М. Довитом 14 октября 1988 г.

РУКОВОДЯЩИЙ ДОКУМЕНТ

ИНСТРУКЦИЯ

ПО ЗАЩИТЕ ОТ КОРРОЗИИ ВНУТРИПРОМЫСЛОВОГО ОБОРУДОВАНИЯ ПРИ ПОМОЩИ ИНГИБИТОРОВ ОТЕЧЕСТВЕННОГО ПРОИЗВОДСТВА

РД 39-0147014-348-89

Куйбышев 1989

Вводится взамен РД 39-3-221-79

Срок введения установлен с 01.01.89 г.

Срок действия до 01.01.92 г.

В инструкции содержится технология применения ингибиторов для защиты от коррозии нефтепромыслового оборудования, разработанная на основании лабораторных исследований, опытно-промышленных испытаний и результатов промышленного использования ингибиторов коррозии И-1-А, И-1-В, "Север-1" и др. в объединениях "Куйбышевнефть", "Оренбургнефть" и Главтюменнефтегазе. Приведена также временная инструкция по технике безопасности при работе с ингибиторами.

1. ОБЩИЕ ПОЛОЖЕНИЯ

1.1. Наиболее эффективным и перспективным способом защиты оборудования нефтепромыслов от коррозии является применение ингибиторов коррозии (табл. 1) - поверхностно-активных веществ, растворимых в воде или в жидких углеводородах. Введение в агрессивную среду небольших количеств ингибиторов значительно снижает скорость коррозии металла (табл. 1).

1.2. Ингибиторы образуют на поверхности металла защитные адсорбционные пленки, препятствующие доступу агрессивной среды к поверхности металла. Ингибиторы можно использовать, не изменяя соответствующих технологических процессов и их аппаратурного оформления.

Применение ингибиторов коррозии является единственным методом защиты действующего нефтепромыслового оборудования по всей технологической линии - от эксплуатационных до нагнетательных и поглощающих скважин (табл. 2).

Таблица 1

Физико-химические характеристики ингибиторов коррозии

№ п/п

Марка ингибитора

Общая характеристика

Плотность при 20 °С, г/см3

Содержание, %

Вязкость при 50 °С, сСт

Температура, °С

основного азота, в пределах

смол, не более

механических примесей

застывания

вспышки

самовоспламенения

1

И-1-А* (ТУ 38-103246-87)

Вязкая темно-коричневая жидкость с характерным запахом пиридинов, почти не растворяется в воде, хорошо растворяется в органических растворителях, а также в соляной, серной и других сильных кислотах

1,0...1,1

7,0...9, 5

5

0,2

-

-

-

-

2

И-1-В* (ТУ 38-103-238-74)

Темно-коричневая жидкость с характерным слабым запахом, легко растворимая в кислотах и в воде

1,25...1,35

-

3,0

-

-

-

-

-

3

"Север-1" (И-2-А)* (ТУ 38-103-201-76)

Легкоподвижная темно-коричневая жидкость, хорошо растворяется в бензоле, спирте, ацетоне, соляной и серной кислотах

0,93...1,05

4,90...6,65

3,5

0,2

7...12

-65

+23

+385

4

И-З-А* (ТУ 38-403-29-73)

Темно-коричневая жидкость с характерным запахом, хорошо растворимая в полярных органических растворителях и минеральных кислотах

0,99...1,07

8,3…11,0

3,5

0,2

15

-33…-45

+76

+413

5

И-4-А* (ТУ 38-403-44-73)

Темно-коричневая жидкость с характерным запахом, хорошо растворимая в бензоле, спирте, ацетоне, соляной, серной кислотах и ряде других продуктов

0,94...1,00

4,9…6,65

3,5

0,2

3…7

-50…-75

+15

+413

6

И-4-Д (ТУ 38-403-46-73)

Темно-коричневая вязкая жидкость с характерным запахом, эмульгируется в водных растворах, растворяется в толуоле, хлороформе, четыреххлористом углероде и некоторых других средах

0,85…0,95

-

-

-

65…95

-12…-15

+81

+239

7

"Тайга-1" (И-5-ДНК) (ТУ 38-403-47-73)

Легкоподвижная темно-коричневая жидкость с характерным запахом, эмульгируется в водных растворах, растворяется в углеводородах

0,92...0,96

-

-

-

-

-50

+20

+340

8

И-2-Е

Легкоподвижная темно-коричневая жидкость со слабым характерным запахом, растворимая в воде, спирте, кислотах

1,0...1,1

-

-

8...10

-

-50

-

-

9

"Тайга-2" (И-5-ДТМ) ТУ 38-403-78-78)

Легкоподвижная темно-коричневая жидкость, растворимая в спирте, бензоле, дихлорэтане и других органических растворителях

0,87…0,89

-

-

3,9... 4,0

-

-45

-

-

10

И-21-Д (ТУ 38-403-101-78)

Легкоподвижная темно-коричневая жидкость, растворимая в спирте, бензоле, дихлорэтане и других органических растворителях

0,8...0,9

-

-

5,0

-

-16

-

-

11

И-30-Д (ТУ 38-403-79-76)

Легкоподвижная темно-коричневая жидкость, эмульгируется в воде, растворяется в спирте, бензоле, дихлорэтане

0,85... 0,87

-

-

5,0

-

-40

-

-

12

И-К-10 (ТУ 38-403-68-75)

Легкоподвижная коричневая жидкость, растворяется в воде, спирте, кислотах

1,06...1,1

-

-

8...11

-

-50

-

-

13

И-К-40 (ТУ 38-403-75-75)

Легкоподвижная коричневая жидкость, растворяется в воде, спирте, кислотах

0,95...1,15

-

-

10...15

-

-50

-

-

14

Нефтехим (ТУ 38. УССР 201463-66)

Представляет собой смесь полиэтиленполиамидов карбоновых кислот легкого талового масла и солей пиперазина этих кислот в растворе керосина и катализата риформинга

-

-

-

-

7

-18

+37

340...435

15

Газохим (ТУ 113-03-20-73)

Однородная жидкость темно-коричневого цвета, растворяется в углеводородах

0,97

-

-

-

-

-10

+61

262

* Скорость растворения Ст.3 в 20 %-ном растворе серной кислоты, определяемая в присутствии 1 % ингибитора, при 20 ± 2 °С в течение 24 ч испытания составляет не более 0,15 г/м2·ч.

Таблица 2

Рекомендуемые области применения ингибиторов коррозии

Область применения

Ингибиторы коррозии

Для защиты нефтепромыслового оборудования от сероводородной коррозии и коррозии, вызываемой смесью сероводорода и углекислого газа, могут применяться также при солянокислотных обработках скважин. Замедляют коррозию сталей в растворах серной и соляной кислот

И-1-А, И-1-В, "Север-1" И-3-А, И-4-А, И-21-Д

Для защиты от коррозии нефтегазопромыслового оборудования, вызываемой пластовыми и сточными водами, как содержащими, так и не содержащими сероводород

И-4-Д

Для защиты нефтегазопромыслового оборудования от коррозии, вызываемой пластовыми и сточными водами, содержащими сероводород, смесь сероводорода с углекислотой, кислород

"Тайга-1" (И-5-ДНК), "Тайга-2" (И-5-ДТМ), И-30-Д, Газохим, Нефтехим

Для защиты нефтегазопромыслового оборудования от коррозии, вызываемой пластовыми и сточными водами, содержащими сероводород или смесь сероводорода и углекислого газа

И-2-Е, И-К-10

Для подавления жизнедеятельности СВБ, для защиты нефтегазопромыслового оборудования от коррозии, вызываемой пластовыми и сточными водами, содержащими сероводород или смесь сероводорода с углекислотой

И-К-40

1.3. Ингибиторы являются замедлителями сероводородной коррозии и могут быть рекомендованы для защиты нефтепромыслового оборудования, работающего в агрессивных сероводородных средах, высокоминерализованных пластовых и сточных водах.

1.4. "Север-1" обладает высокими ингибирующими свойствами в водах апт-альб-сеноманского комплекса Главтюменнефтегаза и пластовых сероводородных средах. Защитное действие ингибитора "Север-1" в сероводородных пластовых водах на 5 - 8 % ниже, чем И-1-А.

1.5. Оценка эффективности защиты металла от коррозии при помощи ингибиторов основана на сравнении скоростей коррозии образцов-свидетелей до и после закачки ингибиторов. Образцы-свидетели устанавливаются в байпасах по всей технологической линии. Кроме того, эффективность ингибирования определяется по уменьшению числа аварий нефтепромыслового оборудования, происходящих вследствие коррозии.

2. ПОДГОТОВКА КОРРОЗИОННЫХ ОБРАЗЦОВ-СВИДЕТЕЛЕЙ К ПРОМЫСЛОВЫМ ИСПЫТАНИЯМ

2.1. Для промысловых испытаний применяются образцы двух видов:

а) плоские - для определения скорости коррозии в трубопроводах;

б) цилиндрические - для определения скорости коррозии в затрубном пространстве и внутри лифтовых труб.

2.2. Плоские образцы изготавливаются из Ст. 3 размерами 2,5 x 20 x 80 мм с площадью поверхности 0,004 м.

Размеры цилиндрических образцов обусловлены размерами труб, из которых они изготавливаются.

2.3. Поверхность образцов шлифуют до шероховатости Rz = 32, затем полируют на войлочном круге пастой ГОИ.

2.4. Следы пасты ГОИ удаляют с поверхности образцов хлопчатобумажной салфеткой.

2.5. Затем определяют размеры и площадь образца в м2, чтобы выяснить, соответствуют ли они заданным.

2.6. Образцы обезжиривают гидролизным этиловым спиртом, сушат между несколькими слоями фильтровальной бумаги. Завернутые в сухую фильтровальную бумагу образцы выдерживают в эксикаторе в течение 24 ч над хорошо прокаленным хлористым кальцием.

2.7. После выдержки в эксикаторе образцы взвешивают на аналитических весах с точностью до 0,0001 г.

2.8. Подготовленные коррозионные образцы находятся в эксикаторе до испытаний.

2.9. Перед испытаниями образцы из эксикатора пинцетом переносят в коррозионные кассеты, которые вставляются в катушку байпаса.

2.10. После испытаний образцы промывают бензином, эластиком удаляют продукты коррозии, обезжиривают гидролизным этиловым спиртом, помещают в эксикатор и выдерживают в течение 24 ч, затем взвешивают.

2.11. Скорость коррозии рассчитывают по формуле

r0 = (A - B)/ St,                                                                  (1)

где r0 - контрольная скорость коррозии, г/м2·ч;

A - масса образцов до испытаний, г;

B - масса образца после испытаний, г;

S - площадь поверхности, образца, м;

t - время испытания, ч.

2.12. На основании анализа значений контрольных скоростей коррозии определяют технологию защиты и место ввода ингибитора.

3. КОНСТРУКЦИИ БАЙПАСОВ, КАТУШЕК И КАССЕТ ДЛЯ КОРРОЗИОННЫХ ИСПЫТАНИЙ

3.1. Для установки кассет и коррозионными образцами в выкидные линии скважин, водоводы сточных вод, нефтепроводы используют байпасы различных конструкций (рис. 1)*. Конструкция кассеты для байпаса показана на рис. 2, а ее деталей - на рис. 3 - 8.

* Все рисунки, на которые в дальнейшем сделаны ссылки, приводятся в прил. 1.

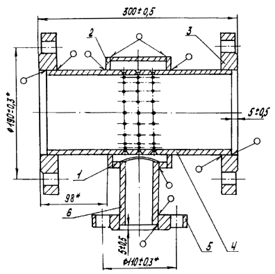
3.2. В трубопроводы большого диаметра (больше 203 мм) коррозионные образцы спускаются в кассетах, конструкция которых показана на рис. 9, а детали - на рис. 10 - 17, через задвижку со специальным приспособлением - лубрикатором. Схема установки контрольных образцов через задвижку показана на рис. 18.

3.3. Байпасы катушки и кассеты должны удовлетворять следующим требованиям:

1. Байпас должен иметь три отсекающие задвижки.

2. Диаметр байпаса и запорной арматуры должен соответствовать диаметру технологического трубопровода.

3. Байпас и технологический трубопровод располагают в одной плоскости.

3.4. Недопустимо ставить кассеты с коррозионными образцами в застойные зоны байпасов и оборудования.

3.5. Кассеты изготавливают из текстолита или органического стекла.

3.6. Размеры катушек кассет должны соответствовать размерам кассет.

3.7. Для упора кассеты в конце катушки по диаметру приваривают крестовину или штырь.

3.8. Установку кассеты с образцами и гидроиспытания байпасов необходимо производить по следующей методике:

а) при открытой задвижке на основном технологическом трубопроводе и при закрытых двух задвижках на байпасе отсоединить катушку и вставить в нее кассету с образцами. Кассета с образцами должна полностью помещаться в катушке и упираться в штырь или в крестовину;

б) образцы расположить в катушке узкой стороной вертикально к потоку;

в) после установки катушки с образцами в байпас необходимо выполнить гидравлические испытания фланцевых соединений согласно установленным правилам;

г) при открытых двух задвижках на байпасе закрыть задвижку на основном трубопроводе и направить поток жидкости через байпас.

3.9. Для снятия образцов после испытания необходимо:

а) открыть задвижку на основном технологическом трубопроводе;

б) закрыть первую по ходу потока задвижку на байпасе, а затем и вторую;

в) сбросить давление в отсекаемом участке байпаса;

г) отсоединить катушку;

д) вынуть из кассеты два коррозионных образца, промыть их бензином, насухо вытереть фильтровальной бумагой, поместить в эксикатор для дальнейших обработок в лаборатории.

3.10. Образцы-свидетели снимать по два через каждые 7, 14, 21, 28, 35, 42, 49, 56 сут.

3.11. В лаборатории производят обработку образцов согласно пп. 2.6 - 2.8.

Затем рассчитывают скорость коррозии по формуле (1) и строят график изменения скорости коррозии во времени (контрольные опыты).

3.12. При эксплуатации байпасов и работе с ингибиторами необходимо строго соблюдать правила техники безопасности (прил. 2).

4. УСТАНОВКА ДЛЯ ЗАКАЧКИ ИНГИБИТОРОВ

4.1. Способ ввода ингибиторов в коррозионно-активную среду зависит от конструкции защищаемого оборудования. Так, в трубопроводы наземных выкидных линий, водоводов сточных вод ингибитор закачивают через распределительную головку (рис. 19) с помощью дозировочного насоса. Детали распределительной головки приведены на рис. 20 - 28. Для защиты от коррозии глубинного оборудования ингибитор залавливают в кольцевое межтрубное пространство скважины при помощи агрегата типа "АзИНМАШ".

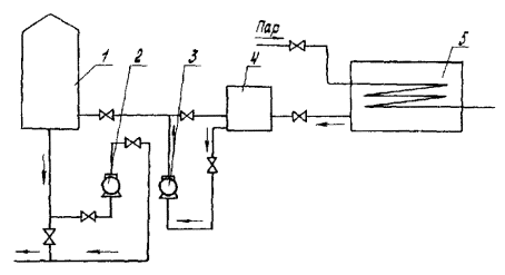
4.2. Установка для закачки ингибитора коррозии (рис. 29) включает две емкости для растворения ингибитора. В нижней части емкостей расположены змеевики для подогрева раствора ингибитора. В первую емкость загружают расчетное количество ингибитора и растворителя (нефти, пластовой воды, технической воды и др.), затем при помощи центробежного насоса в течение четырех часов перемешивают раствор, подавая его из емкости 1 в дозировочную емкость 2. Перемешанный ингибитор дозировочными насосами типа РПН подают в распределительную головку, вмонтированную в технологический трубопровод.

4.3. Ингибитор вводят в трубопровод на расстоянии 10 м до первого байпаса (по направлению технологического потока).

5. ТЕХНОЛОГИЯ ЗАКАЧКИ ИНГИБИТОРОВ

Наземные коммуникации

5.1. 10 - 50 %-ный раствор ингибитора (в нефти, пластовой или технической воде и других растворителях) при помощи дозировочного насоса через распределительную головку подается в технологические коммуникации.

5.2. В первые три часа для более быстрого создания защитной пленки концентрация ингибитора должна быть в 5 - 8 раз больше оптимальной (больше 100...150 мг/л).

5.3. Остальные 69 ч ингибитор подается равномерно из расчета 100...150 мг/л.

5.4. Через 20...30 мин после начала закачки ингибитора устанавливают по десять образцов-свидетелей - с первого байпаса около ввода ингибитора и затем с интервалом через каждые 30...40 мин по всей технологической линии.

5.5. После окончания закачки ингибитора из каждого байпаса, начиная с первого, вынимают по два образца-свидетеля и определяют скорость коррозии после введения ингибитора по описанной выше методике.

5.6. Последующие образцы-свидетели снимают по два через каждые 7, 14, 21, 28 сут и определяют скорость коррозии после введения ингибитора.

5.7. Строят график изменения скорости коррозии после ввода ингибитора во времени.

5.8. Рассчитывают эффективность замедления скорости коррозии ингибиторов по формуле

z = [(r0 - r)/ r0] × 100 %,                                                  (2)

где z - эффект защитного действия ингибитора, %;

r0 - скорость коррозии образцов-свидетелей без ингибитора, г/м2·ч;

r - скорость коррозии образцов-свидетелей в присутствии ингибитора, г/м2·ч.

5.9. После снижения эффективности замедления скорости коррозии до 75 % необходимо проводить следующую закачку ингибитора.

Приложение 1

СХЕМЫ УСТАНОВКИ ОБОРУДОВАНИЯ ДЛЯ ЗАКАЧКИ ИНГИБИТОРОВ И ЕГО КОНСТРУКЦИИ

Рис. 1. Байпас с открывающимся фланцем для установки коррозионных образцов-свидетелей

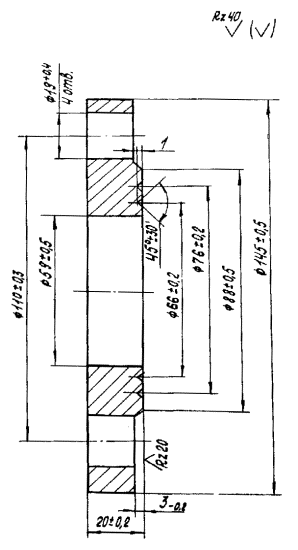
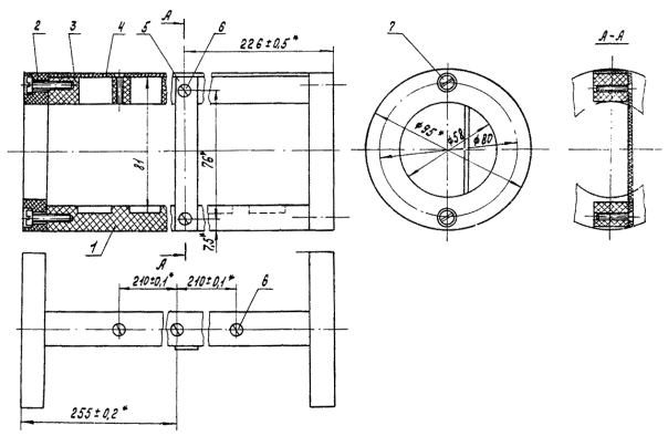
Рис. 2. Кассета для установки контрольных образцов через байпас (сборочный чертеж):

1 - планка [1]**; 2 - фланец [2]; 3 - планка [1]; 4 - планка прижимная [1]; 5 - планка распорная [1]; 6 - винт [5]; 7 - винт 2М6 х 22.58 (ГОСТ 1491-80) [4]

*Размеры для справок

**В квадратных скобках указано число деталей

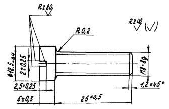
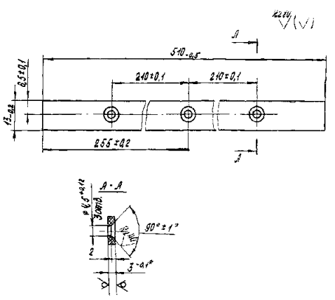
Рис. 3. Планка кассеты для установки контрольных образцов через байпас. Материал - текстолит ПТ-13 (ГОСТ 5-78Е)

*Размер для справок

Рис. 4. Планка, кассеты для установки контрольных образцов через байпас. Материал - текстолит ПТ-13 (ГОСТ 5-78Е)

*Размер для справок

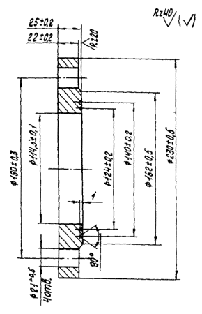
Рис. 5. Фланец кассеты для установки контрольных образцов через байпас. Материал - текстолит ПТ-13 (ГОСТ 5-78Е)

*Размер для справок

Рис. 6. Планка прижимная кассеты для установки контрольных образцов через байпас. Материал - текстолит ПТ-3 (ГОСТ 5-78Е)

*Размер для справок

Рис. 7. Планка распорная кассеты для установки контрольных образцов через байпас. Материал - текстолит ПТ-2 (ГОСТ 5-78Е)

Рис. 8. Винт кассеты для установки контрольных образцов через байпас. Материал - пруток БрКМц 3-1т-кр-7,5 (ГОСТ 1628-78)

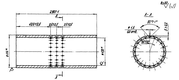
Рис. 9. Кассета для установки контрольных образцов через задвижку (сборочный чертеж):

1 - планка [1]**; 2 - планка [1]; 3 - винт [4]***; 4 - винт [2]; 5 - планка [1]; 6 - планка установочная [1]; 7 - планка [1]; 8 - шток [1]; 9 - гайка M10.5 (ГОСТ 5915-70) [3]; 10 - шайба 10 (ГОСТ 11371-78) [1]

*Размеры для справок

** В квадратных скобках указано число деталей

*** Чертеж винта приведен на рис. 8

Рис. 10. Планка для установки коррозионных образцов через задвижку. Материал - текстолит ПТ-30 (ГОСТ 5-78Е)

Рис. 11. Планка кассеты для установки контрольных образцов через задвижку. Материал - текстолит ПТ-30 (ГОСТ 5-78Е)

Рис. 12. Планка кассеты для установки контрольных образцов через задвижку. Материал - текстолит ПТ-30 (ГОСТ 5-78Е)

Рис. 13. Планка кассеты для установки контрольных образцов через задвижку. Материал - текстолит ПТ-30 (ГОСТ 5-78Е)

Рис. 14. Планка установочная кассеты для установки контрольных образцов через задвижку. Материал - текстолит ПТ-30 (ГОСТ 5-78Е)

Рис. 15. Винт кассеты для установки контрольных образцов через задвижку. Материал - пруток БрКМц3-1т-кр-12 (ГОСТ 1628-78)

Рис. 16. Винт кассеты для установки контрольных образцов через задвижку. Материал - пруток БрКМц3-1т-кр-10 (ГОСТ 1628-78)

Рис. 17. Шток кассеты для установки контрольных образцов через задвижку. Материал - Ст. 35 (ГОСТ 14959-79)

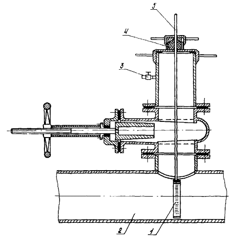
Рис. 18. Схема установки контрольных образцов через задвижку:

1 - кассета с образцами; 2 - трубопровод; 3 - вентиль; 4 - сальник; 5 - шток

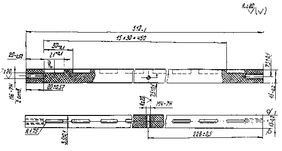
Рис. 19. Распределительная головка для ввода ингибитора (сборочный чертеж):

1 - ввод [1]**, 2 - прокладка [2]; 3 - болт М20 х 60.66.056 (ГОСТ 7805-70) [12]; 4 - гайка М20.8 (ГОСТ 5927-70) [12]; 5 - прокладка [1]

*Размер для справок

**В квадратных скобках указано число деталей

Рис. 20. Прокладка распределительной головки для ввода ингибитора. Материал - паронит ПОН-1 (ГОСТ 481-80)

*Размер для справок

Рис. 21. Прокладка распределительной головки для ввода ингибитора. Материал - лист Л63М1 (ГОСТ 931-78)

*Размер для справок

Рис. 22. Ввод (сборочный чертеж). Сварные швы по ГОСТ 16037-80:

1 - кольцо [1]**; 2 - кольцо [2]; 3 - фланец [2]; 4 - труба [1]; 5 - фланец [1]; 6 - патрубок [1]

*Размеры для справок

**В квадратных скобках указано число деталей

Рис. 23. Кольцо. Материал - труба (152 x 8 x 96 (ГОСТ 8732-78))/(5 Ст. 4сп (ГОСТ 8731-74))

*Размер для справок

Рис. 24. Кольцо. Материал - лист (Б-ПН-8 (ГОСТ 19903-74))/(В Ст. 3-2 (ГОСТ 14637-79))

Рис. 25. Патрубок ввода. Материал труба (57 x 8 x 115 (ГОСТ 8732-78))/(Б Ст. 4сп (ГОСТ 8731-74))

*Размеры для справок

Рис. 26. Фланец. Материал - лист (Б-ПН-28 (ГОСТ 19903-74))/(В Ст. 3-2 (ГОСТ 14637-79))

Рис. 27. Фланец. Материал - лист (Б-ПН-22 (ГОСТ 19903-74))/(В Ст. 3-2 (ГОСТ 14637-79))

Рис. 28. Труба ввода. Материал - труба (114 x 7 x 290 (ГОСТ 8732-78))/(Б Ст. 4сп (ГОСТ 8731-74))

*Размер для справок

Рис. 29. Схема установки для закачки ингибитора:

1 - дозировочная емкость; 2 - насос дозировочный; 3 - насос центробежный; 4 - емкость для перемешивания; 5 - распарочная емкость для подогрева опытных партий ингибиторов, затаренных в бочки

Приложение 2

ВРЕМЕННАЯ ИНСТРУКЦИЯ
по технике безопасности при работе с ингибиторами коррозии

1. ОБЩАЯ ЧАСТЬ

1.1. При работе с ингибиторами руководствоваться настоящей временной инструкцией по технике безопасности и "Правилами безопасности в нефтегазодобывающей промышленности"* (раздел 1, главы 1.1, 1.2, 1.7, 1.11, 1.13, 1.16, раздел 4, главы 4.1, 4.5, раздел 13, глава 13.10, раздел 16, глава 16.1).

*Правила безопасности в нефтегазодобывающей промышленности. М.; Недра, 1974. -253 с.

1.2. Выполнение требований безопасности, изложенных в настоящей инструкции, обязательно на всех этапах работ с ингибиторами коррозии, включая перевозку ингибиторов.

1.3. К работе допускаются наиболее квалифицированные, опытные специалисты, дополнительно проинструктированные в объеме требований настоящей инструкции. В карточке инструктажа по технике безопасности или в журнале по технике безопасности должна быть сделана отметка.

1.4. Работы проводятся под руководством инженерно-технического работника. Посторонние лица не должны находиться при производстве работ.

2. ТЕХНИКА БЕЗОПАСНОСТИ ПРИ РАБОТЕ С ИНГИБИТОРАМИ

2.1. Ингибиторы коррозии металлов являются промышленными ядами, в связи с чем не допускается их применение в пищевой промышленности и водоснабжении, а также попадание их в наземные и грунтовые воды.

2.2. Санитарный режим водоемов определяется по органолептическому показателю. Предельно допустимые концентрации (мг/л) ингибитора И-1-А (как наиболее токсичного) приведены ниже:

По водоемам............................................................... 0,06

По воздействию на процессы самоочищения......... 15,00

По влиянию на кислородный режим....................... 2,00

2.3. Степень воздействия применяемых ингибиторов на организм человека и их токсикологические характеристики в соответствии с ГОСТ 12.1.007-76 приведены в табл. 1.

2.4. При всех работах необходимо избегать попадания ингибиторов на тело, одежду, почву, площадки, пол, машины, оборудование.

2.5. Во избежание поражения кожи при работе с ингибиторами следует тщательно соблюдать правила личной гигиены (чистоту рук, спецодежды, посуды, инструментов и т.п.).

2.6. При случайном загрязнении кожи ингибитором ее надлежит вымыть. Для этого можно воспользоваться мылом, эмульгаторами типа ОП-7, ОП-10.

2.7. Многократное воздействие ингибиторов на незащищенную кожу приводит к развитию дерматита (воспалительных изменений кожи); однократное попадание видимых изменений кожного покрова не вызывает.

2.8. Чтобы предупредить попадание ингибитора на руки, при работе и ним следует пользоваться резиновыми перчатками.

2.9. Лица, работающие с ингибиторами, должны быть снабжены спецодеждой, желательно с силикатно-казеиновой пленкой, препятствующей возникновению вторичных загрязнений.

2.10. Более сильное местное действие на кожу и слизистые оболочки оказывает ингибитор И-1-В. Это обусловлено его значительной кислотностью. Особую опасность представляет попадание И-1-В непосредственно в глаза - в конъюнктивную полость и на роговицу. В этом случае происходит химический ожог глаз 2 - 3-й степени, который может привести к помутнению роговицы и частичной потере зрения. Попадание в глаза И-1-А приводит к развитию конъюнктивита, который серьезной опасности не представляет и без лечения проходит через 2 - 3 дня.

2.11. Для защиты глаз от попадания ингибиторов необходимо пользоваться очками типа № 1396 1/2.

2.12. В случае попадания ингибиторов в глаза следует в порядке само- и взаимопомощи немедленно обильно промыть глаза водой и сразу же обратиться к глазному врачу.

2.13. При появлении признаков отравления (головной боли, головокружения, тошноты, рвоты, потери аппетита и сна) следует сообщить об этом мастеру и обратиться к врачу.

Таблица 1

Токсикологические характеристики ингибиторов

Марка ингибитора

Степень воздействия на организм человека

Токсилогическая характеристика

И-1-А, "Север-1"

Относятся к 3-му классу опасности - умеренно опасным веществам

Канцерогенным действием не обладают. Однократное действие на кожу опасности не представляет, при многократном воздействии возможно развитие дерматита. Способны проникать через неповрежденную кожу

И-2-Е

Относится к 4-му классу опасности - малоопасным веществам

Продукт не проникает через неповрежденную кожу, и его однократное действие на кожу не приводит к болезненным изменениям. При многократном воздействии возможен циклический поверхностный дерматит, который проходит без лечения через 10 - 15 дней. При попадании в глаза наблюдается химический ожог 3-й степени

"Тайга-1" (И-5-ДНК), "Тайга-2" (И-5-ДТМ)

Относятся к 4-му классу опасности - малоопасным веществам

Продукты не проникают через неповрежденную кожу, однако при многократном воздействии у отдельных лиц возможен вяло текущий поверхностный дерматит, который проходит без лечения. При попадании в глаза наблюдается ожог 2-й степени. Изменения обратимы и проходят через 20 - 30 дней

И-4-Д, И-21-Д, И-30-Д

Относятся к 4-му классу опасности - малоопасным веществам

Не проникают через неповрежденную кожу. При попадании в глаза вызывают химический ожог 1-й степени, который проходит без лечения через 7 дней

И-К-10, И-К-40

Относятся к 3-му классу опасности - умеренно опасным веществам

Не проникают через неповрежденную кожу. При попадании в глаза вызывают химический ожог 2 - 3-й степени, который проходит без лечения через 2 - 3 недели

Нефтехим

Относится к 4-му классу - малотоксичным веществам

Раздражающим и аллергенным действием не обладает. При попадании в глаза вызывает незначительное воспаление слизистой оболочки

Газохим

Относится к 3-му классу - умеренно опасным веществам

Раздражающим действием не обладает. Обладает аллергическими свойствами

2.14. Хранение и прием пищи в местах работы с ингибиторами категорически запрещается.

2.15. Применение ингибитора для мытья рук, чистки одежды и других бытовых нужд запрещается.

2.16. Категорически запрещается наклоняться над люком емкости с ингибитором.

2.17. При употреблении И-1-А в смеси с соляной кислотой нельзя допускать образования аэрозолей.

2.18. Перемешивание ингибиторов производится только механическим путем.

2.19. Во избежание вдыхания паров ингибитора во время замера, отбора проб, открывания люков емкостей и других операций необходимо становиться с наветренной стороны. Отбор проб производить только в противогазах.

2.20. Работу внутри емкостей аппаратов, предназначенных для ингибиторов, необходимо производить в шланговых противогазах ПШ-1, ПШ-2 после специальной промывки и пропаривания емкостей аппаратов инертным газом (азотом) или водяным паром до достижения предельно допустимой концентрации паров ингибитора в воздухе 0,001 мг/л.

2.21. При работе в местах, где концентрация газа превышает допустимые санитарные нормы, рабочие должны обеспечиваться противогазами. Типы противогазов (марки А, М, КД, КИП-7) согласовываются с командиром газоспасательной службы.

2.22. Фильтрующие противогазы применяются, когда в воздушной среде содержится не менее 16 % кислорода, а содержание вредных газов не превышает пределов, допустимых для данного типа и марки противогаза.

2.23. Фильтрующие противогазы должны перезаряжаться в те сроки и в том порядке, которые указаны в технических паспортах на эти средства защиты.

2.24. Продолжительность непрерывной работы в шланговом противогазе не должна превышать 15 мин с последующим отдыхом на свежем воздухе не менее 15 мин.

2.25. Противогазы, закрепленные за рабочими, должны храниться в особых шкафах по возможности ближе к месту работы.

2.26. Противопоказаниями для допуска к работе с ингибиторами следует считать имевшиеся в анамнезе поражения кожи (дерматит, экзема, каратоз), заболевания печени и почек, а также беременность.

2.27. Лица, находящиеся в контакте с ингибиторами, должны проходить медосмотры не реже одного раза в год. Те, у кого в процессе работы с ингибитором возникнут кожные заболевания, болезни печени, почек и нервной системы, а также беременные женщины и кормящие матери в обязательном порядке переводятся на другую работу.

2.28. Для лиц, соприкасающихся с ингибиторами в течение всей смены, распоряжением по предприятию устанавливается 6-часовой рабочий день. Основанием для этого являются:

а) содержание в ингибиторах веществ типа пиколинов и метилэтилпиридинов, вызывающих острое и хроническое отравление;

б) возможность проникновения ингибиторов через кожу;

в) возникновение при длительном контакте с ингибиторами хронического дерматита.

3. ПРОТИВОПОЖАРНАЯ БЕЗОПАСНОСТЬ

3.1. Ингибиторы коррозии огнеопасны и взрывоопасны. Пожарные характеристики ингибиторов приведены в табл. 2.

3.2. При работе с ингибиторами необходимо соблюдать такие же противопожарные правила, как и при работе с нефтью и нефтепродуктами.

3.3. Установка для закачки ингибиторов должна быть снабжена огнетушителями, асбестовым одеялом, песком и другими средствами пожаротушения.

3.4. Ингибиторы нельзя хранить вместе с самовозгорающимися и самовоспламеняющимися веществами (щелочными металлами, перекисными и металлоорганическими соединениями и т.д.), с легковоспламеняющимися веществами (эфирами, ацетонами и др.).

3.5. При работе с ингибиторами коррозии необходимо использовать только медненный инструмент.

3.6. В случае, если ингибитор был разлит, необходимо засыпать его песком, убрать песок и обработать место разлива 5 %-ным раствором соляной кислоты, а затем водой.

3.7. Около емкостей с ингибитором нельзя производить сварочные работы, разводить открытый огонь (без разрешения пожарной охраны на производство огневых работ), курить.

3.8. При возникновении пожара следует немедленно сообщить в пожарную охрану и приступить к его тушению имеющимися средствами.

Таблица 2

Пожароопасность ингибиторов

Марка ингибитора

Группа горючести

Температура, °С

Средства тушения

вспышки

воспламенения

самовоспламенения

И-1-А

ГЖ

114

128

375

Тонкораспыленная вода

"Север-1"

ЛВЖ

23

24

385

Вода, раствор смачивателя, тонкораспыленная вода, воздушно-механическая пена

И-1-Е

ЛВЖ

23

29

454

Те же

"Тайга-1" (И-5-ДНК)

ЛВЖ

19

25

379

Те же

"Тайга-2" (И-5-ДТМ)

ЛВЖ

15

19

381

Те же

И-21-Д

ЛВЖ

17

19

237

Воздушно-механическая пена, химическая и химически омыленная пена

И-4-Д

ГЖ

81

105

239

Тонкораспыленная вода

И-К-10

ЛВЖ

35

96

501

Вода, раствор смачивателя, тонкораспыленная вода, воздушно-механическая пена

И-К-40

ЛВЖ

34

101

410

Вода, раствор смачивателя, тонкораспыленная вода, воздушно-механическая пена

И-30-Д

ЛВЖ

15

18

261

Воздушно-механическая пена, химическая и химически омыленная пена

Нефтехим

ГЖ

37

 

340 - 435

Вода, раствор смачивателя, воздушно-механическая пена

Газохим

ГЖ

61

 

262

Те же

4. ТРАНСПОРТИРОВКА И ХРАНЕНИЕ ИНГИБИТОРОВ КОРРОЗИИ

4.1. Перевозка и хранение ингибиторов коррозии разрешается лишь в герметичных емкостях и бойлерах.

4.2. Бойлеры для перевозки ингибиторов коррозии должны быть оборудованы:

а) огнетушителями, ведрами, лопатами;

б) заземляющим устройством;

в) приспособлениями для крепления сливных шлангов в нерабочем положении;

г) искрогасителями.

4.3. Если в пути следования в бойлере будет обнаружена течь, необходимо принять следующие меры:

а) по возможности удалить бойлер с дороги;

б) ликвидировать утечку;

в) разлитый ингибитор засыпать землей.

4.4. При длительной остановке в пути следования бойлер необходимо располагать на безопасном расстоянии от транспортных средств с другими грузами и тщательно охранять.

4.5. Перед установкой бойлера, транспортирующего ингибитор, на технический осмотр и после окончания работ с ингибиторами необходимо его промыть или пропарить.

Стоянка агрегатов и автоцистерн с остатками ингибитора в закрытом гараже запрещается.

4.6. Перед заполнением ингибитором емкость должна быть тщательно проверена. Наливать ингибитор в неисправные емкости воспрещается.

4.7. Емкости, предназначенные для ингибитора, должны быть заземлены.

4.8. На емкостях с ингибитором должна быть надпись "Ингибитор. Ядовит. Огнеопасно".

4.9. Емкость для ингибитора должна иметь:

а) металлическую лестницу с перилами;

б) ограждение крыши по всему периметру, за исключением мест выхода с лестницы;

в) автоматический регулятор уровня.

4.10. Учет, хранение и расход ингибиторов коррозии следует вести в специальном журнале.

5. ЭКСПЛУАТАЦИЯ УСТАНОВКИ ДЛЯ ЗАКАЧКИ ИНГИБИТОРА

5.1. Перед началом работы необходимо проверить исправность агрегатов, запорной арматуры, контрольно-измерительных приборов и освещения.

5.2. Проверить наличие противопожарного инвентаря - огнетушителей, лопат, ведер, песка.

5.3. В процессе эксплуатации установки необходимо строго следить за герметичностью сальников насосов, перекачивающих ингибитор, сальников задвижек, фланцевых и других соединений, все неплотности немедленно устранять, разлитый ингибитор собирать и загрязненные места засыпать землей.

5.4. Во время работы запрещается ремонтировать или крепить какие-либо части насоса.

5.5. При длительных остановках насосов в зимнее время запрещается:

а) пускать их в работу без достаточного прогрева (паром, горячей водой) манифольда и пробной прокачки жидкости по трубам;

б) прогревать манифольд открытыми источниками огня.

5.6. По окончании работ все оборудование и трубопроводы желательно освободить от ингибитора и промыть водой.

5.7. Площадка установки для закачки ингибиторов коррозии должна иметь плотный гладкий пол с устройством для стока и сбора пролитого ингибитора и смывных вод, а также канализацию.

6. МОЙКА, ЧИСТКА ЕМКОСТЕЙ

6.1. Емкости и их оборудование должны периодически осматриваться ответственным работником.

6.2. Очистка емкостей должна быть механизированной и проводиться под руководством ответственного работника.

6.3. Работы внутри емкостей разрешаются только после полного спуска остатка ингибитора, отсоединения всех трубопроводов и открытия всех отверстий (лазов, люков), тщательной промывки или пропарки емкости и проветривания.

6.4. При работе внутри емкости рабочие должны быть одеты в непроницаемую для ингибитора спецодежду. Поверх спецодежды надевается пояс с крестообразными лямками, к которому прикрепляется сигнально-спасательная веревка. Другой конец веревки должен выходить наружу через люк.

6.5. У люка все время должно находиться не менее двух рабочих, имеющих при себе шланговые противогазы для оказания в случае необходимости помощи работающему в емкости, причем один рабочий все время должен держать конец сигнально-спасательной веревки.

6.6. Рабочие, допускаемые к очистке емкостей, должны быть предварительно проинструктированы по правилам безопасности проведения этой работы.

6.7. При появлении трещин в сварных швах или в основном металле корпуса емкость должна быть немедленно опорожнена и поставлена на ремонт. Запрещается чеканка трещин или отдельных свищей в сварном шве емкости, а также заварка трещин на емкостях, заполненных ингибитором.

6.8. Ремонтные, монтажные и строительные работы на территории эксплуатируемых резервуаров, связанные с применением огня (сварки, резки, клепки), необходимо проводить под руководством ответственного работника с письменного разрешения технического руководителя после предварительного согласования с пожарной охраной.

6.9. При обслуживании и ремонте резервуаров разрешается применять только переносные светильники напряжением не выше 12 вольт во взрывобезопасном исполнении.

Приложение 3

ЖУРНАЛ
учета закачек ингибиторов коррозии
в НГДУ
                                                                                         

Начат                   

Окончен                

ЗАКАЧКА ИНГИБИТОРА № 1

1. Дата начала закачки ингибитора                                 в                часов

(число, месяц, год)                  (время)

2. Дата окончания закачки ингибитора                           в                часов

(число, месяц, год)                  (время)

3. Время закачки ингибитора, часов                                  

4. В каждом см3 емкости с раствором ингибитора содержится      мг/л ингибитора

5. Расход раствора ингибитора через каждые 4 часа:

I день                     

II день                    

III день                  

Всего за         часов закачано             см3 раствора ингибитора

6. Количество агрессивной среды, м3, проходящей в:

I день                     

II день                    

III день                  

Всего за           часов закачано                м3 агрессивной жидкости

7. Концентрация ингибитора, мг/л:

I день                     

II день                    

III день                  

Средняя концентрация ингибитора           мг/л

8. Дата установки коррозионных образцов-свидетелей                                              

(число, месяц, год)

часов                             минут                                         № образцов                                  

9. Дата снятия образцов-свидетелей                                                                

(число, месяц, год)

часов                             минут                                         № образцов                                  

10. Неполадки при закачке ингибитора                                                       

Ответственный за закачку ингибитора                   (должность, фамилия, инициалы)

(подпись)

Характеристики образцов-свидетелей

Дата установки образцов

Номера образцов

Поверхность образцов, м2

Время испытания образцов, ч

Масса образцов, г

Потери массы образцов, г

Скорость коррозии после введения ингибитора, г/м2·ч

Эффективность ингибирования, %

Примечание

до испытания

после испытания

 

 

 

 

 

 

 

 

 

 

СОДЕРЖАНИЕ

1. Общие положения. 1

2. Подготовка коррозионных образцов-свидетелей к промысловым испытаниям.. 3

3. Конструкции байпасов, катушек и кассет для коррозионных испытаний. 4

4. Установка для закачки ингибиторов. 4

5. Технология закачки ингибиторов. 5

Наземные коммуникации. 5

Приложения: 5

1. Схемы установки оборудования для закачки ингибиторов и его конструкции. 5

2. Временная инструкция по технике безопасности при работе с ингибиторами коррозии. 14

3. Журнал  учета закачек ингибиторов коррозии  в НГДУ.. 18

 




Rambler's Top100 Яндекс цитирования
  Copyright © 2008-2026, www.docload.ru