Бесплатная библиотека стандартов и нормативов www.docload.ru

Все документы, размещенные на этом сайте, не являются их официальным изданием и предназначены исключительно для ознакомительных целей.
Электронные копии этих документов могут распространяться без всяких ограничений. Вы можете размещать информацию с этого сайта на любом другом сайте.
Это некоммерческий сайт и здесь не продаются документы. Вы можете скачать их абсолютно бесплатно!
Содержимое сайта не нарушает чьих-либо авторских прав! Человек имеет право на информацию!

 

Р 50.2.024-2002

РЕКОМЕНДАЦИИ ПО МЕТРОЛОГИИ

ГОСУДАРСТВЕННАЯ СИСТЕМА ОБЕСПЕЧЕНИЯ ЕДИНСТВА ИЗМЕРЕНИЙ

ТЕОДОЛИТЫ И ДРУГИЕ ГЕОДЕЗИЧЕСКИЕ
УГЛОМЕРНЫЕ ПРИБОРЫ

МЕТОДИКА ПОВЕРКИ

ГОССТАНДАРТ РОССИИ

Москва

Предисловие

1 РАЗРАБОТАНЫ Федеральным государственным унитарным предприятием «Сибирский государственный Ордена Трудового Красного Знамени научно-исследовательский институт метрологии» (ФГУП СНИИМ) Госстандарта России и Сибирской государственной геодезической академией (СГГА) Министерства образования России

ВНЕСЕНЫ Научно-техническим управлением Госстандарта России

2 ПРИНЯТЫ И ВВЕДЕНЫ В ДЕЙСТВИЕ Постановлением Госстандарта России от 11 марта 2002 г. № 90-ст

3 При разработке настоящих рекомендаций использован патент на изобретение 2116626 RU МКИ 6G 01 D 18/00 № 95108631/28. Заяв. 26.05.95. Опубл. 27.07.98

4 ВВЕДЕНЫ ВПЕРВЫЕ

СОДЕРЖАНИЕ

1 Область применения. 1

2 Нормативные ссылки. 2

3 Операции и средства поверки. 2

4 Требования к квалификации поверителей и требования безопасности. 3

5 Условия поверки и подготовка к ней. 3

6 Проведение поверки. 3

6.1 Внешний осмотр. 3

6.2 Опробование. 3

6.3 Определение метрологических характеристик. 4

6.4 Обработка результатов измерений при определении метрологических характеристик. 6

7 Оформление результатов поверки. 7

Приложение А Эталонная установка ЭУ-1. 7

Приложение Б Классификация геодезических угломерных приборов. 9

Приложение В Библиография. 9

РЕКОМЕНДАЦИИ ПО МЕТРОЛОГИИ

Государственная система обеспечения единства измерений

ТЕОДОЛИТЫ И ДРУГИЕ ГЕОДЕЗИЧЕСКИЕ УГЛОМЕРНЫЕ ПРИБОРЫ

Методика поверки

Дата введения 2002-12-01

1 Область применения

Настоящие рекомендации устанавливают методы и средства первичной и периодической поверок теодолитов по ГОСТ 10529 и других геодезических угломерных приборов [тахеометров, геодиметров, астроуниверсалов и др. (ГУП)] отечественного и зарубежного производства, соответствующих указанным рекомендациям в части определения погрешности ГУП при измерении горизонтальных и вертикальных углов.

Настоящие рекомендации предусматривают использование устройства для аттестации системы измерения вертикальных углов теодолита по [1].

Методы измерений, отличные от указанных в настоящих рекомендациях, в том числе - полевые, нашедшие применение в метрологической практике [2], [3], [4], не могут быть использованы.

Межповерочный интервал - не более одного года.

2 Нормативные ссылки

В настоящих рекомендациях использованы ссылки на следующие нормативные документы:

ГОСТ 8.050-73 Государственная система обеспечения единства измерений. Нормальные условия выполнения линейных и угловых измерений

ГОСТ 12.1.040-83 Система стандартов безопасности труда. Лазерная безопасность. Общие положения

ГОСТ 577-68 Индикаторы часового типа с ценой деления 0,01 мм. Технические условия

ГОСТ 1012-72 Бензины авиационные. Технические условия

ГОСТ 2875-88 Меры плоского угла призматические. Общие технические условия

ГОСТ 10197-70 Стойки и штативы для измерительных головок. Технические условия

ГОСТ 10529-96 Теодолиты. Общие технические условия

ГОСТ 18300-87 Спирт этиловый ректификованный технический. Технические условия

Р 50.2.023-2002 Государственная система обеспечения единства измерений. Нивелиры. Методика поверки

3 Операции и средства поверки

3.1 Операции и средства поверки должны соответствовать указанным в таблице 1.

Таблица 1

Наименование операции

Номер пункта настоящих рекомендаций

Наименование и тип основного или вспомогательного средства поверки; обозначение нормативного документа, регламентирующего технические требования и (или) метрологические и основные технические характеристики средства поверки

Обязательность проведения операции при поверке

первичной

периодической

Внешний осмотр

6.1

-

Да

Да

Опробование

6.2

-

Да

Да

Проверка установки и юстировки установочных уровней

6.2.2

 

Да

Да

6.2.3

-

Да

Да

Определение метрологических характеристик:

6.3

-

-

-

определение погрешности ГУП при измерении:

 

 

 

 

горизонтальных углов

6.3.1

Эталонная установка ЭУ-1 (приложение А)

Да

Да

 

Штатив ШМ по ГОСТ 10197

 

 

 

Индикатор по ГОСТ 577

 

 

 

Уровень с ЦД 1’ (из комплекта автоколлиматора)

Да

Да

вертикальных углов

6.3.2

Эталонная установка ЭУ-1 (приложение А)

 

 

 

Штатив ШМ по ГОСТ 10197

 

 

 

Индикатор по ГОСТ 577

 

 

 

Плоская стеклянная пластина ПИ-60 [5]

Да

Нет

проверка нулевого показания ГУП при горизонтальном положении зрительной трубы

6.3.3

Эталонный компаратор для поверки нивелиров ЭКПН по Р 50.2.023, приложение А

 

 

Обработка результатов определения метрологических характеристик:

6.4

-

 

 

определение средней квадратической погрешности (СКП) измерений:

 

 

 

 

горизонтальных углов

6.4.1

-

Да

Да

вертикальных углов

6.4.2

-

Да

Да

Определение СКП наведения

6.4.3

-

Да

Да

Определение общей СКП

6.4.4

-

Да

Да

Примечание - Допускается применять другие средства поверки, имеющие свидетельства о поверке и обеспечивающие определение метрологических характеристик с требуемой точностью.

4 Требования к квалификации поверителей и требования безопасности

4.1 К проведению поверки допускают лиц, имеющих опыт работы с оптическими приборами не менее трех лет и аттестованных в определенном в [6] порядке.

4.2 При поверке соблюдают правила техники безопасности при работе с оптическими и электронными приборами в соответствии с эксплуатационными документами, а также:

- правила по технике безопасности при производстве топографо-геодезических работ [7];

- правила по технике безопасности при работе с радиоэлектронной аппаратурой [8];

- требования ГОСТ 12.1.040.

4.3 Узлы ГУП промывают бензином или спиртом в специально приспособленном помещении с вытяжной вентиляцией, в котором предусмотрены знаки, запрещающие пользоваться открытым огнем, курить и применять электронагревательные приборы.

4.4 Процесс проведения поверки не наносит вред здоровью поверителей и окружающей среде.

5 Условия поверки и подготовка к ней

5.1 При проведении поверки соблюдают требования ГОСТ 8.050, а также следующие условия:

- температура окружающего воздуха, °С....................................... 20 ± 5;

- относительная влажность окружающего воздуха, %................. 65 ±15;

- атмосферное давление, кПа (мм рт. ст.)..................................... 100 ± 5 (760 ± 35);

- скорость изменения температуры окружающего воздуха в 1 ч,

°С, не более....................................................................................... 0,5.

5.2 Электропитание должно осуществляться от сети переменного тока напряжением (220) В и частотой (50 ± 1) Гц.

5.3 Перед поверкой ГУП выдерживают в упаковке в рабочем помещении не менее 2 ч.

5.4 Во время поверки движение воздуха в помещении не допускают.

5.5 Детали ГУП и приспособлений очищают, при необходимости, от смазки с использованием авиационного бензина по ГОСТ 1012 и протирают чистой салфеткой. Наружные части объективов, окуляров оптических приборов и рабочих поверхностей многогранной призмы и угловой меры протирают ватным тампоном, смоченным в спирте-ректификате «Экстра» по ГОСТ 18300, предварительно смахнув с них пыль кисточкой. Нельзя протирать оптические детали сухим тампоном. Зеркала чистят с особой осторожностью, так как отражающий слой нанесен на наружной поверхности. Запрещается прикасаться руками или сухим протирочным материалом к отражающим поверхностям зеркал.

6 Проведение поверки

6.1 Внешний осмотр

6.1.1 При внешнем осмотре проверяют комплектность ГУП, целостность оптических узлов, чистоту окуляров, объективов, экранов, отсутствие явных повреждений деталей и узлов.

6.2 Опробование

6.2.1 При опробовании проверяют работу всех микровинтов, регулировочных винтов, включение подсветки, качество изображения штрихов в поле зрения или изображения на экране.

6.2.2 При проверке установки и юстировки установочного и цилиндрического уровней ГУП устанавливают на жесткое основание. Уровень устанавливают параллельно двум подъемным винтам подставки и, вращая их в противоположных направлениях, приводят пузырек уровня на середину. Затем поворачивают алидаду горизонтального круга на 180°. Пузырек уровня при этом не должен отклоняться от среднего положения. В противном случае половину отклонения устраняют юстировочными винтами уровня, другую половину - подъемными винтами ГУП, а затем повторяют установку и юстировку. Установку и юстировку проводят до тех пор, пока пузырек уровня не будет отклоняться более чем на 0,5 деления.

Проверяют и юстируют уровни, расположенные под углом 90°, поочередно.

6.2.3 Круглый уровень (при наличии) юстируют собственными исправительными винтами после точной установки ГУП по выверенному цилиндрическому уровню.

6.3 Определение метрологических характеристик

6.3.1 Определение погрешности ГУП при измерении горизонтальных углов

6.3.1.1 Левый круг ГУП условно принято обозначать «Круг Л». Погрешность ГУП определяют сравнением углов поворота алидады с углами многогранной призмы на эталонной установке ЭУ-1.

Пределы допускаемых погрешностей ГУП и характеристики применяемых средств поверки указаны в таблице 2.

Таблица 2

Поверяемый ГУП

Средство поверки

Группа и тип ГУП (приложение Б)

Предел допускаемой погрешности ГУП при измерении горизонтальных углов, ... ", при поверке

Границы допускаемой СКП [∆(r)],... "

Многогранная призма по ГОСТ 2875

Автоколлиматор

первичной

периодической

Число граней, не менее

Класс

Погрешность, ... "

Тип

Погрешность, ... "

[∆r] (круг Л)

[∆r] {(Л+П)/2}

[∆r] (круг Л)

[∆r] {(Л+П)/2}

Высокоточный Т02

3

2

4,5

3

0,7

24

0

0,15

АКФ, АКУ-02

0,15

Высокоточный Т1

4,5

3

6

4

1

24

0

0,3

АКФ, АКУ-02

0,3

Точный Т2

6

4

9

6

2

18

0

0,3

АКУ-02

0,3

Точный Т5

25

8

30

10

5

12

0

0,3

АКУ-05

0,3

Технический Т15

40

15

50

17

15

8

1

1

АКУ-05

1

Технический Т30

50

17

60

20

30

6

2

3

АКУ-1

3

Технический Т60

60

20

80

25

60

6

2

3

АКУ-1

3

Поверяемый ГУП устанавливают на основании ЭУ-1, предварительно установленном по уровню. Используя собственные уровни, ГУП приводят в нормальное положение, на алидаду устанавливают приспособление со столиком (далее - приспособление) для многогранной призмы (рисунок А.1). Затем на столик устанавливают многогранную призму (далее - призма) и котировочными винтами, используя индикатор, призму юстируют таким образом, чтобы ее торцевое и радиальное биение не превышало 0,1 мм. На основании устанавливают автоколлиматор (АК) таким образом, чтобы его оптическая ось пересекалась с вертикальной осью поверяемого ГУП, а по высоте находилась приблизительно по центру грани призмы (рисунок А.2). Торец трубы АК должен быть расположен на незначительном расстоянии от призмы (350 - 400 мм). Затем по АК выверяют параллельность оси призмы и оси вращения алидады ГУП и перпендикулярность их к оси АК.

Совместную юстировку призмы и АК проводят следующим образом. Вращением алидады подводят в поле зрения автоколлимационное изображение марки (далее - АК-марка) от любой грани, затем в вертикальном направлении регулировкой АК устанавливают АК-марку по среднему делению шкалы (или центра биссектора), после этого подводят АК-марку от противоположной грани призмы. Одну половину расхождения положения по вертикали устраняют регулировкой столика, другую - регулировкой АК. Затем поворачивают алидаду на 90° и наклоном призмы добиваются совмещения АК-марки со средним делением шкалы. В первоначальном положении призмы проверяют совпадение изображений по вертикали. Расхождение не должно превышать видимой двойной ширины элемента АК-марки.

Устанавливают первую грань призмы против автоколлиматора и винтом точной наводки ГУП совмещают АК-марки с любым штрихом шкалы АК. Устанавливают лимб на отметку «0°» (сбрасывают нуль по отсчетному устройству, например тахеометра Та-3М). Регистрируют показание по шкале АК. Эту операцию проводят трижды. Расхождения не должны превышать [∆(г)] (таблица 2). Усредненное значение из трех показаний принимают за первый отсчет а1пр и вносят в протокол. Далее поворачивают алидаду на угловой шаг призмы, совмещают изображения штрихов ГУП и аналогично вышеизложенному регистрируют отсчеты по АК.

Аналогичную операцию проводят для всех углов призмы и во втором прямом направлении (а2пр). Из результатов измерений а1пр и а2пр вычисляют средние значения аср. Разность между двумя любыми значениями сравнивают с соответствующими углами призмы из свидетельства о ее поверке и по полученным отклонениям судят о погрешности на участках ГУП (круг Л). Определяют накопленную погрешность ∆г для любого угла лимба и отмечают экстремальные значения ∆mах и ∆min.

Примечание - При снятии показаний маховички отсчетных устройств АК и ГУП необходимо вращать в одном направлении.

Для высокоточных ГУП проводят дополнительную серию измерений, сместив на угловой шаг призму или лимб.

Одновременно определяют разность показаний ГУП при двух оборотах вращения; это разность между а1пр и а2пр, которая не должна превышать 0,5[∆(г)] (таблица 2).

Примечания

1 Допускается использование призм с меньшим числом граней с проведением двух дополнительных серий измерений, каждая из которых различается смещением призм на 3°.

2 Допускается отсчеты регистрировать по отсчетному устройству ГУП, в этом случае число совмещений штрихов по ГУП должно быть не менее 10 при каждом наведении автоколлиматором.

Значение максимальной погрешности ГУП при измерении горизонтальных углов ∆м (круг Л) не должно превышать значений [∆г] (круг Л), указанных в таблице 2.

6.3.1.2 Правый круг ГУП условно принято обозначать «Круг П». Снимают призму, приспособление, переводят через зенит зрительную трубу. Снова устанавливают приспособление и призму, причем при положении первой грани призмы против автоколлиматора отсчет по теодолиту (тахеометру) должен быть 180°. Проводят операции по 6.3.1 и определяют ∆г (круг П).

Значение максимальной погрешности ГУП при круге П ∆м не должно превышать значений [∆г] (круг Л), указанных в таблице 2. Полученные данные вносят в протокол.

6.3.1.3 (Л+П)/2. Для определения погрешности ГУП при измерении горизонтальных углов ∆г{(Л+П)/2} усредняют соответствующие значения, полученные при кругах Л и П по 6.3.1.1 и 6.3.1.2. Значение максимальной погрешности ГУП ∆м не должно превышать значений [∆г]{(Л+П)/2}, указанных в таблице 2.

6.3.2 Определение погрешности ГУП при измерении вертикальных углов

6.3.2.1 Круг Л. Погрешность ГУП определяют на эталонной установке ЭУ-1 сравнением показаний ГУП с углами угловой специальной меры (далее - мера). Меру в приспособлении устанавливают на зрительной трубе ГУП так, чтобы ее геометрический центр максимально возможно совпал с осью вертикального лимба (рисунок А.3).

АК с диагональным зеркалом устанавливают на основании таким образом, чтобы ось пучка света, отраженного от диагонального зеркала, была параллельна вертикальной оси ГУП, для чего используют плоскопараллельную пластину ПИ-60. Устанавливают ГУП с приспособлением на основании и юстируют его положение по собственным уровням. Затем закрепляют алидаду и котировочными винтами приспособления, микровинтами алидады проводят юстировку до получения АК-изображений от всех граней призмы на одном уровне (расхождения не должны превышать двойной цены деления минутной шкалы АК).

Измерения проводят следующим образом. Наклоном трубы с мерой вводят АК-изображение от первой грани меры в поле зрения АК, фиксируют показание по отсчетному устройству ГУП и регистрируют отсчет по АК. Эту операцию проводят трижды, и усредненное значение принимают за первый отсчет. Последовательно наклоняют трубу ГУП на угловой шаг меры и регистрируют отсчеты по АК (прямой ход), затем проводят аналогичные измерения в обратном порядке (обратный ход). Отсчеты, полученные от каждой грани при прямом и обратном ходе, усредняют и приводят к отсчету от первой грани. Полученные результаты сравнивают с отклонениями меры и по расхождениям результатов судят о погрешности измерения любого угла вертикальным лимбом ГУП (круг Л).

Значение максимальной погрешности ГУП ∆м (круг Л) не должно превышать значений [∆в] (круг Л), указанных в таблице 3.

Таблица 3 - Погрешность измерений вертикальных углов ∆

Поверяемый ГУП

Средство поверки

Группа и тип ГУП (приложение Б)

Предел допускаемой погрешности ГУП при измерении вертикальных углов, ... ", при поверке

Границы допускаемой СКП [∆(в)],..."

Угловая специальная мера по ГОСТ 2875

первичной

периодической

Число граней, не менее

Погрешность аттестации, … "

[∆в]
(круг Л)

[∆в]
{(
Л+П)/2}

[∆в]
(круг Л)

[∆в]
{(
Л+П)/2}

Высокоточный Т02

4

1,5

6

2

1

5

0,15

Высокоточный Т1

10

3

15

4

1,2

5

0,3

Точный Т2

15

4

20

6

2,5

5

0,3

Точный Т5

20

8

25

10

8

5

0,3

Технический Т15

25

10

30

15

25

5

1

Технический Т30

30

15

40

20

45

5

3

Технический Т60

40

20

60

30

90

5

3

6.3.2.2 Круг П. Снимают приспособление, переводят через зенит зрительную трубу. Устанавливают приспособление и проводят операции по 6.3.2.1.

Значение максимальной погрешности ГУП при круге П ∆м не должно превышать значений [∆в] (круг Л), указанных в таблице 3.

6.3.2.3 (Л+П)/2. Для определения погрешности ГУП при измерении вертикальных углов ∆в{(Л+П)/2} усредняют значения погрешностей, полученных при кругах Л и П по 6.3.2.1 и 6.3.2.2. Значение максимальной погрешности ГУП ∆м не должно превышать значений [∆в]{(Л+П)/2}, указанных в таблице 3.

6.3.3 Нулевое показание ГУП при горизонтальном положении зрительной трубы проверяют на эталонном компараторе для поверки нивелиров ЭКПН. Измерения проводят аналогично измерениям при определении угла / нивелира как для круга Л, так и для круга П. Усредненное значение отклонения от нулевого показания θ [(Л+П)/2] не должно превышать значений [∆(в)]{(Л+П)/2}, указанных в таблице 3.

6.4 Обработка результатов измерений при определении метрологических характеристик

6.4.1 Определение СКП измерений горизонтальных углов

СКП измерений горизонтальных углов определяют по формуле

                                                             (1)

где S = S(Г) - СКП измерений горизонтальных углов;

Vi = Vi(г) - отклонение от среднего значения показаний (отсчета) для горизонтального лимба по 6.3.1;

п - число измерений.

Доверительные границы случайной погрешности определяют по формуле

∆ = tpS,                                                                   (2)

где ∆ = ∆(г) - доверительные границы случайной погрешности измерений горизонтальных углов;

tp - коэффициент Стьюдента, равный 2,74 при Р = 0,95, п = 10;

S = S(г).

Значение ∆(г) не должно превышать значений [∆(г)], указанных в таблице 2.

6.4.2 Определение СКП измерений вертикальных углов

СКП измерений вертикальных углов SB определяют по формуле (1), где Vi = Vi(в) - отклонение от среднего значения показаний (отсчета) для вертикального лимба по 6.3.2.

Доверительные границы случайной погрешности определяют по формуле (2),
где
S = Sв;

= ∆(в).

Значение ∆(в) не должно превышать значений [∆(в)], указанных в таблице 3.

6.4.3 СКП наведения S(н) определяют по формуле (1),
где
S = S(н);

Vi = Vi(н) - отклонение от среднего значения отсчета по АК при 10 наведениях зрительной трубой на объект.

Доверительные границы случайной погрешности определяют по формуле (2),
где
S = S(н);

∆ = ∆(н).

Значение ∆(н) не должно превышать значений [∆(г)], указанных в таблице 2.

6.4.4 Общую СКП измерений SΣ определяют по формуле

,                                               (3)

где S(г), S(в), S(н) - вычисленные значения по 6.4.1; 6.4.2; 6.4.3 соответственно.

Доверительные границы случайной погрешности определяют по формуле (2),
где
S = SΣ,

= ∆Σ.

Значение ∆Σ не должно превышать значений [∆(в)], указанных в таблице 3.

6.4.5 Пример обработки результатов измерений при определении метрологических характеристик ГУП приведен в таблице 4.

Таблица 4

Номер грани призмы

Установка углов по ГУП

Отсчет по АК

aicp + (i-1)ν

A(i+1)ср-Aicp

Углы призмы

Bi-Ci

Круг Л

Круг П

(Л+П)/2 {∆г(круг Л) + ∆г (круг П)}/2

ai1 пр

ai2 пр

ai cр

Ai cр

Bi

Сi

yi

г (круг Л)

г (круг П)

г [(Л+П)/2]

1

0° 30’

31"

29"

30"

30"

4"

1"

3"

0"

0"

0"

2

60° 30’

36"

34"

35"

34"

-16"

-1"

-15"

3"*

-2"*

0,5"

3

120° 30’

21"

19"

20"

18"

4"

5"

-1"

-12"

14"

1"

4

180° 30’

26"

24"

25"

22"

14"

-2"

16"

-13"*

3"

-5"*

5

240° 30’

41"

39"

40"

36"

-16"

-5"

-11"

3"

11"

7"*

6

300° 30’

24"

26"

25"

20"

10"

2"

8"

-8"

15"*

3,5"

1

0° 30’

35"

37"

36"

30"

0"

0"

0"

0"

0"

0"

 

м=16"

м=17"

м=12"

Примечание - Коэффициент ν = [aicp - a(n+1)cp]/п = - 1; Aicp = aicp + ν*(i- 1); Вi = A(i+1)cp - Aср; Сi - действительное значение углового отклонения между гранями призмы; уi - погрешность на участках лимба; ∆г(круг Л) - погрешность ГУП при измерении горизонтальных углов (круг Л); знаком * отмечены экстремальные значения погрешности ГУП; ∆m = (∆max - ∆min) - значение максимальной погрешности ГУП.

7 Оформление результатов поверки

7.1 Положительные результаты поверки оформляют свидетельством о поверке в соответствии с [9]. В свидетельство о поверке вносят максимальные значения погрешности ГУП при измерении горизонтальных и вертикальных углов ∆м (круг Л); ∆м{(Л+П)/2}; а также Σ и θ.

7.2 Отрицательные результаты поверки оформляют в соответствии с [9]. При этом ГУП к дальнейшей эксплуатации не допускают.

ПРИЛОЖЕНИЕ А

(справочное)

Эталонная установка ЭУ-1

Эталонная установка ЭУ-1 для определения погрешности измерения горизонтальных и вертикальных углов ГУП (разработчики - ФГУП СНИИМ; СГГА) включает в себя устройство для аттестации системы измерения горизонтальных углов теодолита и устройство для аттестации системы измерения вертикальных углов теодолита [1].

Диапазон измерений в горизонтальной плоскости составляет 0 - 360°, в вертикальной плоскости - ± 60°. Погрешность аттестации при использовании АК и многогранных угловых мер - рабочих эталонов 1-го разряда в горизонтальной плоскости не превышает 0,4", в вертикальной - 0,5".

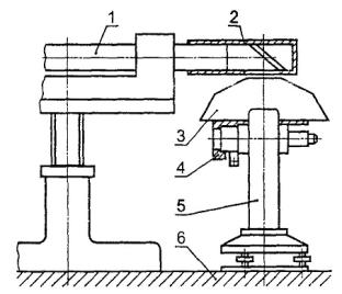
Погрешность измерений на устройстве для аттестации системы измерения горизонтальных углов теодолита (ГУП) определяют следующим образом (рисунок А.1).

На приспособлении 4 соответствующего типоразмера, которое закрепляют через прокладку 5 на алидаде ГУП 6, устанавливают столик 3 таким образом, чтобы центр последнего совпадал с осью вращения алидады.

На столике устанавливают и закрепляют призму 1. На основании 7 (например, станине оптической делительной головки), где размещено ГУП, устанавливают АК 2 со стойкой так, чтобы его оптическая ось была на уровне середины грани призмы и по центру ее вращения, для чего используют пробку со штырем и экран (рисунок А.2). Поворотом АК добиваются симметричного расположения изображения пробки относительно светового пятна. Используя юстировочные винты АК и предметного столика, добиваются параллельности оси призмы и оси вращения алидады ГУП и перпендикулярности их к оси АК.

Сравнивая углы поворота алидады с известными углами призмы, определяют погрешность измерений горизонтальных углов ГУП.

Рисунок А.1 - Схема устройства для аттестации системы измерения горизонтальных углов теодолита (ГУП)

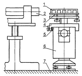
Погрешность измерений на устройстве для аттестации системы измерения вертикальных углов теодолита (ГУП) определяют следующим образом (рисунок А.3).

Приспособление 4 соответствующего типоразмера для крепления меры 3 устанавливают на трубе ГУП 5 и закрепляют таким образом, чтобы геометрический центр меры (центр описанной окружности) максимально совпал с центром вращения зрительной трубы ГУП (проверяют по зазору между гранями меры и любым неподвижным указателем). На основании 6 устанавливают АК 1 с диагональным зеркалом 2 так, чтобы центр светового пучка совпал с вертикальной осью ГУП. Для установки параллельности оси АК плоскости основания на последнюю устанавливают плоскопараллельную пластину (ПИ-60 или пластину из комплекта гониометра ГС-5) и поворотом оправки диагонального зеркала и наклоном АК вводят АК-марку в центр поля зрения АК. Затем по АК юстировочными винтами приспособления добиваются соосности вращения меры и зрительной трубы ГУП. Сравнивая углы наклона трубы с известными углами меры, определяют погрешность измерений вертикальных углов ГУП.

1 - пробка; 2 - крышка; 3 - световое пятно от АК на экране 4

Рисунок А.2 - Приспособление для юстировки соосности АК и ГУП

Рисунок А.3 - Схема устройства для аттестации системы вертикальных углов теодолита (ГУП)

ПРИЛОЖЕНИЕ Б

(справочное)

Классификация геодезических угломерных приборов

Классификация ГУП в зависимости от СКП измерения горизонтального угла одним приемом - по таблице Б.1.

Таблица Б.1

Группа и тип ГУП

Тип равноценных ГУП

Высокоточные Т02; Т05

ОТ-02; ОТ-05; УВК (СССР); ТС 1610Е (Россия); ТС1610 Wild «Leica» (Швейцария)

Высокоточные Т1

Т1; УВК (СССР); ДКМ-3 (А); Т3; ТС1610 Wild «Leica» (Швейцария); GTS702 (Япония)

Точные Т2

ТБ-1 (3); 2Т2 (А) (СССР); ТНЕО 010 А(В) Dahlta 010 ф. «К. Цейсс» (ГДР); Те-В1 (3) (Венгрия); GTS211 D; GTS712; GTS713; Geodimetr 610 M; Sokkil, Poverset, Set4000 (Япония)

Точные Т5

Т5К; 2Т5; 2Т5К; 2Т5КП; 3Т5КП; ОТ Ш; ТТ-4; Та3М; 2Та5 (СССР); ТС600Е (Россия); ТНЕО 020 А (В), Dahlta 020 ф. «К. Цейсс» (ГДР); ТС600 Wild «Leica» (Швейцария); Sokkil, Poverset, Set4010 (Япония)

Технические Т15

T15K (M); TT-5 (СССР); ТНЕО 080 (А) ф. «К. Цейсе» (ГДР)

Технические Т30

Т30; ТМ-1; ТОМ (СССР); 2Т30 (П) (М) (Россия); ТНЕО 120 ф. «К. Цейсс» (ГДР)

Технические Т60

Т60; 2А ШТ (СССР)

ПРИЛОЖЕНИЕ В

(справочное)

Библиография

[1] Патент на изобретение 2116626 RU МКИ 6G 01 D 18/00. Устройство для аттестации системы измерения вертикальных углов теодолита /Б.А. Пизюта, В.Д. Лизунов, В.В. Копытов. Т.В. Набока, O.K. Ушаков, В.В. Афанасьев (Россия) - № 95108631/28. Заяв. 26.05.95. Опубл. 27.07.98. Бюлл. № 21. - 4 с.

[2] Спиридонов А.И., Кулагин Ю.Н., Кузьмин М.В. Поверка геодезических приборов. - М.: Недра, 1981. - 159 с.

[3] МИ БГЕИ 08-90 Методика института. Теодолиты. Методика поверки. - М.: ЦНИИГАиК ГУГК СССР, 1990. - 76 с.

[4] ГКИНП (ГНТА) № 17195-99 Инструкция по проведению технологической поверки геодезических приборов. - М.: ЦНИИГАиК, 1999. - 56 с.

[5] ТУ 3-32123-88 Пластины стеклянные для интерференционных измерений типа ПИ

[6] ПР 50.2.012-94 Государственная система обеспечения единства измерений. Аттестация поверителей средств измерений

[7] Правила по технике безопасности при производстве топографо-геодезических работ (ПТБ - 73. - М.: Недра, 1973)

[8] Правила по технике безопасности при работе с радиоэлектронной аппаратурой (Методические указания по охране труда, утвержденные Постановлением Минтруда РФ № 129 от 1 июля 1993 г.)

[9] ПР 50.2.006-94 Государственная система обеспечения единства измерений. Порядок проведения поверки средств измерений




Rambler's Top100 Яндекс цитирования
  Copyright © 2008-2026, www.docload.ru