Бесплатная библиотека стандартов и нормативов www.docload.ru

Все документы, размещенные на этом сайте, не являются их официальным изданием и предназначены исключительно для ознакомительных целей.
Электронные копии этих документов могут распространяться без всяких ограничений. Вы можете размещать информацию с этого сайта на любом другом сайте.
Это некоммерческий сайт и здесь не продаются документы. Вы можете скачать их абсолютно бесплатно!
Содержимое сайта не нарушает чьих-либо авторских прав! Человек имеет право на информацию!

 

Р 50.2.023-2002

РЕКОМЕНДАЦИИ ПО МЕТРОЛОГИИ

ГОСУДАРСТВЕННАЯ СИСТЕМА ОБЕСПЕЧЕНИЯ ЕДИНСТВА ИЗМЕРЕНИЙ

НИВЕЛИРЫ

МЕТОДИКА ПОВЕРКИ

ГОССТАНДАРТ РОССИИ

Москва

Предисловие

1 РАЗРАБОТАНЫ Сибирским государственным Ордена Трудового Красного Знамени научно-исследовательским институтом метрологии (СНИИМ) Госстандарта России и Сибирской государственной геодезической академией (СГГА) Министерства образования России

ВНЕСЕНЫ Управлением метрологии Госстандарта России

2 ПРИНЯТЫ И ВВЕДЕНЫ В ДЕЙСТВИЕ Постановлением Госстандарта России от 11 марта 2002 г. № 90-ст

3 При разработке настоящих рекомендаций использован патент на изобретение 2093794 RU МКИ 6G 01D 18/00. № 95108630/28. Заяв. 26.05.95

4 ВВЕДЕНЫ ВПЕРВЫЕ

СОДЕРЖАНИЕ

1 Область применения. 1

2 Нормативные ссылки. 2

3 Операции и средства поверки. 2

4 Требования к квалификации поверителей. 3

5 Требования безопасности. 3

6 Условия поверки и подготовка к ней. 3

7 Проведение поверки. 3

7.1 Внешний осмотр. 3

7.2 Опробование. 4

7.3 Определение (контроль) метрологических характеристик. 4

8 Оформление результатов поверки. 7

Приложение А Эталонный компаратор для поверки нивелиров. 7

Приложение Б Пример определения погрешностей компенсатора для технического нивелира Н-05. 8

Приложение В Определение цены деления шкалы оптического микрометра технического нивелира Н-05. 9

Приложение Г Библиография. 10

РЕКОМЕНДАЦИИ ПО МЕТРОЛОГИИ

Государственная система обеспечения единства
измерений

НИВЕЛИРЫ

Методика поверки

Дата введения 2002-12-01

1 Область применения

Настоящие рекомендации распространяются на нивелиры высокоточные, точные, технические по ГОСТ 10528 и нивелиры зарубежного производства и устанавливают методы и средства первичной и периодической поверок. Настоящие рекомендации предусматривают использование устройства для поверки нивелиров по [1].

Межпроверочный интервал - не более одного года.

2 Нормативные ссылки

В настоящих рекомендациях использованы ссылки на следующие стандарты:

ГОСТ 12.1.040-83 Система стандартов безопасности труда. Лазерная безопасность. Общие положения

ГОСТ 427-75 Линейки измерительные металлические. Технические условия

ГОСТ 1012-72 Бензины авиационные. Технические условия

ГОСТ 10528-90 Нивелиры. Общие технические условия

ГОСТ 12069-90 Меры длины штриховые брусковые. Технические условия

ГОСТ 18300-87 Спирт этиловый ректификованный технический. Технические условия

3 Операции и средства поверки

3.1 При проведении поверки выполняют операции и применяют средства поверки, указанные в таблице 1.

Таблица 1

Наименование операции

Номер пункта настоящих рекомендаций

Наименование средства поверки, обозначение нормативного документа, регламентирующего технические требования, метрологические и основные технические характеристики средства поверки

Проведение операции при поверке

первичной

периодической

Внешний осмотр

7.1

-

Да

Да

Опробование

7.2

-

Да

Да

Определение (контроль) метрологических характеристик

7.3

-

Да

Да

Проверка правильности установки и юстировки установочного уровня

7.3.1

-

Да

Да

Проверка правильности установки и юстировки цилиндрического уровня

7.3.2

Измерительная линейка по ГОСТ 427

Да

Да

Проверка правильности установки сетки зрительной трубы

7.3.3

Измерительная линейка по ГОСТ 427

Да

Да

Определение угла i (угла между визирной осью зрительной трубы и горизонтальной плоскостью)

7.3.4

Эталонный компаратор для поверки нивелиров (ЭКПН), верхний предел допускаемой погрешности измерений 0,28" [1] или автоколлимационная установка для поверки нивелиров АУПН

Да

Да

Проверка диапазона работы компенсатора (для нивелиров с компенсатором)

7.3.5

ЭКПН, верхний предел допускаемой погрешности измерений 0,28". Экзаменатор с ценой деления шкалы микрометрического винта не более 1"

Да

Да

Определение систематической погрешности работы компенсатора на 1' наклона оси нивелира

7.3.6

ЭКПН, верхний предел допускаемой погрешности измерений 0,28". Экзаменатор с ценой деления шкалы микрометрического винта не более 1"

Да

Да

Определение средней квадратической погрешности самоустановки линии визирования компенсатора

7.3.7

ЭКПН, верхний предел допускаемой погрешности измерений 0,28". Экзаменатор с ценой деления шкалы микрометрического винта не более 1"

Да

Да

Проверка симметрии дальномерных нитей и коэффициента нитяного дальномера

7.3.8

ЭКПН, верхний предел допускаемой погрешности измерений 0,28"

Да

Да

Проверка смещения визирной оси при перефокусировке зрительной трубы

7.3.9

Зрительная труба с фокусным расстоянием 1600 мм (1000 мм)

Да

Да

Определение цены деления шкалы оптического микрометра

7.3.10

Штриховая мера длины по ГОСТ 12069 с ценой деления 1 мм и погрешностью измерений 7 мкм или измерительная линейка по ГОСТ 427

Да

Да

Определение средней квадратической погрешности измерений превышения

7.3.11

ЭКПН, верхний предел допускаемой погрешности измерений 0,28"

Да

Да

Примечание - Допускается применять другие средства поверки, обеспечивающие измерение соответствующих характеристик с требуемой точностью, в том числе полевые высотные базисы.

4 Требования к квалификации поверителей

4.1 К проведению поверки допускают лиц, имеющих опыт работы с оптическими приборами не менее трех лет и аттестованных в порядке, определенном в [2].

5 Требования безопасности

5.1 При проведении поверки соблюдают правила техники безопасности в соответствии с техническими документами на средства поверки, паспортом на нивелир, а также:

- правила по технике безопасности при производстве топографо-геодезических работ [3];

- правила по технике безопасности при работе с радиоэлектронной аппаратурой [4];

- требования ГОСТ 12.1.040.

5.2 Узлы нивелира промывают бензином и спиртом в специально приспособленном помещении с вытяжной вентиляцией, в котором должны быть предусмотрены знаки, запрещающие пользоваться открытым огнем, курить и применять электронагревательные приборы.

5.3 Процесс проведения поверки не наносит вред здоровью поверителей и окружающей среде.

6 Условия поверки и подготовка к ней

6.1 При проведении поверки соблюдают следующие условия:

- температура окружающего воздуха, °С.............................................. 20±3;

- относительная влажность окружающего воздуха, %, не более....... 70;

- атмосферное давление, кПа (мм рт. ст.)............................................ 100±5 (760± 35);

- скорость изменения температуры окружающего

воздуха за 1 ч работы, ° С, не более...................................................... 1.

6.2 После транспортирования нивелиры, поступившие на поверку, выдерживают в рабочем помещении не менее 4 ч в упакованном виде и не менее 2 ч без упаковки.

6.3 Механические узлы нивелира очищают при необходимости от смазки бензином по ГОСТ 1012 и протирают чистой хлопчатобумажной салфеткой. Наружные поверхности оптических деталей протирают ватным тампоном, смоченным в спирте по ГОСТ 18300, предварительно смахнув с них пыль кисточкой. Нельзя протирать оптические детали сухим тампоном.

6.4 Во время поверки движение воздуха в помещении недопустимо.

7 Проведение поверки

7.1 Внешний осмотр

7.1.1 При внешнем осмотре проверяют внешнее состояние и комплектность нивелира. Комплектность нивелира должна соответствовать указанной в паспорте. Футляр и комплектующие изделия не должны иметь дефектов, мешающих выполнению их функций. На нивелире не должно быть механических повреждений, влияющих на его работу, коррозии. Проверяют четкость, контрастность изображения в поле зрения нитей сетки, отсчетных шкал, контуров пузырьков уровней.

7.2 Опробование

7.2.1 При опробовании проверяют работоспособность нивелира: взаимодействие всех подвижных узлов нивелира, легкость и плавность их вращения, надежность фиксирования.

7.3 Определение (контроль) метрологических характеристик

7.3.1 Проверка правильности установки и юстировки установочного уровня

7.3.1.1 Установку и юстировку установочного уровня проверяют следующим образом. Подъемными винтами пузырек уровня устанавливают на середину и поворачивают верхнюю часть нивелира вокруг вертикальной оси на 180°. Пузырек уровня при этом не должен отклоняться от среднего положения. В противном случае половину отклонения устраняют юстировочными винтами уровня, другую половину - подъемными винтами нивелира. Проверку повторяют и при необходимости снова юстируют до тех пор, пока пузырек не будет фиксироваться в среднем положении. После этого юстировочные винты надежно закрепляют.

7.3.2 Проверка правильности установки и юстировки цилиндрического уровня

7.3.2.1 Установку и юстировку цилиндрического уровня проверяют следующим образом. Нивелир устанавливают на жестком основании на расстоянии 5-10 м от отвесно расположенной измерительной линейки, направляют на нее зрительную трубу. При этом два подъемных винта располагают симметрично относительно зрительной трубы. Наблюдая в зрительную трубу, элевационным винтом совмещают концы пузырьков уровня, вводят в биссектор сетки один из штрихов измерительной линейки и регистрируют (далее - снимают) отсчет. Вращением винтов, расположенных по обе стороны зрительной трубы, наклоняют ее то в одну сторону, то в другую, возвращая каждый раз в начальное положение и наблюдая за положением пузырьков уровня. Пузырьки уровня должны оставаться в совмещенном положении или смещаться относительно друг друга не более чем на одно деление шкалы ампулы уровня. В противном случае уровень юстируют юстировочными винтами и проверку повторяют.

7.3.3 Проверка правильности установки сетки зрительной трубы

7.3.3.1 Проверку правильности установки сетки зрительной трубы проводят следующим образом. Нивелир устанавливают в рабочее положение - это положение нивелира, при котором пузырек установочного уровня находится в центре ампулы уровня (для нивелиров всех исполнений) и изображения краев пузырьков цилиндрического уровня совмещены (для нивелиров с цилиндрическим уровнем при зрительной трубе). На расстоянии 10 м от нивелира помещают отвес и наводят вертикальную нить сетки нивелира на отвес. Отклонение конца вертикальной нити сетки от отвеса должно быть не более 0,5 мм. В противном случае установку сетки исправляют. Для этого отвинчивают винты, крепящие блок окуляра, и отсоединяют его от корпуса трубы. Освободив доступ к оправе сетки, ослабляют винты, крепящие оправу, и поворачивают ее до совпадения вертикальной нити сетки нивелира с отвесом. После этого винты закрепляют, устанавливают на место блок окуляра и повторяют проверку.

Рисунок 1 - Вид поля зрения окуляра нивелира

Если нивелир имеет сетку с клиновым биссектором, то проверку проводят следующим образом. Нивелир устанавливают на жесткое основание на расстоянии 5-10 м от отвесно расположенной измерительной линейки.

Приводят нивелир в рабочее положение, наводят точкой а горизонтальной нити сетки (рисунок 1) на линейку и снимают отсчет Аа, мм, по шкале оптического микрометра на участке шкалы, близком к отсчету 50.

Затем наводят на линейку точками б, в, г горизонтальной нити сетки и биссектора, снимают отсчеты Аб, Ав и Аг, мм, по шкале оптического микрометра и определяют перекос ∆h, мм, биссектора относительно горизонта по формуле

h =а + Аб)/2 - (Ав + Аг)/2                                           (1)

Перекос ∆h должен быть не более 0,1 мм.

7.3.4 Определение угла i.

7.3.4.1 Угол i нивелира определяют на ЭКПН (приложение А).

По вертикальной шкале автоколлиматора определяют смещение средней нити сетки нивелира относительно центра шкалы, что характеризует главное геометрическое условие нивелира - угол i. При этом цену деления шкалы автоколлиматора удваивают. Делают три наведения, снимая каждый раз отсчет, и вычисляют угол i как среднее арифметическое из трех результатов.

Угол i не должен превышать 10".

7.3.5 Проверка диапазона работы компенсатора

7.3.5.1 Диапазон работы компенсатора нивелира проверяют на ЭКПН.

Нивелир устанавливают на столике экзаменатора (на плите ЭКПН) вдоль его штанги в соответствии с 7.3.4. Микровинтом автоколлиматора наводят ближайший штрих вертикальной шкалы автоколлиматора на среднюю нить сетки нивелира в его рабочем положении (при отсутствии наклона и установки окуляра на 0 дптр.) и снимают отсчет, удваивая цену деления шкалы автоколлиматора (то есть определяют угол i), операцию повторяют трижды. Подъемным винтом экзаменатора нивелир наклоняют в продольном (в вертикальной плоскости, проходящей через ось зрительной трубы) направлении на углы ν(+)i, ν(-)i, равные 2’, 4’, ... , n, до тех пор, пока работает компенсатор. Измерения проводят в прямом (винт экзаменатора ввинчивают) и в обратном (винт экзаменатора вывинчивают) направлениях (прямой и обратный ход), что составляет один прием измерений. Пузырек установочного уровня при этом перемещается в соответствии с рисунком 2.

I - рабочее положение нивелира; II - наклонное положение нивелира на угол ν(+); III - наклонное положение нивелира на угол ν(-)

Рисунок 2 - Положения пузырька уровня при наклоне оси нивелира

Для каждого наклонного положения нивелира определяют угол i в соответствии с 7.3.4. Для высокоточных нивелиров выполняют два приема, для нивелиров остальных групп - один прием.

Диапазон работы компенсатора - максимальный наклон нивелира на угол ν(+) и угол ν(-), при котором угол i не превышает 10". Указанный диапазон должен быть не менее ± 8’ для высокоточных нивелиров, ± 15’ - для точных, ± 30’ - для технических нивелиров.

7.3.6 Определение систематической погрешности работы компенсатора на 1’ наклона оси нивелира

7.3.6.1 Систематическую погрешность работы компенсатора γк на 1’ наклона оси нивелира определяют на ЭКПН. Измерения проводят по 7.3.5 и γк, ... ", вычисляют по формуле

,                                                                 (2)

где γк i     - систематическая погрешность работы компенсатора при наклоне оси нивелира на угол νi, … ";

νi           - рабочий угол компенсатора, ... ́́́́́́́.

,                                                                   (3)

где Bi         - среднее арифметическое отсчетов по автоколлиматору при наклоне оси нивелира на угол νi, … ";

В0                - среднее арифметическое отсчетов по автоколлиматору при отсутствии наклона оси нивелира (ν = 0’), … ".

Систематическая погрешность работы компенсатора на 1’ наклона оси нивелира не должна превышать 0,05"; 0,3"; 0,5" для высокоточных, точных и технических нивелиров соответственно.

Пример определения систематической погрешности работы компенсатора технического нивелира Н-05 - по таблице Б.1.

7.3.7 Определение средней квадратической погрешности самоустановки линии визирования компенсатора

7.3.7.1 Среднюю квадратическую погрешность S самоустановки линии визирования определяют на ЭКПН. Измерения проводят по 7.3.5 и S, ... ", вычисляют по формуле

,                                                       (4)

где Bi       - среднее арифметическое отсчетов в прямом biср и обратном b"iср направлениях для νi, ... ";

Bcр         - среднее арифметическое отсчетов Bi, ... ";

n            - число отсчетов.

Среднее арифметическое отсчетов Вср определяют по формуле

                                                                  (5)

Средняя квадратическая погрешность самоустановки линии визирования компенсатора должна быть не более 0,2"; 0,5"; 1,0" для высокоточных, точных и технических нивелиров соответственно.

Пример определения средней квадратической погрешности самоустановки линии визирования - по таблице Б.2.

7.3.8 Проверка симметрии дальномерных нитей и коэффициента нитяного дальномера.

7.3.8.1 Проверку симметрии дальномерных нитей и коэффициента нитяного дальномера μ проводят на ЭКПН. На плите ЭКПН устанавливают нивелир в соответствии с 7.3.4. По шкале автоколлиматора определяют угловое расстояние Ав между верхней и средней нитью дальномера, а затем расстояние Ан - между нижней и средней. Например, Ав = 8,59'; Ан = 8,55'. Сравнивают полученные значения. Расхождение (асимметрия) не должно превышать 0,2 %. Далее находят сумму С и удваивают результат.

С = Ав + Ан = (8,59' + 8,55')∙2 = 34,28’.                                    (6)

Переводят результат в радианы.

Срад = (С × π)/10800 = (34,28 × 3,14)/10800 = 0,009967;               (7)

μ = 1/Срад = 100,3.                                                     (8)

Коэффициент μ должен составлять 100 ± 1.

7.3.9 Проверка смещения визирной оси при перефокусировке зрительной трубы.

7.3.9.1 Смещение визирной оси при перефокусировке зрительной трубы проверяют с помощью зрительной трубы с фокусным расстоянием 1600 (1000) мм. Нивелир устанавливают в рабочее положение напротив зрительной трубы соосно. Фокусируют их на бесконечность. Подсвечивая сетку зрительной трубы, совмещают горизонтальные нити сетки нивелира и сетки зрительной трубы. Меняют фокусировку зрительной трубы. Нивелир фокусируют на новое положение сетки зрительной трубы. Расхождение горизонтальных нитей характеризует смещение визирной оси нивелира при перефокусировке. Делают не менее шести перефокусировок на всем диапазоне визирования (от бесконечности до минимального расстояния визирования) в прямом и обратном направлениях. Смещение визирной оси при перефокусировке не должно превышать тройной ширины нити сетки нивелира.

7.3.10 Определение цены деления шкалы оптического микрометра.

7.3.10.1 Цену деления шкалы оптического микрометра определяют с помощью штриховой меры длины. Нивелир устанавливают в рабочее положение. На расстоянии 10 м закрепляют вертикально штриховую меру. Микрометрическим винтом нивелира с точностью до 0,1 деления последовательно наводят биссектор на 5-10 штрихов меры до полного поворота шкалы микрометра от 0 до 100 и снимают отсчеты. На каждый штрих делают три наведения. Во время измерений следят за тем, чтобы при наведениях края пузырьков цилиндрического уровня были точно совмещены. Измерения проводят в прямом и обратном направлениях (ввинчивание и вывинчивание винта), что составляет один прием измерений. Выполняют не менее шести приемов, меняя между приемами высоту нивелира или положение меры на одно деление. Цену деления ci, мм, для каждого участка шкалы определяют по формуле

,                                                           (9)

где b0i     - длина интервала штриховой меры из свидетельства о поверке, мм;

bi    - длина интервала штриховой меры, полученная при измерениях оптическим микрометром, деления шкалы микрометра.

Окончательное значение цены деления определяют по формуле

,                                                         (10)

где т - число интервалов штриховой меры, по которым проводили измерения.

Цена деления должна составлять (0,050 ± 0,003) мм.

Пример определения цены деления приведен в приложении В.

7.3.11 Определение средней квадратической погрешности измерений превышения.

7.3.11.1 Среднюю квадратическую погрешность измерений превышения определяют на ЭКПН. Для этого проводят 20 серий измерений по 7.3.4. Находят среднее арифметическое Дср из двадцати результатов и вычисляют отклонения каждого результата Дi от среднего значения. Среднюю квадратическую погрешность измерений превышения Sп, ... ", определяют по формуле

                                          (11)

где п = 20 - число серий измерений.

Полученное значение SП не должно превышать значений, указанных в таблице 2.

Таблица 2

Исполнение нивелира

Sn для нивелиров группы

высокоточные

точные

технические

С цилиндрическим уровнем при зрительной трубе

0,1"

0,6"

2"

С компенсатором

0,06"

0,4"

1"

8 Оформление результатов поверки

8.1 Положительные результаты поверки оформляют в соответствии с [5], в свидетельство о поверке вносят значения i и μ.

8.2 Отрицательные результаты поверки оформляют в соответствии с [5]. Нивелиры к дальнейшей эксплуатации не допускают.

ПРИЛОЖЕНИЕ А

(справочное)

Эталонный компаратор для поверки нивелиров

А.1 Назначение

Эталонный компаратор предназначен для поверки и калибровки высокоточных, точных, технических нивелиров по ГОСТ 10528 и нивелиров зарубежного производства.

А.2 Условия эксплуатации

Температура окружающего воздуха, °С.............................................. 20 ± 3.

Влажность окружающего воздуха, %, не более................................. 70.

Атмосферное давление, кПа, (мм рт. ст.)........................................... 100 ± 5 (760 ± 35).

Изменение температуры окружающего воздуха за 1 ч работы, °С,

не более.................................................................................................. 1.

А.3 Технические характеристики

Диапазон измерений............................................................................ 0’-10’.

Верхний предел допускаемой погрешности измерений................... 0,28".

Питание от сети переменного тока напряжением............................ 220 В ± 15 %,

частотой, Гц........................................................................................... 50.

Средний срок службы, лет, не менее.................................................. 5.

А.4 Устройство и принцип действия

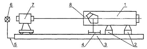
А.4.1 В состав эталонного компаратора (в соответствии с рисунком А.1) входят эталонный автоколлиматор (АКУ-0,2) 1 с насадкой на корпусе - оптическим блоком 8, содержащим аттестованную пентапризму, кювета с жидкостью 4, представляющая собой естественный эталон горизонта, плита 3, подсветка 6 на стойке 5, установочные детали 2.

Рисунок А.1 - Поверка нивелира на эталонном компараторе

А.4.2 Подготовка эталонного компаратора к работе заключается в установке автоколлиматора параллельно горизонту с помощью эталона горизонта. Поворачивая вручную оптический блок, получают автоколлимационное изображение сетки автоколлиматора от поверхности жидкости, сближают их вертикальные нити. Подъемным винтом автоколлиматора устанавливают автоколлимационное изображение на отсчет, равный сумме погрешностей а автоколлиматора (непараллельность визирных осей коллимационной и зрительной систем) и пентапризмы (на отклоняющий угол 90°) по паспорту на компаратор. Автоколлимационное изображение перемещают вниз от центра по вертикальной шкале на |α|, если суммарная погрешность α положительна, и вверх от центра, если суммарная погрешность α отрицательна.

А.4.3 При поверке нивелир 7 устанавливают на плите ЭКПН напротив автоколлиматора «труба в трубу», используя для этого установочные детали. Зрительную трубу нивелира фокусируют на бесконечность. Нивелир устанавливают в рабочее положение. Подсвечивают сетку нивелира. По вертикальной шкале автоколлиматора регистрируют положение средней нити сетки нивелира, удваивая цену деления шкалы.

ПРИЛОЖЕНИЕ Б

(справочное)

Пример определения погрешностей компенсатора для технического нивелира Н-05

Таблица Б.1 - Определение систематической погрешности работы компенсатора (1 прием измерений)

Наклон νi

Удвоенный отсчет по автоколлиматору

Допускаемое значение γкi по ГОСТ 10528

Прямой ход

Обратный ход

bi

bi ср

b” i

b”i ср

10’

4,0"
4,2"
4,1"

4,10"

4,1"
4,3"
4,2"

4,20"

4,15"

0,25"

0,50"

8’

4,4"
4,2"
4,3"

4,30"

4,1"
4,2"
4,1"

4,13"

4,22"

0,32"

0,40"

6’

4,2"
4,1"
4,1"

4,13"

4,3"
4,2"
4,2"

4,23"

4,18"

0,28"

0,30"

4’

4,1"
3,9"
4,2"

4,03"

4,2"
4,1"
4,1"

4,13"

4,08"

0,18"

0,20"

2’

3,8"
3,8"
3,8"

3,80"

3,9"
4,0"
4,1"

4,00"

3,90"

0,00"

0,10"

0’

3,9"
3,9"
3,9"

3,90"

3,9"
3,9"
3,9"

3,90"

3,90"

0,00"

0,00"

-2’

3,7"
3,9"
3,8"

3,80"

4,0"
4,0"
4,0"

4,00"

3,90"

0,00"

0,10"

-4’

3,8"
3,9"
4,0"

3,90"

3,8"
3,8"
3,8"

3,80"

3,85"

0,05"

0,20"

-6’

3,7"
4,0"
3,8"

3,83"

3,9"
3,7"
3,8"

3,80"

3,82"

0,08"

0,30"

-8’

3,6"
3,9"
3,7"

3,73"

3,7"
3,7"
3,5"

3,63"

3,68"

0,22"

0,40"

-10’

3,5"
3,7"
3,6"

3,60"

3,7"
3,5"
3,6"

3,60"

3,6"

0,30"

0,50"

Таблица Б.2 - Определение средней квадратической погрешности самоустановки линии визирования (1 прием измерений)

Наклон νi

Отсчет по автоколлиматору

Прямой ход

Обратный ход

bi

bi ср

b” i

b”i ср

10’

4,0"
4,2"
4,1"

4,10"

4,1"
4,3"
4,2"

4,20"

4,15"

0,22"

0,0484

8’

4,4"
4,2"
4,3"

4,30"

4,1"
4,2"
4,1"

4,13"

4,22"

0,29"

0,0841

6’

4,2"
4,1"
4,1"

4,13"

4,3"
4,2"
4,2"

4,23"

4,18"

0,25"

0,0625

4’

4,1"
3,9"
4,2"

4,03"

4,2"
4,1"
4,1"

4,13"

4,08"

0,15"

0,0225

2’

3,8"
3,8"
3,8"

3,80"

3,9"
4,0"
4,1"

4,00"

3,90"

0,03"

0,0009

0’

3,9"
3,9"
3,9"

3,90"

3,9"
3,9"
3,9"

3,90"

3,90"

0,03"

0,0009

-2’

3,7"
3,9"
3,8"

3,80"

4,0"
4,0"
4,0"

4,00"

3,90"

0,03"

0,0009

-4’

3,8"
3,9"
4,0"

3,90"

3,8"
3,8"
3,8"

3,80"

3,85"

0,08"

0,0064

-6’

3,7"
4,0"

3,8"

3,83"

3,9"
3,7"

3,8"

3,80"

3,82"

0,11"

0,0121

-8"

3,6"
3,9"

3,7"

3,73"

3,7"
3,7"

3,5"

3,63"

3,68"

0,25"

0,0625

-10

3,5"
3,7"
3,6"

3,60"

3,7"
3,5"
3,6"

3,60"

3,6"

0,33"

0,1089

ПРИЛОЖЕНИЕ В

(справочное)

Определение цены деления шкалы оптического микрометра технического нивелира Н-05

Таблица В.1 - Один прием измерений

Штрих измерительной линейки

Отсчет по шкале микрометра

Bi, деления шкалы оптического микрометра

b0i, мм

сi, мм

19,5

3,2

3,2

3,20

 

 

 

19,4

17,4

17,1

17,25

14,05

0,730

0,0520

19,3

32,0

31,2

31,60

14,35

0,729

0,0508

19,2

46,7

46,1

46,40

14,80

0,736

0,0497

19,1

61,4

61,1

61,25

14,85

0,731

0,0492

19,0

76,1

75,6

75,85

14,60

0,720

0,0493

18,9

90,7

90,4

90,55

14,70

0,751

0,0511

18,8

104,7

104,6

104,65

14,10

0,723

0,0513

ПРИЛОЖЕНИЕ Г

(справочное)

Библиография

[1] Патент на изобретение 2093794 RU МКИ 6G 01 D 18/00. Устройство для поверки нивелира / (Россия). - № 95108630/28. Заяв. 26.05.95. Опубл. 20.10.97. Бюлл. № 29. - 3 с.

[2] ПР 50.2.012-94 Государственная система обеспечения единства измерений. Аттестация поверителей средств измерений

[3] Правила по технике безопасности при производстве топографо-геодезических работ /ПТБ - 73. - М.: Недра, 1973

[4] Правила по технике безопасности при работе с радиоэлектронной аппаратурой (Методические указания по охране труда, утвержденные Постановлением Минтруда России № 129 от 1 июля 1993 г.)

[5] ПР 50.2.006-94 Государственная система обеспечения единства измерений. Порядок проведения поверки средств измерений

Ключевые слова: нивелир, эталонный компаратор, поверка, средняя квадратическая погрешность измерений, главное геометрическое условие нивелира, угол i




Rambler's Top100 Яндекс цитирования
  Copyright © 2008-2026, www.docload.ru