Бесплатная библиотека стандартов и нормативов www.docload.ru

Все документы, размещенные на этом сайте, не являются их официальным изданием и предназначены исключительно для ознакомительных целей.
Электронные копии этих документов могут распространяться без всяких ограничений. Вы можете размещать информацию с этого сайта на любом другом сайте.
Это некоммерческий сайт и здесь не продаются документы. Вы можете скачать их абсолютно бесплатно!
Содержимое сайта не нарушает чьих-либо авторских прав! Человек имеет право на информацию!

 

РУКОВОДЯЩИЙ ТЕХНИЧЕСКИЙ МАТЕРИАЛ

ИНСТРУКЦИЯ
ПО ПРИМЕНЕНИЮ РЕНТГЕНОТЕЛЕВИЗИОННОГО МЕТОДА
КОНТРОЛЯ СТЫКОВЫХ СВАРНЫХ СОЕДИНЕНИЙ
РУЛОННЫХ ЗАГОТОВОК РЕЗЕРВУАРОВ

РТМ 36.16-89

Министерство монтажных и специальных
строительных работ СССР

Москва 1989

Разработан ВНИИмонтажспецстроем (к. т. н. Ю. В. Громов, Е. А. Романцевич) и ВНИКТИстальконструкцией (к. т. н. Н. П. Рощупкин, В. И. Бухов, Б. Д. Тульчинский).

Утвержден Минмонтажспецстроем СССР 27 июня 1989 г.

РУКОВОДЯЩИЙ ТЕХНИЧЕСКИЙ МАТЕРИАЛ

Инструкция по применению рентгенотелевизионного метода контроля стыковых сварных соединений рулонных заготовок резервуаров

РТМ 36.16-89

Срок введения установлен с 1 января 1990 г.

Настоящая инструкция устанавливает основные требования к рентгенотелевизионному методу контроля стыковых сварных соединений класса 3 - 7 по ГОСТ 23055-82* толщиной свариваемого металла 2 - 40 мм в цеховых и лабораторных условиях.

1. ОБЩИЕ ПОЛОЖЕНИЯ

1.1. Рентгенотелевизионный метод контроля стыковых сварных соединений применяют для выявления в металле шва и околошовной зоне внутренних дефектов (трещины, непровары, усадочные раковины, поры, шлаковые, вольфрамовые, окисные и других включения), а также пропущенных при внешнем осмотре наружных дефектов (утяжины, прожоги, подрезы, превышение проплава) с целью установления их числа, геометрических размеров и расположения в сварном соединении путем регистрации на экране видеоконтрольного устройства (ВКУ) рентгенотелевизионной установки.

1.2. Рентгенотелевизионный метод контроля не выявляет:

любые несплошности и включения с размером в направлении просвечивания менее удвоенной чувствительности контроля (в мм);

непровары и трещины, плоскость раскрытия которых не совпадает с направлением просвечивания и (или) величина раскрытия менее значений по ГОСТ 7512-82*;

любые несплошности и включения, если их изображения на экране ВКУ совпадают с изображениями посторонних деталей, острых углов или резких перепадов толщин просвечиваемого металла;

металлические и неметаллические включения, имеющие коэффициент ослабления излучения, совпадающий с коэффициентом ослабления излучения металла сварного соединения.

1.3. Рентгенотелевизионное изображение сварного соединения с чувствительностью по 2 классу ГОСТ 7512-82* обеспечивает выявление дефектов 3 - 7 классов по ГОСТ 23055-82*.

1.4. Рентгенотелевизионный контроль производят если обеспечен доступ к контролируемому сварному соединению с двух сторон для установки входного преобразующего блока (ВПБ) рентгенотелевизионной установки и источника излучения.

1.5. При необходимости документально подтвердить результаты контроля отдельных участков сварного соединения, рентгенотелевизионное изображение фотографируют.

1.6. Во всех спорных случаях по результатам рентгенотелевизионного контроля необходимо провести контроль радиографическим методом, результаты которого являются окончательными.

2. СРЕДСТВА КОНТРОЛЯ

2.1. Требования к аппаратуре и принадлежностям

2.1.1. При рентгенотелевизионном контроле качества сварных соединений следует применять рентгеновские аппараты непрерывного действия в соответствии со справочным приложением 1 или другие аппараты с идентичными параметрами.

2.1.2. При рентгенотелевизионном контроле качества сварных соединений следует применять рентгенотелевизионную аппаратуру, обеспечивающую требуемую чувствительность и производительность контроля. Типы рентгенотелевизионных установок приведены в справочном приложении 2.

2.1.3. Преобразователь радиационного изображения, входящий в ВПБ, следует выбирать в зависимости от толщины и плотности контролируемого материала в соответствии с табл. 1.

Таблица 1

Область применения преобразователей радиационного изображения

Толщина контролируемого сплава, мм, на основе

Преобразователь в составе ВПБ

железа

титана

алюминия

1 - 6

1 - 8

1 - 5

Рентгенвидикон

6 - 12

8 - 25

15 - 30

Сцинтилляционный монокристаллический экран или флуоресцирующий экран

2 - 40

25 - 40

30 - 50

РЭОП или сцинтилляционный монокристаллический экран

20 - 40

Свыше 40

Свыше 50

Сцинтилляционный монокристаллический экран

2.1.4. Для документального подтверждения результатов контроля применяют фотоприставку, имеющую аппарат с фокусировкой изображения сквозь объектив, например, типа «Зенит». Возможно применение фотоаппаратов других типов с подобными или более высокими параметрами.

2.1.5. Чувствительность контроля определяют с помощью проволочных или канавочных эталонов чувствительности по ГОСТ 7512.

2.1.6. Контролируемые участки сварного соединения маркируют знаками по ГОСТ 15843-79. Схемы размещения знаков по ГОСТ 7512-82*.

2.1.7. Для измерения на телевизионном экране изображений дефектов размером до 1,5 мм применяют измерительную лупу ЛИ-3 по ГОСТ 25706 с ценой деления 0,1 мм, а для измерений дефектов размером свыше 1,5 мм - прозрачную измерительную линейку с ценой деления 1,0 мм.

2.2. Средства механизации

2.2.1. При рентгенотелевизионном контроле следует использовать устройство, обеспечивающее плавное перемещение изделия ила рентгеновского аппарата и преобразователя с ВПБ со скоростью до 3 м/мин. При фотографировании дефектных участков сварного шва должно быть обеспечено прекращение перемещения (остановка) изделия или рентгеновского аппарата и преобразователя на время фотографирования.

2.2.2. Обнаруженные дефекты фиксируют на изделии с помощью устройства, обеспечивающего дистанционную отметку дефектов (краскоотметчик и Метка-1, Метка-2 и др.).

3. МЕТОДИКА ПРОВЕДЕНИЯ РЕНТГЕНОТЕЛЕВИЗИОННОГО КОНТРОЛЯ

3.1. Рентгенотелевизионный контроль сварных соединений следует проводить после устранения наружных дефектов, обнаруженных при визуальном контроле.

3.2. Перед проведением рентгенотелевизионного контроля сварной шов и околошовная зона размерами по ГОСТ 7512 должны быть очищены от шлака, брызг расплавленного металла, загрязнений, изображения которых могут помешать расшифровке рентгенотелевизионного изображения.

3.3. Схема рентгенотелевизионного контроля сварных соединений приведена на черт. 1.

Схема рентгенотелевизионного контроля сварных стыковых соединений резервуаров

Черт. 1.

1 - источник излучения; 2 - дефектоотметчик; 3 - контролируемое соединение; 4 - ролики рольганга; 5 - привод рольганга; 6 - пульт управления дефектоотметчика; 7 - пульт управления рольганга; 8 - видеоконтрольное устройство; 9 - пульт управления механизма перемещения; 10 - пульт управления рентгеновского аппарата; 11 - преобразователь радиационного изображения; 12 - привод механизма перемещения; 13 - механизм перемещения.

3.4. Для определения чувствительности контроля и соблюдения оптимальных режимов просвечивания перед проведением контроля на преобразователь радиационного изображения следует установить проволочные или канавочные эталоны чувствительности по ГОСТ 7512.

3.4.1. Проволочные эталоны на преобразователе радиационного изображения размещают таким образом, чтобы изображения эталонов на экране ВКУ рентгенотелевизионной установки налагались на изображение шва (с направлением проволочек поперек шва) и направление проволочек не совпадало с направлением развертки изображения по строкам.

3.4.2. Канавочный эталон размещают на расстоянии не менее 5 мм от шва с направлением канавок поперек шва. Направление канавок не должно совпадать с направлением развертки изображения по строкам.

3.4.3. Если при контроле сварных соединений суммарная толщина канавочного эталона чувствительности и основного металла контролируемого изделия в месте установки эталона меньше максимальной толщины контролируемого сварного соединения, эталон следует устанавливать на подкладку из металла, аналогичного металлу контролируемого изделия, компенсирующую эту разность.

3.4.4. Перед проведением контроля необходимо проверить работу дефектоотметчика, его ориентирование относительно экрана. Сбои в работе дефектоотметчика, а также случаи ложного срабатывания недопустимы.

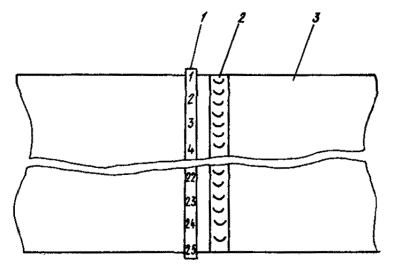
3.5. Для обозначения границ контролируемых участков сварного соединения необходимо применять гибкую координатную ленту, конструкция которой обеспечивает крепление, удобное для установки ее над проверяемым изделием, и постоянство расстояний между закрепленными на ленте цифрами или буквенными знаками в соответствии с черт. 2.

Схема размещения координатной ленты на контролируемом соединении

Черт. 2.

1 - координатная лента; 2 - сварной шов; 3 - контролируемое соединение.

3.6. Рентгенотелевизионную установку и рентгеновскую аппаратуру подготавливают к работе в соответствии с инструкциями по их эксплуатации. Рентгенотелевизионная установка должна быть обеспечена автономным электропитанием.

3.7. Рабочее место оператора должно быть расположено так, чтобы глаза оператора находились на нормали к центру экрана на расстоянии 1 - 1,5 м от экрана видеоконтрольного устройства.

3.8. Для создания оптимальных условий наблюдения изображения сварного соединения на экране видеоконтрольного устройства пультовую радиоскопического участка оборудуют устройством (укрытием), позволяющим уменьшить освещение до 10 - 30 лк.

3.9. Перед началом рентгенотелевизионного контроля оператор должен адаптироваться в затемненном помещении в течение 10 - 15 мин.

3.10. Для обеспечения качественного контроля после непрерывной работы в течение 30 - 45 мин оператору должен быть предоставлен перерыв на 10 - 15 мин либо должна быть предусмотрена работа второго оператора.

3.11. При рентгенотелевизионном контроле необходимо учитывать, что более качественные изображения контролируемого участка находятся в центральной зоне экрана.

4. ОПРЕДЕЛЕНИЕ ЧУВСТВИТЕЛЬНОСТИ КОНТРОЛЯ

4.1. Чувствительность контроля определяют по наименьшему диаметру выявляемой на экране проволочки проволочного эталона или наименьшей глубине выявляемой на экране канавки канавочного эталона.

4.2. Определение чувствительности осуществляют в режиме перемещения контролируемого изделия ила аппаратуры с эталоном относительно друг друга со скоростью, оптимальной для используемого преобразователя радиационного изображения, или в зависимости от зрительной способности оператора.

4.3. Значения чувствительности при скорости контроля до 1,5 м/мин при различных толщинах контролируемого материала и номерах эталонов чувствительности принимают в соответствии с табл. 2.

Таблица 2

Значения чувствительности при рентгенотелевизионном контроле в динамическом режиме

Толщина просвечиваемого металла в месте установки эталона чувствительности, мм

Значение чувствительности контроля, мм

Номер эталона

канавочного

проволочного

До 5

0,2

1

2

От 5 до 9 включительно

0,3

1

2

»    9 »     12 »

0,4

1

2, 3

»    13 »    20 »

0,5

1, 2

3

»    20 »    30 »

0,6

1, 2

3

»    30 »    40 »

0,75

2

3

Требуемую чувствительность контроля и его объем, если нет необходимости (технической возможности) в 100 % контроле, устанавливают по документации на контролируемое сварное изделие (требования чертежей, ТУ, СНиП, правил контроля и приемки, инструкций на контролируемое изделие и т.п.).

5. ПАРАМЕТРЫ КОНТРОЛЯ

5.1. Расстояние f от источника излучения до контролируемого изделия должно быть не менее:

для установок с преобразователем радиационного изображения типа сцинтилляционный экран и РЭОП - 250 - 300 мм;

для установки с рентгенвидиконом - 200 - 250 мм.

5.2. Расстояние l от контролируемого сварного соединения до преобразователя радиационного изображения не должно превышать 20 мм.

5.3. Допускается увеличение расстояний f и l без ухудшения чувствительности.

5.4. Напряжение на рентгеновской трубке устанавливают в зависимости от толщины материала контролируемого изделия в соответствии с табл. 3 и уточняют по изображению эталонов чувствительности на экране ВКУ.

Таблица 3

Режимы контроля

Суммарная толщина просвечиваемого материала на основе железа, мм

Напряжение на рентгеновской трубке, кВ

1 - 6

50 - 100

6 - 12

100 - 140

12 - 20

130 - 180

20 - 40

180 - 300

6. ОЦЕНКА КАЧЕСТВА СВАРНЫХ СОЕДИНЕНИЙ

6.1. Оценку качества сварного соединения (нормы дефектности и объем рентгенотелевизионного контроля) производят в соответствии с требованиями технической документации на контролируемое изделие.

6.2. Выявленные дефекты измеряют при неподвижном положении изделия с помощью приспособлений согласно п. 2.1.7.

6.3. Размеры выявленных на экране ВКУ дефектов делят на масштабный коэффициент.

Масштабный коэффициент определяется как отношение длин изображений проволоки проволочного эталона или канавки канавочного эталона к их истинным размерам.

6.4. Размеры дефектов при оценке качества сварных соединений округляют до ближайших значений из ряда 0,2; 0,3; 0,4; 0,5; 0,6; 0,8; 1,0; 1,2; 1,5; 2,0; 2,5; 3,0 мм или ближайших целых значений (в мм) для дефектов с размерами более 3,0 мм.

6.5. Результаты контроля фиксируют в журнале и заключении в соответствии с рекомендуемым приложением 3. Заключение является основанием для предъявления изделий ОТК и заказчику.

6.6. Условную запись дефектов при оценке качества сварного соединения производят согласно приложению 5 ГОСТ 7512-82*.

7. КВАЛИФИКАЦИОННЫЕ ТРЕБОВАНИЯ

7.1. К проведению рентгенотелевизионного контроля допускаются дефектоскописты рентгеногаммаграфирования, имеющие опыт работы с аппаратурой и свидетельство на право выдачи заключения о качестве сварных соединений по результатам контроля.

7.2. Аттестацию дефектоскопистов проводят в соответствии с квалификационными характеристиками, установленными для дефектоскопистов рентгеногаммаграфирования.

7.3. Квалификацию дефектоскопистов проверяет квалификационная комиссия, состав которой утверждает приказом руководитель предприятия (организации).

7.4. Дефектоскописты, допущенные к контролю сварных соединений рентгенотелевизионным методом, должны проходить обязательную переаттестацию по месту работы не реже одного раза в год, а также в случае шестимесячного перерыва в работе.

8. ТРЕБОВАНИЯ БЕЗОПАСНОСТИ

8.1. Рентгенотелевизионный контроль следует проводить с соблюдением правил радиационной безопасности, а также электро- и пожаробезопасности.

8.2. Радиационная безопасность при рентгенотелевизионном контроле должна обеспечиваться выполнением требований «Основных санитарных правил работы с радиоактивными веществами и источниками ионизирующих излучений» ОСП 72/87, «Норм радиационной безопасности» НРБ-76/87 и «Санитарных правил при проведении рентгеновской дефектоскопии» утвержденных Главным государственным санитарным врачом СССР.

8.3. При работе с рентгеновскими аппаратами, рентгенотелевизионными установками и средствами механизации должны соблюдаться «Правила технической эксплуатации электроустановок потребителей (ПТЭ)» и «Правила техники безопасности при эксплуатации электроустановок потребителей (ПТБ)», утвержденные Госэнергонадзором.

8.4. Администрация предприятия, применяющего рентгенотелевизионный метод контроля, обязана обеспечить:

обучение и инструктаж лиц, работающих с источниками ионизирующего излучения;

периодические медицинские осмотры лиц, допущенных к работе с источниками ионизирующего излучения;

постоянный дозиметрический контроль и постоянный контроль за состоянием пожарной безопасности.

8.5. Помещения для проведения рентгенотелевизионного контроля должны удовлетворять требованиям «Правил устройства и эксплуатации рентгеновских кабинетов и аппаратов при дефектоскопии», № 36668, 1968.

ПРИЛОЖЕНИЕ 1

Справочное

Основные технические характеристики рентгеновских аппаратов

Аппарат

Рентгеновская трубка

Диапазон напряжения, кВ

Максимальный анодный ток, мА

Угол раствора пучка излучения, град.

Радиационный выход*, кал/(кг·с)

РАП-150-01

0,3 БПВ 6-150

35-150

2

55

2,16·10-5

1 БПВ 15-100

10-100

10

40

1,37·10-4

1,5 БПВ 7-150

35-150

10

360×30

3,88·10-5

РАП-150-7

1 БПВ 18-150

20-150

7

40

8,2·10-4

РАП-150/300-01

0,3 БПВ 6-150

35-150

2

55

2,16·10-4

1 БПВ 15-100

10-100

10

40

1,37·10-4

РАП-320-15

3,4 БПМ 7-320

80-320

15

40

6,9·10-4

РУП-150/300-10

1,5 БПВ 7-150

35-150

10

360×30

3,88·10-5

0,3 БПВ 6-150

35-150

2

55

2,16·10-4

2,5 БПМ 4-250

70-250

10

40

2,58·10-4

РАП-160-10Н

1,1 БПВ 14-160

40-160

10

50

1,5·10-5

РАП-300-5Н

1 БПК 3-300

100-300

5

50

6,45·10-5

ПРИЛОЖЕНИЕ 2

Справочное

Основные технические характеристики рентгенотелевизионных установок

Система

Марка (модель)

Преобразователь радиационного изображения

Передающая телевизионная трубка

Разрешающая способность телевизионной системы, пар линий на мм

Скорость контроля, м/мин

Прикладная телевизионная установка

Дефектоскоп

Рентгенвидикон ЛИ-447 с чувствительной поверхностью диаметром 150 мм

ЛИ-447, камера КТП-68

12

0,3

Интроскоп

Сцинтилляционный монокристаллический экран с чувствительной поверхностью диаметром 150 и 200 мм

Изокон ЛИ-801, камера КТП-68

4

0,5 - 1,0

Рентгенотелевизионная установка

РИ-60ТК-1

РЭОП типа 30КС-837 с чувствительной поверхностью диаметром 273 мм

Видикон ЛИ-421-1, камера КТП-68

1

1,0 - 1,5

РИ-60ТК-2

То же диаметром 193 мм

То же

1

1,0 - 1,5

То же

РИ-60ТК-3

РЭОП типа УРИП с чувствительной поверхностью диаметром 200 мм

- » -

1

0,5 - 1,5

ПРИЛОЖЕНИЕ 3

Рекомендуемое

«____» ____________ 19___ г.

ЗАКЛЮЧЕНИЕ №

о качестве сварных швов

___________________________________________________________________________

наименование монтажной организации (предприятия), объект

Контроль сварных швов ___________________________________________________

                                                                                                  наименование изделия

выполнялся в соответствии с __________________________________________________

                                                                                                  обозначение и наименование

___________________________________________________________________________

нормативно-технической документации

с применением аппаратуры ___________________________________________________

      наименование аппаратуры

№ п/п

Номер сварного шва

Толщина свариваемого металла, мм, режим контроля (кВ, мА, мм)

Фамилия, инициалы сварщика, № удостоверения, клеймо

Требования к качеству сварного соединения

Описание обнаруженных дефектов (по ГОСТ 7512)

Оценка качества сварного соединения

1

2

3

4

5

6

7

Заключение: Проконтролированные сварные швы _____________________________

                                                                                                                           наименование изделия

признаны __________________________________________________________________

соответствуют требованиям (не соответствуют)

___________________________________________________________________________

обозначение нормативно-технической документации

Руководитель подразделения,                            личная                          расшифровка

проводившего контроль                                      подпись                        подписи

Дефектоскопист,                                                 личная                          расшифровка

удостоверение № _________                              подпись                        подписи

СОДЕРЖАНИЕ

1. Общие положения. 1

2. Средства контроля. 2

3. Методика проведения рентгенотелевизионного контроля. 2

4. Определение чувствительности контроля. 4

5. Параметры контроля. 4

6. Оценка качества сварных соединений. 5

7. Квалификационные требования. 5

8. Требования безопасности. 5

Приложение 1 Основные технические характеристики рентгеновских аппаратов. 6

Приложение 2 Основные технические характеристики рентгенотелевизионных установок. 6

Приложение 3 Заключение о качестве сварных швов. 6

 




Rambler's Top100 Яндекс цитирования
  Copyright © 2008-2026, www.docload.ru