Áåñïëàòíàÿ áèáëèîòåêà ñòàíäàðòîâ è íîðìàòèâîâ www.docload.ru

Âñå äîêóìåíòû, ðàçìåùåííûå íà ýòîì ñàéòå, íå ÿâëÿþòñÿ èõ îôèöèàëüíûì èçäàíèåì è ïðåäíàçíà÷åíû èñêëþ÷èòåëüíî äëÿ îçíàêîìèòåëüíûõ öåëåé.
Ýëåêòðîííûå êîïèè ýòèõ äîêóìåíòîâ ìîãóò ðàñïðîñòðàíÿòüñÿ áåç âñÿêèõ îãðàíè÷åíèé. Âû ìîæåòå ðàçìåùàòü èíôîðìàöèþ ñ ýòîãî ñàéòà íà ëþáîì äðóãîì ñàéòå.
Ýòî íåêîììåð÷åñêèé ñàéò è çäåñü íå ïðîäàþòñÿ äîêóìåíòû. Âû ìîæåòå ñêà÷àòü èõ àáñîëþòíî áåñïëàòíî!
Ñîäåðæèìîå ñàéòà íå íàðóøàåò ÷üèõ-ëèáî àâòîðñêèõ ïðàâ! ×åëîâåê èìååò ïðàâî íà èíôîðìàöèþ!

 

ÃÎÑÒ ÈÑÎ 4378-1-2001

ÌÅÆÃÎÑÓÄÀÐÑÒÂÅÍÍÛÉ ÑÒÀÍÄÀÐÒ

ÏÎÄØÈÏÍÈÊÈ ÑÊÎËÜÆÅÍÈß

ÒÅÐÌÈÍÛ, ÎÏÐÅÄÅËÅÍÈß
È ÊËÀÑÑÈÔÈÊÀÖÈß

×ÀÑÒÜ 1

ÊÎÍÑÒÐÓÊÖÈß, ÏÎÄØÈÏÍÈÊÎÂÛÅ ÌÀÒÅÐÈÀËÛ
È ÈÕ ÑÂÎÉÑÒÂÀ

ÌÅÆÃÎÑÓÄÀÐÑÒÂÅÍÍÛÉ ÑÎÂÅÒ
ÏÎ ÑÒÀÍÄÀÐÒÈÇÀÖÈÈ, ÌÅÒÐÎËÎÃÈÈ È ÑÅÐÒÈÔÈÊÀÖÈÈ

Ìèíñê

Ïðåäèñëîâèå

1. ÐÀÇÐÀÁÎÒÀÍ Ìåæãîñóäàðñòâåííûì òåõíè÷åñêèì êîìèòåòîì ïî ñòàíäàðòèçàöèè ÌÒÊ 344 «Ïîäøèïíèêè ñêîëüæåíèÿ», Âñåðîññèéñêèì íàó÷íî-èññëåäîâàòåëüñêèì èíñòèòóòîì ñòàíäàðòèçàöèè è ñåðòèôèêàöèè â ìàøèíîñòðîåíèè (ÂÍÈÈÍÌÀØ) Ãîññòàíäàðòà Ðîññèè

ÂÍÅÑÅÍ Ãîññòàíäàðòîì Ðîññèè

2. ÏÐÈÍßÒ Ìåæãîñóäàðñòâåííûì Ñîâåòîì ïî ñòàíäàðòèçàöèè, ìåòðîëîãèè è ñåðòèôèêàöèè (ïðîòîêîë ¹ 19 îò 24 ìàÿ 2001 ã.)

Çà ïðèíÿòèå ïðîãîëîñîâàëè:

Íàèìåíîâàíèå ãîñóäàðñòâà

Íàèìåíîâàíèå íàöèîíàëüíîãî îðãàíà ïî ñòàíäàðòèçàöèè

Àçåðáàéäæàíñêàÿ Ðåñïóáëèêà

Àçãîññòàíäàðò

Ðåñïóáëèêà Àðìåíèÿ

Àðìãîññòàíäàðò

Ðåñïóáëèêà Áåëàðóñü

Ãîññòàíäàðò Ðåñïóáëèêè Áåëàðóñü

Ðåñïóáëèêà Êàçàõñòàí

Ãîññòàíäàðò Ðåñïóáëèêè Êàçàõñòàí

Êûðãûçñêàÿ Ðåñïóáëèêà

Êûðãûçñòàíäàðò

Ðåñïóáëèêà Ìîëäîâà

Ìîëäîâàñòàíäàðò

Ðîññèéñêàÿ Ôåäåðàöèÿ

Ãîññòàíäàðò Ðîññèè

Ðåñïóáëèêà Òàäæèêèñòàí

Òàäæèêñòàíäàðò

Òóðêìåíèñòàí

Ãëàâãîññëóæáà «Òóðêìåíñòàíäàðòëàðû»

Ðåñïóáëèêà Óçáåêèñòàí

Óçãîññòàíäàðò

Óêðàèíà

Ãîññòàíäàðò Óêðàèíû

Íàñòîÿùèé ñòàíäàðò ïðåäñòàâëÿåò ñîáîé àóòåíòè÷íûé òåêñò ìåæäóíàðîäíîãî ñòàíäàðòà ÈÑÎ 4378-1-97 «Ïîäøèïíèêè ñêîëüæåíèÿ. Òåðìèíû, îïðåäåëåíèÿ è êëàññèôèêàöèÿ. ×àñòü 1. Êîíñòðóêöèÿ, ïîäøèïíèêîâûå ìàòåðèàëû è èõ ñâîéñòâà»

3. Ïîñòàíîâëåíèåì Ãîñóäàðñòâåííîãî êîìèòåòà Ðîññèéñêîé Ôåäåðàöèè ïî ñòàíäàðòèçàöèè è ìåòðîëîãèè îò 5 ìàðòà 2002 ã. ¹ 85-ñò ìåæãîñóäàðñòâåííûé ñòàíäàðò ÃÎÑÒ ÈÑÎ 4378-1-2001 ââåäåí â äåéñòâèå íåïîñðåäñòâåííî â êà÷åñòâå ãîñóäàðñòâåííîãî ñòàíäàðòà Ðîññèéñêîé Ôåäåðàöèè ñ 1 èþëÿ 2002 ã.

4. ÂÇÀÌÅÍ ÃÎÑÒ 18282-88

ÌÅÆÃÎÑÓÄÀÐÑÒÂÅÍÍÛÉ ÑÒÀÍÄÀÐÒ

Ïîäøèïíèêè ñêîëüæåíèÿ

ÒÅÐÌÈÍÛ, ÎÏÐÅÄÅËÅÍÈß È ÊËÀÑÑÈÔÈÊÀÖÈß

×àñòü 1

Êîíñòðóêöèÿ, ïîäøèïíèêîâûå ìàòåðèàëû è èõ ñâîéñòâà

Plain bearings. Terms, definitions and classification. Part 1. Design, bearing materials and their properties

Äàòà ââåäåíèÿ 2002-07-01

1. Îáëàñòü ïðèìåíåíèÿ

Íàñòîÿùèé ñòàíäàðò óñòàíàâëèâàåò òåðìèíû è îïðåäåëåíèÿ, ïðèìåíÿåìûå äëÿ ïîäøèïíèêîâ ñêîëüæåíèÿ, à òàêæå èõ êëàññèôèêàöèþ.

Òåðìèíû, óñòàíîâëåííûå íàñòîÿùèì ñòàíäàðòîì, îáÿçàòåëüíû äëÿ ïðèìåíåíèÿ âî âñåõ âèäàõ äîêóìåíòàöèè è ëèòåðàòóðû ïî ïîäøèïíèêàì ñêîëüæåíèÿ, âõîäÿùèõ â ñôåðó ðàáîò ïî ñòàíäàðòèçàöèè è/èëè èñïîëüçóþùèõ ðåçóëüòàòû ýòèõ ðàáîò.

 ñòàíäàðòå ïðèâåäåíû èíîÿçû÷íûå ýêâèâàëåíòû ñòàíäàðòèçîâàííûõ òåðìèíîâ íà àíãëèéñêîì (en) è ôðàíöóçñêîì (fr) ÿçûêàõ.

Ñòàíäàðòèçîâàííûå òåðìèíû íàáðàíû ïîëóæèðíûì øðèôòîì, èõ êðàòêèå ôîðìû, ïðåäñòàâëåííûå àááðåâèàòóðîé, - ñâåòëûì.

2. Îñíîâíûå òåðìèíû

2.1. ïîäøèïíèê: Îïîðà èëè íàïðàâëÿþùàÿ, êîòîðàÿ îïðåäåëÿåò ïîëîæåíèå äâèæóùåéñÿ ÷àñòè îòíîñèòåëüíî äðóãèõ ÷àñòåé ìåõàíèçìà

en    bearing

fr     palier

2.2. ïîäøèïíèê ñêîëüæåíèÿ: Ïîäøèïíèê, â êîòîðîì âèäîì îòíîñèòåëüíîãî äâèæåíèÿ ÿâëÿåòñÿ ñêîëüæåíèå

en    plain bearing

fr     palier lisse

2.3. óçåë ïîäøèïíèêà ñêîëüæåíèÿ: Òðèáîñèñòåìà, âêëþ÷àþùàÿ ïîäøèïíèê ñêîëüæåíèÿ è îïîðíóþ ÷àñòü (íàïðèìåð êîðïóñ)

en    plain bearing unit

fr     ensemble avec palier lisse

3. Âèäû ïîäøèïíèêîâ ñêîëüæåíèÿ, êëàññèôèêàöèÿ

3.1. Ïî âèäó íàãðóçêè

 

3.1.1. ñòàòè÷åñêè íàãðóæåííûé ïîäøèïíèê ñêîëüæåíèÿ: Ïîäøèïíèê ñêîëüæåíèÿ, ïîäâåðãàþùèéñÿ âîçäåéñòâèþ ïîñòîÿííîé ïî ìîäóëþ è íàïðàâëåíèþ íàãðóçêè

en    statically loaded plain bearing

fr     palier lisse a charge statique

3.1.2. äèíàìè÷åñêè íàãðóæåííûé ïîäøèïíèê ñêîëüæåíèÿ: Ïîäøèïíèê ñêîëüæåíèÿ, ïîäâåðãàþùèéñÿ âîçäåéñòâèþ íàãðóçêè, èçìåíÿþùåéñÿ ïî ìîäóëþ è/èëè íàïðàâëåíèþ

en    dynamically loaded plain bearing

fr     palier lisse a charge dynamique

3.2. Ïî íàïðàâëåíèþ âîñïðèíèìàåìûõ íàãðóçîê

 

3.2.1. ðàäèàëüíûé ïîäøèïíèê ñêîëüæåíèÿ, ðàäèàëüíûé ïîäøèïíèê: Ïîäøèïíèê ñêîëüæåíèÿ, âîñïðèíèìàþùèé íàãðóçêó, íàïðàâëåííóþ ïåðïåíäèêóëÿðíî ê îñè âðàùåíèÿ âàëà

en    plain journal bearing journal bearing

fr     palier lisse radial

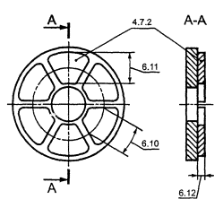
3.2.2. óïîðíûé ïîäøèïíèê ñêîëüæåíèÿ, óïîðíûé ïîäøèïíèê: Ïîäøèïíèê ñêîëüæåíèÿ, âîñïðèíèìàþùèé íàãðóçêó, íàïðàâëåííóþ âäîëü îñè âðàùåíèÿ âàëà (ðèñóíîê 1)

en    plain thrust bearing

thrust bearing

fr     palier lisse de butee

butee (lisse)

3.2.3. ðàäèàëüíî-óïîðíûé ïîäøèïíèê ñêîëüæåíèÿ, áóðòîâûé ïîäøèïíèê: Ïîäøèïíèê ñêîëüæåíèÿ, ñïîñîáíûé âîñïðèíèìàòü íàãðóçêó â îñåâîì è ðàäèàëüíîì íàïðàâëåíèÿõ

en    journal thrust bearing flanged bearing

fr     palier radial de butee palier a collerette

3.3. Ïî âèäó ñìàçêè

 

3.3.1. àýðîñòàòè÷åñêèé ïîäøèïíèê: Ïîäøèïíèê ñêîëüæåíèÿ, ïðåäíàçíà÷åííûé äëÿ ðàáîòû â ðåæèìå àýðîñòàòè÷åñêîé ñìàçêè

en    aerostatic bearing

fr     palier aerostatique

3.3.2. àýðîäèíàìè÷åñêèé ïîäøèïíèê: Ïîäøèïíèê ñêîëüæåíèÿ, ïðåäíàçíà÷åííûé äëÿ ðàáîòû â ðåæèìå àýðîäèíàìè÷åñêîé ñìàçêè

en    aerodynamic bearing

fr     palier aerodynamique

3.3.3. ãèäðîñòàòè÷åñêèé ïîäøèïíèê: Ïîäøèïíèê ñêîëüæåíèÿ, ïðåäíàçíà÷åííûé äëÿ ðàáîòû â ðåæèìå ãèäðîñòàòè÷åñêîé ñìàçêè

en    hydrostatic bearing

fr     palier hydrostatique

3.3.4. ãèäðîäèíàìè÷åñêèé ïîäøèïíèê: Ïîäøèïíèê ñêîëüæåíèÿ, ïðåäíàçíà÷åííûé äëÿ ðàáîòû â ðåæèìå ãèäðîäèíàìè÷åñêîé ñìàçêè

en    hydrodynamic bearing

fr     palier hydrodynamique

3.3.5. âèáðîäåìïôåðíûé ïîäøèïíèê: Ïîäøèïíèê ñêîëüæåíèÿ, â êîòîðîì ïîëíîå ðàçäåëåíèå ïîâåðõíîñòåé äîñòèãàåòñÿ çà ñ÷åò äàâëåíèÿ, âîçíèêàþùåãî â ñìàçî÷íîì ìàòåðèàëå â ðåçóëüòàòå èõ âçàèìíîãî ïåðåìåùåíèÿ âäîëü íîðìàëè ê ïîâåðõíîñòè

en    squeeze oil film bearing

fr     palier a effet amortisseur

3.3.6. ãèäðîñòàòîäèíàìè÷åñêèé ïîäøèïíèê: Ïîäøèïíèê ñêîëüæåíèÿ, ïðåäíàçíà÷åííûé äëÿ ðàáîòû êàê ïðè ãèäðîäèíàìè÷åñêîé, òàê è ïðè ãèäðîñòàòè÷åñêîé ñìàçêå

en    hybrid bearing

fr     palier hybride

3.3.7. ïîäøèïíèê ñêîëüæåíèÿ ñ òâåðäûì ñìàçî÷íûì ìàòåðèàëîì: Ïîäøèïíèê ñêîëüæåíèÿ, ðàáîòàþùèé ñ òâåðäûì ñìàçî÷íûì ìàòåðèàëîì

en    solid-film lubricated bearing

fr     palier a lubrifiant solide

3.3.8. ïîäøèïíèê, ðàáîòàþùèé áåç ñìàçêè: Ïîäøèïíèê ñêîëüæåíèÿ, ïðåäíàçíà÷åííûé äëÿ ðàáîòû áåç ñìàçî÷íîãî ìàòåðèàëà

en    unlubricated bearing

fr     palier sans lubrifiant

3.3.9. ñàìîñìàçûâàþùèéñÿ ïîäøèïíèê: Ïîäøèïíèê ñêîëüæåíèÿ, â êîòîðîì ñìàçêà îáåñïå÷èâàåòñÿ ïîäøèïíèêîâûì ìàòåðèàëîì, âõîäÿùèì â íåãî êîìïîíåíòàìè èëè òâåðäûìè ñìàçûâàþùèìè ïîêðûòèÿìè

en    self-lubricating bearing

fr     palier autolubrifiant

3.3.10. ñàìîñìàçûâàþùèéñÿ ïîðèñòûé ïîäøèïíèê, ñïå÷åííûé ïîäøèïíèê: Ïîðèñòûé ïîäøèïíèê ñêîëüæåíèÿ, ñîîáùàþùèåñÿ ïîðû êîòîðîãî çàïîëíåíû ñìàçî÷íûì ìàòåðèàëîì

en    porous self-lubricating bearing

sintered bearing

fr     palier autolubrifiant en materiau poreux

palier fritte

3.3.11. ïîäøèïíèêîâûé óçåë ñ ñèñòåìîé ñìàçêè: Ïîäøèïíèêîâûé óçåë, ñîäåðæàùèé ðåçåðâóàð ñî ñìàçî÷íûì ìàòåðèàëîì, è ñðåäñòâà åãî ïîäà÷è ê ïîâåðõíîñòÿì òðåíèÿ

Ñì. òàêæå «óçåë ïîäøèïíèêà ñêîëüæåíèÿ â ñáîðå» (3.4.8)

en    self-contained plain bearing assembly

fr     palier lisse autonome

3.4. Ïî êîíñòðóêöèè

 

3.4.1. ïîäøèïíèê êðóãëîöèëèíäðè÷åñêèé: Ïîäøèïíèê ñêîëüæåíèÿ, âñå ïîïåðå÷íûå ñå÷åíèÿ ðàáî÷åé ïîâåðõíîñòè êîòîðîãî èìåþò ôîðìó îêðóæíîñòè îäíîãî è òîãî æå äèàìåòðà (ðèñóíîê 2)

en    circular cylindrical bearing

fr     palier cylindrique circulate

3.4.2. ïîäøèïíèê íåêðóãëîöèëèíäðè÷åñêèé: Ïîäøèïíèê ñêîëüæåíèÿ, ïîïåðå÷íûå ñå÷åíèÿ âíóòðåííåé ïîâåðõíîñòè êîòîðîãî îòëè÷àþòñÿ ïî ôîðìå îò îêðóæíîñòè (ðèñóíêè 3, 4)

en    profile bore bearing

fr     palier a alesage profile

palier cylindrique non circulaire

3.4.3. ìíîãîêëèíîâûé ïîäøèïíèê: Ðàäèàëüíûé ïîäøèïíèê ñêîëüæåíèÿ, èìåþùèé íåñêîëüêî öèëèíäðè÷åñêèõ ïîâåðõíîñòåé, ðàñïîëîæåííûõ òàê, ÷òî äâà èëè áîëåå ìàñëÿíûõ êëèíà îáðàçóþòñÿ ïî îêðóæíîñòè ïîäøèïíèêà (ðèñóíêè 3, 4)

en    lobed bearing

fr     palier a lobes

3.4.4. ñåãìåíòíûé óïîðíûé ïîäøèïíèê: Óïîðíûé ïîäøèïíèê ñêîëüæåíèÿ, íåñóùàÿ ïîâåðõíîñòü êîòîðîãî ñîñòîèò èç íåïîäâèæíûõ ñåãìåíòîâ (ðèñóíîê 5)

en    pad thrust bearing

taper land bearing

fr     butee a segments (patins)

butee a segments inclines

butee a segments inclines puis paralleles

3.4.5. ñàìîóñòàíàâëèâàþùèéñÿ ñåãìåíòíûé ðàäèàëüíûé ïîäøèïíèê: Ñàìîóñòàíàâëèâàþùèéñÿ ðàäèàëüíûé ïîäøèïíèê ñêîëüæåíèÿ, íåñóùàÿ ïîâåðõíîñòü êîòîðîãî ñîñòîèò èç ñåãìåíòîâ, ñâîáîäíî óñòàíàâëèâàþùèõñÿ îòíîñèòåëüíî âàëà ïîä äåéñòâèåì äàâëåíèÿ â ñìàçî÷íîì ñëîå (ðèñóíîê 6)

en    tilting pad journal bearing

fr     palier a patins oscfflants

3.4.6. ñàìîóñòàíàâëèâàþùèéñÿ ñåãìåíòíûé óïîðíûé ïîäøèïíèê: Ñàìîóñòàíàâëèâàþùèéñÿ óïîðíûé ïîäøèïíèê ñêîëüæåíèÿ, íåñóùàÿ ïîâåðõíîñòü êîòîðîãî ñîñòîèò èç ñåãìåíòîâ, ñâîáîäíî óñòàíàâëèâàþùèõñÿ äëÿ ñîçäàíèÿ ìàñëÿíîãî ñëîÿ îòíîñèòåëüíî ïÿòû ïîä äåéñòâèåì äàâëåíèÿ â ñìàçî÷íîì ñëîå (ðèñóíîê 7)

en    tilting pad thrust bearing

fr     butee a patins oscillants

3.4.7. ïîäøèïíèê ñ ïëàâàþùåé âòóëêîé: Ïîäøèïíèê ñêîëüæåíèÿ ñ âòóëêîé, èìåþùåé âîçìîæíîñòü ñêîëüçèòü îòíîñèòåëüíî âàëà è âíóòðåííåé ïîâåðõíîñòè êîðïóñà ïîäøèïíèêà (ðèñóíîê 8)

en    floating bush bearing

fr     palier a bague flottante

3.4.8. óçåë ïîäøèïíèêà ñêîëüæåíèÿ â ñáîðå: Ïîäøèïíèêîâûé óçåë, ñîñòîÿùèé èç ïîäøèïíèêà ñêîëüæåíèÿ (ðàäèàëüíîãî è/èëè óïîðíîãî), ïîìåùåííîãî â êîðïóñ íà ëàïàõ èëè ñ ôëàíöåì.

Ñì. òàêæå «ïîäøèïíèêîâûé óçåë ñ ñèñòåìîé ñìàçêè» (3.3.11)

en    plain bearing assembly

fr     ensemble avec palier lisse

3.4.8.1. êîðïóñíîé ïîäøèïíèê íà ëàïàõ: Óçåë ïîäøèïíèêà ñêîëüæåíèÿ, êðåïëåíèå êîðïóñà êîòîðîãî îñóùåñòâëÿåòñÿ êðåïåæíûìè ýëåìåíòàìè â íàïðàâëåíèè, ïåðïåíäèêóëÿðíîì ê îñè âàëà

en    pedestal plain bearing assembly

fr     palier lisse a chaise sur le sol

3.4.8.2. êîðïóñíîé ïîäøèïíèê ñ ôëàíöåì: Óçåë ïîäøèïíèêà ñêîëüæåíèÿ, êðåïëåíèå êîðïóñà êîòîðîãî îñóùåñòâëÿåòñÿ êðåïåæíûìè ýëåìåíòàìè â íàïðàâëåíèè, ïàðàëëåëüíîì îñè âàëà

en    flanged plain bearing assembly

fr     palier lisse a collerette

3.4.9. ñàìîóñòàíàâëèâàþùèéñÿ ïîäøèïíèê: Ïîäøèïíèê ñêîëüæåíèÿ, êîíñòðóêöèÿ êîòîðîãî îáåñïå÷èâàåò åãî ñàìîóñòàíîâêó îòíîñèòåëüíî ñîïðÿæåííîé ïîâåðõíîñòè

en    self-aligning bearing

fr     palier auto-alignant

4. Ýëåìåíòû êîíñòðóêöèè óçëîâ ïîäøèïíèêîâ ñêîëüæåíèÿ

4.1. âêëàäûø ïîäøèïíèêà: Äåòàëü ðàäèàëüíîãî ïîäøèïíèêà ñêîëüæåíèÿ, ïîâåðõíîñòü ñêîëüæåíèÿ êîòîðîé ñîñòàâëÿåò 180° îêðóæíîñòè îïîðû (ðèñóíêè 9, 10)

en    half-bearing

fr     demi-coussinet

4.1.1. òîíêîñòåííûé âêëàäûø ïîäøèïíèêà: Âêëàäûø ïîäøèïíèêà ñêîëüæåíèÿ, òîëùèíà ñòåíêè êîòîðîãî òàê ìàëà, ÷òî îòêëîíåíèÿ îò ïðàâèëüíîé ãåîìåòðè÷åñêîé ôîðìû ïîñàäî÷íîé ïîâåðõíîñòè âëèÿþò íà ôîðìó ðàáî÷åé ïîâåðõíîñòè ïîäøèïíèêà ñêîëüæåíèÿ (ðèñóíîê 11)

en    thin wall half-bearing

fr     demi-coussinet mince

4.1.2. òîëñòîñòåííûé âêëàäûø ïîäøèïíèêà: Âêëàäûø ïîäøèïíèêà ñêîëüæåíèÿ, òîëùèíà ñòåíêè êîòîðîãî òàê âåëèêà, ÷òî îòêëîíåíèÿ îò ïðàâèëüíîé ãåîìåòðè÷åñêîé ôîðìû ïîñàäî÷íîé ïîâåðõíîñòè íå âëèÿþò íà ôîðìó ðàáî÷åé ïîâåðõíîñòè ïîäøèïíèêà ñêîëüæåíèÿ

en    thick wall half-bearing

fr     demi-coussinet epais

4.1.3. ïîñàäî÷íàÿ (çàäíÿÿ) ïîâåðõíîñòü ïîäøèïíèêà ñêîëüæåíèÿ: Öèëèíäðè÷åñêàÿ íàðóæíàÿ ïîâåðõíîñòü âêëàäûøà ïîäøèïíèêà ñêîëüæåíèÿ èëè âòóëêè

en    bearing back

fr     surface d’engagement du palier

4.2. âòóëêà ïîäøèïíèêà ñêîëüæåíèÿ, âòóëêà ïîäøèïíèêà, âòóëêà: Ñìåííûé òðóá÷àòûé ýëåìåíò ïîäøèïíèêà ñêîëüæåíèÿ, âíóòðåííÿÿ è/èëè íàðóæíàÿ ïîâåðõíîñòü êîòîðîãî ÿâëÿåòñÿ ðàáî÷åé ïîâåðõíîñòüþ ïîäøèïíèêà ñêîëüæåíèÿ (ðèñóíîê 12)

en    plain bearing bush

bearing bush

bush

fr     bague

4.2.1. ñâåðòíàÿ âòóëêà ïîäøèïíèêà ñêîëüæåíèÿ, ñâåðòíàÿ âòóëêà: Âòóëêà, èçãîòàâëèâàåìàÿ ñâåðòûâàíèåì ëåíòû èç îäíîñëîéíîãî èëè ìíîãîñëîéíîãî ïîäøèïíèêîâîãî ìàòåðèàëà (ðèñóíîê 13)

en    plain bearing wrapped bush

bearing wrapped bush

wrapped bush

fr     bague roulee

4.3. áóðòîâûé âêëàäûø (âòóëêà) ïîäøèïíèêà, áóðòîâûé âêëàäûø (âòóëêà): Âêëàäûø (âòóëêà) ïîäøèïíèêà ñêîëüæåíèÿ, ñíàáæåííûé (àÿ) áóðòîì ñ îäíîé èëè äâóõ ñòîðîí (ðèñóíîê 14)

en    flanged half-bearing (flanged-bush)

fr     demi-coussinet (bague) a collerette

4.4. îäíîñëîéíûé âêëàäûø (âòóëêà): Âêëàäûø (âòóëêà) ïîäøèïíèêà ñêîëüæåíèÿ, âûïîëíåííûé (àÿ) èç îäíîãî ìàòåðèàëà

en    solid half-bearing (solid-bush)

fr     demi-coussinet massif (bague massive)

4.5. ìíîãîñëîéíûé âêëàäûø (âòóëêà): Âêëàäûø (âòóëêà) ïîäøèïíèêà ñêîëüæåíèÿ, ñîñòîÿùèé (àÿ) èç ñëîåâ ðàçëè÷íûõ ìàòåðèàëîâ (ðèñóíîê 15)

en    multilayer half-bearing (multilayer bush)

fr     demi-coussinet (bague) multicouche

4.5.1. îñíîâà âêëàäûøà ïîäøèïíèêà, îñíîâà âêëàäûøà: ×àñòü ìíîãîñëîéíîãî âêëàäûøà ïîäøèïíèêà, íà êîòîðóþ íàíîñèòñÿ ïîäøèïíèêîâûé ìàòåðèàë è êîòîðàÿ îáåñïå÷èâàåò åìó òðåáóåìóþ ïðî÷íîñòü è/èëè æåñòêîñòü (ðèñóíîê 15)

en    half-bearing backing

backing

fr     support

support de demi-coussinet

4.5.2. ñëîé ïîäøèïíèêîâîãî ìàòåðèàëà, ïîäøèïíèêîâûé ñëîé: Òîëñòûé ñëîé ïîäøèïíèêîâîãî ìàòåðèàëà, ÿâëÿþùèéñÿ ÷àñòüþ ìíîãîñëîéíîãî âêëàäûøà (ðèñóíîê 15)

Ïðèìå÷àíèå - Òîëùèíà ñëîÿ îáû÷íî áîëåå 0,2 ìì

en    bearing material layer

bearing layer

lining

fr     couche de material antifriction

couche antifriction revetement

4.5.3. ïðèðàáîòî÷íûé ñëîé ïîäøèïíèêà ñêîëüæåíèÿ, ïðèðàáîòî÷íûé ñëîé: Ñëîé ìàòåðèàëà, íàíîñèìûé íà ïîäøèïíèêîâûé ìàòåðèàë äëÿ óëó÷øåíèÿ ïðèðàáàòûâàåìîñòè, ïðèëåãàåìîñòè, ñïîñîáíîñòè ê ïîãëîùåíèþ òâåðäûõ ÷àñòèö è, â íåêîòîðûõ ñëó÷àÿõ, êîððîçèîííîé ñòîéêîñòè (ðèñóíîê 15)

Ïðèìå÷àíèå - Òîëùèíà ñëîÿ îáû÷íî îò 0,01 äî 0,05 ìì

en    plain bearing running-in layer

running-in layer overlay

fr     couche de rodage

4.5.4. ïðîìåæóòî÷íûé ñëîé, ñöåïëÿþùèé ñëîé: Î÷åíü òîíêèé ñëîé ìåæäó ïðèðàáîòî÷íûì ñëîåì è ñëîåì ïîäøèïíèêîâîãî ìàòåðèàëà äëÿ óïðî÷íåíèÿ ñöåïëåíèÿ è óìåíüøåíèÿ äèôôóçèè

Ïðèìå÷àíèå - Òîëùèíà ñëîÿ îáû÷íî îò 0,001 äî 0,002 ìì

en    interlayer

bonding layer

nickel dam

fr     couche intermediaire

couche d’adherence

couche de nickel

4.5.5. çàùèòíûé ñëîé: Î÷åíü òîíêèé ñëîé íà ïîâåðõíîñòè ïîäøèïíèêà èëè íà îñíîâå äëÿ çàùèòû îò êîððîçèè ïðè õðàíåíèè

Ïðèìå÷àíèå - Òîëùèíà ñëîÿ îáû÷íî îò 0,0005 äî 0,0010 ìì

en    protective layer flash

fr     couche de protection voile

4.6. óïîðíîå êîëüöî: Ïëîñêîå êîëüöî, óñòàíàâëèâàåìîå ñ ðàäèàëüíûì ïîäøèïíèêîì ñêîëüæåíèÿ äëÿ âîñïðèÿòèÿ îñåâûõ óñèëèé (ðèñóíîê 16)

en    thrust washer

fr     rondelle ou flasque de butee

4.6.1. óïîðíîå ïîëóêîëüöî: ×àñòü êîëüöà, êîòîðàÿ ïðè ñî÷åòàíèè ñ äðóãîé òàêîé æå ÷àñòüþ îáðàçóåò óïîðíîå êîëüöî (ðèñóíîê 17)

en    thrust half-washer

fr     demi-flasque de butee

4.7. ñåãìåíò: Ñîñòàâíàÿ ÷àñòü ñåãìåíòíîãî ïîäøèïíèêà ñêîëüæåíèÿ, âîñïðèíèìàþùàÿ íàãðóçêó (ðèñóíêè 4, 5)

en    pad

fr     segment ou patin

4.7.1. ðàäèàëüíûé ñåãìåíò: Ñåãìåíò, ïðåäñòàâëÿþùèé ñîáîé ñîñòàâíóþ ÷àñòü ðàäèàëüíîãî ñåãìåíòíîãî ïîäøèïíèêà ñêîëüæåíèÿ (ðèñóíîê 6)

en    journal pad

fr     segment radial ou partie du coussinet

4.7.2. óïîðíûé ñåãìåíò: Ñåãìåíò, ïðåäñòàâëÿþùèé ñîáîé ñîñòàâíóþ ÷àñòü ñåãìåíòíîãî óïîðíîãî ïîäøèïíèêà ñêîëüæåíèÿ (ðèñóíêè 1, 5)

en    thrust pad

fr     segment axial

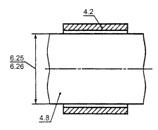
4.8. øåéêà âàëà: Ó÷àñòîê âàëà èëè îñè, îïèðàþùèéñÿ íà ðàäèàëüíûé ïîäøèïíèê ñêîëüæåíèÿ (ðèñóíêè 2, 3, 18)

en    journal

fr     tourillon

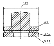
4.9. ïÿòà: Êîëüöåâîé ýëåìåíò, ñîåäèíÿåìûé ñ âàëîì, îïèðàþùèéñÿ íà óïîðíûé ïîäøèïíèê ñêîëüæåíèÿ

en    thrust collar

fr     collet de butee

4.10. ñìàçî÷íîå êîëüöî (ñâîáîäíî âèñÿùåå), ñìàçî÷íûé äèñê (íåïîäâèæíî çàêðåïëåííûé): Êîëüöåîáðàçíàÿ äåòàëü, íåïîäâèæíî ñîåäèíåííàÿ èëè ñâîáîäíî âèñÿùàÿ íà âàëó, ïðåäíàçíà÷åííàÿ äëÿ ïîäà÷è ñìàçî÷íîãî ìàòåðèàëà ê ïîäøèïíèêó

en    oil ring (loose)

oil disc (secured)

fr     bague de lubrification (libre)

disque de lubrification (fixe)

4.11. êîðïóñ ïîäøèïíèêà ñêîëüæåíèÿ: Êîðïóñ, â êîòîðîì óñòàíàâëèâàåòñÿ ïîäøèïíèê ñêîëüæåíèÿ (ðèñóíîê 10)

en    plain bearing housing

fr     logement ou support de palier lisse

4.12. áëîê êîðïóñà ïîäøèïíèêà ñêîëüæåíèÿ, áëîê êîðïóñà: ×àñòü êîðïóñà, íà êîòîðóþ îïèðàåòñÿ ïîäøèïíèê (ðèñóíîê 19)

en    plain bearing housing block

bearing block

fr     bloc du logement de palier lisse

corps de palier

4.13. êðûøêà êîðïóñà ïîäøèïíèêà: ×àñòü êîðïóñà, óäåðæèâàþùàÿ ïîäøèïíèê â áëîêå (ðèñóíîê 19)

en    plain bearing housing cap

bearing cap

fr     partie superieure du logement de palier lisse

4.14. çàïîðíàÿ êðûøêà ïîäøèïíèêà ñêîëüæåíèÿ, çàïîðíàÿ êðûøêà: Êðûøêà, çàêðûâàþùàÿ ïîäøèïíèê ñ òîðöà â îñåâîì íàïðàâëåíèè (ðèñóíîê 19)

en    plain bearing housing cover plate

cover plate

fr     flasque de fermeture du logement de palier lisse

4.15. óïëîòíåíèå óçëà ïîäøèïíèêà ñêîëüæåíèÿ: Ýëåìåíò, ñëóæàùèé äëÿ óïëîòíåíèÿ êîðïóñà ïîäøèïíèêà ñêîëüæåíèÿ, ïðåïÿòñòâóþùèé óòå÷êå ñìàçî÷íîãî ìàòåðèàëà è ïîïàäàíèþ ãðÿçè

en    plain bearing assembly gasket

bearing gasket

fr     joint de palier lisse

4.16. ôëàíåö êîðïóñíîãî ïîäøèïíèêà: ×àñòü êîðïóñíîãî ôëàíöåâîãî ïîäøèïíèêà äëÿ êðåïëåíèÿ â íàïðàâëåíèè îñè

en    bearing housing flange

fr     collerette de logement de palier

4.17. óñòàíîâî÷íàÿ ïëîñêîñòü êîðïóñíîãî ïîäøèïíèêà ñêîëüæåíèÿ, óñòàíîâî÷íàÿ ïëîñêîñòü: ×àñòü êîðïóñíîãî ïîäøèïíèêà ñêîëüæåíèÿ íà ëàïàõ, ïðåäíàçíà÷åííàÿ äëÿ êðåïëåíèÿ â íàïðàâëåíèè, ïåðïåíäèêóëÿðíîì ê îñè âàëà

en    bearing housing base

fr     base du logement du palier

4.18. èçîëÿöèîííûé ýëåìåíò: Ýëåìåíò, ïðåäíàçíà÷åííûé äëÿ ýëåêòðè÷åñêîé èçîëÿöèè ìåæäó ïîäøèïíèêîì ñêîëüæåíèÿ è êîðïóñîì èëè ìåæäó êîðïóñîì è êðåïëåíèåì êîðïóñà

en    bearing insulation

fr     insolation du palier

4.19. ïàç ñìàçî÷íîãî êîëüöà: Âûòî÷êà âî âêëàäûøå ïîäøèïíèêà ñêîëüæåíèÿ äëÿ óñòàíîâêè ñìàçî÷íîãî êîëüöà

en    oil ring slot

fr     encoche de la bague de lubrification

4.20. çàëèâíîå îòâåðñòèå: Çàïèðàåìîå îòâåðñòèå äëÿ çàëèâêè ñìàçî÷íîãî ìàòåðèàëà â êîðïóñ ïîäøèïíèêà ñêîëüæåíèÿ

en    oil filler hole

fr     trou de remplissage d’huile

4.21. ñëèâíîå îòâåðñòèå: Çàïèðàåìîå îòâåðñòèå äëÿ ñëèâà ñìàçî÷íîãî ìàòåðèàëà èç êîðïóñà ïîäøèïíèêà ñêîëüæåíèÿ

en    oil drain hole

fr     trou de vidange d’huile

4.22. ïîñàäî÷íîå îòâåðñòèå êîðïóñà ïîäøèïíèêà ñêîëüæåíèÿ: Ñôåðè÷åñêîå èëè öèëèíäðè÷åñêîå îòâåðñòèå â êîðïóñå ïîäøèïíèêà ñêîëüæåíèÿ äëÿ óñòàíîâêè âòóëêè èëè âêëàäûøåé

en    plain bearing housing bore

fr     alesage du logement de palier lisse

5. Êîíñòðóêòèâíûå ýëåìåíòû ïîäøèïíèêîâ ñêîëüæåíèÿ

5.1. ñìàçî÷íîå îòâåðñòèå: Îòâåðñòèå, èäóùåå ê ðàáî÷åé ïîâåðõíîñòè ïîäøèïíèêà ñêîëüæåíèÿ, ñëóæàùåå äëÿ ïîäâåäåíèÿ è ðàñïðåäåëåíèÿ ñìàçî÷íîãî ìàòåðèàëà (ðèñóíêè 20, 21)

en    oil hole

fr     trou de lubrification

5.2. íàðóæíàÿ ñìàçî÷íàÿ êàíàâêà: Êàíàâêà íà çàäíåé ïîâåðõíîñòè ïîäøèïíèêà ñêîëüæåíèÿ, ñëóæàùàÿ äëÿ ïîäâåäåíèÿ ñìàçî÷íîãî ìàòåðèàëà ê ñìàçî÷íîìó îòâåðñòèþ (ðèñóíîê 21)

en    oil outer groove

fr     canal de lubrification ou rainure externe

5.3. ñìàçî÷íàÿ êàíàâêà: Êàíàâêà, âûïîëíåííàÿ íà ðàáî÷åé ïîâåðõíîñòè ïîäøèïíèêà ñêîëüæåíèÿ äëÿ ïîäà÷è ñìàçî÷íîãî ìàòåðèàëà è åãî ðàñïðåäåëåíèÿ ïî ïîâåðõíîñòè òðåíèÿ (ðèñóíêè 16, 17, 22)

en    oil groove

fr     rainure de lubrification

5.3.1. ïðîäîëüíàÿ ñìàçî÷íàÿ êàíàâêà: Ñìàçî÷íàÿ êàíàâêà, âûïîëíåííàÿ â íàïðàâëåíèè, ïàðàëëåëüíîì îñè ïîäøèïíèêà ñêîëüæåíèÿ (ðèñóíîê 22)

en    longitudinal (axial) groove

fr     rainure longitudinale (axiale)

5.3.2. êîëüöåâàÿ ñìàçî÷íàÿ êàíàâêà: Ñìàçî÷íàÿ êàíàâêà, âûïîëíåííàÿ â ôîðìå êîëüöà èëè åãî ÷àñòè (ðèñóíîê 23)

en    circumferential groove

fr     rainure circulaire

5.3.3. âèíòîâàÿ ñìàçî÷íàÿ êàíàâêà: Ñìàçî÷íàÿ êàíàâêà, âûïîëíåííàÿ â ôîðìå âèíòîâîé ëèíèè (ðèñóíîê 24)

en    helical groove

fr     rainure helicoidale

5.3.4. îòêðûòàÿ ñìàçî÷íàÿ êàíàâêà: Îñåâàÿ ñìàçî÷íàÿ êàíàâêà, âûïîëíåííàÿ íà ïîëíóþ øèðèíó ïîäøèïíèêà (ðèñóíîê 25)

en    open groove

fr     rainure ouverte

5.3.5. çàêðûòàÿ ñìàçî÷íàÿ êàíàâêà: Ñìàçî÷íàÿ êàíàâêà, íå äîñòèãàþùàÿ òîðöåâîé (ûõ) ïîâåðõíîñòè (åé) ïîäøèïíèêà (ðèñóíîê 22)

en    stopped-off groove

fr     rainure fermee

5.3.6. îòâîäíàÿ ñìàçî÷íàÿ êàíàâêà: Ïðîäîëüíàÿ ñìàçî÷íàÿ êàíàâêà, ïðèìûêàþùàÿ èëè ïðîõîäÿùàÿ ïî ñòûêó âêëàäûøåé

en    gutterway

fr     bassin relais

5.4. ñìàçî÷íûé êàðìàí: Óãëóáëåíèå íà ïîâåðõíîñòè ïîäøèïíèêà ñêîëüæåíèÿ, ñëóæàùåå äëÿ íàêîïëåíèÿ ñìàçî÷íîãî ìàòåðèàëà è åãî ðàñïðåäåëåíèÿ (ðèñóíîê 26)

en    oil pocket

fr     alveole

5.5. ôèêñàòîð: Âûñòóï, ïàç èëè îòâåðñòèå, ñëóæàùèå äëÿ ïðåäîòâðàùåíèÿ ñìåùåíèÿ ïîäøèïíèêà â êîðïóñå (ðèñóíîê 27)

en    locating element

fr     element de positionnement

6. Ðàçìåðíûå õàðàêòåðèñòèêè ïîäøèïíèêîâ ñêîëüæåíèÿ

6.1. âíóòðåííèé äèàìåòð (ðàäèóñ) ðàäèàëüíîãî ïîäøèïíèêà ñêîëüæåíèÿ: Âíóòðåííèé äèàìåòð (ðàäèóñ) ñå÷åíèÿ, ïåðïåíäèêóëÿðíîãî ê îñè ðàäèàëüíîãî êðóãëîöèëèíäðè÷åñêîãî ïîäøèïíèêà ñêîëüæåíèÿ (ðèñóíîê 28)

en    journal bearing bore diameter (radius)

bore

ID

fr     Diametre (rayon) d’alesage d’un palier lisse radial

alesage

D

6.2. íàðóæíûé äèàìåòð ðàäèàëüíîãî ïîäøèïíèêà ñêîëüæåíèÿ: Äèàìåòð íàðóæíîé ïîâåðõíîñòè ïîäøèïíèêà, íàõîäÿùåãîñÿ â êîðïóñå (ðèñóíîê 28)

en    plain journal bearing outside diameter

bearing outside diameter

OD

fr     diametre exterieur d’un palier lisse radial

diametre exterieur d’un palier

DE

6.3. øèðèíà âêëàäûøà (âòóëêè) ïîäøèïíèêà: Ðàçìåð ðàäèàëüíîãî ïîäøèïíèêà, èçìåðåííûé â îñåâîì íàïðàâëåíèè, èëè óïîðíîãî ïîäøèïíèêà, èçìåðåííûé â ðàäèàëüíîì íàïðàâëåíèè (ðèñóíêè 9 è 29)

en    bearing width

fr     largeur d’un palier

6.3.1. ðàáî÷àÿ øèðèíà âêëàäûøà ïîäøèïíèêà: Øèðèíà âêëàäûøà (âòóëêè), çà èñêëþ÷åíèåì øèðèíû öåíòðàëüíîé êàíàâêè è ôàñîê

en    bearing effective width

fr     largeur utile d’un palier

6.3.2. ïîëîâèíà ðàáî÷åé øèðèíû ïîäøèïíèêà: Ðàçìåð ðàäèàëüíîãî ïîäøèïíèêà ñ êîëüöåâîé êàíàâêîé îò êðàÿ êàíàâêè äî êðàÿ ïîäøèïíèêà â îñåâîì íàïðàâëåíèè, çà èñêëþ÷åíèåì ôàñîê (ðèñóíîê 23)

en    bearing land width

fr     largeur de la face d’appui du palier

6.4. äèàìåòðàëüíûé çàçîð ðàäèàëüíîãî ïîäøèïíèêà ñêîëüæåíèÿ, çàçîð ðàäèàëüíîãî ïîäøèïíèêà, çàçîð: Ðàçíîñòü ìåæäó âíóòðåííèì äèàìåòðîì ðàäèàëüíîãî ïîäøèïíèêà ñêîëüæåíèÿ è äèàìåòðîì øåéêè âàëà

en    diametral clearance of a plain journal bearing

journal bearing clearance

bearing clearance

fr     jeu diametral d’un palier lisse radial

jeu d’un palier radial

jeu

6.5. ðàäèàëüíûé çàçîð êðóãëîöèëèíäðè÷åñêîãî ïîäøèïíèêà ñêîëüæåíèÿ: Ðàçíîñòü ìåæäó âíóòðåííèì ðàäèóñîì ðàäèàëüíîãî ïîäøèïíèêà è ðàäèóñîì øåéêè âàëà (ðèñóíîê 2)

en    radial clearance of a circular cylindrical bearing

fr     jeu radial d’un palier cylindrique circulaire

6.6. ìèíèìàëüíûé ðàäèàëüíûé çàçîð íåêðóãëîöèëèíäðè÷åñêîãî ïîäøèïíèêà ñêîëüæåíèÿ: Ìèíèìàëüíîå ðàññòîÿíèå ìåæäó ïîâåðõíîñòÿìè ñêîëüæåíèÿ ñîîñíî ðàñïîëîæåííûõ âàëà è ïîäøèïíèêà (ðèñóíêè 3, 4)

en    minimum bearing radial clearance of a non-circular cylindrical bearing

fr     jeu radial minimal d’un palier cylindricue non circulaire

6.7. îòíîñèòåëüíûé çàçîð ïîäøèïíèêà: Îòíîøåíèå ðàäèàëüíîãî çàçîðà ê âíóòðåííåìó ðàäèóñó èëè äèàìåòðàëüíîãî çàçîðà ê âíóòðåííåìó äèàìåòðó êðóãëîöèëèíäðè÷åñêîãî ïîäøèïíèêà

en    relative clearance of a bearing

fr     jeu relatif d’un palier

6.8. òîëùèíà ñòåíêè âêëàäûøà (âòóëêè): Ðàññòîÿíèå ìåæäó íàðóæíîé è âíóòðåííåé ïîâåðõíîñòÿìè âêëàäûøà (âòóëêè) â äàííîì ðàäèàëüíîì íàïðàâëåíèè (ðèñóíîê 30)

en    half-bearing (bush) wall thickness

fr     epaisseur de paroi de demi-coussinet (bague)

6.9. òîëùèíà ñëîÿ ïîäøèïíèêîâîãî ìàòåðèàëà: Òîëùèíà ñëîÿ àíòèôðèêöèîííîãî ìàòåðèàëà, íàíåñåííîãî íà îñíîâó ïîäøèïíèêà (ðèñóíîê 30)

en    bearing material layer thickness

lining thickness

fr     epaisseur de la couche de materiau antifriction

epaisseur du revetement

6.10. òàíãåíöèàëüíûé ðàçìåð ñåãìåíòà: Ëèíåéíûé ðàçìåð ñåãìåíòà â íàïðàâëåíèè ñêîëüæåíèÿ ïî äóãå ñðåäíåãî äèàìåòðà (ðèñóíîê 5)

en    pad length

fr     longueur d’un segment

6.11. øèðèíà ñåãìåíòà: Ëèíåéíûé ðàçìåð ñåãìåíòà â ðàäèàëüíîì íàïðàâëåíèè (óïîðíûé ñåãìåíò - ðèñóíîê 5) èëè â îñåâîì íàïðàâëåíèè (ðàäèàëüíûé ñåãìåíò)

en    pad width

fr     largeur d’un segment

6.12. òîëùèíà ñåãìåíòà: Ëèíåéíûé ðàçìåð ñåãìåíòà, èçìåðåííûé â îñåâîì íàïðàâëåíèè (îñåâîé ñåãìåíò - ðèñóíîê 5) èëè â ðàäèàëüíîì íàïðàâëåíèè (ðàäèàëüíûé ñåãìåíò)

en    pad thickness

fr     epaisseur d’un segment

6.13. ñêîñ âêëàäûøà: Ïëàâíîå óìåíüøåíèå òîëùèíû âêëàäûøà ó ïëîñêîñòè ðàçúåìà (ðèñóíîê 31)

en    bore relief

fr     depincage de l’alesage

6.14. âåëè÷èíà âûñòóïàíèÿ: Ðàçìåð, íà êîòîðûé äëèíà âêëàäûøà ïîäøèïíèêà ñêîëüæåíèÿ ïðè èçìåðåíèè â ñïåöèàëüíîì ïðèñïîñîáëåíèè ïîä íàãðóçêîé ïðåâûøàåò äëèíó ïîëóîêðóæíîñòè èçìåðèòåëüíîãî ïðèñïîñîáëåíèÿ (ðèñóíîê 11)

en    nip crush

fr     depassement

6.15. íåïàðàëëåëüíîñòü ïëîñêîñòåé ðàçúåìà âêëàäûøà: Âåëè÷èíà, õàðàêòåðèçóþùàÿ îòêëîíåíèå îò ïàðàëëåëüíîñòè ïëîñêîñòåé ðàçúåìà âêëàäûøà îòíîñèòåëüíî îáðàçóþùåé íàðóæíîé öèëèíäðè÷åñêîé ïîâåðõíîñòè èçìåðèòåëüíîãî ïðèñïîñîáëåíèÿ (ðèñóíîê 10)

en    inclination

fr     non-parallelisme des plans de joint

6.16. ðàñïðÿìëåíèå âêëàäûøà ïîäøèïíèêà ñêîëüæåíèÿ: Ðàçíîñòü ìåæäó íàðóæíûì äèàìåòðîì âêëàäûøà, èçìåðåííûì â ñâîáîäíîì ñîñòîÿíèè, è äèàìåòðîì ïîñàäî÷íîãî ìåñòà êîðïóñà ïîäøèïíèêà ñêîëüæåíèÿ (ðèñóíîê 32)

en    free spread

fr     ouverture a l’etat libre

6.17. äëèíà êîðïóñà: Ìàêñèìàëüíûé ðàçìåð êîðïóñà ïîäøèïíèêà ñêîëüæåíèÿ â íàïðàâëåíèè îñè âàëà

en    housing length

fr     largeur du logement

6.18. øèðèíà êîðïóñà: Ìàêñèìàëüíàÿ øèðèíà êîðïóñà ïîäøèïíèêà ñêîëüæåíèÿ â ãîðèçîíòàëüíîì íàïðàâëåíèè, ïåðïåíäèêóëÿðíîì ê îñè âàëà

en    housing width

fr     longueur du logement

6.19. âûñîòà êîðïóñà: Ìàêñèìàëüíàÿ âûñîòà êîðïóñà ïîäøèïíèêà ñêîëüæåíèÿ â íàïðàâëåíèè, ïåðïåíäèêóëÿðíîì ê îñè âàëà

en    housing height

fr     hauteur du logement

6.20. òîðöåâàÿ ïîâåðõíîñòü êîðïóñà: Íàðóæíàÿ ïîâåðõíîñòü êîðïóñà, ïåðïåíäèêóëÿðíàÿ ê îñåâîìó íàïðàâëåíèþ

en    housing face

fr     face du logement

6.21. ðåáðà îõëàæäåíèÿ: Âûñòóïû íà íàðóæíîé ïîâåðõíîñòè êîðïóñà, íåîáõîäèìûå äëÿ óëó÷øåíèÿ òåïëîîòâîäà

en    cooling fins

fr     ailettes de refroidissement

6.22. ïëîñêîñòü ðàçúåìà: Ïëîñêîñòü ñîïðÿæåíèÿ äâóõ ïðîòèâîëåæàùèõ âêëàäûøåé èëè äâóõ ñîïðÿæåííûõ äåòàëåé ñáîðíîãî êîðïóñà (ðèñóíêè 2, 3)

en    joint face

fr     plan de joint

6.23. ðàçúåì: Ïëîñêîñòü ðàçúåìà äâóõ ïðîòèâîëåæàùèõ êîíöîâ ñâåðòíîé âòóëêè (ðèñóíîê 13)

en    joint split

fr     joint

6.24. âûñîòà îñè êîðïóñíîãî ïîäøèïíèêà íà ëàïàõ: Ðàññòîÿíèå îò óñòàíîâî÷íîé ïëîñêîñòè äî îñè âàëà â êîðïóñíîì ïîäøèïíèêå ñêîëüæåíèÿ íà ëàïàõ

en    centre height of a pedestal plain bearing

fr     hauteur de l’axe d’un palier lisse a chaise sur le sol

6.25. äèàìåòð øåéêè: Ðèñóíêè 18 è 33

en    journal diameter

fr     diametre du tourillon

6.26. äèàìåòð âàëà: Ðèñóíêè 18 è 33

en    shaft diameter

fr     diametre de l’arbre

6.27. äèàìåòð ïÿòû, äèàìåòð óïîðíîé ïÿòû: Ðèñóíîê 1

en    collar diameter thrust

collar diameter

fr     diametre du collet de butee

7. Ìàòåðèàëû è èõ ñâîéñòâà

7.1. ïîäøèïíèêîâûé ìàòåðèàë, àíòèôðèêöèîííûé ìàòåðèàë: Ïîäøèïíèêîâûé ìàòåðèàë, îáëàäàþùèé êîìïëåêñîì ñïåöèàëüíûõ ñâîéñòâ, îáåñïå÷èâàþùèõ âîçìîæíîñòü åãî ïðèìåíåíèÿ äëÿ ïîäøèïíèêîâ ñêîëüæåíèÿ

en    bearing material

antifriction material

lining

fr     materiau antifriction revetement

7.2. ìíîãîñëîéíûé ïîäøèïíèêîâûé ìàòåðèàë: Ïîäøèïíèêîâûé ìàòåðèàë, ñîñòîÿùèé èç äâóõ èëè áîëåå ñëîåâ ðàçëè÷íîãî ñîñòàâà

en    multilayer material

fr     materiau multicouche

7.3. ìàòåðèàë îñíîâû ïîäøèïíèêà ñêîëüæåíèÿ: Ìàòåðèàë, èç êîòîðîãî èçãîòîâëåíà îñíîâà âêëàäûøà ïîäøèïíèêà ñêîëüæåíèÿ

en    backing material

fr     materiau support

7.4. êîìïîçèöèîííûé ïîäøèïíèêîâûé ìàòåðèàë: Ïîäøèïíèêîâûé ìàòåðèàë, ñîäåðæàùèé ìåòàëëû, ïîëèìåðû, òâåðäûå ñìàçî÷íûå ìàòåðèàëû èëè âîëîêíà

en    composite material

fr     materiau composite

7.5. ñïå÷åííûé ïîäøèïíèêîâûé ìàòåðèàë, ñïå÷åííûé ìàòåðèàë: Ìàòåðèàë, ïîëó÷åííûé èç ñïðåññîâàííûõ è ñïå÷åííûõ ïîðîøêîâ

en    sintered bearing material

sintered material

fr     materiau fritte antifriction

7.6. òðèáîëîãè÷åñêàÿ ñîâìåñòèìîñòü: Ñâîéñòâî ïîäøèïíèêîâîãî ìàòåðèàëà îáåñïå÷èâàòü îïòèìàëüíûå òðèáîëîãè÷åñêèå õàðàêòåðèñòèêè â äàííîé òðèáîëîãè÷åñêîé ñèñòåìå

en    tribological compatibility

fr     compatibilite tribologique

7.7. ïðèëåãàåìîñòü ïðè òðåíèè, ïðèëåãàåìîñòü: Ñâîéñòâî ïîäøèïíèêîâîãî ìàòåðèàëà îáåñïå÷èâàòü ïðèåìëåìûå óñëîâèÿ ïðèëåãàíèÿ ê ñîïðÿæåííîé ïîâåðõíîñòè â ðåçóëüòàòå óïðóãîãî è ïëàñòè÷åñêîãî äåôîðìèðîâàíèÿ

en    conformability

fr     conformabilite

7.8. ïðèðàáàòûâàåìîñòü: Ñâîéñòâî ïîäøèïíèêîâîãî ìàòåðèàëà îáåñïå÷èâàòü ïðèåìëåìî ìàëóþ ñèëó òðåíèÿ, âûñîêóþ èçíîñîñòîéêîñòü è ñòîéêîñòü ê çàåäàíèþ ïîñëå íà÷àëüíîé ïðèðàáîòêè ê çàäàííîìó ìàòåðèàëó ïðè ïðèìåíåíèè çàäàííîãî ñìàçî÷íîãî ìàòåðèàëà

en    running-in ability

fr     aptitude au radage

7.9. ñïîñîáíîñòü ê ïîãëîùåíèþ: Ñâîéñòâî ïîäøèïíèêîâîãî ìàòåðèàëà ê ïîãëîùåíèþ òâåðäûõ ÷àñòèö

en    embeddability

fr     pouvoir d’inclusion

7.10. ñöåïëÿåìîñòü: Ñâîéñòâî àíòèôðèêöèîííîãî ïîäøèïíèêîâîãî ìàòåðèàëà îáðàçîâûâàòü ïðèåìëåìî ïðî÷íûå ñîåäèíåíèÿ ñ çàäàííûì ìàòåðèàëîì îñíîâû ïîäøèïíèêîâ ñêîëüæåíèÿ

en    bonding

fr     pouvoir d’adherence

7.11. ñòîéêîñòü ê çàåäàíèþ: Ñâîéñòâî ïîäøèïíèêîâîãî ìàòåðèàëà â òðèáîëîãè÷åñêîé ñèñòåìå îêàçûâàòü ñîïðîòèâëåíèå çàåäàíèþ

en    seizure resistance

fr     resistance au grippage

7.12. èçíîñîñòîéêîñòü: Ñâîéñòâî àíòèôðèêöèîííîãî ïîäøèïíèêîâîãî ìàòåðèàëà â òðèáîëîãè÷åñêîé ñèñòåìå îêàçûâàòü ñîïðîòèâëåíèå èçíàøèâàíèþ, îöåíèâàåìîå ïîêàçàòåëåì èçíîñîñòîéêîñòè - âåëè÷èíîé, îáðàòíîé ñêîðîñòè èçíàøèâàíèÿ èëè èíòåíñèâíîñòè èçíàøèâàíèÿ

en    wear resistance

fr     resistance a l’usure

7.13. îòíîñèòåëüíàÿ èçíîñîñòîéêîñòü: Îòíîøåíèå ïîêàçàòåëåé èçíîñîñòîéêîñòè äâóõ ðàçëè÷íûõ àíòèôðèêöèîííûõ ïîäøèïíèêîâûõ ìàòåðèàëîâ ïðè èçíàøèâàíèè â îäèíàêîâûõ óñëîâèÿõ

en    relative wear resistance

fr     resistance relative a l’usure

7.14. òåìïåðàòóðîñòîéêîñòü: Ñâîéñòâî àíòèôðèêöèîííîãî ïîäøèïíèêîâîãî ìàòåðèàëà ñîõðàíÿòü ðàáîòîñïîñîáíîñòü ïðè øèðîêîì äèàïàçîíå òåìïåðàòóð

en    temperature stability

fr     stabilite en temperature

7.15. ñîïðîòèâëåíèå óñòàëîñòè: Ñâîéñòâî ïîäøèïíèêîâîãî ìàòåðèàëà â òðèáîëîãè÷åñêîé ñèñòåìå îêàçûâàòü ñîïðîòèâëåíèå óñòàëîñòè

en    fatigue resistance

fr     resistance a la fatigue

 

Ðèñóíîê 1

Ðèñóíîê 2

Ðèñóíîê 3

Ðèñóíîê 4

Ðèñóíîê 5

Ðèñóíîê 6

Ðèñóíîê 7

Ðèñóíîê 8

Ðèñóíîê 9

Ðèñóíîê 10

Ðèñóíîê 11

Ðèñóíîê 12

Ðèñóíîê 13

Ðèñóíîê 14

Ðèñóíîê 15

Ðèñóíîê 16

Ðèñóíîê 17

Ðèñóíîê 18

Ðèñóíîê 19

Ðèñóíîê 20

Ðèñóíîê 21

Ðèñóíîê 22

Ðèñóíîê 23

Ðèñóíîê 24

Ðèñóíîê 25

Ðèñóíîê 26

Ðèñóíîê 27

Ðèñóíîê 28

Ðèñóíîê 29

Ðèñóíîê 30

Ðèñóíîê 31

Ðèñóíîê 32

Ðèñóíîê 33

Àëôàâèòíûé óêàçàòåëü òåðìèíîâ íà ðóññêîì ÿçûêå

áëîê êîðïóñà                                                                                                             4.12

áëîê êîðïóñà ïîäøèïíèêà ñêîëüæåíèÿ                                                           4.12

âåëè÷èíà âûñòóïàíèÿ                                                                                          6.14

âêëàäûø áóðòîâûé                                                                                                   4.3

âêëàäûø ìíîãîñëîéíûé                                                                                      4.5

âêëàäûø îäíîñëîéíûé                                                                                        4.4

âêëàäûø ïîäøèïíèêà                                                                                         4.1

âêëàäûø ïîäøèïíèêà áóðòîâûé                                                                       4.3

âêëàäûø ïîäøèïíèêà òîëñòîñòåííûé                                                             4.1.2

âêëàäûø ïîäøèïíèêà òîíêîñòåííûé                                                              4.1.1

âòóëêà                                                                                                                       4.2

âòóëêà áóðòîâàÿ                                                                                                        4.3

âòóëêà ìíîãîñëîéíàÿ                                                                                            4.5

âòóëêà îäíîñëîéíàÿ                                                                                               4.4

âòóëêà ïîäøèïíèêà                                                                                              4.2

âòóëêà ïîäøèïíèêà áóðòîâàÿ                                                                             4.3

âòóëêà ïîäøèïíèêà ñêîëüæåíèÿ                                                                            4.2

âòóëêà ïîäøèïíèêà ñêîëüæåíèÿ ñâåðòíàÿ                                                     4.2.1

âòóëêà ñâåðòíàÿ                                                                                                        4.2.1

âûñîòà êîðïóñà                                                                                                       6.19

âûñîòà îñè êîðïóñíîãî ïîäøèïíèêà íà ëàïàõ                                                6.24

äèàìåòð âàëà                                                                                                           6.26

äèàìåòð ïÿòû                                                                                                          6.27

äèàìåòð ðàäèàëüíîãî ïîäøèïíèêà ñêîëüæåíèÿ âíóòðåííèé                      6.1

äèàìåòð ðàäèàëüíîãî ïîäøèïíèêà ñêîëüæåíèÿ íàðóæíûé                        6.2

äèàìåòð óïîðíîé ïÿòû                                                                                          6.27

äèàìåòð øåéêè                                                                                                       6.25

äèñê ñìàçî÷íûé (íåïîäâèæíî çàêðåïëåííûé)                                                     4.10

äëèíà êîðïóñà                                                                                                         6.17

çàçîð                                                                                                                          6.4

çàçîð êðóãëîöèëèíäðè÷åñêîãî ïîäøèïíèêà ñêîëüæåíèÿ ðàäèàëüíûé     6.5

çàçîð íåêðóãëîöèëèíäðè÷åñêîãî ïîäøèïíèêà ñêîëüæåíèÿ

ìèíèìàëüíûé ðàäèàëüíûé                                                                                 6.6

çàçîð ïîäøèïíèêà îòíîñèòåëüíûé                                                                    6.7

çàçîð ðàäèàëüíîãî ïîäøèïíèêà                                                                          6.4

çàçîð ðàäèàëüíîãî ïîäøèïíèêà ñêîëüæåíèÿ äèàìåòðàëüíûé                    6.4

èçíîñîñòîéêîñòü                                                                                                     7.12

èçíîñîñòîéêîñòü îòíîñèòåëüíàÿ                                                                         7.13

êàíàâêà ñìàçî÷íàÿ                                                                                                5.3

êàíàâêà ñìàçî÷íàÿ âèíòîâàÿ                                                                              5.3.3

êàíàâêà ñìàçî÷íàÿ çàêðûòàÿ                                                                              5.3.5

êàíàâêà ñìàçî÷íàÿ êîëüöåâàÿ                                                                            5.3.2

êàíàâêà ñìàçî÷íàÿ íàðóæíàÿ                                                                             5.2

êàíàâêà ñìàçî÷íàÿ îòâîäíàÿ                                                                               5.3.6

êàíàâêà ñìàçî÷íàÿ îòêðûòàÿ                                                                              5.3.4

êàíàâêà ñìàçî÷íàÿ ïðîäîëüíàÿ                                                                          5.3.1

êàðìàí ñìàçî÷íûé                                                                                                 5.4

êîëüöî ñìàçî÷íîå (ñâîáîäíî âèñÿùåå)                                                              4.10

êîëüöî óïîðíîå                                                                                                       4.6

êîðïóñ ïîäøèïíèêà ñêîëüæåíèÿ                                                                       4.11

êðûøêà çàïîðíàÿ                                                                                                   4.14

êðûøêà êîðïóñà ïîäøèïíèêà                                                                            4.13

êðûøêà ïîäøèïíèêà ñêîëüæåíèÿ çàïîðíàÿ                                                  4.14

ìàòåðèàë àíòèôðèêöèîííûé                                                                                  7.1

ìàòåðèàë îñíîâû ïîäøèïíèêà ñêîëüæåíèÿ                                                    7.3

ìàòåðèàë ïîäøèïíèêîâûé                                                                                  7.1

ìàòåðèàë ïîäøèïíèêîâûé êîìïîçèöèîííûé                                                7.4

ìàòåðèàë ïîäøèïíèêîâûé ìíîãîñëîéíûé                                                     7.2

ìàòåðèàë ñïå÷åííûé                                                                                                7.5

ìàòåðèàë ñïå÷åííûé ïîäøèïíèêîâûé                                                            7.5

íåïàðàëëåëüíîñòü ïëîñêîñòåé ðàçúåìà âêëàäûøà                                        6.15

îñíîâà âêëàäûøà                                                                                                      4.5.1

îñíîâà âêëàäûøà ïîäøèïíèêà                                                                          4.5.1

îòâåðñòèå çàëèâíîå                                                                                                4.20

îòâåðñòèå êîðïóñà ïîäøèïíèêà ñêîëüæåíèÿ ïîñàäî÷íîå                            4.22

îòâåðñòèå ñëèâíîå                                                                                                  4.21

îòâåðñòèå ñìàçî÷íîå                                                                                              5.1

ïàç ñìàçî÷íîãî êîëüöà                                                                                          4.19

ïëîñêîñòü êîðïóñíîãî ïîäøèïíèêà ñêîëüæåíèÿ óñòàíîâî÷íàÿ                 4.17

ïëîñêîñòü ðàçúåìà                                                                                                 6.22

ïëîñêîñòü óñòàíîâî÷íàÿ                                                                                          4.17

ïîâåðõíîñòü êîðïóñà òîðöåâàÿ                                                                            6.20

ïîâåðõíîñòü ïîäøèïíèêà ñêîëüæåíèÿ ïîñàäî÷íàÿ (çàäíÿÿ)                       4.1.3

ïîäøèïíèê                                                                                                              2.1

ïîäøèïíèê àýðîäèíàìè÷åñêèé                                                                          3.3.2

ïîäøèïíèê àýðîñòàòè÷åñêèé                                                                              3.3.1

ïîäøèïíèê áóðòîâûé                                                                                               3.2.3

ïîäøèïíèê âèáðîäåìïôåðíûé                                                                          3.3.5

ïîäøèïíèê ãèäðîäèíàìè÷åñêèé                                                                       3.3.4

ïîäøèïíèê ãèäðîñòàòè÷åñêèé                                                                            3.3.3

ïîäøèïíèê ãèäðîñòàòîäèíàìè÷åñêèé                                                              3.3.6

ïîäøèïíèê êðóãëîöèëèíäðè÷åñêèé                                                                 3.4.1

ïîäøèïíèê ìíîãîêëèíîâûé                                                                               3.4.3

ïîäøèïíèê íà ëàïàõ êîðïóñíîé                                                                        3.4.8.1

ïîäøèïíèê íåêðóãëîöèëèíäðè÷åñêèé                                                             3.4.2

ïîäøèïíèê ðàáîòàþùèé áåç ñìàçêè                                                                 3.3.8

ïîäøèïíèê ðàäèàëüíûé                                                                                          3.2.1

ïîäøèïíèê ñàìîñìàçûâàþùèéñÿ                                                                     3.3.9

ïîäøèïíèê ñàìîñìàçûâàþùèéñÿ ïîðèñòûé                                                  3.3.10

ïîäøèïíèê ñàìîóñòàíàâëèâàþùèéñÿ                                                              3.4.9

ïîäøèïíèê ñàìîóñòàíàâëèâàþùèéñÿ ñåãìåíòíûé ðàäèàëüíûé               3.4.5

ïîäøèïíèê ñàìîóñòàíàâëèâàþùèéñÿ ñåãìåíòíûé óïîðíûé                     3.4.6

ïîäøèïíèê ñåãìåíòíûé óïîðíûé                                                                     3.4.4

ïîäøèïíèê ñêîëüæåíèÿ                                                                                      2.2

ïîäøèïíèê ñêîëüæåíèÿ äèíàìè÷åñêè íàãðóæåííûé                                  3.1.2

ïîäøèïíèê ñêîëüæåíèÿ ðàäèàëüíî-óïîðíûé                                                 3.2.3

ïîäøèïíèê ñêîëüæåíèÿ ðàäèàëüíûé                                                               3.2.1

ïîäøèïíèê ñêîëüæåíèÿ ñ òâåðäûì ñìàçî÷íûì ìàòåðèàëîì                      3.3.7

ïîäøèïíèê ñêîëüæåíèÿ ñòàòè÷åñêè íàãðóæåííûé                                      3.1.1

ïîäøèïíèê ñêîëüæåíèÿ óïîðíûé                                                                     3.2.2

ïîäøèïíèê ñïå÷åííûé                                                                                        3.3.10

ïîäøèïíèê ñ ïëàâàþùåé âòóëêîé                                                                    3.4.7

ïîäøèïíèê ñ ôëàíöåì êîðïóñíîé                                                                     3.4.8.2

ïîäøèïíèê óïîðíûé                                                                                                3.2.2

ïîëîâèíà ðàáî÷åé øèðèíû ïîäøèïíèêà                                                         6.3.2

ïîëóêîëüöî óïîðíîå                                                                                                 4.6.1

ïðèëåãàåìîñòü                                                                                                          7.7

ïðèëåãàåìîñòü ïðè òðåíèè                                                                                   7.7

ïðèðàáàòûâàåìîñòü                                                                                               7.8

ïÿòà                                                                                                                           4.9

ðàäèóñ ðàäèàëüíîãî ïîäøèïíèêà ñêîëüæåíèÿ âíóòðåííèé                        6.1

ðàçìåð ñåãìåíòà òàíãåíöèàëüíûé                                                                     6.10

ðàçúåì                                                                                                                       6.23

ðàñïðÿìëåíèå âêëàäûøà ïîäøèïíèêà ñêîëüæåíèÿ                                     6.16

ðåáðà îõëàæäåíèÿ                                                                                                  6.21

ñåãìåíò                                                                                                                     4.7

ñåãìåíò ðàäèàëüíûé                                                                                             4.7.1

ñåãìåíò óïîðíûé                                                                                                    4.7.2

ñêîñ âêëàäûøà                                                                                                       6.13

ñëîé çàùèòíûé                                                                                                       4.5.5

ñëîé ïîäøèïíèêà ñêîëüæåíèÿ ïðèðàáîòî÷íûé                                             4.5.3

ñëîé ïîäøèïíèêîâîãî ìàòåðèàëà                                                                      4.5.2

ñëîé ïîäøèïíèêîâûé                                                                                              4.5.2

ñëîé ïðèðàáîòî÷íûé                                                                                                4.5.3

ñëîé ïðîìåæóòî÷íûé                                                                                            4.5.4

ñëîé ñöåïëÿþùèé                                                                                                     4.5.4

ñîâìåñòèìîñòü òðèáîëîãè÷åñêàÿ                                                                        7.6

ñîïðîòèâëåíèå óñòàëîñòè                                                                                     7.15

ñïîñîáíîñòü ê ïîãëîùåíèþ                                                                                  7.9

ñòîéêîñòü ê çàåäàíèþ                                                                                            7.11

ñöåïëÿåìîñòü                                                                                                          7.10

òåìïåðàòóðîñòîéêîñòü                                                                                           7.14

òîëùèíà ñåãìåíòà                                                                                                  6.12

òîëùèíà ñëîÿ ïîäøèïíèêîâîãî ìàòåðèàëà                                                     6.9

òîëùèíà ñòåíêè âêëàäûøà                                                                                 6.8

òîëùèíà ñòåíêè âòóëêè                                                                                        6.8

óçåë ïîäøèïíèêà ñêîëüæåíèÿ                                                                            2.3

óçåë ïîäøèïíèêà ñêîëüæåíèÿ â ñáîðå                                                              3.4.8

óçåë ñ ñèñòåìîé ñìàçêè ïîäøèïíèêîâûé                                                        3.3.11

óïëîòíåíèå óçëà ïîäøèïíèêà ñêîëüæåíèÿ                                                     4.15

ôèêñàòîð                                                                                                                   5.5

ôëàíåö êîðïóñíîãî ïîäøèïíèêà                                                                       4.16

øåéêà âàëà                                                                                                              4.8

øèðèíà âêëàäûøà ïîäøèïíèêà                                                                        6.3

øèðèíà âêëàäûøà ïîäøèïíèêà ðàáî÷àÿ                                                        6.3.1

øèðèíà âòóëêè ïîäøèïíèêà                                                                              6.3

øèðèíà êîðïóñà                                                                                                     6.18

øèðèíà ñåãìåíòà                                                                                                   6.11

ýëåìåíò èçîëÿöèîííûé                                                                                        4.18

Àëôàâèòíûé óêàçàòåëü òåðìèíîâ íà àíãëèéñêîì ÿçûêå

aerodynamic bearing                                                                                                   3.3.2

aerostatic bearing                                                                                                       3.3.1

antifriction material                                                                                                    7.1

axial groove                                                                                                                5.3.1

backing                                                                                                                       4.5.1

backing material                                                                                                         7.3

bearing                                                                                                                        2.1

bearing back                                                                                                               4.1.3

bearing block                                                                                                              4.12

bearing bush                                                                                                                4.2

bearing cap                                                                                                                 4.13

bearing clearance                                                                                                        6.4

bearing effective width                                                                                               6.3.1

bearing gasket                                                                                                             4.15

bearing housing base                                                                                                   4.17

bearing housing flange                                                                                                4.16

bearing insulation                                                                                                       4.18

bearing land width                                                                                                      6.3.2

bearing layer                                                                                                               4.5.2

bearing material                                                                                                          7.1

bearing material layer                                                                                                 4.5.2

bearing material layer thickness                                                                                 6.9

bearing outside diameter                                                                                             6.2

bearing width                                                                                                              6.3

bearing wrapped bush                                                                                                 4.2.1

bonding                                                                                                                       7.10

bonding layer                                                                                                              4.5.4

bore                                                                                                                            6.1

bore relief                                                                                                                   6.13

bush                                                                                                                            4.2

bush wall thickness                                                                                                     6.8

centre height of a pedestal plain bearing                                                                     6.24

circular cylindrical bearing                                                                                        3.4.1

circumferential groove                                                                                                5.3.2

collar diameter                                                                                                           6.27

composite material                                                                                                     7.4

conformability                                                                                                            7.7

cooling fins                                                                                                                 6.21

cover plate                                                                                                                  4.14

crush                                                                                                                           6.14

diametral clearance of a plain journal bearing                                                           6.4

dynamically loaded plain bearing                                                                               3.1.2

embeddability                                                                                                             7.9

fatigue resistance                                                                                                        7.15

flanged bearing                                                                                                           3.2.3

flanged bush                                                                                                                4.3

flanged half- bearing                                                                                                   4.3

flanged plain bearing assembly                                                                                   3.4.8.2

flash                                                                                                                            4.5.5

floating bush bearing                                                                                                   3.4.7

free spread                                                                                                                  6.16

gutterway                                                                                                                    5.3.6

half-bearing                                                                                                                4.1

half-bearing backing                                                                                                   4.5.1

half-bearing wall thickness                                                                                         6.8

helical groove                                                                                                             5.3.3

housing face                                                                                                                6.20

housing height                                                                                                             6.19

housing length                                                                                                             6.17

housing width                                                                                                              6.18

hybrid bearing                                                                                                             3.3.6

hydrodynamic bearing                                                                                                 3.3.4

hydrostatic bearing                                                                                                     3.3.3

ID                                                                                                                                6.1

inclination                                                                                                                   6.15

interlayer                                                                                                                    4.5.4

joint                                                                                                                            6.23

joint face                                                                                                                     6.22

journal                                                                                                                        4.8

journal bearing                                                                                                            3.2.1

journal bearing bore diameter                                                                                     6.1

journal bearing bore radius                                                                                         6.1

journal bearing clearance                                                                                           6.4

journal diameter                                                                                                          6.25

journal pad                                                                                                                  4.7.1

journal thrust bearing                                                                                                  3.2.3

lining                                                                                                                       4.5.2, 7.1

lining thickness                                                                                                           6.9

lobed bearing                                                                                                              3.4.3

locating element                                                                                                          5.5

longitudinal groove                                                                                                     5.3.1

minimum bearing radial clearance of a non-circular cylindrical bearing                   6.6

multilayer bush                                                                                                           4.5

multilayer half- bearing                                                                                              4.5

multilayer material                                                                                                      7.2

nickel dam                                                                                                                  4.5.4

nip                                                                                                                               6.14

OD                                                                                                                              6.2

oil disc (secured)                                                                                                        4.10

oil drain hole                                                                                                              4.21

oil filler hole                                                                                                              4.20

oil groove                                                                                                                   5.3

oil hole                                                                                                                       5.1

oil outer groove                                                                                                          5.2

oil pocket                                                                                                                    5.4

oil ring (loose)                                                                                                            4.10

oil ring slot                                                                                                                 4.19

open groove                                                                                                                5.3.4

overlay                                                                                                                        4.5.3

pad                                                                                                                              4.7

pad length                                                                                                                   6.10

pad thickness                                                                                                              6.12

pad thrust bearing                                                                                                       3.4.4

pad width                                                                                                                    6.11

pedestal plain bearing assembly                                                                                 3.4.8.1

plain bearing                                                                                                               2.2

plain bearing assembly                                                                                               3.4.8

plain bearing assembly gasket                                                                                    4.15

plain bearing bush                                                                                                       4.2

plain bearing housing                                                                                                  4.11

plain bearing housing block                                                                                        4.12

plain bearing housing bore                                                                                          4.22

plain bearing housing cap                                                                                           4.13

plain bearing housing cover plate                                                                               4.14

plain bearing running-in layer                                                                                     4.5.3

plain bearing unit                                                                                                        2.3

plain bearing wrapped bush                                                                                        4.2.1

plain journal bearing                                                                                                   3.2.1

plain journal bearing outside diameter                                                                       6.2

plain thrust bearing                                                                                                     3.2.2

porous self-lubricating bearing                                                                                   3.3.10

profile bore bearing                                                                                                    3.4.2

protective layer                                                                                                           4.5.5

radial clearance of a circular cylindrical bearing                                                       6.5

relative clearance of a bearing                                                                                   6.7

relative wear resistance                                                                                              7.13

running-in ability                                                                                                        7.8

running-in layer                                                                                                           4.5.3

seizure resistance                                                                                                        7.11

self-aligning bearing                                                                                                   3.4.9

self-contained plain bearing assembly                                                                        3.3.11

self-lubricating bearing                                                                                               3.3.9

shaft diameter                                                                                                             6.26

sintered bearing                                                                                                          3.3.10

sintered bearing material                                                                                            7.5

sintered material                                                                                                         7.5

solid bush                                                                                                                   4.4

solid-film lubricated bearing                                                                                      3.3.7

solid half-bearing                                                                                                       4.4

split                                                                                                                             6.23

squeeze oil film bearing                                                                                              3.3.5

statically loaded plain bearing                                                                                    2.1.1

stopped-off groove                                                                                                     5.3.5

taper land bearing                                                                                                       3.4.4

temperature stability                                                                                                   7.14

tilting pad journal bearing                                                                                           3.4.5

tilting pad thrust bearing                                                                                             3.4.6

thick wall half-bearing                                                                                                4.1.2

thin wall half-bearing                                                                                                 4.1.1

thrust bearing                                                                                                              3.2.2

thrust collar                                                                                                                 4.9

thrust collar diameter                                                                                                  6.27

thrust half-washer                                                                                                       4.6.1

thrust pad                                                                                                                    4.7.2

thrust washer                                                                                                               4.6

tribological compatibility                                                                                           7.6

unlubricated bearing                                                                                                   3.3.8

wear resistance                                                                                                           7.12

wrapped bush                                                                                                             4.2.1

 Àëôàâèòíûé óêàçàòåëü òåðìèíîâ íà ôðàíöóçñêîì ÿçûêå

ailettes de refroidissement                                                                                          6.21

alesage                                                                                                                        6.1

alesage du logement de palier lisse                                                                            4.22

alveole                                                                                                                        5.4

aptitude au rodage                                                                                                       7.8

bague                                                                                                                          4.2

bague a collerette                                                                                                        4.3

bague de lubrication (libre)                                                                                        4.10

bague massive                                                                                                             4.4

bague multicouche                                                                                                      4.5

bague roulee                                                                                                               4.2.1

base du logement du palier                                                                                         4.17

bassin relais                                                                                                                5.3.6

bloc du logement de palier lisse                                                                                 4.12

butee (lisse)                                                                                                                3.2.2

butee a patins                                                                                                              3.4.4

butee a patins oscillants                                                                                              3.4.6

butee a segments                                                                                                         3.4.4

butee a segments inclines                                                                                            3.4.4

butee a segments inclines puis paralleles                                                                   3.4.4

canal de lubrication ou rainure externe                                                                       5.2

collerette de logement de palier                                                                                 4.16

collet de butee                                                                                                            4.9

compatibilite tribologique                                                                                          7.6

conformabilite                                                                                                            7.7

corps de palier                                                                                                            4.12

couche antifriction                                                                                                      4.5.2

couche dadherence                                                                                                      4.5.4

couche de materiau antifriction                                                                                   4.5.2

couche de nickel                                                                                                         4.5.4

couche de protection                                                                                                   4.5.5

couche de rodage                                                                                                        4.5.3

couche intermediaire                                                                                                  4.5.4

D                                                                                                                                 6.1

DE                                                                                                                              6.2

demi-coussinet                                                                                                            4.1

demi-coussinet a collerette                                                                                         4.3

demi-coussinet multicouche                                                                                        4.5

demi-coussinet epais                                                                                                  4.1.2

demi-coussinet massif                                                                                                 4.4

demi-coussinet mince                                                                                                 4.1.1

demi-flasque de butee                                                                                                 4.6.1

depassement                                                                                                                6.14

depincage de l’alesage                                                                                               6.13

diametre d’alesage d’un palier lisse radial                                                                6.1

diametre de l’arbre                                                                                                     6.26

diametre du collet de butee                                                                                         6.27

diametre du tourillon                                                                                                  6.25

diametre exterieur d’un palier                                                                                    6.2

diametre exterieur d’un palier lisse radial                                                                  6.2

disque de lubrication (fixe)                                                                                        4.10

element de positionnement                                                                                          5.5

encoche de la bague de lubrification                                                                          4.19

ensemble avec palier lisse                                                                                      2.3, 3.4.8

epaisseur d’un segment                                                                                               6.12

epaisseur de la couche de materiau antifriction                                                          6.9

epaisseur de paroi de bague                                                                                       6.8

epaisseur de paroi de demi-coussinet                                                                         6.8

epaisseur du revetement                                                                                              6.9

face du logement                                                                                                         6.20

flasque de fermeture du logement de palier lisse                                                        4.14

hauteur de l’àõå d’un palier lisse a chaise sur le sol                                                  6.24

hauteur du logement                                                                                                    6.19

isolation du palier                                                                                                       4.18

jeu                                                                                                                               6.4

jeu d’un palier radial                                                                                                  6.4

jeu diametral d’un palier lisse radial                                                                          6.4

jeu radial d’un palier cylindrique circulaire                                                               6.5

jeu radial minimal d’un palier cylindrique non circulaire                                          6.6

jeu relatif d’un palier                                                                                                  6.7

joint                                                                                                                            6.23

joint de palier lisse                                                                                                     4.15

largeur d’un palier                                                                                                      6.3

largeur d’un segment                                                                                                   6.11

largeur de la face d’appui du palier                                                                            6.3.2

largeur du logement                                                                                                    6.17

largeur utile d’un palier                                                                                              6.3.1

logement ou support de palier lisse                                                                            4.11

longueur d’un segment                                                                                                6.10

longueur du logement                                                                                                  6.18

materiau antifriction                                                                                                    7.1

materiau composite                                                                                                     7.4

materiau fritte antifriction                                                                                           7.5

materiau multicouche                                                                                                  7.2

materiau support                                                                                                         7.3

non-parallelisme des plans de joint                                                                            6.15

ouverture a l’etat libre                                                                                                6.16

palier                                                                                                                          2.1

palier a alesage profile                                                                                               3.4.2

palier a bague flottante                                                                                               3.4.7

palier a collerette                                                                                                       3.2.3

palier a effet amortisseur                                                                                            3.3.5

palier a lobes                                                                                                              3.4.3

palier a lubrifiant solide                                                                                             3.3.7

palier a patins oscillants                                                                                             3.4.5

palier aerodynamique                                                                                                 3.3.2

palier aerostatique                                                                                                      3.3.1

palier auto-alignant                                                                                                     3.4.9

palier autolubrifiant                                                                                                    3.3.9

palier autolubrifiant en materiau poreux                                                                     3.3.10

palier cylindrique circulaire                                                                                       3.4.1

palier cylindrique non circulaire                                                                                3.4.2

palier de butee                                                                                                            3.2.2

palier fritte                                                                                                                  3.3.10

palier hybride                                                                                                             3.3.6

palier hydrodynamique                                                                                               3.3.4

palier hydrostatique                                                                                                    3.3.3

palier lisse                                                                                                                  2.2

palier lisse a chaise sur le sol                                                                                    3.4.8.1

palier lisse a charge dynamique                                                                                  3.1.2

palier lisse a charge statique                                                                                      3.1.1

palier lisse a collerette                                                                                               3.4.8.2

palier lisse autonome                                                                                                  3.3.11

palier lisse de butee                                                                                                    3.2.2

palier lisse radial                                                                                                       3.2.1

palier radial                                                                                                                3.2.1

palier radial de butee                                                                                                  3.2.3

palier sans lubrifiant                                                                                                   3.3.8

partie superieure du logement de palier lisse                                                             4.1.3

plan de joint                                                                                                                6.22

pouvoir d’adherence                                                                                                   7.10

pouvoir d’inclusion                                                                                                    7.9

rainure axiale                                                                                                              5.3.1

rainure circulaire                                                                                                        5.3.2

rainure de lubrication                                                                                                 5.3

rainure fermee                                                                                                             5.3.5

rainure helicoidale                                                                                                      5.3.3

rainure longitudinale                                                                                                   5.3.1

rainure ouverte                                                                                                            5.3.4

rayon d’alesage d’un palier lisse radial                                                                     6.1

resistance a l’usure                                                                                                     7.12

resistance a la fatigue                                                                                                 7.15

resistance au grippage                                                                                                7.11

resistance relative a l’usure                                                                                        7.13

revetement                                                                                                             4.5.2, 7.1

rondelle ou flasque de butee                                                                                       4.6

segment axial                                                                                                              4.7.2

segment ou patin                                                                                                         4.7

segment radial ou partie du coussinet                                                                         4.7.1

stabilite en temperature                                                                                               7.14

support                                                                                                                        4.5.1

support de demi-coussinet                                                                                          4.5.1

surface d’engagement du palier                                                                                  4.1.3

tourillon                                                                                                                      4.8

trou de lubrification                                                                                                    5.1

trou de remplissage d’huile                                                                                        4.20

trou de vidange d’huile                                                                                               4.21

voile                                                                                                                           4.5.5

ÑÎÄÅÐÆÀÍÈÅ

1. Îáëàñòü ïðèìåíåíèÿ. 2

2. Îñíîâíûå òåðìèíû.. 2

3. Âèäû ïîäøèïíèêîâ ñêîëüæåíèÿ, êëàññèôèêàöèÿ. 2

4. Ýëåìåíòû êîíñòðóêöèè óçëîâ ïîäøèïíèêîâ ñêîëüæåíèÿ. 4

5. Êîíñòðóêòèâíûå ýëåìåíòû ïîäøèïíèêîâ ñêîëüæåíèÿ. 6

6. Ðàçìåðíûå õàðàêòåðèñòèêè ïîäøèïíèêîâ ñêîëüæåíèÿ. 7

7. Ìàòåðèàëû è èõ ñâîéñòâà. 9

Àëôàâèòíûé óêàçàòåëü òåðìèíîâ íà ðóññêîì ÿçûêå. 12

Àëôàâèòíûé óêàçàòåëü òåðìèíîâ íà àíãëèéñêîì ÿçûêå. 15

Àëôàâèòíûé óêàçàòåëü òåðìèíîâ íà ôðàíöóçñêîì ÿçûêå. 17

Êëþ÷åâûå ñëîâà: ïîäøèïíèêè, ïîäøèïíèêè ñêîëüæåíèÿ, òåðìèíû, îïðåäåëåíèÿ, êîíñòðóêöèÿ, ìàòåðèàëû, ñâîéñòâ




Rambler's Top100 ßíäåêñ öèòèðîâàíèÿ
  Copyright © 2008-2026, www.docload.ru