Бесплатная библиотека стандартов и нормативов www.docload.ru

Все документы, размещенные на этом сайте, не являются их официальным изданием и предназначены исключительно для ознакомительных целей.
Электронные копии этих документов могут распространяться без всяких ограничений. Вы можете размещать информацию с этого сайта на любом другом сайте.
Это некоммерческий сайт и здесь не продаются документы. Вы можете скачать их абсолютно бесплатно!
Содержимое сайта не нарушает чьих-либо авторских прав! Человек имеет право на информацию!

 

МИНИСТЕРСТВО ВНУТРЕННИХ ДЕЛ РОССИЙСКОЙ ФЕДЕРАЦИИ

ГОСУДАРСТВЕННАЯ ПРОТИВОПОЖАРНАЯ СЛУЖБА

НОРМЫ ПОЖАРНОЙ БЕЗОПАСНОСТИ

ТЕХНИКА ПОЖАРНАЯ. САМОСПАСАТЕЛИ ФИЛЬТРУЮЩИЕ
ДЛЯ ЗАЩИТЫ ОРГАНОВ ДЫХАНИЯ И ЗРЕНИЯ ЛЮДЕЙ
ПРИ ЭВАКУАЦИИ ИЗ ПОМЕЩЕНИЙ ВО ВРЕМЯ ПОЖАРА.
ОБЩИЕ ТЕХНИЧЕСКИЕ ТРЕБОВАНИЯ.
МЕТОДЫ ИСПЫТАНИЙ

FIRE EQUIPMENT. FILTER SELF-RESCUE FOR PROTECTION BREATHING AND SIGHT OF PEOPLE FOR COME OUT BUILDINGS FROM FIRE.
GENERAL TECHICAL REQUIREMENTS.

TEST METHODS

НПБ 302-2001

МОСКВА 2002

Разработаны Главным управлением Государственной противопожарной службы Министерства внутренних дел Российской Федерации (ГУГПС МВД России) (С. В. Корпачев), Федеральным государственным учреждением «Всероссийский ордена «Знак Почета» научно-исследовательский институт противопожарной обороны» (ФГУ ВНИИПО МВД России) (В. Н. Чиркунов, Ю. Н. Маслов).

Внесены и подготовлены к утверждению отделом пожарной техники и вооружения ГУГПС МВД России.

Утверждены приказом ГУГПС МВД России от 18 декабря 2001 г. № 82.

Дата введения в действие 1 февраля 2002 г.

1. ОБЛАСТЬ ПРИМЕНЕНИЯ

1.1. Настоящие нормы распространяются на самоспасатели фильтрующие (далее - самоспасатели) для индивидуальной защиты органов дыхания и зрения людей от токсичных продуктов горения при эвакуации из помещений во время пожара (аварии).

1.2. Настоящие нормы устанавливают общие технические требования к самоспасателям и методы их испытаний.

1.3. Настоящие нормы применяются на стадиях разработки, изготовления и испытания самоспасателей, а также при сертификации в Системе сертификации в области пожарной безопасности.

2. ТЕРМИНЫ И ОПРЕДЕЛЕНИЯ

В настоящих нормах используются следующие термины с соответствующими определениями.

Самоспасатель - средство индивидуальной защиты органов дыхания и зрения человека от опасных факторов пожара в течение заявленного времени защитного действия при эвакуации из производственных и жилых зданий, помещений при пожаре.

Самоспасатель фильтрующий - средство индивидуальной защиты органов дыхания и зрения человека, в котором вдыхаемый человеком воздух очищается в фильтрующе-сорбирующем элементе (далее - ФСЭ) самоспасателя, а выдыхаемый воздух удаляется в окружающую среду.

Время защитного действия самоспасателя (мин) - период, в течение которого сохраняется защитная способность ФСЭ самоспасателя, определяемый от момента пуска испытательного вещества в ФСЭ до момента появления вещества за ФСЭ в проскоковой концентрации.

Легочная вентиляция (дм3/мин) - объем воздуха, прошедший при дыхании через легкие человека за одну минуту.

3. ОБЩИЕ ТЕХНИЧЕСКИЕ ТРЕБОВАНИЯ

3.1. Требования назначения

3.1.1. В комплект самоспасателя должны входить:

рабочая часть;

герметичная упаковка;

руководство по эксплуатации;

паспорт на самоспасатель.

Примечание. В состав самоспасателя рекомендуется также включать футляр (сумку) для хранения герметичной упаковки.

3.1.2. В рабочую часть самоспасателя должны входить:

капюшон с иллюминатором (лицевая часть);

ФСЭ.

3.1.3. Время защитного действия ФСЭ самоспасателя должно быть не менее 15 мин при воздействии на него следующих веществ:

оксида углерода СО;

хлористого водорода НСl;

цианистого водорода HCN;

акролеина СН2 = = СН - СНО.

3.1.4. Коэффициент подсоса масляного тумана Кмт в подмасочное пространство капюшона (лицевой части) с учетом подсоса через полосу обтюрации должен быть:

не более 2 % - для людей старше 12 лет;

не более 5 % - для категории людей, имеющих бороду, длинные волосы (объемную прическу).

3.1.5. Коэффициент подсоса масляного тумана Кмт под капюшон (лицевую часть) в зоне иллюминатора капюшона (лицевой части) должен быть не более 15 % при наличии полумаски (четвертьмаски) в капюшоне (лицевой части).

3.1.6. Сопротивление дыханию самоспасателя при легочной вентиляции 30 дм3/мин или постоянном потоке воздуха 95 дм3/мин должно быть:

на вдохе не более 800 Па;

на выдохе не более 300 Па.

3.1.7. Содержание диоксида углерода на вдохе должно быть не более 3,0 % (об.).

3.1.8. Герметичность рабочей части самоспасателя должна быть такой, чтобы при создании вакуумметрического и избыточного давления 800 Па изменение в ней не превышало 150 Па в минуту.

3.1.9. Масса рабочей части самоспасателя должна быть не более 1,00 кг.

3.1.10. Время надевания и приведения самоспасателя в действие должно быть не более 60 с.

3.2. Требования надежности

3.2.1. Вероятность сохранения исправности самоспасателя за время нахождения его в состоянии ожидания применения в течение 3 лет должна быть не менее 0,98.

3.2.2. Вероятность безотказной работы самоспасателя за время защитного действия должна быть не менее 0,98.

3.2.3. Гарантийный срок хранения самоспасателя до применения должен быть не менее 3 лет.

3.3. Требования стойкости к внешним воздействиям

3.3.1. Самоспасатель по виду климатического исполнения должен относиться к исполнению У категории размещения 1 по ГОСТ 15150, но быть рассчитан на применение при температуре окружающей среды от 0 до 60 °С и относительной влажности до 95 %.

3.3.2. Самоспасатель должен сохранять работоспособность после воздействия на него транспортной тряски с перегрузкой 3g (где g - ускорение свободного падения) при частоте от 2 до 3 Гц в течение 60 мин.

3.3.3. Самоспасатель должен сохранять работоспособность после падения в герметичной упаковке или футляре (сумке) с высоты 1,5 м на ровную бетонную поверхность.

3.3.4. Самоспасатель должен сохранять работоспособность после воздействия климатических факторов:

температуры (50 ± 3) °С в течение 24 ч;

температуры минус (60 ± 3) °С в течение 4 ч;

температуры (35 ± 2) °С при относительной влажности (90 ± 5) % в течение 24 ч.

3.3.5. Самоспасатель должен сохранять работоспособность после пребывания в среде с температурой 200 °С в течение (60 ± 5) с.

3.3.6. Самоспасатель должен сохранять работоспособность после воздействия открытого пламени с температурой (800 ± 50) °С в течение (5,0 ± 0,2) с.

3.3.7. Самоспасатель должен сохранять работоспособность после воздействия теплового потока плотностью (8,5 ± 0,5) кВт/м2 в течение 3 мин.

3.3.8. Самоспасатель должен быть устойчивым к воздействию растворов поверхностно-активных веществ (ПАВ).

3.4. Требования к капюшону (лицевой части)

3.4.1. Капюшон должен полностью закрывать голову человека.

Примечания: 1. Не допускается использовать в самоспасателе мундштучное приспособление (загубник) и носовой зажим.

2. При наличии внутри капюшона полумаски или четвертьмаски они должны закрывать нос и рот человека, изолируя подмасочное пространство от остального пространства под капюшоном.

3. При наличии на капюшоне системы крепления и индивидуальной подгонки она должна быть простой и удобной.

3.4.2. Лицевая часть должна закрывать нос, рот, глаза и подбородок человека.

3.4.3. Капюшон (лицевая часть) должен иметь только один размер.

3.4.4. Капюшон (лицевая часть) должен быть удобным, комфортным для ношения, не вызывать болевых ощущений от наминов третьей степени мягких тканей головы человека в течение времени защитного действия самоспасателя.

3.4.5. Капюшон (лицевая часть) при использовании не должен ограничивать подвижность головы, шеи, рук и туловища человека.

3.4.6. Капюшон (лицевая часть) должен позволять вести переговоры между людьми, надевшими их.

3.4.7. Иллюминатор капюшона (лицевой части) не должен искажать видимость и запотевать в течение всего времени защитного действия самоспасателя.

3.4.8. Иллюминатор капюшона (лицевой части) должен обеспечивать общее поле зрения не менее 70 % от поля зрения человека без капюшона (лицевой части).

3.4.9. Соединение в самоспасателе между корпусом капюшона (лицевой части) и ФСЭ должно выдерживать осевое растягивающее усилие (50 ± 5) Н.

3.4.10. Материалы, применяемые для изготовления самоспасателя и непосредственно соприкасающиеся с кожей пользователя и вдыхаемым воздухом, не должны оказывать раздражающего или иного вредного влияния на человека. Эти материалы должны иметь разрешение к применению органов Санэпиднадзора Минздрава России.

3.5. Требования к герметичной упаковке и футляру (сумке)

3.5.1. На футляре (сумке) самоспасателя должны быть нанесены пиктограммы по правилам приведения в действие самоспасателя.

Примечание. При отсутствии в комплекте самоспасателя футляра (сумки) пиктограммы должны быть нанесены на герметичной упаковке.

3.5.2. Герметичная упаковка должна позволять ее быстрое вскрытие руками, но препятствовать случайному вскрытию.

3.5.3. Маркировка футляра (сумки) самоспасателя должна содержать назначение самоспасателя, а также следующие данные:

наименование или условное обозначение изделия;

номер технических условий и (или) номер стандарта;

наименование предприятия-изготовителя (фирмы) или его товарный знак;

страна-изготовитель;

серийный номер изделия;

дата изготовления (год и месяц) и срок хранения или дата истечения срока хранения (дата ближайшей проверки);

информация на русском языке о том, что фильтрующий самоспасатель допускается использовать только при условии, если концентрация кислорода в окружающей среде составляет не менее 17 % (об.).

Примечание. При отсутствии в комплекте самоспасателя футляра (сумки) маркировка должна быть нанесена на герметичной упаковке.

3.6. Требования к содержанию эксплуатационной документации на самоспасатель

3.6.1. Требования к содержанию руководства по эксплуатации самоспасателя

В руководстве по эксплуатации должны содержаться следующие сведения:

тип самоспасателя;

область применения;

комплектность;

основные технические характеристики (время защитного действия, масса, защитные свойства);

возраст людей или размеры головы (лица), при которых допускается эксплуатировать самоспасатель;

правила подгонки и включения в самоспасатель;

техническое обслуживание;

правила хранения;

требования безопасности;

ограничения применения;

информация о том, что фильтрующий самоспасатель допускается использовать только при условии, что концентрация кислорода в окружающей среде составляет не менее 17 % (об.).

Примечание. Руководство по эксплуатации самоспасателя предназначается для изучения устройства, принципа действия и правил эксплуатации самоспасателя персоналом гостиниц, административных зданий, отвечающим за безопасность проживающих (находящихся в здании) людей. Количество поставляемых экземпляров руководства по эксплуатации самоспасателя оговаривается в документации или при заказе.

3.6.2. Требования к содержанию паспорта на самоспасатель

В паспорте на самоспасатель должны содержаться следующие сведения:

данные об изготовителе;

основные технические характеристики самоспасателя;

комплектность;

сведения о приемке изделия;

гарантии изготовителя;

срок годности.

Примечания: 1. Допускается совмещать руководство по эксплуатации и паспорт в одном документе.

2. Допускается составлять паспорт на партию самоспасателей.

3. Эксплуатационная документация на самоспасатель должна быть на русском языке.

4. ТРЕБОВАНИЯ БЕЗОПАСНОСТИ

4.1. Требования безопасности к самоспасателю должны быть изложены в соответствующих разделах руководства по эксплуатации самоспасателя.

4.2. Все надписи на самоспасателе, касающиеся техники безопасности, должны быть на русском языке.

5. ПОРЯДОК КОНТРОЛЯ КАЧЕСТВА САМОСПАСАТЕЛЕЙ

5.1. Для контроля качества самоспасателей проводят следующие испытания:

приемочные;

квалификационные;

приемо-сдаточные;

периодические;

типовые;

сертификационные.

5.2. Виды проверок и объем испытаний самоспасателей приведены в таблице 1.

Таблица 1

Вид проверки

Пункты настоящих норм

Количество самоспасателей, представляемых на контрольные испытания

Технические требования

Методы испытаний

Приемочные

Квалификационные

Периодические

Сертификационные

Анализ нормативно-технической документации, проверка внешнего вида, комплектации, маркировки

Проверка комплектности самоспасателя

3.1.1

6.2

3

Проверка состава рабочей части самоспасателя

3.1.2

6.2

3

Проверка гарантийного срока хранения самоспасателя до применения

3.2.3

6.1

*

*

-

*

Проверка климатического исполнения самоспасателя

3.3.1

6.1

*

-

-

*

Проверка конструкции капюшона самоспасателя

3.4.1

6.2

1

-

-

1

Проверка конструкции лицевой части самоспасателя

3.4.2

6.2

1

-

-

1

Проверка количества размеров капюшона (лицевой части)

3.4.3

6.1

*

*

-

*

Проверка наличия разрешения органов Санэпиднадзора Минздрава России на материалы самоспасателя

3.4.10

6.1

*

Проверка пиктограмм на герметичной упаковке и футляре (сумке)

3.5.1

6.2

3

3

-

3

Проверка маркировки футляра (сумки)

3.5.3

6.2

3

3

-

3

Проверка содержания эксплутационной документации на самоспасатель

3.6.1; 3.6.2

6.1

*

*

-

*

Испытания с использованием приборов и установок

Проверка времени защитного действия ФСЭ самоспасателя

3.1.3

6.3.1

По 3 для каждого вещества

Сопротивление дыханию самоспасателя при легочной вентиляции 30 дм3/мин или постоянном потоке воздуха 95 дм3/мин

3.1.6

6.3.2

1

Проверка герметичности рабочей части самоспасателя

3.1.8

6.3.3

3

Проверка массы рабочей части самоспасателя

3.1.9

6.3.4

3

3

-

3

Проверка прочности соединения в самоспасателе между корпусом капюшона (лицевой части) и ФСЭ

3.4.9

6.3.5

1

Испытания на стойкость самоспасателя к внешним воздействиям

Проверка сохранения работоспособности самоспасателя после транспортной тряски

3.3.2

6.4.1

1

-

-

1

Проверка сохранения работоспособности самоспасателя после его падения

3.3.3

6.4.2

1

-

1

1

Проверка сохранения работоспособности самоспасателя после воздействия на него климатических факторов

3.3.4

6.4.3

1

-

1

1

Проверка сохранения работоспособности самоспасателя после пребывания в среде с температурой 200 °С

3.3.5

6.4.4

1

-

1

1

Проверка сохранения работоспособности самоспасателя после воздействия открытого пламени с температурой (800 ± 50) °С

3.3.6

6.4.5

1

-

1

1

Проверка сохранения работоспособности самоспасателя после воздействия теплового потока плотностью (8,5 ± 0,5) кВт/м2

3.3.7

6.4.6

1

-

1

1

Проверка устойчивости самоспасателя к воздействию растворов ПАВ

3.3.8

6.4.7

1

-

-

1

Испытания на надежность

Проверка вероятности сохранения исправности самоспасателя за время его нахождения в состоянии ожидания применения в течение 3 лет

3.2.1

6.5.1

**

-

-

-

Проверка вероятности безотказной работы самоспасателя за время защитного действия

3.2.2

6.5.2

**

-

-

-

Лабораторные испытания на людях

Проверка коэффициента подсоса масляного тумана Кмт в подмасочное пространство капюшона (лицевой части)

3.1.4

6.6.2

8

Проверка коэффициента подсоса масляного тумана Кмт под капюшон (лицевую часть) в зоне иллюминатора капюшона (лицевой части)

3.1.5

6.6.2

8

Проверка содержания двуокиси углерода на вдохе

3.1.7

6.6.1

2

-

-

2

Проверка времени надевания и приведения самоспасателя в действие

3.1.10

6.6.2

8

-

-

8

Проверка эргономических показателей самоспасателя

3.4.4; 3.4.5

6.6.1

2

-

-

2

Проверка удобства быстрого вскрытия герметичной упаковки самоспасателя

3.5.2

6.6.2

8

-

-

8

Проверка возможности ведения переговоров между людьми, надевшими капюшон (лицевую часть)

3.4.6

6.6.3

6

-

-

6

Проверка работоспособности иллюминатора капюшона (лицевой части)

3.4.7

6.6.1; 6.6.5

2

-

-

2

Проверка общего поля зрения иллюминатора капюшона (лицевой части)

3.4.8

6.6.4

5

-

-

5

__________

* Проводят проверку нормативно-технической документации на самоспасатель.

** Количество самоспасателей определяет разработчик в соответствии с методиками, разработанными в инициативном порядке.

5.3. На сертификационные испытания самоспасателей представляется следующая нормативно-техническая документация:

технические условия на самоспасатель;

руководство по эксплуатации и паспорт на самоспасатель;

гигиеническое заключение органов Санэпиднадзора Минздрава России на материалы самоспасателя.

5.4. На сертификационные испытания в области пожарной безопасности допускаются самоспасатели отечественного производства, прошедшие все стадии и этапы разработки, предусмотренные ГОСТ Р 15.201 и ГОСТ 2.103, все виды испытаний (в том числе межведомственные приемочные) и имеющие полный комплект конструкторской документации на серийное производство, согласованной с ФГУ ВНИИПО и ГУГПС МВД России.

Самоспасатели зарубежного производства допускаются для проведения сертификационных испытаний, если они сопровождаются эксплуатационной документацией на русском языке и оформлены по ГОСТ 2.601.

5.5. Каждая новая модификация самоспасателя, имеющего сертификат пожарной безопасности, требует повторных сертификационных испытаний на соответствие требованиям настоящих норм.

5.6. Типовые испытания самоспасателей проводятся по отдельной программе, согласованной с заказчиком.

6. МЕТОДЫ ИСПЫТАНИЙ

6.1. Проверку нормативно-технической документации на самоспасатель проводят путем определения соответствия ее содержания требованиям пп. 3.2.3; 3.3.1; 3.4.3; 3.4.10; 3.6.1; 3.6.2 настоящих норм.

6.2. Проверку соответствия самоспасателя требованиям пп. 3.1.1; 3.1.2; 3.4.1; 3.4.2; 3.5.1; 3.5.3 настоящих норм проводят визуально.

6.3. Испытания с использованием приборов и установок

6.3.1 Проверка времени защитного действия ФСЭ самоспасателя (п. 3.1.3 настоящих норм)

Проверку проводят определением фильтрующе-сорбирующих свойств ФСЭ самоспасателя при воздействии на него оксида углерода, хлористого водорода, цианистого водорода и акролеина.

Проверка времени защитного действия ФСЭ самоспасателя по оксиду углерода

Проверку проводят в соответствии с ГОСТ 12.4.160.

Время защитного действия определяют от момента пуска пульсирующего потока смеси оксида углерода с воздухом в ФСЭ до момента появления проскоковой концентрации оксида углерода за ФСЭ.

Проверку проводят при следующих постоянных условиях:

объемный расход пульсирующего потока газовоздушной смеси (30,0 ± 0,9) дм3/мин;

относительная влажность воздуха (90 ± 5) %;

температура воздушного потока (20 ± 5) °С;

начальная концентрация оксида углерода в воздухе, подаваемого в ФСЭ, - (6200 ± 300) мг/м3;

частота пульсаций 20-25 в минуту.

Проскоковая концентрация оксида углерода за ФСЭ - 200 мг/м3.

Результат проверки считают положительным, если выполняются требования п. 3.1.3 настоящих норм.

Проверка времени защитного действия ФСЭ самоспасателя по цианистому водороду (синильной кислоте)

Проверку проводят в соответствии с ГОСТ 12.4.158.

Время защитного действия определяется от момента пуска смеси воздуха с синильной кислотой в ФСЭ до момента появления за ФСЭ смеси воздуха с синильной кислотой в количестве, обнаруживаемом индикатором.

Проверку проводят при следующих постоянных условиях:

объемный расход постоянного потока паровоздушной смеси (30,0 ± 0,9) дм3/мин;

относительная влажность воздуха (50 ± 3) %;

температура воздушного потока (20 ± 5) °С;

начальная концентрация синильной кислоты, подаваемой в ФСЭ, - (2000 ± 200) мг/м3.

Проскоковая концентрация оксида углерода за ФСЭ - 10 мг/м3.

Испытания проводят до момента изменения окраски индикатора.

Результат проверки считают положительным, если выполняются требования п. 3.1.3 настоящих норм.

Проверка времени защитного действия ФСЭ самоспасателя по хлористому водороду

Проверку проводят при следующих постоянных условиях:

объемный расход постоянного потока паровоздушной смеси (30,0 ± 0,9) дм3/мин;

относительная влажность воздуха не более 50 %;

температура воздушного потока (23 ± 5) °С;

начальная концентрация хлористого водорода, подаваемого в ФСЭ, - (3000 ± 300) мг/м3.

Проскоковая концентрация хлористого водорода за ФСЭ - 7,5 мг/м3.

Результат проверки считают положительным, если выполняются требования п. 3.1.3 настоящих норм.

Проверка времени защитного действия ФСЭ самоспасателя по акролеину

Проверку проводят при следующих постоянных условиях:

объемный расход постоянного потока паровоздушной смеси (30,0 ± 0,9) дм3/мин;

относительная влажность воздуха не более (70 ± 5) %;

температура воздушного потока (23 ± 5) °С;

начальная концентрация акролеина, подаваемого в ФСЭ, - (1250 ± 100) мг/м3.

Проскоковая концентрация акролеина за ФСЭ - 1 мг/м3.

Результат проверки считают положительным, если выполняются требования п. 3.1.3 настоящих норм.

6.3.2. Сопротивление дыханию самоспасателя при легочной вентиляции 30 дм3/мин или постоянном потоке воздуха 95 дм3/мин (п. 3.1.6 настоящих норм)

Оборудование и средства измерения:

насос типа «искусственные легкие», обеспечивающий объемный расход пульсирующего потока газовоздушной смеси (30,0 ± 0,9) дм3/мин с частотой 20 пульсаций в минуту;

мановакуумметр с диапазоном измерений от минус 1000 Па до 1000 Па с погрешностью не более ±50 Па;

муляж головы человека.

Проведение испытаний

Самоспасатель надевают на муляж головы человека. К муляжу присоединяют насос «искусственные легкие» и мановакуумметр. Настраивают насос «искусственные легкие» на создание объемного расхода воздуха (30,0 ± 0,9) дм3/мин. Включают насос «искусственные легкие» и определяют сопротивление дыханию самоспасателя на вдохе и выдохе.

Проверку сопротивления ФСЭ самоспасателя постоянному потоку воздуха проводят в соответствии с ГОСТ 10188.

Результат проверки считают положительным, если выполняются требования п. 3.1.6 настоящих норм.

6.3.3. Проверка герметичности рабочей части самоспасателя (п. 3.1.8 настоящих норм)

Оборудование и средства измерения:

мановакуумметр со встроенным насосом с диапазоном измерений от минус 1000 Па до 1000 Па с погрешностью не более ±20 Па;

муляж головы человека;

секундомер с погрешностью не более ±0,1 с.

Проведение испытаний

Капюшон (лицевую часть) самоспасателя надевают на муляж головы человека. Закрывают ФСЭ заглушкой. К муляжу присоединяют мановакуумметр со встроенным насосом и создают им в рабочей части самоспасателя вакуумметрическое давление 900 Па. Делают выдержку (1,5 ± 0,5) мин для стабилизации системы. Затем устанавливают вакуумметрическое давление (800 ± 20) Па, включают секундомер и через 1 мин регистрируют изменение давления под капюшоном (лицевой частью).

По той же схеме проверки, заглушив клапан выдоха, создают под капюшоном (лицевой частью) избыточное давление около 900 Па и делают выдержку (1,5 ± 0,5) мин. Затем устанавливают избыточное давление (800 ± 20) Па, включают секундомер и через 1 мин регистрируют изменение давления под капюшоном (лицевой частью).

Допускается использовать штуцер «канюля», устанавливаемый в корпусе капюшона (лицевой части) для подсоединения мановакуумметра со встроенным насосом.

Результат испытания считают положительным, если выполняются требования п. 3.1.8 настоящих норм.

6.3.4. Проверка массы рабочей части самоспасателя (п. 3.1.9 настоящих норм)

Средства измерения

Весы с пределом измерений до 3,00 кг и ценой деления 0,005 кг.

Проведение испытаний

Определяют массу рабочей части самоспасателя, без герметичной упаковки и футляра (сумки), с точностью до 0,01 кг.

Результат испытания считают положительным, если выполняются требования п. 3.1.9 настоящих норм.

6.3.5. Проверка прочности соединения в самоспасателе между корпусом капюшона (лицевой части) и ФСЭ (п. 3.4.9 настоящих норм)

Оборудование и средства измерения:

муляж головы человека;

система дополнительных ремней, снимающих нагрузку с капюшона (наголовника лицевой части);

секундомер с погрешностью не более ±0,1 с;

динамометр для создания и измерения усилия с погрешностью не более ±5 %.

Подготовка к испытаниям

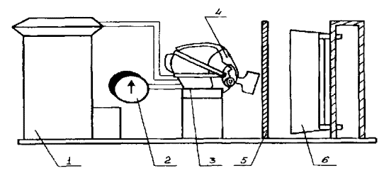
Самоспасатель надевают на муляж головы человека (рисунок 1).

Рис. 1. Установка для определения прочности соединения в самоспасателе между корпусом капюшона (лицевой части) и ФСЭ:

1 - муляж головы человека; 2 - система дополнительных ремней, снимающих нагрузку с капюшона (наголовника лицевой части); 3 - капюшон (лицевая часть); 4 - ФСЭ

Поверх капюшона (лицевой части) надевают дополнительную систему ремней, снимающих нагрузку с капюшона (наголовника лицевой части). Одним концом динамометр закрепляют за ФСЭ.

Проведение испытаний

В течение (10,0 ± 0,2) с в осевом направлении создают растягивающее усилие (50 ± 5) Н, которое измеряют динамометром. Испытание проводят 5 раз с интервалом в 10 с.

После окончания испытания капюшон (лицевую часть) и ФСЭ осматривают и проверяют герметичность самоспасателя в соответствии с п. 6.3.3 настоящих норм.

Результат испытания считают положительным, если после его окончания установлено, что самоспасатель герметичен и отсутствуют визуально наблюдаемые изменения внешнего вида капюшона (лицевой части) и ФСЭ.

6.4. Испытания на стойкость самоспасателя к внешним воздействиям

Испытание заключается в том, что самоспасатель подвергают внешним воздействиям с параметрами, описанными в пп. 6.4.1 - 6.4.6, и после каждого воздействия проводится проверка выполнения самоспасателем требований, изложенных в пп. 3.1.6 и 3.1.8 настоящих норм.

6.4.1. Проверка сохранения работоспособности самоспасателя после транспортной тряски (п. 3.3.2 настоящих норм)

Оборудование

Вибростенд с диапазоном частот до 100 Гц с погрешностью не более ±2 %, диапазоном ускорений до 100 м/с2 с погрешностью не более ±2 %; диапазоном виброперемещений до 100 мм с погрешностью не более ±2 %.

Проведение испытаний

Самоспасатель в транспортной упаковке жестко крепят в центре платформы стенда в положении, определяемом надписью на упаковке «Верх». Испытания проводят с перегрузкой 3g при частоте от 2 до 3 Гц. Продолжительность испытания 60 мин.

Количество самоспасателей в транспортной упаковке определяется нормативно-технической документацией на самоспасатель.

Результат проверки считают положительным, если после его окончания отсутствуют механические повреждения самоспасателя и выполняются требования пп. 3.1.6 и 3.1.8 настоящих норм.

6.4.2. Проверка сохранения работоспособности самоспасателя после его падения (п. 3.3.3 настоящих норм)

Самоспасатель в футляре (сумке) 3 раза роняют с высоты (1,5 ± 0,1) м на ровную бетонную поверхность.

При отсутствии у самоспасателя футляра (сумки) данную проверку проводят при нахождении самоспасателя только в герметичной упаковке.

Результат проверки считают положительным, если после ее окончания отсутствуют механические повреждения самоспасателя и выполняются требования пп. 3.1.6 и 3.1.8 настоящих норм.

6.4.3. Проверка сохранения работоспособности самоспасателя после воздействия на него климатических факторов (п. 3.3.4 настоящих норм)

Оборудование и средства измерения:

климатическая камера вместимостью не менее 0,4 м3, обеспечивающая поддержание температуры в диапазоне от минус 60 до 100 °С с погрешностью не более ±2 °С;

камера тепла и влаги вместимостью не менее 0,4 м3, обеспечивающая поддержание температуры в диапазоне от 20 до 100 °С с погрешностью не более ±2 °С и влажности от 45 до 95 % с погрешностью не более ±3 %.

Проверка сохранения работоспособности самоспасателя после воздействия температуры (50±3) °С в течение 24 ч

Самоспасатель без упаковки выдерживают в климатической камере при температуре (50 ± 3) °С в течение 24 ч. После этого самоспасатель выдерживают при нормальной температуре окружающего воздуха в течение 4 ч.

Результат проверки считают положительным, если после ее окончания выполняются требования пп. 3.1.6 и 3.1.8 настоящих норм.

Проверка сохранения работоспособности самоспасателя после воздействия температуры минус (60 ± 3) °С в течение 4 ч

Самоспасатель в упаковке выдерживают в климатической камере при температуре минус (60 ± 3) °С в течение 4 ч. После этого самоспасатель выдерживают при нормальной температуре окружающего воздуха в течение 4 ч.

Результат проверки считают положительным, если после ее окончания выполняются требования пп. 3.1.6 и 3.1.8 настоящих норм.

Проверка сохранения работоспособности самоспасателя после воздействия температуры (35 ± 2) °С при относительной влажности (90 ± 5) % в течение 24 ч

Самоспасатель в упаковке выдерживают в камере тепла и влаги при температуре (35 ± 2) °С и относительной влажности (90 ± 5) % в течение 24 ч. После этого самоспасатель выдерживают при нормальных климатических условиях в течение 4 ч.

Результат проверки считают положительным, если после ее окончания выполняются требования пп. 3.1.6 и 3.1.8 настоящих норм.

6.4.4. Проверка сохранения работоспособности самоспасателя после пребывания в среде с температурой 200 °С (п. 3.3.5 настоящих норм)

Оборудование

Камера тепла вместимостью не менее 0,4 м3, обеспечивающая поддержание температуры до 220 °С с погрешностью не более ±5 °С.

Проведение испытаний

Самоспасатель помещают в камеру тепла с температурой (200 ± 20) °С. Время выдержки самоспасателя в камере должно составлять (60 ± 5) с.

Результат проверки считают положительным, если после ее окончания выполняются требования пп. 3.1.6 и 3.1.8 настоящих норм.

6.4.5. Проверка сохранения работоспособности самоспасателя после воздействия открытого пламени с температурой (800 ± 50) °С (п. 3.3.6 настоящих норм)

Оборудование и средства измерения:

металлический муляж головы человека;

баллон с пропаном;

горелка с форсунками площадью (450 ± 20) см2;

прибор для измерения давления газа с верхним пределом измерений до 5 кПа, с погрешностью ±0,2 кПа;

прибор для измерения температуры пламени с погрешностью ±10 °С;

стойка с кронштейном для подвода самоспасателя к пламени;

секундомер с погрешностью не более ±0,1 с.

Подготовка к испытаниям

Капюшон (лицевую часть) самоспасателя надевают на металлический муляж головы человека, закрепленный на поворотной стойке (рисунок 2).

Включают прибор для измерения температуры пламени. Открывают запорный вентиль баллона с пропаном. Подносят запальное устройство к горелке с целью воспламенить газ.

Устанавливают с помощью вентиля рабочее давление газа перед горелкой (2,4 ± 0,2) кПа. Проводят замеры температуры пламени, определяют зону над горелкой, в которой температура пламени составляет (800 ± 50) °С.

Проведение испытаний

Включают огневую установку. Подводят капюшон (лицевую часть) самоспасателя в зону открытого пламени, используя кронштейн стойки, и замеряют время по секундомеру. Время выдержки капюшона (лицевой части) в зоне пламени должно составлять (5,0 ± 0,2) с.

В течение этого времени самоспасатель однократно поворачивают над пламенем на 180°. Через (5,0 ± 0,2) с капюшон (лицевую часть) выводят из зоны пламени и проверяют состояние капюшона (лицевой части). Капюшон (лицевая часть) не должен поддерживать горение или тление более (5,0 ± 0,2) с.

Рис. 2. Схема огневой установки для определения устойчивости самоспасателя к воздействию пламени:

1 - стойка с ложементом для подвода самоспасателя в зону пламени; 2 - горелка с форсунками; 3 - металлический муляж головы человека; 4 - капюшон (лицевая часть) самоспасателя; 5, 8 - вентили; 6 - прибор для измерения давления газа; 7 - редуктор; 9 - баллон с пропаном

По окончании огневого воздействия на самоспасатель проводят визуальный осмотр капюшона (лицевой части) и проверку его на соответствие требованиям пп. 3.1.6 и 3.1.8 настоящих норм.

Результат испытания считают положительным, если после его окончания капюшон (лицевая часть) не поддерживает горение или тление более (5,0 ± 0,2) с, отсутствует разрушение иллюминатора, а также выполняются требования пп. 3.1.6 и 3.1.8 настоящих норм.

6.4.6. Проверка сохранения работоспособности самоспасателя после воздействия теплового потока плотностью (8,5 ± 0,5) кВт/м2 (п. 3.3.7 настоящих норм)

Оборудование и средства измерения:

металлический муляж головы человека;

секундомер с погрешностью не более ±0,1 с;

насос «искусственные легкие», имитирующий вентиляционную функцию легких человека и создающий легочную вентиляцию 30 дм3/мин (20 циклов/мин по 1,5 дм3/цикл);

датчик для измерения плотности теплового потока, диапазон измерений от 2 до 20 кВт/м2 с погрешностью не более ±5 %;

мановакуумметр с диапазоном измерений от минус 1000 до 1000 Па с погрешностью не более ±20 Па.

Подготовка к испытаниям

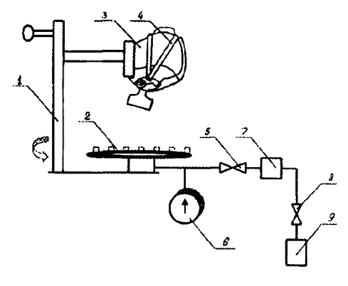
Надевают капюшон (лицевую часть) на металлический муляж головы человека. Соединяют муляж с насосом «искусственные легкие» (рисунок 3).

Включают источник теплового потока и с помощью датчика теплового потока определяют место, в котором плотность теплового потока составляет (8,5 ± 0,5) кВт/м2, отмечают данное место на подставке. Устанавливают на подставку разделительный экран. На отмеченное место ставят металлический муляж головы человека с надетым капюшоном (лицевой частью). Включают насос «искусственные легкие».

Рис. 3. Схема установки для определения устойчивости капюшона (лицевой части) самоспасателя к воздействию теплового потока:

1 - насос «искусственные легкие»; 2 - мановакуумметр; 3 - металлический муляж головы человека; 4 - капюшон (лицевая часть); 5 - разделительный экран; 6 - источник теплового излучения

Проведение испытаний

Убирают разделительный экран. Испытания проводят в течение 3 мин. В процессе испытания контролируют сопротивление дыханию на вдохе и выдохе в самоспасателе при легочной вентиляции 30 дм3/мин.

По окончании испытания проводят визуальный осмотр капюшона (лицевой части) самоспасателя и проверку его на соответствие требованиям п. 3.1.8 настоящих норм.

Результат проверки считают положительным, если после окончания испытания отсутствуют разрушения иллюминатора капюшона (лицевой части) и выполняются требования пп. 3.1.6 и 3.1.8 настоящих норм.

6.4.7. Проверка устойчивости самоспасателя к воздействию растворов ПАВ (п. 3.3.8 настоящих норм)

Материалы

Пена средней кратности в количестве не менее 50 дм3.

Проведение испытаний

Проверка проводится погружением самоспасателя в пену на 10 мин, после чего самоспасатель обмывают чистой водой и просушивают.

Результат проверки считают положительным, если через 10 мин после ее окончания не наблюдаются изменения поверхностей самоспасателя, влияющие на его работоспособность.

6.5. Испытания на надежность (пп. 3.2.1 и 3.2.2 настоящих норм)

6.5.1. Проверка вероятности сохранения исправности самоспасателя за время нахождения его в состоянии ожидания применения в течение 3 лет (п. 3.2.1 настоящих норм) проводится разработчиком по методикам, разработанным в инициативном порядке.

6.5.2. Проверка вероятности безотказной работы самоспасателя за время защитного действия (п. 3.2.2 настоящих норм)

Испытания по подтверждению вероятности безотказной работы самоспасателя должны проводиться во время проведения всего комплекса испытаний.

Проверку проводят по ГОСТ 27.410.

Исходными данными для проверки являются:

браковочный уровень надежности (Rβ = 0,98);

приемочный уровень надежности (Rα = 0,998);

риск поставщика (изготовителя) (α = 0,2);

риск потребителя (заказчика) (β = 0,2).

Для подтверждения заданного показателя вероятности безотказной работы самоспасателя за время защитного действия необходимо провести не менее 80 проверок. Во время проведения проверок самоспасателей не допускается ни одного отказа.

К отказам самоспасателя (за время защитного действия) при проведении испытаний на приборах и установках относятся:

превышение сопротивления дыханию на вдохе и выдохе (п. 3.1.6 настоящих норм);

нарушение герметичности рабочей части самоспасателя (п. 3.1.8 настоящих норм).

При проведении испытаний самоспасателя на людях отказы определяет работающий в самоспасателе. К ним относятся, например, значительное, но все же переносимое повышенное сопротивление дыханию, увеличение объемной доли двуокиси углерода во вдыхаемой смеси свыше 3,0 %.

Общим признаком отказов на людях является потеря способности самоспасателя защищать органы дыхания и зрения человека и отсутствие возможности продолжать дальнейшую работу.

Результат проверки считают положительным, если при проведении 80 проверок самоспасателей продолжительностью не менее 15 мин каждая не обнаружено ни одного отказа.

6.6. Лабораторные испытания самоспасателя на людях

Испытания на людях проводят в соответствии с ГОСТ 12.4.061.

Испытания самоспасателя на людях дополняют основную оценку самоспасателя, полученную при испытаниях на приборах и установках.

Испытания проводят с целью определения:

защитных свойств самоспасателя;

условий дыхания в самоспасателе;

физиологических реакций людей на работу в самоспасателе;

особенности работы составных частей и систем самоспасателя;

удобства пользования самоспасателем.

Испытания должны проводиться под руководством лица, ответственного за испытания самоспасателей на людях.

Ответственный за испытания самоспасателей на людях привлекает для участия в опытах испытателей, врача или физиолога.

Испытатели должны получить полную информацию о характере и объеме испытаний, допуск к которым осуществляет ответственный за испытания.

Испытания проводят в эргометрическом зале, камерах тепла, камере масляного тумана.

6.6.1. Испытания в эргометрическом зале, камерах тепла (пп. 3.1.7; 3.4.4; 3.4.5; 3.4.7 настоящих норм)

Помещения, оборудование и средства измерения:

эргометрический зал площадью не менее 20 м2 и высотой не менее 2,7 м;

камера тепла с диапазоном температур от 0 до 50 °С с погрешностью не более ±3 °С, объемом не менее 12 м3;

помост площадью (9,0 ± 1,5) дм2 и высотой (3,0 ± 0,1) дм;

термометр для измерения температуры тела с погрешностью не более ±0,1°С;

тонометр медицинский манометрический с погрешностью не более ±1 мм рт. ст.;

газоанализатор для измерения концентрации двуокиси углерода в диапазоне от 0 до 5 % (об.);

секундомер с погрешностью не более ±0,1 с.

Подготовка к испытаниям

Капюшон (лицевую часть) самоспасателя оборудуют штуцером для подключения газоанализатора в соответствии с ГОСТ 12.4.005.

Условия проведения испытаний

Испытания проводят путем выполнения испытателями дозированной физической работы, соответствующей реальной нагрузке людей при эвакуации из помещений во время пожара.

Комплекс упражнений выполняется в лабораторных условиях.

Лабораторные испытания самоспасателя на людях проводят при следующих условиях окружающей среды:

температура окружающей среды (25 ± 2) °С, относительная влажность 40-80 %;

температура окружающей среды (40 ± 2) °С, относительная влажность 15-60 %.

Испытатели должны быть одеты в повседневную одежду и обувь.

Проведение испытаний

Перед началом испытаний и после их завершения у испытателя измеряют и фиксируют массу тела, рост, жизненную емкость легких, частоту пульса, артериальное давление, температуру тела (подмышечную).

При выполнении испытателем комплекса упражнений в лабораторных условиях контролируют параметры самоспасателя по пп. 3.1.7; 3.4.4; 3.4.5; 3.4.7 настоящих норм.

Продолжительность и последовательность выполнения упражнений представлена в таблице 2.

Таблица 2

Наименование упражнений

Продолжительность выполнения упражнения и отдыха, мин, при температуре окружающей среды, ºС

25

40

1. Ходьба со скоростью 80 м/мин

5/-

3/-

2. Ползание на четвереньках по полу со скоростью 10 м/мин

5/1

3/1

3. Подъем на помост высотой 3,0 дм и спуск с него в темпе 20 раз в минуту

5/-

3/-

Примечание. В числителе указана продолжительность выполнения упражнения, в знаменателе - продолжительность отдыха после выполнения упражнения.

Перед испытанием самоспасатель выдерживают при заданной температуре в течение 30 мин.

Все упражнения выполняются каждым испытателем последовательно, без выключения из самоспасателя как во время работы, так и во время отдыха.

Во время испытаний, при отдыхе после выполнения упражнения определяют объемную долю двуокиси углерода на вдохе, а также частоту пульса испытателя.

По окончании комплекса упражнений испытатель сообщает о самочувствии, степени усталости и дает субъективную оценку испытуемого самоспасателя.

Испытания самоспасателя проводят до наступления одного из событий:

достижение частоты пульса - 170 ударов/мин;

содержание двуокиси углерода на вдохе - более 3,0 %;

невозможность продолжать дальнейшую работу.

После испытаний, на основании мнения испытателя, оценивают удобство пользования самоспасателем и условий дыхания в соответствии с требованиями пп. 3.4.4; 3.4.5; 3.4.7 настоящих норм, а врач или физиолог в соответствии с методом, изложенным в «Физиолого-гигиенических требованиях к изолирующим средствам индивидуальной защиты», при осмотре испытателя определяет наличие и степень наминов в мягких тканях лица и головы.

6.6.2. Проверка коэффициента подсоса масляного тумана в подмасочное пространство капюшона (лицевой части) (п. 3.1.4 настоящих норм). Проверка коэффициента подсоса масляного тумана под капюшон (лицевую часть) в зоне иллюминатора капюшона (лицевой части) (п. 3.1.5 настоящих норм). Проверка времени надевания и приведения самоспасателя в действие (п. 3.1.10 настоящих норм). Проверка удобства быстрого вскрытия герметичной упаковки самоспасателя (п. 3.5.2 настоящих норм)

Аппаратура и материалы:

комплект аппаратуры и материалов в соответствии с ГОСТ 12.4.157 (п. 2.1);

груз массой (10 ± 0,1) кг.

Проведение испытаний

Испытания проводят в соответствии с ГОСТ 12.4.157 (раздел 2 и 3).

В испытаниях должно участвовать не менее 8 человек, незнакомых с правилами обращения с конкретным самоспасателем, из них:

шесть человек с различными антропометрическими размерами головы (по вертикальному обхвату - длина круговой линии, проходящей по подбородку и щекам через высшую точку головы (макушку) - от 610 до 720 мм и разной морфологической высотой лица (расстояние от наиболее углубленной точки спинки носа (переносицы) до наиболее выступающей точки подбородка) - от 110 до 140 мм. Один человек из них должен носить очки;

один человек, имеющий бороду;

один человек, имеющий длинные, распущенные по шее волосы или объемную прическу.

По команде руководителя испытаний каждый испытатель на время самостоятельно изучает пиктограммы, нанесенные на футляре (сумке) или герметичной упаковке, вскрывает пакет руками, надевает самоспасатель и приводит его в рабочее состояние. Оценивают удобство вскрытия герметичной упаковки и определяют время, затраченное каждым испытателем для включения в самоспасатель. По окончании испытания определяют среднее арифметическое значение времени надевания и приведения в действие самоспасателя.

Испытатели, включенные в самоспасатель, выполняют упражнение, поднимая до уровня груди и опуская груз массой 10 кг. Упражнение выполняют 10 раз в течение 15 с.

При выполнении упражнения у каждого испытателя определяют коэффициент подсоса масляного тумана Кмт в подмасочное пространство капюшона (лицевой части), а также коэффициент подсоса масляного тумана Кмт под капюшон (лицевую часть) в зоне иллюминатора капюшона (лицевой части).

По окончании всех испытаний рассчитывают среднее арифметическое значение коэффициента подсоса в подмасочное пространство капюшона (лицевой части), в том числе отдельно для категории людей, в которую входят люди, имеющие бороду и длинные волосы, а также среднее арифметическое значение коэффициента подсоса масляного тумана под капюшон (лицевую часть) в зоне иллюминатора капюшона (лицевой части).

Результат проверки считают положительным, если выполняются требования пп. 3.1.4; 3.1.5; 3.1.10; 3.5.2 настоящих норм.

6.6.3. Проверка возможности ведения переговоров между людьми, надевшими капюшон (лицевую часть) (п. 3.4.6 настоящих норм)

Испытания проводят на свежем воздухе без посторонних звуковых помех. В испытаниях должны участвовать 6 испытателей. Они включаются в самоспасатели и располагаются по двое на расстоянии (2,0 ± 0,2) м напротив друг друга.

Испытатели громко подают голосом друг другу 10 различных команд, которые должны быть правильно выполнены. По окончании испытания рассчитывают процентное отношение правильно выполненных команд их к общему количеству.

Результат проверки считают положительным, если правильно выполненные команды составляют не менее 80 % от их общего количества.

6.6.4. Проверка общего поля зрения иллюминатора капюшона (лицевой части) (п. 3.4.8 настоящих норм)

Аппаратура

Комплект аппаратуры по ГОСТ 12.4.008 (п. 1.1).

Проведение испытаний

Испытания и статистическая обработка результатов испытаний проводятся по ГОСТ 12.4.008. В испытаниях должно участвовать 5 человек.

Результат проверки считают положительным, если среднее арифметическое значение поля зрения удовлетворяет требованиям п. 3.4.8 настоящих норм.

6.6.5. Проверка видимости в самоспасателе (п. 3.4.7 настоящих норм)

Испытания проводят в помещении. Два испытателя включаются в самоспасатели и оценивают возможность визуального прочтения указательных знаков безопасности размером 100´130 мм по ГОСТ 12.4.026, расположенных на расстоянии 6 м от испытателей.

Результат испытания считают положительным, если правильно прочтенные знаки безопасности составляют не менее 80 % от их общего количества.

7. НОРМАТИВНЫЕ ССЫЛКИ

В настоящих нормах использованы ссылки на следующие нормативные документы.

ГОСТ 2.103-68 ЕСКД. Стадии разработки.

ГОСТ 2.601-95 ЕСКД. Эксплуатационные документы.

ГОСТ 12.4.005-85 ССБТ. Средства индивидуальной защиты органов дыхания. Метод определения величины сопротивления дыханию.

ГОСТ 12.4.008-84 ССБТ. Средства индивидуальной защиты. Метод определения поля зрения.

ГОСТ 12.4.026-76 ССБТ. Цвета сигнальные и знаки безопасности.

ГОСТ 12.4.061-88 ССБТ. Метод определения работоспособности человека в средствах индивидуальной защиты.

ГОСТ 12.4.157-75 ССБТ. Противогазы и респираторы промышленные фильтрующие. Нефелометрические методы определения коэффициента подсоса масляного тумана под лицевую часть.

ГОСТ 12.4.158-90 ССБТ. Противогазы и респираторы промышленные фильтрующие. Методы определения времени защитного действия фильтрующе-поглощающих коробок по парообразным вредным примесям.

ГОСТ 12.4.160-90 ССБТ. Средства индивидуальной защиты органов дыхания фильтрующие. Метод определения времени защитного действия фильтрующе-поглощающих коробок по оксиду углерода.

ГОСТ Р 15.201-2000 Система разработки и постановки продукции на производство. Продукция производственно-технического назначения. Порядок разработки и постановки продукции на производство.

ГОСТ 27.410-87 Надежность в технике. Методы контроля показателей надежности и планы контрольных испытаний на надежность.

ГОСТ 10188-74 Коробки фильтрующие к противогазам и респираторам. Метод определения сопротивления постоянному потоку воздуха.

ГОСТ 15150-69 Машины, приборы и другие технические изделия. Исполнения для различных климатических районов. Категории, условия эксплуатации, хранения и транспортирования в части воздействия климатических факторов внешней среды.

Физиолого-гигиенические требования к изолирующим средствам индивидуальной защиты. Утверждены Министерством здравоохранения СССР.

СОДЕРЖАНИЕ

 




Rambler's Top100 Яндекс цитирования
  Copyright © 2008-2026, www.docload.ru