Бесплатная библиотека стандартов и нормативов www.docload.ru

Все документы, размещенные на этом сайте, не являются их официальным изданием и предназначены исключительно для ознакомительных целей.
Электронные копии этих документов могут распространяться без всяких ограничений. Вы можете размещать информацию с этого сайта на любом другом сайте.
Это некоммерческий сайт и здесь не продаются документы. Вы можете скачать их абсолютно бесплатно!
Содержимое сайта не нарушает чьих-либо авторских прав! Человек имеет право на информацию!

 

ОТРАСЛЕВОЙ ДОРОЖНЫЙ МЕТОДИЧЕСКИЙ ДОКУМЕНТ

Утверждено

распоряжением

Росавтодора № ОС-568-р

от 27.06.2002 г.

МЕТОДИЧЕСКИЕ РЕКОМЕНДАЦИИ
ПО ВОССТАНОВЛЕНИЮ АСФАЛЬТОБЕТОННЫХ
ПОКРЫТИЙ И ОСНОВАНИЙ АВТОМОБИЛЬНЫХ ДОРОГ
СПОСОБАМИ ХОЛОДНОЙ РЕГЕНЕРАЦИИ

МИНИСТЕРСТВО ТРАНСПОРТА РОССИЙСКОЙ ФЕДЕРАЦИИ

ГОСУДАРСТВЕННАЯ СЛУЖБА ДОРОЖНОГО ХОЗЯЙСТВА

(РОСАВТОДОР)

Москва 2002

ПРЕДИСЛОВИЕ

Технические правила ремонта и содержания автомобильных дорог предусматривают ремонт дорожных одежд нежесткого типа, требующих усиления, традиционным способом и способами термопрофилирования. Основным недостатком этих способов является образование во вновь уложенных или восстановленных слоях покрытия отраженных трещин и, в конечном итоге, сокращение срока службы отремонтированного покрытия по сравнению с расчетным сроком его службы.

С появлением дорожных фрезерных машин (холодных фрез) за рубежом стали широко применять способ «переукладки», заключающийся в удалении растрескавшихся и потерявших несущую способность асфальтобетонных слоев дорожной одежды и устройстве новых монолитных слоев. Этот способ позволяет получить дорожную одежду со сроком службы, аналогичным достигаемому при новом строительстве. Недостатком являются большой расход асфальтобетонной смеси и высокая стоимость работ.

Последним достижением в области ремонта дорожных одежд нежесткого типа является технология глубокой холодной регенерации их, позволяющая эффективно повторно использовать материалы старой дорожной одежды. Проведение восстановительных работ без разогрева старого материала наносит минимальный ущерб окружающей среде и резко снижает энергозатраты. По экономичности эта технология не имеет себе равных. В России опыт применения технологии холодной регенерации пока незначителен.

Настоящие Методические рекомендации являются первым методическим документом, обобщающим зарубежный опыт и результаты исследований и опытных работ, проведенных РОСДОРНИИ.

При составлении Методических рекомендаций использованы следующие нормативные и методологические документы: «Холодная регенерация асфальтобетона», Руководство, серия № 21 (MS-21), Институт асфальта, 1983 (США); Справочное руководство по битумным эмульсиям, серия № 19 (MS-19), Институт асфальта, 1987 (США); Руководство по восстановлению дорог, фирма «Катерпиллер», 1990 (США); «Холодная регенерация асфальтобетонов» в кн. «Битумные эмульсии». Основные сведения по применению, Синдикат производителей эмульсий дорожного битума, 1991 (Франция); «Комплексная регенерация в дорожном строительстве», Руководство, Отдел дорожного строительства, Саксонское Государственное Министерство экономики и рабочей занятости, 1995 (ФРГ); «Глубокая холодная регенерация на месте», Технические рекомендации и спецификации по применению, Консалтинговая фирма А. А. Лаудон и партнеры, 1995 (Южная Африка).

В Методических рекомендациях изложены сведения по области применения новой технологии; оценке свойств асфальтобетонного гранулята, получаемого в результате измельчения старого покрытия методом холодного фрезерования; добавкам, применяемым для приготовления асфальтогранулобетонных смесей; подбору состава этих смесей; оценке свойств асфальтогранулобетона; методам его испытания; правилам производства работ и др.

Приведены также технические требования к асфальтогранулобетону.

Методические рекомендации разработаны в РОСДОРНИИ канд. техн. наук Г. С. Бахрахом при участии докт. техн. наук В. А. Кретова и инж. Г. С. Горлиной.

1. ОСНОВНЫЕ ПОНЯТИЯ

1.1. Технология холодной регенерации конструктивных слоев дорожной одежды (ХР) заключается в измельчении покрытия (в некоторых случаях с захватом части основания) преимущественно посредством холодного фрезерования; введении в образовавшийся асфальтобетонный гранулят (АГ) при необходимости нового скелетного материала, вяжущего и, если требуется, других добавок; перемешивании всех компонентов с получением асфальтогранулобетонной смеси (АГБ-смеси); распределении ее в виде конструктивного слоя и уплотнении, после чего АГБ-смесь превращается в асфальтогранулобетон (АГБ).

Все перечисленные технологические операции осуществляют, как правило, на дороге звеном специализированных машин.

1.2. Смешение компонентов можно выполнять и в полустационарной установке вблизи дороги. Однако это связано с разрывом технологического процесса и добавлением операций: погрузки и транспортировки АГ к месту приготовления смеси, его штабелирования, подачи в смесительную установку и транспортировки АГБ-смеси к месту укладки, что приводит к существенному удорожанию работ.

1.3. Отличительной особенностью технологии ХР является восстановление монолитности (сплошности) пакета асфальтобетонных слоев дорожной одежды на всю или часть толщины без разогрева асфальтобетона или АГ.

1.4. Поверх регенерированного слоя укладывают замыкающий (защитный) слой или асфальтобетонное покрытие.

1.5 Устранение трещин в старом покрытии на всю или большую часть глубины в результате его регенерации исключает появление отраженных трещин в вышеукладываемых слоях покрытия (копирование трещин). При традиционном методе усиления дорожной одежды, предусматривающем укладку новых слоев поверх старого покрытия, появление отраженных трещин неизбежно.

2. КЛАССИФИКАЦИЯ

2.1. В зависимости от вида нового вяжущего, вводимого в АГ при приготовлении АГБ-смесей, их подразделяют на следующие типы:

А - без добавления вяжущего;

Э - с добавлением битумной эмульсии;

В - с добавлением вспененного битума;

Б - с добавлением разогретого битума;

М - с добавлением минерального вяжущего (чаще всего цемента или извести);

К - с добавлением комплексного вяжущего (чаще всего битумной эмульсии и цемента).

АГБ перечисленных типов отличаются своими расчетными характеристиками и скоростью формирования равновесной структуры (структурообразования).

2.2. В зависимости от массовой доли щебня или гравия (зерна каменного материала крупнее 5 мм), входящего в состав асфальтобетона, из которого получен АГ, АГБ-смеси подразделяют на щебеночные с содержанием щебня 35 % и более и песчаные - менее 35 %.

3. ТЕХНИЧЕСКИЕ ТРЕБОВАНИЯ

3.1. Показатели физико-механических свойств АГБ, в зависимости от категории автомобильной дороги и типа смеси, должны соответствовать указанным в табл. 1.

3.2. Гранулометрический состав АГБ-смеси должен соответствовать требованиям, установленным в ГОСТ 9128 для пористых и высокопористых щебеночных смесей, за исключением частиц мельче 0,071 мм, содержание которых не нормируется.

3.3. Для дорог I - II категорий применяют щебеночные смеси, а для дорог III - IV категорий допускается применение песчаных АГБ-смесей. Если в АГ, используемом для приготовления щебеночных смесей, содержание щебня меньше 35 %, при приготовлении АГБ-смеси необходимо добавление недостающей фракции щебня.

Таблица 1

Наименование показателя

Нормы для категории автомобильной дороги

I - II

III

IV

для смесей типа

Э

М, К

В

Э

М, К

В

Б

Э

М, К

В

Б

А

1. Предел прочности при сжатии, не менее, МПа, при температуре 20 °С в возрасте:

 

 

 

 

 

 

 

 

 

 

 

 

а) 1 суток

-

-

1,4

-

-

1,4

1,2

-

-

1,4

1,2

0,7

б) 7 суток

1,4

2,0

-

1,4

2,0

-

-

1,4

2,0

-

-

-

2. То же, при 50 °С в возрасте:

 

 

 

 

 

 

 

 

 

 

 

 

а) 1 суток

-

-

0,7

-

-

0,6

0,5

-

-

0,6

0,5

0,4

б) 7 суток

0,7

0,8

-

0,6

0,7

-

-

0,5

0,7

-

-

-

3. Коэффициент водостойкости, не менее

0,7

0,7

0,6

0,6

0,6

0,6

0,6

4. Водонасыщение по объему, %, не более

10

10

12

12

14

14

16

4. ТРЕБОВАНИЯ К МАТЕРИАЛАМ

Асфальтобетонный гранулят

4.1. Содержание в АГ гранул крупнее 50 мм не должно превышать 5 % по массе.

Битум

4.2. Для приготовления смесей с использованием органического вяжущего применяют вязкие и жидкие нефтяные дорожные битумы, отвечающие требованиям соответственно ГОСТ 22245 и ГОСТ 11955.

4.3. Марку битума выбирают в зависимости от типа смеси и дорожно-климатической зоны в соответствии с табл. 2.

Таблица 2

Тип смеси

Марка битума для дорожно-климатической зоны

I

II, III

IV, V

Б

БНД 200/300

БНД 200/300

БНД 130/200

 

СГ, МГ,

СГ, МГ,

СГ, МГ,

 

МГО 130/200

МГО 130/200

МГО 70/130 и 130/200

В

БНД 130/200

БНД 90/130

БНД 60/90

 

 

БНД 130/200

БНД 90/130

Э, К

БНД 90/130

БНД 60/90

БНД 60/90

 

БНД 130/200

БНД 90/130

БНД 90/130

Битумная эмульсия

4.4. Для приготовления смесей типов Э и К используют эмульсии, отвечающие требованиям ГОСТ 18659.

В смесях типа Э применяют катионные эмульсии классов ЭБК-2, ЭБК-3 и анионные эмульсии классов ЭБА-2, ЭБА-3. Более предпочтительными являются катионные эмульсии.

В смесях типа К применяют преимущественно катионные эмульсии класса ЭБК-3.

Цемент

4.5. Для приготовления смесей типов М и К в качестве минерального вяжущего чаще всего применяют портландцемент не ниже марки 400, соответствующий требованиям ГОСТ 10178.

Щебень, песок, минеральный порошок

4.6. При необходимости увеличения содержания в АГБ-смеси щебня (см. п. 3.3) к АГ добавляют щебень, отвечающий требованиям ГОСТ 8267.

4.7. Для корректировки гранулометрического состава АГБ-смеси, с целью уменьшения пористости АГБ, иногда целесообразно добавление к АГ песка и (или) минерального порошка. Эти материалы должны отвечать требованиям соответствующих ГОСТ 8736 и ГОСТ 16557.

Вода

4.8. Для приготовления смесей всех типов, кроме типа Б, в ряде случаев требуется добавление воды. Обычно применяют воду, пригодную для питья.

5. ОБЛАСТЬ И УСЛОВИЯ ПРИМЕНЕНИЯ

5.1. Технология ХР является наиболее экономичной технологией восстановления первоначальной прочности дорожной одежды нежесткого типа или ее усиления.

Показанием для применения технологии ХР служит трещиновато-блочное состояние пакета монолитных слоев дорожной одежды. Растрескивание происходит в процессе эксплуатации дороги под влиянием циклического воздействия низких температур и движущегося транспорта. Оно сопровождается снижением прочности дорожной конструкции.

5.2. Часто на покрытии отсутствуют видимые трещины (кроме сквозных поперечных температурных), хотя дорожная одежда требует усиления. Это объясняется тем, что усталостные трещины, возникающие в подошве пакета монолитных слоев, еще не достигли в своем развитии поверхности покрытия.

В первом приближении о степени скрытого растрескивания пакета монолитных слоев дорожной одежды можно судить по его модулю упругости, рассчитанному, исходя из данных фактического (измеренного) общего модуля упругости дорожной конструкции и расчетных характеристик конструктивных слоев согласно Нормам ОДН 218.046-01. Если рассчитанный модуль при 10 °С (Е10) меньше 1100 МПа, то можно считать, что пакет монолитных слоев дорожной одежды имеет трещиновато-блочное строение или близкое к нему. Дополнительным подтверждением этого служит неравенство

(Е20/Е10) > 0,60,                                                          (1)

где Е20 - рассчитанный модуль пакета монолитных слоев при 20 °С.

5.3. Проведению ремонтных работ с применением технологии ХР в обязательном порядке предшествует разработка соответствующего проекта.

5.4. Толщина регенерированного слоя не должна быть меньше 6 см. Верхний предел ограничен возможностью уплотнения слоя.

5.5. Работы выполняют при температуре окружающего воздуха не ниже + 10 °С. Кратковременный моросящий дождь не является помехой.

6. КОНСТРУИРОВАНИЕ ДОРОЖНОЙ ОДЕЖДЫ

6.1. Большинство существующих дорог, требующих усиления, имеют искаженный поперечный профиль и неудовлетворительную продольную ровность, что отражается на комфорте и безопасности движения и усложняет содержание покрытия, особенно в зимнее время. Поэтому в проекте должны быть предусмотрены мероприятия по выравниванию покрытия.

6.2. На стадии сбора исходных данных осуществляют работы, включающие: оценку прочности дорожной одежды в соответствии с Нормами ОДН 218.046-01 или Указаниями ВСН 52-89; отбор кернов для определения продольного и поперечного профилей толщин пакета монолитных слоев дорожной одежды и вида асфальтобетона, входящего в эти слои; бурение скважин для определения толщин остальных конструктивных слоев дорожной одежды и оценки состояния составляющих их материалов, в том числе грунта земляного полотна и основания; создание цифровой модели местности.

6.3. На дорогах с приведенной расчетной интенсивностью воздействия нагрузки Np > 2000 ед./сут регенерированный слой рассматривают в качестве верхнего монолитного слоя основания, на который должно быть уложено двухслойное асфальтобетонное покрытие общей толщиной 9 - 10 см.

На дорогах с 500 Np 2000 ед./сут на регенерированный слой может быть уложено однослойное покрытие из плотного асфальтобетона толщиной 4 - 5 см.

На дорогах с Np 500 ед./сут регенерированный слой рассматривают в качестве слоя покрытия, на котором должна быть устроена поверхностная обработка.

6.4. Задавшись типом и толщиной покрытия, укладываемого поверх регенерированного слоя, рассчитывают его толщину по допускаемому упругому прогибу в соответствии с ОДН 218.046-01 с учетом требуемого модуля упругости Етр, рассчитанного общего модуля упругости на поверхности слоя, подстилающего регенерированный, и ориентировочного значения кратковременного модуля упругости регенерирующего слоя при соответствующей расчетной температуре.

Регенерированный слой проверяют на сопротивление растяжению при изгибе при температуре покрытия 0 °С.

Ориентировочные расчетные значения кратковременного модуля упругости (Еp) и среднего сопротивления растяжению при изгибе (Rи), при времени воздействия нагрузки 0,1 с, для разных типов АГБ-смесей приведены в табл. 3 и 4 (в дальнейшем подлежат уточнению).

Таблица 3

Тип смеси

Расчетные значения кратковременного модуля упругости Ер, МПа, при температуре покрытия, °С

+ 10

+ 20

+ 30

+ 40

+ 50

А

1200

700

400

250

210

Б

1600

900

570

420

380

Э, В

1800

1100

700

520

470

К

2300

1400

920

700

630

М

2800

1800

1200

920

840

Таблица 4

Тип смеси

Характеристики для расчета на изгиб при температуре покрытия 0°

Кратковременный модуль упругости Ер, МПа

Среднее сопротивление растяжению при изгибе Rи, МПа

А

1600

0,5

Б

2100

0,9

Э, В

2500

1,1

К

3200

1,3

М

3600

1,7

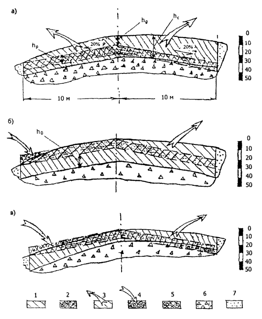
6.5. В зависимости от толщины пакета асфальтобетонных слоев ремонтируемой дорожной одежды (hc) могут возникнуть следующие случаи:

a) hc существенно больше, чем толщина регенерированного слоя, полученная по расчету (hp).

В этом случае старое покрытие целесообразнее всего отфрезеровать с учетом выравнивания его в продольном и поперечном направлениях (выравнивающее фрезерование).

Глубину фрезерования (hв) по оси проезжей части определяют таким образом, чтобы оставшийся пакет асфальтобетонных слоев был в среднем близок по толщине к hр, т.е. hв » hс - hр.

После выравнивающего фрезерования осуществляют регенерационное фрезерование на глубину близкую к hр (см. п. 8.23).

При построении соответствующей картограммы возможны местами захват части слоя основания или оставление части старого асфальтобетонного слоя с учетом получения регенерируемого слоя требуемой толщины. Пример такой конструкции приведен на рис. 1, а.

Добытый в процессе выравнивающего фрезерования АГ должен быть повторно использован (например, для устройства выравнивающего слоя), что удешевляет производство ремонтных работ.

Если увеличение затрат за счет более глубокого фрезерования, чем это требуется для выравнивания, не компенсируется доходом от повторного использования АГ, можно назначить hв = 0 (рис. 1, б). В этом случае местами требуется устройство выравнивающего слоя.

Оставшийся после регенерации слой нетронутого старого асфальтобетона включают в расчет дорожной одежды, принимая его расчетный модуль упругости Ер = 500 МПа.

Недостатком такого конструктивного решения является то, что в случае превышения средней толщины оставшегося слоя (h0) общей толщины пакета новых слоев (включая регенерированный) возникает опасность появления отраженных трещин.

б) hc сопоставима или меньше hp.

В этом случае предусматривают комплексное выравнивание, сочетающее выравнивающее фрезерование с устройством выравнивающего слоя (рис. 1, в), после чего осуществляют регенерацию выровненного покрытия с захватом на всю ширину или часть ширины слоя основания.

Уменьшение толщины слоя основания учитывают при расчете дорожной одежды.

Рис. 1. Примеры конструирования дорожной одежды, включающей регенерированный слой (покрытие, укладываемое поверх регенерированного слоя, не показано):

а - hc существенно больше hp, hв » hc - hр; б - то же, при hв » 0; в - hc сопоставима с hp или меньше ее; 1 - пакет асфальтобетонных слоев старой дорожной одежды; 2 - регенерированный слой; 3 - удаляемая часть старого покрытия после выравнивающего фрезерования; 4 - выравнивающий слой, укладываемый поверх старого покрытия и повторно перерабатываемый совместно с материалом старого покрытия в процессе регенерации; 5 - регенерированный слой из АГ с захватом части слоя основания; 6 - слой основания; 7 - обочина.

7. ПОДБОР СОСТАВА АСФАЛЬТОГРАНУЛОБЕТОНА

Отбор пробы

7.1. На основе запроектированной конструкции дорожной одежды и осмотра кернов, отобранных на стадии сбора исходных данных, намечают участки, на которых зерновой состав пакета асфальтобетонных слоев, подлежащих регенерации, находится в пределах одного типа смеси по ГОСТ 9128 (А, Б, В или Д).

7.2. Из намеченных участков отбирают пробы АГ путем фрезерования покрытия.

Если выбранная конструкция дорожной одежды предусматривает удаление верхней части асфальтобетонных слоев (см. рис. 1, а), которая отличается по типу смеси от нижележащей, пробу отбирают в два приема. Сначала удаляют фрезерованием верхнюю часть покрытия, а затем отбирают пробу АГ из слоя, подлежащего регенерации.

Масса пробы с одного участка должна быть не менее 30 кг.

Выбор типа АГБ

7.3. В зависимости от имеющегося оборудования и заложенного в проект расчетного модуля упругости намечают для исследования один или несколько типов АГБ-смеси.

Битум, входящий в состав добавок для смесей типов Э, В, Б и К, устраняет излишнюю жесткость состарившегося пленочного битума, окружающего гранулы; экранирует обнажившиеся в результате фрезерования поверхности зерен минерального материала; обеспечивает сцепление зерен заполнителя, добавляемого для увеличения содержания щебня (п. 4.6) или корректировки гранулометрического состава АГБ-смеси (п. 4.7), между собой и с АГ; заполняет частично межгранулярные пустоты, уменьшая водонасыщение АГБ; снижает межгранулярное трение, способствуя лучшей упаковке гранул при уплотнении АГБ-смеси; способствует залечиванию микродефектов, возникающих в процессе эксплуатации регенерированного слоя.

Цемент, входящий в состав смесей типов М и К, образует в присутствии воды цементный камень, который частично заполняет межгранулярные пустоты; армирует битумную пленку, окружающую гранулы; кристаллически связывается с не обработанными битумом зернами, содержащимися в АГ и заполнителе.

7.4. Наиболее технологичны смеси типа Э. Их чаще всего применяют для регенерации слоев, преимущественно состоящих из АГ. К недостаткам следует отнести возможность колееобразования при тяжелом движении.

7.5. Смеси типа К более сложны в изготовлении, но АГБ из таких смесей более устойчив к колееобразованию. Применение указанных смесей позволяет снизить толщину регенерированного слоя.

Слой из смесей типа К быстрее формируется, что особенно важно при неблагоприятных погодных условиях.

7.6. Смеси типа М чаще всего применяют, когда при регенерации захватывается часть слоя основания из не обработанного битумом материала (более 30 % от толщины регенерируемого слоя).

АГБ из такой смеси отличается высокими расчетными характеристиками, однако в регенерированном слое возможно появление усадочных и температурных трещин.

Приготовление смесей

7.7. Из пробы АГ отсеивают крупные гранулы через сито с отверстиями диаметром 40 мм.

7.8. Смеси заданного состава готовят при температуре 20 ± 2 °С в лабораторной лопастной мешалке или вручную. Перемешивание заканчивают, когда смесь станет однородной.

7.9. Если проектом предусмотрено добавление к АГ щебня или других минеральных заполнителей или при регенерации возможен захват части основания (более 20 % по массе), соответствующий материал, просеянный, как указано в п. 7.7, перемешивают с АГ в требуемой пропорции.

7.10. При приготовлении АГБ-смесей АГ должен иметь 2 %-ную влажность. Это имитирует его естественное состояние, при котором влажность обычно колеблется в пределах 1 - 3 %. Если проба АГ имеет меньшую влажность, то в него добавляют недостающее количество воды, а если - большую влажность, то его подсушивают на воздухе или в сушильном шкафу с принудительной вентиляцией при температуре не выше 40 °С до требуемой влажности. Перед приготовлением АГБ-смеси в этом случае необходимо остудить навеску АГ до температуры 20 ± 2 °С.

Для упрощения дозирования воды пробу АГ можно заранее высушить до постоянного веса.

При приготовлении АГБ-смеси типа М в АГ с влажностью 2 % вводят сначала цемент, а после его равномерного распределения в смеси - дополнительное количество воды.

7.11. При приготовлении АГБ-смеси типа К в АГ с влажностью 2 % вводят сначала эмульсию, а после ее равномерного распределения в смеси - цемент.

Если по принятой технологии предполагается введение цемента в виде суспензии, то в лабораторных условиях в АГ вводят цементную суспензию с соотношением В/Ц = 0,5 и эмульсию одновременно.

Предварительно определяют совместимость этих двух типов вяжущего путем добавления 150 г суспензии (100 г цемента + 50 г воды) в 100 г эмульсии и непрерывного их перемешивания в стеклянном стакане стеклянной палочкой.

Процесс распада эмульсии должен начаться не ранее, чем через 4 мин от начала перемешивания.

Изготовление образцов и подготовка их к испытанию

7.12. Физико-механические свойства АГБ определяют на цилиндрических образцах диаметром 71,4 мм (площадью 40 см2), изготовленных прессованием под давлением 7 МПа, в стандартных формах для изготовления асфальтобетонных образцов (ГОСТ 12801), при температуре 20 ± 2 °С. Время выдерживания образца при заданном давлении - 3 мин.

7.13. Высота образца должна составлять 71,4 ± 1,5 мм. Ориентировочное количество смеси на образец 610 - 620 г. Его уточняют при изготовлении пробного образца как для асфальтобетона (п. 3.5. ГОСТ 12801).

7.14. В процессе прессования излишек воды должен выделяться через зазор между нижним пуансоном и формой. Если зазор недостаточен, на пуансоне необходимо проделать с четырех сторон вертикальные прорези шириной и глубиной 2 мм.

7.15. После изготовления образцы хранят в помещении при температуре 20 ± 2 °С и влажности воздуха 60 - 80 % до испытания.

7.16. Перед испытанием образцы высушивают до постоянного веса на воздухе или в сушильном шкафу с принудительной вентиляцией при температуре не выше 40 °С. В последнем случае перед проведением испытаний их следует охладить до комнатной температуры.

МЕТОДЫ ИСПЫТАНИЯ АГ И АГБ

Определение содержания битума в АГ

7.17. Содержание битума в АГ определяют методом экстрагирования или ускоренными методами согласно ГОСТ 12801 для пробы массой 500 г.

Определение содержания щебня в АГ

7.18. Содержание щебня (зерен крупнее 5 мм) в минеральной части АГ, оставшейся после удаления битума, определяют сухим просевом ее через сито с отверстиями диаметром 5 мм.

Определение гранулометрического состава АГ

7.19. Гранулометрический состав АГ определяют согласно ГОСТ 12801.

Отличие заключается в том, что из пробы массой 500 г битум не удаляют, рассев производят всухую.

Определение истинной плотности АГ

7.20. Истинную плотность АГ (gиг) определяют пикнометрическим методом согласно ГОСТ 12801. Навеску берут массой не менее 300 г. Рекомендуется использовать мерную колбу вместимостью 1000 см3 с диаметром горлышка не менее 15 мм.

Пробу АГ необходимо предварительно высушить до постоянного веса, а гранулы крупнее 15 мм измельчить молотком.

Определение средней плотности АГБ

7.21. Среднюю плотность АГБ (ga) определяют согласно ГОСТ 12801 с учетом п. 7.16 Методических рекомендаций.

Определение остаточной пористости АГ

7.22. Остаточная пористость АГ (Vг) тесно связана с остаточной пористостью регенерируемого пакета слоев покрытия и может сильно отличаться для различных по крупности фракций АГ. Для последующих расчетов можно принять

                                                           (2)

где VA - остаточная пористость керна, выбуренного из подлежащего ремонту покрытия и испытанного после удаления слоев, не затрагиваемых в процессе регенерации, согласно ГОСТ 12801.

Как правило, Vг находится в пределах 1 - 2 %.

Вычисление межгранулярной пустотности АГБ

7.23. Межгранулярная пустотность АГБ (Vм) является важнейшей структурной характеристикой АГБ, от которой существенно зависят его физико-механические свойства.

Чем ниже значение Vм, определенное для АГБ без добавок, тем выше качество АГ и тем меньший объем добавок требуется для получения АГБ-смеси оптимального состава.

Межгранулярную пустотность образцов АГБ без добавок вяжущих (из АГ с влажностью 2 %) (Vмг) вычисляют с погрешностью 0,1 % по формуле

                                                      (3)

где gаг - средняя плотность АГБ без добавок вяжущих (см. п. 7.21), г/см3;

gг - средняя плотность АГ, г/см3.

Среднюю плотность АГ вычисляют с погрешностью 0,01 г/см3 по формуле

                                                        (4)

где gнг - истинная плотность АГ (см. п. 7.20), г/см3;

Vг - остаточная пористость АГ (см. п. 7.22).

Межгранулярную пустотность образцов АГБ с добавками вяжущих (Vм) вычисляют с погрешностью 0,1 % по формуле

                                             (5)

где gа - средняя плотность АГБ с добавкой вяжущих (см. п. 7.21), г/см3;

Д - массовая доля добавок вяжущего сверх 100 % АГ, %.

Для АГБ-смесей различного типа параметр Д принимает следующие значения:

Д = Б,                                                                  (6)

где Б - массовая доля битума (типы Б и В);

Д = 1,3 Ц,                                                               (7)

где Ц - массовая доля цемента, а 1,3 - коэффициент, учитывающий долю воды, вступившей в реакцию при образовании цементного камня (тип М);

                                                              (8)

где Э - массовая доля эмульсии;

К - концентрация битума в эмульсии, % (тип Э);

 (тип К).                                                  (9)

Вычисление коэффициента упаковки гранул

7.24. Коэффициент упаковки гранул (Kг) показывает степень сближения или раздвижки гранул в АГБ в результате введения добавок по сравнению с АГБ без добавок. Если Kг имеет знак плюс, содержание комплексной добавки выбрано удачно, в результате чего упаковка гранул в подобранном АГБ оказалась выше, чем в АГБ без добавок. Если Kг имеет знак минус, произошла раздвижка гранул, что снижает эффективность добавок. Как правило, последний случай связан с передозировкой цемента и (или) битума (эмульсии).

Kг вычисляют с погрешностью 1 % по формуле

                                                      (10)

Учет добавок заполнителя к АГ

7.25. В случае добавления к АГ заполнителя (п. 7.9) формула (3) примет вид

                                                                                        (11)

где  - средняя плотность АГБ с добавкой заполнителя, но без добавки вяжущего (см. п. 7.21);

 - средняя плотность АГ с добавкой заполнителя, вычисленная по формуле

                                                        (12)

где З - массовая доля заполнителя сверх 100 % АГ, %;

gг - средняя плотность АГ, вычисленная по формуле (4);

gз - истинная плотность заполнителя, г/см3 (щебня по ГОСТ 8269, песка по ГОСТ 8735 и минерального порошка по ГОСТ 12784).

Соответственно формула (5) примет вид

                                         (13)

где  - средняя плотность АГБ с добавками заполнителя и вяжущего (см. п. 7.21);

Д - массовая доля добавок вяжущего сверх 100 % АГ, определяемая по одной из формул (6) - (9);

а формула (10) - вид

                                                 (14)

Определение водонасыщения АГБ

7.26. Водонасыщение АГБ (W) определяют согласно ГОСТ 12801.

Время выдерживания образцов в вакуум-приборе и затем при атмосферном давлении - по 30 мин.

Определение предела прочности АГБ при сжатии

7.27. Предел прочности АГБ при сжатии при 20 °С (R20), 50 °C (R50) и в водонасыщенном состоянии (Rв) определяют согласно ГОСТ 12801.

Перед испытанием образцы выдерживают в воздушной среде при заданной температуре не менее 2 ч.

Определение коэффициента водостойкости АГБ

7.28. Коэффициент водостойкости АГБ (Kв) определяют согласно ГОСТ 12801.

Подбор состава АГБ

7.29. Для смесей типов В и Б готовят четыре замеса из АГ с влажностью 2 %: с добавлением 1,0, 1,5 и 2,0 % битума (сверх 100 % АГ по массе) и сравнительный - без добавления битума. На один замес требуется 2 кг АГ.

Из смесей, приготовленных как указано в п.п. 7.7 - 7.11, прессуют по три образца (см. п.п. 7.12 - 7.14), и через сутки хранения (см. п. 7.15), после подготовки к испытаниям (см. п. 7.16), определяют среднюю плотность образцов.

С целью упрощения испытания, объем образца (V) вычисляют с погрешностью 1 см3 по формуле

                                                         (15)

где  - среднее значение высоты образца из четырех замеров штангенциркулем в точках, равноотстоящих друг от друга по окружности образца, с погрешностью 0,01 см;

S - площадь образца, равная 40 см2;

6 см3 - ориентировочная разница между объемами, определенными геометрическим и гидростатическим методами.

Среднюю плотность образца gа или gаг определяют с погрешностью 0,01 г/см3 по формуле

                                                           (16)

где go - масса образца, взвешенного с погрешностью 1 г на воздухе.

За среднюю плотность для каждой серии образцов принимают среднее арифметическое результатов определений плотности трех образцов. Расхождение между результатами параллельных определений не должно превышать 0,03 г/см3.

Вычисляют коэффициенты упаковки гранул для каждой серии образцов из АГБ с разным содержанием битума по формулам (10) или (14).

После определения средней плотности образцы испытывают на сжатие при 20 °С (см. п. 7.27).

Оптимальным является содержание битума, при котором образцы показывают максимальное значение показателя R20. Как правило, у образцов из такой серии максимальным оказывается и значение показателя Kг.

Если средний показатель R20 для двух смежных серий отличается менее, чем на 0,1 МПа, предпочтение следует отдать АГБ с более высоким значением показателя Kг.

В зависимости от тенденции изменения показателей Kг и R20 с изменением содержания битума может потребоваться изготовление дополнительных замесов с другим содержанием битума: менее 1,0 % или более 2,0 %.

Если показатель R20 для серии с оптимальным содержанием битума не отвечает требованиям табл. 1, следует попытаться откорректировать гранулометрический состав АГБ-смеси (см. п. 4.7) или перейти на смеси типов К или М.

7.30. Для смесей типа Э процедура подбора оптимального состава АГБ аналогична описанной в п. 7.29.

Основные замесы готовят с добавлением 2,0, 3,0 и 4,0 % эмульсии.

В смесях этого типа содержание воды, как правило, оказывается избыточным, и лишняя вода отжимается при прессовании образцов.

Определение средней плотности образцов упрощенным способом и испытание на сжатие при 20 °С осуществляют через 7 сут после их изготовления, так как АГБ на эмульсии требует времени для формирования битумной пленки.

7.31. Для смесей типа М основные замесы готовят с добавлением 2,0, 3,0 и 4,0 % цемента и добавлением в последние две смеси 1,0 и 2,0 % воды (сверх 100 % АГ по массе) соответственно (помимо 2 % воды, содержащейся в АГ).

Если какая-либо из этих смесей плохо перемешивается, следует увеличить содержание воды на 0,5 %.

В остальном процедура подбора оптимального состава АГБ аналогична описанной в п. 7.30.

Оптимальным является содержание цемента, при котором у образцов достигается максимальное значение показателя Kг. Значение же показателя R20 должно соответствовать требованиям табл. 1. В противном случае следует попытаться откорректировать гранулометрический состав АГБ-смеси (см. п. 4.7) или увеличить содержание цемента, но не более, чем до 5 %.

7.32. Для смесей типа К назначают содержание: цемента 3 %, а эмульсии - 2,0, 3,0 и 4,0 % (сверх 100 % АГ по массе). Если обеспечена 2 %-ная влажность АГ, воду в смеси не добавляют.

В остальном процедура подбора оптимального состава АГБ аналогична описанной в п. 7.30.

Оптимальным является содержание эмульсии, при котором у образцов наблюдается максимальное значение показателя Kг.

С увеличением в смеси содержания цемента растет и кратковременный модуль упругости (Еp). Например, при одном и том же содержании эмульсии 3 % и содержаниях цемента 2,0, 3,0 и 4,0 % соответствующие значения Еp регенерированного слоя в 28-дневном возрасте при 10 °С могут достигать 1700, 2950 и 4250 МПа.

Эмульсия снижает кратковременный модуль упругости регенерированного слоя из смесей типа К примерно на 20 %, по сравнению со смесями типа М.

Оптимальное соотношение между содержанием цемента и эмульсии в смеси - 50:50, но допускаются вариации от 60:40 до 40:60.

Если показатель R20 находится на пределе или ниже требований табл. 1, а корректировка гранулометрического состава АГБ-смеси нежелательна из экономических соображений, можно увеличить содержание цемента (но не более 5 %) и повторить процедуру подбора оптимального содержания эмульсии.

7.33. Подобрав состав, изготавливают соответствующую смесь для проверки остальных физико-механических свойств АГБ. На замес требуется 4 кг АГ.

Прессуют шесть образцов и через сутки или 7 сут (в зависимости от типа АГБ-смеси) определяют их среднюю плотность (см. 7.21). После этого делят образцы на две группы по три образца так, чтобы средние арифметические результатов определения плотности в каждой из групп были максимально близки.

Для трех образцов одной из групп определяют водонасыщение (см. п. 7.26), а также показатели Rв (см. п. 7.27) и Kв (см. п. 7.28). Это делается сразу после определения средней плотности. При вычислении водонасыщения используют значения массы образцов, взвешенных на воздухе, полученные при определении их средней плотности.

Перед определением показателя R50 (см. п. 7.27) образцы из второй серии высушивают (после определения средней плотности) до постоянного веса.

Если показатель W или Kв не отвечают требованиям табл. 1, следует или откорректировать гранулометрический состав АГБ-смеси, или увеличить содержание вяжущего в смесях типа Б, В и Э, или перейти на смеси типов К или М, для которых, как правило, не возникает проблем с этими показателями.

Если показатель R50 не отвечает требованиям табл. 1, что иногда имеет место для смесей типов Б, В, и Э, следует перейти на смеси типов К или М, для которых всегда может быть обеспечено требуемое значение этого показателя путем увеличения содержания цемента.

8. ПРАВИЛА ПРОИЗВОДСТВА РАБОТ

ТЕХНОЛОГИЧЕСКИЕ СХЕМЫ

8.1. Выбор технологической схемы производства работ зависит от цели ремонта, категории автомобильной дороги, конструкции дорожной одежды, ее состояния.

Технологическую схему разрабатывает подрядчик на основе проекта, имеющегося у него в наличии оборудования и выбранного типа АГБ-смеси.

8.2. На рис. 2 приведены схемы работ, в которых операция фрезерования отделена от остальных операций.

После выравнивания покрытия (см. п. 6.5) с помощью дорожной фрезерной машины (далее - фрезы) осуществляют регенерационное фрезерование пакета асфальтобетонных слоев на проектную глубину. Образующийся АГ по транспортеру, имеющемуся на фрезе, поступает в приемный бункер смесителя-укладчика. Оттуда он попадает в двухвальную мешалку горизонтального типа, где перемешивается с органическим вяжущим. Готовую смесь укладывают и уплотняют.


Рис. 2. Технологические схемы ХР с использованием в качестве ведущей машины смесителя-укладчика:

1 - каток; 2 - смеситель-укладчик; 3 - фреза; 4 - подборщик; 5 - валик АГ; 6 - автомобили-самосвалы; 7 - склад АГ.


Согласно схеме (рис. 2, а), фреза работает в сцепе со смесителем-укладчиком, который является ведущей машиной. Производительность смесителя-укладчика - 80 - 150 т/ч, что соответствует рабочей скорости 2 - 3 м/мин. Толщина укладываемого слоя - до 12 см. Так как рабочая скорость фрезы составляет 7 - 10 м/мин, очевидно, что ее производительность искусственно будет занижена минимум в три раза.

Смеситель-укладчик имеет два скользящих уширителя, что позволяет варьировать ширину укладки от 2,4 до 4,2 м. Отсюда следует, что минимальная ширина фрезерования должна составлять 2,4 м.

Недостатком этой схемы является то, что при неисправности или техническом обслуживании одной из машин останавливается весь поток.

По схеме (рис. 2, б) фреза оставляет АГ на проезжей части в виде призмы. Ее подбирает прицепной или самоходный подборщик, работающий в сцепе со смесителем-укладчиком, и направляет в приемный бункер последнего. Здесь производительность фрезы не зависит от производительности ведущей машины.

Регенерационное фрезерование может быть совмещено с выравнивающим (рис. 2, в). В этом случае фреза работает в одном звене с автомобилями-самосвалами, которые доставляют основной объем АГ к смесителю-укладчику, а избыток АГ - на другой объект или склад.

Возможен также вариант, при котором работу фрезы не увязывают с работой смесителя-укладчика. АГ складируют на притрассовых складах, откуда отгружают погрузчиком в автомобили-самосвалы и направляют к смесителю-укладчику.

Наиболее дешевым и технологичным является второй вариант.

Смеситель-укладчик приспособлен в первую очередь для работы со смесями типа Э. Он имеет емкость для хранения 10 т эмульсии и дозирующее устройство.

При необходимости увеличения содержания щебня в АГБ-смеси или корректировки ее гранулометрического состава новый материал распределяют ровным слоем требуемой толщины по покрытию перед регенерационным фрезерованием или после него.

8.3. На рис. 3 приведена технологическая схема с использованием в качестве смесителя-укладчика - ремиксера, освобожденного от газового оборудования для разогрева покрытия. Здесь операция регенерационного фрезерования также отделена от остальных операций.

После проходов фрезы автогрейдер профилирует призмы АГ ровным слоем по всей ширине регенерируемой полосы.

Смеситель-укладчик (далее - регенератор) позволяет готовить смеси типов Э, М и К. В комплекте с ним работает специальная машина, оборудованная силосными банками для хранения эмульсии, цемента и воды (рис. 3, а). Материал для корректировки гранулометрического состава АГБ-смеси можно выгружать непосредственно в приемный бункер регенератора.

Для подачи АГ в смеситель не требуется подборщик. Эту операцию выполняют специальные шнеки.

Ширину укладки можно изменять в пределах от 3,5 до 4,5 м, что, как и в случае смесителя-укладчика, облегчает выполнение кратного числа проходов по ширине покрытия.

Толщина укладываемого слоя - до 30 см; рабочая скорость - до 16 м/мин; производительность - около 300 т/ч.

На регенераторе имеются емкости для хранения эмульсии, цемента и воды, которые пополняются из автомашины с силосными банками.

Дозировкой компонентов управляют микропроцессоры.


Рис. 3. Технологические схемы ХР с использованием в качестве ведущей машины регенератора:

1 - каток; 2 - регенератор; 3 - машина с силосными банками для основных компонентов смеси; 4 - автогрейдер; 5 - фреза; 6 - эмульсиовоз; 7 - суспензатор.


В последнее время все большее распространение получает технология, предусматривающая добавку цемента и воды в смесях типов М и К в виде цементного теста (суспензии). Для его приготовления на регенераторе имеется соответствующее устройство. Применяется и специальная машина - суспензатор. На рис. 3, б показана схема ХР с приготовлением смеси типа К с добавлением суспензии.

8.4. Была также создана машина, совмещающая операции регенерационного фрезерования с приготовлением и укладкой АГБ-смеси. Эта машина работает в комплекте со специальной дозировочной машиной, оборудованной силосными банками для эмульсии, цемента и воды. Она также позволяет готовить смеси типов Э, М и К.

Позднее было признано более целесообразным отделить функцию фрезерования, предоставив ее фрезе, и облегчить тем самым основную машину.

8.5. Технологическая схема, предусматривающая совмещение всех основных операций одной машиной, представлена на рис. 4.

Рис. 4. Технологическая схема ХР с использованием в качестве ведущей машины фрезы-регенератора и изготовлением смеси типа Э:

1 - каток; 2 - фреза-регенератор; 3 - эмульсиовоз.

Здесь в качестве ведущей машины использована фреза-регенератор гусеничного типа.

Перемешивание АГ с добавками осуществляется под кожухом фрезерного барабана, а для укладки АГБ-смеси имеется навесное оборудование, аналогичное установленному на обычных асфальтоукладчиках.

В комплекте с этой машиной работают эмульсиовоз - автоцистерна для транспортировки, хранения и подачи эмульсии (когда готовят смесь типа Э) и (или) суспензатор (когда готовят смеси типов К или М).

Ранее цемент распределяли по покрытию перед фрезерованием специальным цементовозом-распределителем, но эта операция оказалась нетехнологичной из-за пылимости цемента. Применение цементного теста устранило отмеченный недостаток.

Добавление нового минерального материала (если это необходимо) осуществляют, как указано в п. 8.2.

Ширина фрезеруемой полосы 2 м, но в специальном варианте она может быть увеличена до 2,5 м. Глубина фрезерования достигает 30 см.

Рабочая скорость машины существенно зависит от глубины фрезерования и в среднем составляет 5 - 7 м/мин.

На регенераторе имеются дозаторы для воды и эмульсии. Специальное прижимное устройство предотвращает образование крупных кусков асфальтобетона в процессе фрезерования. Вибротрамбующий рабочий орган позволяет достичь высокой степени предварительного уплотнения смеси.

Качество перемешивания смеси этой машиной ниже, чем при использовании машин, описанных в п.п. 8.2 - 8.4, так как последние оборудованы специальными двухвальными смесителями, а здесь перемешивание осуществляется фрезерным рабочим органом без гомогенизации смеси в поперечном направлении.

8.6. На рис. 5 показаны технологические схемы с использованием в качестве ведущей машины фрезы-грунтосмесителя (далее - стабилизер) на колесном ходу. Эта машина значительно проще упомянутых выше, хотя и совмещает основные операции.

Как правило, стабилизер работает по двухпроходной схеме. Сначала он фрезерует дорожную одежду на заданную глубину, а автогрейдер разравнивает призмы АГ (рис. 5, а). Затем им же осуществляется перемешивание АГ с добавками при повторном проходе.

Рис. 5. Технологические схемы ХР с использованием в качестве ведущей машины стабилизера:

а - предварительное фрезерование покрытия; б, в, г, д - изготовление смесей типов: Э, М, В, К соответственно; 1 - автогрейдер; 2 - стабилизер; 3 - каток; 4 - эмульсиовоз; 5 - водовоз; 6 - цементовоз-распределитель; 7 - битумовоз; 8 - суспензатор

Дозировка битума, эмульсии и воды осуществляется насосами, управляемыми микропроцессорами, а цементного теста - насосом суспензатора. Перемешивание АГ с добавками происходит под кожухом фрезерного барабана. Регулируемый по высоте зачистной отвал, расположенный за фрезерным барабаном, улучшает качество перемешивания.

Ширина фрезеруемой полосы - 2,44 м, а глубина фрезерования достигает 50 см. Средняя рабочая скорость при фрезеровании (первый проход) - 7 - 15 м/мин, а при смешении (второй проход) - 10 - 20 м/мин.

В зависимости от типа АГБ-смеси стабилизер работает в комплекте со вспомогательными машинами (рис. 5, б - д).

В отличие от фрезы-регенератора, данная машина не имеет специального оборудования для распределения, выглаживания и предварительного уплотнения смеси. Смесь разравнивает автогрейдер. Отсюда ровность слоя и соответствие заданному поперечному профилю будет ниже, чем по предыдущим схемам.

Стабилизер в качестве ведущей машины используют для ХР обычно на второстепенных дорогах.

8.7. Все вышеперечисленные технологические схемы объединяет то, что АГБ-смесь готовят непосредственно на дороге в процессе перемещения строительного потока. Однако возможна схема, при которой АГ, полученный в процессе фрезерования, складируют вблизи дороги. Там же, на полустационарной смесительной установке, готовят смесь, которую транспортируют к месту укладки.

О недостатках такой технологии уже упоминалось в п. 1.2.

Фрезерование

8.8. Для фрезерования покрытия различные зарубежные фирмы предлагают большое число фрез, отличающихся по ширине фрезерного барабана, мощности двигателя, глубине фрезерования и другим параметрам. Многие из них оснащены устройствами для сбора АГ и погрузки его в автомобили-самосвалы.

Чаще всего используют фрезы с шириной обрабатываемой полосы - 2,0 - 2,5 м.

8.9. Для выравнивающего фрезерования, включающего и выравнивание покрытия в продольном направлении, фреза должна быть оснащена автоматикой, позволяющей работать по струне или с нивелировочной балкой (на колесиках) длиной 5 - 7 м (ее поставляют фирмы по отдельному заказу).

При выравнивании по струне ее натягивают на металлические штыри, установленные на некотором расстоянии (в зависимости от конструкции следящего устройства) от осевой линии (реже, кромки покрытия) с шагом 10 - 20 м.

Первый проход фрезы выполняют по струне, установив (с осевой стороны) требуемые глубину фрезерования и уклон фрезерного барабана, а последующие - используя копир, скользящий по выровненной поверхности нижележащего слоя.

Перед выравнивающим фрезерованием целесообразно произвести выравнивающую подсыпку покрытия в местах, где это предусмотрено проектом, используя АГ или асфальтобетонную смесь. Выравнивающую смесь прикатывают.

8.10. Направление вращения фрезерного барабана зависит от глубины фрезерования hв или hp и толщины пакета асфальтобетонных слоев hc (рис. 6):

- при выравнивающем фрезеровании, когда hв < hc, и регенерационном фрезеровании, когда не захватывается слой несвязного основания (hв + hp < hc), вращение фрезерного барабана осуществляется «сверху - вниз» по отношению к направлению движения потока;

- в случаях, когда hв hc или hв + hp hc, т.е. граница фрезерования проходит между асфальтобетонным и несвязным слоями или ниже с захватом материала последнего, вращение фрезерного барабана осуществляется «снизу - вверх».

Рис. 6. Направление вращения фрезерного барабана в зависимости от глубины фрезерования и толщины пакета асфальтобетонных слоев.

8.11. Крупность АГ зависит от конструкции фрезерного органа, скорости вращения фрезерного барабана, рабочей скорости движения фрезы, глубины фрезерования, типа асфальтобетона и других факторов.

Чем уже задняя щель под кожухом фрезерного барабана, тем дольше задерживается АГ внутри кожуха и сильнее измельчается. Максимальный размер АГ не может быть мельче максимального размера щебня, входящего в состав АГ.

Чем выше скорость вращения фрезерного барабана, тем мельче АГ по гранулометрии. Обычно при фрезеровании толстых покрытий (более 15 см) используют первую скорость; покрытий средней толщины (8 - 15 см) - вторую скорость; тонких покрытий (менее 8 см) - третью скорость.

Чем прочнее покрытие, тем более низкая скорость вращения фрезерного барабана требуется для измельчения асфальтобетона.

Третий контролируемый фактор - рабочая скорость фрезы. Чем она меньше, тем мельче получается АГ.

8.12. В процессе фрезерования покрытия зубья фрезерного барабана изнашиваются. Их замена является наиболее дорогостоящей операцией и фактором, снижающим производительность. На износ зубьев влияют твердость асфальтобетона, глубина фрезерования, температура покрытия и другие факторы. Наиболее благоприятная температура для работы зубьев 10 - 30 °С. В среднем через каждые 10 тыс. м2 покрытия требуется замена всех зубьев.

Самопроизвольное снижение рабочей скорости фрезы указывает на сильный износ зубьев. Работа с изношенными зубьями может привести к повреждению держателей зуба, что потребует сварочных работ, а следовательно, и к задержке потока.

Зубья необходимо проверять регулярно через каждые 2 ч или в конце захватки.

Во время инспектирования заменяют наиболее изношенные или разрушенные зубья. Обычно причиной разрушения является попадание зуба на захороненные в покрытие металлические предметы или крупные камни.

Зубья требуют замены в случаях, изображенных на рис. 7 (2 - 5). Их извлекают из держателя или вставляют в него при помощи специального съемника, входящего в состав инструмента. Два человека могут заменить все зубья за час.

Рис. 7. Виды износа и разрушения фрезерных зубьев:

1 - новый зуб; 2 - зуб со стертой средней частью; 3 - зуб со стертой стороной; 4 - зуб с частично разрушенным наконечником; 5 - зуб со стертым наконечником.

Некоторые из снятых зубьев, подходящих по длине, могут быть использованы для замены разрушенных.

8.13. Производительность фрезы точно указать трудно из-за большого числа влияющих факторов. Обычно ее определяют на опытной секции или с учетом имеющегося опыта работы в подобных условиях. Если рабочая скорость в данных условиях определена, то производительность определяется просто.

Например, при ширине обрабатываемой полосы 2,42 м, рабочей скорости 10 м/мин и коэффициенте использования рабочего времени 80 % часовая производительность составит:

2,42 · 10 · 60 · 0,80 » 1200 м2.

Производство работ методом смешения на дороге

8.14. Перед началом работ необходимо выполнить проект их организации с учетом выбранной технологической схемы (см. выше).

В проекте организации работ необходимо в первую очередь указать:

- схему организации движения (см. «Инструкцию по организации движения и ограждения мест производства дорожных работ», М. - «Транспорт», 1985);

- расчетную среднюю рабочую скорость ведущей машины;

- технологическую схему работ с распределением механизмов по частным захваткам;

- длину сменной захватки;

- количество проходов ведущей машины по ширине проезжей части и их последовательность;

- потребность в добавляемых материалах;

- мероприятия по выравниванию дорожной одежды (если они предусмотрены основным проектом);

- места расположения складов АГ (если это предусмотрено технологической схемой);

- мероприятия по контролю качества.

8.15. Важнейшим мероприятием до начала основных работ является устройство пробного участка. При этом уточняются следующие параметры:

а) Гранулометрический состав АГ. Если он сильно отличается от установленного при подборе состава АГБ (см. п. 7.19), возможно потребуется корректировка подобранного состава.

Корректировку крупности АГ можно осуществить, варьируя контролируемые параметры фрезерования (см. п. 8.11).

б) Влажность АГ после фрезерования и кинетика ее изменения в течение дня. Эти данные необходимы для расчета количества добавляемой воды в процессе приготовления АГБ-смеси.

в) Качество перемешивания.

г) Оптимальная влажность.

Уплотнение образцов в лабораторных условиях слабо моделирует процесс укатки смеси. Оптимальную влажность (Wо) целесообразно определять на пробном участке. Для этого укладывают три секции с разным содержанием воды, а на следующий день, после испарения воды, определяют плотность АГБ радиоплотномером. Обычно при недостатке влаги на поверхности слоя в процессе укатки появляются волосные поперечные трещины, а при избытке влаги перед вальцем катка образуется «волна», и смесь начинает налипать на него.

Ориентировочно Wо можно определить в лабораторных условиях, прессуя образцы из смесей с разным содержанием воды под давлением 3 МПа. Критерием является средняя плотность, определенная упрощенным методом (см. п. 7.29). Оптимальной будет влажность, при которой средняя плотность достигает максимального значения, и дальнейшее увеличение влажности приводит к отжиму воды при прессовании.

Для смесей без добавления необработанного скелетного материала Wо » 2 ÷ 3 %. Учитывая естественную влажность АГ и воду, содержащуюся в эмульсии, для смесей типов Э и К может отпасть необходимость в добавлении воды смачивания.

д) Плотность АГБ. Этот параметр является главным для оценки качества АГБ. Он зависит от большого числа факторов и в том числе от неконтролируемого фактора - температуры АГ в момент уплотнения. Чем она выше, тем, при прочих равных условиях, выше плотность АГБ. Установление реально достижимой плотности (базовой) позволяет в дальнейшем осуществлять оперативный контроль качества приготовления и уплотнения АГБ-смеси.

е) Средняя рабочая скорость ведущей машины. От нее зависят производительность потока и все экономические показатели. Стремление к ее увеличению не должно отражаться на качестве АГБ.

ж) Толщина укладываемого слоя. Чтобы получить после укатки требуемую толщину регенерированного слоя, при использовании в качестве ведущих машин смесителя-укладчика, фрезы-регенератора, регенератора и других машин, оборудованных слоеформирующим устройством, необходимо правильно отрегулировать высоту выходной щели этого устройства (как на асфальтоукладчиках).

8.16. Применение технологических схем, в которых операция фрезерования отделена от остальных технологических операций, позволяет совместить выравнивающее и регенерационное фрезерование. В этом случае фрезерный барабан настраивают на требуемые отметки дна корыта (подошвы регенерируемого слоя). Излишек АГ в местах, где предусмотрено выравнивающее фрезерование, перемещают автогрейдером на обочину или автомобилями-самосвалами на притрассовый склад с целью последующего использования на участках, где не хватает АГ для регенерации слоя (см. рис. 1, б и в). Если такие участки находятся на половине проезжей части дороги, где ведутся работы, излишек АГ сразу вывозят на них (в пределах захватки, закрытой для движения общественного транспорта) или на другие участки, где может быть закрыто движение.

После фрезерования всей ремонтируемой половины проезжей части призмы АГ планируют автогрейдером с созданием слоя по возможности равномерной толщины с требуемым поперечным уклоном. Число проходов грейдера должно быть сведено к минимуму, чтобы перед регенерацией не уплотнять слой АГ.

8.17. Если по проекту предусмотрена корректировка гранулометрического состава АГ, новый минеральный материал распределяют по покрытию до регенерационного фрезерования. Добавление нового материала после фрезерования нежелательно. Оно связано с проездом построечного транспорта по слою АГ, что приводит к слипанию гранул.

В рассматриваемом случае совмещение выравнивающего и регенерационного фрезерования затрудняет соблюдение требуемой пропорции между объемами АГ и нового материала, так как толщина фрезеруемого слоя становится переменной по ширине покрытия. Эти затруднения отпадают, когда до распределения нового материала выполнено выравнивающее фрезерование.

8.18. Перед регенерационным фрезерованием на участке, где из-за большого поперечного уклона требуется устройство выравнивающего слоя, завозят требуемое количество АГ или асфальтобетонной смеси, которые распределяют автогрейдером. На участках большой протяженности можно использовать асфальтоукладчик. Слой следует прикатать для возможности перемещения по нему построечного транспорта.

Если для выравнивания используют горячую асфальтобетонную смесь, ее состав должен быть близок к компонентному составу АГ.

8.19. Регенерационное или совмещенное фрезерование осуществляют, как правило, по струне. Поэтому на соответствующей захватке должны быть выполнены все работы, связанные с установкой струны. Большинство фрез обеспечивают фрезерование покрытия до заданных отметок с точностью ± 0,5 см.

8.20. Число проходов ведущей машины зависит от ширины укладываемой полосы и ремонтируемой проезжей части.

Если у ведущей машины предусмотрена возможность укладки слоя с двускатным профилем, то число ее проходов по ширине проезжей части может быть нечетным (ось одного из проходов совпадает с осью проезжей части). В этом случае струну устанавливают на обочине у кромки покрытия, а первый проход делают от обочины.

При использовании в качестве ведущей машины смесителя-укладчика или регенератора, смежные полосы укладывают впритык. В остальных случаях необходимо их перекрытие.

Минимальная ширина перекрытия смежных полос должна быть на 5 см больше толщины регенерированного слоя.

Применение машин с изменяемой шириной укладки позволяет свести к минимуму число проходов и минимизировать ширину перекрытия полос, где оно предусмотрено.

Ширину перекрытия (П) определяют по формуле

                                                         (17)

                                                             (18)

где n - число проходов ведущей машины по ширине проезжей части (или ее половины), округленное в большую сторону до целого числа;

bп - ширина укладываемой полосы, м;

b - ширина проезжей части (или ее половины), м.

Если окажется, что П < Пmin (минимальная ширина перекрытия), увеличивают число проходов на единицу и расчет повторяют.

Например, при b = 8 м, Пmin = 0,15 м, а bп = 2,5 м, n = 8 : 2,5 = 3,2. Округляем до целого числа: n = 4. По формуле (17)

 м.

Результат удовлетворяет неравенству П Пmin. Если здесь b - ширина половины проезжей части, а машина позволяет укладывать слой с двускатным поперечным профилем, можно снизить ширину перекрытия и число проходов: n = 2 · 8 : 2,5 = 6,4. Округляем до 7.

 Окончательно n = 7; П = 0,25 м.

8.21. При схеме производства работ, предусматривающей перекрытие смежных участков, его величину учитывают в расчетах расхода добавок. Для первого прохода расчет ведут на всю длину фрезерного барабана, а для остальных - ее уменьшают на ширину перекрытия.

8.22. Длина захватки (L) должна быть такой, чтобы за рабочий день успеть отрегенерировать покрытие на всю ширину половины проезжей части (на котором перекрыто движение) при четном числе проходов или с захватом части полосы встречного движения при нечетном числе проходов ведущей машины.

В случае применения в качестве ведущей машины регенератора, выполняющего все операции за один проход, длину захватки рассчитывают по формуле

                                                       (19)

где m - число часов в световом дне;

С - коэффициент использования рабочего времени (заправка, замена зубьев, маневрирование и др.);

V - рабочая скорость ведущей машины, установленная при устройстве пробного участка, м/мин;

n - число проходов ведущей машины (см. п. 8.20).

Например, при m = 10 ч, С = 0,8, V = 6 м/мин и n = 4

 м.

Округляем до 700 м. Таким образом, длину дневной захватки шириной 8 м можно принять равной 700 м.

При использовании ведущей машины, требующей предварительного фрезерования покрытия, дневная захватка будет состоять из двух частных захваток: на первой будет работать фреза, а на второй - ведущая машина (например, смеситель-укладчик). Общая длина дневной захватки в этом случае может превысить 1 км.

Если АГБ-смесь содержит цемент, в качестве ведущей машины используют смеситель-укладчик или регенератор (не выполняющие операцию фрезерования), а при числе проходов больше одного длину захвата рассчитывают по формуле

Lг = 60 t C V,

где t - время схватывания цементного теста, ч, t 3 ч;

С и V - те же, что и в формуле (19).

Например, при t = 2 ч, С = 0,8 и V = 3 м/мин Lг = 2 · 60 · 0,8 · 3 » 300 м.

При двух проходах по ширине ремонтируемой проезжей части работы на первой захватке будут выполнены за 4 ч. За восьмичасовой рабочий день общая длина сменной захватки составит 2 · 300 = 600 м.

Если смеситель-укладчик или регенератор обрабатывает вторую полосу, двигаясь в обратную сторону, то придется принять t = 1 ч и длина частной захватки снизится вдвое.

Здесь ограничение длины захватки связано с необходимостью уплотнения зоны сопряжения смежных полос до того, как жесткость смеси существенно увеличится из-за схватывания цементного теста.

При необходимости выравнивания покрытия по схеме, исключающей совмещение выравнивающего и регенерационного фрезерования, оно может осуществляться или на первой частной захватке, последовательно с регенерационным фрезерованием, или должно проводиться с опережением основного потока.

8.23. Толщина регенерированного слоя из АГБ всегда больше, чем глубина регенерационного фрезерования. Это связано с разницей в плотностях АГБ и исходного пакета асфальтобетонных слоев: обычно - 2,10 - 2,20 г/см3 у первого и 2,30 - 2,40 г/см3 - у второго.

Соотношение между толщинами сфрезерованного слоя и слоя из АГБ, при полном использовании АГ в последнем, определяют по формуле

                                                   (21)

где hр - толщина уплотненного регенерированного слоя, см;

ha - глубина регенерационного фрезерования (толщина сфрезерованного слоя без учета выравнивающего фрезерования), см;

Д - массовая доля добавок, исключая воду, % (сверх 100 % АГ) (в смесях с цементом его долю увеличивают в 1,3 раза с учетом воды, вступающей в реакцию);

ga и gр - средние плотности пакета слоев старого покрытия и регенерированного слоя (после высыхания), соответственно, г/см3.

Например, при ha = 15 см, содержание в АГБ 3 % цемента и 2 % 60 %-ной эмульсии, gа = 2,37 г/см3 и gр = 2,15 г/см3, Д = 1,3 Ц + 2 · 0,6 = 5,1 %, а

 см.

Следовательно, толщина регенерированного слоя окажется на 2,4 см больше толщины слоя, сфрезерованного после выравнивания покрытия.

Учитывая изложенное, при конструировании дорожной одежды (см. раздел 6) в проект закладывают расчетную толщину регенерированного слоя, т.е. hр, а глубину регенерационного фрезерования ha определяют по формуле

                                                    (22)

Так как плотность регенерированного слоя является переменной величиной и может в процессе работ изменяться в пределах ± 0,05 г/см3, толщина регенерированного слоя может колебаться в пределах ± 0,5 см, что не существенно.

Если АГБ-смесь разравнивается без предварительного уплотнения виброплитой, то толщина слоя в рыхлом теле должна быть примерно на 30 % больше толщины слоя после окончательного уплотнения.

Если АГБ-смесь разравнивается с предварительным уплотнением виброплитой, то после окончательного уплотнения толщина регенерированного слоя уменьшится примерно на 6 %.

8.24. Ведущие машины осуществляют укладку смеси по струне.

Производство работ методом смешения в автономной установке

8.25. Подготовительные работы и организация движения при производстве работ рассматриваемым методом аналогичны изложенным в п.п. 8.14 - 8.15.

8.26. Операции выравнивающего и регенерационного фрезерования здесь совмещены. Весь АГ вывозят на притрассовые склады.

8.27. Для изготовления АГБ-смесей используют легко монтируемую и демонтируемую полустационарную установку, оборудованную смесителем принудительного действия и дозаторами жидких и сыпучих материалов. Чаще всего применяют установки непрерывного действия.

Для хранения жидких и сыпучих добавок используют силосные банки и цистерны, оборудованные системой подачи добавок в дозаторы смесителя.

8.28. АГ должен находиться на складах в виде конусов или призм высотой до 2 м. В более высоких кучах АГ подвержен слеживанию, особенно в жаркую летнюю погоду.

При окучивании АГ бульдозером или погрузчиком следует избегать наезда на АГ колес или гусениц. В противном случае происходит слипание гранул (слеживание АГ).

При разгрузке автомобилей-самосвалов и окучивании крупные гранулы скатываются к основанию конуса, что приводит к расслаиванию АГ.

Слежавшийся АГ должен быть пропущен через специальный измельчатель, который разминает крупные куски, но не дробит гранулы.

8.29. АГ подают на транспортер, ведущий к смесителю или в накопительный бункер смесительной установки, погрузчиком. Набор ковша погрузчика осуществляют снизу конуса или призмы.

8.30. При использовании установок циклического действия на качестве смеси может отразиться последовательность введения добавок. Для смесей типов Э и К в смеситель впрыскивают воду смачивания, а затем - эмульсию. Для смеси типа М сначала вводят цемент, а затем - воду. Для смеси типа К цемент вводят в последнюю очередь.

При использовании установок непрерывного действия все добавки вводят одновременно.

8.31. Количество воды смачивания уточняют с учетом естественной влажности АГ, воды, содержащейся в эмульсии, и оптимальной влажности смеси (см. п. 8.15).

8.32. Готовую смесь доставляют к асфальтоукладчику автомобилями-самосвалами. Время доставки при работе со смесями типов М и К не должно превышать 2 ч, во избежание увеличения жесткости смеси.

8.33. С целью исключения продольных стыков или уменьшения их числа укладку смеси желательно вести несколькими укладчиками или одним широкозахватным на всю ширину половины проезжей части. В противном случае, число проходов определяют по формуле (18).

Смежные полосы укладывают впритык.

8.34. Укладку смеси осуществляют по струне.

8.35. Длину захватки назначают, как указано в п. 8.22.

8.36. Толщину слоя, выходящего из-под плиты укладчика, регулируют с учетом сведений, изложенных в п. 8.23.

8.37. На дорогах III - IV категорий для разравнивания смеси возможно применение автогрейдера.

Уплотнение асфальтогранулобетонных смесей

8.38. При использовании в качестве ведущих машин смесителя-укладчика, регенератора или обычного асфальтоукладчика предварительное уплотнение осуществляют виброплитой или вибротрамбующим брусом, а окончательное - катками.

8.39. Спешить с уплотнением катками АГБ-смеси типа Э нет необходимости. Если из технологических соображений содержание в ней воды оказалось выше оптимального, целесообразно выждать некоторое время (20 - 30 мин), чтобы дать возможность испариться излишку влаги.

8.40. Уплотнение осуществляют в следующем порядке:

- вибро- или комбинированный каток массой 6 - 8 т - 2 - 4 прохода;

- гладковальцовый каток массой 10 - 18 т - 3 - 5 проходов;

- каток на пневмошинах массой от 16 т - свыше 4 проходов.

Укатку продолжают до прекращения осадки слоя.

8.41. В процессе уплотнения катки должны двигаться от краев к оси дороги, а затем в обратной последовательности с перекрытием каждого следа.

Вальцы катка при уплотнении первой полосы должны находиться на расстоянии 15 - 20 см от кромки сопряжения. Уплотнение второй полосы следует начинать с сопряжения.

8.42. Время от приготовления АГБ-смесей, содержащих цемент, до окончания их уплотнения не должно превышать 3 ч.

8.43. После прохода катка на пневмошинах иногда требуется окончательное выравнивание поверхности автогрейдером.

9. УХОД ЗА РЕГЕНЕРИРОВАННЫМ СЛОЕМ И УСТРОЙСТВО ЗАМЫКАЮЩЕГО СЛОЯ

9.1. При использовании АГБ-смесей без добавления минерального вяжущего движение по регенерированному слою может быть открыто сразу же после окончания уплотнения.

9.2. При использовании АГБ-смесей с добавлением минерального вяжущего движение также может быть открыто сразу после окончания уплотнения. Однако при высыхании поверхности возникает пылимость. В таких случаях следует периодически слегка увлажнять поверхность регенерированного слоя.

9.3. Для слоев, содержащих эмульсию, устройство замыкающего слоя или слоя усиления поверх регенерированного слоя целесообразно отложить на 2 - 3 недели, что позволяет последнему лучше сформироваться под воздействием движения транспорта.

На слоях с минеральным вяжущим под действием движения автомобилей могут появиться дефекты в виде шелушения и выбоин. Поэтому устройство замыкающего слоя или слоя усиления не следует откладывать более чем на 3 недели.

9.4. Перед устройством замыкающего слоя или слоя усиления поверхность регенерированного слоя подгрунтовывают.

9.5. Замыкающий слой или слой усиления могут быть уложены при необходимости через 48 ч после регенерации нижележащего слоя.

10. КОНТРОЛЬ КАЧЕСТВА РАБОТ ПРИГОТОВЛЕНИЕ АГБ-СМЕСИ

Входной контроль

10.1. При входном контроле устанавливают соответствие стандартам качества каждой поступающей партии исходных материалов: АГ (если смесь готовят не на дороге), минеральных материалов (если их добавка предусмотрена), цемента, эмульсии, воды. Этот вид контроля осуществляет подрядчик и представляет соответствующие данные Заказчику.

Партией АГ считается материал, сфрезерованный с 10 тыс. м2 проезжей части.

10.2. При существенном расхождении показателей АГ, поступившего в виде партии и использованного при подборе состава смеси, может потребоваться корректировка состава.

Операционный контроль

10.3. При операционном контроле проверяют:

- точность дозирования компонентов с учетом влажности АГ и технологический режим приготовления АГБ-смеси (ежедневно);

- марку цемента (не реже одного раза в три месяца по ГОСТ 310.4);

- однородность эмульсии (не реже двух раз в месяц по ГОСТ 18659);

- влажность АГ, если смесь готовят не на дороге, при ее изменении из-за прошедшего ранее дождя.

Приемочный контроль

10.4. Для контроля качества АГБ-смеси ее пробу отбирают на выходе из смесителя ежедневно. На 200 т или 1000 м2 слоя толщиной 10 см должно быть отобрано не менее одной пробы массой 3 кг. Смесь отвозят в лабораторию в емкости или пакете, исключающих испарение влаги, и прессуют три образца (см. п.п. 7.12 - 7.15).

В лаборатории проверяют:

- содержание воды в смеси (в смесях с цементом около 30 % воды от его массы вступает в реакцию с цементом и потому определенное испытанием количество воды в смеси будет меньше введенного);

- среднюю плотность АГБ (по ГОСТ 12801 с учетом п. 7.16 настоящих Методических рекомендаций);

- предел прочности при сжатии при 20 °С образцов АГБ (по п. 7.27 с учетом их возраста по п. 3.1).

10.5. Кроме указанных испытаний в процессе приемочного контроля на каждые 40 тыс. м2 регенерированного слоя осуществляют периодический контроль:

- гранулометрического состава АГБ-смеси (по п. 7.19);

- предела прочности при сжатии при 50 °С образцов АГБ (по п. 7.27 с учетом их возраста по п. 3.1);

водонасыщения образцов АГБ (по п. 7.26); коэффициента водостойкости образцов АГБ (по ГОСТ 12801). Количество смеси и образцов указано в п. 7.33.

10.6. Если в результате приемочного контроля выявлено несоответствие показателей физико-механических свойств АГБ и показателей, полученных при подборе, то проверяют свойства всех исходных материалов, состав смеси, технологический процесс ее приготовления и производят корректировку составов.

УСТРОЙСТВО КОНСТРУКТИВНОГО СЛОЯ ИЗ АГБ-СМЕСИ

Операционный контроль

10.7. При операционном контроле проверяют:

- толщину рыхлого слоя - металлическим щупом с делениями с учетом коэффициента уплотнения смеси (см. п. 8.23);

- качество продольных и поперечных сопряжений и ровность слоя в зоне сопряжения в перпендикулярном к нему направлении;

- плотность слоя - радиоизотопным прибором;

- поперечные уклоны - рейкой с уровнем.

Приемочный контроль

10.8. При приемочном контроле проверяют:

- высотные отметки по оси проезжей части согласно СНиП 3.06.03-85 п. 14.5;

- толщину уплотненного слоя - по кернам;

- среднюю плотность слоя;

- ширину слоя;

- поперечные уклоны.

10.9. Ширину слоя и поперечные уклоны измеряют не менее чем в 20 местах на сдаваемом участке.

10.10. Оценку качества геометрических параметров регенерированного слоя осуществляют в соответствии со СНиП 3.06.03-85, приложение 2, п.п. 2.1, 2.2, 2.3.1, 2.4, 2.5.4.

10.11. Среднюю плотность слоя предварительно определяют радиоизотопным прибором в шахматном порядке в одной контрольной точке на каждые 100 м2.

Если прибор показывает значение плотности меньшее 0,97 % от базовой (см. п. 8.15 д), следует сделать несколько контрольных замеров, чтобы исключить случайность получения низкого результата. Если низкие результаты повторяются, необходимо оконтурить недоуплотненный участок, используя радиоизотопный прибор для определения площади этого участка.

10.12. Качество АГБ определяют по кернам диаметром 10 см, выбуренным из регенерированного слоя через 7 сут после его устройства. Керны отбирают в шахматном порядке по одному на каждые 1000 м2 регенерированного слоя, включая недоуплотненные участки.

Определив среднюю высоту керна (для оценки толщины слоя), его распиливают при помощи дисковой пилы или на камнерезном станке на две цилиндрические половинки. При толщине слоя менее 8 см испытывают целый керн. Если нижняя плоскость керна неровная или имеет включения из нижележащего слоя, ее выравнивают параллельно верхней плоскости на камнерезном станке.

Перед испытанием керны или их половинки высушивают до постоянного веса.

10.13. Среднюю плотность каждой из половинок (или целого керна) определяют по ГОСТ 12801.

Степень уплотнения слоя в данной точке оценивают коэффициентом Kу, который вычисляют с погрешностью 0,01 по формуле

                                                            (23)

где gа и gб - средние плотности АГБ у исследуемого керна и базовая (см. п. 8.15 д), соответственно, г/см3.

                                                       (24)

где gав и gан - средние плотности верхней и нижней половинок керна, соответственно, г/см3.

Коэффициент уплотнения не должен быть ниже 0,97.

10.14. Межгранулярную пустотность каждой из половинок (или целого керна) вычисляют по формуле (5) (см. п. 7.23). Ее осредняют для двух половинок керна. Значения межгранулярной пустотности близки к значениям водонасыщения. Поэтому нет необходимости определять водонасыщение кернов, что упрощает проведение испытаний.

Осредненная межгранулярная пустотность керна не должна быть выше водонасыщения, определенного по п. 10.5, и водонасыщения, приведенного в табл. 1, более чем на 2 % по абсолютной величине.

10.15. Предел прочности при сжатии при 20 °С каждой из половинок (или целого керна) определяют согласно ГОСТ 12801 и осредняют для двух половинок. Перед испытанием образцы высушивают до постоянного веса (после определения средней плотности гидростатическим взвешиванием) и выдерживают не менее 2 ч при температуре 20 ± 2 °С.

Осредненное значение прочности керна не должно быть ниже средней прочности образцов, определенной по п. 10.4, более чем на 20 % и соответствовать требованиям табл. 1.

10.16. Приемку выполненных работ должна осуществлять специализированная организация, которая производит освидетельствование работ в натуре, контрольные замеры, проверку результатов лабораторных испытаний исходных материалов и контрольных образцов, записей в журнале работ.

Техническую документацию оформляют в соответствии с главой СНиП 3.01.01-85.

11. ЭКОНОМИЧЕСКИЕ КРИТЕРИИ ЦЕЛЕСООБРАЗНОСТИ ПРИМЕНЕНИЯ СПОСОБОВ ХР

В соответствии с Указаниями ВСН 52-89, если покрытие находится в неудовлетворительном состоянии по ровности, при проектировании усиления дорожной одежды минимальную толщину слоя усиления назначают с учетом перспективной интенсивности движения на полосу, приведенной к расчетным нагрузкам (традиционный способ). Для дорог II категории, например, толщина такого слоя составляет 12 - 14 см.

При ХР для обеспечения требуемой прочности дорожной одежды обычно достаточно на регенерированный слой уложить асфальтобетонный слой износа толщиной 4 - 5 см или выполнить поверхностную обработку.

Для оценки экономической эффективности ХР достаточно сравнить прямые затраты на устройство слоя усиления из пористого асфальтобетона толщиной 8 - 10 см и затраты, связанные с ХР.

Стоимость производства работ традиционным методом в среднем на 20 руб. за 1 м2 ниже, чем в случае ХР. С другой стороны, экономия асфальтобетона при отказе от слоя толщиной даже 6 см во втором случае позволяет снизить затраты примерно на 140 руб. за 1 м2.

В структуре затрат на ХР затраты на добавки к АГ составляют 70 - 80 % и на амортизационные отчисления - около 10 %. В среднем стоимость 1 м2 ХР колеблется в пределах 4 - 5 у. е. (120 - 150 руб.), а 6-сантиметрового слоя усиления - около 5 у. е. (150 руб.). Чем выше интенсивность движения на ремонтируемой дороге, тем выше экономическая эффективность метода ХР.

СОДЕРЖАНИЕ

Предисловие. 1

1. Основные понятия. 2

2. Классификация. 2

3. Технические требования. 2

4. Требования к материалам.. 3

Асфальтобетонный гранулят. 3

Битум.. 3

Битумная эмульсия. 3

Цемент. 3

Щебень, песок, минеральный порошок. 3

Вода. 3

5. Область и условия применения. 4

6. Конструирование дорожной одежды.. 4

7. Подбор состава асфальтогранулобетона. 6

Отбор пробы.. 6

Выбор типа АГБ. 6

Приготовление смесей. 6

Изготовление образцов и подготовка их к испытанию.. 7

Методы испытания АГ И АГБ. 7

Определение содержания битума в АГ. 7

Определение содержания щебня в АГ. 7

Определение гранулометрического состава АГ. 7

Определение истинной плотности АГ. 7

Определение средней плотности АГБ. 8

Определение остаточной пористости АГ. 8

Вычисление межгранулярной пустотности АГБ. 8

Вычисление коэффициента упаковки гранул. 9

Учет добавок заполнителя к АГ. 9

Определение водонасыщения АГБ. 9

Определение предела прочности АГБ при сжатии. 9

Определение коэффициента водостойкости АГБ. 10

Подбор состава АГБ. 10

8. Правила производства работ. 11

Технологические схемы.. 11

Фрезерование. 17

Производство работ методом смешения на дороге. 18

Производство работ методом смешения в автономной установке. 22

Уплотнение асфальтогранулобетонных смесей. 23

9. Уход за регенерированным слоем и устройство замыкающего слоя. 23

10. Контроль качества работ приготовление АГБ-смеси. 23

Входной контроль. 23

Операционный контроль. 23

Приемочный контроль. 24

Устройство конструктивного слоя из АГБ-смеси. 24

Операционный контроль. 24

Приемочный контроль. 24

11. Экономические критерии целесообразности применения способов ХР. 25

 




Rambler's Top100 Яндекс цитирования
  Copyright © 2008-2026, www.docload.ru