Бесплатная библиотека стандартов и нормативов www.docload.ru

Все документы, размещенные на этом сайте, не являются их официальным изданием и предназначены исключительно для ознакомительных целей.
Электронные копии этих документов могут распространяться без всяких ограничений. Вы можете размещать информацию с этого сайта на любом другом сайте.
Это некоммерческий сайт и здесь не продаются документы. Вы можете скачать их абсолютно бесплатно!
Содержимое сайта не нарушает чьих-либо авторских прав! Человек имеет право на информацию!

 

РОССИЙСКИЙ ГОСУДАРСТВЕННЫЙ КОНЦЕРН
ПО ПРОЕКТИРОВАНИЮ, СТРОИТЕЛЬСТВУ, РЕМОНТУ
И СОДЕРЖАНИЮ АВТОМОБИЛЬНЫХ ДОРОГ
«РОСАВТОДОР»

ДОРОЖНОЕ НАУЧНО-ИССЛЕДОВАТЕЛЬСКОЕ И ПРОИЗВОДСТВЕННО-
ТЕХНОЛОГИЧЕСКОЕ ОБЪЕДИНЕНИЕ
НПО РОСДОРНИИ

РЕКОМЕНДАЦИИ
ПО СОВЕРШЕНСТВОВАНИЮ МЕТОДОВ БОРЬБЫ С ПУЧИНАМИ
ПРИ РЕМОНТЕ АВТОМОБИЛЬНЫХ ДОРОГ

(ДЛЯ ОПЫТНОГО ПРИМЕНЕНИЯ)

Утверждены
Минавтодором РСФСР
7 марта 1990 г.

Москва 1991

В Рекомендациях в качестве мероприятий по снижению величины пучения предложены траншейный дренаж и гидроизоляция земляного полотна. Даны методы оценки снижения расчетной влажности земляного полотна и как следствие - величины пучения грунтов. Отдельно рассмотрены дренажные сооружения для снижения величины весеннего влагонакопления.

Рекомендации разработаны Московским НПЦ НПО Росдорнии совместно с Хабаровским НПЦ НПО Росдорнии и Хабаровским политехническим институтом.

Разделы, посвященные траншейному дренажу и гидроизоляции, разработаны кандидатами технических наук Ю.Р. Перковым, Н.М. Смуровым, инж. А.П. Фоминым при участии инженеров В.Н. Емельянова Е.В. Ефишовой, E.B. Никанычевой, О.В. Труфановой (Московский НПЦ НПО Росдорнии); разделы, посвященные дренажу для снижения весеннего влагонакопления, - кандидатами технических наук А.И. Ярмолинским, Г.П. Собиным, С.И. Доброхотовым, В.В. Боровиковым, В.П. Горбачевым, инженерами А.К. Тихомировым, И.Л. Кокориной (ХПИ); канд. техн. наук И.Е. Закурдаевым, инженерами П.П. Марковым, Н.П. Кудряшовой, Т.А. Белоусовой при участии О.Н. Дулина, Н.В. Ушаковой, Л.Я. Бражниковой, В.П. Короваевой (Хабаровский НПЦ НПО Росдорнии).

Рекомендации предназначены для опытного применения при ремонте и реконструкции автомобильных дорог Государственного концерна Росавтодор.

Зам. директор НПО Росдорнии,

канд. техн. наук                                                                                  А.Я. Эрастов

1. ОБЩИЕ ПОЛОЖЕНИЯ

1.1. Настоящие Рекомендации предназначены для опытного применения дорожными и проектными организациями при подготовке соответствующей проектно-сметной документации на противопучинные мероприятия ремонтируемых и реконструируемых участков автомобильных дорог в II - IV дорожно-климатических зонах. Приведенные в Рекомендациях мероприятия могут быть использованы и при проектировании строящихся участков автомобильных дорог в сложных условиях.

1.2. В Рекомендациях рассматриваются вопросы снижения влажности грунтов земляного полотна как одной из основных причин, пучинообразования с помощью дренажа и вертикальных свай-дрен, гидроизоляции, совершенствования конструкций, технологии и методов расчета.

1 Ввиду значительного объема работ вопросы применения свай-дрен см. в прил. 5 настоящих Рекомендаций.

Мероприятия по теплоизоляции грунтов земляного полотна следует разрабатывать с использованием следующих нормативно-технических документов:

Инструкция по проектированию дорожных одежд нежесткого типа. ВСН 46-83. - М.: Транспорт, 1985;

Методические рекомендации по проектированию и устройству теплоизолирующих слоев на пучиноопасных участках автомобильных дорог / Союздорнии. - Балашиха, 1977;

Методические рекомендации по проектированию и устройству на автомобильных дорогах конструктивных теплоизолирующих слоев из цементогрунтов с пористыми заполнителями / Союздорнии. - Балашиха, 1978;

Методические рекомендации по проектированию сопряжений участков автомобильных: дорог с разной величиной пучения с помощью клиновидной конструкции теплоизоляции / Союздорнии. - Балашиха, 1980;

Методические рекомендации по применению теплоизолирующих слоев из пенопласта для снижения объема земляных работ / Союздорнии. - Балашиха, 1988.

1.3. Исходными данными для выбора и разработки противопучинных мероприятий являются результаты обследования пучинистых участков, методика выявления и обследования которых описаны в разд. 2 настоящих Рекомендаций.

1.4. Выбор мероприятий для последующего экономического сравнения вариантов производят в соответствии с табл. 2.1, где наряду с рекомендациями приведены и общепринятые решения.

2. МЕТОДИКА ВЫЯВЛЕНИЯ И ОБСЛЕДОВАНИЯ УЧАСТКОВ ПУЧИНООБРАЗОВАНИЯ

2.1. Общие сведения

2.1.1. Пучинами называют деформации дорожных одежд и земляного полотна, проявляющиеся зимой во взбугривании и потере ровности покрытия, а в период оттаивания при проезде автомобилем - в проломах одежды, вызванных снижением прочности переувлажненных грунтов. Классификация условий образования пучин показана в табл. 2.1.

2.1.2. Внешними признаками пучинистых мест в зимний период являются неравномерное поднятие участков покрытия, взбугривания отдельных мест покрытия или образование группы взбугриваний, развитых по площади проезжей части с различной степенью интенсивности. Значительная часть из них, как правило, имеет сетку трещин, концентрирующуюся у вершины бугров пучения, которые разрубают покрытие на отдельные куски различной величины и формы. Образование пучин может развиваться как по ширине проезжей части, так и вдоль нее. Иногда пучины в большей степени развиваются на обочинах, и их поднятие может оказаться большим, чем в зоне проезжей части. В весенний период после схода снега на пучинистых участках могут появляться влажные пятна, наблюдается иногда выход вместе с водой мелких частиц дренирующего слоя или грунта земляного полотна, а также волнообразные колебания дорожной конструкции при наезде транспортных средств. Эти участки имеют, как правило, значительно пониженную прочность и интенсивно разрушаются (образование выбоин, просадок и т.д.).

2.1.3. По относительному превышению пучинистых участков (по сравнению с зоной равномерного пучения) их делят на:

бугры;

впадины;

перепады.

Таблица 2.1

Классификация пучин и мероприятий по их устранению или снижению активности

 

№ п/п

Наименование пучин (по генетическому характеру увлажнения грунтов)

Связь с грунтовыми и поверхностными водами

Характеристика процессов увлажнения

Основные мероприятия по ликвидации пучин

 

1

Гидрогеологические

Связаны преимущественно с высоким стоянием грунтовых вод. Накопление влаги происходит за счет капиллярного поднятия грунтовых вод преимущественно в осенний и частично в зимний периоды

Резкое поднятие горизонта грунтовых вод в начале осенне-зимнего периода и высокое стояние его весной

Резкое возрастание влажности верхнего слоя грунтов насыпи в начале зимы с последующим затуханием процесса к концу зимы

Увеличение высоты насыпи.

Устройство дренажа.

Замена грунта.

Калилляропрерывающие прослойки в основании насыпи.

Дренирующие прослойки в дорожной одежде или верхней части насыпи.

Усиление конструкции дорожной одежды, в том числе армирование

 

2

Температурные

Связаны с перемещением грунтовых вод к зоне промерзания под действием значительных температурных градиентов и длительными сроками их действия

Циклическое изменение влажности верхней части грунтов земляного полотна

Интенсивное накопление ледяных прослоек у границы промерзания

Теплоизолирующие прослойки в дорожной одежде или верхней части насыпи.

Введение солей, понижающих температуру замерзания и препятствующих перераспределению влаги при замерзании.

Устройство дренажа

Усиление конструкции дорожной одежды, в том числе армирование.

3

Поверхностные

Связаны с длительным стоянием поверхностных вод, обильным выпадением атмосферных осадков и их проникновением через трещины покрытия в грунт земляного полотна в осенне-зимний период, плохой организацией работ по снегоочистке дорог

Переувлажнение обочин и откосов в начале осенне-зимнего периода.

Перемещение влаги от обочин и откосов в конце зимы к более холодной проезжей части в результате перемещения снега с проезжей части на обочины

Гидроизоляция обочин.

Уборка снега с обочин.

Дренаж верхней части земляного полотна.

Усиление конструкции дорожной одежды, армирование.

Очистка и планировка кюветов, устройство отводных канав.

Гидроизоляция нижней или верхней частей насыпи

 

 

4

Смешанные

То же по пп. 1 - 3

То же по пп. 1 - 3

То же по пп. 1 - 3

Рис. 2.1. Разновидности пучин:

а - равномерное пучение; б - бугор пучения; в - впадина; г - перепад; 1 - положение дорожной одежды до пучения; 2 - то же, после пучения; lр lб lв lп - величины соответственно равномерного пучения, бугра пучения, впадин, перепада

Под пучинистым бугром (рис. 2.1) подразумевают наиболее вспученный локальный участок. Впадиной называют локальный участок с меньшим по сравнению с равномерным или нулевым поднятием, а границу между двумя зонами равномерного пучения с разной высотой поднятия - перепадом.

2.1.4. В соответствии с ВСН 46-83 зимнее вспучивание существенно не влияет на ровность покрытия и долговечность дорожной одежды, если общее поднятие проезжей части в процессе промерзания дорожной конструкции не превышает следующих допустимых значений lдоп., см.

Капитальная одежда:

цементобетонное монолитное покрытие                                                                      3

цементобетонное сборное покрытие                                                                             4

асфальтобетонное покрытие (горячая и теплая смеси I и II марок)                           4

Облегченная одежда:

асфальтобетонное покрытие (горячая и теплая смеси III марки)                               6

Переходная одежда                                                                                                           10

В восточных районах II и III дорожно-климатических зон значения lдоп. следует увеличивать на 20-40 % (большее значение - для облегченных и переходных дорожных одежд).

2.1.5. Наиболее пучиноопасными являются насыпи и выемки в пылеватых грунтах. Кроме того, опасны с позиций пучинообразования по:

а) гидрологическим и гидрогеологическим признакам:

равнинные участки с поверхностным застоем воды в придорожной полосе;

то же, с торфо-растительной прослойкой в основании насыпи;

-"- с высоко расположенным горизонтом грунтовых вод;

б) по орографическим, грунтовым, конструктивным и технологическим признакам:

выпуклые и вогнутые переломы продольного профиля;

затяжные уклоны автомобильных дорог;

места пересечения микрологов, узких складок местности;

места примыкания съездов или других нарушений режима потока поверхностной воды по кюветам или боковым канавам;

места водосборов, малых искусственных сооружений;

места выхода грунтовых вод и наледных вод;

места с дефектами при строительстве: перебор в скальной выемке, неправильное взаиморасположение грунтов в насыпи и т.д.;

места пересечения автомобильных дорог с подземными инженерными коммуникациями;

места натечных промышленно-хозяйственных вод и стоков.

Практика показывает, что первые три разновидности характерны для участков пучин большей протяженности, остальные для локальных пучин.

2.2. Выявление пучинистых участков и их предварительное обследование

2.2.1. Выявление и предварительное обследование пучинистых участков проводят визуальным осмотром дороги в зимне-весенний период, в том числе после того, как покрытие очистилось от снега.

Существование пучин на данном участке дороги определяют по наличию характерных деформаций (см. пп. 2.1.2 и 2.1.3).

2.2.2. Работы по п. 2.2.1 проводят для определения характера поражения участков дороги пучинами, степени их развития, состояния покрытия; оценивают возможные причины образования пучин (состояние водоотвода, наличие общей трещиноватости покрытия проезжей части, состояние обочин, рельеф местности и т.д.), снижения прочности дорожной конструкции, необходимость введения неотложных мероприятий (закрытие дороги, ограничение движения и т.д.) для исключения интенсивного разрушения дорожной конструкции.

2.2.3. После выявления пучинистого участка ему присваивают номер и определяют его протяженность (от КМ+ ... до КM+).

2.2.4. По данным паспорта дороги и проектным данным на обследуемом участке выясняют дополнительный данные (толщину конструктивных слоев дорожной одежды, наличие и характеристики дренирующего слоя, вид подстилающего грунта, уровень грунтовых вод и т.д.).

2.2.5. По результатам анализа данных предварительного обследования назначают мероприятия по борьбе с пучинами.

2.3. Детальное обследование

2.3.1. Детальное обследование проводят в случае, если на стадии предварительного обследования не удается установить причины образования пучин и выбрать мероприятия для их ликвидации.

2.3.2. Детальное обследование включает виды работ:

нивелировочные;

полевые инженерно-геологические;

обработку результатов.

2.3.3. Нивелировочные работы проводят с целью определения величины поднятия дорожной одежды при относительно равномерном пучении и при отсутствии явных визуальных примет пучинообразования (см. п. 2.1.2). Существование относительно равномерного пучения может быть выявлено на данном участке или вблизи него по наличию деформаций пучения в виде перепадов (см. п. 2.1.3). Для выяснения вопроса о необходимости проведения противопучинных мероприятий полученную при нивелировочных работах величину пучения сравнивают с допустимой (см. п. 2.1.4).

2.3.4. Перед проведением нивелировочных работ выбирают вблизи участка наблюдений репер, высотное и плановое положение которого не изменяется в процессе промерзания-оттаивания. В качестве репера могут быть использованы устои моста, оголовки трубы, цоколь здания с фундаментом, заложенным ниже границы промерзания, оголовок сваи, смотровые колодцы. При отсутствии указанных сооружений ниже глубины промерзания закладывают специальный репер, конструкция которого показана на рис. 2.2.

Рис. 2.2. Схема конструкции репера для нивелировочных работ на пучинистых участках:

1 - цементобетонная плита 500x500x150; 2 - неподвижная труба; 3 - подвижная труба; 4 - заглушка; Нзагл. - заглубление в непромерзающий грунт; Нпр. - глубина промерзания грунта; Нр. - высота репера (неподвижной трубы); Нп - высота подвижной трубы над поверхностью земли

2.3.5. Нивелировку проводят по поперечникам, закладываемым на характерных участках, но не реже чем через 10 м.

Внутри поперечников отсчеты производят по характерным точкам (бугор, впадина, перепад), но не реже, чем через 0,5 м. Во избежание нарушения картины пучения не следует размещать точки снятия отсчетов в выбоинах.

2.3.6. Результаты заносят в обычные журналы нивелировочных работ с составлением плана расположения точек отсчетов на поперечниках (рис. 2.3). По этим точкам проводят изолинии равных значений величины пучения через интервалы, соответствующие допустимой величине пучения для различных типов покрытия (см. п. 2.1.4).

2.3.7. Обработка результатов нивелировки заключается в определении средней величины пучения (lпуч.ср.), максимальной величины пучения (lмакс.), минимальной величины пучения (lмин.) на участке, коэффициента пучения (Кпуч.) и коэффициента неравномерности пучения (Кнер.пуч).

2.3.8. Величину пучения находят в данной точке по формуле

lпуч. = lзим.(весен.) - lлет(осен.),                                                 (2.1)

где lзим.(весен.) - отметка точки в зимне-весенний период;

       lлет(осен.) - то же, в летне-осенний период.

Рис. 2.3. Схема пучинистого участка N … (КМ+...¸КМ+...):

обозначение номеров: I ¸VI - поперечников; 1 ¸ 9 - скважин; 1 - 72-точек замеров; цифры в скобках - величины пучения, lпуч.,i, мм; -20- - изолинии равной величины пучения; lоб. - ширина обочины, м; lпр.ч. - ширина проезжей части, м.

2.3.9. Среднюю величину пучения определяют по формуле

lпуч.ср = ,                                                           (2.2)

где  - сумма величин пучения в каждой точке по поперечникам на данном участке; N - количество точек на участке.

2.3.10. Коэффициент пучения выражается формулой:

Кпуч.=,                                                             (2.3)

где hпромерз. - глубина промерзания.

2.3.11. Коэффициент неравномерности пучения определяют по формуле

Кнер.пуч. =

где lмакс. и lмин. - см. п. 2.3.7.

Допустимая величина коэффициента для дорог с асфальтобетонным покрытием Кнер.пуч. = 0,35.

2.3.12. Полевые инженерно-геологические работы состоят в бурении скважин с отбором проб материала дренирующего слоя и грунта насыпи, определения уровня грунтовых вод, оценки границы глубины промерзания, развития, прослоек льда, как непосредственно в местах пучинообразований, так и на соседних участках, где нет пучин. Отбор проб грунта производят не реже чем через 0,5 м. Скважины бурят на глубину до 2,5 м. На поперечниках, которые назначают исходя из местных условий или по результатам нивелирования, бурят три скважины (ось, правая и левая обочины). При работе буром геолога дорожную одежду вскрывают лунками. Описание лунок и пробуренных скважин производят в специальном журнале обследования, пучинистых участков по форме, указанной в таблицах 2.2 и 2.3.

Кроме того, при полевых работах оценивают состояние (по трещиноватости) покрытия проезжей части, обочин, а также состояние дренажных, водоотводящих устройств с позиций их стоковой способности, наличие длительно стоящих поверхностных вод, определяют геометрические параметры насыпи.

Таблица 2.2

Описание дорожной одежды по промерам в лунках

Поперечник КМ+ и протяженность характерного участка от КМ+ до КМ+

Конструктивный слой дорожной одежды (толщина слоя, см)

Расстояние от оси влево, … м

Ось

Расстояние от оси вправо, ...м

Ширина покрытия, м

Примечание

толщина, см

состояние слоя

Толщина, см

состояние слоя

толщина, см

состояние слоя

 

 

 

 

 

 

 

 

 

 

Таблица 2.3

№ выработки, местоположение (ось, обочина и т.д.)

№ образцов, бюксов и глубина взятия, м

Вертикальный разрез

Наименование слоя, глубина подошвы, м

Мощность слоя, м

Цвет, окраска

Степень влажности, признаки оголения

Степень плотности

Новообразования (мерзлые включения)

УГВ, (появившийся и установившийся)

 

 

 

 

 

 

 

 

 

 

2.3.13. Лабораторные работы по исследованию свойств грунтов включают определение по стандартным методикам следующих показателей:

для связных грунтов:

естественная влажность грунта;

влажность на границе раскатывания;

влажность на границе текучести;

число пластичности;

грансостав;

наименование грунта;

для несвязных грунтов:

грансостав;

наименование грунта;

коэффициент фильтрации.

2.3.14. Обработка результатов полевого обследования и лабораторных испытаний заключается в следующем:

определение наименования грунта по степени пучинистости (см. таблицы 6, 7 прил. 2 СНиП 2.05.02.85);

составление инженерно-геологических разрезов по продольному профилю дороги и поперечникам, нанесение на них полевого описания геологии по скважинам и характеристик грунта по результатам лабораторных испытаний.

3. ПРИМЕНЕНИЕ ТРАНШЕЙНОГО ДРЕНАЖА

3.1. Общие сведения

3.1.1. Траншейный дренаж применяют в условиях, когда уровень грунтовых вод оказывает существенное влияние на влажность грунтов рабочего слоя земляного полотна - обычно третий тип местности по условиям увлажнения, расположения уровня грунтовых вод не глубже 1 - 1,5 м от дневной поверхности, высоты насыпей в пределах значений, регламентируемых табл. 21 СНиП 2.05.02-85. Цель применения - понижение, перехват и отвод грунтовых вод, снижение за счет этого влажности грунтов рабочего слоя и величины пучения.

3.1.2. В отдельных случаях траншейный дренаж служит дополнительно для предотвращения поступления влаги атмосферных осадков в рабочий слой земляного полотна через обочины, откосы, для чего требуется применение специальных конструктивных решений (пп. 3.2.9, 3.2.10).

3.1.3. Дренаж по пп. 3.1.1 и 3.1.2 может быть применен как при реконструкции автомобильных дорог, так и при их ремонте на пучинистых участках в случае, когда рельеф местности позволяет выполнять сброс перехватываемого дренажом потока вблизи этих участков.

3.1.4. При проектировании траншейного дренажа следует руководствоваться пп. 3.2 и 3.3 настоящих Рекомендаций и учитывать положения других нормативно-технических документов, в том числе в части подбора размеров дрены (см. Дренажные устройства земляного полотна автомобильных дорог общей сети СССР. Типовые проектные решения, сер. 503-0-43/ Минтрансстрой СССР. - М., 1981) и в части технологии производства работ (см. разд. 5 ВСН 49-86). Учет данных работ в сметной документации выполняют в соответствии с единичными расценками по прил. 1 настоящих Рекомендаций. Причем для устройства траншей обычно используют экскаваторы, оборудованные обратной лопатой с ковшом емкостью до 0,35 м3, траншеекопатели роторного типа. Наибольшая производительность выполнения работ может быть обеспечена при применении экскаваторов-дреноукладчиков ЭТЦ-406, ЭТЦ-206. При производстве работ в пределах обочины наиболее целесообразно использовать экскаватор на базе трактора «Беларусь».

3.2. Конструкция земляного полотна с траншейным дренажем

3.2.1. Такие конструкции применяют в зависимости от притока воды, глубины промерзания и залегания грунтовых вод, ширины земляного полотна, рельефа местности.

3.2.2. При назначении конструкции земляного полотна с траншейным дренажом следует учитывать следующие общие положения:

уклон дренажа должен превышать 3 %о, причем оптимальное его значение - 6 %о;

при расположении водоупора на глубине до 3 м дренаж рекомендуют заглублять в него (дренаж совершенного типа), при этом глубина дренажа должна превышать глубину промерзания не менее чем на 0,3 м;

скорость течения воды в трубах дренажа должна составлять 0,3 - 1,0 м/с.

3.2.3. Основные конструкции земляного полотна с траншейным дренажом представлены на рис. 3.1, основные конструкции дренажей - на рис. 3.2.

3.2.4. Двусторонний или односторонний подкюветный дренаж по рис. 3.1а, б применяют в случаях, когда по условиям строительства возможно выполнение работ у подошвы насыпи, т.е. обеспечен проход экскаватора (свободный или после минимальной подготовки). Односторонний дренаж приемлем в большинстве, случаев при одностороннем притоке воды и ширине насыпи, характерной для дорог не выше II категории. Окончательный выбор варианта (односторонний или двусторонний дренаж) следует принимать после выполнения расчетов по п. 3.3 и анализа объема работ, требуемого для получения одной величины снижения уровня грунтовых вод.

3.2.5. Двусторонний или односторонний дренаж на обочине по рис. 3.1в, г устраивают в случае технической нецелесообразности работ у подошвы насыпи при ширине обочины не менее 2,5 м. Такой дренаж приемлем при высоте насыпей до 1,5 м, а также в случаях, когда необходимо получить эффект с точки зрения уменьшения поступления потока со стороны обочин и откосов в рабочий слой земляного полотна (пп. 3.2.9 и 3.2.10). Односторонний дренаж применяют обычно при одностороннем притоке воды, ширине земляного полотна, характерной для дорог не выше II категории, и отсутствии необходимости получения названного выше дополнительного эффекта. Окончательный выбор варианта следует принимать после выполнения расчетов по п. 3.3 и анализа объема работ, требуемого для получения одной величины снижения уровня грунтовых вод.

Рис. 3.1. Основные конструктивные решения земляного полотна с траншейным дренажом:

а, б - соответственно подкюветные односторонний и двусторонний дренажи;

в, г - соответственно прикромочные односторонний и двусторонний дренажи;

ΔН - величина снижения уровня грунтовых вод (УГВ)

Рис. 3.2. Основные конструкции траншейного дренажа:

1 - связный грунт; 2 - рулонный водонепроницаемый материал; 3 - засыпка из песка крупнозернистого с Кф = 5 м/сут.; 4 - щебеночный (гравийный) фильтр; 5 - дрена; 6 - засыпка из песка мелкого с Кф = 3 - 5 м/сут.; 7 - геотекстиль; 8 - анкер; 9 - дренирующий слой дорожной одежды; 10 - «складки» из геотекстиля (по а.с. № 1484862); d - диаметр дрены

3.2.6. Конструкция дренажей по рис. 3.2 принимают по результатам экономического сопоставления вариантов. Целесообразно использовать в качестве фильтров таких дренажей геотекстильные материалы, перечисленные в табл. 3.1, что позволит, во-первых, снизить требования к материалам засыпки и, во-вторых, повысить надежность работы дренажей. Для создания водонепроницаемого экрана в верхней части дренажа применяют (в сочетании с устройством слоя утрамбованного связного грунта) рулонные водонепроницаемые материалы (см. табл. 4.1). В качестве дрен предпочтительно применять трубофильтры по ТУ 33-5-75, изготовляемые ЦНИИСом, или трубы из полимерных материалов. Последние требуют создания фильтра. Их можно укладывать при температуре не ниже -5 °С на глубине до 3 м в малокислотных и малощелочных средах (рН 4¸9) при грунтовых водах с наличием железистых соединений до 50 г/л. В то же время при равном диаметре они имеют в 2-3 раза меньшую стоимость и более технологичны. Могут быть применены также трубы из полимеров высокой плотности (полиэтилена) по ТУ 6-05-1078-78, ТУ 6-19-224-83 производства Вильнюсского, Борисовского заводов пластмассовых изделий, экспериментального завода ВНИИВодполимера и поливинилхлорида по ТУ 61-УССР-72-72 производства Ирпенского комбината «Прогресс».

Таблица 3.1

Перечень основных отечественных геотекстильных материалов-фильтров

Материал

Изготовитель

Ориентировочные характеристики

1. Дорнит по ТУ-63.032-19-89, тип 1 - 3, нетканый, иглопробивной из смеси волокон

Ленинградская, Антропнинская, Омская, Челябинская, Хабаровская, фабрики нетканых материалов, комбинат «Прогресс» (г. Ирпень), Владивостокская фабрика напольных покрытий «Радуга», московское производственное предприятие нетканых материалов, объединение «Гомельстройматериалы»

Кф ≥ 100 м/сут.

b до 2,5 м

В = 50 - 100 Mкм

q = 500 г/м2

С = 1,6 руб./м2

2. Нетканый иглопробивной материал из капроамида по ТУ 6-06-С105-84

Кемеровское ПО Союзхимволокно, Гродненское ПО Химволокно

b = 2,5 ¸ 3,5 м

Кф = 80 м/сут.

В » 60 Mкм

С = 1,2 руб./м2

3. Армодор 3с по ТУ 17-28-ОП-89 или по ТУ 17-14-255-Д иглопробивной термоскрепленный

Сыктывкарская фабрика нетканых материалов

b £ 4,0 м

Кф = 40 м/сут.

В = 40 Mкм

q = 160 г/м2

С = 0,68 руб./м2

4. Нетканый иглопробивной из полипропиленовых волокон по ТУ 6-06-С254-88

Каменское ПО Химволокно (г. Каменск-Шахтинск)

b = 2,5 м

Кф = 10 м/сут.

В = 60 Mкм

q = 500 г/м2

С = 1,1 руб./м2

5. Свтекс по ТУ 1867888-88 ОП-1, тип 1, 2, нетканый иглопробивной

Совместное советско-венгерское предприятие «Свтекс» (г. Москва)

b = 2,4 м

Кф = 100 м/сут.

В » 60 Mкм

q = 600 г/м2

С = 1,7 руб./м2

Примечание. b - ширина полотна; Кф - коэффициент фильтрации; В - фильтрующая способность; q - поверхностная плотность; С - оптовая цена.

При отсутствии таких труб применимы керамические дренажные по ГОСТ 8411-74, асбоцементные по ГОСТ 1839-72.

3.2.7. Дренаж по рис. 3.2а предусматривает засыпку из гравелистого или крупнозернистого песка с Кф > 5 м/сут., фильтр из щебеночного или гравийного материала 10 - 20 мм вокруг дрены. Тот же дренаж, но по рис. 3.2б включает устройство фильтра из геотекстиля вокруг щебеночного (гравийного) фильтра, что дает возможность снизить требования к песку засыпки (песок мелкий с Кф = 3-5 м/сут.) и повысить надежность дренажа.

3.2.8. Дренаж по рис. 3.2в предусматривает обертывание дрен в фильтр из геотекстиля на всем ее протяжении при наличии отверстий в дрене или только в местах стыков (на ширину более 0,5 м) для коротких труб.

3.2.9. Дренаж по рис. 3.2г, в отличие от дренажа по рис. 3.2б (п. 3.2.7) требует устройства дополнительной дренирующей прослойки из геотекстиля по пп. 1, 2, 4, 5 табл. 3.1 по ближайшей к проезжей части стороне траншеи на высоту засыпки и гидроизолирующей прослойки (см. табл. 4.1) по верху дренирующей прослойки с отгибом ее под утрамбованный грунт. Подобную конструкцию рекомендуют применять в дренаже на обочине для перехвата поверхностных вод, поступающих со стороны обочин и откосов.

3.2.10. Дренаж по рис. 3.2д, е устраивают на обочине в случаях, когда траншея не доходит до уровня грунтовых вод. Цель их применения - отвод проникающих в рабочий слой земляного полотна поверхностных вод, при гидроизоляции ближайшей к проезжей части стороны траншеи по типу рис. 3.2.г (п. 3.2.9) перехват поверхностных вод, поступающих со стороны обочин и откосов. Глубина траншеи в этом случае должна превышать толщину рабочего слоя на 0,5 м. Устройство такого дренажа целесообразно в 1, 2 типах местности по условиям увлажнения при рабочем слое земляного полотна из супесей пылеватых, тяжелых пылеватых или суглинков легких пылеватых, а также в случаях, когда пучение связано с избыточным увлажнением рабочего слоя из-за неудовлетворительной работы песчаного дренирующего слоя в результате его заиления или отсутствия выхода воды на откос. Дренажи такой конструкции применимы только для устройства дренажных прорезей.

3.3. Расчет величины вспучивания и толщины стабильных слоев дорожной одежды

3.3.1. Расчет ожидаемого зимнего вспучивания дорожной конструкции выполняют в зависимости от пониженного в результате применения траншейного дренажа уровня грунтовых вод. Величину понижения ΔНугв находят по номограммам на одном из рис. 3.3 - 3.6, каждый их которых относится к одной из разновидностей дренажей (совершенный, несовершенный, односторонний, двусторонний). Определение ΔНугв выполняют в зависимости от:

вида грунта (каждому из них соответствует определенная шкала L1¸6);

расстояние L от траншеи до оси земляного полотна при двустороннем или до сечения, проходящего через край проезжей части для одностороннего дренажа;

расстояние от начального уровня грунтовых вод до дрены

ΔНт=Нтр - Нугв;

расстояние от дрены до водоупора Т для несовершенного дренажа (дренажа, не доходящего до водоупора).

3.3.2. Расчет ожидаемого зимнего вспучивания (lпуч) для случая, когда глубина промерзания (Z) не превышает расстояния до уровня грунтовых вод (Нугв ) с учетом его понижения (отсчет Z и Нугв от поверхности покрытия), т.е. Z/Н £ 1,0, выполняют по зависимости

lпуч. = l΄·Z/α0,

где Z - расчетная глубина промерзания, см;

α0 - климатический показатель, см2/сут. (п. 4.21 ВСН 46-83);

l΄ - коэффициент, определяемый по рис. 3.7 в зависимости от уровня грунтовых вод Нугв (с учетом его понижения дренажом), глубины промерзания Z, толщины стабильных слоев дорожной одежды (в том числе дополнительного морозозащитного слоя) Z1 и вида грунта (каждому из них соответствует определенная шкала l1¸3), см2/сут.

3.3.3. Расчет толщины стабильных слоев дорожной одежды при Z/Н 1,0 выполняют по рис. 3.7, принимая величину коэффициента l΄ по зависимости

= lдоп.∙α0/Z,

где lдоп. - допустимое значение, общее поднятие (см. п. 2.1.4) проезжей части в процессе промерзания конструкции, см; остальные обозначения по п. 3.2.2.

3.3.4. В случае, если глубина промерзания (Z) превышает расстояние до уровня грунтовых вод (Z/Н > 1,0), то величину понижения уровня (ΔНугв.) назначают таким образом, чтобы условие Z/Н 1,0 соблюдалось, т.е. по зависимости ΔНугв. = ΔНугв. - Z. После этого необходимые расчеты выполняют по пп. 3.3.2 и 3.3.3, а затем по величине назначенного требуемого ΔНугв определяют параметры (глубину) траншейного дренажа по номограмме на рис. 3.3-3.6.

Рис. 3.3. Номограмма к расчету понижения УГВ (ΔНугв.) для двустороннего несовершенного дренажа.

Шкалы расстояний L, м: L1 - для песка; L2 - супеси; L3 - торфа слаборазложившегося; L4 - суглинка; L5 - торфа сильноразложившегося; L6 - глины. Цифры на кривых - величина Т, м

Рис. 3.4. Номограмма к расчету ΔНугв. для одностороннего несовершенного дренажа (обозначения см. на рис. 3.3)

Рис. 3.5. Номограмма к расчету ΔНугв для двустороннего совершенного дренажа (Т=0, обозначения см. на рис. 3.3)

Рис. 3.6 Номограмма к расчету ΔНугв для одностороннего совершенного дренажа (Т=0, обозначения см. на рис. 3.3)

Рис. 3.7. Номограмма к расчету коэффициента l΄ или толщины слоев из стабильных материалов Z1 (случай Z/Н ≤ 1);

Z - глубина промерзания; Нугв - расстояние от поверхности покрытия до УГВ; шкалы l΄: это l΄1 - для супесей тяжелых пылеватых, суглинков легких пылеватых; l΄2 - супеси пылеватые, суглинки тяжелые пылеватые, пески пылеватые; l΄3 - глины, суглинки непылеватые, суглинки легкие

3.3.5. Используя номограммы на рис. 3.3 - 3.7, можно решать обратную задачу с определением требуемого понижения уровня грунтовых вод, а значит, и глубины траншеи при заданном значении величины вспучивания. Для этого по рис. 3.7 или 3.8, принимая соответствующие определенным допустимым величинам вспучивания параметры l΄ (п. 3.3.3), находят соответствующее этому вспучиванию требуемое значение уровня грунтовых вод (ΔНугв).

После этого определяют требуемое снижение уровня грунтовых вод (ΔНугв) как разницу между фактическим и требуемым значениями уровня грунтовых вод. По номограммам на рис. 3.3 - 3.6 по найденному значению ΔНугв и известному L (п. 3.3.1) находят величину ΔНт, а по ней требуемую глубину траншеи Нт = Нугв + ΔНт.

3.3.6. При использовании дренажей на обочине по пп. 3.2.9 и 3.2.10 для целей перехвата поверхностных вод со стороны обочин и откосов в условиях, когда влияние уровня грунтовых вод на влажность земляного полотна отсутствует, значение величины вспучивания во втором типе местности по условиям увлажнения может быть определено по пп. 4.3.2 - 4.3.4 при рабочем слое земляного полотна из супесей пылеватых, тяжелых пылеватых и суглинков легких пылеватых.

4. ГИДРОИЗОЛЯЦИЯ ЗЕМЛЯНОГО ПОЛОТНА

4.1. Общие сведения

4.1.1. Гидроизоляцию земляного полотна применяют:

а) для предотвращения поступления влаги атмосферных осадков в тело земляного полотна через неукрепленные обочины или обочины, укрепленные водопроницаемым материалом;

б) то же, сквозь дорожное покрытие переходного типа или разрушенное асфальтобетонное покрытие;

в) для предотвращения поступления в грунты насыпи воды из кюветов при длительном осеннем стоянии поверхностных вод;

г) для предотвращения поступления грунтовых вод в грунты насыпи при их промерзании или для прерывания капиллярного поднятия грунтовых вод.

4.1.2. Гидроизоляция по п. 4.1.1а может быть применена при ремонте или реконструкции автомобильных дорог.

4.1.3. Гидроизоляция по п. 4.1.1б может быть использована при реконструкции или ремонте сильно разрушенной дорожной одежды.

4.1.4. Гидроизоляция по пп. 4.1.1в и 4.1.1г может быть применена при реконструкции дороги на участках переноса трассы или при увеличении высоты насыпи.

В отдельных случаях при небольшой высоте насыпи и соответствующем технико-экономическом обосновании гидроизоляционная прослойка может быть уложена с предварительным перемещением верхней части насыпи бульдозером и обратным ее возведением после укладки гидроизоляции.

4.1.5. В качестве гидроизолирующих прослоек могут быть использованы отечественные гидроизоляционные материалы, перечисленные в табл. 4.1. Возможно применение тканых и нетканых синтетических материалов, обработанных битумом до их полной водонепроницаемости. Последняя достигается созданием на поверхности синтетического материала сплошной пленки битума.

Таблица 4.1

Перечень основных отечественных гидроизоляционных материалов

Материалы

Марка

Прочность при разрыве

Морозостойкость, °С

Термопластики (безосновные резинобитумные рулонные материалы)

Изол (ГОСТ 10296-79)

И-БД, И-ПД

0,55-0,6 МПа

-45

Бризол (ГОСТ 17176-71)

БР-С, БР-П

0,8 МПа

-15 ¸ -20

Борулин

Б

30 н/см

-20 ¸ -30

Гидроизоляционный материал на основе полиизобутилена

ГМП-8, -10, -12

1-1,2 МПа

-30

Пленки (полимерные безосновные рулонные материалы)

Полиэтиленовая (ГОСТ 10354-82)

В, Н, СК, СИК, СТ, Т, М, СМ

10-45 МПа

-60 ¸ -70

Поливинилхлоридная пластифицированная (ГОСТ 16272-79)

В, М-40, М-50, Э, С, Ф, Г, К

10-50 МПа

-20 ¸ -50

Поливинилхлоридная (ГОСТ 25250-82)

П-74, ЭМ

29,4-39,2 МПа

-30

Полиамидная

А, Б, В

15-25 МПа

-20

Армодор (ТУ-63-178-112-87)

-

39-60 н/см

-20

Основные рулонные материалы

Гидроизол (ГОСТ 7415-86)

ГИ-Г

60-70 н/см

-15

Рубероид (ГОСТ 10923-82)

РКП-350а, РКП-350Б РПП-300а, РПП-300Б, РПЗ-300

50-70 н/см

-15

Стеклорубероид (ГОСТ 15879-70)

С-РМ

60 н/см

-15

Бумага двуслойная упаковочная (по ГОСТ 8828-75), обработанная битумом

_

70 н/см

-20

4.1.6. Вопросы технологии укладки синтетических материалов изложены в ВСН 49-86.

4.2. Конструкции земляного полотна и дорожных одежд с гидроизолирующими прослойками

4.2.1. Основные варианты конструкций земляного полотна и дорожных одежд с гидроизолирующими прослойками показаны на рис. 4.1.

4.2.2. Конструкцию по рис. 4.1а применяют для предотвращения поступления воды атмосферных осадков в земляное полотно через неукрепленные или укрепленные водопроницаемыми материалами обочины.

Гидроизолирующие прослойки расположены на участках песчаного дренирующего слоя дорожной одежды, выходящих на обочины. Уклон прослойки в сторону откоса составляет 30 - 40 %о.

4.2.3. Конструкцию по рис. 4.1б, в применяют для гидроизоляции верхней части земляного полотна автомобильных дорог с переходными и разрушенными асфальтобетонными типами покрытия. Конструкцию на рис. 4.1б, I используют при серповидном профиле дорожной одежды, а II - при полукорытном профиле для переходных типов покрытия; по рис. 4.1в - при асфальтобетонном покрытии.

При ремонте разрушенного асфальтобетонного покрытия гидроизолирующую прослойку укладывают на обработанную битумом поверхность старого покрытия с предварительной заделкой трещин, по установленной в практике ремонта технологии. Слой усиления затем укладывают на обработанную битумом гидроизолирующую прослойку.

4.2.4. Для гидроизоляции нижней части земляного полотна с целью предотвращения поступления воды из кюветов при длительно стоящих в летне-осенний период поверхностных или при близком стоянии грунтовых вод применяют конструкцию на рис. 4.1г, д. Гидроизолирующую прослойку укладывают с уклоном 30-40 %о в сторону откосов на песчаный слой толщиной 0,2 м с коэффициентом фильтрации Кф 1,0 м/сут. При длительно стоящих поверхностных водах песчаный слой устраивают таким образом, чтобы его верхняя граница была на 0,2 м выше наиболее высокого уровня поверхностных вод.

4.3. Расчет величины вспучивания и толщины стабильных слоев дорожной конструкции с гидроизолирующими прослойками в нижней части насыпи (рис. 4.1в, г)

4.3.1. Расчет ожидаемого зимнего вспучивания (lпуч.) дорожной конструкции проводят в зависимости от отношения расчетной глубины промерзания (Z) к уровню грунтовых вод (Н).

Таблица 4.2

Снижение расчетной влажности (ΔW) грунтов рабочего слоя при использовании гидроизолирующей прослойки в нижней части насыпи (в долях W/Wт)

Наименование грунтов

Дорожно-климатическая зона

II1

II2

III

IV

Тип местности по условиям увлажнения

2

3

2

3

2

3

2

3

Суглинок:

 

 

 

 

 

 

 

 

легкий

0,07

0,05

0,06

0,04

0,04

0,04

0,03

0,03

легкий пылеватый

0,10

0,08

0,08

0,06

0,06

0,06

0,04

0,04

тяжелый пылеватый

0,09

0,07

0,06

0,04

0,05

0,05

0,04

0,04

тяжелый, глина

0,08

0,06

0,07

0,05

0,05

0,05

0,03

0,03

Супесь:

 

 

 

 

 

 

 

 

легкая

0,07

0,05

0,06

0,04

0,04

0,04

0,04

0,04

пылеватая

0,07

0,05

0,06

0,04

0,05

0,05

0,04

0,04

тяжелая пылеватая

0,05

0,03

0,05

0,03

0,04

0,04

0,04

0,04

Песок мелкий пылеватый

0,07

0,05

0,06

0,04

0,04

0,04

0,03

0,03

Рис. 4.1. Конструкции земляного полотна с гидроизолирующими прослойками:

а - гидроизоляция обочин; б - то же дорог с переходным типом покрытия; I - серповидный профиль; II - полукорытный профиль; в - гидроизоляция разрушенного асфальтобетонного покрытия (1 - разрушенное покрытие; 2 - слой усиления); г - гидроизоляция нижней части насыпи при длительном стоянии поверхностных вод; д - гидроизоляция нижней части насыпи при близком уровне грунтовых вод

Таблица 4.3

Характеристика грунтов по степени пучинистости при наличии гидроизолирующей прослойки в нижней части насыпи

Пучинистость грунта

Наименование грунта

Тип местности по условиям увлажнения

Среднее относительное морозное пучение lпуч.ср. % при Z = 1,5 м

Группа грунта по степени пучинистости

Слабопучинистый

Супесь легкая, суглинки легкие и тяжелые, глины, песок пылеватый, супеси пылеватые, суглинок тяжелый, пылеватый

2-3

2-4

III

Пучинистый

Супесь тяжелая пылеватая, суглинок легкий пылеватый

2-3

4-7

IV

При отсутствии данных непосредственных измерений глубина промерзания может быть определена по рис. 4.3 ВСН 46-83.

4.3.2. При Z/Н 1,0 величину ожидаемого вспучивания находят по номограммам на рис. 4.2 и 4.3, построенным в координатах lпуч.∙α0/Z, и Z1/Z, где α0, см2/сут - климатический показатель, определяемый по рис. 4.4 ВСН 46-83 или по формуле (4.2) ВСН 46-83, а Z1 - толщина стабильных, слоев дорожной одежды, в том числе и дополнительного морозозащитного слоя.

При этом номограммой по рис. 4.2 пользуются для супеси тяжелой пылеватой и суглинка легкого пылеватого, а номограммой по рис. 4.3 - для остальных связных и малосвязных грунтов.

4.3.3. Если при использовании гидроизолирующей прослойки величина ожидаемого вспучивания получена больше допустимой величины lдоп. (см. п. 2.1.4 Рекомендаций), то увеличивают толщину стабильных слоев дорожной одежды.

4.3.4. Толщину стабильных слоев дорожной одежды с учетом величины вспучивания при наличии гидроизолирующей прослойки определяют по номограммам 4.2 и 4.3 аналогично п. 4.20 ВСН 46-83. При этом вместо отношения lпуч.∙α0/(ВZ) по ВСН 46-83 в соответствии с номограммами 4.2 и 4.3 используют отношение lпуч.∙α0/Z.

4.3.5. При необходимости определение величины зимнего вспучивания (lпуч.) и проверку на морозостойкость конструкции с толщиной слоев из стабильных материалов (Z1) проводят в соответствии с прил. 7 ВСН 46-83. При этом величину расчетной влажности (W) по табл. 6 ВСН 46-83 понижают на значение ΔW по табл. 4.2 настоящих Рекомендаций, а среднее относительное пучение и группу грунта по степени пучинистости - по табл. 4.3.

4.4. Расчет величины вспучивания и толщины стабильных слоев дорожной конструкции с гидроизолирующими прослойками в верхней части насыпи

4.4.1. При устройстве гидроизолирующих прослоек в верхней части насыпи расчеты на морозоустойчивость проводят только для условия Z/Н > 1,0 (см. п. 4.3.1).

4.4.2. Расчет величины пучения (lпуч.) и толщины стабильных слоев Z1 проводят по прил. 7 ВСН 46-83. При этом величина расчетной влажности по табл. 6 ВСН 46-83 для случая гидроизоляции обочин (см. рис. 4.1а) понижается во II, III и IV дорожно-климатических зонах соответственно на 0,05; 0,04 и 0,03 W/Wт.

При перекрытии гидроизолирующей прослойки верхней части земляного полотна (см. рис. 4.1б) понижение значений расчетной влажности по табл. 6 ВСН 46-83 принимают по табл. 4.4 настоящих Рекомендаций.

Рис. 4.2. Номограмма для расчета конструкции на морозоустойчивость:

1 - слои из стабильных материалов; 2 - грунт земляного полотна: супесь тяжелая пылеватая, суглинок легкий пылеватый

Рис. 4.3. Номограмма для расчета конструкции на морозоустойчивость:

1 - слои из стабильных материалов; 2 - грунт земляного полотна: супесь легкая, суглинки легкие и тяжелые, глины, песок пылеватый, супеси пылеватые, суглинок тяжелый пылеватый

Таблица 4.4

Снижение расчетной влажности (ΔW) грунтов при использовании гидроизолирующей прослойки в верхней части насыпи (в долях W/Wт)

Наименование грунтов

Дорожно-климатическая зона

II1

II2

III

IV

тип местности по условиям увлажнения

2

3

2

3

2

3

2

3

Суглинок:

 

 

 

 

 

 

 

 

легкий

0,05

0,04

0,04

0,04

0,02

0,01

0,02

0,01

легкий пылеватый

0,06

0,05

0,04

0,03

0,03

0,02

0,02

0,01

тяжелый пылеватый

0,07

0,06

0,05

0,03

0,04

0,02

0,03

0,02

Суглинок

 

 

 

 

 

 

 

 

тяжелый и глина

0,06

0,05

0,03

0,03

0,03

0,03

0,02

0,02

Супесь:

 

 

 

 

 

 

 

 

легкая

0,04

0,03

0,02

0,01

0,01

0,01

0,01

0,01

пылеватая

0,07

0,05

0,06

0,04

0,05

0,04

0,04

0,02

тяжелая пылеватая

0,04

0,03

0,02

0,01

0,02

0,01

0,01

0,01

Песок мелкий пылеватый

0,07

0,06

0,05

0,04

0,04

0,04

0,03

0,02

5. ДРЕНАЖНЫЕ СООРУЖЕНИЯ ДЛЯ СНИЖЕНИЯ ВЕСЕННЕГО ВЛАГОНАКОПЛЕНИЯ

5.1. Общие сведения

5.1.1. В настоящем разделе рассматриваются дренажные сооружения, предназначенные в первую очередь для удаления из земляного полотна и дренирующего слоя дорожной одежды избыточной влаги, поступившей в них за счет таяния снега, зимней миграции из нижележащих грунтовых вод и особенно характерной для пучинистых участков.

5.1.2. Все мероприятия данного раздела направлены на обеспечение величины расчетной влажности грунтов, соответствующей значениям ВСН 46-83 (прил. 2, п. II).

Кроме снижения весеннего влагонакопления, в дренирующих слоях происходит и частичное снижение осенней влажности, что, безусловно, положительно сказывается на уменьшении пучинообразования. Однако в настоящих Рекомендациях данный вопрос не рассматривается, что ведет в запас прочности при расчете конструкции дорожной одежды.

5.1.3. Дренажные сооружения для снижения весеннего влагонакопления включают:

комбинированный прикромочный дренаж;

комбинированный плоскостной горизонтальный дренаж;

поперечные дренажи мелкого заложения.

5.1.4. Выбор предлагаемых мероприятий для конкретных условий ремонтируемых участков автомобильных дорог определяется следующими факторами:

степенью разрушения дорожной одежды на пучинистом участке;

наличием геотекстильных материалов (ГМ) и дренажных труб;

высотой насыпи, продольным уклоном автомобильной дороги;

составом парка дорожных машин для устройства дренажных прорезей;

наличием местных дренирующих материалов.

Общий анализ факторов, влияющих на выбор противопучинного мероприятия, позволяет рекомендовать:

комбинированный прикромочный дренаж для пучинистых участков, где существующую дорожную одежду можно использовать в качестве основания при ремонте автомобильной дороги;

комбинированный геотекстильный дренаж, как универсальное мероприятие для большинства участков при наличии продольного уклона автомобильной дороги;

поперечный дренаж мелкого заложения для участков с сильно разрушенной дорожной одеждой, на участках с переходным типом покрытия, на участках с продольными уклонами свыше 20 %о.

5.1.5. Выбор каждого конкретного мероприятия должен сопровождаться технико-экономическим обоснованием.

5.2. Комбинированный прикромочный дренаж

5.2.1. Этот дренаж (рис. 5.1) состоит из прикромочного и плоскостного комбинированного дренажа, включающего фильтрующий ГМ и слабофильтрующий слой из местных дренирующих материалов.

5.2.2. Фильтрующий ГМ укладывают на спланированную с поперечным уклоном 10-30 %о поверхность дорожной одежды пучинистого участка. Для обеспечения ровности укладки ГМ на существующую дорожную одежду можно устраивать песчаный или песчано-гравийный выравнивающий слой минимальной толщины, обеспечивающей технологичность производства работ.

5.2.3. Фильтрующий слой из ГМ перекрывают местным дренирующим материалом (песчано-гравийной смесью, отходами камнедробления и т.п.). Укладка асфальтобетона непосредственно на ГМ недопустима.

5.2.4. Толщину слабофильтрующего слоя из местных дренирующих материалов определяют расчетом.

5.2.5. Прикромочный дренаж устраивают на глубину, превышающую толщину существующей дорожной одежды, на толщину дренажной трубы, песчаной подсыпки под нее и запаса, равного 0,1 м.

5.2.6. Дренажные трубы укладывают с продольным уклоном 5 - 10 %о, который обеспечивается постепенным изменением глубины дренажной прорези.

5.2.7. Расстояние между поперечными сбросами из дренажных труб определяют разностью минимального и максимального заглубления дренажной прорези прикромочного дренажа и ее продольным уклоном.

5.2.8. Дренажные трубы прикромочного дренажа обматывают противоизолирующим материалом из ГМ. Полотно ГМ выводят по внутренней стенке прикромочного дренажа и закрепляют металлическими костылями на поверхности, существующей дорожной одежды пучинистого участка.

5.2.9. Характеристики ГМ приведены в табл. 3.1 разд. 3. В п. 3.2.6 даны наименования заводов изготовителей и ТУ на дренажные трубы.

5.3. Комбинированный плоскостной горизонтальный дренаж

5.3.1. Этот дренаж (рис. 5.2) состоит из фильтрующего слоя, устраиваемого из отдельных продольных полос ГМ, укладываемых на поперечные геотекстильные жгуты и слабофильтрующего слоя из местных дренирующих материалов.

5.3.2. Продольные полосы ГМ укладывают на спланированную с поперечным уклоном 10-30 %о поверхность дорожной одежды пучинистого участка.

5.3.3. Жгуты из ГМ укладывают на спланированную с поперечным уклоном 10-30 %о поверхность проезжей части (20-40 %о для обочин) и закрепляют на откосах насыпи металлическими скобами.

5.3.4. В качестве жгутов можно использовать водоотводящие фильтры для дорожного строительства из полотна иглопробивного (арт. 9345104).


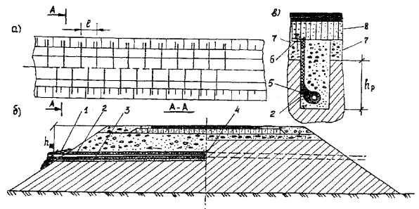
Рис. 5.1. Продольный комбинированный дренаж пучинистых участков:

а - поперечный разрез; б - продольный разрез на оси прикромочного дренажа; 1 - дорожная одежда после ремонта пучинистого участка; 2 - выравнивающий слой; 3 - геотекстильный материал; 4 - засыпка прикромочного дренажа; 5 - присыпная обочина; 6 - материал существующей обочины; 7 - земляное полотно; 8 - дренажная труба прикромочного дренажа; 9 - геотекстильная обмотка; 10 - разрушенная дорожная одежда пучинистого участка; 11 - дренирующий песчано-гравийный слой; 12 - костыли для крепления геотекстильного материала; 13 - подстилающий слой существующей дорожной одежды; 14 - дренажная труба поперечного сброса; 15 - соединительная муфта продольной и поперечной дренажных труб


Рис. 5.2. Комбинированный плоскостной горизонтальный дренаж:

а - поперечный разрез земляного полотна; б - продольный разрез на уровне фильтрующего слоя; в - сопряжение фильтрующего слоя с водоотводящим жгутом; 1 - геотекстильный жгут; 2 - продольные полосы геотекстильного материала; 3 - дренирующий слой; 4 - дорожная одежда после ремонта пучинистого участка; 5 - разрушенная дорожная одежда; 6 - земляное полотно пучинистого участка; 7 - скобы для крепления жгута на откосах насыпи

5.3.5. Продольные полосы ГМ (при их ширине 1,5 - 2,5 м) достаточно уложить под полосами наката и осью проезжей части.

5.3.6. Возможно, выполнение ремонтных работ с пропуском транзитного движения по одной стороне проезжей части. При этом поперечные жгуты можно укладывать в шахматном порядке по обе стороны от оси проезжей части.

5.3.7. Обязательным условием при устройстве дорожной одежды на ремонтируемом участке является перекрытие полос ГМ слабофильтрующим слоем местных дренирующих материалов.

Укладка асфальтобетона непосредственно на полосы ГМ недопустима.

5.4. Поперечный дренаж мелкого заложения

5.4.1. Данный дренаж (рис. 5.3) представляет систему дренажных труб в противозаиливающей обмотке, укладываемых в шахматном порядке в обе стороны от оси дороги с уклоном 20-40 %о.

5.4.2. Дренажные водоотводящие трубы могут быть различной конструкции.

5.4.3. Для этой цели допустимо применять водоотводящие фильтры для дорожного строительства из полотна иглопробивного (арт. 9345104).

5.4.4. Выпуски дренажных труб на откосах земляного полотна и под осью проезжей части должны быть закрыты двумя-тремя слоями противозаливающего ГМ.

5.4.5. На концевых выпусках дренажных труб, на откосах земляного полотна следует устраивать фильтрующую обсыпку.

5.4.6. Возможны конструкции поперечных дренажей (рис. 5.4). В этом случае уклон дна дренажа в пределах проезжей части и обочин составляет соответственно не менее 0,03 и 0,08.

Рис. 5.3. Конструкция поперечного дренажа мелкого заложения:

а - план размещения дренажных труб; б - поперечный разрез земляного полотна; в - сопряжение геотекстильной обмотки с поверхностью дорожной одежды; 1 - выпуск дренажной трубы; 2 - геотекстильная обмотка; 3 - песчаная подушка; 4 - противозаиливающая обмотка начала дрены; 5 - дренажная труба; 6 - костыль для крепления геотекстильной обмотки; 7 - поверхность дорожной одежды пучинистого участка; 8 - дорожная одежда после ремонта пучинистого участка

Рис. 5.4. Возможное поперечное сечение дренажей мелкого заложения:

а - с ядром из щебня 20 - 40 мм; б - с водоотводящим фитилем = 15 см; 1 - дренирующий слой дорожной одежды; 2 - дренирующий материал, заложенный в прорезь; 3 - ядро из фракционного гравия или щебня; 4 - геотекстильный материал; 5 - водоотводящий фитиль

Рис. 5.5. Расположение поперечных дренажей на участках дороги с повышенным продольным уклоном:

1 - обочина; 2 - сброс воды на откос земляного полотна; 3 - кромка проезжей части; 4 - прорезь; i1 - продольный уклон участка; d - диаметр фильтра; l - расстояние между прорезями (стрелками показано направление движения воды в прорезях)

5.4.7. На участках дороги с затяжными продольными уклонами (более 20 %о) поперечные дренажи следует устраивать под углом 60-70° к оси дороги в сторону уклона (рис. 5.5).

5.5. Методика расчета прикромочного горизонтального и поперечного дренажа

5.5.1. Расчет дренажных сооружений по разд. 4 выполняют по единой изложенной в п. 4.5.2 методике. Конечная цель расчета - определение толщины подстилающего дренирующего слоя дорожной одежды с учетом работы выбранных дренажных сооружений. При расчетах горизонтального плоскостного и поперечного дренажей за величину пути фильтрации принимают расстояние между жгутами или поперечными дренами. За величину уклона принимают продольный уклон земляного полотна.

При расчетах прикромочного дренажа за величину пути фильтрации принимают расстояние от оси дороги до дренажа, а за величину уклона - поперечный уклон поверхности земляного полотна.

5.5.2. Расчет производят в следующей последовательности:

исходными данными для расчета являются значения длины пути фильтрации (Lф), поперечного уклона верха земляного полотна (iзп), коэффициентов фильтрации ГМ (Кg), песка или другого дренирующего материала (Кф);

определяют в соответствии с требованиями пп. 5.14 - 5.16 Инструкции ВСН 46-83 значения удельного расхода воды q, л/м2·сут, поступающей в дренирующий слой дорожной одежды;

по номограммам (на рис. 5.6-5.35) вычисляют значения глубины фильтрационного потока (номограммы составлены для различных сочетаний значений Кg = 20; 60 м/сут, Lф = 3,5; 5; 7 м, iзп = 0,02; 0,03; 0,04; 0,05);

вычисляют отношение глубины фильтрационного потока к длине пути фильтрации (h/Lф);

по номограмме (см. рис. 5.36) определяют степень увлажнения С, которая соответствует удельному расходу воды, отводимому песком толщиной h;

в соответствии с п. 5.4 ВСН 46-83 задаемся толщиной запаса подстилающего дренирующего слоя песка (hзап);

для вычисленной степени увлажнения С по номограмме на рис. 5.37 - 5.45 определяют глубину фильтрационного потока (hр) в зависимости от hзап с учетом движения воды в капиллярной зоне;

Рис. 5.6

Рис. 5.7

Номограммы для расчета дренирующих слоев с ГМ:

у кривых обозначено значение коэффициента фильтрации Кф дренирующего материала;_______ для случая Кд = 20 м/сут;            для случая Кд = 40 м/сут

Рис. 5.8

Рис. 5.9

Номограммы для расчета дренирующих слоев с ГМ:

у кривых обозначено значение коэффициента фильтрации Кф дренирующего материала;_______ для случая Кд = 20 м/сут;              для случая Кд = 40 м/сут

Рис. 5.10

Рис. 5.11

Номограммы для расчета дренирующих слоев с ГМ:

у кривых обозначено значение коэффициента фильтрации Кф дренирующего материала;_______ для случая Кд = 60 м/сут;            для случая Кд = 80 м/сут

Рис. 5.12

Рис. 5.13

Номограммы для расчета дренирующих слоев с ГМ:

у кривых обозначено значение коэффициента фильтрации Кф дренирующего материала;______ для случая Кд = 60 м/сут;  для случая Кд = 80 м/сут

Рис. 5.14

Рис. 5.15

Номограммы для расчета дренирующих слоев с ГМ:

у кривых обозначено значение коэффициента фильтрации Кф дренирующего материала;_______ для случая Кд = 60 м/сут;              для случая Кд = 80 м/сут

Рис. 5.16

Рис. 5.17

Номограммы для расчета дренирующих слоев с ГМ:

у кривых обозначено значение коэффициента фильтрации Кф дренирующего материала;_______ для случая Кд = 20 м/сут;              для случая Кд = 40 м/сут

Рис. 5.18

Рис. 5.19

Номограммы для расчета дренирующих слоев с ГМ:

у кривых обозначено значение коэффициента фильтрации Кф дренирующего материала;_______ для случая Кд = 20 м/сут;              для случая Кд = 40 м/сут

Рис. 5.20

Рис. 5.21

Номограммы для расчета дренирующих слоев с ГМ:

у кривых обозначено значение коэффициента фильтрации Кф дренирующего материала;

                                        для случая Кд = 20 м/сут и Кд = 60 м/сут;

-------------------------- для случая Кд = 40 м/сут и Кд = 80 м/сут

Рис. 5.22

Рис. 5.23

Номограммы для расчета дренирующих слоев с ГМ:

у кривых обозначено значение коэффициента фильтрации Кф дренирующего материала;______ для случая Кд = 60 м/сут;                                                                             для случая Кд = 80 м/сут

Рис. 5.24

Рис. 5.25

Номограммы для расчета дренирующих слоев с ГМ:

у кривых обозначено значение коэффициента фильтрации Кф дренирующего материала;______ для случая Кд = 60 м/сут;  для случая Кд = 80 м/сут

Рис. 5.26

Рис. 5.27

Номограммы для расчета дренирующих слоев с ГМ:

на кривых обозначено значение коэффициента фильтрации Кф дренирующего материала;_____ для случая Кд = 20 м/сут; -------- для случая Кд = 40 м/сут

Рис. 5.28

Рис. 5.29

Номограммы для расчета дренирующих слоев с ГМ:

на кривых обозначено значение коэффициента фильтрации Кф дренирующего материала;_____ для случая Кд = 20 м/сут;                                                                               для случая Кд = 40 м/сут

Рис. 5.30

Рис. 5.31

Номограммы для расчета дренирующих слоев с ГМ:

на кривых обозначено значение коэффициента фильтрации Кф дренирующего материала;_____ для случая Кд = 60 м/сут;                                                                               для случая Кд = 80 м/сут

Рис. 5.32

Рис. 5.33

Номограммы для расчета дренирующих слоев с ГМ:

на кривых обозначено значение коэффициента фильтрации Кф дренирующего материала;_____ для случая Кд = 60 м/сут;                                                                               для случая Кд = 80 м/сут

Рис. 5.35 Номограммы для расчета дренирующих слоев с ГМ:

на кривых обозначено значение коэффициента фильтрации Кф дренирующего материала;______ для случая Кд = 60 м/сут (а) и Кд = 20 м/сут (б);------- для случая Кд = 80 м/сут (а) и Кд = 40 м/сут (б)

Рис. 5.36 Номограмма для расчета дренирующего слоя:

hα - расчетная глубина фильтрационного потока свободной воды; Lф - длина пути фильтрации; i - поперечный уклон верха земляного полотна; С - коэффициент увлажнений

Рис. 5.37

Рис. 5.38

Рис. 5.39

Номограммы для расчета дренирующих слоев с учетом фильтрации в капиллярной зоне:

на кривых обозначено значение поперечного уклона

Рис. 5.40

Рис. 5.41

Номограммы для расчета дренирующих слоев с учетом фильтрации в капиллярной зоне:

на кривых обозначено значение поперечного уклона

Рис. 5.42

Рис. 5.43

Номограммы для расчета дренирующих слоев с учетом фильтрации в капиллярной зоне:

на кривых обозначено значение поперечного уклона

Рис. 5.44

Рис. 5.45

Номограммы для расчета дренирующих слоев с учетом фильтрации в капиллярной зоне:

на кривых обозначено значение поперечного уклона

по номограммам на рис. 5.37 - 5.45 определяют расчетную глубину фильтрационного потока hр в зависимости от степени увлажнения С и с учетом движения воды в капиллярной зоне hзап, находят общую толщину подстилающего дренирующего слоя по формуле

hдр = hр + hзап

в случае, если по расчету hдр < 0,20 м общая толщина дренирующего слоя принимается равной hдр = 0,20 м.

5.6. Особенности технологии работ по устройству дренажных сооружений для снижения весеннего влагонакопления

5.6.1. При устройстве противопучинных мероприятий с ГМ особенностями технологии являются:

подготовка поверхности дорожной одежды пучинистого участка для укладки на него ГМ;

раскладка и сшивание полос ГМ;

устройство дренажной прорези;

устройство водоотводящего дренажа.

5.6.2. Поверхность дорожной одежды для укладки ГМ должна быть спланирована и уплотнена.

Если поверхность покрытия сильно разрушена и состоит из отдельных кусков асфальтобетона, то на ней необходимо устраивать выравнивающий песчаный или песчано-гравийный слой толщиной не менее 0,1 м.

5.6.3. Сшивание полос ГМ можно осуществлять различными способами: металлическими скобами, разогревом паяльной лампой и т.п. Допускается стыковка смежных полос «внахлест» с перекрытием 15-20 см.

5.6.4. Дренажную прорезь рекомендуется прокладывать роторными траншейными экскаваторами ЭТР-132Б или ЭТР-134. Это обеспечивает необходимую ширину прорези, ведет к сокращению дренажной засыпки и значительно уменьшает просадки дорожной конструкции в месте устройства дренажа. При их отсутствии допустимо применение экскаваторов другого типа.

5.6.5. В качестве дрены могут быть использованы керамзито-бетонные трубофильтры, перфорированные асбестоцементные, керамические и полимерные дренажные трубы. Стыки и водоприемные отверстия дрен защищают от заиления муфтами и фильтрами, в качестве которых могут быть использованы текстильные синтетические материалы и стеклохолсты.

5.6.6. При наличии агрессивной среды применяют керамические либо полимерные дренажные трубы.

5.6.7. Все строительно-монтажные работы по устройству дренажей мелкого заложения выполняют в соответствии с проектом, общими правилами производства и приемки работ, строительными нормами и правилами по технике безопасности в строительстве (СНиП III-4-80).

5.6.8. Дренажные трубы, соединительные муфты, стеклохолст и текстильной синтетический материал должны отвечать техническим требованиям, приведенным в соответствующих ТУ (см. разд. 3).

5.6.9. Если в качестве трубчатых дрен используют трубофильтры, а также керамические либо полимерные дренажные трубы, поставляемые звеньями, их раскладывают вдоль прорези с учетом стыкования на расстоянии 0,25 - 0,5 м от внешней кромки. Полимерные дренажные трубы, поставляемые в бухтах, раскатывают на необходимую длину и раскладывают аналогично описанному выше.

5.6.10. Каждое звено трубчатой дрены перед опусканием в прорезь должно быть тщательно осмотрено и очищено, а в случае загрязнения поверхности промыто струей воды. Дефекты на фальцах (околы, раковины) керамических труб либо трубофильтров должны быть исправлены цементным раствором до их укладки.

5.6.11. Опускают и укладывают в прорези трубчатые дрены вручную.

5.6.12. Трубчатые дрены укладывают снизу вверх, против уклона.

5.6.13. Самоцентрирующиеся керамические трубы, а также трубофильтры с внутренним диаметром 150 мм с фальцем для стыкования укладывают раструбом, обращенным против движения воды.

5.6.14. Проектный уклон трубчатых дрен по трассе устанавливают нивелиром. Контроль заданного уклона по участкам трассы осуществляют с помощью ходовой визирки.

5.6.15. После укладки трубчатых дрен в прорези и контроля заданного уклона их обёртывают текстильным синтетическим материалом.

5.6.16. При отсутствии трубофильтров, а также текстильных синтетических материалов допускаются другие виды трубчатых дрен, но с обязательным устройством фильтровой обсыпки из каменных материалов.

5.6.17. Фильтровые обсыпки устраивают из материалов крупностью 5 - 8 (10) мм.

5.6.18. Засыпку прорези песком производят после проверки всех выполненных работ по укладке трубчатых дрен. Для засыпки применяют такой же песок, как и для дренирующего слоя дорожной одежды.

5.6.19. При засыпке дренажного ролика песком должны быть приняты меры предосторожности против повреждения трубчатых дрен или нарушения целостности дренажной линии. Засыпка прорези бульдозером недопустима.

5.6.20. Пазухи между стенками прорези и трубчатыми дренами необходимо уплотнять трамбовками.

5.6.21. Песчаный дренирующий слой дорожной одежды устраивают после засыпки прорези в следующей последовательности:

песок доставляют к месту работы автомобилями-самосвалами, и разгружают в корыте земляного полотна, исключая при этом движение автомобилей по неуплотненному песку;

разравнивают песок бульдозером (автогрейдером) по мере доставки, не допуская накопления;

после равномерного распределения песок уплотняют, увлажняя его, если необходимо, до влажности, близкой к оптимальной, уплотнение производят катками на пневматических шинах;

контроль качества уплотнения производит согласно СНиП;

планировку поверхности дренирующего слоя осуществляют с соблюдением требуемого поперечного профиля.

5.6.22. Укладку фильтрующего материала производят послойно в зависимости от типа уплотняющих средств и требуемого коэффициента уплотнения. Минимально допустимая толщина уплотняемого слоя над трубчатыми дренами должна быть не менее 0,25 м. Это гарантирует их устойчивость и предохраняет от разравнивания при уплотнении.

5.6.23. По законченному дренажу не допускается движения построечного транспорта.

5.6.24. Транспортирование материалов, применяемых для строительства дренажей, осуществляют транспортными средствами без специальных требований. Исключение составляют трубофильтры, которые транспортируют либо в контейнерах, либо навалом, уложенные горизонтально торцами по направлению движения.

5.6.25. Погрузку, транспортировку и разгрузку дренажных труб и текстильных синтетических материалов должны производить с соблюдением мер, исключающих возможность их загрязнения и повреждения.

5.6.26. Дренажные трубы должны храниться на складе в штабелях высотой до 2 м, уложенных на деревянные подкладки. Между штабелями необходимо оставлять проходы шириной не менее 1 м.

5.6.27. Штабели нужно ограничивать упорами, предупреждающими расползание труб.

5.6.28. Хранение текстильного синтетического материала под открытым небом запрещено.

5.6.29. Качество работ последовательно проверяют после каждого законченного цикла: рытье прорезей, раскатывание текстильного синтетического материала либо стеклохолста и укладка трубчатых дрен, заделка стыков, устройство поперечных сбросов. Окончание работ каждого цикла должно быть оформлено согласно установленному положению соответствующими актами на скрытые работы.

5.6.30. Соответствие продольных уклонов дренажа проектным значениям устанавливают нивелировкой. Допустимые отклонения +0,001 на каждые 100 м.

5.6.31. Визуальной проверке подлежит качество соединения в стыках трубчатых дрен; соединения выпусков со смотровыми колодцами, поперечными сбросами, а также качество обертывания и укладки текстильного синтетического материала.

5.6.32. Толщина песчаного подстилающего слоя должна соответствовать проекту (отклонения по толщине слоя допустимы не более 1 см). Коэффициент уплотнения песчаного подстилающего слоя должен быть не менее 0,98.

5.6.33. Толщину и степень уплотнения дренирующего слоя из песка, а также технологию производства работ регулярно заносят в журнал производства работ.

5.6.34. Плотность песка дренирующего слоя сравнивают с требуемой, определяя среднюю плотность образцов через каждые 50 м, причем отклонение не должно превышать по абсолютной величине +0,02, и количество таких образцов должно составлять менее 10 %.

5.6.35. Качество песка дренирующего слоя (гранулометрический состав и коэффициент фильтрации) контролируют выборочным отбором не менее трех образцов по оси и в 1 м от кромки проезжей части (через каждые 100 м).

Приложение 1

НОРМЫ НА УСТРОЙСТВО ТРАНШЕЙНОГО ДРЕНАЖА С ПРИМЕНЕНИЕМ СИНТЕТИЧЕСКИХ МАТЕРИАЛОВ

Состав работ:

1. Разработка грунта в траншеях одноковшовыми экскаваторами.

2. Подготовка рулонов к раскатке, контроль качества рулонов СМ.

3. Раскатка рулонов, укладка в траншею с креплением анкерами.

4. Устройство закрытого дренажа вручную.

5. Засыпка траншеи бульдозером.

6. Выравнивание и послойное уплотнение в траншее.

Таблица 1

Нормы на 100 м2 дренажа

Наименование элементов затрат

Ед. изм.

Щебеночно-трубный дренаж (см. рис. 3.2б)

Беструбный (см. рис. 3.2а)

Затраты труда

чел.-ч

28,97

19,89

Заработная плата

руб.

15,68

12,28

Экскаватор одноковшовый емкость ковша 0,25 м3

маш.-ч

7,08

7,08

Бульдозер 79 кВт (100 л. с.)

-"-

2,27

2,62

Трамбовки пневматические

-"-

5,24

6,99

Прочие машины

руб.

27,5

-

Синтетический нетканый материал

м2

120

120

Трубы керамические

м

105,5

-

Щебень (гравий)

м3

104

105

Прочие материалы

руб.

0,30

0,30

Таблица 2

Единичные расценки на устройство беструбного дренажа с применением синтетических материалов (по рис. 3.2) на 100 м2

1.

Прямые затраты, руб.

45,97

2.

В том числе, руб.:

 

 

основная заработная плата

12,28

 

эксплуатация машин, всего

33,39

 

в том числе зарплата рабочих, обслуживающих машины

12,19

 

материальные ресурсы

0,30

3.

Затраты труда рабочих, чел.-ч

19,89

4.

Шифр ЭСН-84

-

5.

Прямые затраты по территориальным районам:

 

 

II, VI, XI - XII, А, 6

45,97

 

III-V, VII, VIII, IX

45,97

 

IIА, X

45,98

 

VIIIА

46,00

6.

Материальные ресурсы, не учтенные в расценках

Синтетический нетканый материал - 120 м2, щебень, гравий - 105 м3

Таблица 3

Единичные расценки на устройство траншейного щебеночно-трубного дренажа с применением синтетических материалов (по рис. 3.2б) на 100 м2

1.

Прямые затраты, руб.

75,13

2.

В том числе, руб.:

 

 

основная заработная плата

15,68

 

эксплуатация машин, всего

59,15

 

в том числе зарплата рабочих, обслуживающих машины

11,46

 

материальные ресурсы

0,30

3.

Затраты труда рабочих, чел.-ч

28,97

4.

Шифр ЭСН-84

-

5.

Прямые затраты по территориальным районам:

 

 

II, VI, XI-XII, А, 6

75,13

 

III-V, VII, VIII, IX

75,13

 

IIА, X

75,14

 

VIIIА

75,16

6.

Материальные ресурсы, не учтенные в расценках

Синтетический нетканый материал - 120 м2; трубы керамические - 105,5 м2; щебень, гравий - 104 м3

Приложение 2

НОРМЫ УСТРОЙСТВА ГИДРОИЗОЛЯЦИОННЫХ ПРОСЛОЕК

Состав работы:

1. Планировка земляного полотна.

2. Подкатка земляного полотна.

3. Планировка откосов.

4. Раскладка полотен ГМ.

5. Крепление полотен ГМ анкерами.

Таблица 1

Нормы на 1000 м2 гидроизоляционной поверхности

Наименование элементов затрат

Ед. изм.

Нормы

Затраты труда

чел.-ч

24,9

Заработная плата

руб.

12,7

Автогрейдеры среднего типа 79 кВт (108 л. с.)

маш.-ч

-

Бульдозеры 79 кВт (108 л. с.)

-"-

2,55

Катки дорожные прицепные на пневмоколесном ходу

-"-

1,44

Гидроизоляционный материал

м2

1392

Прочие материалы

руб.

0,04

Таблица 2

Единичные расценки на устройство гидроизолирующих прослоек

№ расценки

Ед. изм.

Прямые затраты, руб.

В том числе, руб.

Затраты труда рабочих, чел.-ч

Шифр ВСН-84

Прямые затраты по территориальным, районам

основная зарплата

экспл. машин

материальные ресурсы

всего

в том числе зар. плата рабочих

II, VI, X-XIIА

III-V, VII, VIII, IX

IIА, X, XIIЕ

VIIIА

27-311

1000 м2 укрепляемой поверхности

2514

12,7

9,89

2,72

2491,41

24,9

84-4

2601

2544

2737

2821

Приложение 3

ПРИМЕР РАСЧЕТА ПОДСТИЛАЮЩЕГО ДРЕНИРУЮЩЕГО СЛОЯ С УЧЕТОМ ПРИМЕНЕНИЯ ПРИКРОМОЧНОГО ДРЕНАЖА

Требуется запроектировать комбинированный прикромочный дренаж для дороги, проходящей во II климатической зоне 3 типа местности по условиям увлажнения. Ширина проезжей части В=7 м, профиль земляного полотна двускатный с поперечным уклоном i = 0,02. Грунт - суглинок тяжелый пылеватый. Имеются местные очень мелкие чистые пески с Кф = 1 м/сут. Для увеличения пропускной способности дренирующего слоя и снижения его толщины предполагается использовать ГМ с коэффициентом фильтрации Кд = 60 м/сут.

В соответствии с Инструкцией ВСН 46-83 при насыпях, возведенных из суглинков тяжелых пылеватых, коэффициент «пик» Кпик. = 1,7 и коэффициент гидрологического запаса Кг = 1,3. Принимая во внимание, что ГM наряду с дренирующей выполняет роль противозаливающей прослойки, величину коэффициента гидрологического запаса можно принять равным единице. Тогда расчетный удельным расход q = 0,005 х 1,7 = 0,0085 м32 в сут. По номограмме (см. рис. 5.6) определяем расчетную глубину фильтрационного потока в песке h = 11 см. Вычисляем отношение h/Lф = 0,11/3,5 = 0,031 м. Для указанного значения h/Lф по номограмме (см. рис. 5.36) определяем значение С=0,002. По ВСН 46-83 принимаем толщину запаса дренирующего слоя hзап = 20 см. Окончательное значение расчетной глубины фильтрационного потока находим по номограмме для расчета дренирующих слоев с учетом движения воды в капиллярной зоне (см. рис. 5.39) hр = 0,05 м.

Приложение 4

ТЕХНИКО-ЭКОНОМИЧЕСКОЕ СРАВНЕНИЕ ВАРИАНТОВ

Для технико-экономического сравнения предлагаются два варианта мероприятий по борьбе с пучинами:

1. Устройство поперечных прорезей мелкого заложения на пучинистом участке с заглублением прорези в тело земляного полотна (I вариант).

2. Полная замена пучинистого грунта (III группа) дренирующим материалом на глубину промерзания - 2,0 м (II вариант).

В качестве сравнительного участка принят экспериментальный участок автомобильной дороги Хабаровск-Находка - 38-й км протяженностью 200 м. Данный участок сильно подвержен пучению и последующему разрушению в летне-осенний период. Сравнение проводится в таблице по капитальным затратам на ремонт этого участка.

Таблица

Наименование работ с подсчетом объемов работ, единица измерения

Обоснов. ЕРЕР

Кол-во работ

Стоимость единицы, руб.

Общая стоимость, руб.

вариант

I

II

1. Разработка грунта III группы экскаватором 0,25 м3 при устройстве прорезей в отвал, м3

1-66

42

0,20

8,4

-

2. Разработка грунта III группы экскаватором 0,65 м3 в самосвалы (10,0х2,0х200 = 4000), м3

1-170

4000

0,144

-

576

3. Вывозка грунта самосвалами на расстояние до 2 км 4000x1,7 = 6800 т

СНиП IV-4-82

6800

0,57

-

3876

4. Погрузка гравийно-песчаной смеси экскаватором 0,65 м3:

 

 

 

 

 

для замены грунта, м3

48

4800

0,091

-

436,8

в прорези, м3

1-168

50,4

0,091

4,6

-

5. Перевозка гравийно-песчаной смеси самосвалами на расстояние 5 км от АБЗ до места работ, т:

СНиП IV-4-82

 

 

 

 

для замены грунта 4800х1,6 = 7680

 

7680

0,83

-

6374

в прорези 50,4х1,6 = 80,64

 

80,64

0,83

66,93

-

6. Стоимость гравийно-песчаной смеси на месте погрузки (АБЗ), м3:

Кальк.

 

 

 

 

для замены грунта

 

4800

3,96

-

19008

в прорези

 

50,4

3,96

199,6

-

7. Стоимость и укладка водоотводящих фильтров, м

ТУ Сыктывкар

140

1,50

210

-

Итого:

 

 

 

489,53

30270,8

На основании технико-экономического сравнения видно, что более экономичным вариантом является I вариант (устройство прорезей мелкого заложения).

Приложение 5

МЕТОДИКА КОНСТРУИРОВАНИЯ И РАСЧЕТА ВЕРТИКАЛЬНЫХ ПЕСЧАНЫХ ДРЕН-СВАЙ ДЛЯ ЛИКВИДАЦИИ ПУЧИННЫХ ДЕФОРМАЦИЙ НА АВТОМОБИЛЬНЫХ ДОРОГАХ

1. ОБЩИЕ ПОЛОЖЕНИЯ

1.1. Для повышения работоспособности и прочности существующих дорожных конструкций, пораженных пучинными деформациями, рекомендуют применять систему вертикальных песчаных дрен-свай.

1.2. Эта конструкция предназначена для высвобождения и отвода избыточной влаги из грунтов рабочей зоны земляного полотна. Под влиянием динамического воздействия транспортной нагрузки поровая вода в грунтах рабочей зоны земляного полотна получает возможность выделяться в поры дренажного заполнителя и фильтроваться вниз. Возникает потенциал влажности между зоной контакта осушаемого грунта и периферией, под влиянием которого происходит постепенное осушение периферийных зон грунта рабочей зоны до полутвердого и твердого состояния.

1.3. Вертикальное дренирование рекомендуют применять в земляном полотне, сложенном пылевато-глинистыми грунтами (потенциально морозоопасными).

1.4. Дрены-сваи не предназначены для непосредственного осушения песчаного основания и конструктивных слоев дорожной одежды.

1.5. Лучшее время для устройства дрен-свай - это период вскрытия пучин и развития пучинных деформаций, т.е. до просыхания грунтов земляного полотна от влаги, накопленной в зимний период.

1.6. Основное назначение дрен-свай состоит в систематическом удалении избыточной влаги из рабочей зоны земляного полотна с таким расчетом, чтобы к началу промерзания грунт был осушен до влажности, при которой существенного накопления льда в зимний период происходить не будет.

1.7. Конструкция дрен-свай, песчаный материал из заполнения и технология их устройства могут рассматриваться как типовые. Глубина закладки дрен-свай, схема их размещения, выбор расстояния между ними зависят от условий конкретного участка дороги.

1.8. Участки автомобильных дорог, подверженные пучинным деформациям - выявляют по материалам систематического учета пучин и подлежат инженерно-геологическому обследованию с целью установления фактической толщины слоев дорожной конструкции, состава и состояния грунтов в земляном полотне и в его основании, а также назначения противопучинных мероприятий.

1.9. Проект ликвидации пучинных деформаций составляется на основании технико-экономического сравнения различных приемов повышения работоспособности и прочности существующей конструкции дороги.

2. КОНСТРУКТИВНЫЕ ОСОБЕННОСТИ ДРЕН-СВАЙ И УСЛОВИЯ ИХ ПРИМЕНЕНИЯ

2.1. Свободный приток воды в песчаную дрену-сваю должен быть предотвращен. Поэтому устье колодцев (скважины) должно быть закрыто тампоном из пылевато-глинистого грунта, извлекаемого при бурении тела земляного полотна.

2.2. Тампон устраивают в уровне подошвы слоя песчаного основания (рис. 1). Толщина тампона - 15-20 см из расчета плотной закупорки устья скважины и сохранения требуемой мощности песчаного слоя основания.

2.3. Диаметр дрены-сваи принят из условия необходимой для осушения грунта площади ее боковой поверхности в пределах глубины рабочей зоны земляного полотна. При этом учтены соображения по долговечности дрен-свай и достаточности боковой поверхности сваи в пределах зоны поглощения влаги из дрены.

Рис. 1. Принципиальная схема песчаной дрены-сваи и ее взаимодействия с грунтом земляного полотна:

hп - суммарная толщина всех слоев дорожной конструкции; h - средняя глубина зоны осушения; ΔТ - толщина тампона из пылевато-глинистого грунта; h0 - заглубление дрены-сваи в водопоглощающий слой; Кгф, Кдф, Кпф - коэффициенты фильтрации элементов системы; W - влажность осушаемого грунта; Wp - влажность того же грунта на пределе пластичности (раскатывания); - пути движения влаги.

Параметры буровых шнеков серийно выпускаемых бурильных машин вполне соответствуют этим соображениям. Рекомендуемый диаметр дрен-свай 100 - 500 мм.

2.4. Необходимая глубина бурения колодцев под дрены-сваи (Z) обусловлена суммарной мощностью слоев дорожной одежды и песчаного основания (hп) мощностью рабочей зоны земляного полотна (h), необходимой глубиной забуривания в водопоглощающий слой (h0 min), т.е. (рис. 1):

Z hп + h + h0 min

2.5. Качество водопоглощающего слоя должно соответствовать условно 2Кгф ≤ Кпф, где Кгф и Кпф - соответственно коэффициенты фильтрации осушаемого и водопоглощающего грунтов.

В этом случае необходимо иметь h0 ≥ 0,4 м независимо от диаметра дрены-сваи.

2.6. Значения hп и h существенно зависят друг от друга. Чем меньше hп (как мощность некоторой условной плиты на упругом основании), тем больше h (как мощность этого основания).

Исследованиями установлено, что 0,8 hп + h ≤ 1,2 м, следовательно, Zmin = 1,4 ... 1,6 м.

2.7. В зависимости от расчетной глубины промерзания грунтов региона следует выбирать буровую машину с глубиной бурения, несколько превышающей глубину промерзания. Серийные буровые машины выпускаются с глубиной бурения 1,8 - 3,2 м, что вполне достаточно для большинства регионов страны.

2.8. В качестве дренажного заполнителя дрены-сваи рекомендуют использовать преимущественно пески средний и мелкий (но не пылеватые), отвечающие условию hкап. < h0min, где hкап. - высота капиллярного поднятия в песчаном заполнителе дрены-сваи. В таком случае соотношение коэффициентов фильтрации осушаемого грунта, песчаного заполнителя и водопоглощающего грунта ориентировочно составит 1:1000:2, что вполне достаточно для нормального функционирования этой системы.

2.9. Пески средний и мелкий позволяют существенно ограничить и быстро стабилизировать процесс кольматации дрены-сваи. Кольматированная зона достигает толщины 2-3 см и способствует более эффективному впитыванию влаги боковой поверхностью дрены-сваи в пределах мощности рабочей зоны земляного полотна. Применение более крупного заполнителя усиливает опасность быстрой кольматации его по всему поперечному селению дрены-сваи и потому вредно.

2.10. Характер и конфигурация зон осушения (см. рис. 1) свидетельствуют, что в пределах рабочей зоны формируется арочный эффект. Чем интенсивнее движение автотранспорта и чем меньше мощность слоев дорожной конструкции, тем значительнее проявление этого эффекта.

2.11. Применение дрен-свай с указанными выше параметрами позволяет унифицировать требования к ним.

3. РАСЧЕТ СИСТЕМЫ ДРЕН-СВАЙ

3.1. Расчет системы дрен-свай для конкретных условий пучинистого участка дороги с применением сводится к следующему:

выбор необходимой глубины для устройства дрен-свай;

определение минимально необходимого расстояния между ними;

разработка плана-схемы размещения дрен-свай на пучинистом участке.

3.2. Необходимую глубину бурения принимают из расчета Z = Zпр + h0min > 1,6 м (см. пп. 2.4 - 2.7), где Zпр - нормативная глубина промерзания, по данным гидрометеослужбы, под оголенной поверхностью.

3.3. Требуемое расстояние между дренами-сваями выражают эмпирической формулой

Z=0,85 + 0,14Jр,

где Jр = WL - WP число пластичности пылевато-глинистого грунта рабочей зоны земляного полотна (7 ≤ Jр ≤ 17), WL и WP - пределы текучести пластичности этого грунта, определяемые лабораторным путем.

Если Jр < 7 мм Jр > 17, то в расчете принимается соответствующее предельное значение (7 или 17).

3.4. Размещение дрен-свай на пучинистом участке дороги следует увязать со схемой движения автомобилей, с тем, чтобы каждая такая дрена оказалась бы в том месте, где наиболее вероятно близкое приложение транспортной нагрузки. Такие места тяготеют к полосам наката. Из условий безопасности движения допускаемое приближение колеса автомобиля к кромке проезжей части составляет 0,9 - 1,0 м. Тогда целесообразны трех или четырехрядное размещение дрен-свай с шахматным расположением последних (рис. 2).

Устройство пролетных рядов под внешними полосами наката целесообразно еще и потому, что в поперечном сечении земляного полотна зоны наибольшего увлажнения грунта образовываются вблизи кромок проезжей части.

Рис. 2. Схема устройства вертикального дренажа для осушения верхней части земляного полотна:

I, II - варианты покрытия соответственно - водонепроницаемое и водопроницаемое; измерения приведены в метрах

3.5. В любом случае схема размещения дрен-свай должна учитывать размеры и конфигурацию в плане пучинистого участка, а также направление притока поверхностных или грунтовых вод к земляному полотну.

В каждом продольном ряду крайние дрены-сваи следует закладывать за пределами контуров пучинистых участков для предотвращения разрастания пучины или ее смещения в будущем.

При выявлении притока воды к земляному полотну на пучинистом участке можно предусмотреть более густое размещение дрен-свай, т.е. применить четырехрядную схему с расстоянием между сваями в ряду не менее чем через 2,0 м.

3.6. Схема размещения дрен-свай должна быть привязана по пикетажу и к ближайшему искусственному сооружению.

4. ТЕХНОЛОГИЯ УСТРОЙСТВА ДРЕН-СВАЙ

4.1. Устройство системы дрен-свай предусматривает использование буровой машины, например, бурильно-крановой, серийно выпускаемой нашей промышленностью.

4.2. Технологический процесс включает:

разбивочные работы;

бурение колодцев под дрены;

заполнение колодцев песком;

устройство тампонажных пробок;

заполнение горловин колодцев;

очистка проезжей части и обочин.

4.2.1. Разбивочные работы выполняют с помощью рулетки по схеме размещения дрен-свай, составленной согласно настоящему приложению (пп. 3.4 - 3.6). Разбивке предшествует ограждение участка с переводом движения на одну полосу и ограничением скорости.

В центре каждой будущей дрены забивают металлический штырь.

При необходимости схему разбивки корректируют по форме пучинистого участка в плане (п. 3.5).

4.2.2. Бурение колодца под дрену-сваю выполняют на проектную глубину. Так как дорожная одежда на пучинистом участке разрушена при оттаивании под транспортной нагрузкой, трудности при бурении, как правило, не возникают. В отдельных случаях перед бурением можно произвести местное вскрытие покрытия. При наличии мерзлых грунтов и теле земляного полотна, а также в сухой период лета, режущие кромки бура усиливают победитовыми пластинками.

По мере проходки колодца выбуренный грунт распределяют по кольцу вокруг колодца с оставлением полки по периметру колодца шириной 20 см во избежание самопроизвольного осыпания грунта внутрь колодца.

4.2.3. Для транспортировки песка из карьера используют самосвалы. Засыпку колодцев песком выполняют либо непосредственно с транспортных средств, либо из резервных куч. При больших объемах работ целесообразно оборудовать передвижной бункер с дозатором. Засыпку производят с послойным уплотнением и прекращают при достижении уровня низа тампона (на 10 - 15 см ниже подошвы песчаного основания).

4.2.4. Для устройства тампонажной пробки используют пылевато-глинистый грунт, выбуренный ранее из колодца. После уплотнения трамбовкой толщина тампона должна составить не менее 15 - 20 см (пп. 2.1, 2.2). Необходимо следить за тщательностью этой операции, чтобы не допустить впоследствии свободного притока воды в дрен-сваю, минуя тампон.

4.2.5. Выше тампона оставшийся объем в устье колодца заполняют материалами слоев существующей дорожной одежды.

4.2.6. Завершают работы на участке грейдерной очисткой проезжей части и обочин и остатков грунта. Затем снимают временное ограждение места работ (п. 4.2.1).

4.3. Ремонт дорожной одежды на участке с дренами-сваями рекомендуют выполнять не раньше, чем через 2 - 3 недели после их устройства.

За это время происходит стабилизация пучинных деформаций и доуплотнение материала в дренах. В противном случае не будет обеспечена достаточная ровность дорожного покрытия после ремонта.

4.4. В процессе работ по устройству дрен-свай следует вести журнал производства работ (рис. 3) с приложением схемы, на которой указывают номера дрен-свай, их местоположение с привязкой по пикетажу и к существующим капитальным искусственным сооружениям.

К журналу прилагают ведомость лабораторных анализов песка, осушаемого грунта, грунта водопоглощающего слоя. Журнал сдают на хранение в ПТО ДЭУ или ДРСУ.

Рис. 3. Журнал производства работ по устройству дрен-свай на пучинистом участке автомобильной дороги

4.5. При производстве работ по устройству дрен-свай необходимо выполнять общие правила техники безопасности, предусмотренные «Правилами техники безопасности при строительстве, ремонте и содержании автомобильных дорог» и инструкциями по работе с соответствующими механизмами и приспособлениями.

5. РАСЧЕТ ОСУШАЮЩЕГО ЭФФЕКТА ВЕРТИКАЛЬНОГО ДРЕНАЖА

Осушающий эффект вертикального дренажа зависит от ряда факторов, определяющими из которых являются:

1. Влагопроводные свойства осушаемого грунтового массива. Влагопроводные свойства пучинистых пылеватых грунтов оцениваются коэффициентом влагопроводности (К1). Значения коэффициента влагопроводности приведены в табл. 1.

2. Радиус действия вертикальной дрены (R), равный половине расстояния между смежными дренами, м.

3. Время осушения (Т), определяемое климатическими условиями района с момента начала просыхания до промерзания грунта земляного полотна, сут.

4. Динамическая характеристика дорожной одежды (n) по О.Я. Шехтер

,                                                           (1)

где En, E0, μ0, μn - соответственно, модули упругости и коэффициенты Пуассона для дорожной одежды и земляного полотна.

Таблица 1

Номер грунта

Вид грунта

Значение коэффициента влагопроводности1), м2/сут

1

Суглинок тяжелый пылеватый

1,52·10-4

2

Глина пылеватая

3,6·10-4

3

Супесь пылеватая

2,4·10-4

4

Суглинок легкий пылеватый

3,2·10-4

На основании исследования лабораторных моделей получена следующая зависимость уменьшения влажности (ΔW) в долях единицы

                                                                (2)

Опытная проверка выражения (2) в натурных условиях показала удовлетворительную сходимость.

Пример расчета

Исходные данные:

район - Хабаровский край, Т=180 сут; грунт земляного полотна - суглинок легкий пылеватый, характеризующийся числом пластичности , Jр = 8, влажностью на границе текучести WL = 0,25, оптимальной влажностью W0 = 0,16, начальной влажностью перед просыханием земляного полотна Wз.п. = 0,2 (80 % от WL): расстояние между смежными дренами составляет 3,0 м;

дорожная одежда имеет модуль упругости - 120 МПа, земляное полотно - 21 МПа;

коэффициенты Пуассона для дорожной одежды и земляного полотна равны соответственно 0,20 и 0,30.

Порядок расчета

По формуле (1) определяют динамическую характеристику дорожной одежды (n)

 @ ­

По формуле (2) находят величину снижения влажности (ΔW) за период просыхания земляного полотна сваями-дренами

Значение влажности грунта земляного полотна перед промерзанием (W΄з.п.) подсчитывают как разность между начальной влажностью (Wз.п.) и ΔW:

W΄з.п = 0,2-0,0384 = 0,1616,

т.е. 64,64 % от WL.

Таким образом, за счет осушения влажность грунта земляного полотна снизилась до оптимальной.

СОДЕРЖАНИЕ

1. Общие положения. 1

2. Методика выявления и обследования участков пучинообразования. 2

2.1. Общие сведения. 2

2.2. Выявление пучинистых участков и их предварительное обследование. 4

2.3. Детальное обследование. 4

3. Применение траншейного дренажа. 7

3.1. Общие сведения. 7

3.2. Конструкция земляного полотна с траншейным дренажем.. 7

3.3. Расчет величины вспучивания и толщины стабильных слоев дорожной одежды.. 10

4. Гидроизоляция земляного полотна. 13

4.1. Общие сведения. 13

4.2. Конструкции земляного полотна и дорожных одежд с гидроизолирующими прослойками. 14

4.3. Расчет величины вспучивания и толщины стабильных слоев дорожной конструкции с гидроизолирующими прослойками в нижней части насыпи. 14

4.4. Расчет величины вспучивания и толщины стабильных слоев дорожной конструкции с гидроизолирующими прослойками в верхней части насыпи. 15

5. Дренажные сооружения для снижения весеннего влагонакопления. 17

5.1. Общие сведения. 17

5.2. Комбинированный прикромочный дренаж.. 18

5.3. Комбинированный плоскостной горизонтальный дренаж.. 18

5.4. Поперечный дренаж мелкого заложения. 20

5.5. Методика расчета прикромочного горизонтального и поперечного дренажа. 22

5.6. Особенности технологии работ по устройству дренажных сооружений для снижения весеннего влагонакопления. 33

Приложение 1 Нормы на устройство траншейного дренажа с применением синтетических материалов. 35

Приложение 2 Нормы устройства гидроизоляционных прослоек. 36

Приложение 3 Пример расчета подстилающего дренирующего слоя с учетом применения прикромочного дренажа. 37

Приложение 4 Технико-экономическое сравнение вариантов. 37

Приложение 5 Методика конструирования и расчета вертикальных песчаных дрен-свай для ликвидации пучинных деформаций на автомобильных дорогах. 38

 




Rambler's Top100 Яндекс цитирования
  Copyright © 2008-2026, www.docload.ru