Бесплатная библиотека стандартов и нормативов www.docload.ru

Все документы, размещенные на этом сайте, не являются их официальным изданием и предназначены исключительно для ознакомительных целей.
Электронные копии этих документов могут распространяться без всяких ограничений. Вы можете размещать информацию с этого сайта на любом другом сайте.
Это некоммерческий сайт и здесь не продаются документы. Вы можете скачать их абсолютно бесплатно!
Содержимое сайта не нарушает чьих-либо авторских прав! Человек имеет право на информацию!

 

ОТРАСЛЕВОЙ ДОРОЖНЫЙ МЕТОДИЧЕСКИЙ ДОКУМЕНТ

Утверждено

распоряжением Росавтодора

№ ОC-675-p от «09» 08 2002 г.

РУКОВОДСТВО
ПО ПРИМЕНЕНИЮ ГИДРОИЗОЛЯЦИОННОГО
МАТЕРИАЛА
«ТЕХНОЭЛАСТМОСТ»
ДЛЯ ГИДРОИЗОЛЯЦИИ ЖЕЛЕЗОБЕТОННОЙ ПЛИТЫ
ПРОЕЗЖЕЙ ЧАСТИ МОСТОВЫХ СООРУЖЕНИЙ

МИНИСТЕРСТВО ТРАНСПОРТА РОССИЙСКОЙ ФЕДЕРАЦИИ

ГОСУДАРСТВЕННАЯ СЛУЖБА ДОРОЖНОГО ХОЗЯЙСТВА
(РОСАВТОДОР)

Москва 2002

ПРЕДИСЛОВИЕ

1. РАЗРАБОТАНО ФГУП «Государственный дорожный научно-исследовательский институт «СОЮЗДОРНИИ», генеральный директор канд. техн. наук Юмашев В. М., заведующий отделом искусственных сооружений канд. техн. наук Сахарова И. Д., заведующий сектором мостового полотна отдела искусственных сооружений Казарян В. Ю.

2. ВНЕСЕНО ЗАО «ТЕХНОНИКОЛЬ», генеральный директор Колесников С. А.

3. ПРИНЯТО И ВВЕДЕНО В ДЕЙСТВИЕ распоряжением Государственной службы дорожного хозяйства Минтранса РФ (Росавтодора) от 09.08.2002 № ОС-675-р.

4. ВВЕДЕНО ВПЕРВЫЕ.

5. Настоящее Руководство содержит сведения о применении гидроизоляционного материала «Техноэластмост» для гидроизоляции железобетонной плиты проезжей части мостовых сооружений, характеристики материала, требования к гидроизолируемой поверхности и оборудованию, требования к контролю качества работ и по технике безопасности.

1. ОБЛАСТЬ ПРИМЕНЕНИЯ

1.1. Настоящее Руководство определяет технологию и организацию работ по применению гидроизоляционного материала «Техноэластмост» для устройства гидроизоляции железобетонной плиты проезжей части мостовых сооружений, характеристики материала, требования к гидроизолируемой поверхности и оборудованию, к контролю качества работ и по технике безопасности.

1.2. Руководство предназначается для практического применения организациями, осуществляющими устройство гидроизоляции железобетонной плиты проезжей части мостовых сооружений, а также организациями, осуществляющими приемку и контроль производства этих работ.

2. НОРМАТИВНЫЕ ССЫЛКИ

В настоящем стандарте использованы ссылки на следующие документы:

1. СНиП 2.03.11-85 «Защита строительных конструкций от коррозии».

2. СНиП 2.05.03-84* «Мосты и трубы».

3. СНиП 3.04.01-87 «Изоляционные и защитные покрытия».

4. СНиП 3.04.03-85 «Защита строительных конструкций и сооружений от коррозии».

5. СНиП 3.06.03-85 «Автомобильные дороги».

6. СНиП 3.06.04-91 «Мосты и трубы».

7. СНиП 12-03-99 «Безопасность труда в строительстве. Ч. 1. Общие требования».

8. СНиП 23-01-99 «Строительная климатология».

9. ВСН 32-81 «Инструкция по устройству гидроизоляции конструкций мостов и труб на железных, автомобильных и городских дорогах».

10. ГОСТ 2678-94 «Материалы рулонные кровельные и гидроизоляционные. Методы испытаний».

11. ГОСТ 2789-73* «Шероховатость поверхности. Параметры и характеристики».

12. ГОСТ 5802-86 «Растворы строительные. Методы испытаний».

13. ГОСТ 9128-97 «Смеси асфальтобетонные дорожные, аэродромные и асфальтобетон. Технические условия».

14. ГОСТ 10060-95 «Бетоны. Методы контроля морозостойкости».

15. ГОСТ 12730.5-84* «Бетоны. Методы определения водонепроницаемости».

16. ГОСТ 17177-94 «Материалы и изделия строительные теплоизоляционные. Методы испытаний».

17. ГОСТ 23279-85* «Сетки арматурные сварные для железобетонных конструкций и изделий. Общие технические условия».

18. ГОСТ 26627-85 «Материалы рулонные кровельные и гидроизоляционные. Правила приемки».

19. ГОСТ 26633-91 «Бетоны тяжелые и мелкозернистые. Технические условия».

20. ГОСТ 12.4.011-89 «ССБТ. Средства защиты работающих. Общие требования и классификация».

21. ГОСТ 12.4.013-85 «ССБТ. Очки защитные. Общие технические условия».

22. ГОСТ 12.4.041-89 «ССБТ. Средства индивидуальной защиты органов дыхания фильтрующие. Общие технические требования».

23. ГОСТ 12.4.068-79* «ССБТ. Средства индивидуальной защиты дерматологические. Классификация и общие требования».

24. ТУ 5774-004-00287852-00 «Техноэластмост рулонный гидроизоляционный наплавляемый битумно-полимерный материал».

25. «Руководство по устройству дренажа на проезжей части мостовых сооружений», Союздорнии, 1997 г.

26. «Правила техники безопасности и производственной санитарии при сооружении мостов и труб».

3. ОБЩИЕ ПОЛОЖЕНИЯ

3.1. Настоящее Руководство разработано в развитие требований в части гидроизоляции следующих нормативных документов: СНиП 2.05.03-84* «Мосты и трубы», СНиП 3.06.04-91 «Мосты и трубы», СНиП 2.03.11-85 «Защита строительных конструкций от коррозии», СНиП 3.04.03-85 «Защита строительных конструкций и сооружений от коррозии», СНиП 3.04.01-87 «Изоляционные и защитные покрытия», ВСН 32-81 «Инструкция по устройству гидроизоляции конструкций мостов и труб на железных, автомобильных и городских дорогах».

3.2. Настоящее Руководство содержит сведения о выполнении гидроизоляции на пролётных строениях мостовых сооружений с железобетонной плитой проезжей части с использованием рулонного битумно-полимерного наплавляемого материала «Техноэластмост», производимого ЗАО «Технониколь» по ТУ 5774-004-00287852-00.

3.3. Гидроизоляционный материал «Техноэластмост» может быть применен во всех районах строительства РФ, в том числе с минимальной температурой наиболее холодных суток по СНиП 23-01-99 ниже минус 40 °С.

3.4. Настоящее Руководство содержит обязательные требования, которые необходимо соблюдать при проектировании и устройстве гидроизоляции в процессе строительства и ремонта сооружений, осуществлении контроля при производстве работ и приёмке сооружений в эксплуатацию.

3.5. В проекте сооружения должна быть предусмотрена конструкция дорожной одежды в целом, мероприятия по отводу воды с поверхностей элементов мостового полотна, плиты проезжей части, из пониженных мест, углов в пересечениях элементов конструкций, замкнутых полостей. Поверхностям, по которым стекает вода, должны придаваться уклоны в соответствии с нормами проектирования. Должен быть предусмотрен отвод воды, попавшей на гидроизоляцию.

Следует предусмотреть предотвращение затекания воды под гидроизоляцию, для чего необходимо в проекте предусматривать конструктивные решения её сопряжения с элементами мостового полотна.

4. КОНСТРУКЦИЯ ДОРОЖНОЙ ОДЕЖДЫ

4.1. Конструкцию дорожной одежды выполняют в соответствии с проектом и требованиями СНиП 2.05.03-84*.

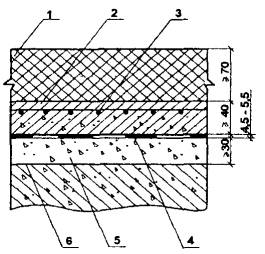
В общем случае конструкция дорожной одежды представлена на рис. 4.1.

Рис. 4.1. Конструкция дорожной одежды:

1 - асфальтобетонное покрытие - два слоя; 2 - бетонный защитный слой; 3 - арматурная сетка; 4 - гидроизоляция; 5 - бетонный выравнивающий слой; 6 - плита проезжей части

4.2. Гидроизоляцию выполняют из материала «Техноэластмост Б» толщиной 4,5 мм. Возможно применение материала «Техноэластмост С» толщиной 5,5 мм. Характеристики материала «Техноэластмост» приведены в Приложении А.

4.3. Бетонные слои дорожной одежды в соответствии со СНиП 3.06.04-91 должны быть выполнены из мелкозернистого бетона с водоцементным отношением не выше 0,42, имеющего класс по прочности на сжатие не ниже В25 по ГОСТ 26633-91, водонепроницаемость не ниже W6 по ГОСТ 12730.5-84* и марку по морозостойкости не ниже F300 по ГОСТ 10060-95. Бетон защитного слоя должен иметь марку по морозостойкости F300 при испытаниях в хлористых солях.

4.4. Защитный слой армируют плоскими сварными сетками по ГОСТ 23279-85*, укладка которых непосредственно на гидроизоляцию не допускается.

4.5. Покрытие выполняют двухслойным из особоплотного или плотного типа Б1 марки мелкозернистого асфальтобетона по ГОСТ 9128-97.

5. ТРЕБОВАНИЯ К ГИДРОИЗОЛИРУЕМОЙ ПОВЕРХНОСТИ

5.1. Гидроизолируемая поверхность должна иметь продольные и поперечные уклоны, соответствующие требованиям п. 1.74 СНиП 2.05.03-84*: продольный - в соответствии с продольным профилем сооружения, поперечный - не менее 20 ‰.

Допускается уменьшение поперечного уклона при условии, что суммарный векторный уклон составляет не менее 20 .

5.2. Гидроизолируемая поверхность не должна иметь раковин, наплывов бетона, трещин, неровностей с острогранными кромками, масляных пятен, пыли. Масляные пятна удаляют выжиганием, наплывы бетона срубают.

5.3. Гидроизолируемая поверхность должна быть ровной и соответствовать классу шероховатости 2-Ш, при котором допускается суммарная площадь отдельных раковин и углублений не более 3 мм до 0,2 % на 1 м2 при расстоянии между выступами и впадинами 1,2-2,5 мм (СНиП 3.04.03-85 табл. 2, 3).

5.4. При наличии на гидроизолируемой поверхности отдельных неровностей глубиной 10-15 мм их устраняют заполнением шпаклёвочными массами, которые должны быть удобоукладываемыми и в них не должны образовываться трещины после высыхания. Мелкие неровности могут быть заплавлены битумной мастикой.

5.5. При условии удовлетворения поверхности плиты проезжей части указанным в п.п. 5.2-5.4 требованиям и наличии соответствующих уклонов специальный выравнивающий слой под гидроизоляцию не устраивают.

5.6. К началу выполнения гидроизоляционных работ прочность на сжатие бетона выравнивающего слоя или плиты проезжей части при его отсутствии должна быть не менее 0,75 марочной.

5.7. Перед непосредственным устройством гидроизоляции изолируемая поверхность должна быть очищена от строительного мусора, пыли, плёнки цементного молока. Снятие плёнки цементного молока производят сухой или влажной струйно-абразивной очисткой. Окончательное удаление пыли производят промышленным пылесосом. Обработка поверхности фрезами, образующими бороздки в бетоне, а также механическими щетками и шлифованием не допускается.

5.8. Перед устройством гидроизоляции изолируемая поверхность должна быть сухой. Влажность бетона в поверхностном слое на глубине 20 мм должна быть не более 4 %.

5.9. Перед устройством гидроизоляции бетонную поверхность не грунтуют.

6. ПОРЯДОК ВЫПОЛНЕНИЯ ГИДРОИЗОЛЯЦИИ И ЕЁ ПРИМЫКАНИЙ К ЭЛЕМЕНТАМ МОСТОВОГО ПОЛОТНА

6.1. Проектная документация на сооружение должна содержать конструкцию дорожной одежды и чертежи деталей и узлов примыкания гидроизоляции к тротуарным блокам, ограждениям, карнизам, конструкциям деформационных швов, мачтам освещения и т.п.

6.2. Гидроизоляционные работы начинают с выполнения узлов примыкания гидроизоляции к элементам мостового полотна и только после их завершения переходят к гидроизоляции основных поверхностей.

6.3. В местах установки тротуарных блоков и железобетонных парапетных ограждений гидроизоляцию выполняют в зависимости от их конструкции.

В местах её примыкания к цоколю перильного и парапетного ограждений она должна быть заведена под устроенный в цоколе козырёк, глубина которого должна быть 15-20 мм, чтобы надёжно закрыть гидроизоляцию слоями дорожной одежды (рис. 6.1).

6.4. При наличии на проезжей части столиков, к которым крепят стойки барьерного ограждения, вокруг каждого столика должна быть выполнена гидроизоляция с выведением её на вертикальную поверхность столика до уровня верхней его плоскости (рис. 6.2). Гидроизоляция вертикальных поверхностей столиков может быть выполнена как из рулонного, так и мастичного гидроизоляционного материала, имеющего температуру хрупкости не ниже, чем у рулонного материала.

Рис. 6.1. Примыкание гидроизоляции к вертикальной поверхности

6.5. В местах примыкания к конструкциям деформационных швов выполняют гидроизоляцию в зависимости от конструкции перекрытия шва, но в любом случае она должна исключать протечки воды через плиту проезжей части.

6.5.1. При выполнении конструкции деформационных швов с компенсаторами лоткового типа (замкнутыми, незамкнутыми) гидроизоляция должна быть заведена в компенсатор и приклеена к нему (рис. 6.3).

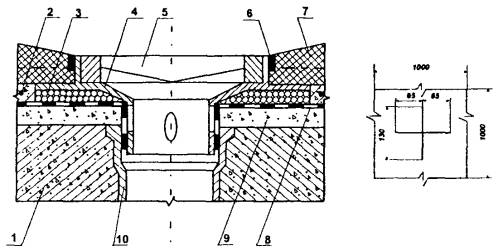
Рис. 6.2. Устройство гидроизоляции в месте расположения стойки ограждения:

1 - изолируемая поверхность; 2 - стойка ограждения; 3 - мастика; 4 - гидроизоляция столика; 5 - гидроизоляция проезжей части; 6 - закладная деталь в плите проезжей части; 7 - столик ограждения

Рис. 6.3. Устройство гидроизоляции в конструкции деформационного шва с компенсаторами лоткового типа:

1 - компенсатор; 2- защитный слой; 3 - гидроизоляция

6.5.2. При конструкциях деформационных швов со стальным окаймлением гидроизоляция должна быть заведена под козырек, образуемый окаймлением или бетонным приливом (рис. 6.4).

6.5.3. При выполнении конструкций деформационных швов, анкеруемых в пролетных строениях или дорожной одежде, примыкание гидроизоляции к ним выполняют в соответствии с технологическими регламентами их устройства.

Рис. 6.4. Устройство гидроизоляции в примыканиях к конструкциям деформационных швов с уголковым окаймлением:

1 - изолируемая поверхность; 2 - асфальтобетонное покрытие; 3 - защитный слой; 4 - мастика; 5 - окаймление деформационного шва; 6 - дренажный канал; 7 - бетонный прилив; 8 - гидроизоляция

6.6. Гидроизоляция должна быть надёжно сопряжена с водоотводными трубками (рис. 6.5). Вокруг трубки укладывают секторные косынки гидроизоляционного материала и заводят их концы в раструб трубки с нахлёсткой кромок не менее 50 мм.

После выполнения гидроизоляции в трубке выполняют основную гидроизоляцию, в которой делают крестообразный разрез и лепестки приклеивают внутри трубки.

После устройства гидроизоляции в трубку устанавливают прижимной стакан (водоприёмную воронку) и решётку. Пространство вокруг трубки заполняют дренирующим материалом.

Рис. 6.5. Сопряжение гидроизоляции с водоотводной трубкой и раскрой гидроизоляционного материала:

а) примыкание дорожной одежды к водоотводной трубке; б) раскрой гидроизоляционного материала;

1 - плита проезжей части, 2 - защитный слой; 3 - дренаж; 4 - воронка; 5 - решетка; 6 - битумная мастика; 7 - асфальтобетонное покрытие; 8 - гидроизоляция; 9 - выравнивающий слой; 10 - трубка

6.7. В соответствии с проектом выполняют устройство дренажной системы для отвода воды, попавшей на гидроизоляцию. Дренажная система содержит дренажные трубки и дренажные каналы, которые выполняют в соответствии с «Руководством по устройству дренажа на проезжей части мостовых сооружений», Союздорнии, 1997.

7. ТЕХНОЛОГИЯ УСТРОЙСТВА ГИДРОИЗОЛЯЦИИ

7.1. Гидроизоляцию из наплавляемого рулонного материала «Техноэластмост» укладывают в один слой по подготовленной в соответствии с разделом 3 поверхности выравнивающего слоя или плиты проезжей части.

7.2. Укладку гидроизоляционного материала производят, раскатывая рулоны в продольном направлении, начиная с пониженных мест (рис. 7.1).

Рис. 7.1. Порядок укладки гидроизоляционного материала

Допускается поперечная раскатка рулонов, как правило, на тротуарах с расположением нахлёстки полотнищ в поперечном направлении с учётом продольного уклона так, чтобы верхний рулон был наклеен на нижний с верховой по уклону стороны.

7.3. Перед укладкой гидроизоляции рекомендуется развернуть на подготовленное основание 5-6 рулонов, примерить каждый рулон по отношению к другому, обеспечив нахлёст по продольным кромкам. Затем приклеить концы всех рулонов с одной стороны и скатать материал снова в рулоны.

Рулон материала для удобства работы с ним и обеспечения необходимого качества гидроизоляции должен быть круглым. Плоский рулон материала следует перемотать.

7.4. Полотна рулонных материалов наклеивают с нахлесткой в стыках на 60-100 мм по продольным сторонам и не менее 150 мм в поперечных стыках. Поперечные стыки в смежных продольных полотнищах должны быть сдвинуты на 500 мм (рис. 7.2).

7.5. Устройство гидроизоляции из материала «Техноэластмост» производят путём его наклейки на бетонную поверхность, оплавляя нижнюю поверхность рулона пламенем воздушно-газовой горелки и одновременно подогревая поверхность основания, медленно разворачивая рулон и прижимая его к основанию. Небольшой валик мастики в месте соприкосновения рулона с основанием свидетельствуют о правильном температурном режиме наплавки. Наличие большого количества вытекающей массы, а также появление дыма указывают на перегрев материала, что может привести к нарушению его сплошности и долговечности. Имеющаяся на нижней поверхности материала полиэтиленовая плёнка должна быть полностью расплавлена вместе с битумной массой.

Рис. 7.2. Соединение полотен гидроизоляционного материала

 7.6. Наклеенные полотнища не должны иметь складок, морщин, волнистости. Но если это случится, допускаемая высота складки, расположенной вдоль уклона, не должна превышать 10 мм.

Для наклейки «Техноэластмоста» по всей поверхности и недопущения указанных дефектов при необходимости полотнища прикатывают мягкими щетками и валиками, движения которых должны быть от оси рулона по диагонали к его краям. Особенно тщательно приглаживают кромки материала (рис. 7.3).

Рис. 7.3. Схема прикатки гидроизоляционного материала

7.7. Для наклейки «Техноэластмоста» применяют газ пропан с расходом 0,3-0,6 л/м2 в зависимости от температуры воздуха. Наклейку производят однофакельными или многофакельными горелками.

7.8. При выполнении гидроизоляционных работ следует принять меры предосторожности против попадания на гидроизоляцию масла, бензина, дизельного топлива и других растворителей. В случае пролива указанных материалов поврежденный участок вырезают и ставят заплату.

8. УСЛОВИЯ ПРОИЗВОДСТВА ГИДРОИЗОЛЯЦИОННЫХ РАБОТ

8.1. В соответствии с требованиями СНиП 3.06.03-85 п. 10.16 устройство асфальтобетонных покрытий можно выполнять осенью при температуре не ниже плюс 10 °С, поэтому организация работ на объекте должна предусматривать завершение гидроизоляционных работ до наступления низких температур воздуха.

8.2. В случае необходимости производства работ по устройству гидроизоляции при низких температурах воздуха предпочтительно производить работы в тепляках, хотя с материалом «Техноэластмост» можно работать при температурах до минус 25 °С без тепляка.

8.3. Поверхность плиты проезжей части в зимний период должна быть очищена от снега и льда и прогрета горелками.

8.4. В зимний период при раскатки рулонов материала их необходимо слегка подогревать пламенем горелки с наружной стороны.

9. ТРЕБОВАНИЯ К ОБОРУДОВАНИЮ И ГИДРОИЗОЛИРОВЩИКАМ ПРИ ВЫПОЛНЕНИИ ГИДРОИЗОЛЯЦИОННЫХ РАБОТ

9.1. По гидроизоляции не допускается движение транспортных средств, кроме подвозящих бетонную смесь для защитного слоя.

9.2. На выполненной гидроизоляции не допускается резкое торможение и разворот автомобилей.

9.3. Протекторы на всём оборудовании, перемещающемся по гидроизоляции, должны регулярно проверяться и застрявшие в них каменные материалы удаляться.

9.4. Рабочие, занимающиеся укладкой гидроизоляции, должны быть обуты в обувь с гладкой подошвой, чтобы избежать повреждения гидроизоляции.

10. КОНТРОЛЬ КАЧЕСТВА ВЫПОЛНЕНИЯ ГИДРОИЗОЛЯЦИИ, ПРАВИЛА ПРИЁМКИ

10.1. Устройству гидроизоляции должна предшествовать приёмка выравнивающего слоя. Исполнитель должен представить заказчику журнал производства работ, протоколы испытаний бетона выравнивающего слоя по определению показателей прочности, водонепроницаемости, морозостойкости, влажности, а также акты на скрытые работы по результатам инструментального контроля ровности и уклонов поверхности.

При приёмке выравнивающего слоя определяют его соответствие требованиям р. 3 настоящего руководства.

10.2. Ровность основания и его шероховатость проверяют трёхметровой рейкой по ГОСТ 2789-73*. Рейку укладывают на поверхность выравнивающего слоя в продольном и поперечном направлениях и с помощью имеющегося в комплекте измерителя замеряют зазоры по ее длине, округляя результаты измерений до 1 мм.

Просветы под трехметровой рейкой должны быть только плавного очертания и не более одного на 1 м. Максимальная глубина просвета не должна превышать 5 мм.

10.3. Влажность основания оценивают непосредственно перед устройством гидроизоляции неразрушающим методом при помощи поверхностного влагомера, например, ВСКМ-12. Допускается определять влажность основания на образцах, выбуренных из бетона основания под гидроизоляцию, в соответствии с ГОСТ 5802-86 или ГОСТ 17177-94. Влажность определяют в трех точках изолируемой поверхности. При превышении площади 500 м2 количество точек измерения увеличивается на одну на каждые 500 м2, но не более шести точек.

10.4. Перед выполнением гидроизоляции производят приёмку «Техноэластмоста» по паспортам в соответствии с ГОСТ 2678-94 и ГОСТ 26627-85, сопоставляя физико-механические характеристики с приведёнными в настоящем руководстве.

По требованию заказчика о контрольной проверке физико-механических характеристик материала испытания выполняют в соответствии с ТУ 5774-004-00287852-00 и ГОСТ 2678-94. Определение количественных показателей характеристик должно быть выполнено также в случае истечения гарантийного срока хранения материала.

В случае несоответствия поступивших материалов нормативным требованиям составляют акт на брак и такие материалы при производстве работ не применяют.

10.5. При приёмке гидроизоляции производят визуальный контроль её сплошности по всей гидроизолируемой поверхности, проверяют сопряжение её с элементами мостового полотна, определяют наличие дефектов приклейки гидроизоляции. Качество приклейки гидроизоляции определяют визуально по наличию или отсутствию пузырей и путём простукивания гидроизоляции тупым металлическим стержнем. Места непроклея определяются по глухому звуку.

10.6. При наличии пузырей в гидроизоляции, свидетельствующих об отсутствии её приклейки к основанию, их устраняют, разрезая пузырь крест - накрест (рис. 10.1).

Отгибают неприклеенные концы материала, производят их приклейку оплавлением нижней поверхности и перекрывают повреждённое место заплатой с нахлёсткой со всех сторон разрезов на 100 мм. Допускается проплавление кромок материала без постановки заплаты.

10.7. Адгезию рулонных материалов проверяют испытанием на отдир в трех точках на каждые 500 м2 площади, для чего в гидроизоляционном материале делают П-образный надрез с размерами сторон 200×50×200 мм. Свободный конец полосы надрывают и тянут под углом 120-180°.

Разрыв должен быть когезионным, т.е. должно происходить расслоение материала по толщине. По результатам испытаний составляют протокол.

Испытание должно производиться через 1 сутки после наклейки гидроизоляции при температуре не выше 30 °С под гидроизоляцией. Гидроизоляцию в месте проведения контроля восстанавливают по п. 10.6.

Рис. 10.1. Устранение дефекта - разрезка пузыря

10.8. Результаты приёмки гидроизоляции оформляют актом на скрытые работы установленной формы.

10.9. После устройства защитного слоя производят его приемку по п. 10.1.

10.10. Формы исполнительной документации по устройству конструкции дорожной одежды приведены в Приложении Б.

11. ТЕХНИКА БЕЗОПАСНОСТИ ПРИ ВЫПОЛНЕНИИ ГИДРОИЗОЛЯЦИОННЫХ РАБОТ

11.1. Гидроизоляционные работы выполняют с соблюдением правил безопасности, предусмотренных главой СНиП 12-03-99 «Безопасность труда в строительстве, ч. 1. Общие требования», «Правилами техники безопасности и производственной санитарии при сооружении мостов и труб».

11.2. Гидроизоляционные работы должны выполнять гидроизолировщики, сдавшие в установленном порядке техминимум по технологии производства работ и технике безопасности. Руководство работами и контроль качества должны выполнять лица, имеющие опыт гидроизоляции мостовых сооружений. Каждый рабочий при допуске к работе должен пройти инструктаж на рабочем месте с соответствующей записью в журнале.

11.3. На объекте должны быть руководящие материалы по производству работ и технике безопасности работы с материалом «Техноэластмост».

11.4. Работы по устройству гидроизоляции должны проводиться с соблюдением требований пожарной безопасности. Рабочие места должны быть оборудованы средствами пожаротушения.

11.5. Укрытия для производства гидроизоляционных работ должны быть оборудованы эффективной вентиляцией. При недостаточной вентиляции необходимо использовать респираторы с угольным фильтром.

11.6. Кожу лица и рук следует защищать специальными защитными пастами и кремами.

11.7. Производство струйно-абразивной очистки следует осуществлять в защитных шлемах пескоструйщика и специальных комбинезонах для пескоструйных работ.

11.8. Уровень шума газовых горелок и пескоструйных аппаратов может достигать 88-96 децибел, что требует защиты органов слуха. Предпочтительнее использовать маломощные горелки из-за низкого уровня шума.

11.9. При работе с газовыми баллонами и оборудованием струйно-абразивной очистки следует соблюдать правила работы с аппаратами, находящимися под давлением.

11.10. На рабочем месте должны быть средства индивидуальной защиты, соответствующие требованиям ГОСТ 12.4.011-89; для защиты органов дыхания - респираторы типа «лепесток», Ф-62Ш, РУ-60М и другие, отвечающие требованиям ГОСТ 12.4.041-89; для защиты кожи - пасты типа силиконовых: ПМ-1, ХИОТ БГ и другие, отвечающие требованиям ГОСТ 12.4.068-79*; рукавицы и мыло; для защиты глаз - защитные очки по ГОСТ 12.4.013-85. В цехе должны быть вода и аптечка с медикаментами для оказания первой помощи.

12. ОХРАНА ОКРУЖАЮЩЕЙ СРЕДЫ

12.1. Перед началом гидроизоляционных работ на территории объекта должны быть выделены места складирования материалов, баллонов с горючим газом.

12.2. При работе с гидроизоляционными материалами высвобождаются поддоны, этикетки, обрезки гидроизоляционных материалов. Их утилизация должна быть предусмотрена в специально отведённых местах.

Приложение А

ФИЗИКО-МЕХАНИЧЕСКИЕ ХАРАКТЕРИСТИКИ МАТЕРИАЛА «ТЕХНОЭЛАСТМОСТ»
ТУ 5774-004-00287852-00

Характеристика

Количественные показатели для марок

«Техноэластмост» Б

«Техноэластмост» С

Масса материала, г/м2,

в т.ч. с наплавляемой стороны

5000 ± 200

2000

6000 ± 200

2000

Масса основы, г/м2

До 180

До 200

Тип основы

Полиэфирная

Вид антиадгезионного материала:

 

на верхней поверхности

Песок

на нижней поверхности

Полимерная пленка

Размеры материала в рулоне:

 

 

ширина, мм

1000 ± 30

1000 ± 30

толщина полотна, мм

4,5

5,5

длина, м

7,5-10,0

7,5-10,0

Разрывная сила при растяжении образца шириной 50 мм, Н (кгс), не менее:

 

 

в продольном направлении

600 (60)

1000 (100)

в поперечном направлении

600 (60)

900 (90)

Относительное удлинение при разрыве, %, не менее

20

20

Теплостойкость, °С, не ниже

100

110

Водонепроницаемость, в течение 24 ч, МПа, (кгс/см2), не ниже

0,2 (2)

0,2 (2)

Гибкость: при изгибании на брусе радиусом закругления 10 мм на поверхности не должны появляться трещины при температуре, °С, не выше

Минус 25

Минус 25

Температура хрупкости по Фраасу, °С, не выше

Минус 35

Минус 35

Приложение Б

ФОРМА АКТА ОСВИДЕТЕЛЬСТВОВАНИЯ И ПРИЕМКИ
СКРЫТЫХ РАБОТ ПО ГИДРОИЗОЛЯЦИИ,
АНТИКОРРОЗИОННОЙ ЗАЩИТЕ, ОКРАСКЕ

Строительная организация __________________________________________________

Строительство ____________________________________________________________

(наименование и месторасположение, км и ПК)

АКТ №
ОСВИДЕТЕЛЬСТВОВАНИЯ И ПРИЕМКИ СКРЫТЫХ
РАБОТ ПО ГИДРОИЗОЛЯЦИИ, АНТИКОРРОЗИОННОЙ
ЗАЩИТЕ, ОКРАСКЕ

«__» ___________ 200_ г.

Комиссия в составе:

Представителя ____________________________________________________________

(наименование подразделения, треста, фамилия, имя, отчество, должность)

представителя технического надзора Заказчика ________________________________

_________________________________________________________________________

(фамилия, имя, отчество, должность)

произвела осмотр работ, выполненных _______________________________________,

(наименование подразделения, треста)

и составила настоящий акт о нижеследующем:

1. К освидетельствованию и приемке предъявлены следующие работы _____________

_________________________________________________________________________

_________________________________________________________________________

(наименование этапов скрытых работ)

2. Работы выполнены в соответствии с рабочей документацией, разработанной

_________________________________________________________________________

_________________________________________________________________________

(наименование проектных организаций, № чертежей и даты их разработки)

Порядок, условия производства, результаты освидетельствования и приемки выполняемых работ отражены в журнале работ № _________________________ При выполнении работ применены _______________________________________________

_________________________________________________________________________

(наименование материалов с указанием марок, категории качества и т.п.)

Решение комиссии. Работы выполнены в соответствии с рабочей документацией, стандартами, строительными нормами и правилами, ведомственными строительными нормами, технологическими правилами и отвечают требованиям их приемки.

Предъявляемые к приемке работы, указанные в п. 1 настоящего акта, приняты с оценкой качества __________________________________________________________

_________________________________________________________________________

На основании изложенного разрешается производство последующих работ по устройству _______________________________________________________________

_________________________________________________________________________

(наименование работ, конструкций)

__________________________________

__________________________________

(подписи)

Примечание. Освидетельствование и приемка скрытых работ по настоящему акту производится по окончании следующих этапов работ:

установки водоотводных трубок и устройства подготовки основания под изоляцию, подготовки металлической поверхности для нанесения антикоррозионного покрытия или грунтовки;

устройства защитного слоя гидроизоляции или защитно-сцепляющего слоя антикоррозионной защиты;

устройства гидроизоляционного слоя (ковра), нанесения антикоррозионного покрытия или грунтовки.

Приложение В

ФОРМА ЖУРНАЛА РАБОТ ПО ГИДРОИЗОЛЯЦИИ, АНТИКОРРОЗИОННОЙ ЗАЩИТЕ, ОКРАСКЕ СТАЛЬНЫХ КОНСТРУКЦИЙ

Наименование организации, выполняющей работы _____________________________

Наименование объекта строительства ________________________________________

Должность, фамилия, инициалы и подпись лица, ответственного за выполнение работ по гидроизоляции, антикоррозионной защите и ведение журнала

_________________________________________________________________________

Организация, разработавшая проектную документацию

_________________________________________________________________________

Шифр проекта ____________________________________________________________

Предприятие, изготовившее конструкции _____________________________________

_________________________________________________________________________

Шифр заказа _____________________________________________________________

Заказчик (организация), должность, инициалы и подпись руководителя (представителя) технического надзора

_________________________________________________________________________

_________________________________________________________________________

Журнал начат «___» _________ 200___ г.

Журнал окончен «___» _______ 200___ г.

Дата, смена

Наименование работ

Объем работ с указанием измерителя

Температура окружающей среды

Влажность воздуха, %

Время начала и окончания работ, ч

Применяемые материалы

Наименование

ГОСТ или ТУ

№ паспорта

№ анализа, карты (карточки), подборов

1

2

3

4

5

6

7

8

9

10

 

Температура в °С (средняя) и продолжительность сушки уложенного слоя, ч

Фамилия, И., О., и подпись ответственного за выполнение работы (бригадир, мастер)

Освидетельствование и приемка работ

Примечание

Результаты осмотра и контроля выполненных работ, обнаруженных дефектов и указания по их устранению Дата, фамилия, инициалы и подпись проверяющего (мастер, прораб)

Отметка о приемке, оценка качества и подпись ответственного за приемку работ

11

12

13

14

15

Указания по ведению журнала.

1. Журнал составлен для записей работ по гидроизоляции, антикоррозионной защите и окраске стальных конструкций (при малых объемах работ - на объект).

2. На обложке журнала ненужные виды работ зачеркиваются.

3. На титульном листе вид работ, для которого предназначается журнал, проставляется прописью.

В настоящем журнале прошнуровано

и пронумеровано ____________________ страниц

Начальник производственно-технического

отдела __________________________________________________

(фамилия, инициалы, подпись)

Место печати

подразделения треста

«___» ________________ 200___ год

СОДЕРЖАНИЕ

Предисловие. 1

1. Область применения. 1

2. Нормативные ссылки. 1

3. Общие положения. 2

4. Конструкция дорожной одежды.. 2

5. Требования к гидроизолируемой поверхности. 3

6. Порядок выполнения гидроизоляции и её примыканий к элементам мостового полотна. 4

7. Технология устройства гидроизоляции. 6

8. Условия производства гидроизоляционных работ. 7

9. Требования к оборудованию и гидроизолировщикам при выполнении гидроизоляционных работ. 7

10. Контроль качества выполнения гидроизоляции, правила приёмки. 7

11. Техника безопасности при выполнении гидроизоляционных работ. 9

12. Охрана окружающей среды.. 9

Приложение а Физико-механические характеристики материала «техноэластмост». 9

Приложение б Форма акта освидетельствования и приемки скрытых работ по гидроизоляции, антикоррозионной защите, окраске. 10

Приложение в Форма журнала работ по гидроизоляции, антикоррозионной защите, окраске стальных конструкций. 11

 




Rambler's Top100 Яндекс цитирования
  Copyright © 2008-2026, www.docload.ru