Бесплатная библиотека стандартов и нормативов www.docload.ru

Все документы, размещенные на этом сайте, не являются их официальным изданием и предназначены исключительно для ознакомительных целей.
Электронные копии этих документов могут распространяться без всяких ограничений. Вы можете размещать информацию с этого сайта на любом другом сайте.
Это некоммерческий сайт и здесь не продаются документы. Вы можете скачать их абсолютно бесплатно!
Содержимое сайта не нарушает чьих-либо авторских прав! Человек имеет право на информацию!

 

Научно-исследовательский институт
строительных конструкций (НИИСК)
Госстроя СССР

Рекомендации
по оценке состояния
и усилению строительных конструкций
промышленных зданий и сооружений

МОСКВА СТРОЙИЗДАТ 1989

Рекомендованы к изданию решением секции Ученого Совета НИИСК Госстроя СССР.

Рекомендации по оценке состояния и усилению строительных конструкций промышленных зданий и сооружений/НИИСК. - М.: Стройиздат, 1989.

Содержат материалы по оценке состояния конструкций промышленных зданий, получивших повреждения вследствие воздействия на них аварий, в том числе и от неравномерных просадочных деформаций основания, или пожара на взрывоопасных производствах, а также по принципам выбора проектных решений и методов усиления конструкций.

Могут быть использованы также при усилении существующих промышленных предприятий при реконструкции и техническом их перевооружении.

Предназначены для инженеров-проектировщиков.

Разработаны НИИСК Госстроя СССР (кандидаты техн. наук Е.И. Стаковиченко, Р.Б. Харченко, В.И. Скуцкий, Б.П. Ковтунов); НИИЖБ Госстроя СССР (д-р техн. наук В.В. Жуков, канд. техн. наук Б.Н. Мизернюк), ЦНИИСК им. Кучеренко Госстроя СССР (канд. техн. наук Б.Г. Бажанов).

1. Общие положения

1.1. Рекомендации предназначены для использования при обследовании состояния существующих конструкций и проектирования необходимых усилений конструкций производственных зданий, восстанавливаемых после полученных разрушений или повреждений после аварий, пожаров и землетрясений.

Рекомендации распространяются на производственные здания с железобетонными и стальными несущими и ограждающими конструкциями и устанавливают порядок: технического обследования поврежденных конструкций; способов оценки состояния строительных конструкций; проведения поверочных расчетов; усиления или восстановления конструкций на воздействие нагрузок, не превышающих их прежних значений.

Восстановление зданий с деревянными конструкциями, а также с конструктивными решениями, не имеющими широкого распространения, например с пространственными или большепролетными конструкциями покрытий, в Рекомендациях не рассматриваются.

При составлении технической документации на усиление или восстановление конструкций следует соблюдать требования нормативных документов, регламентирующих проектирование и строительство железобетонных и стальных конструкций зданий.

Исходные данные для проектирования

1.2. Проектирование восстановления или усиления зданий следует производить на основе следующих данных:

технического обследования и обмеров поврежденных конструктивных элементов здания;

наличия у заказчика или у строительно-монтажной организации необходимых для восстановления строительных конструкций и материалов, в том числе номенклатуры строительных конструкций и материалов, централизованной поставки;

имеющихся в распоряжении строительно-монтажной организации строительных машин и механизмов;

геологических и климатических условий района строительства;

технико-экономического обоснования восстановления.

Следует также использовать имеющуюся в наличии ранее разработанную проектную документацию, паспорта и чертежи конструкций.

1.3. Техническое обследование строительных конструкций разрушенного или поврежденного здания осуществляется специальной комиссией, состоящей из представителей заказчика, проектной и строительно-монтажной организаций.

В первую очередь комиссия определяет аварийные работы, которые выполняются без проектной документации на основании указаний комиссии. К таким работам относятся мероприятия по ликвидации последствий разрушения, представляющие опасность при проведении восстановительных работ, расчистке завалов и т.д.

При техническом обследовании поврежденного здания необходимо:

выявить объемно-планировочные параметры, конструктивную схему здания и материалы, использованные при изготовлении основных несущих и ограждающих конструкций, по имеющимся чертежам или осмотром в натуре;

выявить основные несущие конструкции;

обследовать состояние фундаментов и оснований;

проверить наличие и сохранность связей, обеспечивающих устойчивость зданий и отдельных его частей (горизонтальные и вертикальные связи по колоннам, связи покрытия и т.д.);

определить характер и степень разрушения или повреждения здания в целом и его отдельных конструктивных элементов, выявить конструкции, сохранившиеся после повреждения здания.

1.4. В результате технического обследования составляются и утверждаются заказчиком следующие документы (см. прил. 3, 4):

паспорт разрушенного (поврежденного) здания;

дефектные ведомости несущих и ограждающих конструкций;

ведомость объемов работ;

пояснительная записка.

В паспорте приводится характеристика здания: наименование, план и разрез, наличие и грузоподъемность кранового оборудования, материал основных несущих и ограждающих конструкций, степень разрушенных конструктивных элементов (% ко всем элементам этого типа), оценка степени разрушения здания.

В дефектной ведомости приводятся наименования и марка конструктивного элемента, эскиз, характер повреждения, прочностные характеристики его материалов. Здесь же должны быть приведены перечни конструкций, подлежащих замене как непригодные, пригодные для исправления, усиления или восстановления и не требующие этого.

В пояснительную записку включается характеристика разрушения (повреждения) здания в целом и его отдельных конструктивных элементов, рекомендации по устранению завалов и проходов в них, сведения об имеющихся в наличии строительных материалах и конструкциях, рекомендации по методам усиления и восстановления.

1.5. Тип восстановления должен определяться исходя из характера повреждения сооружения и директивных сроков восстановления, а в случае отсутствия жестко регламентированных сроков - на основе технико-экономического сравнения возможных вариантов усиления и восстановления.

При этом следует в каждом конкретном случае рассматривать возможность целесообразного применения поврежденных конструкций, сравнивая трудозатраты на их ремонт и восстановление с трудозатратами на изготовление заменяющих их новых конструкции.

Ориентировочные объемы и характер работ при восстановлении следует определять для одноэтажных и многоэтажных зданий в соответствии с табл. 1.

1.6. При разработке проектов восстановления разрушенных зданий для времени их эксплуатации более года следует соблюдать требования СНиП 2.01.02-85 «Противопожарные нормы».

Таблица 1

Степень разрушения здания

Отношение трудозатрат на восстановление, % к трудозатратам на строительство всего здания

Степень разрушения конструктивных элементов здания, %

Рекомендации по восстановлению

для одноэтажных зданий

для многоэтажных зданий

колонн каркаса и подкрановых балок

Ферм (балок) и связей покрытия

Плит покрытия, кровли и фонарей

стен фахверков и заполнения проемов

колонн

перекрытий

покрытий

стен

Слабая

5 - 15

5 - 10

5 - 10

10 - 20

10 - 20

5 - 10

5 - 10

20 - 30

10 - 20

Восстановительный ремонт производится, как правило, без изменения конструктивной схемы и без технико-экономического обоснования

Средняя

15 - 40

10 - 40

10 - 40

20 - 40

20 - 50

10 - 30

10 - 40

30 - 50

20 - 40

Восстановление производится с сохранением оставшихся конструкций

Сильная

40 - 80

40 - 60

40 - 80

40 - 80

50 - 80

30 - 60

40 - 80

50 - 80

40 - 80

Восстановление без разборки оставшихся конструкций допускается только при технико-экономическом обосновании

Полная

Св. 80

Св. 60

Св. 80

Св. 80

Св. 80

Св. 80

Св. 80

Св. 80

Св. 80

Восстановление производится по новому проекту с разборкой оставшихся конструкций

2. Оценка состояния железобетонных конструкций

Оценка состояния конструкций, подвергшихся воздействию аварии, землетрясению

2.1. Оценка состояния железобетонных конструкций производится в целях установления:

опасности обрушения конструкции, т.е. степени ее критического состояния;

возможности использования конструкций при их усилении для капитального восстановления.

2.2. Оценка состояния конструкций производится на основании их визуального, визуально-инструментального обследования и проведения поверочных расчетов.

2.3. При визуальном обследовании фиксируются:

общий характер и степень повреждения железобетонных конструкций для предварительного определения возможностей их восстановления и усиления;

состояние анкеровки продольной и поперечной арматуры (в частности, наличие косых трещин, пересекающих нижнюю грань балки около опор, а также продольных трещин и сколов бетона около опор, которые могут указывать на нарушение анкеровки продольной арматуры на данной опоре);

наличие или отсутствие разрывов арматуры;

характер прогибов при сопоставлении их с расположением и раскрытием трещин в железобетонных элементах;

наличие трещин и отслоений бетона в сжатой зоне железобетонных элементов, указывающее на изменение структуры или разрушение бетона сжатой зоны.

2.4. При визуально-инструментальном обследовании с использованием специальных приборов определяются геометрические размеры конструкций и их сечений, фиксируются отклонения их от проектного положения, измеряется ширина раскрытия трещин, диаметры и расположение арматуры. В необходимых случаях производится установка гипсовых маяков, отбор образцов материалов для определения прочностных и деформативных характеристик.

2.5. Оценку состояния неразрушенных железобетонных конструкций следует производить, руководствуясь главным образом наличием и размерами трещин как в растянутой, так и в сжатой зоне конструкций.

Раскрытие трещин до величин 0,3 - 0,4 мм, допускаемых нормами, указывает на нормальную работу железобетонного элемента конструкции (в соответствии с расчетом) под полной нагрузкой.

Раскрытие трещин свыше 0,4 мм свидетельствует о перегрузке конструкции, приведшей к образованию остаточных деформаций (достижение арматурой пластических удлинений или образование сдвигов, нарушение ее сцепления с бетоном).

Раскрытие трещин до величины, измеряемой сантиметрами, свидетельствует о значительных разрушениях конструкции или ее элементов, о возможных разрывах арматуры или нарушениях ее анкеровки, при которых конструкцию следует считать находящейся в критическом состоянии (представляющей опасность обрушения).

Образование трещин в сжатых элементах в направлении, параллельном действию сжимающего усилия, в особенности с появлением лещадок и отколов бетона, свидетельствует о начавшемся разрушении сжатого бетона, за исключением случаев, когда такие трещины и отколы вызваны коррозией продольной арматуры (или усадкой). Такое состояние элемента также относится к критическому.

Поперечные трещины в сжатых элементах свидетельствуют о возникновении в этих элементах растягивающих напряжений (возможно временных), что указывает на снижение несущей способности конструкции (примерно до 15 %), а не на ее критическое состояние.

Продольные трещины в растянутых элементах также свидетельствуют о возникновении в этих элементах растяжения в поперечном направлении, возникающего от усадки, обжатия преднапряженной арматурой (при отсутствии или недостаточности растягивающего усилия от внешней нагрузки), недостаточности поперечного армирования, коррозии продольной арматуры или ее выдергивания из бетона. В общем случае, за исключением двух последних причин, эти трещины также не указывают на критическое состояние элемента.

Поперечные и наклонные трещины в железобетонных предварительно напряженных элементах свидетельствуют или о перегрузке конструкции или о потере эффекта предварительного напряжения.

2.6. В зависимости от развития вышеперечисленных признаков конструкции подразделяются на:

слабоповрежденные, восстанавливаемые путем обычного ремонта с затиркой и штукатуркой сколов цементным раствором;

среднеповрежденные, требующие для восстановления перебетонирования отколотых мест с частичной разборкой бетона и исправлением поврежденной арматуры без увеличения и усиления элементов конструкции;

сильноповрежденные, для которых восстановление возможно лишь с помощью увеличения сечений, введения дополнительных опор, заменяющих конструкций, обойм, усиления армированием или устройством дополнительных затяжек, шпренгелей, опор, распорок и др.;

полностью разрушенные, при которых восстановление конструкции невозможно и требуется ее замена.

Ориентировочно степень повреждения конструкций и характер мероприятий по их восстановлению следует принимать по табл. 2.

Таблица 2

Степень повреждения

Характеристика повреждений

Мероприятия по восстановлению

Слабая

Не снижающие несущую способность конструкций: небольшие сколы в пределах толщины защитного слоя бетона; трещины в растянутой зоне шириной до 0,5 мм в непреднапряженных и до 0,2 мм в преднапряженных элементах без повреждения арматуры и т.д.

Ремонт с затиркой и штукатуркой сколов цементным раствором

Средняя

Снижающие несущую способность конструкций: сколы, достигающие 30 % всего сечения элемента; разрыв до 30 % рабочей арматуры; трещины раскрытием до 0,5 мм в преднапряженных растянутых и изгибаемых элементах; сквозные трещины с раскрытием до 1 мм, с прогибами до 1/50 пролета

Ремонт с частичной разборкой бетона, исправлением поврежденной арматуры, перебетонированием сколотых мест, инъецированием трещин, увеличением сечений или усилением элементов конструкций

Сильная

Значительно снижающие несущую способность конструкции: разрушения свыше 30 % всего сечения элемента; разрыв от 30 до 50 % рабочей арматуры; разрушение в зонах анкеровки арматуры; прогибы свыше 30 % пролета с раскрытием трещин в растянутой зоне более 1 мм

Ремонт с увеличением сечений элементов, возведением дополнительных опор, распорок, усилением арматуры, а также заменой отдельных элементов или конструкций новыми

Полная

Свидетельствующие о критическом состоянии конструкции: разрушение свыше 50 % сечения сжатой зоны бетона; разрыв свыше 50 % сечения рабочей арматуры

Восстановление нецелесообразно

2.7. К слабоповрежденным железобетонным конструкциям относятся конструкции с небольшими сколами в пределах толщины защитного слоя бетона, с трещинами в растянутой зоне шириной до 0,5 мм в обычно армированных и до 0,2 мм - в преднапряженных элементах без повреждений арматуры. Расчетная несущая способность таких конструкций не снижена.

2.8. К среднеповрежденным железобетонным конструкциям относятся конструкции со сколами, достигающими 30 % всего сечения элемента, или с разрывами отдельных стержней рабочей арматуры до 30 %, с трещинами раскрытием до 0,5 мм в преднапряженных и до 5 мм в непреднапряженных растянутых и изгибаемых элементах конструкций, в том числе со сквозными трещинами с раскрытием до 1 мм, с прогибами до 1/50 пролета при наличии трещин в растянутой зоне.

2.9. К сильноповрежденным конструкциям относятся конструкции, имеющие разрушения свыше 30 % всего сечения элемента или разрыв от 30 до 50 % рабочей арматуры, а также разрушения в зонах анкеровки арматуры с прогибами свыше 1/50 пролета.

2.10. Железобетонные элементы конструкций, имеющие повреждения свыше 50 % всего сечения рабочей арматуры, относятся в общем случае к разрушенным, хотя в некоторых случаях, в зависимости от схемы конструкции, могут не обрушиться и рассматриваться как сильноповрежденные.

Оценка состояния железобетонных конструкций, подвергшихся воздействию пожара

2.11. Состояние конструкций может быть оценено по признакам, изложенным в табл. 3.

Характерными признаками аварийности конструкции при этом могут быть:

прогибы конструкций, превышающие 1/50 пролета, с образованием трещин с шириной раскрытия свыше 1 мм;

выколы и отслоения бетона, при которых площадь поперечного сечения элемента уменьшается на 30 - 50 %;

глухой звук при простукивании бетона, зыбкость конструкций, нарушение анкеровки арматуры в опорных узлах, отрыв закладных и опорных деталей;

нагрев арматуры до температуры выше 300 °С.

Таблица 3

Степень повреждения

Характеристика повреждения

Мероприятия по восстановлению

Слабая

Повреждения, не снижающие несущей способности конструкций: наличие следов сажи и копоти; шелушение отдельных слоев поверхности бетона; незначительные сколы бетона

Ремонт с очисткой поверхности бетона, штукатурка, шпатлевка, окраска

Средняя

Повреждения, снижающие несущую способность конструкций: изменение серого цвета бетона до розового и буро-желтого; элементы полностью покрыты сажей и копотью; наличие сколов бетона по углам; обнажение арматурной сетки на плоских элементах площадью около 10 %; обнажение угловой арматуры в элементах прямоугольной формы; отделение наружных слоев бетона без их обрушения (при простукивании прослушивается глухой звук); трещины шириной до 0,5 мм

Ремонт с разборкой отделившихся слоев бетона; перебетонирование; инъецирование трещин; увеличение сечений элементов

Сильная

Повреждения, значительно снижающие несущую способность конструкций: цвет бетона - желтый; сколы бетона - до 30 % сечения элемента; обнажение арматурной сетки в плоских элементах на площади более 10 %; обнажено до 50 % рабочей арматуры прямоугольных элементов; выпучен один стержень арматуры элемента; отвалились поверхностные слои бетона, звук оставшихся слоев - глухой; трещины шириной до 1 мм

Ремонт с увеличением сечений элементов; введение дополнительных опор, распорок; усиление арматуры

Полная

Повреждения, свидетельствующие о критическом состоянии конструкций: цвет бетона - желтый; сколы бетона - от 30 до 50 % площади сечения элемента; обнажено до 90 % арматуры; выпучилось более одного стержня арматуры; нарушена анкеровка, сцепление арматуры с бетоном; нагрев арматуры свыше 300 °С; отрыв закладных и опорных деталей; зыбкость конструкции; прогибы свыше 1/50 пролета; трещины шириной более 1 мм.

Восстановление нецелесообразно; замена разрушенных конструкций новыми

2.12. В процессе осмотра намечаются необходимые подготовительные работы по обеспечению доступа к конструкциям, выявляется вид арматурной стали, примененной в поврежденных конструкциях (стержневая, проволочная), и собираются сведения о температурном воздействии: продолжительность, возможное значение температуры, расстояние конструкций от очага (эпицентра) тепловых воздействий, способе тушения и т.д. Эти сведения необходимы при определении прочностных свойств бетона и арматурной стали.

2.13. Конструкции с явными признаками аварийности (перечисленными в п. 2.11) подлежат усилению. Для конструкции, у которых такие признаки отсутствуют, но есть опасения в снижении прочности бетона, необходимо провести дополнительное обследование.

При проведении дополнительного обследования с целью определения прочности бетона с применением неразрушающих методов весьма эффективной может оказаться сравнительная оценка бетона в пострадавших конструкциях относительно однотипных непострадавших от влияния температуры. Влияние температурного нагрева на снижение кубиковой и призменной прочности бетона дано в табл. 4, модуля упругости - в табл. 5.

Кроме величины температуры большое значение имеет время ее действия. Так, при внешней постоянной температуре 1000 - 1100 °С арматура на глубине 2,5 см прогревается до 550 °С через 1 ч, а на глубине 5 см - через 2 ч. Изменения прочностных свойств арматурных сталей в процессе нагревания и после охлаждения приведены в табл. 6 и 7.

Таблица 4

Вид крупного заполнителя, условия твердения бетона

mбt (над чертой) и mбt (под чертой) при t, °С

20

80

120

200

300

400

500

600

700

Гранит, естественные

1

1

0,9

0,7

0,7

0,7

0,9

0,7

0,9

0,6

0,7

0,4

0,6

0,3

0,5

0,2

0,3

0,1

Гранит, пропаривание

1

1

0,9

0,9

0,9

0,9

1

0,9

1,1

0,9

0,9

0,9

0,8

0,55

0,55

0,35

0,3

0,1

Известняк, пропаривание

1

1

0,9

0,9

0,9

0,9

0,9

0,85

0,9

0,8

0,7

0,6

0,65

0,4

0,45

0,2

0,9

0,9

Примечания: 1. mбt и mбt - коэффициенты, учитывающие снижение кубиковой и соответственно призменной прочности бетона.

2. В таблице приведены значения тбt и т′бt при воздушном остывании бетона. При охлаждении его водой эти значения необходимо снизить на 20 %.

3. При оценке длительной прочности бетона значения mбt и mбt после нагрева до t > 400 °С принимают равными нулю, а при 80 < t £ 400 °С значения mбt и mбt снижаются на 30 %.

Таблица 5

Вид крупного заполнителя, условия твердения бетона

Коэффициент βб при температуре нагрева t, °С

20

80

120

200

300

400

500

600

700

Гранит, естественные

1

0,8

0,7

0,45

0,4

0,35

0,2

0,03

0,02

Гранит, пропаривание

1

0,9

0,8

0,75

0,65

0,4

0,3

0,03

0,02

Известняк, пропаривание

1

0,95

0,85

0,7

0,6

0,4

0,2

0,07

0,04

Примечание. В таблице приведены значения коэффициента βб снижения начального модуля упругости бетона при воздушном остывании бетона. При охлаждении водой эти значения необходимо снизить на 20 %.

Таблица 6

Стержневая арматура класса

Коэффициент тat при температуре нагрева t, °С

350

400

450

500

550

600

650

700

750

800

А-I

1

1

0,8

0,7

0,5

0,4

0,25

0,15

0,1

0,05

А-II

1

1

1

0,75

0,5

0,4

0,2

0,15

0,1

0,06

А-IIв

1

1

0,8

0,6

0,4

0,25

0,1

0,05

0,03

0

А-III

1

1

1

0,8

0,6

0,45

0,3

0,2

0,1

0,05

А-IIIв

1

1

0,9

0,7

0,5

0,3

0,2

0,1

0,07

0,03

А-IV

1

1

0,85

0,7

0,5

0,35

0,2

0,15

0,03

0,03

Ат-IV

1

1

1

0,7

0,4

0,2

0,1

0,05

-

-

А-V

1

1

0,8

0,6

0,4

0,2

0,1

0,05

0,03

-

Ат-V

1

1

1

0,7

0,4

0,15

0,05

0,01

-

-

Ат-VI

1

0,8

0,6

0,4

0,2

0,1

0,05

0,02

-

-

Ат-VII

1

0,9

0,6

0,4

0,25

0,1

0,1

0,04

0,02

-

Примечания: 1. При нагреве в интервале от 20 до 350 °С тat = 1.

2. После нагрева до 400 °С тat = 1, выше 400 °С - соответствует данным табл. 6.

Определение прочностных характеристик бетона

2.14. При определении прочности бетона рекомендуется использовать методы испытаний, основанные на местном (в малом объеме) разрушении бетона конструкции - метод извлечения образцов бетона, метод отрыва со скалыванием, метод скалывания ребра конструкции, а также косвенные методы - метод пластических деформаций (молоток Кашкарова, пружинные склерометры типа Польди, Шмидта), ультразвуковой (неразрушающий) метод.

Таблица 7

Класс арматуры

Коэффициент matпри температуре нагрева t, °С

100

150

200

250

300

350

400

450

500

550

600

650

700

750

800

В-I

1

1

1

1

1

0,85

0,70

0,50

0,35

0,20

0,10

0,01

-

-

-

Вр-I

1

1

1

1

1

0,85

0,70

0,50

0,35

0,20

0,10

0,01

-

-

-

В-II

1

1

0,95

0,90

0,75

0,65

0,50

0,40

0,30

0,20

0,15

0,10

0,05

0,03

-

Вр-II

1

1

0,95

0,90

0,75

0,65

0,50

0,40

0,30

0,20

0,15

0,10

0,05

0,03

-

К-7

1

1

0,95

0,90

0,80

0,65

0,55

0,40

0,30

0,20

0,10

0,05

0,02

-

-

А-VI

1

1

0,95

0,90

0,85

0,80

0,70

0,60

0,50

0,35

0,20

-

-

-

-

Примечания: 1. После нагрева в интервале 20 - 200 °С тat = 1.

2. После нагрева в интервале 200 °С < t < 400 °С значения тat,(соответствуют данным табл. 7, уменьшенным на 15 %.

3. После нагрева до t > 400 °С значения тat соответствуют данным табл. 7.

При использовании метода извлечения образцов бетона следует руководствоваться ГОСТ 10180-78*, метода отрыва со скалыванием - ГОСТ 21243-75, метода скалывания ребра конструкции - ГОСТ 22690.4-77, метода пластических деформаций - ГОСТ 22690.1-77, ультразвукового метода - ГОСТ 17624-87. Приведенные методы оценки прочности бетона изложены в «Руководстве по определению и оценке прочности бетона в конструкциях зданий и сооружений (М.: Стройиздат, 1979).

Допускается использовать и другие методы, предусмотренные государственными стандартами. Для них на основе специальных исследований должна быть получена уточненная зависимость КП - R между косвенными показателями КП и прочностью при сжатии R.

Методы местных разрушений бетона в конструкции дают наиболее достоверную информацию о прочности бетона, но в ряде случаев более трудоемки. Эти методы рекомендуется применять при контроле ответственных конструкций, при малом объеме контроля и для корректировки зависимости КП - R при использовании косвенных методов.

Косвенные методы рекомендуется применять:

при техническом осмотре для выявления конструкций (зон конструкции) с относительно меньшей прочностью;

при большом объеме контроля; в этом случае используемая универсальная зависимость КП - R должна быть откорректирована для конкретных условий с использованием методов местных разрушений.

Для ускоренной оценки может быть рекомендована упрощенная методика обработки результатов испытаний, которая в данном случае может ограничиваться определением среднего значения прочности бетона Rср для данной конструкции (или группы однотипных конструкций). Выведение средней прочности бетона по данным испытаний разнотипных конструкций (например, в стропильных и подстропильных фермах), а также однотипных конструкций, имеющих по внешнему виду на наружной поверхности и в сколах различную структуру бетона, недопустимо.

Определение прочностных характеристик арматуры

2.15. Расчетное сопротивление арматуры усиливаемых конструкций определяется испытанием образцов, вырезанных из этих конструкций.

2.16. Жесткая арматура из прокатных профилей принимается в расчетах с расчетным сопротивлением при растяжении, сжатии и изгибе равным 21 кН/см2 или на основании результатов испытаний образцов.

2.17. Расчетные сопротивления неповрежденной арматуры из высокопрочной проволоки разрешается принимать по строительным нормам на проектирование конструкций, если обследуемые конструкции не подвергались действию огня.

При отсутствии необходимой документации класс арматурных сталей устанавливают испытаниями вырезанных образцов стали с сопоставлением предела текучести, временного сопротивления и относительного удлинения при разрыве с данными табл. 8 или приближенно по виду армирования, профиля арматурного стержня и времени возведения объекта.

Количество и диаметр арматурных стержней определяют путем вскрытия и прямых замеров.

Расположение и диаметр арматурных стержней могут быть определены магнитным и радиографическим методами по ГОСТ 22904-78 и ГОСТ 17625-83 соответственно.

Таблица 8

Арматурная сталь

Класс

Марка

Диаметр, мм

Предел текучести. кН/см2

Временное сопротивление при растяжении, кН/см2

Относительное удлинение при разрыве, %

Стержневая горячекатаная круглая гладкая

А-I

Ст3сп3, Ст3пс3, Ст3кп3, ВСт3сп2, ВСт3пс2, ВСт3кп2, ВСт3Гпс2

6 - 40

23,5

37,2

25

Стержневая горячекатаная периодического профиля

А-II

ВСт5сп2,

10 - 40

29,5

49

25

ВСт5пс2

 

 

 

 

10ГТ

10 - 32

29,5

44

25

18Г2С

40 - 90

29,5

49

19

А-III

25Г2С, 35ГС

6 - 40

39

59

14

18Г2С

6 - 9

39

59

14

А-IV

20ХГ2Ц

10 - 32

59

88

6

80С

10 - 18

59

88

6

20ХГСТ

10 - 18

59

88

6

А-V

23Х2Г2Т

10 - 18

78,5

103

7

Стержневая термически упрочненная периодического профиля

Ат-IV

-

10 - 25

59

88

8

Ат-V

-

10 - 25

78,5

98

7

Ат-VI

-

10 - 25

98

118

6

Стержневая, упрочненная вытяжкой периодического профиля

А-IIв

ВМСт5сп,

10 - 40

44

49

14

 

ВКСт5сп

10 - 40

44

49

14

 

Ст5пс, КСт5пс

40 - 90

44

49

14

 

18Г2С

 

 

 

 

 

 

 

 

 

 

А-IIIв

25Г2С, 35ГС

6 - 40

54

59

6

Арматурная проволока гладкая

Обыкновенная В-I

-

3 - 8

 

54 - 44

 

Высокопрочная В-II

-

3 - 8

 

186 - 137

4

Арматурная проволока периодического профиля

Высокопрочная Вр-II

-

3 - 8

 

176,5 - 127,5

4

Семипроволочные арматурные канаты

К-7

-

4,5 - 15

-

186 - 147

4

Многопрядные канаты без органического сердечника

-

-

 

 

167 - 152

4

Проверка несущей способности конструкций

2.18. Поверочный расчет несущей способности рекомендуется производить на основе данных обследования конструкции (геометрические размеры, расположение арматуры по высоте сечения, прочностные и деформативные свойства материалов). Расположение арматуры по высоте сечения рекомендуется определять в опасных сечениях конструкции.

2.19. Усилия в статически неопределимых железобетонных конструкциях от нагрузок и вынужденных перемещений при расчете по прочности определяют, как правило, с учетом неупругих деформаций бетона и арматуры и наличия трещин с учетом деформированного состояния как отдельных элементов, так и конструкций.

Для конструкций, методика расчета которых с учетом неупругих свойств железобетона не разработана, усилия в статически неопределимых конструкциях допускается определять в предположении их линейной упругости.

3. Оценка состояния стальных конструкций

Оценка состояния конструкций, подвергшихся воздействию аварии, землетрясению

3.1. Оценка состояния поврежденных стальных конструкций производится на основании визуального, визуально-инструментального обследования, а в необходимых случаях испытанием конструкций, проведением поверочных расчетов и испытанием на прочность образцов металла обследуемых конструкций.

3.2. При визуальном обследовании определяются:

общий характер повреждений для предварительного определения возможности и способов восстановления и усиления стальных конструкций;

наличие разрывов элементов по всему сечению;

наличие искривлений элементов по всей длине;

наличие местных механических дефектов (вмятин, искривлений, трещин или надрывов, пробоин);

пригодность сварных, болтовых и заклепочных соединений к дальнейшей эксплуатации.

3.3. При визуально-инструментальном обследовании с использованием геодезических инструментов и специальных приборов определяют следующие дефекты взаимного расположения конструкций и элементов конструкций:

отклонения отметок опорных узлов ферм и ригелей;

отклонения расстояний между осями ферм по верхнему поясу;

отклонения расстояний между прогонами;

отклонения опорной поверхности колонн по высоте и оси колонн от вертикали;

стрелы прогиба колонн и ригелей;

разности отметок крановых рельсов, нижних поясов подвесных путей;

смещения осей кранового рельса с оси подкрановой балки и от прямой;

выпучивание стенок сплошных балок.

Отклонения от вертикали замеряют отвесами или теодолитами; разности отметок - нивелированием.

3.4. Оценку состояния поврежденных стальных конструкций и, соответственно, выбор мероприятий по их восстановлению следует производить исходя из характера и размеров повреждений элементов.

Небольшие вмятины второстепенных и не сильно загруженных элементов, местные искривления, не снижающие несущей способности конструкции, свидетельствуют о слабой степени повреждения; ремонт в таких случаях можно не делать.

Повреждения, снижающие несущую способность конструкций, но не сопровождающиеся потерей несущей способности основных элементов (разрыв второстепенных элементов по всему сечению или их искривление на большой длине, местные искривления основных элементов и т.д.), свидетельствуют о средней степени повреждения и необходимости ремонта конструкции по месту. Последний выполняется без демонтажа, в необходимых случаях с подведением дополнительных стоек, распорок, упоров и т.д.

Сильная степень повреждения сопровождается полной потерей несущей способности конструкций при эксплуатационных нагрузках: разрушением узлов и соединений, разрывом по всему сечению или искривлением на большой длине основных элементов. При этом необходим ремонт конструкций, как правило, с демонтажем или установкой временных креплений или опор.

Разрушение отдельных конструкций и частей здания следует квалифицировать как полное, нуждающееся в замене соответствующих конструкций.

3.5. Для оценки повреждений конструкций по степени опасности для их дальнейшей эксплуатации рекомендуется использовать данные табл. 9. Там же приведены рекомендации по исправлению повреждений.

Таблица 9

№ п.п.

Вид повреждения конструкции

Величина и характеристика повреждения

Способ направления повреждения

критического

значительного

А. Прогибы изгибаемых элементов (в долях пролета)

1

Прогоны при наличии нагрузки от кровли (искривление в плоскости наибольшего момента инерции сечения)

f > l/100

f £ l/100

Демонтаж и правка

2

То же, при отсутствии нагрузки от кровли

f > l/150

f £ l/150

То же

3

Главные балки рабочих площадок производственных зданий, междуэтажных перекрытий и др. (искривление в плоскости наибольшего момента инерции сечения)

f > l/300

f £ l/300

»

4

Подкрановые балки при кранах Q = 50 т (искривление в плоскости наибольшего момента инерции сечения)

f > l/500

f £ l/500

»

5

Ферма при наличии нагрузки на кровлю (просадка в вертикальной плоскости)

f > l/200

f £ l/200

Уменьшить просадку до l/500

Б. Искривление сжатых и растянутых стержней фермы (в долях длины)

1

Искривление сжатых стержней фермы

f > l/400

f £ l/400

Правка стержня

2

Искривление растянутых стержней фермы

f > l/100

f £ l/100

То же

Оценка состояния конструкций, подвергшихся воздействию пожара

3.6. При обследовании, прежде всего, оценивается состояние конструкций, узлов и элементов (связей), обеспечивающих общую устойчивость здания.

3.7. В процессе осмотра намечают необходимые работы по обеспечению доступа к конструкциям, выявляют зоны, наиболее поврежденные, определяют аварийные конструкции. Собирают сведения о характере температурных воздействий: продолжительность, возможные величины температуры, расстояние конструкций от очага тепловых воздействий, способ тушения и т.д.

3.8. Степень пригодности стальных конструкций, подвергшихся температурным воздействиям, и выводы о возможности их дальнейшего использования устанавливаются по внешним признакам, позволяющим определить предполагаемый режим температурного воздействия. Следует иметь в виду следующие режимы температурного воздействия и соответствующие им внешние признаки:

при нагревании конструкций до 200 - 250 °С разрушается защитное лакокрасочное покрытие;

при температуре 300 °С сталь приобретает цвет «побежалости»;

при температуре 500 °С на стали образуется светлая окалина;

при непродолжительном воздействии температуры до 600 °С конструкции малодеформированы (небольшое коробление), имеют на поверхности легко очищаемый нагар и обгоревшую кромку;

непродолжительное воздействие температуры 700 - 900 °С несколько увеличивает коробление конструкций и приводит к образованию тонкого слоя трудносчищаемой окалины;

при температуре 800 °С происходит провисание ненагруженных стальных элементов под собственной массой;

при непродолжительном воздействии температуры свыше 900 °С появляется отслаивающийся местами слой окалины;

длительное воздействие температуры свыше 900 °С резко увеличивает деформации, приводит к образованию толстого слоя окалины;

длительное воздействие температуры свыше 1400 °С связано с сильным деформированием конструкций, появлением изломов, надрывов, оплавленных участков; на поверхности элементов образуются твердая и хрупкая пленка серовато-синего или черного цвета и язвы губчатого строения, что свидетельствует о пережоге стали и непригодности ее для дальнейшего использования.

Оценка состояния стальных конструкций по внешним признакам приводится в табл. 10.

3.9. Для оценки состояния металлоконструкций в условиях нагрева может быть использовано время, в течение которого они находились под воздействием высокой температуры. Это время следует сравнивать с пределом огнестойкости конструкций, за который принимают время, в течение которого металлические конструкции способны нормально функционировать в условиях воздействия высоких температур (около 500 °С).

Таблица 10

Внешние признаки

Предполагаемый режим температурного воздействия

Результаты испытания на твердость

Заключение об использовании элемента

Проверка твердости

Мало деформированы и имеют на поверхности легко очищаемый нагар и обгоревшую кромку

Непродолжительное, при температуре 400 - 600 °С

Твердость соответствует марке стали

Используется без ограничения

Допускается не производить

Мало деформированы и имеют на поверхности нагар и тонкий трудно счищаемый слой окалины

Непродолжительное, при температуре 700 - 900 °С

То же

Используется без ограничения с запрещением горячей обработки

Проверяется в сомнительных случаях

Мало деформированы и имеют отслаивающийся местами слой окалины

Непродолжительное, при температуре св. 900 °С

Твердость снижена до 15 %

Используется с ограничением несущей способности (не более 75 %)

То же

Сильно деформированы и имеют толстый слой окалины

Длительное, при температуре св. 900 °С

Твердость снижена до 30 % и более

Используется, как правило, для нерабочих элементов

Обязательна

Сильно деформированы, имеют изломы, надрывы, оплавленные и пережженные участки

Длительное, при температуре около 1400 °С

-

К использованию не пригоден

-

Примечание. После длительного воздействия температур около 1400 °С на поверхности стальных элементов появляются твердая и хрупкая пленка серо-синего или черного цвета, а также участки с губчатой структурой, что свидетельствует о пережоге стали.

Определение прочностных характеристик стали

3.10. Для определения механических свойств стали поврежденных конструкций рекомендуется использовать методы испытания стандартных образцов, вырезанных из элементов конструкций, и поверхностного слоя металла на твердость.

Рис. 1. Примеры мест вырезки образцов для контрольных испытаний стали

3.11. Заготовки для образцов из поврежденных элементов рекомендуется вырезать в местах, не получивших пластических деформаций при повреждении, и в таких местах элементов, чтобы после вырезки была обеспечена их прочность и устойчивость (рис. 1).

3.12. Для отбора заготовок для образцов элементы конструкций разделяют на условные партии по 15 - 20 однотипных конструктивных элементов: ферм, балок, колонн и др. Заготовки для образцов рекомендуется отбирать в трех однотипных деталях от трех элементов партии и одинаковых профилей проката (верхний пояс, нижний пояс, первый сжатый раскос и т.д.) в количестве 1 - 2 шт. из детали одного элемента.

Все заготовки должны быть замаркированы, а места их взятия и марки обозначены на схемах, прилагаемых к материалам обследования конструкций.

3.13. Характеристики механических свойств стали элементов: предел текучести σт, временное сопротивление σв и относительное удлинение после разрыва δ получают испытанием на растяжение образцов по ГОСТ 1497-84*.

3.14. Определение основных расчетных сопротивлений стали поврежденных конструкций производится делением среднего значения предела текучести на коэффициент надежности по материалу γm = 1,05 или умножением временного сопротивления на коэффициент надежности γm = 1,05 ´ 1,3 = 1,37. При этом за расчетное сопротивление принимается наименьшая из величин Рт или Рв, которые найдены соответственно по σт и σв.

3.15. При определении механических свойств металла по твердости поверхностного слоя рекомендуется применять портативные переносные приборы: Польди - Хютте, Баумана, ВПИ-2, ВПИ-3К.

Полученные при испытаниях на твердость данные переводятся в характеристики механических свойств металла по эмпирическим формулам. Так, зависимость между твердостью по Бринеллю и временным сопротивлением металла устанавливается по формуле σв ≈ 9,81 К∙НВ Н/мм2,

где К - коэффициент: для стали НВ < 175, равный 0,34; для НВ > 175 - 0,36; алюминия отожженного - 0,4; алюминия термообработанного - 0,37.

3.16. Для подбора электродов при сварке восстанавливаемых элементов стальных конструкций рекомендуется определять химический состав сталей экспресс-методом при помощи портативных переносных стилоскопов СЛП1-М, СЛП-4, основанных на принципе визуального спектрального анализа сталей в видимой области спектра. При отсутствии указанных приборов рекомендуется выполнять технологические пробы сварных швов на образцах металла, изъятых из конструкции, с испытанием на разрыв, загиб, усадку и склонность к трещинообразованию в зависимости от требований, предъявляемых к конструкции.

Расчет прочности конструкций

3.17. Расчет стальных конструкций при их усилении или восстановлении следует, как правило, выполнять, предполагая упругую деформацию стали по недеформированной схеме. В отдельных случаях при работе стальных конструкций по балочной схеме рекомендуется учитывать неупругие деформации стали.

3.18. При составлении расчетной схемы стальных конструкций рекомендуется учитывать их пространственный характер и совместную работу с примыкающими конструкциями.

3.19. Поверочный расчет несущей способности поврежденных стальных конструкций необходимо производить с учетом данных обследования конструкций (геометрических размеров элементов, величин деформаций и повреждений, механических характеристик стали и др.).

4. Восстановление и усиление железобетонных конструкций

Выбор методов восстановления и усиления

4.1. При оценке состояния железобетонных конструкций предусматриваются четыре степени их повреждения (см. табл. 2):

слабая, не снижающая несущей способности конструкции;

средняя, снижающая несущую способность;

сильная, значительно снижающая несущую способность конструкции;

полная, вызывающая полное разрушение конструкции.

4.2. При слабых повреждениях восстановление конструкций следует производить заделкой трещин, раковин, сколов цементно-песчаным раствором или бетоном с заполнителями мелких фракций с использованием поливинилацетатной эмульсии.

Восстановление железобетонных конструкций при средних и сильных повреждениях следует производить усилением конструктивных элементов или заменой отдельных конструкций новыми.

Усиление конструктивных элементов достигается:

увеличением сечений элементов путем одностороннего или двустороннего наращивания железобетоном;

устройством железобетонных рубашек или обойм;

устройством разгружающих конструкций в виде распределительных плит, балок, ферм, а также кронштейнов, выносных опор, предварительно напряженной арматуры, предварительно напряженных металлических распорок, накладных хомутов, предварительно напряженных тяжей и т.п.

4.3. Разгружающие конструкции представляют собой отдельные балки, плиты или фермы, подведенные под усиляемую конструкцию и работающие с ней совместно. Для включения разгружающей конструкции в работу применяется подклинка.

4.4. Обойма представляет собой конструктивное решение, когда усиливаемый элемент охватывается с четырех сторон железобетоном с установкой продольной рабочей и поперечной (хомутов) арматуры.

4.5. Рубашка - когда усиливаемый элемент охватывается с трех сторон железобетоном. Поперечная арматура (хомуты) приваривается в этом случае к существующим хомутам усиливаемой конструкции.

4.6. Наращивание сечений - когда дополнительная продольная арматура приваривается к продольной арматуре усиливаемого элемента через коротыши-планки или наклонные стержни - «утки» (с одной или с двух сторон).

4.7. Разгружающие кронштейны представляют собой треугольные фермы, устанавливаемые на средних опорах сборных балок покрытия, уменьшающие их пролет и воспринимающие часть поперечной нагрузки.

4.8. Выносные опоры представляют собой короткие балки, устанавливаемые на средних опорах сборных балок, уменьшающие их пролет и воспринимающие часть поперечной нагрузки.

4.9. Дополнительная предварительно напряженная арматура может быть двух типов: в виде прямолинейных стержней, привариваемых к продольной арматуре усиливаемого ненапряженного элемента, или в виде шпренгельной системы.

4.10. Предварительно напряженные металлические распорки представляют собой конструкции из уголков, расположенных вдоль граней по углам, соединенных между собой по периметру припаренными после предварительного напряжения стальными планками из листового металла.

4.11. Накладные хомуты представляют собой конструкцию из уголков и хомутов из круглой арматурной стали. Применяются для усиления опорных зон балок и ферм.

4.12. Предварительно напряженные тяжи представляют собой конструкцию из уголков и хомутов из круглой арматурной стали, применяемые для усиления консолей колонн.

4.13. При выборе способа усиления следует учитывать факторы, определяющие возможность применения того или иного способа усиления в данных условиях с учетом агрессивности среды и пожароопасности производственных помещений, фактора, определяющего возможность выполнения усиления без остановки основного производства или с его остановкой, недопустимости запыленности и сварочных работ во взрывоопасных помещениях, а также уменьшения габаритов помещений в результате усиления.

4.14. При усилении обоймами, рубашками, наращиванием дополнительной ненапрягаемой арматурой следует стремиться к максимальной разгрузке усиливаемой конструкции. При усилении конструкций под нагрузкой рекомендуется в основном применять предварительно напряженные элементы усиления.

4.15. При усилении конструкций, работающих в помещениях с агрессивной средой, материал усиления и метод защиты от коррозии должны учитывать требования соответствующего СНиПа.

4.16. В пожароопасных помещениях металлические конструкции усиления необходимо обетонировать.

4.17. В тех случаях, когда восстановление поврежденных элементов осуществляется бетонированием и последующим оштукатуриванием трещин и сколов, необходимо предусматривать расчистку поврежденных участков от разрушенного бетона с вырубанием полостей, подлежащих бетонированию, до прямоугольной формы. При этом основные грани полости должны быть по возможности перпендикулярны к направлению действующих усилий, а остальные грани параллельны этому направлению. Механические повреждения при расчистке сохранившейся арматуры не допускаются.

При устройстве обойм, рубашек и наращивании бетона кроме вышеуказанных расчисток и подрубок следует предусматривать для обеспечения надежного сцепления нового и старого бетонов подготовку поверхности бетона усиляемой конструкции насечками, зачисткой стальными щетками, пескоструйной очисткой, промывкой водой и т.п.

4.18. При одностороннем или двустороннем наращивании, а также устройстве железобетонных рубашек усиляемый элемент рассчитывается вместе с усилением как единая конструкция. При этом дефекты (коррозия пли обрывы арматуры, расслоения, трещины, повреждения бетона и т.п.), снижающие несущую способность, элемента, учитываются при расчете усиливаемой конструкции так же, как и при проверочном расчете конструкции до усиления (если не предусматривается их усиление).

При расчете учитывается возможность повреждения при сварке стержней арматуры усиливаемого элемента: сечение стержней принимается ослабленным на 25 %.

4.19. Усиление конструкций односторонним и двусторонним наращиванием следует предусматривать с учетом приварки к обнаженной арматуре усиливаемого элемента дополнительных арматурных стержней и хомутов. Для бетонирования наращиваемой части следует предусматривать бетон прочностью не ниже фактической прочности бетона усиливаемого элемента и не ниже класса В 25.

Приварка дополнительной арматуры к стержням основной арматуры осуществляется при помощи прокладных коротышей или наклонных стержней (отгибов или «уток») вразбежку; при этом приварка с незаведенным на опору арматурным стержнем не допускается.

Применение арматурных стержней диаметром менее 12 мм для усилений наращиванием не рекомендуется.

4.20. При усилении элементов железобетонных конструкций обоймами поперечное армирование обойм следует конструировать, как правило, замкнутым. При трехсторонних рубашках хомуты следует замыкать или соединять сваркой со специальными анкерами (уголки, полосовая сталь и т.д.); на свободной стороне элемента предусматриваются защитные мероприятия против коррозии.

Рубашки устанавливают по всей длине поврежденного участка железобетонного элемента с перепуском на неповрежденные части на длину не менее: длины анкеровки рабочей арматуры рубашки, пяти толщин стенок рубашки, поперечного размера ширины грани или диаметра усиливаемого элемента (но не менее 50 см).

Класс бетона рубашек следует принимать не ниже фактической прочности бетона усиливаемого железобетонного элемента и не ниже класса В 25.

Армирование рубашек устанавливается расчетом, при этом не допускается применять арматуру диаметром менее 12 мм для продольных стержней и 8 мм для хомутов.

Рекомендуется устанавливать продольную (рабочую) арматуру диаметром не менее 16 мм в сжатых и 12 мм в растянутых зонах; шаг хомутов рекомендуется принимать не более 15 диаметров рабочей арматуры, не более трехкратной толщины обоймы и не более 200 мм.

Продольная арматура в необходимых случаях может быть пропущена через узлы неразрезных монолитных или сборно-монолитных конструкций. Независимо от этого хомуты обойм в узлах, в целях восприятия местных напряжений следует устанавливать с шагом, уменьшенным вдвое, как при обоймах со спиральным, так и с обычным поперечным армированием. На опорах балок следует устраивать замкнутые обоймы; трехсторонняя рубашка допустима лишь при ее устройстве по всей длине балки.

Железобетонные обоймы и рубашки, а также одностороннее или двустороннее наращивание применяются как для центрально-сжатых, так и для внецентренно сжатых и изгибаемых элементов.

4.21. Железобетонные обоймы со спиральным армированием применяются, как правило, для центральносжатых элементов. Обойма со спиральным армированием и усиливаемый элемент рассматриваются при расчете как монолитная конструкция. При этом прочность бетона обоймы должна приниматься не ниже прочности бетона усиливаемого элемента и не менее класса В25.

4.22. При усилении металлическими обоймами последние рассчитывают как самостоятельные конструкции, а их гибкость принимают в зависимости от расположения креплений к усиливаемой железобетонной конструкции.

4.23. Конструкции усилений, не замоноличиваемые и являющиеся для усиливаемой конструкции разгружающими системами, следует рассчитывать как самостоятельные конструкции или составные конструктивные системы, частью которых является усиливаемый конструктивный элемент.

Для обеспечения совместной работы разгружающих систем и усиливаемой конструкции между ними должны быть предусмотрены предварительно напряженные связи (механическим, термическим или другим способом), а также распорки, клинья, подбетонки, подчеканки или другие устройства, которые должны передавать нагрузки на конструкции усиления. При этом конструкция усиления должна воспринимать не менее 30 % усилия, действующего в усиливаемой конструкции.

4.24. Расчет усиления железобетонных конструкций при изменении их начальной статической схемы производится с учетом действительного напряженного состояния.

Усиляемые конструкции следует рассчитывать на предельные состояния первой группы (по прочности). Расчет конструкций по предельным состояниям второй группы (трещиностойкость, раскрытие трещин, жесткость, деформации) следует производить лишь в особо сложных случаях при усилении резервуаров, конструкций в агрессивной среде, элементов, несущих динамические нагрузки, или особо точных машин и т.д.

4.25. Усилия, действующие в элементах статически неопределимых конструкций, рекомендуется определять методами предельного равновесия. Разрешается определять усилия из предположения упругой работы железобетона.

4.26. При расчете конструкций усиления на основании данных обследования для предварительно напряженных элементов рекомендуется вводить коэффициент условий работы m, учитывающий снижение степени предварительного напряжения: для - горизонтальных затяжей m = 0,85; для шпренгелей m = 0,8; для распорок усилений колонн m = 0,85; для хомутов и наклонных тяжей m = 0,9.

При расчете усиления ненапряженных элементов коэффициент m принимается в зависимости от степени разгрузки усиливаемого элемента. При полной разгрузке он равен 0,95; при разгрузке, достигшей 75 % расчетной величины, - 0,9; 50 % - 0,8; 25 % - 0,7.

4.27. Если предварительное напряжение затяжек или распорок производится стягиванием парных ветвей, то для определения величины напряжения в зависимости от угла наклона ветвей i рекомендуется пользоваться графиком на рис. 25 с исключением участка малых уклонов i < 0,01 (i = tgφ; φ - угол наклона ветви к усиляемому элементу).

4.28. При расчетах следует учитывать степень податливости узлов сопряжения конструкций усиления с элементами усиляемых железобетонных конструкций в зависимости от их конструкции: металлический упор на бетон без раствора - 2 - 5 мм/узел; с раствором - 2 - 4 мм/узел; сочленение металла с металлом через болты - 1 мм/узел.

Эти деформации не учтены коэффициентами условий работы, приведенными в п. 4.26. Их следует учитывать в зависимости от местных условий в каждом конкретном случае.

4.29. В изгибаемых конструкциях выбор схемы усиления зависит от характеристики сечения ξ = х/h. Если для усиляемой конструкции ξ > ξR то усилению подлежит в первую очередь сжатая зона, при этом после усиления в сечении должно соблюдаться условие ξ £ ξRm.

В зависимости от этого выбирается тип усиления, удовлетворяющий указанному условию (железобетонная рубашка, наращивание сечения со стороны растянутой или сжатой зоны, шпренгель с усилением сжатой зоны или без него, усиление растянутой зоны; под варкой стержней, усиление сжатой зоны швеллерами и т.п., а также их сочетание).

Плиты покрытий и перекрытий

4.30. Усиление плит монолитных железобетонных покрытий и перекрытий производится следующими способами:

бетонированием по верху утолщающей плиты, армированной противоусадочной сеткой, и, при необходимости, арматурой над опорами на балки, работающей на отрицательный момент (рис. 2, А; 3); усиленная конструкция рассчитывается с усилением, как монолитная; сцепление между старым и новым бетоном обеспечивается очисткой поверхности от пыли, длительным увлажнением старого бетона до бетонирования с уборкой луж воды перед самым бетонированием и тщательным уходом (увлажнением) за новым бетоном;

бетонированием второй самостоятельно армированной плиты поверх старой в случае, если сцепление бетона новой и старой плит не может быть обеспечено из-за промасливания, загрязнения и т.п. В этом случае несущая способность плиты рассчитывается как сумма несущих способностей старой и новой плит (рис. 2, В);

приваркой дополнительной рабочей арматуры снизу и торкретированием нижней поверхности плиты; при этом расчет производится как для монолитной плиты с увеличением количества пролетной рабочей арматуры;

подведением поперечных балок с изменением расчетной схемы плиты с балочной на опертую или заделанную по контуру (рис. 2, В); расчет усиления плиты ведется по новой статической схеме как опертой (или защемленной по контуру) с учетом рабочей и распределительной арматуры; подводимые балки армируются сварным каркасом и бетонируются в подвесной опалубке сквозь щели, прорубленные в старой плите; ширина балочек принимается до 100 мм, а высота 1:10 - 1:12 пролета; могут быть подведены и стальные балки (рис. 2, Г, Д).

Рис. 2. Усиление плит железобетонных монолитных перекрытий

А, Б - бетонированием дополнительной армированной плиты; В - подведением железобетонных поперечных ребер; Г, Д - подведением стальных поперечных ребер; 1 - усиливаемая конструкция; 2 - дополнительная плита; 3 - дополнительное железобетонное поперечное ребро; 4 - дополнительное стальное поперечное ребро; 5 - конструкция опирания поперечного ребра

Рис. 3. Усиление ребристых плит перекрытия многоэтажных производственных зданий

1 - замоноличивающий слой бетона; 2 - дополнительная арматура; 3 - связующая шпилька

4.31. При необходимости усиления балок одновременно с усилением плиты следует усиливать их рубашками, бетонируемыми одновременно с плитой в подвесных опалубках сквозь короткие щели, пробитые в старой плите по боковым граням балки (рис. 2, Г).

4.32. Выбор проектного решения восстановления покрытий и кровель в зависимости от разрушения следует производить в соответствии с табл. 11.

Таблица 11

Степень разрушения

Характеристика

разрушения

восстановления

Слабая

Повреждения рулонного ковра, стяжки, утеплителя или пароизоляции, а также пробоины полок плит размером не более 0,2´0,2 м

Ремонт кровли по месту без разработки технической документации

Средняя

Повреждение покрытий при размере пробоины до 1´1 м или повреждения балок, а также ребер плит без потери несущей способности

Восстановление покрытий с предварительной разработкой эскизов или чертежей

Сильная

Повреждение покрытий при размере пробоины более 1´1 м, повреждение балок, а также ребер плит с потерей ими несущей способности

Восстановление покрытий с предварительным восстановлением или заменой несущих элементов и разработкой эскизов или чертежей

Полная

Обрушение покрытий

Восстановление нецелесообразно

Рис. 4. Усиление сборных ребристых плит покрытий и их элементов

А - набетонировкой плиты; Б - покрытием волнистыми асбестоцементными листами; В - бетонированием пазух между торцами балок; Г - соединением опорных деталей продольных ребер плиты тяжом из уголка; Д - установкой хомутов на опорном участке продольного ребра; 1 - усиливаемая конструкция; 2 - стропильная балка; 3 - местное повреждение; 4 - дополнительная плита; 5 - асбестоцементные листы; 6 - тяж из уголка; 7 - хомут; 8, 9 - подкладные уголки; 10 - забетонированный зазор между торцами балок

Рис. 5. Усиление сборных ребристых плит покрытий

А - подвалкой к арматуре дополнительных стержней; Б - уменьшением пролета выносными опорами на двухконсольных подпружных балочках; В - подведением стальных балок, подклиненных к поперечным или продольным ребрам; Г - шпренгелем; 1 - усиливаемая конструкция; 2 - стропильная конструкция; 3, 4 - арматура ребра основная и дополнительная; 5 - подпружные балочки; 6 - стальная балка; 7 - шпренгель; 8, 9 - опорные и подкладочные детали

Рис. 6. Усиление опирания при сдвиге плит

А - на промежуточной опоре; Б - на концевой опоре; В - бетонированием шва между плитами; 1 - стропильная конструкция; 2 - ребристая плита; 3 - подпружная пара балок; 4 - поперечная выносная опора (приваривается к балкам 3 и подклинивается к плите 2); 5, 6 - анкерные уголки; 7 - болты; 8 - арматурные каркасы

4.33. Усиление полок плит покрытий может быть осуществлено наложением поверх них новой монолитной плиты при условии обеспечения сцепления нового бетона со старым в соответствии с пп. 4.30 и 4.31 (рис. 4).

Плиты покрытий с разрушенными участками полки следует усиливать перебетонированием полки в подвесной опалубке. Плиты покрытий с аналогичными дефектами могут быть исправлены настилом из волнистых асбестоцементных листов усиленного профиля в толще утеплителя.

Рис. 7. Усиление многопустотных плит перекрытий

А - опорных участков; Б - всей плиты с бетонированием по верху дополнительной плиты; В - всей плиты; Г - опирания при сдвиге на средней опоре; Д - опирание при сдвиге на концевой опоре; 1 - усиливаемая конструкция; 2 - опорная конструкция; 3 - арматурные каркасы усиления; 4 - бетон усиления

4.34. Усиление ребер плит в принципе аналогично усилению балок. При косых трещинах у опор усиление производится по схеме рис. 4, Д; при повреждениях в середине пролета - по схемам рис. 5.

Увеличение длины опирания плит при смещении опор рекомендуется производить в соответствии со схемами рис. 6.

4.35. Сборные плиты покрытий и перекрытий рекомендуется усиливать также подведением балок либо монолитных, бетонируемых сквозь щели в плитах в подвесной опалубке, либо металлических, подводимых снизу и сверху усиляемой плиты.

4.36. Ребристые плиты покрытий и перекрытий рекомендуется также усиливать (см. рис. 5) подваркой дополнительной арматуры, шпренгелями, подведением балок, двухконсольными стальными балками, создающими выносные опоры, чем уменьшается расчетный пролет плит. Выносные опоры предварительно напрягаются (домкратом или подвесным грузом с подклинком). После подклинки усиливаемой конструкции предварительное натяжение снимается. Усилие преднапряжения должно быть возможно наибольшим, но не должно отрывать или поднимать плиты (т.е. не должно превышать собственной массы и прочности крепления плит).

При усилении по схеме рис. 6, В арматурный каркас вводится в шов между ребрами плит (при расширенном шве - два плоских каркаса), после чего производится бетонирование.

В случаях значительного смещения плит (например, при устройстве расширенных швов для усиления продольных ребер) устраивают опорные столики-стойки. Ребро смещенной плиты опирается на столик-стойку, который выполняется из отрезка двутавра или из двух уголков, установленных непосредственно на закладной лист опоры стропильных элементов.

Возможно иное решение. Вместо устройства столика-стойки может быть забетонирован зазор между торцами балок (см. рис. 4, В).

При смещении плиты на соседнюю балку покрытия опорную закладную смещенной плиты не следует приваривать к этой балке, а следует приваривать при помощи стяжки к закладной второго ребра смещенной плиты.

При продольном смещении плит со стропильных несущих элементов (см. рис. 6, А, Б) возможно устройство опорных уголков-столиков на специальных держателях, выполненных из отрезков швеллеров или двутавров, располагаемых на опорах плит. В этом случае к держателям на одном конце прикрепляют уголок-столик, а на другом - анкерный уголковый столик. Опорный и анкерный уголковые столики усиливаются ребрами жесткости. Эти столики приваривают к держателям, после чего их подчеканивают или подклинивают.

Увеличение длины опирания плит на стропильные элементы может выполняться также в соответствии с рис. 6, Б.

Рис. 8. Устройство опорных столиков для сборных железобетонных ребристых плит покрытий и перекрытий многоэтажных производственных зданий

А - при опирании на ригели прямоугольного сечения; Б - при опирании на полки ригелей и наличии закладных деталей

Рис. 9. Устройство опорных столиков для сборных железобетонных ребристых плит покрытий и перекрытий многоэтажных производственных зданий при опирании на полки ригелей и отсутствии закладных деталей

1 - ригель; 2 - ребристая плита; 3 - уголки; 4 - швеллер; 5 - болт; 6 - листы

Рис. 10. Устройство опорных столиков для сборных железобетонных ребристых плит покрытий и перекрытий многоэтажных производственных зданий при сбитом с оси и перекошенном ригеле

1 - колонна каркаса; 2 - ригель, получивший смещение относительно оси; 3 - ребристые плиты, имеющие недостаточную зону опирания; 4 - металлический опорный столик; 5 - болт; 6 - элемент крепления болта к верхней полке соседней плиты

4.37. Сборные железобетонные многопустотные панели перекрытий с круглыми или овальными пустотами целесообразно усиливать, используя части пустот, в которые (после пробивки верхней полки) укладывают дополнительные арматурные каркасы, после чего пустоты бетонируют. При этом утолщение плиты бетонированием сверху необязательно, его необходимость определяется расчетом, выполняемым с учетом совместной работы плиты с конструкцией усиления (рис. 7).

Усиление опорных участков ребристых плит (при недостаточной длине опирания и перекосе ригелей) производится устройством дополнительных металлических опорных столиков по схемам рис. 8 - 10.

При ригеле прямоугольного сечения для крепления опорного столика устраивают металлический хомут (рис. 8, А). Наличие закладных деталей в ригеле (в зоне опирания плит) позволяет упростить крепление опорного столика (рис. 8, Б).

При недостаточном опирании ребристых плит перекрытий на полки ригелей и отсутствии закладных деталей, пригодных для приварки дополнительных опорных столиков, последние могут устанавливаться по схемам рис. 9.

Смещение осей колонн каркаса может привести к перекосу ригеля и смещению опирающихся на них плит перекрытий. В этом случае усиление узлового сопряжения опирания плит на ригель осуществляется дополнительной установкой опорных столиков (рис. 10).

Балки перекрытий, стропильные, подкрановые

4.38. Усиление балок производят для увеличения их несущей способности по изгибающему моменту и по поперечной силе в зависимости от характера повреждений.

4.39. При определении необходимости и способа усиления балок кроме расчета несущей способности должно учитываться состояние анкеровки арматуры.

4.40. Усиливать балки можно односторонним или двусторонним наращиванием железобетона (сверху, снизу или с боков) с помощью трехсторонних рубашек или замкнутых четырехсторонних обойм (рис. 11). Расчет усиленных сечений производится как монолитных; в случае, если расстояние от существующей арматуры до вновь устанавливаемой дополнительной превышает 1/4 высоты усиленной балки, то при расчете принимаем ее с коэффициентом 0,8.

4.41. Усиление растянутой ненапряженной арматуры железобетонных балок может осуществляться наращиванием (без разгрузки и с разгрузкой) усиливаемой конструкции при помощи домкрата или подклиниванием.

При усилении без разгрузки дополнительную арматуру рекомендуется предварительно напрягать. Для этого стержень предварительно приваривают к существующей арматуре одним концом, нагревают пропусканием тока от сварочного трансформатора, а затем приваривают второй конец. Температура нагрева не должна превышать 400 °С, замеряется термокарандашами или другим способом, а также по удлинению стержня (Dl = atl, a = 0,0012 на 100 °С; l - длина стержня; Dl - величина удлинения стержня).

Приварка дополнительной растянутой арматуры осуществляется посредством коротышей из арматуры диаметром 10 - 40 мм и длиной от 50 до 200 мм. Приварив (после удлинения) дополнительную арматуру к концевым коротышам, ее приваривают к промежуточным, расположенным через 200 - 1000 мм (рис. 12).

В случае приварки дополнительной арматуры без преднапряжения термическим, электротермическим или другими способами, конструкция должна быть предварительно разгружена или подперта с тем, чтобы при ее загружении конструкции усиления включались в работу совместно с усиляемой балкой.

Усиление предварительно напряженной арматуры железобетонных балок рекомендуется проводить стальными предварительно напряженными затяжками или шпренгелями. Натяжение затяжек можно создавать механическим, термомеханическим и электротермическим способами. Затяжки следует выполнять из стали классов А-I, А-II, А-III, А-IV, диаметром от 12 до 36 мм.

Усиление сжатой зоны может производиться по примерам рис. 13, а опорных участков - по рис. 14.

Рис. 11. Схемы сечений балок, усиленных железобетоном

А - наращиванием снизу; Б - наращиванием сверху; В, Г - обоймой; Д - рубашкой; Е - рубашкой с дополнительной плитой (обойма); Ж - наращиванием сбоку с плитой поверху; 1 - балка; 2 - плита; 3 -имеющаяся арматура; 4 - арматура усиления; 5 - бетон усиления

4.42. Исправление и усиление сколов и разрушений в сжатой зоне производится после расчистки от рыхлого бетона, обрубания скола до прямоугольной формы, исправления поврежденной арматуры и приварки к ней через коротыши в случае необходимости новых дополнительных стержней, перебетонированием или набетонированием.

4.43. При усилении опорных участков балки следует применять замкнутые четырехсторонние обоймы. Применение на опорах трехсторонних рубашек может быть допущено только в случае усиления ее по всей длине балки. Усиление опорных участков стальными конструкциями рекомендуется производить при помощи наружных хомутов (см. рис. 14), допускается применение также других схем, в частности шпренгелей или двухконсольных стальных балок. При этом следует обеспечить надежную совместную работу усиливаемого элемента и металлических конструкций усиления, что достигается преднапряжением хомутов, имеющих винтовую нарезку, а также попарным стягиванием специальными болтами смежных поперечных стержней.

Рис. 12. Усиление растянутой зоны балок приваркой дополнительной арматуры через коротыши

1 - балка; 2 - арматура усиливаемой балки; 3 - дополнительная арматура; 4 - коротыш из полосовой или круглой стали; 5 - обетонирование

4.44. Допускается приварка дополнительной арматуры из сталей классов А-I, А-II и А-III к существующей арматуре тех же сталей. При арматуре из высокоуглеродистых сталей классов А-IV, Ат-IV и выше, а также из высокопрочной проволоки и проволочных канатов сварка не допускается. Конструкции с арматурой из таких сталей усиливаются наружными металлическими или железобетонными поддерживающими системами.

4.45. Усиления железобетонными и металлическими поддерживающими конструкциями могут быть выполнены по различным схемам: дополнительными балками, расположенными под или поверх усиляемой (рис. 15), шпренгелями, разгружающими кронштейнами (рис. 16), двухконсольными балками (рис. 17), уменьшающими пролет балок и не создающими в них продольных сил, как это происходит в шпренгеле, подвесками к вышерасположенным конструкциям, дополнительными стойками, фермами, балками и др.

Рис. 13. Усиление сжатого пояса балок

А - наращиванием сверху; Б - рубашкой; 1 - балка; 2 - плита покрытия; 3 - «утка»; 4 - старая арматура; 5, 6 - новая арматура

4.46. Выбор схемы конструкции усиления зависит от наличия материалов, свободных габаритов, расположения конструкций, могущих служить опорой для конструкции усиления, схемы повреждения самой усиливаемой конструкции и требований к ее качеству после усиления.

4.47. Схема и способ усиления балок при работе их на изгиб выбираются в зависимости от недостатка прочности сжатой или растянутой зон сечения, т.е. от величины характеристик сечения: ξ = х/h0 и от наличия повреждений бетона в сжатой зоне или арматуры в растянутой зоне балки. При ξ > ξR потеря несущей способности изгибаемого элемента начинается с разрушения бетона в сжатой зоне. Ввиду несколько пониженной монолитности усиляемых конструкций при их проектировании должно соблюдаться условие, при котором (после усиления) ξ £ ξRm.

4.48. В зависимости от величины и необходимости усиления сжатой зоны балки выбирают тип ее усиления (железобетонной рубашкой, замкнутой или незамкнутой, с увеличением сечения в сжатой зоне или без него, наращиванием балки поверху или понизу и др.). Пример усиления балки наращиванием в сжатой и растянутой зонах показан на рис. 15.

Рис. 14. Усиление опорных участков балок хомутами

А - с затяжкой гайками; Б - стягиванием ветвей попарно; 1 - балка; 2 - плиты; 3 - хомуты; 4 - стяжные устройства; 5 - гайка; 6 - упорные уголки; 7, 8 - продольные подкладные уголки со стяжками

Рис. 15. Усиление балок перекрытий наращиванием

А - наращивание балки в сжатой зоне; Б - двустороннее наращивание; 1 - усиливаемый элемент; 2 - конструкция усиления

4.49. При усилении балок металлическим шпренгелем сечения балки проверяют с учетом продольной силы, действующей в балке как в ригеле шпренгельной системы, т.е. как внецентренно сжатые, и в зависимости от результатов расчета принимают решение на усиление сжатой зоны. При этом железобетонная балка проверяется на действие несимметричной нагрузки, если таковая возможна.

4.50. Расчеты обычно применяемых шпренгелей показывают, что шпренгель при совместной работе с балкой (совместных прогибах) принимает на себя лишь от 5 до 20 % общей нагрузки, причем при условии, что он с самого начала нагружения включен в работу конструкции (натянут). Поэтому расчет шпренгеля производится на усилие, необходимое для создания в балке разгружающего момента, компенсирующего соответствующий изгибающий момент от внешней нагрузки. На это усилие шпренгель должен быть предварительно натянут и это усилие должно составлять не более 75 - 80 % несущей способности стержней шпренгеля. При подборе сечений стержней шпренгеля их сопротивление принимается с коэффициентом условий работы m = 0,8, это означает, что предварительное напряжение в ветвях шпренгеля должно составлять 75 - 80 % расчетного сопротивления материала соответствующих элементов.

4.51. Предварительное напряжение шпренгелей может быть осуществлено стяжными муфтами, электротермическим нагревом с контролем удлинений по завинчиванию упорных и опорных гаек или стягиванием между собой парных ветвей (по способу Н.М. Онуфриева с контролем угла перегиба ветвей в соответствии с графиком рис. 24). При этом величины требуемой деформации следует назначать с учетом потерь напряжения от обмятия в сочленениях: по 1 мм в сочленении металла с металлом и по 3 - 5 мм в сочленении металлических деталей с бетоном. Рекомендуется проверять напряжения предварительного натяжения на монтаже с помощью замера деформаций удлинения ветвей шпренгеля прогибомером или индикатором на базе 1000 мм (при этой базе удлинению 1 мм соответствует напряжение 19,62 кН/см2, его можно замерить штангенциркулем с точностью 0,1 мм, т.е. контролировать напряжение с точностью 1,96 кН/см2, а индикатором с точностью 0,01 мм - соответственно 0,2 кН/см2).

Рис. 16. Усиление балок покрытий подпружными системами

А - шпренгелем; Б - двухконсольной фермой; 1 - балка; 2 - опора; 3 - шпренгель (тяга); 4 - двухконсольная ферма; 5, 6 - упоры; 7 - уголок

Рис. 17. Усиление балок выносными опорами

1 - балка; 2 - опора; 3 - двухконсольные балки; 4 - столик выносной опоры (место подклинки); 5 - соединительный стержень

4.52. Усиление двухконсольными балками применяется для устройства выносных опор в целях уменьшения рабочего пролета балки (см. рис. 17), увеличения длины балки для более надежной установки ее на опору и в случае нарушения анкеровки арматуры; в последнем случае размер выноса устанавливается не менее 40 диаметров рабочей арматуры при стержневой арматуре непериодического профиля и не менее 80 диаметров - при арматуре из высокопрочной проволоки.

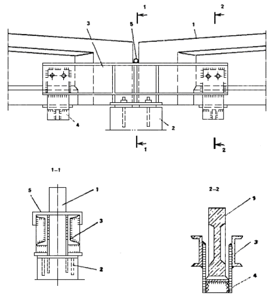
Рис. 18. Усиление подкрановых балок

А - обоймой из швеллеров, выносными опорами; Б - обоймой из уголков, шпренгелем (каждое усиление назначается по конкретной необходимости); 1 - опора; 2 - балка; 3 - двухконсольная балка; 4 - столик выносной опоры; 5 - швеллеры обоймы; 6 - шпренгель; 7 - уголок обоймы с приваренным снизу коротышами уголков для крепления болтами через отверстия в полке балки; 8 - соединительный стержень

4.53. Включение в работу двухконсольных кронштейнов производится оттяжкой консолей подвеской к ним нагрузки, по возможности близкой к требуемой по расчету, или домкратом с последующей подклинкой или подчеканкой, после которой нагрузка оттяжки снимается.

4.54. Все усиления металлическими системами, а также наружными хомутами на опорных участках должны быть включены в совместную работу с усиливаемой балкой, т.е. предварительно напряжены путем натяжения домкратами, предварительной нагрузкой, подчеканкой, подклинкой, натяжными болтами или другими приспособлениями.

4.55. Рекомендуется проверять усилие предварительного напряжения конструкций усиления по прогибам или другим деформациям элементов этих конструкций или усиленных элементов.

4.56. Зазоры между металлическими упорными элементами усилений и бетоном усиляемой конструкции должны подчеканиваться жестким цементным раствором.

К недостаткам способа усиления металлическими системами следует отнести их неогнестойкость и неустойчивость к воздействию агрессивных сред, что требует в необходимых случаях их соответствующей защиты.

4.57. Усиление подкрановых балок может быть выполнено шпренгелями или двухконсольными балками (выносными опорами), что обычно бывает связано с повреждением балок, подверженных ударам и боковым воздействиям (рис. 18).

Усиление верхней полки подкрановых балок, у которых обычно имеются сквозные вертикальные трещины и разрушения полок вследствие горизонтальных сил, возникающих при продольном перемещении крана, рекомендуется выполнять с помощью сжима из швеллеров или уголков (рис. 18), увеличивающих в горизонтальной плоскости несущую способность и жесткость балок.

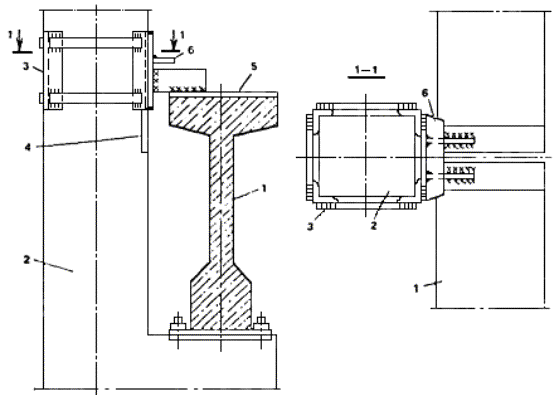
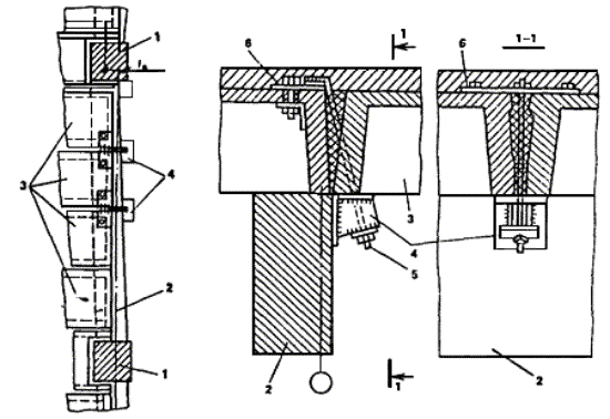
Рис. 19. Усиление (восстановление) крепления подкрановых балок в колонне с приваркой к закладным деталям балки

1 - балка; 2 - колонна; 3 - обойма колонны; 4 - обойма на сжатом поясе; 5 - стяжные болты; 6 - планка

Рис. 20. Усиление (восстановление) крепления подкрановых балок к колонне с приваркой к обойме (сжиму) на сжатой полке

1 - балка; 2 - колонна; 3 - обойма колонны; 4 - закладная деталь; 5 - торцевой лист; 6 - ребро жесткости лицевого листа обоймы на колонне

4.58. Усиление или исправление разрушенных элементов крепления подкрановых балок к колоннам следует производить с помощью стальных обойм (рис. 19), избегая приложения отрывающих усилий к листовой стали граней обоймы, незаанкеренной в бетоне. В случае крепления к закладным деталям балок (рис. 20) лист обоймы, к которому производится приварка крепежных накладок, усиливается горизонтальным ребром.

4.59. Расчет усилений балок и их креплений производится на нормативное усилие поперечного торможения с коэффициентом 1,5 - 2,5 для балок и 2 - 5 - для их креплений.

Колонны, консоли, фундаменты

4.60. Для усиления колонн применяется несколько типов обойм, которые отличаются между собой конструктивными особенностями, материалом, производством работ и эффективностью усиления.

Одним из типов железобетонных обойм являются обоймы с обычной продольной и поперечной арматурой (рис. 21, А) без связи обоймы с арматурой усиливаемой колонны. Перед бетонированием обоймы необходимо обязательно произвести подготовку поверхности усиливаемой конструкции (выполнить насечку бетона и промыть его струей воды). Толщина обоймы колонны зависит от степени усиления и обычно не больше 300 мм и не менее 70 - 80 мм (в крайнем случае 50 мм). Класс бетона обоймы принимается по классу бетона усиливаемой колонны, но не ниже В25.

Площадь продольной арматуры обоймы определяется расчетом, но ее диаметр должен быть не менее 16 мм для сжатых и 12 мм - для растянутых зон. Поперечная арматура принимается диаметром не менее 6 мм и устанавливается с шагом 15 диаметров продольной арматуры, но не более трехкратной толщины обоймы и не более 200 мм. В местах возможной концентрации напряжении шаг хомутов должен быть уменьшен вдвое.

При устройстве местной обоймы на поврежденном участке она должна выходить за его пределы не менее пяти толщин обоймы, не менее ширины большей грани колонны и не менее 400 мм.

4.61. Железобетонные обоймы могут быть выполнены с поперечной арматурой в виде спиральной обмотки из проволочной арматуры (см. рис. 21, Б). При конструировании обойм должны соблюдаться следующие условия:

спирали в плане должны быть круглыми;

расстояние между витками спирали в осях должно быть не менее 40 мм, не более 1/5 диаметра сечения ядра обоймы, охваченного спиралью, и не более 100 мм;

спирали должны охватывать всю рабочую арматуру.

Рис. 21. Усиление колонн железобетонными обоймами

А - армированных спиралью; Б - обычными хомутами; 1 - колонна; 2 - спираль; 3 - продольная арматура; 4 - хомуты

Углы усиляемой колонны скалывают от бетона до арматуры, спираль навивают по этим стержням с креплением к дополнительным вертикальным стержням, устанавливаемым около каждой грани колонны. Толщина обоймы определяется диаметром ядра внутри спирали, но принимается не менее 70 мм. Спираль изготовляют из арматуры диаметром не менее 6 мм.

Железобетонные обоймы со спиральной обмоткой обладают повышенной несущей способностью при центральном сжатии.

4.62. Усиление колонн может производиться односторонним, двусторонним или трехсторонним наращиванием (рубашками) (рис. 22).

Армирование наращиваний состоит из продольной и поперечной арматуры. Особое внимание следует уделять анкеровке поперечной арматуры по концам поперечного сечения наращиваний. При усилении колонн хомуты должны привариваться к хомутам усиливаемой колонны.

Расстояние между существующей и дополнительной арматурой обеспечивается приваркой последней к стержням первой через коротыши или через специальные приварки - «утки»-отгибы, косые хомуты, прямые хомуты и соединительные планки; приварка производится через 500 - 1000 мм по длине стержня швами длиной 50 - 100 мм.

Рис. 22. Усиление колонны двусторонним наращиванием

А - на части колонны; Б - по всей длине колонны; 1 - колонна; 2 - старая арматура; 3 - новая арматура; 4 - «утки»; 5, 6 - коротыши

4.63. При усилении центрально- и внецентренно сжатых колонн под нагрузкой рекомендуется устраивать предварительно напряженные металлические распорки (рис. 23). Конструкция распорки состоит из двух уголков, связанных между собой приваренными соединительными планками из листового металла. Вверху и внизу каждого уголка распорки необходимо приварить специальные планки, посредством которых распорка передает нагрузку при монтаже, натяжении и эксплуатации на упорные уголки «воротника». Упорные планки распорок выполняются из полосовой или листовой стали и должны быть не тоньше 15 мм, а по площади соответствовать сечению распорок. Планки должны выступать за грани уголков распорок на 100 - 120 мм и иметь в выпусках отверстия для пропуска монтажных болтов.

Монтаж распорок производят с перегибом их в середине высоты. Для облегчения перегиба в боковых полках уголков необходимо предусмотреть вырезы. Площадь поперечного сечения распорок в этих местах возмещается приваркой специальных планок, которые одновременно используют для установки натяжных болтов. Смонтированные и плотно подогнанные распорки имеют перегибы.

Для создания предварительного напряжения сжатия распорки необходимо выпрямить после их монтажа, т.е. придать им вертикальное положение и обеспечить плотное прилегание к усиливаемой колонне. Достигается это посредством закручивания гаек натяжных болтов. Величина перегиба в середине длины распорок определяется в зависимости от требуемого преднапряжения и определяется по графику на рис. 24. За оптимальную величину предварительного напряжения распорок рекомендуется принимать 6 - 8 кН/см2.

Рис. 23. Усиление колонн стальной обоймой (с преднапряжением, стягиванием ветвей или подклинком)

А - в стадии стягивания ветвей (при преднапряжении); Б - в окончательном виде; В - детали узлов перегиба; 1 - колонна; 2 - балки; 3 - нижнее перекрытие (фундамент); 4 - обойма; 5 - опорные башмаки; 6 - листовые шарниры; 7 - стяжные болты (хомуты)

Рис. 24. График зависимости напряжений от угла наклона ветвей стальных распорок (при их выпрямлении) или затяжек (при их оттягивании от прямолинейной формы); пунктиром указана нулевая линия при пренебрежении ростом напряжений от i = 0 до i = 0,01

4.64. Усиление консолей колонн может производиться металлическими конструкциями по схемам рис. 25 накладными и горизонтальными преднапряженными тяжами. Аналогичный эффект может быть достигнут и стягиванием ветвей хомутов.

4.65. Усиление колонн, имеющих местные разрушения или требующих устройства на колонне упоров для опирания конструкции усилений (консолей), рекомендуется производить железобетонными обоймами, армированными хомутами или спиралью, а также (при больших консольных выносах упора) рабочей арматурой консоли в виде усиленных хомутов и наклонных стержней (рис. 26).

Необходимая высота обоймы должна составлять за пределами усиливаемого участка не меньше 5 толщин обоймы, не меньше ширины большей грани колонны и не меньше 40 см, а армирование - хомутами диаметром не менее 6 мм с шагом не более толщины обоймы (рекомендуется армирование не менее 1 % сечения обоймы). Спиральное армирование устанавливается согласно п. 4.47.

При устройстве упора необходимая площадь поверхности скольжения обоймы по поверхности колонны может быть определено по условному сопротивлению бетона колонны на срез.

Рис. 25. Усиление консолей

А - наклонными тяжами; Б - затяжкой; В - затяжкой замкнутым хомутом со стягиванием его ветвей; Г - наклонной тягой со стягиванием ее ветвей; 1 - колонна; 2 - затяжки; 3, 4, 5 - траверсы и упоры; 6, 8 - подкладки; 7 - стяжные крюки

Рис. 26. Осуществление новых консолей (упоров) с устройством обоймы на стволе колонны

1 - спираль обоймы; 2 - хомуты; 3 - отгибы

Рис. 27. Усиление фундаментов

А - с привязкой верха, применяемой до 1958 г.; Б - то же, до настоящего времени; 1 - существующий фундамент; 2 - существующая колонна; 3 - существующая фундаментная балка; 4 - железобетонная рубашка; 5 - арматура железобетонной рубашки

Рис. 28. Усиление ростверка

1 - колонна; 2 - ростверк; 3 - сваи; 4 - сван усиления; 5 - новый ростверк; 6 - арматура нового ростверка

4.66. Усиление фундаментов производится как усиление изгибаемых элементов, согласно схемам рис. 27, для ступенчатых фундаментов отдельно стоящих колонн. Рабочая растянутая арматура укладывается в нижнем уступе набетонируемого усиления, по наружной поверхности которого располагаются вертикальные (наклонные) и горизонтальные замкнутые арматурные стержни, обеспечивающие отсутствие трещин в набетонируемом теле бетона.

4.67. Усиление фундаментов-ростверков, сопровождающееся забивкой дополнительных свай, делается в форме дополнительных балочных систем (рис. 28), опирающихся на дополнительные сваи. В остальном, усиление производится как обычных фундаментов.

Фермы

4.68. Усиление сжатых элементов фермы может выполняться железобетонными обоймами, рубашками и одно- или двусторонними наращиваниями, металлическими обойками, металлическими предварительно напряженными распорками и шпренгельными системами (рис. 29).

4.69. Минимальная толщина обойм, рубашек и наращивания принимается 6 см, класс бетона не менее В25.

4.70. Рабочую арматуру в обоймах, рубашках и наращиваниях следует принимать диаметром 12 - 25 мм, поперечную арматуру в наращиваниях, применяемую для крепления рабочей арматуры к усиливаемому элементу, - 10 - 25 мм.

4.71. В местах устройства обойм или наращиваний для обеспечения лучшего сцепления старого и нового бетонов необходимо околоть поверхностный слой бетона в тех местах, где устанавливается дополнительная рабочая арматура, а там, где будут установлены хомуты или сетки, достаточно сделать насечку бетонной поверхности усиливаемой конструкции. Перед бетонированием подготовленную бетонную поверхность за 1 - 1,5 ч до бетонирования смачивают водой (перед укладкой бетона поверхность должна быть влажной, но не мокрой, со следами открытой воды).

4.72. Консистенция бетона для конструкции усиления принимается с осадкой конуса 5 - 10 см. Бетон рекомендуется готовить на обычном портландцементе.

4.73. Металлические обоймы применяют для усиления центрально- и внецентренно сжатых элементов. Они состоят из ветвей, соединенных между собой планками. Ветви обойм выполняют из профильной стали, а планки (хомуты) - из листовой или арматурной стали классов А-I, А-II, А-III.

4.74. Ветви металлических обойм могут устанавливаться по всей длине элемента с упором в узлы конструкций или только на ослабленном участке. Соединительные планки (хомуты) и ветви могут быть предварительно напряженными и без напряжения.

4.75. Величина предварительного напряжения в хомутах принимается конструктивно в пределах 6 - 10 кН/см2 и в расчетах не учитывается.

4.76. Наиболее эффективны обоймы с предварительно напряженными ветвями, что дает возможность немедленно включать их в совместную работу с усиленной конструкцией и разгрузить усиливаемый элемент. Для включения металлических обойм в работу величина предварительного напряжения принимается 4 - 6 кН/см2.

4.77. Установка ветвей обоймы производится с перегибом в середине длины. При выпрямлении создается предварительное напряжение в ветвях обоймы (см. рис. 29, Д).

4.78. Расчет обойм ведется с учетом совместной работы их с усиливаемыми сжатыми элементами железобетонных конструкций. Потери напряжений следует учитывать коэффициентом условий работы m = 0,9.

4.79. Предварительно напряженные распорки применяют, как правило, для усиления внецентренно сжатых элементов (см. рис. 29, Д, Е, Ж).

4.80. Предварительно напряженные распорки выполняют из профильной стали (уголков, швеллеров и двутавров).

4.81. Величина предварительного напряжения в распорках для включения их в работу должна находиться в пределах 4 - 6 кН/см2. Потери напряжения распорок учитываются коэффициентами условия работы m = 0,9 для распорок, приведенных на рис. 29, Е, и m = 0,5 - для распорок по рис. 29, Ж.

4.82. Упорные устройства обойм и распорок необходимо обеспечить от смещений и упирать в узлы конструкции.

4.83. Упорные устройства конструкции усиления состоят из отрезков профильной стали, усиленной ребрами жесткости, из уголков или швеллеров.

4.84. Упорные планки должны плотно примыкать к упорным устройствам, а на период монтажа обоймы и распорки вверху и снизу связывают специальными монтажными крепежными болтами.

4.85. Стягивание изогнутых ветвей распорок осуществляется с помощью стяжных болтов, установленных в местах перегиба распорок. Соединительные планки или хомуты приваривают к распоркам после создания в них предварительного напряжения.

4.86. Усилению, согласно пп. 4.53 - 4.71, подлежат панели сжатых поясов или решетки ферм в случае, если поперечные трещины в этих элементах сквозные и имеют наклон к продольной оси элемента не меньше 60°. При угле наклона больше 60° трещины уменьшают несущую способность пояса не более чем на 20 % и усиление производят на основании поверочного расчета с учетом фактических свойств бетона, арматуры и указанного ослабления.

4.87. Усиление растянутых железобетонных элементов рекомендуется проводить металлическими затяжками (рис. 30). Наиболее эффективны предварительно напряженные затяжки. Предварительное напряжение затяжек можно создавать механическим, термомеханическим и электротермическим способами. Выбор того или иного способа определяется условиями производства работ и наличием необходимого оборудования.

4.88. Затяжки усиления следует выполнять из арматурной стали классов А-I, A-II, А-III и A-IV, круглого и периодического профиля, диаметром от 12 до 36 мм, а в отдельных случаях - из профильной стали.

Рис. 29. Усиление сжатых элементов

А - железобетонными обоймами; Б - железобетонными рубашками (сечение II-II), двусторонним наращиванием (сечение III-III), односторонним наращиванием (сечение IV-IV); В - металлическими обоймами с упором в узлы; Г - металлическими обоймами с напряженными хомутами; Д - металлическими обоймами с напряженными ветвями; Е, Ж - односторонними напряженными распорками; И - металлическими обоймами с напряженными хомутами без упора в узлы; К - металлическими обоймами с клиновыми захватами; 1 - усиливаемые элементы; 2 - железобетонная обойма; 3, 4 - продольная и поперечная арматура; 5 - железобетонные рубашки; 6 - двустороннее наращивание; 7 - одностороннее наращивание; 8, 10 - уголки; 9 - планки; 11 - напряженные хомуты; 12 - стяжной болт; 13 - ненапряженные хомуты; 14 - уголки; 15 - швеллер; 16 - упорные ящики; 17 - фиксатор; 18 - бетон класса В25; 19 - уголки; 20 - ненапряженные хомуты; 21 - швеллер; 22 - наружные клинья; 23 - внутренние клинья; 24 - металлические пластины

Рис. 30. Усиление растянутых элементов

А, Б, В, Е, Ж - усиление раскосов и стоек; Г, Д - усиление нижнего пояса; И - деталь крепления затяжек с последующим обетонированием опорного узла; 1 - усиливаемые элементы; 2 - затяжки; 3, 6, 7, 8 - боковые и опорные пластины; 4 - уголки; 5 - стяжные болты; 9 - цементный раствор; 10, 15 - упорные пластины; 11 - затяжки; 12, 13, 14, 16, 18 - боковые и опорные пластины; 17 - ребра жесткости; 19 - упорные трубы; 20 - уголок; 21 - бетон класса В25; 22 - дополнительная продольная и поперечная арматура

4.89. При напряжении затяжек гайками участки затяжек с резьбой следует выполнять из коротышей диаметром, на 4 мм большим диаметра напрягаемого стержня.

4.90. Натяжные гайки по высоте должны составлять не менее полутора диаметров наконечника по нарезанной части. Между гайками и упорами необходимо поставить шайбы. Гайки и шайбы следует изготовлять из твердых сталей, чтобы избежать смещения шайб и гаек.

4.91. Анкерные устройства затяжек усиления должны быть простой технологической конструкции, достаточно жесткими и несмещаемыми.

4.92. Анкерные устройства затяжек на промежуточных узлах верхнего и нижнего поясов рекомендуется крепить к конструкциям обжимными болтами диаметром 16 - 20 мм. Величину усилия в каждом болте следует принимать не менее 1 т. Натяжные болты должны быть диаметром не менее 10 мм.

4.93. Опорные пластины анкерных устройств рекомендуется принимать толщиной 12 - 24 мм. При больших усилиях в затяжках жесткость опорных пластин необходимо увеличивать постановкой ребер жесткости.

4.94. Анкерные устройства рекомендуется ставить на выравнивающий слой цементного раствора класса не менее В25, однако допускается постановка и без раствора «насухо» на выровненную поверхность бетона.

4.95. Предварительное напряжение затяжек следует проводить после набора раствором прочности не менее 70 %, т.е. не ранее семи суток после его укладки.

4.96. Предварительное натяжение стержней затяжек усиления должно создавать в них напряжение не менее 70 % их расчетного сопротивления. Контроль величины усилия в затяжках осуществляется по общему удлинению.

4.97. Усиление опорных и промежуточных узлов выполняется металлическими напряженными затяжками, в отдельных случаях они могут усиливаться с помощью металлических и железобетонных обойм (рис. 31).

Рис 31. Усиление опорных и промежуточных узлов

А, Б - напряженными затяжками; Д - металлическими; Е - железобетонными обоймами; В, Г, И - усиление промежуточных узлов (В, Г - напряженными затяжками; Е - железобетонными обоймами); 1 - усиливаемый узел; 2 - напряженные затяжки; 3, 4 - упорные уголки; 5 - металлические пластины; 6 - колонна; 7, 8 - швеллеры; 9 - боковые пластины; 10 - плиты покрытия; 11 - тяжи; 12 - упорные пластины; 13 - упорные швеллеры; 14, 15, 16 - пластины металлической обоймы; 17 - ребра жесткости; 18 - отверстия диаметром 30 - 40 мм для нагнетания цементного раствора; 19 - цементный раствор; 20, 21 - продольная и поперечная арматура железобетонной обоймы

4.98. При значительном повреждении сжатых или растянутых поясов их восстановление производится после установки под узлы фермы временных подпорок. Усиление фермы производят металлическими элементами (рис. 32).

Рис. 32. Усиление фермы при значительном повреждении верхнего и нижнего поясов

1 - ферма; 2 - плиты покрытия; 3 - стальная обойма из швеллеров; 4 - тяжи; 5 - упорная конструкция; 6 - ребро жесткости; 7 - хомут из уголков; 8 - шайбы с прорезями

Стеновые панели

4.99. Выбор проектного решения восстановления стеновых панелей рекомендуется производить по табл. 12.

Таблица 12

Степень повреждения

Характеристика повреждения

Мероприятия по восстановлению

Слабая

Не снижающие несущей способности и эксплуатационных свойств конструкции: небольшие сколы бетона, трещины шириной 0,5 мм без повреждений арматуры

Ремонт с затиркой и штукатуркой сколов цементным раствором

Средняя

Снижающая несущую способность и эксплуатационные свойства конструкции: раскрытие швов между панелями шириной до 1 см; сколы, достигшие 50 % сечения; трещины шириной 1 мм без разрывов арматуры; прогибы панели до 1/50 пролета; отсутствие опасности обрушения панели

Ремонт с частичной разборкой бетона, исправлением поврежденной арматуры, перебетонированием сколотых мест, инъецированием трещин и швов между панелями, восстановление слоя утеплителя

Сильная

Значительно снижающая несущую способность и эксплуатационные свойства конструкции: раскрытие швов между панелями шириной более 1 см; разрушение бетона на 50 % сечения; разрыв до 50 % рабочей арматуры; нарушение сцепления в зонах анкеровки арматуры; прогибы свыше 1/50 пролета с раскрытием трещин более 1 мм; отрыв закладной детали или сварного шва крепления панели к колонне

Восстановление панели со снятием ее со стены; устройство железобетонной рубашки; ремонт крепежных изделий, усиление арматуры с перебетонированием разрушенных участков панели, восстановление слоя утеплителя

Полная

Свидетельствующая о критическом состоянии конструкции: разрушение свыше 50 % сечения бетона; разрыв свыше 50 % арматуры; разрушение крепежных закладных деталей; наличие опасности обрушения

Восстановление нецелесообразно. Замена разрушенной панели новой

4.100. При повреждении закладных деталей следует предусматривать их замену новыми с приваркой к неповрежденной арматуре и последующим бетонированием участка панели. Площадь анкерующих стержней или пластин должна быть увеличена на 20 - 30 % по сравнению с заменяемыми.

4.101. Восстановление перемычечной панели, у которой повреждена рабочая арматура, следует предусматривать путем подведения под панель с обеих сторон стальных уголков с последующим оштукатуриванием.

4.102. Восстановление утеплителя производят наклепкой жестких плит из пенополиуретана, пенополистирола или минеральной ваты.

Узловые соединения

4.103. При проведении обследования конструкций многоэтажных зданий может возникнуть необходимость в усилении узловых сопряжений ригелей с колоннами, получивших значительные деформации или местные повреждения.

При смещении и недостаточном опирании ригелей на выносные железобетонные консоли колонн узловые сопряжения следует усиливать путем устройства:

дополнительной железобетонной или металлической консоли, привариваемой к обнаженной продольной арматуре колонн (рис. 33, А);

дополнительного опорного столика, привариваемого к закладной детали консоли и металлической обойме (рис. 33, Б);

дополнительного опорного столика, подвешенного на болтах к металлическому хомуту вокруг колонны из уголков, устанавливаемого в толще пола (рис. 33, В).

Рис. 33. Усиление узловых сопряжений ригелей с колоннами каркасов многоэтажных производственных зданий при недостаточном опирании ригеля

А - в крайней колонне при значительных опорных реакциях; Б - в крайней колонне при незначительных опорных реакциях; В - в средней колонне; 1 - колонна; 2 - ригель; 3 - дополнительная железобетонная и металлическая консоль; 4, 7, 8 - стяжные болты; 5 - накладной уголок; 6, 9 - опорные уголки

4.104. При недостаточности площади поперечного сечения или разрыве надопорных стержней узловые сопряжения ригелей с колоннами следует усиливать приваркой арматурных вставок, накладок, приваркой оборванных надопорных стержней к металлическому хомуту, который плотно охватывает колонну и приваривается к ее обнаженным продольным стержням (рис. 34, А). В случаях значительного искривления и выпучивания надопорных стержней целесообразна установка дополнительных наружных преднапряженных хомутов (после удаления замоноличивающего бетона с последующим повторным замоноличиванием) (рис. 34, Б).

4.105. Усиление узловых сопряжений ригелей с колоннами рамно-связевых каркасов при значительных смещениях ригелей и разрыве надопорной «рыбки» следует осуществлять наращиванием консоли колонны приваркой металлического уголка с ребром жесткости с установкой и приваркой клиньев и последующей приваркой новой надопорной «рыбки», длина которой определяется по месту.

Усиление узловых сопряжений ригелей с колоннами связевых каркасов при недостаточном опирании на скрытые железобетонные консоли осуществляется путем крепления к металлической обойме (из уголков с ребрами жесткости и соединительных пластин, соединенных перед сваркой монтажным болтом) дополнительного опорного столика с ребрами жесткости и рабочими болтами (рис. 35).

Рис. 34. Усиление узловых сопряжений ригелей с колоннами каркасов многоэтажных производственных зданий при разрыве или искривлении надопорных стержней

А - сборно-монолитный каркас (серия ИИ - 60); Б - сборный каркас (серия ИИ - 20 и др.); 1 - надопорные стержни; 2 - металлический хомут; 3 - преднапряженные хомуты

Рис. 35. Усиление узловых сопряжений ригелей с колоннами рамно-связевых каркасов наращиванием опорной закладной детали ригеля

4.106. При неравномерных просадочных деформациях основания нарушается монолитность швов между конструкциями покрытия, что приводит к повреждениям кровельного ковра. Чтобы исключить эти повреждения следует заменить во время ремонта покрытия и кровли заполнение в швах между плитами покрытия, а также устроить компенсаторы в деформационных швах (рис. 36). Для этого рекомендуется швы между плитами покрытия освободить от раствора или бетона и в продольном направлении заполнить эластичным герметизирующим материалом. В поперечном направлении швы не заполнять, а закрыть нащельником из оцинкованной листовой кровельной стали по верху плит. Высоту V-образного компенсатора рекомендуется определять из расчета и принимать не менее половины максимальной величины расчетного раскрытия деформационного шва.

Рис. 36. Устройство узлов в покрытии и кровле

1 - продольный деформационный шов; 2 - поперечный деформационный шов; 3 - ригель; 4 - плита покрытия; 5 - компенсатор из оцинкованной листовой стали; 6 - нащельник из оцинкованной листовой стали; 7 - сжимаемый утеплитель; 8 - эластичный герметик; 9 - оклеечная изоляция; 10 - дюбеля

4.107. При неравномерности просадочных деформаций в направлении пролета стены, превышающих 0,001 ее длины, рекомендуется устранить ее связи с колоннами и нижней гранью стропильной конструкции устройством зазоров (рис. 37). Зазор у колонны образуется разборкой участков кирпичной кладки размером в 1/2 кирпича, у нижней грани стропильной конструкции - на высоту кирпича. Образовавшиеся щели заполняют упругим тепло- и звукоизолирующим материалом (паклей, минеральной ватой, пенопластом) и закрывают нащельниками из оцинкованной кровельной стали, которые крепят к стенам с помощью гвоздей (дюбелей). Нащельники окрашивают масляной краской за два раза.

Рис. 37. Устройство зазора между железобетонными несущими конструкциями и внутренней кирпичной стеной

1 - существующая кирпичная стена; 2 - существующая балка; 3 - существующая колонна; 4 - нащельник балки; 5 - нащельник колонны; 6 - гвозди; 7 - пакля или пенопласт

5. Восстановление и усиление стальных конструкций

Выбор методов восстановления и усиления

5.1. Для конструкций, подвергшихся воздействию аварии и пожару, ремонтно-восстановительные работы, как правило, разделяют на два этапа:

подъем и общее выправление конструкций;

собственно ремонт и усиление элементов.

Работы по каждому из указанных этапов можно осуществлять без разгрузки, с разгрузкой, с частичным или полным демонтажем.

Рекомендуется производить восстановление и ремонт по возможности без разгрузки и демонтажа конструкций. К разгрузке следует прибегать лишь в случаях возникновения больших дополнительных напряжений вследствие исключения поврежденных элементов, при отсутствии подъемного оборудования достаточной грузоподъемности и т.д. К частичному или полному демонтажу следует прибегать в случаях тяжелых повреждений, когда элемент проще снять, чем устраивать сложные приспособления для его ремонта на месте.

5.2. Восстановление конструкций без демонтажа следует предусматривать с разгрузкой от временных нагрузок и приведением в проектное положение при помощи домкратов, талей, стоек, распорок и т.д. (рис. 38).

5.3. Следует различать следующие способы усиления стальных конструкций:

постановку дополнительных ребер, диафрагм и распорок;

увеличение сечения элементов;

усиление соединений элементов;

подведение новых конструкций и изменение конструктивной схемы;

увеличение пространственной жесткости.

При восстановлении конструкций применяют, как правило, сочетание нескольких способов усиления.

5.4. При выборе способа усиления следует проанализировать все возможные способы и из нескольких вариантов принять наиболее экономичный. Кроме стоимости строительных работ при усилении необходимо учитывать и потери от остановки производства.

5.5. Постановку дополнительных поперечных и продольных ребер жесткости производят в случае недостаточной местной устойчивости стенок балок. Перед приваркой ребер жесткости к существующим балкам последние следует частично разгрузить при помощи временных промежуточных опор с целью уменьшения поперечной силы в ослабленных местах стенки балки.

Жесткость составных колонн увеличивают постановкой дополнительных диафрагм.

Для увеличения жесткости нижнего сжатого пояса ригелей рам в углах примыкания ригеля к стойкам устраивают подкосы (распорки), при этом обязателен учет изменения статической схемы рамы при ее расчете.

5.6. Способ подведения новых конструкций и введения новых дополнительных элементов для усиления отдельных конструкций рекомендуется применять тогда, когда непосредственное усиление конструкций не представляется возможным, например, подведение дополнительных балок для усиления перекрытия, подведение новых подстропильных ферм вместо удаленных колонн, введение новых дополнительных элементов решетки для усиления стропильных, крановых, мостовых ферм и решетчатых подкрановых балок.

Рис. 38. Пример выправления фахверка без его демонтажа и разборки кирпичного заполнения

5.7. Способ изменения конструктивной схемы рекомендуется применять во всех случаях усиления: неотложно-аварийном, временном, постоянном и перспективном, особенно при усилениях под нагрузкой. Следует различать приемы усиления:

без превращения в новые конструктивные формы (например, увеличением жесткости какой-либо одной колонны в поперечной схеме пролетного сооружения цеха можно достичь необходимого перераспределения усилий во всей конструктивной схеме);

с частичным превращением в новые конструктивные формы (например, установка затяжки в раме и защемление концов стоек превращают двухшарнирную раму в такую же конструкцию, но с защемленными опорами и затяжкой);

с полным превращением в новые конструктивные формы (подведение шпренгеля к однопролетному ригелю).

5.8. Для увеличения пространственной жесткости здания или сооружения рекомендуется использовать следующие приемы:

постановку дополнительных или перестановку существующих связей;

увеличение жесткости горизонтальных связевых дисков покрытия или перекрытия;

использование диафрагм жесткости;

включение в пространственную работу каркаса таких элементов, как антресольные площадки, тормозные конструкции подкрановых балок, несущие конструкции под технологическое оборудование и т.п.

5.9. Для усиления конструкций рекомендуется использовать следующие приемы их предварительного напряжения:

применение предварительно напряженных тяжей, затяжек и оттяжек;

предварительное напряжение регулируемыми распорками;

регулировку опор путем их принудительного смещения;

устройство шпренгелей;

электротермический способ;

предварительный выгиб и последующую сварку профилей балок.

5.10. Соединение элементов стальных конструкций следует предусматривать, как правило, с помощью сварки с учетом мероприятий по подготовке восстанавливаемых конструкций к сварочным работам (зачистка, выравнивание краев разрыва, засверливание трещин или узких длинных отверстий и т.д.).

Не исключается применение болтовых соединений.

5.11. Для элементов усиления следует применять сталь того же класса, что и сталь восстанавливаемой конструкции. Тип электродов выбирается в соответствии с классом стали элемента усиления.

5.12. Рабочие чертежи конструкций, изготавливаемых заново, а также узлов и участков ремонтируемых конструкций должны содержать схемы расположения усиляемых и новых элементов по видам конструкций (прогоны, балки, фермы и т.д.), рабочие чертежи элементов и узлов, спецификацию стали, а также необходимые требования по технологической последовательности выполнения работ по усилению конструкции, влияющей на эффективность применяемого решения.

Проектирование восстанавливаемых стальных конструкций следует осуществлять, как правило, в одну стадию рабочих чертежей КМД.

5.13. Дефектные ведомости конструкций должны составляться по пролетам для каждого поврежденного элемента на основании результатов технического обследования. В процессе восстановления следует проверить состояние соединений конструкций, ранее недоступных для осмотра, и включить их в ведомость исправляемых дефектов.

Балки и прогоны

5.14. При разработке проектов усиления изгибаемых элементов следует учитывать следующие требования:

предусматривать максимальную разгрузку балок перед усилением временной нагрузки и части постоянных нагрузок;

ограничивать объем работ по усилению участками, в которых усиление требуется по расчету;

предусматривать такое усиление, при котором минимальные сечения дополнительных деталей позволяет максимально увеличить геометрические характеристики усиливаемых сечений, т.е. принимать расположение усиливающих деталей на возможно большем расстоянии от нейтральной оси;

предусматривать минимальный объем сварки в потолочном положении;

производить усиление в следующей последовательности: нижний пояс, стенка, верхний пояс - во избежание сварочных деформаций, увеличивающих прогиб (седловидность балки) до недопустимых величин.

5.15. При выборе варианта усиления сечения (рис. 39) следует учитывать следующие особенности:

рис. 39, А - усиление наиболее простое, но отличается большим объемом потолочной сварки при производстве работ без демонтажа балок;

рис. 39, Б - ограничено максимальной шириной нижней накладки В1 £ 30δ1 из условия обеспечения местной устойчивости полки;

рис. 39, В, Д, Ж, И, О - при необходимости размещать усиливающие детали внутри поясов, однако при этом возникают трудоемкие срезки верхушек ребер и подгонка надставок ребер к верхнему поясу балок;

рис. 39, Е, К - при наличии круглых прутков и труб;

рис. 39, Л, М, Н при увеличении высоты балок за счет создания дополнительного нижнего пояса, если это допустимо по технологическим габаритам.

5.16. В усиливаемых балках проверяют прочность и местную устойчивость, при этом в расчет вводят целиком новое сечение балки после усиления.

Если по результатам проверки местной устойчивости возникает необходимость в усилении сжатой зоны отдельных отсеков стенки балки, это можно выполнить установкой в этих отсеках дополнительных «коротких» ребер жесткости с одновременным окаймлением их продольными ребрами (рис. 40).

5.17. Расчет усиления балок выполняют в предположении, что дополнительные детали работают совместно с усиливаемей балкой за счет развития в ее крайних фибрах ограниченных пластических деформаций.

Проверка напряжений производится по формуле s = (М + DМ)/Wус £ gсRу.

5.18. Ремонт (усиление) балок и прогонов следует выполнять при наличии в них следующих повреждений:

общие искривления в плоскости большего или меньшего моментов инерции;

скручивание;

погнутости, трещины, пробоины; надрывы в стенке.

Повреждения могут быть частичными и комбинированными.

5.19. Балки и прогоны с искривлениями в плоскости большего момента инерции, величина которых не менее 1/100 пролета, следует демонтировать и выправлять. При резких искривлениях балки рекомендуется разрезать в местах наибольших выгибов, выправлять и затем стыковать.

В плоскости меньшего момента инерции при искривлениях балок и прогонов на величину, не превышающую половину ширины полки, следует ставить дополнительные связи из тяжей и распорок.

Во всех случаях при исправлении балок и прогонов необходимо обеспечивать достаточную ширину площадки опирания на них элементов перекрытий и кровли.

Рис. 39. Варианты усиления сечений изгибаемых элементов

1 - трубы; 2 - высокопрочные болты; 3 - линия реза; 4 - линия обреза ребра; 5 - надставка ребра по месту (размеры даны в мм)

Рис. 40. Усиление стенки балки дополнительными ребрами

1 - существующие ребра жесткости; 2 - дополнительные короткие ребра жесткости, окаймленные продольным ребром

5.20. Погнутости стенок балок и прогонов рекомендуется устранять усилением поврежденных мест приваркой ребер жесткости, которые пригоняют по изогнутости стенки. Расстояние между ребрами жесткости не должно превышать половины высоты балки.

5.21. Местные вмятины, искривления, пробоины, трещины, надрывы и разрывы по всему сечению балок и прогонов, выполненных из горячекатаных, гнутых и сварных двутавров и швеллеров, рекомендуется устранять приварком накладок.

Размеры накладки определяются по усилию, приходящемуся на поврежденную часть сечения, т.е. полку, стенку или на все сечение. Ширина накладки назначается так, чтобы выполнялось условие Р/аδ £ R, где R - расчетное сопротивление стали; δ - толщина поврежденной части сечения; Р - усилие в поврежденной части сечения исходя из его несущей способности.

Местные вмятины и искривления в одной из плоскостей или винтообразные искривления, если они не могут быть устранены правкой, следует вырезать, а вырезанное место заменить.

5.22. Трещины, расположенные только в части высоты стенки, рекомендуется перекрывать накладками с одной стороны стенки, а трещины по всей высоте - с обеих сторон; концы трещин засверливают.

Если поставить накладку на место повреждения невозможно, то следует перекрыть трещины несколькими отдельными ромбическими накладками, пригнанными по погнутости, и укрепить стенку ребром жесткости (или вырезать погнутый участок и перекрыть место выреза накладкой).

Балки и прогоны, в стенках которых имеются мелкие пробоины размерами, не превышающими по высоте 0,2, а по длине 0,5 высоты балки, восстанавливают путем засверловки острых входящих углов (кромок). Накладки при этом не требуются.

Погнутость свесов сжатых полок, распространяющуюся более чем на половину их ширины, следует выправлять или перекрывать накладками.

Сварные швы, имеющие трещины, рекомендуется усиливать подваркой либо рассверловкой или фрезеровкой дефектных участков с последующей проваркой швов.

Ремонт балки при повреждении по высоте всего сечения, если необходима замена участка балки на некотором протяжении, рекомендуется выполнять в соответствии с рис. 41. Ремонт панели сплошной балки, имеющей большую вмятину в листе стенки, следует осуществлять правкой.

При невозможности правки усиление стенки рекомендуется осуществлять приваркой ребер жесткости (рис. 41, В), перекрытием накладкой или (в редких случаях) укреплением деревянными брусьями.

5.27. Если одновременно с восстановлением предусматривается увеличение нагрузки на балку, то с целью уменьшения усилий на ее поврежденные участки рекомендуется менять конструктивную схему балки устройством шпренгеля, подкосов, затяжки, превратить балку в железобетонную с использованием стальной балки в качестве жесткой арматуры (рис. 42).

Рис. 41. Исправление повреждений сварных балок

А - разрыв нижнего пояса и пробоины в стенке; Б - замена поврежденного участка балки; В - усиление вмятины в стенке около опоры; 1 - линия обреза; 2 - линия обрыва; 3 - контур вмятины

Рис. 42. примеры усиления балок

А - устройством шпренгеля, расположенного в пределах высоты балки; Б - подведением предварительно напряженной затяжки; 1 - двутавр; 2 - шпренгель; 3 - затяжка; 4 - опорные уголки

Фермы и связи

5.28. Для усиления решетчатых конструкций рекомендуется использовать следующие способы: подведение новых конструкций и введение новых (дополнительных) элементов решетки; изменение схемы всей конструкции; увеличение сечений отдельных элементов.

5.29. Для усиления сжатых элементов ферм за счет уменьшения расчетных длин в их плоскости предусматривают дополнительные подкосы от ближайшего узла (рис. 43, А); для усиления пояса фермы, подвергающегося местному изгибу от внеузлового приложения нагрузки, устанавливают дополнительные шпренгели к верхнему или подвески к нижнему поясу фермы (рис. 43, Б).

Рис. 43. Усиление фермы

А - уменьшением расчетной длины сжатого раскоса в плоскости фермы; Б - установкой дополнительных шпренгелей и подвеской при местном изгибе поясов; 1 - сжатый стержень; 2 - дополнительный стержень; 3 - дополнительные шпренгели; 4 - дополнительная подвеска

5.30. При необходимости обеспечить повышение общей несущей способности ферм рекомендуются следующие способы усиления:

устройство дополнительной опоры подведением стойки с временным фундаментом под ней (рис. 44);

надстройка вантовой (рис. 45, А) или висячей системы (рис. 45, Б), если позволяют габариты здания и имеются надежные опоры для крепления вант;

включение фонаря в совместную работу со стропильной фермой (рис. 45, В);

устройство третьего пояса; по схеме, приведенной на рис. 46, А; крепление третьего пояса осуществляется в нижних опорных узлах, устройство третьего пояса по схеме рис. 46, Б целесообразно при наличии достаточно мощного сечения поясов.

5.31. При наличии надежных анкерных устройств, натяжного оборудования и обеспечения контроля натяжения рекомендуется усиление балок и ферм с помощью предварительного напряжения затяжек (рис. 47).

5.32. Жесткость узлов ферм в их плоскости рекомендуется увеличить дополнительными косынками и коротышами (рис. 48). Крепление косынок к поясу рассчитывается на разность усилий в соседних панелях пояса; в местах стыков стержней пояса крепление дополнительных косынок рассчитывается на полное усилие, действующее в стержнях.

Жесткость узлов из плоскости фермы может быть увеличена прикреплением дополнительных стыковых накладок.

Рис. 44. Усиление решетчатой подкрановой фермы установкой дополнительной опоры в середине пролета

Рис. 45. Схемы усиления ферм

А - устройством дополнительной вантовой системы; Б - устройством дополнительной висячей системы; В - включением фонаря в общую работу фермы

Рис. 46. Усиление фермы третьим поясом, прикрепленным

А - к нижнему поясу; Б - к верхнему поясу

Рис. 47. Усиление фермы дополнительной затяжкой:

1 - усиливающая предварительно напряженная затяжка

5.33. При проектировании усиления центрально-растянутых элементов ферм путем приварки к ним дополнительных элементов необходимо соблюдать следующие требования:

центр тяжести элемента после усиления должен совпадать с центром тяжести старого сечения или быть к нему как можно ближе;

концы дополнительных деталей должны быть заведены в узлах до конца старых элементов; при усилении под нагрузкой накладывать сварные швы поперек дополнительного элемента не допускается;

усиление под нагрузкой рекомендуется производить при напряжениях в старом элементе, не превышающих 0,5R, где R - расчетное сопротивление стали;

размер сварных швов, соединяющих дополнительные элементы с усиливаемыми, назначается из расчета передачи максимально возможных усилий в элементах усиления (расчет по площади);

толщина угловых швов за один проход не должна превышать 6 мм. При необходимости наложения толстых швов их следует выполнять в два слоя и более, увеличивая катеты швов в каждом на 2 мм. Во всех случаях сварные швы должны быть сплошными во избежание концентрации напряжений в местах подрезов;

сварные швы следует накладывать с концов элемента, переходя затем к швам средней части;

сборку усиливаемых элементов можно выполнять с помощью прихваток сваркой в местах наименьших напряжений.

Рис. 48. Усиление фермы дополнительными коротышами и косынками

А - постановкой коротышей на заклепках; увеличением размеров в клепаных (Б) и сварных (Г, Д) фермах; В - обваркой существующего заклепочного соединения; 1 - коротыш; 2 - дополнительные косынки; 3 - заклепки усиления; 4 - сварные швы усиления

5.34. Усиление центрально-сжатых элементов ферм для восприятия новых заданных величин усилий может быть произведено одним из способов:

уменьшением расчетной длины и соответствующим увеличением коэффициента j;

прямым увеличением расчетной площади сечения без существенного изменения гибкости элемента;

комбинированным способом, при котором производят одновременное увеличение расчетной площади и жесткости сечения при прежних расчетных данных. Этот способ рекомендуется как более экономичный и технологичный.

5.35. Возможные варианты усиления центрально-растянутых и центрально-сжатых элементов приведены на рис. 49. Как более технологичные рекомендуются усиления с применением круглых стержней.

5.36. Расчет усиления центрально-растянутых элементов производят по формуле (N + DN)/(A + DA) £ gсRу.

5.37. Расчет усиления центрально-сжатых элементов производят по формуле (N + DN)/(A + DA)j £ gсRу.

5.38. Восстановление ферм, связей, имеющих повреждения (частичное обрушение, прогибы узлов, погнутости элементов, трещины, вмятины и пробоины, надрывы и разрывы сечений), следует производить, как правило, после предварительного снятия действующей на них нагрузки.

При прогибах узлов ферм, не превышающих 1/400 пролета, необходимо укрепить связи, проверить надежность закрепления опорных узлов на поддерживающих фермы конструкциях и укрепить элементы кровли. Если прогибы превышают указанную величину, они в отдельных случаях могут быть уменьшены вывешиванием фермы на промежуточных временных опорах, устраиваемых в каждой трети пролета в тех узлах верхнего пояса, в которых сходятся раскосы. Перед этим расчетом следует установить, не перегружены ли отдельные стержни и не работают ли они на усилия обратного знака.

Рис. 49. Усиление сечений центрально-растянутых и центрально-сжатых элементов

5.39. При невозможности вывешивания фермы ее следует демонтировать для ремонта или замены. При этом соседние фермы укрепляют связями. Пояса демонтируемой фермы для предотвращения их выпучивания временно укрепляют деревянными элементами. Разорванные элементы фермы закрепляют, чтобы они не раскачивались при спуске фермы.

5.40. Восстановление погнутых элементов демонтированной фермы рекомендуется производить: правкой; выравниванием и заменой поврежденной части (рис. 50);

усилением дополнительными деталями, накладками, ребрами и т.д. (рис. 51, 52); заменой новыми.

К усилению следует прибегать только в случае невозможности правки и местной вставки.

5.41. В сложных случаях (искривления в обеих плоскостях, закручивание стержня и т.д.) усиление рекомендуется выполнить способом, приведенным на рис. 53. Он может быть применен в случаях, когда величина перекоса не превышает размера вертикальной полки основного элемента.

5.42. Если усиление сжатого элемента пояса перечисленными выше приемами затруднительно, оно может быть выполнено устройством шпренгеля (рис. 53, В).

Рис. 50. Восстановление элементов ферм вырезанием и заменой поврежденной части

А, Б - элементов из парных уголков; В, Г - элементов из одиночного уголка

Рис. 51. Исправление местных погнутостей элементов ферм с помощью дополнительных накладок

А, Б, В - со стороны обушка; Г, Д - со стороны пера

Рис. 52. Восстановление поврежденных элементов ферм с помощью накладки на вырванный участок

А - сверху; Б - снизу

Рис. 53. Усиление искривленных стальных элементов

А - в вертикальной плоскости; Б - в горизонтальной плоскости; В - изогнутых в горизонтальной плоскости; Г - изогнутых в вертикальной плоскости; Д - усиление шпренгелем

5.43. При искривлении элементов ферм на длинных участках и невозможности произвести их правку рекомендуется вырезать изогнутые части и заменять их новыми (рис. 54) с сохранением прежней геометрической схемы и без изменения сечений.

5.44. При искривлении стержней ферм, когда необходимость ремонта определяется устойчивостью, а не прочностью, усиление возможно прикреплением к ним деревянных брусков или бревен болтами или проволокой (рис. 55).

Рис. 54. Пример усиления фермы заменой поврежденных раскосов и участка пояса или выправлением погнутых элементов (жирными линиями показаны новые элементы)

Рис. 55. Усиление погнутого раскоса фермы с помощью брусьев для обеспечения устойчивости сжатого элемента

5.45. При значительном количестве повреждений в решетке фермы рекомендуется устанавливать вторую решетку по всей длине фермы или ее части, способной воспринять усилия, приходящиеся на решетку (рис. 56).

5.46. Повреждения элементов ферм в виде трещин и пробоин перекрываются накладками на сварке, а разорванные элементы восстанавливаются перекрытием разрыва ветвей. Если необходимо заменить поврежденные элементы по всей длине панели фермы, то рекомендуется применять вставки из жестких профилей.

5.47. При сильной деформации узла, разрыве фасонки, разрушении нескольких элементов и других повреждениях, сходящихся в узле, стержни следует отсоединять от фасонки и заменять.

Рис. 56. Примеры восстановления

А - колонны - заменой поврежденных частей; Б - ферм - устройством второй решетки (жирными линиями показаны новые раскосы и фасонки)

5.48. Усиление элементов приваркой круглых стержней рекомендуется применять для нижних поясов ферм и связей (рис. 57).

5.49. При погнутости поясов ферм из плоскости следует устанавливать дополнительные распорки в соответствии с рис. 58.

Стержневые пространственные покрытия

5.50. К возможным видам повреждений стержневых пространственных покрытий относятся:

снос или местное повреждение кровли при сохранении целостности несущих элементов;

разрыв или искривление несущих элементов (стержней) - прогонов поясов, решетки;

обрушение стержневой несущей системы при разрыве поясов, опорных раскосов, повреждении колонн (от удара, перегрузок, пожара и т.д.). При этом большинство стержней, как правило, сильно деформируются (искривляются, скручиваются, разрываются).

5.51. При восстановлении кровли рекомендуется:

в системах с дополнительными, кроме поясов, прогонами применять любой подручный материал плиточного или пластинчатого типа;

в системах из прокатных профилей профилированный настил укладывать по поясам и прикреплять каждую волну электрозаклепками и самонарезающими болтами, либо применять другой кровельный материал;

при условии обеспечения боковой жесткости верхнего пояса и создания необходимого основания для опирания плит (например, приваркой к поясам дополнительных стержней из уголков).

5.52. При местном повреждении стержневой системы необходимо измерять дополнительный прогиб участка покрытия, величина которого после восстановления не должна превышать 0,01l, где l - пролет покрытия.

При устранении местных повреждений рекомендуется следующий порядок действий:

поддомкрачивание блока (ячейки) покрытия и удаление вышедших из строя элементов;

усиление или замена поврежденных элементов и установка их на место (в узловые соединения).

Рис. 57. Усиление поврежденных элементов поясов и связей приваркой круглых стержней (различные случаи приварки круглых стержней)

Рис. 58. Пример усиления ферм покрытия установкой дополнительных распорок по нижним поясам ферм при погнутости их из плоскости

5.53. Правку искривленных стержней (трубчатых, из прокатных профилей) допускается производить в нагретом состоянии.

В изогнутых и скрученных элементах рекомендуется вырезать наиболее деформированные участки и вваривать вставки из того же или несколько большего профиля.

5.54. При отсутствии профилированного настила или при замене его, например асбестоцементными листами, следует производить усиление верхних поясов покрытий из прокатных профилей приваркой накладок из уголков или листового металла.

5.55. При обрушении обширных участков или целых блоков покрытий из трубчатых элементов следует иметь в виду, что их восстановление с сохранением конструктивной схемы возможно лишь в том случае, если имеется в наличии запас узловых соединений, изготавливаемых только заводским способом.

Стойки и колонны

5.56. Усиление стальных сжатых стержней (стоек рам, стержней решетчатых конструкций, опор транспортерных галерей и т.п.) способом увеличения сечений рекомендуется в следующих случаях:

если временная нагрузка составляет не менее 40 % полной и во время усиления может отсутствовать;

если усиление с помощью предварительно напряженных элементов неосуществимо.

Объем сварки при усилении следует предусматривать минимальным.

5.57. Рекомендуемые схемы усиления центрально-сжатых стоек приведены на рис. 49 и 59. При выборе схемы усиления следует стремиться к максимальному увеличению радиусов инерции сечения.

Кроме того, необходимо обеспечивать минимальное смещение центра тяжести усиленного сечения от линии действия сжимающего усилия.

5.58. При усилении внецентренно сжатых и сжато-изогнутых стержней рационально применять несимметричную схему усиления (рис. 59, Г) со смещением центра тяжести сечения в сторону начального эксцентриситета, обеспечивая минимальный эксцентриситет усиленного сечения.

Рис. 59. Усиление колонн

А - Г сварных сплошного сечения; Д, Е, Ж - клепанных; З - сквозных; 1 - старое сечение; 2 - усиливающие элементы

5.59. Присоединение элементов усиления выполняют преимущественно сваркой. С целью уменьшения остаточного прогиба от сварки рекомендуется после сборки элементов на струбцинах осуществить вначале точечную приварку элементов в местах установки струбцин и затем наложить основные, сплошные и прерывистые (шпоночные) швы, начиная с их концевых участков.

5.60. Проверку устойчивости усиленного элемента как в плоскости действия моментов, так и из плоскости производят в соответствии с действующими строительными нормами и правилами.

5.61. Как наиболее рациональное рекомендуется усиление сжатых стоек (колонн) с помощью предварительно напряженных телескопических труб или других жестких профилей, позволяющее:

повысить область упругой работы сжатых элементов;

производить усиление без уменьшения действующих нагрузок;

обеспечивать совместную работу элементов усиления с усиливаемыми стойками.

Элемент усиления состоит из двух телескопически соединенных труб - внутренней (сжатой) и наружной (растянутой). Предварительное напряжение труб осуществляется силовым (с помощью домкратов) и электротермическим способами.

Примеры применения предварительно напряженных телескопических труб приведены на рис. 60 и 61.

Рис. 60. Пример усиления телескопическими трубами подкрановой части сквозной колонны крайнего ряда (1 - телескопические трубы)

Рис. 61. Пример усиления телескопическими трубами колонн двутаврового сечения (1 - телескопические трубы)

5.62. Для усиления колонн рекомендуется также: устройство предварительно напряженных шпренгелей (рис. 62); подведение дополнительных стоек с целью разгрузки колонны

со стороны примыкающего пролета меньшей высоты (рис. 63, А);

устройство предварительно напряженных стяжек, прикрепленных к анкерным фундаментам (рис. 63, Б) и колоннам соседних пролетов (рис. 63, В) с целью ограничения смещения верхних сечений колонн;

устройство по поясам ферм жесткого горизонтального связевого диска (рис. 63, Г) с целью ограничения смещения верхушек колонн передачей на него горизонтальных нагрузок.

Рис. 62. Усиление стоек предварительно напряженными шпренгелями
(1 - предварительно напряженные шпренгели)

Рис. 63. Схемы усиления колонн каркаса изменением статической схемы

А - установкой дополнительных стоек; Б, В - устройством оттяжек; Г - созданием по нижним поясам ферм жесткости связевого диска; 1 - стойка усиления; 2 - оттяжка; 3 - существующие горизонтальные связи по нижним поясам ферм; 4 - горизонтальные связи усиления; 5 - конструкция торцевого фахверка

5.63. Без разгрузки колонны могут быть отремонтированы (усилены) при следующих видах повреждений: погнутостях решетки, ветвей и стенки; разрывах стержней соединительной решетки; пробоинах в стенке, местных повреждениях металла ветвей, расстройстве соединений и др.

Частичная или полная разгрузка восстанавливаемых колонн требуется при разрыве и больших деформациях их основных элементов (ветвей).

5.64. Местные повреждения стоек колонн, выполненных из двутавровых или швеллерных профилей, следует исправлять с помощью тех же методов, что и ремонт балок. При повреждении ветвей восстановительный ремонт подкрановой части решетчатой колонны следует выполнять в соответствии с рис. 56, А.

5.65. Восстановление подкрановых ветвей решетчатых колонн рекомендуется производить бетонированием внутреннего пространства между ветвями в соответствии с рис. 64 и 65, А.

5.66. Увеличение жесткости погнутых ветвей колонн и стоек при временном восстановлении допускается с помощью деревянных элементов усиления в соответствии с рис. 65, В.

Рис. 64. Усиление колонн бетонированием при искривлении ветвей

(1 - бетон)

Рис. 65. Усиление поврежденных стальных колонн

А - заполнением полости колонны бетоном; Б - устройством железобетонной капители; В - прикреплением деревянных брусьев; 1 - бетон; 2 - пробоина; 3 - трещина

Усиление соединений элементов

5.67. Усиление сварных швов под нагрузкой производят путем увеличения их длины или толщины в случаях, если напряжения в существующих швах не превышают их расчетных сопротивлений. При этом прочность сварных соединений после усиления возрастет пропорционально увеличению длины и толщины швов.

Усиление швов наплавкой новых слоев рекомендуется применять при отсутствии места для наложения новых швов.

5.68. Участки швов с дефектами в виде скопления пор и трещин необходимо зачищать или удалять и затем вновь заваривать. При этом допустимые напряжения от действующих нагрузок в момент усиления сварного шва (за вычетом длины исправляемого участка) не должны превышать его расчетного сопротивления.

5.69. Перерывы швов и кратеры (после зачистки до металлического блеска) заваривают. Подрезы глубиной не более 2 мм завершаются топким швом для обеспечения плавного перехода от наплавленного металла к основному. Подрезы глубиной более 2 мм необходимо заваривать, предварительно разделав кромки непровара.

5.70. Усиление угловых швов осуществляют увеличением длины или катета углового шва. Размеры и форму сварных угловых швов принимают в соответствии с действующими строительными нормами и правилами.

Сварка растянутых элементов под нагрузкой швами, расположенными поперек элемента или в поперечном направлении по отношению к действующим усилиям в элементе, не допускается.

Длину и толщину усиливающих швов, а также толщину наплавленного слоя на усиливаемые швы определяют разностью расчетного усилия в сварном соединении от полной нагрузки (после усиления) и расчетной несущей способностью существующего соединения. При определении расчетного усилия, приходящегося на шов в сварном соединении, следует учитывать его смещение относительно центра тяжести сечения элемента.

5.71. Усиление стыковых швов допускается перекрытием накладками.

5.72. При усилении угловых швов рекомендуется соблюдать строительные нормы и правила, а также следующие технологические требования:

номинальные напряжения в усиливаемых швах от нагрузок, действующих в момент усиления, не должны превышать 14,72 кН/см2;

в первую очередь следует усиливать сварные швы в узлах нижнего пояса фермы, в последнюю - в узлах верхнего пояса;

при наплавке дополнительных слоев следует вносить минимальное количество теплоты в детали конструкции, для чего рекомендуется применять электроды диаметром не более 4 мм, сварку производить не сразу для всех элементов, сходящихся в узле, а с перерывами, наплавляя слой толщиной не более 2 мм;

начало плавки усиливающего слоя следует производить в местах дефектов усиливаемого шва (подрезы, наплывы, кратеры и др.);

работы по усилению должен выполнять высококвалифицированный сварщик (5-го разр.).

5.73. Для усиления узловых заклепочных соединений рекомендуется применять высокопрочные болты с предварительным напряжением от середины узла к краям.

5.74. При усилении конструкций с увеличением площади сечения контактные поверхности между старым и новым металлом перед постановкой высокопрочных болтов в пределах креплений должны быть очищены от старой краски, ржавчины, грязи, окалины и т.д.

5.75. Из-за ослабления старых заклепок и болтов в усиливаемых узлах после натяжения новых высокопрочных болтов усиления последние должны быть рассчитаны на восприятие полной величины всех действующих усилий в усиливаемых соединениях.

ПРИЛОЖЕНИЕ 1

Составы полимерцементного раствора и бетона на основе поливинилацетатной эмульсии

Материал

Количество, в частях, на одну часть цемента по

массе

объему

раствор

бетон

раствор

бетон

Цемент М400

1

1

1

1

Песок

0,35 - 1,25

1 - 1,5

0,4 - 1,4

1,25 - 1,7

Щебень крупностью 5 - 10 мм

-

2,5 - 2

-

2,1 - 1,8

Вода

0,3 - 0,35

0,35 - 0,4

0,5 - 0,55

0,6 - 0,7

Поливинилцетатная эмульсия (с 50 %-ным содержанием воды)

0,25 - 0,3

0,25 - 0,3

0,45 - 0,5

0,45 - 0,5

ПРИЛОЖЕНИЕ 2

Паспорт здания, предназначенного к восстановлению

Составлен «    » __________ 19   г.

(наименование объекта)

(Лицевая сторона паспорта)

Эскиз здания

Характеристика разрушения или повреждения

(Обратная сторона паспорта)

№ п. п.

Наименование конструкции

Описание конструкций восстанавливаемого здания

Количественная характеристика

Характеристика разрушения

Примечание

Председатель комиссии
Члены комиссии

ПРИЛОЖЕНИЕ 3

Ведомость дефектов несущих конструкций

(наименование объекта)

Составлен «    » __________ 19    г.

№ п.п.

Наименование конструктивного элемента и его марка

Эскиз

Характеристика повреждения

Прочностные характеристики материала и класс бетона

Примечание

Председатель комиссии

Члены комиссии

ПРИЛОЖЕНИЕ 4

Ведомость дефектов ограждающих конструкций

(наименование объекта)

Составлен «      » __________ 19   г.

№ п. п.

Наименование конструкции

Эскиз

Характеристика повреждения

Теплофизическая характеристика

Примечание

Председатель комиссии

Члены комиссии

СОДЕРЖАНИЕ

1. Общие положения. 1

Исходные данные для проектирования. 1

2. Оценка состояния железобетонных конструкций. 3

Оценка состояния конструкций, подвергшихся воздействию аварии, землетрясению.. 3

Оценка состояния железобетонных конструкций, подвергшихся воздействию пожара. 6

Определение прочностных характеристик бетона. 8

Определение прочностных характеристик арматуры.. 9

Проверка несущей способности конструкций. 10

3. Оценка состояния стальных конструкций. 10

Оценка состояния конструкций, подвергшихся воздействию аварии, землетрясению.. 10

Оценка состояния конструкций, подвергшихся воздействию пожара. 12

Определение прочностных характеристик стали. 13

Расчет прочности конструкций. 14

4. Восстановление и усиление железобетонных конструкций. 14

Выбор методов восстановления и усиления. 14

Плиты покрытий и перекрытий. 18

Балки перекрытий, стропильные, подкрановые. 27

Колонны, консоли, фундаменты.. 37

Фермы.. 44

Стеновые панели. 49

Узловые соединения. 50

5. Восстановление и усиление стальных конструкций. 55

Выбор методов восстановления и усиления. 55

Балки и прогоны.. 57

Фермы и связи. 61

Стержневые пространственные покрытия. 72

Стойки и колонны.. 74

Усиление соединений элементов. 80

Приложение 1 Составы полимерцементного раствора и бетона на основе поливинилацетатной эмульсии. 81

Приложение 2 Паспорт здания, предназначенного к восстановлению.. 81

Приложение 3 Ведомость дефектов несущих конструкций. 82

Приложение 4 Ведомость дефектов ограждающих конструкций. 82

 




Rambler's Top100 Яндекс цитирования
  Copyright © 2008-2026, www.docload.ru