|
|
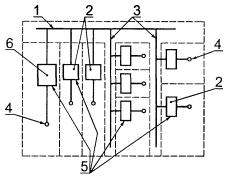
ГОСТ Р 51321.1-2000 (МЭК 60439-1-92) ГОСУДАРСТВЕННЫЙ
СТАНДАРТ РОССИЙСКОЙ ФЕДЕРАЦИИ Устройства комплектные низковольтные Часть 1 УСТРОЙСТВА, ИСПЫТАННЫЕ ПОЛНОСТЬЮ ИЛИ ЧАСТИЧНО Общие требования и методы испытаний ГОССТАНДАРТ РОССИИ Москва Предисловие 1 РАЗРАБОТАН И ВНЕСЕН Техническим
комитетом по стандартизации ТК 331 «Низковольтная коммутационная аппаратура
распределения и управления» 2 ПРИНЯТ И ВВЕДЕН В ДЕЙСТВИЕ
Постановлением Госстандарта России от 21 декабря 2000 г. № 393-ст 3 Настоящий стандарт содержит полный
аутентичный текст международного стандарта МЭК 60439-1(1992) с Изменением № 1
(1995), издание 3.0. «Низковольтные комплектные устройства распределения и
управления. Часть 1. Требования к устройствам, испытанным полностью или
частично» с дополнительными требованиями, учитывающими потребности экономики
страны 4 ВВЕДЕН ВПЕРВЫЕ Введение Настоящий
стандарт полностью соответствует международному стандарту МЭК 60439-1-92,
европейскому стандарту EN 60439-1-94,
который аутентичен стандарту МЭК и на основе которого приняты национальные
стандарты европейских стран, например стандарт Великобритании BS EN 60439-1:1994. В
международный стандарт введены дополнительно требования, гармонизированные с
национальными стандартами России. С целью сохранения нумерации разделов,
подразделов и пунктов МЭК 60439-1-92, дополнительные требования приведены в
приложении Н настоящего
стандарта. В
таблице 3, наряду с установленными
значениями превышения температуры над температурой окружающей среды, приведены
значения допустимой температуры нагрева элементов НКУ при температуре
окружающего воздуха 40 °С для выбора соответствующего класса нагревостойкости
изоляции проводников по ГОСТ
8865-93 и установления предельных норм нагрева органов управления
аппаратов. В
разделе «Нормативные ссылки» приведены межгосударственные и российские
стандарты России, соответствующие стандартам МЭК. В приложении 1 приведены международные стандарты,
которые на дату издания настоящего стандарта еще не приняты в России в качестве
национальных стандартов, на которые ссылаются в настоящем стандарте. Стандарт
является основополагающим нормативным документом для разработки, производства,
испытаний и эксплуатации НКУ различного назначения. Требования настоящего
стандарта должны учитываться в технических условиях на НКУ конкретных типов. Стандарт
заменяет на территории России межгосударственный стандарт ГОСТ 22789-94. СОДЕРЖАНИЕ ГОСТ Р 51321.1-2000 ГОСУДАРСТВЕННЫЙ
СТАНДАРТ РОССИЙСКОЙ ФЕДЕРАЦИИ Устройства
комплектные низковольтные распределения и управления Часть 1 УСТРОЙСТВА,
ИСПЫТАННЫЕ ПОЛНОСТЬЮ ИЛИ ЧАСТИЧНО Общие
технические требования и методы испытаний Low-voltage switchgear and
controlgear assemblies. Part 1. Requirements for type-tested Дата введения
2002-01-01 1 Общие сведения
1.1 Область применения
Настоящий
стандарт распространяется на низковольтные комплектные устройства распределения
и управления (НКУ), полностью испытанные (прошедшие типовые испытания) - (ПИ
НКУ) и частично испытанные (ЧИ НКУ), номинальное напряжение которых не
превышает 1000 В переменного тока частотой не более 1000 Гц или 1500 В
постоянного тока, предназначенные для экспорта. Стандарт
также распространяется на НКУ, содержащие управляющие и/или силовые устройства,
работающие при более высоких частотах. В этом случае действуют соответствующие
дополнительные требования. Настоящий
стандарт распространяется на стационарные и передвижные НКУ в защищенном или
открытом исполнении. Стандарт
распространяется на НКУ управления оборудованием, осуществляющим генерирование,
передачу, распределение и преобразование электрической энергии, а также
управления оборудованием, потребляющим электрическую энергию. Стандарт
также распространяется на НКУ, предназначенные для эксплуатации в особых
условиях, например на судах, железнодорожных подвижных средствах,
металлорежущих станках, грузоподъемном оборудовании или во взрывоопасной
атмосфере и в бытовых условиях (при обслуживании неквалифицированным
персоналом), при условии, что соответствующие специальные требования
выполняются. Примечание - Дополнительные требования к некоторым специальным видам
НКУ приводятся в соответствующих стандартах. Настоящий
стандарт не распространяется на комплектующие элементы, имеющие собственные
оболочки, такие как пускатели, предохранители-выключатели, электронное
оборудование и т.д., требования к которым устанавливаются соответствующими
стандартами. Дополнительные
требования, учитывающие потребности экономики страны, приведены в приложении Н. Все
требования стандарта являются обязательными. Стандарт
пригоден для целей сертификации. 1.2 Назначение
Назначением
настоящего стандарта являются формулирование определений и установление условий
эксплуатации, конструктивных требований, технических характеристик, а также
видов и методов испытаний НКУ. 1.3. Нормативные ссылки
В
настоящем стандарте использованы ссылки на следующие стандарты: ГОСТ 2.601-95
Единая система конструкторской документации. Эксплуатационные документы ГОСТ
15.001-88 Система разработки и постановки продукции на производство.
Продукция производственно-технического назначения ГОСТ
27.003-90 Надежность в технике. Состав и общие правила задания требований
по надежности ГОСТ
27.410-87 Надежность в технике. Методы контроля показателей надежности и планы
контрольных испытаний на надежность ГОСТ
8865-93 Системы электрической изоляции. Оценка нагревостойкости и
классификация ГОСТ
14254-96 (МЭК 529-89)
Степени защиты, обеспечиваемые оболочками (Код IP) ГОСТ
15150-69 Машины, приборы и другие технические изделия. Исполнения для
различных климатических районов. Категории, условия эксплуатации, хранения и
транспортирования в части воздействия климатических факторов внешней среды ГОСТ
15543.1-89 Изделия электротехнические. Общие требования в части стойкости к
климатическим внешним воздействующим факторам ГОСТ
16357-83 Разрядники вентильные переменного тока на номинальные напряжения
от 3,8 до 600 кВ. Общие технические условия ГОСТ
16442-80 Кабели силовые с пластмассовой изоляцией. Технические условия ГОСТ
16504-81 Система государственных испытаний продукции. Испытания и контроль
качества продукции. Основные термины и определения ГОСТ
17516.1-90 Изделия электротехнические. Общие требования в части стойкости к
механическим внешним воздействующим факторам ГОСТ
21991-89 (МЭК 447-74) Оборудование электротехническое. Аппараты электрические.
Направление движения органов управления ГОСТ
23216-78 Изделия электротехнические. Хранение, транспортирование, временная
противокоррозионная защита, упаковка. Общие требования и методы испытаний ГОСТ
27473-87 (МЭК
112-79) Материалы электроизоляционные твердые. Метод определения
сравнительного и контрольного индексов трекингостойкости во влажной среде ГОСТ
27483-87 (МЭК
695-2-1-80) Испытания на пожароопасность. Методы испытаний. Испытания
нагретой проволокой ГОСТ
28779-90 (МЭК 707-81) Материалы электроизоляционные твердые. Методы определения
воспламеняемости под воздействием источника зажигания ГОСТ
29149-91 (МЭК 73-84) Цвета световой сигнализации и кнопок ГОСТ
29322-92 (МЭК 38-83) Стандартные напряжения ГОСТ
30011.4.1-96 (МЭК 947-4-1-90) Низковольтная аппаратура распределения и
управления. Часть 4. Контакторы и пускатели. Раздел 1. Электромеханические
контакторы и пускатели ГОСТ
30042-93* Выключатели для систем бесперебойного питания * В Российской Федерации стандарт не принят. ГОСТ
30331.2-95 (МЭК 364-3-93)
/ ГОСТ Р
50571.2-94 (МЭК 364-3-93)
Электроустановки зданий. Часть 3. Основные характеристики ГОСТ
30331.3-95 (МЭК
364-4-41-92) / ГОСТ
Р 50571.3-94 (МЭК
364-4-41-92) Электроустановки зданий. Часть 4. Требования по обеспечению
безопасности. Защита от поражения электрическим током ГОСТ
Р МЭК 227-3-94 Кабели с поливинилхлоридной изоляцией на номинальное напряжение
до 450/750 В включительно. Кабели без оболочки для неподвижной прокладки ГОСТ
Р МЭК 227-4-94 Кабели с поливинилхлоридной изоляцией на номинальное напряжение
до 450/750 В включительно. Кабели в оболочке для неподвижной прокладки ГОСТ
Р МЭК 245-3-97 Кабели с резиновой изоляцией на номинальное напряжение до
450/750В включительно. Кабели с нагревостойкой кремнийорганической изоляцией ГОСТ
Р МЭК 245-4-97 Кабели с резиновой изоляцией на номинальное напряжение до
450/750 В включительно. Шнуры и гибкие кабели ГОСТ
Р МЭК 536-94 Классификация электротехнического и электронного оборудования по
способу защиты от поражения электрическим током ГОСТ
Р 50030.1-2000 (МЭК 60947-1-98) Аппаратура распределения и управления
низковольтная. Часть 1. Общие требования и методы испытаний ГОСТ
Р 50030.3-99 (МЭК 60947-3-99) Аппаратура распределения и управления
низковольтная. Часть 3. Выключатели, разъединители, выключатели-разъединители и
комбинации с предохранителями ГОСТ Р
50462-92 (МЭК
446-89) Идентификация проводников по цветам или цифровым обозначениям ГОСТ
Р 50571.10-96 (МЭК
364-5-54-80) Электроустановки зданий. Часть 5. Выбор и монтаж
электрооборудования. Глава 54. Заземляющие устройства и защитные проводники ГОСТ
Р 50571.19-2000 (МЭК
364-4-443) Электроустановки зданий. Часть 4. Требования по обеспечению
безопасности. Глава 44. Защита от перенапряжений. Раздел 443. Защита
электроустановок от грозовых и коммутационных перенапряжений 2 Определения
В
настоящем стандарте применяют следующие термины. Примечание - Термины настоящего раздела и их определения приняты
(непосредственно или с изменениями) по МЭС 50 (Международному
электротехническому словарю) или другим стандартам. 2.1 Общие термины и определения
2.1.1 низковольтное
устройство распределения и управления (НКУ): Комбинация низковольтных
коммутационных аппаратов с устройствами управления, измерения, сигнализации,
защиты, регулирования и т.п., полностью смонтированных изготовителем НКУ (под
его ответственность на единой конструктивной основе) со всеми внутренними
электрическими и механическими соединениями с соответствующими конструктивными
элементами (см. 2.4) Примечания 1 В настоящем стандарте сокращение НКУ
используют для обозначения низковольтных комплектных устройств распределения и
управления. 2 Аппараты, входящие в состав НКУ, могут быть
электромеханическими или электронными. 3 По различным причинам,
например по условиям транспортирования или изготовления, некоторые операции
сборки могут быть выполнены на месте установки, вне предприятия-изготовителя. 2.1.1.1
НКУ распределения и управления,
прошедшие типовые испытания (ПИ НКУ):
НКУ, соответствующее без значительных отклонений типичному НКУ,
испытанному согласно настоящему стандарту Примечания 1 В настоящем стандарте сокращение ПИ НКУ
используют для обозначения НКУ, прошедшего все типовые испытания. 2 По различным причинам,
например по условиям транспортирования или изготовления, некоторые операции
сборки могут быть выполнены вне предприятия-изготовителя НКУ. Такие НКУ считают
ПИ НКУ при условии, что сборку осуществляют согласно инструкции изготовителя
таким образом, что обеспечивается полное соответствие НКУ конкретного типа
требованиям настоящего стандарта, с учетом результатов приемосдаточных
испытаний. 2.1.1.2
НКУ распределения и управления,
прошедшее частичные типовые испытания (ЧИ НКУ): НКУ распределения и управления, включающее в себя узлы,
прошедшие типовые испытания, и узлы, не подвергаемые типовым испытаниям, при
условии, что технические характеристики последних являются производными
(полученными, например, расчетом) от технических характеристик подобных узлов,
прошедших типовые испытания (см. таблицу 7). Примечание - В настоящем стандарте сокращение ЧИ НКУ используют для
обозначения частично испытанных НКУ. 2.1.3
вспомогательная цепь (НКУ): Все токоведущие части НКУ,
включенные в цепь, предназначенную для управления, измерения, сигнализации,
регулирования, обработки и передачи данных и т.д. и не являющуюся главной цепью
(МЭС 441-13-03, с изменением). Примечание - Цепи управления и вспомогательные цепи коммутационных
аппаратов относятся к вспомогательным цепям. 2.1.4
шина: Проводник с низким сопротивлением,
к которому можно подсоединить несколько отдельных электрических цепей. Примечание - Термин «шина» не включает в себя геометрическую форму,
габариты или размеры проводника. 2.1.4.1 сборная шина: Шина, к которой могут
быть присоединены одна или несколько распределительных шин и/или блоков ввода
или вывода. 2.1.4.2
распределительная шина: Шина в
пределах одной секции НКУ, соединенная со сборной шиной и питающая устройство
вывода. 2.1.5
функциональный блок: Часть НКУ,
содержащая электрические и механические элементы и обеспечивающая выполнение
одной функции. 2.1.6
блок ввода: Функциональный блок,
через который подают электрическую энергию в НКУ. 2.1.7
блок вывода: Функциональный блок,
через который обеспечивается питание одной или нескольких выходных цепей. 2.1.8
функциональная группа: Группа,
состоящая из нескольких функциональных блоков, электрически взаимосвязанных
между собой для выполнения заданных функций. 2.1.9 состояние
испытания: Состояние НКУ или его части, при котором главные цепи разомкнуты,
но не обязательно отсоединены, а вспомогательные цепи соединены для обеспечения
возможности испытания встроенных устройств. 2.1.10
отключенное состояние: Состояние НКУ
или его части, при котором соответствующая главная цепь и действующие совместно
вспомогательные цепи разомкнуты (изолированы). 2.1.11
включенное состояние: Состояние НКУ
или его части, при котором соответствующая главная цепь и действующие совместно
вспомогательные цепи соединены (замкнуты) для их нормального функционирования. 2.2 Термины и определения, относящиеся к конструкции НКУ
2.2.1
секция (см. рисунок С.4): Часть НКУ между двумя
последовательными вертикальными перегородками. 2.2.2
подсекция: Часть НКУ между двумя
последовательными горизонтальными перегородками внутри одной секции. 2.2.3
отсек: Секция или подсекция
защищенные, за исключением отверстий, необходимых для соединений, контроля или
вентиляции. 2.2.4
секция или подсекция огражденные: Секция
или подсекция, снабженные ограждениями, предназначенными для защиты от прямого
контакта с установленным рядом оборудованием при выполнении различных операций
с элементами, установленными в секции или подсекции. 2.2.5
транспортная секция: Часть НКУ или
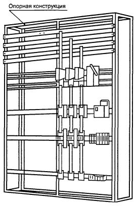
НКУ в целом, пригодные для перевозки без разборки. 2.2.6 стационарная часть (см.
рисунок С.9): Часть, состоящая из комплектующих элементов, собранных и
электрически соединенных на общем основании, предназначенная для неподвижной
установки (см. 7.6.3). 2.2.7
съемная часть: Часть, которая может
быть отделена от НКУ и возвращена на место, даже когда электрическая цепь, к
которой она присоединяется, может находиться под напряжением. 2.2.8
выдвижная часть (см. рисунок С.10): Съемная часть, которая может
быть перемещена из присоединенного положения либо в отсоединенное положение,
либо в испытательное положение, оставаясь механически соединенной с НКУ. Примечание - Разомкнутое состояние главных цепей может достигаться с
помощью специального устройства без механического перемещения выдвижной части. 2.2.11 отсоединенное
(изолированное) положение: Положение выдвижной части, при котором в ее
главных и вспомогательных цепях достигается изоляционный промежуток (см. 7.1.2.2), при этом
выдвижная часть остается механически присоединенной к НКУ. Примечание - Изоляционный промежуток может достигаться с помощью
специального устройства без механического перемещения выдвижной части. 2.2.13
Электрические соединения функциональных
блоков 2.3
Термины и определения, относящиеся к конструктивным исполнениям НКУ
2.3.1
НКУ открытое (см. рисунок С.1): НКУ, на несущей конструкции
которого установлена электрическая аппаратура, при этом части электрической
аппаратуры, находящиеся под напряжением, остаются доступными прикосновению. 2.3.2
НКУ, защищенное с передней стороны (см.
рисунок С.2): НКУ открытое,
имеющее с передней стороны степень защиты не менее IP2X. Доступ к частям, находящимся
под напряжением, возможен с других сторон. 2.3.3
НКУ защищенное: НКУ закрытое со всех
сторон (за возможным исключением монтажной поверхности), в котором после
установки обеспечивается степень защиты не менее IP2X. 2.3.3.1
НКУ шкафное (см. рисунок С.3): Защищенное НКУ, предназначенное
в основном для установки на полу, которое может состоять из нескольких секций,
подсекций или отсеков. 2.3.3.2
НКУ многошкафное (см. рисунок С.4): НКУ, состоящее из нескольких
механически соединенных шкафов. 2.3.3.3
НКУ пультовое (см. рисунок С.5): Защищенное НКУ с горизонтальной
или наклонной панелью управления или как с той, так и другой панелью, на
которых размещены аппараты управления, измерения, сигнализации и т.д. 2.3.3.4 НКУ ящичное (см.
рисунок С.6): Защищенное НКУ, предназначенное в основном для установки
на вертикальной плоскости. 2.3.3.5
НКУ многоящичное (см. рисунок С.6): НКУ, состоящее из нескольких
механически соединенных ящиков, установленных на общей несущей раме или без
нее, при этом электрические соединения между двумя соседними ящиками
обеспечиваются через отверстия в смежных стенках. 2.3.4
система сборных шин (шинопровод) (см.
рисунок С.7): Устройство,
представляющее собой систему проводников, состоящее из шин, установленных на
опорах из изоляционного материала и в каналах, коробах или подобных оболочках,
и прошедшее типовые испытания (МЭС 441-12-07, с изменением). Устройство
может состоять из следующих элементов: -
прямые секции с узлами ответвления или без них; -
секции для изменения положения фаз, разветвления, поворота, а также вводные и
переходные; -
секции ответвленные. Примечание - Термин «шинопровод» не определяет геометрическую форму,
габариты и размеры проводников. 2.4
Термины и определения, относящиеся к конструктивным элементам НКУ
2.4.1
несущая конструкция (см. рисунок С.1): Конструкция, являющаяся частью
НКУ, предназначенная для установки на ней комплектующих элементов НКУ и
оболочки, в случае ее наличия. 2.4.2
монтажная конструкция (см. рисунок С.8): Конструкция, используемая в
качестве опоры для установки на ней защищенных НКУ и не являющаяся частью НКУ. 2.4.3
монтажная панель* (см. рисунок С.9): Панель, служащая для размещения
комплектующих элементов и предназначенная для установки в НКУ. 2.4.4
монтажная рама* (см. рисунок С.9): Рама, служащая для размещения
комплектующих элементов и предназначенная для установки в НКУ. * Если эти конструктивные элементы содержат аппаратуру, то
они могут рассматриваться как отдельные самостоятельные НКУ. 2.4.5
оболочка: Часть НКУ, обеспечивающая
степень защиты оборудования от внешних воздействий, а также от прямого доступа
со всех сторон не менее IP2X. 2.4.6
элемент оболочки: Часть внешней
оболочки НКУ. 2.4.7
дверь: Поворачиваемый или сдвигаемый элемент оболочки. 2.4.8
съемный элемент оболочки: Элемент
оболочки, предназначенный для закрывания проема во внешней оболочке, который
может быть снят для выполнения определенных операций и обслуживания. 2.4.9
заглушка: Часть НКУ, обычно ящичного
типа (см. 2.3.3.4), которую
используют для закрывания проема во внешней оболочке, прикрепляемая винтами или
другими средствами. После ввода оборудования в эксплуатацию заглушку обычно не
снимают. Примечание - Заглушка может быть снабжена кабельными вводами. 2.4.10
перегородка: Элемент, отделяющий секцию, подсекцию друг от друга. 2.4.11 ограждение: Элемент,
обеспечивающий защиту от прямого контакта в любом обычном направлении (минимум IP2X) и от
электрической дуги, возникающей при срабатывании коммутационных аппаратов и
других подобных устройств. Примечание - Ограждение, на которое выведены органы управления,
называется ограждением с оперативной поверхностью или оперативной поверхностью. 2.4.12
препятствие: Элемент,
предотвращающий случайные контакты с частями, находящимися под напряжением, но
не препятствующий обслуживанию. 2.4.13
заслонка: Элемент, который может
перемещаться из положения, позволяющего осуществлять соединение контактов
съемных или выдвижных частей с неподвижными контактами, в положение, при
котором он становится частью элемента оболочки или перегородки, ограждающей
неподвижные контакты. 2.4.14
кабельный ввод: Элемент конструкции,
снабженный отверстиями, обеспечивающими ввод кабелей в НКУ. Примечание - Кабельный ввод может одновременно служить для заделки
конца кабеля. 2.4.15
Резервное пространство 2.4.15.1
свободное пространство: Незанятое
(пустое) пространство секции. 2.4.15.2
необорудованное пространство: Часть
секции, включающая только шины. 2.4.15.3
частично оборудованное пространство: Часть
секции, полностью оборудованная, за исключением функциональных блоков.
Количество функциональных блоков, которые могут быть установлены (размещены),
определяется числом модулей и размерами. 2.4.15.4
полностью оборудованное пространство: Часть
секции, полностью оборудованная функциональными блоками, не предназначенными
для определенного (конкретного) использования. 2.5 Термины и определения, относящиеся к условиям установки НКУ
2.5.1 НКУ внутренней
установки: НКУ, предназначенное для эксплуатации внутри помещений согласно
требованиям 6.1. 2.5.2 НКУ наружной
установки: НКУ, предназначенное для эксплуатации вне помещений согласно
требованиям 6.1. 2.5.4 НКУ передвижное: НКУ,
которое может быть перемещено в процессе эксплуатации. 2.6 Термины и определения, касающиеся защитных мер от поражения
электрическим током
2.6.1 токоведущая
часть: Любой проводник или проводящая часть, которые при нормальной
эксплуатации находятся под напряжением, включая и нулевой проводник, но не PEN-проводник (МЭС 826-03-01). Примечание - Этот термин необязательно предполагает опасность
поражения электрическим током. 2.6.2 открытая
проводящая часть: Токопроводящая часть электрического оборудования,
доступная прикосновению, которая обычно не находится, но может оказаться под
напряжением в случае повреждения (МЭС 826-03-02, с изменением). 2.6.3
нулевой защитный проводник (РЕ): Проводник,
необходимость которого определена мерами защиты от поражения электрическим током,
для электрического соединения со следующими частями: -
открытыми проводящими частями; -
сторонними проводящими частями; -
главным заземляющим зажимом; -
заземлителем; -
заземленной точкой источника питания или искусственной нейтралью (МЭС
826-04-05). 2.6.4
нулевой рабочий проводник (N): Проводник, соединенный с нейтральной точкой сети, и который
может быть использован для передачи электрической энергии (МЭС 826-01-03). 2.6.5
PEN-проводник: Заземленный
проводник, совмещающий выполнение функции нулевого защитного и нулевого
рабочего проводников (МЭС 826-04-06, с изменением). 2.6.6
ток повреждения: Ток, возникающий в
результате пробоя или перекрытия изоляции. 2.6.7
ток замыкания на землю: Ток
повреждения, проходящий в землю через место замыкания. 2.6.8
защита от прямого прикосновения к
токоведущим частям: Предотвращение опасного контакта персонала с
токоведущими частями. 2.7 Проходы внутри НКУ
2.8 Термины и определения, относящиеся к воздействиям на
электронное оборудование
2.8.1
экранирование: Защита проводников
или оборудования от влияния, вызванного, в частности, электромагнитным
излучением от других проводников или оборудования. 2.9 Координация изоляции
2.9.1
воздушный зазор: Кратчайшее
расстояние между двумя токоведущими и/или токоведущей и открытой проводящей
частью (2.5.46 ГОСТ Р 50030.1, с изменением). 2.9.2
изолирующий промежуток (в полюсе
контактного коммутационного аппарата): Воздушный зазор между разомкнутыми
контактами, отвечающий требованиям безопасности, предъявляемым к разъединителям
(2.5.50 ГОСТ Р 50030.1). 2.9.3
длина пути утечки: Кратчайшее
расстояние по поверхности изоляционного материала между двумя токоведущими
и/или токоведущей и открытой проводящей частью (2.5.51 ГОСТ Р 50030.1). Примечание - Стык между двумя элементами из изоляционного материала
считают частью поверхности. 2.9.4
эксплуатационное напряжение: Наибольшее
действующее значение напряжения переменного тока или напряжения постоянного
тока, которое может возникать (локально) на любой изоляции при номинальном
напряжении питания без учета переходных явлений в условиях разомкнутой цепи или
в нормальных рабочих условиях (2.5.52 ГОСТ Р 50030.1). 2.9.5
временное перенапряжение: перенапряжение
между фазой и землей, фазой и нейтралью или между фазами в данном месте и
сравнительно большой длительности (в течение нескольких секунд) (2.5.53 ГОСТ Р
50030.1). 2.9.6
Переходные перенапряжения 2.9.6.1
коммутационное перенапряжение: Переходное
перенапряжение на данном участке системы, обусловленное конкретной
коммутационной операцией или повреждением (2.5.54.1 ГОСТ Р 50030.1, с
изменением). 2.9.6.2
грозовое перенапряжение: Переходное
перенапряжение на данном участке системы, обусловленное грозовым разрядом
(2.5.54.2 ГОСТ Р 50030.1, с изменением). 2.9.7
импульсное выдерживаемое напряжение: Наибольшее
пиковое значение импульсного напряжения предписанной формы и полярности, не
вызывающее пробоя изоляции в указанных условиях испытания (2.5.55 ГОСТ Р
50030.1, с изменением). 2.9.8
выдерживаемое напряжение промышленной
частоты: Действующее значение синусоидального напряжения промышленной
частоты, не вызывающее пробоя в указанных условиях испытания (2.5.56 ГОСТ Р
50030.1). 2.9.9
загрязнение: Любое присутствие
инородных веществ: твердых, жидких или газообразных (ионизированных газов),
которое может снижать электрическую прочность изоляции или поверхностное
удельное сопротивление (2.5.57 ГОСТ Р 50030.1, с изменением). 2.9.10 степень
загрязнения (условия окружающей среды): Условное число, основанное на
количестве проводящей или гигроскопической пыли, ионизированных газов или
солей, а также на относительной влажности и частоте появления ее значений,
обусловливающих гигроскопическую адсорбцию или конденсацию влаги, ведущую к
снижению электрической прочности изоляции и/или поверхностного удельного
сопротивления (2.5.58 ГОСТ Р 50030.1, с изменением). Примечания 1 Степень загрязнения изоляционных материалов
аппаратов и компонентов может отличаться от степени загрязнения макросреды, в
которой расположены аппараты и компоненты, вследствие защиты, обеспечиваемой
оболочкой или внутреннего обогрева для предотвращения адсорбции или конденсации
влаги. 2 В настоящем стандарте
рассматривают степень загрязнения микросреды. 2.9.11
микросреды (воздушного зазора или
расстояния утечки): Условия окружающей среды, в которых находятся воздушные
зазоры и пути утечки, - на рассмотрении. Примечание - Эффективность изоляции определяет микросреда пути утечки
или воздушного зазора, а не макросреда, окружающая НКУ или его компоненты.
Микросреда может быть лучше или хуже, чем окружающая среда НКУ или его
компонентов. Микросреда включает в себя все факторы влияющие на изоляцию, такие
как климатические или электромагнитные условия, образование загрязнения и т.п.
(2.5.59 ГОСТ Р 50030.1, с изменением). Примечание - В электрической системе переход от одной категории
перенапряжения к другой, более низкой, достигается средствами, удовлетворяющими
граничным требованиям переходных процессов, например с помощью устройств защиты
от перенапряжения или последовательно-параллельного включения в цепь полного
сопротивления), способных рассеять, поглотить или отвести энергию появляющегося
импульсного тока с целью снижения перенапряжения переходного процесса до
значения желательной меньшей категории перенапряжения (2.5.60 ГОСТ Р 50030.1, с
изменением). 2.9.13
разрядник: Устройство,
предназначенное для защиты электрической аппаратуры от больших переходных
перенапряжений и ограничения длительности, а часто и амплитуды последующего
тока (2.2.22 ГОСТ Р 50030.1, с изменением). 2.9.14
координация изоляции: Корреляция
изоляционных свойств электрического оборудования с ожидаемыми перенапряжениями
и характеристиками устройств для защиты от перенапряжений, с одной стороны, и с
предполагаемой микросредой и способами защиты от загрязнения - с другой (2.5.61
ГОСТ Р 50030.1). 2.9.15 однородное
поле: Электрическое поле с практически постоянным градиентом напряжения между
электродами, не менее двух, радиус каждой из которых больше расстояния между
ними (2.5.62 ГОСТ Р 50030.1). 2.9.16 неоднородное
поле: Электрическое поле, которое не имеет практически постоянного
градиента между электродами (2.5.63 ГОСТ Р 50030.1). 2.9.17
трекинг: Последовательное
образование токопроводящих путей на поверхности твердого изоляционного
материала под совместным воздействием электрического напряжения и
электролитического загрязнения этой поверхности (2.5.64 ГОСТ Р 50030.1, с
изменением). 2.9.18 показатель
относительной трекингостойкости (CTI): Числовое значение максимального напряжения в вольтах, при
котором материал выдерживает воздействие 50 капель испытательного раствора без
образования путей утечки. Примечание - Значения каждого испытательного напряжения и CTI должны быть кратны 25 (2.5.65 ГОСТ Р 50030.1). 2.10 Токи короткого замыкания
2.10.1
ток короткого замыкания (Iс)
(в цепи НКУ): Сверхток, появляющийся в результате короткого замыкания,
вследствие повреждения или неправильного соединения в электрической цепи (2.1.6
ГОСТ Р 50030.1). 2.10.2
ожидаемый ток короткого замыкания (Iср)
(в цепи НКУ): Сверхток, появляющийся в цепи, когда питающие проводники этой цепи
замкнуты проводником с пренебрежимо малым сопротивлением, расположенным как
можно ближе к питающим (вводным) зажима НКУ. 2.10.3
ток отсечки; сквозный ток короткого
замыкания: Максимальное мгновенное значение тока, в момент отключения
коммутационного аппарата или плавкого предохранителя (МЭС 441-17-12). Примечание - Это понятие имеет особое значение в случаях, когда
коммутационный аппарат или плавкий предохранитель срабатывает так, что
ожидаемый пиковый ток в цепи не достигается. 3 Классификация
НКУ
классифицируют по следующим признакам: -
виду конструкции (2.3); -
месту установки (2.5.1 и 2.5.2); -
возможности перемещения (2.5.3 и 2.5.4); -
степени защиты (7.2.1); -
виду экранирования; -
способу установки составных частей НКУ, например стационарные или съемные части
(7.6.3 и 7.6.4); -
мерам защиты обслуживающего персонала (7.4); -
виду внутреннего разделения (7.7); -
типам электрических соединений функциональных блоков (7.11). 4 Электрические характеристики
4.1 Номинальные напряжения
НКУ
характеризуют следующими номинальными напряжениями его различных цепей. 4.1.1 Номинальное рабочее
напряжение (цепи НКУ) Номинальное
рабочее напряжение (Uе) цепи НКУ есть
значение напряжения, которое в сочетании с номинальным током этой цепи
определяет ее название. Для
многофазных цепей оно является напряжением между фазами. Примечание - Стандартные значения номинальных напряжений цепей
управления устанавливаются стандартами на встраиваемые комплектующие элементы. Изготовитель
НКУ должен устанавливать пределы напряжения, необходимые для нормального
функционирования главной и вспомогательных цепей. В любом случае, в условиях
номинальной нагрузки встроенных элементов, напряжение цепей управления на их
зажимах должно находиться в пределах, указанных в соответствующих стандартах. 4.1.2 Номинальное напряжение
изоляции (цепи НКУ) Номинальное
напряжение изоляции (Ui) цепи НКУ есть значение напряжения,
которое характеризует конструкцию НКУ и в соответствии с которым проводят
испытания диэлектрических свойств, проверяют зазоры и длины путей утечки. Максимальное
номинальное рабочее напряжение любой цепи НКУ не должно превышать его
номинального напряжения изоляции. Предполагается, что рабочее напряжение любой
цепи НКУ не должно даже временно превышать 110 % номинального напряжения
изоляции этой цепи. Примечание - Для однофазных цепей с изолированной нейтралью и
заземленными открытыми проводящими частями (IT) (см. ГОСТ 30331.2 / ГОСТ Р
50571.2), напряжение изоляции должно быть по меньшей мере равно напряжению
между фазами источника питания. 4.1.3 Номинальное импульсное
выдерживаемое напряжение (Uimp) (цепи НКУ) Пиковое
значение импульсного напряжения предписанной формы и полярности, которое цепь
НКУ в состоянии выдержать без повреждения в указанных условиях испытаний и в
соответствии которым устанавливаются величины зазоров. Номинальное
импульсное выдерживаемое напряжение цепи НКУ должно быть равно или выше, чем
установленные значения перенапряжений переходных процессов, появляющихся в
системе, к которой НКУ присоединено. Примечание - Предпочтительные значения номинального импульсного
выдерживаемого напряжения приведены в таблице 13. 4.2 Номинальный ток
(цепи НКУ)
Номинальный
ток цепи НКУ - ток, установленный изготовителем с учетом значений номинальных
токов комплектующих элементов НКУ, их расположения и назначения. При проведении
испытаний в соответствии с 8.2.1
действие тока не должно приводить к повышению температуры частей НКУ выше
предельных значений, установленных в 7.3
(таблица 3). Примечание - Так как значения токов определяются множеством факторов,
стандартизировать их значения не представляется возможным. 4.3
Номинальный кратковременно выдерживаемый ток (Icw) (цепи НКУ)
Номинальным
кратковременно выдерживаемым током цепи НКУ является действующее значение
кратковременного тока, установленное для этой цепи изготовителем, который
данная цепь может выдерживать без повреждений при условии проведения испытаний
в соответствии с 8.2.3. Если
другое не установлено, то это время принимают равным 1 с (МЭС 441-17-17, с
изменением). Для
цепи переменного тока значение тока есть его действующее значение, при этом
предполагают, что наибольшее значение пика тока, которое может появиться не
превысит в п раз действующее значение.
Значения п приведены в 7.5.3. Примечания 1 Если время меньше 1 с, то должны быть
установлены как значение кратковременно выдерживаемого тока, так и время его
действия, например 20 кА; 0,2 с. 2 Номинальный кратковременно
выдерживаемый ток может быть либо ожидаемым током, если испытания проводят при
номинальном рабочем напряжении, либо фактическим током, если испытания проводят
при более низком напряжении. Такое установление номинального значения идентично
определению номинального ожидаемого кратковременного тока, приведенному во
втором издании МЭК 60439-1, если испытания проводят при максимальном рабочем
напряжении. 4.4
Номинальный ударный ток (Ipk) (цепи НКУ)
Номинальным
ударным током цепи НКУ является установленное изготовителем значение ударного
тока, которое данная цепь может выдержать при условиях проведения испытаний в
соответствии с 8.2.3 (см. также 7.5.3) (МЭС 441-17-18, с изменением). 4.5
Номинальный условный ток короткого замыкания (Iсс) (цепи НКУ)
Номинальным
условным током короткого замыкания цепи НКУ является значение ожидаемого тока
короткого замыкания, установленное изготовителем, которое данная цепь,
предохраненная аппаратом защиты от короткого замыкания, указанным
изготовителем, может успешно выдержать в течение времени срабатывания аппарата
при условиях проведения испытаний в соответствии с 8.2.3 (см. также 7.5.2). Параметры
аппарата защиты от короткого замыкания должны быть указаны изготовителем. Примечания 1 Для цепи переменного тока номинальный
условный ток короткого замыкания выражается действующим значением. 2 Аппарат защиты от тока
короткого замыкания может быть как частью НКУ, так и отдельным блоком. 4.6
Номинальный ток короткого замыкания, вызывающий плавление предохранителя (в
цепи НКУ)
Номинальным
током короткого замыкания, вызывающим плавление предохранителя, является
номинальный условный ток короткого замыкания цепи НКУ, в которой в качестве
токоограничивающего аппарата установлен плавкий предохранитель. 4.7
Номинальный коэффициент одновременности
Номинальный
коэффициент одновременности НКУ или его части, имеющей несколько главных цепей
(например, в секции или подсекции), является отношение наибольшей суммы всех
одновременно действующих токов главных цепей, взятых в любой момент времени, к
сумме номинальных токов всех главных цепей НКУ или отдельной его части. Если
изготовителем установлен номинальный коэффициент одновременности, он должен
быть учтен при проведении испытаний на превышение температуры в соответствии с 8.2.1. Примечание - При отсутствии данных о действительных токах могут быть
использованы рекомендуемые значения, приведенные в таблице 1. Таблица 1
4.8 Номинальная частота
Номинальной
частотой НКУ является значение частоты, на которое НКУ рассчитано и которое
соответствует условиям его работы. Если
цепи НКУ рассчитаны на несколько различных частот, то должны быть указаны
номинальные частоты каждой цепи. Примечание - Значение частоты должно находиться в пределах,
установленных в соответствующих стандартах на встроенные в НКУ комплектующие
элементы. Если изготовителем НКУ не установлено иное, предельными значениями
частоты считают 98 и 102 % номинальных значений. 5 Сведения,
представляемые об НКУ
Изготовитель
должен представлять указанную ниже информацию; данные, которые не могут быть
приведены на паспортных табличках, должны быть представлены любым другим
способом. 5.1
Паспортная табличка
Каждое
НКУ должно иметь одну или более табличек со стойкой маркировкой, которое
размешают так, чтобы они хорошо были видны и удобочитаемы после установки НКУ. Данные,
указанные в подпунктах а) и b), должны быть
приведены на паспортной табличке. Данные,
указанные в подпунктах с) - q), относящиеся к
конкретному НКУ, могут быть приведены либо на паспортной табличке, либо в
технической документации изготовителя. a)
Наименование изготовителя или товарный знак. Примечание - Организация, осуществляющая окончательную сборку НКУ,
рассматривается как изготовитель НКУ (см. Примечание
2 к п. 2.1.1). b)
Обозначение типа, условного номера или другого знака, позволяющих получить
необходимую информацию изготовителя. c) Обозначение настоящего стандарта. d) Род тока (для переменного тока и
частота). e) Номинальное рабочее напряжение по 4.1.1. f) Номинальное напряжение изоляции по 4.1.2 или номинальное импульсное
выдерживаемое напряжение, если указывается изготовителем по 4.1.3. g) Номинальное напряжение вспомогательных
цепей, если таковые имеются. h) Предельные отклонения параметров по разделу
4. i) Номинальный ток каждой цепи, если
таковые приводят, по 4.2. к)
Прочность при коротких замыканиях по 7.5.2. l) Степень защиты по 7.2.1. m) Меры, применяемые для защиты
обслуживающего персонала по 7.4. n) Условия эксплуатации при внутренней
или наружной установке, если они отличаются от указанных в 6.1, а также степень загрязнения, если указывается
изготовителем, по 6.1.2.3; о)
Вид системы заземления, которая была принята при проектировании НКУ. р)
Размеры (см. рисунки С.3 и С.4), приводимые в следующей
последовательности: высота, ширина (или длина), глубина (для ЧИ НКУ эти размеры
не приводят). q) Масса (для ЧИ НКУ не приводят). г)
Вид внутреннего разделения по 7.7. s) Типы электрических соединений
функциональных блоков по 7.11. 5.2
Маркировка
Внутри
НКУ должна быть обеспечена различимость отдельных цепей и их защитных
устройств. Маркировка установленной в НКУ аппаратуры должна совпадать с
обозначениями, приводимыми на схемах соединений, которые должны прилагаться к
НКУ. 5.3 Инструкция по монтажу, эксплуатации и техническому
обслуживанию
Изготовитель
должен указывать в эксплуатационной документации по ГОСТ 2.601, а также в каталогах
условия монтажа, эксплуатации и технического обслуживания НКУ и установленных в
нем комплектующих элементов. В
необходимых случаях в инструкциях по транспортированию, монтажу и эксплуатации
НКУ следует указывать меры, имеющие особо важное значение для правильной
установки, ввода в действие и эксплуатации НКУ. При
необходимости, в упомянутых выше документах следует указывать рекомендации по
объему, частоте и виду профилактических работ. Если
устройство установленного в НКУ аппарата не дает представления о его
электрической схеме, то на такой аппарат должна быть представлена
дополнительная информация, например схема или таблица соединений. 6 Условия
эксплуатации
6.1
Нормальные условия эксплуатации
НКУ,
соответствующие требованиям настоящего стандарта, должны эксплуатироваться в
указанных ниже условиях. Примечание - Если применены комплектующие элементы, например реле,
электронное оборудование, которые не предназначены для эксплуатации в этих
условиях, то должны быть приняты меры, обеспечивающие их надежную работу (см. 7.6.2.4). 6.1.1
Температура окружающего воздуха 6.1.1.1
Температура окружающего воздуха при
внутренней установке Температура
окружающего воздуха должна быть не более 40 °С, а средняя температура за 24 ч -
не более 35 °С. Нижний
предел температуры окружающего воздуха - минус 5 °С. 6.1.1.2 Температура
окружающего воздуха при наружной установке Температура
окружающего воздуха должна быть не более 40 °С, а средняя температура за 24 ч -
не более 35 °С. Нижний
предел температуры окружающего воздуха: -
минус 25 °С - для умеренного климата, -
минус 50 °С - для арктического климата. Примечание - Эксплуатация НКУ в условиях арктического климата может
быть оговорена специальным соглашением между изготовителем и потребителем. 6.1.2
Атмосферные условия 6.1.2.1
Атмосферные условия при установке внутри
помещений Воздух
должен быть чистым, относительная влажность его не должна превышать 50 % при
максимальной температуре 40 °С. При более низких температурах допускается более
высокая влажность, например 90 % при 20 °С. Следует учитывать возможность
образования конденсата при изменении температуры. 6.1.2.2
Атмосферные условия при наружной
установке Относительная
влажность может достигать 100 % при максимальной температуре 25 °С. Степень
загрязнения (2.9.10) относится к условиям окружающей среды,
для работы в которой устройство предназначено. Для
коммутационных аппаратов и комплектующих размещенных внутри оболочки принимают
степень загрязнения среды в оболочке. Для
выбора значений воздушных зазоров и длин путей утечки устанавливают следующие
степени загрязнения микросреды. Значения воздушных зазоров и длин путей утечки
в зависимости от степени загрязнения приведены в таблицах 14 и 16. Степень загрязнения
1 Загрязнение
отсутствует или имеется только сухое, непроводящее загрязнение. Степень загрязнения
2 Обычно,
имеется только непроводящее загрязнение. Однако в ряде случаев можно ожидать
появление временной проводимости, вызванной конденсацией. Степень загрязнения
3 Имеется
проводящее загрязнение или сухое непроводящее загрязнение, которое становится
проводящим из-за конденсации. Степень загрязнения
4 Загрязнение,
имеющее устойчивую проводимость, вызванное, например, проводящей пылью, дождем
или снегом. Стандартная степень
загрязнения, принимаемая для промышленности Если
не установлено иное, НКУ для промышленного применения обычно предназначены для
эксплуатации при степени загрязнения окружающей среды 3. Однако может быть
принята другая степень загрязнения окружающей среды, в зависимости от
особенностей эксплуатации или микросреды. Примечание - На степень загрязнения микросреды, в которой находится
аппаратура НКУ, можно воздействовать установкой ее в оболочку. Высота
над уровнем моря мест установки не должна превышать 2000 м. Примечание - В случае использования электронных устройств на высоте
над уровнем моря свыше 1000 м, необходимо учитывать снижение диэлектрической
прочности изоляции и охлаждающего действия воздуха. Предназначенные для работы
в этих условиях электронные устройства проектируют и эксплуатируют в
соответствии с соглашением между изготовителем и потребителем. 6.2
Особые условия эксплуатации
При
эксплуатации НКУ в особых ниже перечисленных условиях эти условия должны быть
оговорены специальным соглашением между изготовителем и потребителем.
Потребитель должен информировать изготовителя о наличии особых условий
эксплуатации. Примеры
особых условий эксплуатации 6.2.1
Значения температуры, относительной влажности и/или высоты над уровнем моря,
отличающиеся от указанных в 6.1. 6.2.2
Места установки, в которых изменения температуры и/или давления воздуха
происходят с такой скоростью, что внутри НКУ образуется значительная
конденсация. 6.2.3
Сильное загрязнение воздуха пылью, наличие дыма, коррозийных или радиоактивных
частиц, испарений или соли. 6.2.4
Воздействие сильных электрических или магнитных полей. 6.2.5
Воздействие чрезмерно высоких температур, вызываемых, например, солнечным
излучением или от источников с большим тепловым излучением. 6.2.6
Образование плесени или нападение мелких живых существ. 6.2.7
Установка в пожаро- или взрывоопасных помещениях. 6.2.8
Воздействие сильной вибрации или ударов. 6.2.9
Встраивание в машины или в нишу в стене, при условии снижения допустимых
токовых нагрузок или отключающей способности аппаратов. 6.3 Условия транспортирования, хранения и установки
6.3.1 Если условия транспортирования, хранения и монтажа, например
температура и влажность, отличаются от условий, указанных в 6.1, то между
изготовителем и потребителем должно быть принято специальное соглашение. Если
другое не установлено, то нормированная температура при транспортировании и
хранении должна быть от минус 25 до плюс 55 °С, а на короткий период, не
превышающий 24 ч, - не выше плюс 70 °С. Оборудование,
которое в неработающем состоянии было подвержено действию экстремальных
температур, не должно иметь неисправимых повреждений и должно нормально
работать в установленных условиях эксплуатации. 7 Конструктивное
исполнение
7.1 Механическая часть конструкции
НКУ
должны изготавливаться только из материалов, способных выдерживать
механические, электрические и тепловые нагрузки, а также воздействие влажности,
которое обычно имеют место при нормальных условиях эксплуатации. Защита
от коррозии должна обеспечиваться применением соответствующих материалов или
нанесением на незащищенную поверхность защитных покрытий. При этом должны
учитываться условия эксплуатации и технического обслуживания. Оболочки
или ее части, включая запорные устройства и съемные части и т.д. должны иметь
достаточную механическую прочность и выдерживать нагрузки, которым они могут
подвергаться в нормальных условиях эксплуатации. Аппаратура
и проводники должны располагаться в НКУ так, чтобы облегчалось их техническое
обслуживание и эксплуатация и одновременно обеспечивалась необходимая
безопасность персонала. Для
частей НКУ, изготовленных из изоляционных материалов, устойчивость к воздействию
тепла, огня и трекингоустойчивость (при необходимости) должна проверяться
испытаниями по 8.2.8. Испытание не
проводится для частей, которые испытаны в соответствии с техническими условиями
на них. 7.1.2 Зазоры, длины путей
утечки и изоляционные промежутки 7.1.2.1 Зазоры и длины путей
утечки Аппараты,
являющиеся частью НКУ, должны находиться на расстояниях, указанных в
технических условиях на эти аппараты, и эти расстояния должны сохраняться при
нормальных условиях эксплуатации. При
установке аппаратов в НКУ должны быть выдержаны заданные для них зазоры и длины
путей утечки, соответствие импульсным выдерживаемым напряжениям, с учетом
условий обслуживания. Для
оголенных проводников и зажимов, находящихся под напряжением (например, шин,
соединений между аппаратами, кабельных наконечников), зазоры и пути утечки или
импульсные выдерживаемые напряжения должны приниматься в соответствии со
значениями, установленными для аппаратов, с которыми они непосредственно
соединены. Нарушения
нормальных условий, например короткие замыкания, не должны вызывать постоянные
уменьшения расстояний между шинами и/или соединениями (за исключением
кабельных) до значений, меньших установленных для аппаратов, с которыми они
непосредственно соединены (см. также 8.2.2). Для
НКУ, испытываемых согласно 8.2.2.6,
минимальные значения воздушных зазоров и длин путей утечки приведены в таблицах
14 и 16, а испытательные напряжения - в 7.1.2.3. 7.1.2.2 Разъединение
выдвижных частей В
выдвижных функциональных блоках изоляционные промежутки должны быть не менее
установленных в технических условиях на разъединители*, и при этом должны
учитываться допуски при изготовлении, а также износ их трущихся частей. * См. ГОСТ 50030.3. 7.1.2.3 Диэлектрические свойства Если
изготовителем устанавливается для цепи (ей) НКУ номинальное импульсное
выдерживаемое напряжение, то применяют требования 7.1.2.3.1 - 7.1.2.3.7, и эта цепь (и) должна (ы) выдержать
испытания и проверки диэлектрических свойств по 8.2.2.6 и 8.2.2.7. Во
всех других случаях испытания диэлектрических свойств цепей НКУ должны
проводиться по 8.2.2.2 - 8.2.2.5. Примечание - Однако, следует принимать во внимание, что в этих
случаях выполнение требований по координации изоляции может быть не проверено.
Подход, основанный на проверке координации изоляции импульсным напряжением,
является более предпочтительным. Требования,
которые основаны на положениях МЭК 60664-1 [1] и обеспечивают возможность координации изоляции
оборудования с условиями самой электроустановки следующие: Цепь
(цепи) НКУ должна быть в состоянии противостоять номинальному импульсному
выдерживаемому напряжению (см. 4.1.3)
в соответствии с категорий перенапряжения, приведенной в приложении G, или, при
необходимости, соответствующему напряжению переменного или постоянного тока,
приведенному в таблице 13.
Испытательные напряжения для изоляционных промежутков аппаратов,
предназначенных для разъединения или выдвижных частей, приведены в таблице 15. Примечание - Соотношение между номинальным напряжением питающей
системы и номинальным импульсным выдерживаемым напряжением цепи (ей) НКУ
приведено в приложении G. Номинальное
импульсное выдерживаемое напряжение для данного номинального рабочего
напряжения НКУ должно быть не менее приведенного в приложении G для
номинального напряжения питающей системы в месте подсоединения НКУ и для
соответствующей категории перенапряжения. 7.1.2.3.2 Импульсное выдерживаемое напряжение главной цепи a) Зазоры между токоведущими и предназначенными для заземления
частями, а также и между полюсами должны выдерживать испытательное напряжение,
приведенное в таблице 13, для
соответствующего номинального импульсного выдерживаемого напряжения. b) Изоляционные промежутки при разомкнутых контактах выдвижных
частей в отсоединенном положении должны выдерживать испытательное напряжение, приведенное
в таблице 15, для соответствующего
номинального импульсного выдерживаемого напряжения. c) твердая изоляция НКУ в сочетании с зазорами по подпунктам а) и/или b) должна выдерживать
испытательные напряжения, указанные в подпунктах а) и/или b) соответственно. 7.1.2.3.3 Импульсные выдерживаемые напряжения вспомогательных
цепей и цепей управления a)
Вспомогательные цепи и цепи управления, которые запитываются непосредственно от
главной цепи на номинальном рабочем напряжении без каких-либо средств снижения
перенапряжений, должны соответствовать требованиям подпунктов а) и с) 7.1.2.3.2. b)
Вспомогательные цепи и цепи управления, запитываемые не непосредственно от
главной цепи, могут иметь отличную от главной цепи способность выдерживать
перенапряжения. Зазоры и твердая изоляция таких цепей (переменного или
постоянного тока) должны выдерживать соответствующее испытательное напряжение в
соответствии с приложением G. Зазоры
должны быть достаточными, чтобы цепи выдерживали испытательное напряжение
согласно 7.1.2.3.2 и 7.1.2.3.3. Зазоры
должны быть больше, чем значения, приведенные в таблице 14 для случая В - однородное поле. Проведение
испытаний не обязательно, если зазоры, выбранные для соответствующего
номинального импульсного выдерживаемого напряжения и степени загрязнения,
больше значений, приведенных в таблице 14
для случая А - неоднородное поле. Методы
измерения зазоров приведены в приложении F. а)
Измерение Для
степеней загрязнения 1 и 2 длины путей утечки не должны быть меньше, чем
зазоры, выбранные согласно 7.1.2.3.4.
Для степеней загрязнения 3 и 4 длины путей утечки не должны быть меньше, чем
зазоры для случая А, чтобы уменьшить риск пробоя из-за перенапряжений, при этом
воздушные зазоры принимают согласно 7.1.2.3.4. Методы
измерения длин путей утечки приведены в приложении F. Длины
путей утечки должны выбираться с учетом степени загрязнения, как указано в 6.1.2.3, и группы изоляционного
материала для номинального напряжения изоляции (или эксплуатационного
напряжения), приведенных в таблице 16. Материалы
в зависимости от значений показателя относительной трекингостойкости (CTI) (см. 2.9.18)
классифицируют на следующие группы: I 600
£ (CTI) II 400
£ CTI < 600 III 175
£ CTI < 400 IIIа 100 £ CTI < 175 Примечания 1 Значения CTI соответствуют полученным по
методу А ГОСТ
27473 для применяемых изоляционных материалов. 2 Для неорганических
изоляционных материалов, устойчивых к трекингу, например стекла или керамики,
нет необходимости иметь пути утечки более, чем требуемые зазоры. Однако следует
принимать во внимание возможность пробивного разряда. b) Использование ребер Длины
путей утечки могут быть уменьшены до 80 % (0,8) от значений, приведенных в
таблице 16, при использовании ребер
с минимальной высотой 2 мм, независимо от их числа. Минимальную толщину (базу)
ребер определяют с учетом механических требований (см. F.2). с)
Специальное применение Для
цепей определенного назначения, последствия повреждений изоляции которых имеет
существенное значение, должны быть приняты в расчет один или несколько факторов
влияния по таблице 16 (зазоры,
группы материалов, загрязнение микросреды), чтобы достигнуть большего
напряжения изоляции, чем номинальное напряжение изоляции для цепей согласно
таблице 16. 7.1.2.3.6
Твердая изоляция Правила
установления размеров твердой изоляции - в стадии рассмотрения. 7.1.2.3.7 Расстояния между отдельными цепями Выбор
размеров зазоров, длин путей утечки и твердой изоляции между отдельными цепями
должен производиться с учетом наибольших номинальных напряжений (номинального
импульсного выдерживаемого напряжения для зазоров и твердой изоляции, а также
номинального напряжения изоляции для путей утечки). 7.1.3 Зажимы для внешних
проводников 7.1.3.1
Изготовитель должен представлять сведения о пригодности зажимов для
присоединения к ним медных или алюминиевых проводников, либо тех и других.
Конструкция зажимов должна допускать присоединение внешних проводников любыми
способами (винтами, соединителями и т.д.), которые гарантируют необходимое
контактное нажатие, соответствующее номинальному току и прочности аппаратуры и
цепей при коротком замыкании. 7.1.3.2 Зажимы должны обеспечивать присоединение проводников и
кабелей с медной жилой минимальных и максимальных сечений для соответствующих
номинальных токов (см. приложение А), если другое
не установлено соглашением между изготовителем и потребителем. При
использовании проводников с алюминиевой жилой зажимы, как правило, должны
обеспечивать присоединение проводников максимальных сечений, указанных в графе
с таблицы А.1. Для
случаев, когда выбранное максимальное сечение проводника с алюминиевой жилой не
соответствует значению тока цепи, при необходимости, между изготовителем и
потребителем может быть заключено соглашение о присоединении проводника с
алюминиевой жилой большего сечения. Таблица
А.1 неприменима при выборе сечений
внешних проводников слаботочных электронных цепей, ток которых не превышает 1 А
и напряжение переменного тока менее 50 В, а постоянного тока - менее 120 В (см.
примечание 2 приложения А). 7.1.3.3
Места, предназначенные для ввода внешних проводников с жилами из
рекомендованного материала или многожильных кабелей, должны быть удобны для
разделки и подсоединения к зажимам. Проводники
не должны испытывать механических нагрузок, приводящих к сокращению срока их
службы. -
при сечении фазного проводника более 16 мм2 - половине сечения
фазного проводника, но не менее 16 мм2; -
при сечении фазного проводника меньше или равном 16 мм2 - равным
сечению фазного проводника Примечания 1 Для проводников с немедными жилами, сечения
которых следует выбирать с учетом их эквивалентной проводимости, допускается
применение зажимов больших размеров. 2 В некоторых случаях, когда
ток в нулевом рабочем проводнике может достигать больших значений, например в
мощных люминесцентных осветительных установках, может возникнуть необходимость
в применении нулевого рабочего проводника того же сечения, что и фазные
проводники. Применение такого нулевого рабочего проводника должно быть
согласовано изготовителем и потребителем. 7.1.3.5
Если для присоединения входящих и отходящих нулевых рабочих, нулевых защитных
или PEN-проводников используют зажимы, то они
должны располагаться в непосредственной близости от соответствующих зажимов
фазных проводников. 7.1.3.6 Отверстия в кабельных вводах, заглушках и тому подобных
элементах должны выполняться так, чтобы при правильной прокладке кабелей
обеспечивались установленные меры защиты от прикосновения к токоведущим частям
и не нарушалась степень защиты, обеспечиваемая оболочкой. Этого достигают
правильным выбором устройств ввода и их применением в соответствии с указаниями
изготовителя. 7.1.3.7
Обозначение зажимов Обозначение
зажимов должно соответствовать МЭК 60445 [2]. 7.2 Оболочка и степень защиты
7.2.1.1 Степень защиты НКУ от прикосновения к токоведущим частям,
попадания твердых посторонних тел и жидкости обозначают в соответствии с ГОСТ 14254. Для
НКУ, предназначенных для эксплуатации внутри помещений и не требующих защиты от
проникновения воды, рекомендуются степени защиты: IP00, IP2X, IP3X, IP4X, IP5X. Если
требуется защита от проникновения воды, то ее устанавливают согласно таблице 2. Таблица 2
Предпочтительные значения степеней защиты
7.2.1.2 Степень защиты защищенного НКУ после установки согласно
указаниям изготовителя должна быть не ниже IP2X. 7.2.1.3
Для НКУ наружной установки без дополнительной защиты, вторая цифра в
обозначении степени защиты должна быть не менее 3. Примечание - В качестве дополнительной защиты НКУ, предназначенных
для эксплуатации в таких условиях, могут быть использованы навесы или
аналогичные устройства. 7.2.1.4
Если не указано иное, то степень защиты, указанная изготовителем, относится к
НКУ в целом, при условии, что установку проводят по инструкции изготовителя (см.
также 7.1.3.6), например закрывая,
при необходимости, открытую монтажную поверхность НКУ. Изготовитель
должен также устанавливать степень (n) защиты от
прямого контакта, попадания твердых посторонних тел и жидкостей при условии
обеспечения необходимого доступа к внутренним частям НКУ при обслуживании
квалифицированным персоналом по 7.4.6,
а для передвижных НКУ или для выдвижных частей НКУ - по 7.6.4.3. 7.2.1.5
Если степень защиты отдельной части НКУ, например обеспечиваемой ограждением с
оперативной поверхностью по 2.4.11,
отличается от степени защиты всего НКУ, то изготовитель должен указать степень
защиты отдельно. Например, степень защиты всего НКУ IP00, степень защиты части НКУ, закрываемой ограждением с
оперативной поверхностью, - IP20. 7.2.1.6
Для ЧИ НКУ степень защиты не может устанавливаться без проведения
соответствующих испытаний или проверок согласно ГОСТ 14254, если
только не используются оболочки, прошедших испытание у изготовителя. 7.2.2
Меры по защите от влажности окружающего
воздуха Для
НКУ наружной установки и защищенных НКУ, устанавливаемых в помещениях и
предназначенных для эксплуатации в местах с высокой влажностью и перепадами
температуры в широких пределах, должны быть приняты специальные меры
(вентиляция и/или внутренний подогрев) с целью предотвращения чрезмерной
конденсации влаги внутри НКУ. При этом должна соблюдаться степень защиты (для
встроенных аппаратов, см. 7.6.2.4). 7.3
Превышение температуры
При
проведении испытаний согласно 8.2.1
значения температуры нагрева для НКУ не должны превышать предельных значений,
приведенных в таблице 3. Примечание Превышение температуры элемента или детали представляет
собой разность между температурой нагрева данного элемента или данной детали,
измеренной в соответствии с требованием 8.2.1.5, и температурой окружающего НКУ воздуха. Таблица 3 - Предельные
значения температуры нагрева и превышения температуры над температурой
окружающего воздуха 40 °С по 6.1.1.2
7.4 Защита от поражения электрическим током
Приводимые
ниже требования имеют целью обеспечение необходимых мер защиты при включении
НКУ в электроустановке, соответствующей заданным техническим условиям. Общие
меры защиты должны соответствовать ГОСТ 30331.3 / ГОСТ
Р 50571.3. Меры
защиты, учитывающие специфические требования и имеющие для НКУ особое значение,
приведены ниже. 7.4.1
Защита от прямого и косвенного прикосновения
к токоведущим частям 7.4.1.1
Защита безопасным сверхнизким напряжением Согласно
ГОСТ 30331.3 / ГОСТ 50571.3. 7.4.2 Защита от прямого
прикосновения к токоведущим частям (2.6.8) Защита
от прямого прикосновения к токоведущим частям может быть достигнута либо
принятием соответствующих конструктивных мер в самом НКУ, либо дополнительными
мерами при его установке согласно указаниям изготовителя. Примером
дополнительных мер является установка открытого НКУ в месте, доступном только
квалифицированному персоналу. Из
приведенных ниже мер защиты может быть выбрана одна или несколько с учетом
требований, изложенных в следующих подпунктах, что является предметом
соглашения между изготовителем и потребителем. Примечание - Информация, приводимая в каталогах
предприятия-изготовителя, может быть использована вместо такого соглашения. 7.4.2.1
Защита изоляцией токоведущих частей Токоведущие
части должны быть полностью покрыты изоляцией, снять которую можно только
разрушив ее. Эта
изоляция должна изготавливаться из материалов, способных длительно выдерживать
механические, электрические и тепловые нагрузки, которым они подвергаются в
процессе эксплуатации. Примечание - Примером могут служить кабели и электрические детали,
покрытые изоляцией. Покрытия
из лака, эмали и аналогичных материалов не являются изоляцией, обеспечивающей
защиту от поражения электрическим током при нормальной эксплуатации. 7.4.2.2
Защита с помощью ограждений и оболочек Должны
выполняться следующие требования. 7.4.2.2.1 Все наружные поверхности должны обеспечивать степень
защиты не менее IP2X. Расстояние между механическими средствами,
предусмотренными для защиты, и защищаемыми токоведущими частями, находящимися
под напряжением, должно быть не менее значений, установленных для зазоров и
длин путей утечки в 7.1.2, за исключением случаев, когда механические средства
выполнены из изоляционного материала. 7.4.2.2.2 Все ограждения и оболочки должны быть прочно закреплены
на своих местах. В зависимости от вида, материала, их размеров и расположения
они должны обладать достаточной прочностью и надежностью, чтобы выдерживать
механические нагрузки, которые могут иметь место при нормальной эксплуатации
без уменьшения зазоров согласно 7.4.2.2.1. a)
снятие, открывание или выдвижение должно выполняться специальным ключом или
инструментом; b)
все части, находящиеся под напряжением, до которых можно случайно дотронуться
после того, как дверь открыта, должны отключаться перед открыванием двери. Например,
посредством блокировки двери/дверей с выключателем таким образом, чтобы ее/их
можно было открыть только в случае, если выключатель будет отключен и при этом
не может быть включен, пока дверь открыта, за исключением случая, когда
блокировка снята или применен специальный инструмент для деблокировки. Если
для работы необходимо, чтобы НКУ имело деблокирующее устройство, позволяющее
квалифицированному персоналу получать доступ к частям, находящимся под
напряжением, то блокировка должна автоматически восстанавливаться после
закрывания двери/дверей; c)
НКУ должно иметь внутреннее ограждение или заслонку, защищающие токоведущие
части, находящиеся под напряжением, от случайного прикосновения при открытой
двери. Это ограждение или заслонка должны отвечать требованиям, указанным в 7.4.2.2.1, за исключением
подпункта d) и 7.4.2.2.2. Ограждение или заслонка должны быть
прочно закреплены на месте или перемещаться на свое место в момент открывания
двери. Должна быть исключена возможность снятия этих препятствий без применения
инструмента. При
необходимости используют предупреждающие таблички; d) если к частям, расположенным за
ограждениями и в оболочках, нужно при проведении некоторых операций
дотрагиваться руками (например при замене лампочки или плавкой вставки), то
снятие, открывание или выдвижение их без применения специального ключа или
инструмента, а также без снятия напряжения возможно только при выполнении
следующих условий: -
за ограждением или оболочкой должно быть предусмотрено препятствие,
предотвращающее случайное прикосновение обслуживающего персонала к токоведущим
частям, не защищенным другими средствами. Однако это препятствие не должно
исключать доступ обслуживающего персонала к токоведущим частям. Снятие этого
препятствия должно быть возможно только с помощью инструмента; -
токоведущие части, которые соответствуют условиям безопасного напряжения, могут
быть незакрытыми. 7.4.2.3
Защита созданием препятствий Эту
меру применяют в открытых НКУ, в соответствии с ГОСТ 30331.3 / ГОСТ
Р 50571.3. 7.4.3 Защита от косвенного
прикосновения к токоведущим частям (по 2.6.9) Потребитель
обязан указывать защитные меры, применяемые им в электроустановке, для которой
предназначено НКУ. В частности, при этом должны выполняться требования ГОСТ
30331.3 / ГОСТ
Р 50571.3 по защитным мерам от косвенного прикосновения к токоведущим
частям для электроустановки в целом, например с помощью защитных проводников. 7.4.3.1 Защита с помощью
цепей защиты Цепь
защиты в НКУ должна обеспечиваться отдельным защитным проводником или
проводящими конструктивными частями, или тем и другим. Она должна обеспечивать
защиту от повреждений: -
внутри НКУ; -
во внешних цепях, питаемых от НКУ. Для
этого должны выполняться следующие требования. 7.4.3.1.1 Конструкция НКУ должна обеспечивать непрерывность
электрической цепи между открытыми проводящими частями НКУ по 7.4.3.1.5 и между этими
частями и цепями защиты электроустановки по 7.4.3.1.6. В
ЧИ НКУ, в которых применены устройства, не подвергавшиеся типовым испытаниям,
или, если не требуется проверка на стойкость к коротким замыканиям в
соответствии с 8.2.3.1.1 - 8.2.3.1.3, для цепи защиты
следует использовать отдельный защитный проводник, который должен располагаться
по отношению к фазным проводникам таким образом, чтобы воздействие на него
электродинамических усилий было пренебрежимо малым. 7.4.3.1.2
Не требуется соединять с цепями защиты некоторые открытые проводящие части НКУ,
как не представляющие опасности, если они: -
не доступны для прикосновения или исключена возможность захватить их рукой; -
имеют малые размеры (приблизительно 50´50 мм) или расположены таким образом, что любой их контакт
с частями, находящимися под напряжением, исключен. Это
относится к винтам, заклепкам, паспортным табличкам, а также к электромагнитам
контакторов или реле, магнитным сердечникам трансформаторов (за исключением
случаев, когда они имеют присоединительные зажимы или защитный проводник),
некоторым деталям размыкающих механизмов и подобных элементов независимо от их
размеров. 7.4.3.1.3 Органы ручного управления (рукоятки, маховички и т.д.)
должны иметь: -
либо надежное и постоянное электрическое соединение с частями, присоединенными
к цепям защиты; -
либо дополнительную изоляцию, изолирующую их от других проводящих частей НКУ.
Эта изоляция должна соответствовать, как минимум, максимальному напряжению
изоляции для данного оборудования. Рекомендуется
детали органов ручного управления, которые обычно во время работы захватывают
рукой, изготавливать из изоляционных материалов или покрывать изоляционными
материалами с учетом максимального напряжения изоляции для данного
оборудования. 7.4.3.1.4
Металлические детали, покрытые слоем лака или эмали, не считают надежно
изолированными и удовлетворяющими требованиям к изоляции. а)
когда часть НКУ вынимают из оболочки, например, для очередной профилактики,
цепи защиты для остальной части НКУ не должны разрываться. Средства
крепления, применяемые для сборки различных металлических частей НКУ, должны
обеспечивать непрерывность цепей защиты, стабильную проводимость и пропускную
способность, достаточную, чтобы выдерживать ток замыкания на землю, который
может протекать в НКУ. Примечание - Не допускается использовать гибкие металлорукава в
качестве защитных проводников; b)
если съемные и выдвижные части имеют металлические опорные поверхности, то эти
поверхности считают достаточными для обеспечения непрерывности цепей защиты при
условии, что давление, приложенное к ним, достаточно. Для гарантирования
постоянной хорошей проводимости может появиться необходимость в принятии
соответствующих мер безопасности. Непрерывность цепи защиты выдвижной части
должна сохраняться от присоединенного положения до отсоединенного положения
включительно; c) для дверей, заглушек и подобных деталей обычные металлические
винтовые и шарнирные соединения считают достаточными для обеспечения
непрерывности цепи при условии, если на них не закреплено никакой электрической
аппаратуры. Если
же на дверях, элементах, оболочек подобных деталях закреплены аппараты на
напряжение, превышающее безопасное, то необходимо принять соответствующие меры
для обеспечения непрерывности цепей защиты. Рекомендуется присоединять эти
части к защитному проводнику, поперечное сечение которого зависит от
максимального сечения присоединяемых к установленной аппаратуре фазных
проводников. Эквивалентные электрические соединения, специально применяемые для
этой цели (скользящий контакт, петли, защищенные от коррозии), также могут
считаться удовлетворяющими требованиям защиты; d) все части цепи защиты внутри НКУ
должны быть рассчитаны таким образом, чтобы они могли выдерживать максимальные
электрические, тепловые и динамические нагрузки, которые возможны на месте
установки НКУ; e)
если оболочку используют как часть цепи защиты, то площадь поперечного сечения
этой оболочки должна быть по крайней мере электрически эквивалентна
минимальному сечению защитного проводника, указанного в 7.4.3.1.7; f)
если цепь защиты может быть разомкнута с помощью соединителей или штепсельных
разъемов, то она должна размыкаться только после размыкания токоведущих
проводников, а восстановление цепи защиты должно происходить до соединения
токоведущих проводников; g) в принципе (за исключением случая,
упомянутого в подпункте f), цепи защиты внутри НКУ не должны содержать
разъединительное устройство (выключатель, контактор и т.д.) Единственными
устройствами, которые могут находиться в цепи защитных проводников, являются
соединительные перемычки, которые снимают с помощью инструмента и доступ к
которым открыт только для обслуживающего персонала (эти перемычки могут
использоваться при некоторых видах испытаний). Примечание - Если металлические части НКУ имеют покрытие устойчивое к
абразивному износу (например, порошковое полимерное), в частности при установке
сальников, необходимо принимать специальные меры. 7.4.3.1.7 Сечение защитных проводников (РЕ) в НКУ должно
определяться одним из следующих способов: а)
сечение защитного проводника должно быть не менее указанного в таблице 4. Необходимо
применять проводники стандартных сечений, наиболее близких к приведенным в
таблице 4. Таблица 4 В квадратных
миллиметрах
Таблица 4 применима в
случае, когда защитные проводники выполнены из того же металла, что и фазные. В
противном случае сечение следует выбирать таким образом, чтобы обеспечивалась
проводимость, эквивалентная проводимости проводников по таблице 4; b) сечение защитного проводника должно
рассчитываться по формуле, указанной в приложении В, или определяться каким-либо другим способом,
например при испытании. Для
выбора поперечного сечения защитных проводников необходимо одновременное
выполнение следующих условий: 1)
при проведении испытания согласно 8.2.4.2
значение полного сопротивления поврежденной цепи должно соответствовать
сопротивлению, необходимому для срабатывания защитного устройства; 2)
условия срабатывания защитного электрического аппарата должны быть выбраны
таким образом, чтобы исключить возможность протекания аварийного тока в
защитном проводнике, вызывающего повышение температуры, которое может привести
к повреждению этого проводника или нарушению его электрической непрерывности. 7.4.3.1.8
В случае, если НКУ содержит конструктивные части, рамы, каркасы оболочки и
подобные детали из проводящего материала, изоляция защитного провода от этих
частей не требуется (за исключением требований 7.4.3.1.9). Примечание - Следует обращать особое внимание на соблюдение мер
безопасности при выполнении требований, касающихся перечисленных устройств. 7.4.3.1.10
Доступные проводящие части НКУ, которые не могут быть соединены с цепью защиты
их средствами крепления, должны быть соединены с этой цепью в целях защитного
уравнивания потенциалов проводником, поперечное сечение которого выбирают по
таблице 4А. Таблица 4А - Сечения
медных уравнивающих проводников
7.4.3.1.11 Сечения PEN-проводников
должны определяться так же, как и сечения нулевых рабочих проводников (N). Минимальное
сечение медного РЕN-проводника должно быть не менее
10 мм2. PEN-проводник может не иметь изоляции. Конструктивные
части НКУ не должны использоваться как PEN-проводник. Однако монтажные рейки из меди или алюминия могут
использоваться как PEN-проводник. Примечание - Для немедных проводников, сечения следует выбирать с
учетом их эквивалентной проводимости, при этом могут потребоваться большие
зажимы. 7.4.3.2
Другие меры защиты, не требующие наличия
цепей защиты НКУ
могут обеспечивать защиту от непрямого прикосновения к токоведущим частям с
помощью мер, не требующих применения цепей защиты: -
защитное разделение цепей; -
полная изоляция. 7.4.3.2.1
Защитное разделение цепей Согласно
ГОСТ 30331.3 / ГОСТ
Р 50571.3. * Согласно ГОСТ Р МЭК 536 это соответствует оборудованию
класса II. Для
защиты от косвенного прикосновения к токоведущим частям посредством полной
изоляции необходимо выполнение следующих требований: a)
приборы и аппараты должны быть полностью заключены в оболочку из изоляционного
материала. Оболочка должна
иметь знак b)
оболочка должна быть изготовлена из изоляционного материала, способного
выдерживать механические, электрические и тепловые нагрузки, которым он может
подвергаться в нормальных или особых условиях эксплуатации (по 6.1 и 6.2); материал должен быть также стойким к старению и
воспламенению**; ** Находится в стадии рассмотрения ИСО и ТК 61 МЭК. c)
проводящие части не должны проходить через оболочку, чтобы не создавалась
возможность выноса опасного напряжения при повреждении за ее пределы. Это
означает, например, что металлические части, такие как рукоятки, которые по
конструктивным соображениям приходится пропускать через оболочку, должны иметь
изоляцию с внутренней или внешней стороны оболочки, достаточную чтобы
выдерживать максимальное номинальное напряжение изоляции и, если требуется,
максимальное номинальное импульсное выдерживаемое напряжение для цепей НКУ. Если
ручной привод изготовлен из металла (независимо оттого покрыт он изоляционным
материалом или нет), он должен иметь изоляцию, выдерживающую максимальное
номинальное напряжение изоляции и, если требуется, максимальное импульсное
выдерживаемое напряжение цепей НКУ. Если
ручной привод изготовлен в основном из изоляционного материала, любые его
металлические части, которые могут стать доступны прикосновению при повреждении
изоляции, должны быть изолированы от токоведущих частей, причем изоляция должна
выдерживать максимальное номинальное напряжение изоляции и, если требуется,
максимальное импульсное выдерживаемое напряжение цепей НКУ; d) оболочка НКУ, готового к эксплуатации
и подсоединенного к источнику питания, должна закрывать токоведущие и открытые
проводящие части, а также части, относящиеся к цепи защиты, таким образом,
чтобы к ним нельзя было прикоснуться. Оболочка должна обеспечивать степень
защиты не менее IP3XD. Если
цепь защиты проходит к электроприемникам, присоединенным к НКУ, имеющему
изолированные открытые проводящие части, то для входящего и отходящих защитных
проводников следует предусматривать необходимые зажимы, которые должны иметь
соответствующую маркировку. Внутри
оболочки защитные проводники и зажимы для них должны быть изолированы от
токоведущих и открытых проводящих частей аналогично токоведущим частям; e)
открытые проводящие части внутри НКУ не должны быть соединены с цепью защиты,
т.е. они не должны охватываться мерами защиты с применением защитной цепи. Это
относится также и к встроенным комплектующим элементам, даже если они имеют
зажимы для защитного проводника; f) если двери или элементы оболочек могут
открываться без помощи ключа или инструмента, то необходимо предусмотреть
ограждения из изоляционного материала, которые должны обеспечивать защиту от
случайного контакта не только с доступными токоведущими частями, но также и с
открытыми проводящими частями, доступ к которым возможен только после
открывания элемента оболочки. Эти ограждения не должны сниматься без помощи
инструмента. 7.4.4 Снятие электрического
заряда Если
НКУ содержит аппаратуру, которая может сохранять опасные электрические заряды
после отключения (конденсаторы и т.д.), то необходимо устанавливать
предупредительную табличку. Небольшие
конденсаторы, например применяемые для гашения дуги, для задержки срабатывания
реле и других целей, не считают опасными. Примечание - Случайный контакт не считают опасным, если напряжение,
обусловленное статическим зарядом, падает ниже 120 В в цепи постоянного тока
менее чем через 5 с после отключения питания. 7.4.5
Служебные проходы внутри НКУ оперативные и
для технического обслуживания (по 2.7.1 и 2.7.2) Служебные
проходы и проходы для технического обслуживания внутри НКУ должны
соответствовать требованиям МЭК 60364-4-481 [3]. Примечание - Пространства внутри НКУ шириной до 1 м не считают
служебными проходами. 7.4.6 Требования, касающиеся
обеспечения доступа для обслуживания квалифицированным персоналом По
соглашению между изготовителем и потребителем доступ квалифицированного
персонала для обслуживания должен обеспечиваться выполнением одного или
нескольких ниже перечисленных требований. Эти требования следует рассматривать
как дополнительные к защитным мерам, указанным в 7.4. Примечание - Выполнение согласованных требований должно
обеспечиваться, когда квалифицированный персонал получает непосредственный
доступ к аппаратам и цепям НКУ, например, при помощи инструмента или путем
снятия блокировок (по 7.4.2.2.3),
когда НКУ или его части находятся под напряжением. 7.4.6.1 Требования,
касающиеся обеспечения доступа для проверки и подобных операций НКУ
должно быть сконструировано и изготовлено таким образом, чтобы по согласованию
между изготовителем и потребителем некоторые операции можно было выполнять в
процессе эксплуатации НКУ и под напряжением. К таким операциям относятся: -
визуальная проверка: коммутационных
устройств и другой аппаратуры, уставок и указателей реле и размыкающих
механизмов, соединений и маркировки проводов; -
регулировка и изменение уставок реле, размыкающих механизмов и электронных
приборов: замена
плавких вставок предохранителей, замена
индикаторных ламп, некоторые
операции по обнаружению повреждений, например измерение напряжения и тока с
помощью специальных приборов. 7.4.6.2 Требования,
касающиеся доступа для технического обслуживания Для
того чтобы в соответствии с соглашением между изготовителем и потребителем на
отсоединенной функциональной группе или функциональном блоке НКУ можно было
производить текущее техническое обслуживание при сохранении под напряжением
соседних блоков или групп, необходимо принять соответствующие меры. Выбор этих
мер, являющихся предметом соглашения между изготовителем и потребителем,
зависит от условий эксплуатации, частоты профилактических осмотров,
компетентности обслуживающего персонала, действующих правил установки и т.п. К
таким мерам относятся следующие: -
обеспечение достаточного промежутка между данным функциональным блоком или
группой и соседними функциональными блоками или группами. Рекомендуется, чтобы
снимаемые для текущего ремонта части имели, насколько это возможно, сохраняемые
крепления; -
использование защищенных ограждениями подсекций для каждого функционального
блока или группы; -
использование отсеков для каждого функционального блока или группы; -
применение дополнительных средств защиты, поставляемых или рекомендуемых
изготовителем. 7.4.6.3 Требования,
касающиеся возможности расширения компоновки НКУ, находящихся под напряжением Если
по согласованию между изготовителем и потребителем требуется обеспечить
функциональное расширение НКУ при помощи дополнительных блоков или групп с
сохранением остальной части НКУ под напряжением, то необходимо выполнить
требования, указанные в 7.4.6.2.
Подобные требования также применимы для ввода и присоединения дополнительных
отходящих кабелей при сохранении под напряжением существующих кабелей. Присоединение
дополнительных блоков к питающим цепям без снятия напряжения не допускается, за
исключением случаев, когда это позволяет конструкция НКУ. 7.5 Защита от короткого замыкания и прочность при коротком
замыкании
Примечание - В настоящее время требования этого пункта применимы
главным образом к устройствам переменного тока. Требования к устройствам
постоянного тока находятся в стадии рассмотрения. 7.5.1
Общие положения НКУ
должны иметь конструкцию, способную выдерживать тепловые и электродинамические
нагрузки, возникающие при значениях токов короткого замыкания не более
установленных номинальных значений. Примечание - Нагрузки, возникающие вследствие короткого замыкания,
могут быть уменьшены при помощи токоограничивающих устройств (индуктивностей,
токоограничивающих плавких предохранителей или других токоограничивающих
коммутационных устройств). НКУ
должны быть защищены оттоков короткого замыкания, например автоматическими
выключателями, плавкими предохранителями или тем и другим вместе, которые могут
быть частью НКУ или располагаться за его пределами. Примечание - Если НКУ предназначены для использования в системах IT, то аппарат защиты должен иметь достаточную отключающую
способность при междуфазном напряжении, чтобы отключать двухфазное замыкание на
землю. При
заказе НКУ потребитель должен указать параметры короткого замыкания в месте его
установки. Примечание - Желательно, чтобы в случае повреждения, приводящего к
образованию дуги внутри НКУ, обеспечивалась максимально возможная степень
защиты персонала, хотя главной целью является исключение образования дуги
принятием соответствующих мер при проектировании или ограничение длительности
горения дуги. Для
ЧИ НКУ рекомендуется использовать устройства, прошедшие типовые испытания,
например сборные шины, если на них не распространяются исключения 8.2.3.1.1 - 8.2.3.1.3. В исключительных случаях, когда
применение устройств, прошедших типовые испытания, не представляется возможным,
прочность этих устройств при коротком замыкании проверяют путем экстраполяции
результатов типовых испытаний аналогичных устройств. 7.5.2 Сведения, касающиеся
прочности при коротком замыкании 7.5.2.1.1 Для НКУ с устройством защиты от короткого замыкания,
включенным в блок ввода, следует указывать максимально допустимое значение (см.
ГОСТ 30331.2 / ГОСТ Р
50571.2) ожидаемого тока, короткого замыкания на зажимах блока ввода. Эта
величина не должна превышать номинальные значения (по 4.3 - 4.6).
Коэффициент мощности и пиковые значения должны соответствовать указанным в 7.5.3. Если
устройством защиты от короткого замыкания является плавкий предохранитель, то
изготовитель должен указать характеристики плавкой вставки (номинальный ток,
отключающую способность, ток отключения, I2t и т.д.). Если
используют автоматический выключатель с расцепителем, имеющим выдержку времени,
то изготовитель должен указать максимальную выдержку времени и значение тока
уставки, соответствующих ожидаемому току короткого замыкания. 7.5.2.1.2 Для НКУ, в которых защитное устройство от короткого
замыкания не входит в блок ввода, прочность при коротком замыкании указывают с
помощью следующих параметров (одного или нескольких): a)
номинальный кратковременно выдерживаемый ток (по 4.3) вместе с соответствующим
временем, если оно отличается от 1 с, и номинальный ударный ток (по 4.4). Примечание - Для периодов времени не более 3 с соотношение между
кратковременно выдерживаемым током и соответствующим временем представляется
формулой I2t = const при условии,
что пиковое значение не превышает значение номинального ударного тока; b) номинальный условный ток короткого замыкания (по 4.5); c) номинальный ток короткого замыкания, отключаемый плавким
предохранителем (по 4.6). Для
подпунктов b) и с) изготовитель должен указывать характеристики
(номинальный ток, отключающая способность, ток отключения, I2t и т.д.) токоограничивающих коммутационных устройств (например,
автоматических выключателей или плавких предохранителей), необходимых для
защиты НКУ. Примечание - При замене плавких вставок должны использоваться вставки
с такими же характеристиками. 7.5.2.2
Для НКУ с несколькими блоками ввода, одновременная работа которых маловероятна,
прочность при коротком замыкании может указываться для каждого из блоков в
соответствии с 7.5.2.1. 7.5.3 Соотношение между
пиковыми и действующими значениями тока короткого замыкания Пиковое
значение тока короткого замыкания (пиковое значение первой волны тока короткого
замыкания, включая постоянную составляющую) для определения электродинамических
усилий, получается умножением действующего значения тока короткого замыкания на
коэффициент п. Стандартные значения
коэффициента п и соответствующего
коэффициента мощности даны в таблице 5. Таблица 5
7.5.4 Координация устройств защиты от
короткого замыкания 7.5.4.1
Координация устройств защиты должна являться предметом соглашения между потребителем
и изготовителем. Информация, приводимая в каталоге изготовителя, может
использоваться в качестве такого соглашения. 7.5.4.2
Если по условиям эксплуатации необходимо обеспечить селективность при
отключении поврежденных цепей, то устройства защиты от короткого замыкания,
встроенные в НКУ, должны быть выбраны так, чтобы короткое замыкание,
произошедшее в любой отходящей цепи, могло быть отключено с помощью устройства,
установленного в поврежденной цепи без какого-либо воздействия на другие
отходящие цепи. 7.5.5
Внутренние цепи НКУ 7.5.5.1
Главные цепи 7.5.5.1.1
Шины (оголенные или с изоляцией) должны располагаться таким образом, чтобы при
нормальных условиях эксплуатации исключалась возможность внутреннего короткого
замыкания. Если не указано иное, то шины должны быть рассчитаны с учетом
соответствующих характеристик по 7.5.2,
чтобы выдерживать, по крайней мере, воздействия коротких замыканий ограниченных
защитными устройствами на стороне подвода питания к шинам. 7.5.5.1.2 В пределах секции, проводники (включая распределительные
шины) между сборными шинами и стороной питания функциональных блоков, а также
комплектующие элементы этих блоков могут быть рассчитаны исходя из уменьшенных
воздействий коротких замыканий на стороне нагрузки с учетом установленных в
каждом блоке устройств защиты от коротких замыканий, при условии, что эти
проводники расположены таким образом, что при нормальных условиях эксплуатации
внутренние короткие замыкания между фазами и/или между фазами и землей
маловероятны. Эти проводники должны изготавливаться из жесткого материала (см. 7.5.5.3) Конструкция
вспомогательных цепей должна учитывать тип системы заземления питающей сети,
чтобы при замыкании на землю или между токоведущими частями и открытыми
проводящими частями не создавалось опасности при работе. Обычно
вспомогательные цепи должны быть защищены от воздействия коротких замыканий.
Однако защитное устройство от короткого замыкания, не следует применять в
случае, если его срабатывание может иметь опасные последствия. В этом случае
проводники вспомогательных цепей должны располагаться таким образом, чтобы в
нормальных условиях работы исключалась возможность возникновения короткого
замыкания (см. 7.5.5.3). Токоведущие
проводники в НКУ, которые не защищены аппаратами защиты от короткого замыкания
(см. 7.5.5.1.2 и 7.5.5.2) должны быть выбраны и
проложены в НКУ так, чтобы при нормальных условиях работы, короткое замыкание
между фазами или фазой и землей было маловероятным. Примеры типов проводников и
требования к их прокладке даны в таблице 6. Таблица 6 - Выбор
проводников и требования к прокладке
Неизолированные или изолированные проводники, проложенные согласно
таблице 6 до устройств защиты от
короткого замыкания на стороне нагрузки могут иметь длину до 3 м. 7.6 Встроенные комплектующие элементы НКУ
7.6.1 Выбор комплектующих
элементов Комплектующие
элементы НКУ должны отвечать требованиям соответствующих стандартов. Комплектующие
элементы должны соответствовать конструктивному исполнению НКУ (например,
открытому или закрытому), номинальным напряжениям и токам, сроку службы,
включающей и отключающей способностям, прочности при коротком замыкании и т.д. Комплектующие
элементы, не обладающие прочностью при коротком замыкании и/или разрывной
способностью, достаточной для выдерживания возможных нагрузок, должны быть
защищены с помощью токоограничивающих устройств, например плавкими
предохранителями или автоматическими выключателями. При выборе таких
токоограничивающих устройств защиты для встроенных коммутационных аппаратов
следует принимать во внимание максимально допустимые значения, указанные
изготовителем этого устройства, обеспечивая при этом координацию (7.5.4). Координация
комплектующих элементов, например пускателей для двигателей с устройствами
защиты от коротких замыканий, должна отвечать требованиям соответствующих
стандартов. Коммутационная
аппаратура и комплектующие, установленные в цепи, для которой изготовителем
указано номинальное импульсное выдерживаемое напряжение, не должны создавать
коммутационные перенапряжения выше, чем номинальное импульсное выдерживаемое
напряжение цепи, и подвергаться атмосферным или коммутационным перенапряжениям
более, чем номинальное импульсное выдерживаемое напряжение цепи. Последнее
должно приниматься во внимание при выборе коммутационной аппаратуры и
комплектующих для установки в данной цепи. Пример. Коммутационная аппаратура и комплектующие, имеющие
номинальное импульсное напряжение Uimp =
4000
В, номинальное напряжение изоляции Ui = 250 В и максимальное коммутационное перенапряжение 1200 В
(при номинальном рабочем напряжении 230 В) могут применяться в категориях
перенапряжения I - III или даже IV при применении
соответствующих средств защиты от перенапряжения. Примечание - Категории перенапряжения - по 2.9.12 и приложению G. 7.6.2
Установка комплектующих элементов Комплектующие
элементы должны устанавливаться в соответствии с инструкциями изготовителей
комплектующих (рабочее положение, зазоры, учитывающие возможность электрической
дуги необходимые для снятия дугогасительной камеры и т.д.). 7.6.2.1
Доступность Аппаратура,
функциональные блоки, устанавливаемые на одной конструкции (монтажная плита,
рама), и зажимы для внешних проводников должны располагаться таким образом,
чтобы к ним обеспечивался удобный доступ при их установке, прокладке проводов,
техническом обслуживании и замене. В частности, рекомендуется, чтобы зажимы
располагались не ниже 0,2 м от основания НКУ, установленного на полу, таким
образом, чтобы к нему было легко присоединять кабели. Комплектующие
элементы, требующие регулирования, возврата в исходное положение, должны быть
легко доступны. Для
НКУ, устанавливаемых на полу, показывающие приборы, за которыми необходимо
следить оператору, должны располагаться не выше 2 м от основания НКУ. Элементы
управления, например рукоятки, кнопки и т.д., должны располагаться на такой
высоте, чтобы ими было удобно пользоваться, при этом их осевая линия не должна
проходить выше 2 м от основания НКУ. Примечания 1 Следует располагать элементы управления
устройствами аварийного отключения (см. МЭК 60364-5-537 [5] п. 537.4) так, чтобы они находились на высоте 0,8 -
1,6 м над оперативным уровнем (площадкой обслуживания). 2 Рекомендуется, чтобы НКУ,
размещаемые на стене или полу, устанавливались на такой высоте в отношении
оперативного уровня, чтобы выполнялись приведенные выше требования в части
доступности и высоты для обслуживания. 7.6.2.2 Влияние
воздействующих факторов Встроенная
аппаратура должна быть установлена в НКУ таким образом, чтобы ее функционирование
не ухудшалось под влиянием имеющих место при нормальной работе таких факторов,
как тепло, электрические дуги, вибрации, электрические поля. Для НКУ с
электронными комплектующими это может вызвать необходимость выполнять
разделение или экранирование вспомогательных цепей от силовых цепей. При
установке плавких предохранителей в закрытых НКУ необходимо учитывать
тепловыделение от них (см. 7.3).
Изготовитель обязан указывать тип и номинальные характеристики используемых
плавких вставок. 7.6.2.3
Ограждения Ограждения
для коммутационных устройств с ручным управлением должны иметь такую
конструкцию, чтобы дуги при коммутации не представляли опасности для оператора. Для
уменьшения опасности, возникающей при замене плавких предохранителей,
необходимо применять междуфазные ограждения, если конструкция и расположение
предохранителей это позволяют. 7.6.2.4 Условия эксплуатации
НКУ Комплектующие
элементы НКУ выбирают исходя из нормальных условий эксплуатации, указанных в 6.1 (см. также 7.6.2.2). В
необходимых случаях должны приниматься соответствующие меры (подогрев,
вентиляция) для обеспечения надлежащих условий эксплуатации и правильного
функционирования комплектующих, т.е. должна поддерживаться минимальная
температура для правильного функционирования реле, счетчиков, электронных
комплектующих и т.д. в соответствии с техническими условиями на эти
комплектующие. 7.6.2.5
Охлаждение В
НКУ может предусматриваться естественное и/или принудительное охлаждение. Если
требуется выполнение специальных мер, чтобы обеспечить необходимые условия
охлажения НКУ, то изготовитель обязан предоставить необходимую информацию
(например, касающуюся величин зазоров в отношении частей, которые могут
препятствовать рассеянию тепла или сами выделять тепло). В
стационарных частях (2.2.6)
присоединение или отсоединение главных цепей (2.1.2) возможно только при обесточенном НКУ. Как
правило, для снятия и установки стационарных частей требуется применение
инструмента. Для
отсоединения стационарной части может потребоваться отсоединение всего НКУ или
его части. Примечание - Если при определенных условиях допускается работа в
цепях, находящихся под напряжением, то при этом должны соблюдаться
соответствующие меры безопасности. 7.6.4 Съемные и выдвижные части 7.6.4.1
Конструкция Съемные
и выдвижные части должны иметь такую конструкцию, которая позволяла бы
безопасно отсоединять их электрическую аппаратуру от главной цепи и
присоединять к ней в то время, когда эта цепь находится под напряжением. В
различных положениях, а также при переводе из одного положения в другое должны
сохраняться минимальные зазоры и длины путей утечки (7.1.2.1). Примечания 1 Для этого может потребоваться
соответствующий инструмент. 2 Может оказаться
необходимым выполнять эти операции при отключенной нагрузке. Съемные
части должны иметь присоединенное (2.2.9)
и отделенное (2.2.12) положения. Выдвижные
части должны, кроме того, иметь отсоединенное положение (2.2.11), а также могут иметь испытательное положение (2.2.10) или состояние испытания (2.1.9). Положения выдвижных частей
должны быть четко различимы. Электрические
соединения, соответствующие различным положениям выдвижных частей, представлены
в таблице 6. 7.6.4.2
Блокировка и замки для выдвижных частей В
случае отсутствия других указаний, выдвижные части должны быть снабжены
устройством, которое позволило бы гарантировать, что аппаратура может быть
выдвинута и/или вновь вставлена только после отключения ее главной цепи. Для
предотвращения недозволенных операций выдвижные части должны снабжаться замками
или запорами, которые фиксируют их в одном или нескольких положениях (см. 7.1.1). Степень
защиты (7.2.1), указываемая для
НКУ, обычно относится к присоединенному положению (2.2.9) съемных и/или выдвижных частей. Изготовитель
обязан указывать степень защиты для других положений и при переводе из одного
положения в другое. НКУ
с выдвижными частями могут конструироваться таким образом, чтобы степень защиты
присоединенного положения также сохранялась и для испытательного и
отсоединенного положений и при переходе из одного положения в другое. Если
после снятия съемной и/или выдвижной части первоначальная степень защиты не
сохраняется, то необходимо согласование мер для обеспечения адекватной защиты.
Вместо такого согласования могут быть использованы сведения, содержащиеся в
каталоге изготовителя. 7.6.4.4
Способы соединения вспомогательных цепей Соединение
вспомогательных цепей может осуществляться либо с помощью инструмента, либо без
него. В
случае выдвижных частей предпочтение отдают способу соединения вспомогательных
цепей без помощи инструмента. 7.6.5
Обозначения Таблица 6 -
Электрические соединения, соответствующие положению выдвижных частей
7.6.5.1 Обозначения
проводников главной и вспомогательной цепей За
исключением случаев, приведенных в 7.6.5.2,
способ и места обозначения проводников, например с помощью цифр, цветов или
знаков, устанавливает изготовитель; они должны соответствовать обозначениям,
принятым на схемах и чертежах. Эти обозначения могут ограничиваться маркировкой
концов проводников. Там где возможно следует использовать обозначения согласно ГОСТ Р
50462 и МЭК 60445 [2]. 7.6.5.2 Обозначение нулевых
защитного (РЕ) и рабочего (N) проводников
главной цепи Нулевые
защитный (РЕ) и рабочий (N) проводники
должны легко различаться по форме, расположению, маркировке или цвету друг от
друга и от других проводников внутренних цепей НКУ. Цветовая маркировка
проводников должна соответствовать ГОСТ Р
50462. Зажимы для внешних нулевых защитных проводников должны обозначаться
знаком защита 7.6.5.3
Направление действий и обозначение
положений переключения Направление
действий и обозначений положений переключения должны соответствовать
техническим условиям на применяемые аппараты. В установленном в НКУ положении
направления движения органов управления аппаратов должны соответствовать ГОСТ
21991. 7.6.5.4
Индикаторные лампы и кнопки Цвета
индикаторных ламп и кнопок должны соответствовать ГОСТ 29149. 7.7
Внутреннее разделение НКУ ограждениями или перегородками
Разделение
НКУ перегородками или ограждениями (металлическими или неметаллическими) на
отдельные отсеки или огражденные подсекции обеспечивает: -
защиту от контакта с токоведущими частями, относящимися к соседним
функциональным блокам. Степень защиты должна быть не менее IP2X или IPXXB; -
ограничение вероятности случайного возникновения дуги. Примечания: 1 Отверстия между отсеками должны быть такими,
чтобы газы, выделяемые защитным устройством от коротких замыканий, не нарушали
нормальной работы функциональных блоков соседних отсеков. 2 Последствия возникшей дуги
могут быть значительно уменьшены с помощью устройств, ограничивающих величину и
продолжительность тока короткого замыкания; -
защиту от переноса твердых инородных частиц с одного блока НКУ на соседний.
Степень защиты должна быть не менее IP2X. Ниже
приведены типичные виды разделения с помощью ограждений или перегородок (см.
примеры в приложении D): 1 -
разделение отсутствует; 2а
- разделение сборных шин и функциональных блоков. Зажимы для внешних
проводников необязательно отгораживать от сборных шин; 2б
- разделение сборных шин и функциональных блоков. Зажимы для внешних
проводников отгорожены от сборных шин; 3а
- разделение сборных шин и функциональных блоков, а также функциональных блоков
друг от друга, за исключением их зажимов для внешних проводников. Зажимы для
внешних проводников необязательно отгораживать от сборных шин; 3б
- разделение сборных шин и функциональных блоков и разделение всех
функциональных блоков друг от друга. Разделение зажимов для внешних проводников
от функциональных блоков, но не друг от друга; 4 -
разделение сборных шин от функциональных блоков и всех функциональных блоков
друг от друга, включая их выходные зажимы. Виды
разделения и наибольшие степени защиты, обеспечиваемые ими, подлежат
согласованию между изготовителем и потребителем. 7.8 Электрические соединения внутри НКУ - шины и изолированные
проводники
7.8.1
Общие сведения Соединения
токоведущих частей не должны быть подвержены значительным изменениям при
нормальных повышениях температуры, старении изоляционных материалов и вибрации,
имеющих место при нормальной эксплуатации. Особо следует учитывать влияние
теплового расширения, электролитическое взаимодействие разнородных металлов, а
также стойкость материалов к воздействующим температурам. Соединения
между токоведущими частями должны осуществляться средствами, обеспечивающими
необходимое и стойкое контактное нажатие. 7.8.2 Размеры и номинальные
характеристики шин и изолированных проводников Сечения
проводников должны соответствовать протекающим в цепях токам. При выборе
сечений проводников необходимо также принимать во внимание механические
нагрузки, которым подвергается НКУ, способ прокладки проводников, тип изоляции
и виды присоединяемых элементов (например, электронных). 7.8.3
Прокладка проводников (см. также 7.8.2) 7.8.3.1
Изолированные проводники должны быть рассчитаны не менее чем на номинальное
напряжение изоляции соответствующей цепи (4.1.2). 7.8.3.2
Проводники между двумя присоединяемыми устройствами не должны иметь
промежуточных скруток или паяных соединений. Соединения (по возможности) должны
производиться на неподвижных зажимах. 7.8.3.3
Изолированные проводники не должны соприкасаться с неизолированными частями, находящимися
под напряжением с различными потенциалами, или с острыми кромками и должны быть
соответствующим образом закреплены. 7.8.3.4
Питание к аппаратуре и измерительным приборам, установленным на съемных
элементах оболочки или двери, следует подводить таким образом, чтобы не могло
произойти механического повреждения проводников в результате перемещения
элементов или дверей. В
случаях, когда в условиях нормальной работы такая аппаратура подвергается
сильной вибрации, соединения кабелей и проводов, выполненные пайкой, необходимо
дополнительно закреплять вблизи места пайки. 7.8.3.6
Особое внимание следует уделять закреплению проводников в местах,
подвергающихся сильной вибрации в условиях эксплуатации, например на
экскаваторах, кранах, судах, подъемном оборудовании и локомотивах. В условиях
сильной вибрации пайка кабельных наконечников или лужение концов многожильных
проводников не допускается, за исключением случаев, предусмотренных в 7.8.3.5. 7.8.3.7
Как правило, к одному контактному зажиму следует присоединять только один
проводник. Присоединение к одному контактному зажиму двух или более проводников
допускается только в случае, если контактные зажимы предназначены для этого. 7.9 Требования к цепям питания электронного оборудования
При
отсутствии других указаний в стандартах на электронное оборудование должны
выполняться следующие требования. 7.9.1 Колебания входного
напряжения* 1)
Диапазон напряжения питания от аккумуляторных источников должен быть равен
номинальному напряжению питания ± 15 %. Примечание - Этот диапазон не включает в себя дополнительное напряжение,
требуемое для зарядки аккумуляторов. 2)
Диапазон входного напряжения постоянного тока, получаемого путем выпрямления
напряжения питания переменного тока (см. перечисление 3), должен достигаться
при преобразовании. 3)
Диапазон напряжения питания от источников переменного должен быть равен
номинальному входному напряжению ± 10 %. 4)
Большие отклонения от указанных подлежат согласованию между изготовителем и
потребителем. 7.9.2
Перенапряжение* * В соответствии с ГОСТ 30042. Значения
перенапряжения питания указаны на рисунке 1,
где представлено наложение апериодического напряжения, на номинальное
амплитудное напряжение питания в небольшом временном диапазоне. НКУ должны быть
спроектированы таким образом, чтобы их работоспособность сохранялась при
наличии перенапряжений, не превышающих значений, представленных на кривой 1. При
значениях перенапряжения в диапазоне между кривыми 1 и 2 должно происходить
отключение НКУ защитным устройством. При этом до достижения амплитудного
значения напряжения 2 U + 1000 В НКУ не
должно иметь повреждений. Примечания 1 Переходные интервалы менее 1 с находятся в
стадии рассмотрения. 2 Предполагается, что перенапряжения,
превышающие указанные, должны ограничиваться принятием соответствующих мер. 3 См. также МЭК 60158-2 [7].
Рисунок 1 7.9.3
Форма волны* * См. МЭК 60146-2 [8]. Гармоники
входного напряжения переменного тока питания НКУ, содержащего электронное
оборудование, ограничиваются следующими пределами: 1)
относительное содержание гармоник не должно превышать 10 %, т.е. основная
составляющая должна быть больше или равной 99,5 %; 2)
гармонические составляющие не должны превышать значений, указанных на рисунке 2. Примечания 1 Предполагается, что блок отключен, а полное
сопротивление источника питания, если его величина значительна, было
согласовано между изготовителем и потребителем. 2 Для электронного управляющего и контрольного
оборудования рекомендуется использовать одни и те же величины; 3) мгновенное значение
высших гармонических составляющих в напряжении питания переменного тока не
должно превышать более чем на 20 % амплитудное значение основной составляющей. п - порядок гармонической составляющей; Un - действующее значение гармоники порядка п; UN - действующее значение
номинального напряжения сети Рисунок 2 -
Максимально допустимая гармоническая составляющая номинального напряжения сети 7.9.4 Временные колебания напряжения и частоты При
наличии временных колебаний оборудование НКУ должно работать нормально при
следующих условиях: a)
падение напряжения не должно превышать 15 % от номинального напряжения и
продолжаться не более 0,5 с; b)
колебания частоты должны быть меньше или равны ± 1 % номинальной частоты.
Большее допустимое отклонение согласовывается между изготовителем и
потребителем; c)
изготовитель обязан указывать максимальную допустимую продолжительность
отключения напряжения питания НКУ в технической информации. 7.10 Электромагнитная совместимость
7.10.1
НКУ не содержащие электронного оборудования. 7.10.1.1
Защищенность (устойчивость) НКУ,
не содержащее электронного оборудования, нечувствительны к обычным
электромагнитным воздействиям (помехам) и, поэтому, не требуют испытаний на
защищенность (устойчивость). 7.10.1.2
Излучения Если
электромагнитные помехи генерируются аппаратами только при операциях
переключения и ограничиваются коммутационными перенапряжениями,
продолжительность которых измеряется миллисекундами, а их амплитуда не
превышает номинальное импульсное выдерживаемое напряжение соответствующей цепи
(ей), то требования по защите от электромагнитных излучений считают
выполненными, и нет необходимости в их проверке. 7.10.2
НКУ, содержащие электронное оборудование Электронное
оборудование, встраиваемое в НКУ, должно полностью удовлетворять требованиям по
защите и излучению электромагнитных помех соответствующих стандартов. 7.11
Обозначение типов электрических соединений функциональных блоков
Типы
электрических соединений функциональных блоков внутри НКУ или их частей должны
обозначаться кодом из трех букв: -
первая буква обозначает тип электрического соединения главной входящей цепи; -
вторая буква обозначает тип электрического соединения главной выходящей цепи; -
третья буква обозначает тип электрического соединения вспомогательной цепи.
Должны применяться следующие буквы: F - для стационарных соединений (2.2.13.1); D - для разъемных соединений (2.2.13.2); W - для выдвижных соединений (2.2.13.3). 8 Виды и методы
испытаний
8.1 Виды испытаний
Испытания
для проверки характеристик НКУ включают в себя: -
типовые испытания (8.1.1 и 8.2); -
приемосдаточные испытания (8.1.2 и
8.3). Изготовитель
по требованию потребителя должен уточнить основы для этих проверок. Перечень
проверок и испытаний для ПИ НКУ и ЧИ НКУ приведен в таблице 7. Примечание - Виды испытаний НКУ и их наименования приняты по МЭК
60439-1. Для продукции внутренней поставки в соответствии с ГОСТ
16504 предусматриваются следующие виды испытаний: квалификационные,
периодические, приемосдаточные и типовые. Программа типовых испытаний по
настоящему стандарту является основой для установления программ любых
контрольных испытаний НКУ, в том числе для НКУ, эксплуатирующихся в особых условиях,
согласно 6.2. 8.1.1 Типовые испытания
(см. 8.2) Типовые
испытания предназначены для проверки соответствия НКУ требованиям, изложенным в
настоящем стандарте. Типовые
испытания проводят на образце такого типа НКУ или на таких его частях, которые
изготовлены по тому же или аналогичному проекту. Типовые
испытания проводит изготовитель. Таблица 7 - Перечень
проверок и испытаний, проводимых на ПИ НКУ и ЧИ НКУ
Типовые испытания включают проверки: a)
предельных значений превышения температуры (8.2.1); b)
диэлектрических свойств (8.2.2); c)
прочности при коротких замыканиях (8.2.3); d) непрерывности цепи защиты (8.2.4); e)
зазоров и длин путей утечки (8.2.5); f) работоспособности механических частей (8.2.6); g) степени защиты (8.2.7). Эти
испытания допускается проводить в любом порядке и/или на различных образцах
одного и того же типа. При
внесении изменений в конструкцию НКУ должны быть выполнены типовые испытания в
объеме, соответствующем вносимым изменениям. 8.1.2 Приемосдаточные испытания
(8.3) Приемосдаточные
испытания предназначены для обнаружения возможных дефектов, допущенных при
изготовлении НКУ. Их проводят на каждом НКУ после его сборки или на каждой
транспортной секции. Повторные испытания на месте монтажа не проводят. Если
типовые блоки изготавливаются одним предприятием и предназначаются
исключительно для изготовителя, осуществляющего сборку НКУ в целом, то
приемосдаточные испытания должен проводить изготовитель НКУ. Приемосдаточные
испытания включают в себя: a)
осмотр НКУ, включая проверку монтажа, и, в случае необходимости, испытание на
работоспособность (8.3.1); b)
диэлектрические испытания (8.3.2); c)
проверку средств защиты и электрической непрерывности цепи защиты (8.3.3). Эти испытания могут
проводиться в любом порядке. Примечание - Проведение приемосдаточных испытаний изготовителем НКУ
не освобождает организацию, осуществляющую его установку, от необходимости
проведения испытания НКУ после транспортирования и установки. 8.1.3
Испытания аппаратов и отдельных
комплектующих, встроенных в НКУ Типовые
и приемосдаточные испытания не проводят для аппаратов или отдельных
комплектующих, встроенных в НКУ, если их выбор проводился в соответствии с
требованиями 7.6.1, а монтаж
осуществлялся согласно инструкциям изготовителя. 8.2
Типовые испытания
8.2.1 Проверка предельных
значений превышения температуры 8.2.1.1
Общие сведения Целью
испытаний является проверка предельных значений превышения температуры на
соответствие требованиям 7.3 для
различных частей НКУ. Испытание
обычно проводят при номинальных значениях тока в соответствии с 8.2.1.3 на собранном НКУ. Испытания
могут проводиться с помощью резисторов в качестве нагревателей с эквивалентной
мощностью потерь в соответствии с 8.2.1.4. Допускается
испытывать отдельные части (панели, ящики, оболочки и т.д.) НКУ (согласно 8.2.1.2) при принятии мер,
обеспечивающих надежность результатов. Испытания
отдельных цепей на превышение температуры должно проводиться током, для
которого цепи предназначены, и при соответствующей частоте. Величины напряжения
при испытании должны быть такими, чтобы через цепи проходил ток, равный
указанному в 8.2.1.3. На катушки
реле, контакторов, расцепителей и подобных элементов должно подаваться
номинальное напряжение. НКУ
открытого типа не испытывают на превышение температуры, если по результатам
типовых испытаний отдельных частей или по сечению проводов и размещению
аппаратов очевидно, что при эксплуатации не произойдет чрезмерного превышения
температуры и не будут повреждены оборудование, соединенное с НКУ, и части из
изоляционного материала. Проверка
предельных значений превышения температуры нагрева для ЧИ НКУ должна
осуществляться испытанием в соответствии с 8.2.1 или экстраполяцией. Примечание - Пример применения метода экстраполяции приведен в МЭК
60890 [9]. НКУ
должно быть установлено так же, как на месте эксплуатации, со всеми элементами
оболочки и т.д. При
испытании отдельных частей или конструктивных блоков соседние части или
конструктивные блоки должны создавать такие же температурные условия, как и при
нормальной эксплуатации. При этом в качестве нагревателей могут использоваться
резисторы. Это
испытание должно проводиться на одном или более характерных соединениях цепей
данного НКУ, с тем чтобы с достаточной точностью получить максимально возможное
значение превышения температуры. Для
этого испытания каждую цепь нагружают номинальным током (4.2), умноженным на коэффициент одновременности (4.8). Если в НКУ имеются плавкие
предохранители, то при испытаниях они должны снабжаться плавкими вставками,
соответствующими указаниям изготовителя. Потери мощности в плавких вставках,
примененных в испытаниях, должны быть отражены в протоколе испытаний. Размеры
и расположение внешних проводов, используемых при испытании, также должны быть
отражены в протоколе испытаний. Испытание
должно проводиться в течение времени, достаточного для повышения температуры до
постоянного значения (как правило, это время не превышает 8 ч). Практически это
условие выполняется при изменении температуры не более 1 °С/ч. Примечания 1 В целях ускорения испытаний, если аппаратура
это позволяет, ток может быть увеличен в первой части испытания, после чего его
снижают до установленного испытательного значения. 2 Если во время испытания
возбуждается электромагнит в цепи управления, то температуру измеряют при
достижении теплового равновесия как в главной цепи, так и в электромагните цепи
управления. При
отсутствии подробной информации относительно внешних проводников и условий
эксплуатации поперечное сечение внешних испытательных проводников должно быть
следующим. 8.2.1.3.1
При
значениях испытательного тока до 400 А включительно а)
Для соединений следует использовать одножильные медные кабели или изолированные
провода, поперечные сечения которых приведены в таблице 8. b) Насколько это практически выполнимо,
проводники должны располагаться открыто. с)
Минимальная длина каждого временного соединения между зажимами должна быть: 1 м
- для проводов сечением до 35 мм2 включительно; 2 м
- для проводов сечением свыше 35 мм2. Таблица 8 - Стандартные
сечения медных проводов, соответствующие испытательному току
8.2.1.3.2 При значениях
испытательного тока свыше 400, но не более 800 А a)
В качестве проводников должны использоваться одножильные медные кабели с
изоляцией из поливинилхлорида, сечения которых даны в таблице 9, или эквивалентные медные шины,
указанные в таблице 9, выбираемые в
соответствии с указаниями изготовителя. b) Медные кабели или шины должны
располагаться на расстоянии, приблизительно равном расстоянию между зажимами.
Медные шины должны иметь черно-матовую отделку поверхности. Параллельные
кабели, присоединяемые к одному зажиму, должны быть сгруппированы так, чтобы на
расстояние между ними было около 10 мм. Параллельные медные шины,
присоединяемые к одному зажиму, должны быть расположены на расстоянии друг от
друга, равном их толщине. Если размеры, указанные для шин, не могут быть выдержаны,
допускается использование других шин, имеющих близкие по величине сечения, а
также приблизительно такие же или меньшие поверхности охлаждения. Между
кабелями или медными шинами пространство не должно быть заполнено. с)
Для одно- и многофазных испытаний минимальная длина любого временного
соединения до источника напряжения должна быть 2 м. Минимальная длина при
соединении звездой может быть уменьшена до 1,2 м. 8.2.1.3.3
При значениях испытательного тока свыше 800,
но не более 3150 А в)
В качестве проводников должны использоваться медные шины с сечениями,
указанными в таблице 9, за
исключением случая, когда НКУ рассчитано на соединение исключительно только с
помощью кабелей. В этом случае размеры и расположение кабелей указывает
изготовитель. b)
Медные шины должны располагаться на расстояниях, приблизительно равных
расстоянию между зажимами. Медные шины должны иметь черно-матовую отделку
поверхности. Параллельные медные шины, присоединяемые к одному зажиму, должны
располагаться на расстоянии, равном примерно их толщине. Если размеры,
указанные для шин, не могут быть выдержаны, допускается использование других
шин, имеющих близкие по величине сечения, а также приблизительно такие же или
меньшие поверхности охлаждения. Между медными шинами пространство не должно
быть заполнено. c)
Для одно- и многофазных испытаний минимальная длина любого временного
соединения до источника напряжения должна быть 3 м, но может быть уменьшена до
2 м при условии, что превышение температуры на конце участка, соединенном с
источником напряжения, будет не более чем на 5 °С ниже превышения температуры в середине соединительного участка.
Минимальная длина при соединении звездой может быть уменьшена до 2 м. Таблица 9 - Стандартные
сечения медных проводников, соответствующие испытательному току
8.2.1.3.4 При значениях испытательного тока свыше 3150 А Между
изготовителем и потребителем должно быть заключено соглашение по всем
соответствующим условиям испытаний, таких как вид питания, число фаз и частота
(если необходимо), сечение испытательных проводников и т.д. Эти сведения должны
быть отражены в протоколе испытаний. Примечание - Использование однофазного переменного тока для
испытания многофазных НКУ допускается в случаях, когда магнитные эффекты
настолько слабы, что ими можно пренебречь. Для
некоторых типов закрытых НКУ, главные и вспомогательные цепи которых имеют
сравнительно малые минимальные токи, мощность потерь может имитироваться с
помощью резисторов, которые выделяют такое же количество тепла и размещены в
соответствующих местах внутри оболочки. Сечения
проводников, присоединяемых к этим сопротивлениям, должно быть таким, чтобы за
пределы оболочки не выделялось существенно заметного количества тепла. Испытания,
проводимые с использованием резисторов, могут быть распространены на все НКУ,
имеющие одинаковые оболочки, даже если в них содержится различная аппаратура,
при условии, что сумма мощностей потерь встроенной аппаратуры с учетом
коэффициента одновременности не превышает значения мощности потерь при
испытании. Температура
нагрева встроенной аппаратуры не должна превышать значений, приведенных в
таблице 3. Она может быть вычислена
приближенно. Для этого нужно к температуре нагрева данного аппарата, измеренной
на открытом воздухе, прибавить разницу между температурой внутри оболочки и
температурой воздуха, окружающего оболочку. Для
измерения температур должны использоваться термометры и термопары. Для обмоток,
как правило, следует использовать метод измерения температуры по изменению
сопротивления. Для измерения температуры воздуха внутри НКУ следует
устанавливать в соответствующих местах измерительные приборы. Термометры
и термопары должны быть защищены от потока воздуха и теплового излучения. 8.2.1.6 Температура
окружающего воздуха Температура
окружающего воздуха должна измеряться в последнюю четверть периода испытания с
помощью по крайней мере двух термометров или термопар, которые размещают вокруг
НКУ на высоте, равной примерно 1/2 высоты НКУ, и на расстоянии около 1 м от НКУ
- через равные промежутки. Термометры и термопары должны быть защищены от
потоков воздуха и теплового излучения. Если
температура окружающего воздуха во время испытания находится в интервале 10 -
40 °С, то значения,
приведенные в таблице 3 являются
предельными значениями превышения температуры (температуры нагрева). Если
температура окружающего воздуха во время испытания превышает 40 или ниже плюс
10 °С, то настоящий стандарт теряет силу. В этом случае между изготовителем и
потребителем должно быть заключено специальное соглашение. 8.2.1.7
Результаты испытаний В
конце испытания превышение температуры не должно быть больше значений,
приведенных в таблице 3. Аппаратура
должна работать удовлетворительно при значениях напряжения, находящихся в
пределах, допустимых для нее при данной температуре внутри НКУ. 8.2.2 Проверка диэлектрических
свойств 8.2.2.1
Общие сведения Для
частей НКУ, которые уже прошли типовые испытания в соответствии с техническими
условиями, проверку электрической прочности их изоляции не проводят, если
электрическая прочность этих частей не ухудшилась во время монтажа. Кроме
того, это испытание не проводят на ЧИ НКУ, сопротивление изоляции которых уже
было испытано в соответствии с 8.3.4. Если
в НКУ имеется защитный проводник, изолированный от открытых проводящих частей
согласно 7.4.3.2.2d, то этот
проводник следует рассматривать как отдельную цепь, т.е. он должен быть испытан
при том же напряжении, что и главная цепь, к которой он принадлежит. Испытания
должны проводиться: -
согласно 8.2.2.6.1 - 8.2.2.6.4, если изготовитель
указал величину номинального импульсного выдерживаемого напряжения Uimp (4.1.3); -
согласно 8.2.2.2 - 8.2.2.5 во всех других случаях. 8.2.2.2 Испытания оболочек
изготовленных из изоляционного материала Для
оболочек, изготовленных из изоляционного материала, должно быть проведено
дополнительное испытание диэлектрических свойств приложением испытательного
напряжения между металлической фольгой, наложенной с наружной стороны оболочки
на отверстия и стыки, и соединенными между собой токоведущими и открытыми
проводящими частями, которые расположены внутри оболочки и находятся рядом с
отверстиями и стыками. При испытании напряжение должно быть в 1,5 раза больше
значений, приведенных в таблице 10. Примечание - Испытательные напряжения для оболочек НКУ, в которых
защита от поражения электрическим током выполняется при помощи полной изоляции,
находятся в стадии рассмотрения. 8.2.2.3
Наружные рукоятки управления из
изоляционного материала Для
рукояток управления из изоляционного материала или покрытых изоляционным
материалом в соответствии с 7.4.3.1.3
диэлектрические свойства должны испытываться приложением напряжения, в 1,5 раза
превышающим испытательное напряжение, указанное в таблице 10, между токоведущими частями и металлической фольгой,
обернутой вокруг всей поверхности рукоятки. Во время испытания
металлоконструкция не должна быть заземлена или соединена с какой-либо другой
цепью. 1)
всеми токоведущими частями и соединенными между собой открытыми проводящими
частями НКУ; 2)
каждым полюсом и всеми другими полюсами, присоединенными при проведении этого
испытания к соединенным между собой открытым проводящим частям НКУ. Таблица 10 В вольтах
Испытательное напряжение в момент его приложения не должно
превышать 50 % от значений, приведенных в таблице 10. После этого оно должно плавно повышаться в течение
нескольких секунд до полного значения, указанного в 8.2.2.4.1, и выдерживается в течение 1 мин.
Источники переменного тока должны обладать достаточной мощностью для
поддержания испытательного напряжения независимо от любых токов утечки.
Испытательное напряжение должно иметь практически синусоидальную форму волны и
частоту от 45 до 62 Гц. Значение
испытательного напряжения должно быть следующим. 8.2.2.4.1 Для главной цепи, а также для вспомогательных цепей, не
оговоренных в 8.2.2.4.2, - согласно таблице 10. 8.2.2.4.2 Для вспомогательных цепей, которые по указанию
изготовителя не должны непосредственно присоединяться к главной цепи, -
согласно таблице 11. Таблица 11 В вольтах
Изделие
считают выдержавшим испытание, если не произошло пробоя или перекрытия по
поверхности. 8.2.2.6 Испытание импульсным
выдерживаемым напряжением Испытуемые НКУ должны быть полностью
смонтированы на своем основании или эквивалентной опоре как при нормальной
эксплуатации в соответствии с инструкцией изготовителя и при условиях
окружающей среды, указанных в 6.1. Все рукоятки управления из изоляционного
материала и внешние неметаллические оболочки встроенного
оборудования, предназначенные для использования без дополнительных оболочек,
должны быть покрыты металлической фольгой, соединенной с рамой или монтажной
плитой. Фольга должна быть наложена по всей поверхности, доступной
прикосновению при испытании стандартным пальцем. (Испытательный щуп В по ГОСТ
14254). 8.2.2.6.2 Испытательные напряжения Испытательные
напряжения должны соответствовать 7.1.2.3.2
и 7.1.2.3.3. По
согласованию с изготовителем испытание может проводиться переменным напряжением
промышленной частоты или напряжением постоянного тока, приведенным в таблице 13. Допускается
отключать во время этих испытаний разрядники при условии, что характеристики
разрядников известны. Однако оборудование со встроенными средствами ограничения
перенапряжения должно подвергаться испытаниям импульсным напряжением. Энергия,
развивающаяся при испытательном токе, не должна превышать номинальной мощности
средств ограничения перенапряжения. Примечание - Номинальные значения параметров средств ограничения
перенапряжения должны соответствовать их назначению. Номинальные параметры
находятся в стадии рассмотрения. a)
Импульс напряжения длительностью 1,2/50 мкс должен прикладываться три раза для
каждой полярности с интервалом минимум 1 с. b)
Переменное напряжение промышленной частоты или напряжение постоянного тока
должны прикладываться соответственно в течение трех периодов при напряжении
переменного тока или в течение 10 с для каждой полярности при напряжении
постоянного тока. Зазоры,
равные или меньшие значений для случая А таблицы 14, могут быть проверены измерением по методике,
приведенной в приложении F. 8.2.2.6.3 Места приложения испытательного напряжения Испытательное
напряжение должно прикладываться между: a)
каждой токоведущей частью (включая цепи управления и вспомогательные цепи,
присоединенные к главной цепи) и взаимосвязанными открытыми проводящими частями
НКУ; b)
каждым полюсом главной цепи и другими полюсами; c)
каждой цепью управления и вспомогательной цепью, нормально не соединенными с
главной цепью(ями), и: -
главной цепью; -
другими цепями; -
открытыми проводящими частями; -
оболочкой или монтажной плитой (панелью). При
отсоединенном положении выдвижных частей напряжение должно прикладываться к
изоляционному зазору между питающей стороной и выдвижной частью, а также между
вводным зажимом и зажимом нагрузки соответственно. 8.2.2.6.4 Результаты испытаний Во
время испытаний не должно происходить непреднамеренного пробивного разряда. Примечания 1 Исключением является создание
преднамеренного пробивного разряда с заданной целью, например переходного
напряжения в средствах ограничения перенапряжений. 2 Термин «разряд при пробое» относится к
явлению, связанному с повреждением изоляции при электрическом напряжении, при
котором разряд полностью шунтирует изоляцию при испытании, уменьшая напряжение
между электродами до нуля или близко к нулю. 3 Термин «искровой пробой» употребляется,
когда разряд или пробой происходит в газообразном или жидком диэлектрике. 4 Термин «перекрытие изоляции» употребляется,
когда разряд при пробое происходит по поверхности диэлектрика в газообразной
или жидкой среде. 5 Термин «разрушающий пробой» используется,
когда разряд при пробое происходит через твердый диэлектрик. 6 Разряд при пробое в
твердом диэлектрике вызывает непрерывное снижение электрической прочности; в
жидком или газообразном диэлектрике это снижение может быть только временным. Измеренные
длины путей утечки с учетом группы материала и степени загрязнения должны
полностью соответствовать требованиям 7.1.2.3.5. 8.2.3 Проверка прочности при
коротком замыкании 8.2.3.1.2
для НКУ, защищенных токоограничивающими аппаратами с током отключения не выше
15 кА при номинальной отключающей способности; 8.2.3.1.3 для вспомогательных цепей, предназначенных для
присоединения к трансформаторам, номинальная мощность которых не превышает 10
кВ×А при
номинальном вторичном напряжении не менее 110 В или 1,6 кВ×А при номинальном вторичном напряжении, меньшем 110 В, у
которых относительное напряжение короткого замыкания не меньше 4 %. 8.2.3.1.4
для всех частей НКУ (главные шины, опоры для шин, соединения с шинами, блоки
ввода или вывода, коммутационные аппараты и т.д.), прошедших ранее типовые
испытания. Примечание - Примерами коммутационных устройств являются устройства,
номинальный условный ток короткого замыкания которых соответствует требованиям
ГОСТ 50030.3 или пускатели для двигателей, снабженные устройствами защиты от
короткого замыкания согласно ГОСТ 30011.4.1. 8.2.3.2 Цепи НКУ, которые
должны испытываться на прочность при коротком замыкании Это относится ко всем цепям, не
упомянутым в 8.2.3.1. 8.2.3.2.1 Подготовка испытаний НКУ
или его части должны быть установлены как при нормальной эксплуатации. За
исключением испытаний на шинах и в зависимости от вида конструкции НКУ,
достаточно провести испытание только одного функционального блока при условии,
что остальные функциональные блоки имеют подобную конструкцию и не могут
повлиять на результаты испытаний. 8.2.3.2.2 Проведение испытаний Общие сведения Если
испытательная цепь содержит плавкие предохранители, то следует использовать
плавкие вставки на максимальный номинальный ток, и, если требуется, того типа,
который указан изготовителем. Питающие
проводники и замыкающие перемычки, используемые при испытании НКУ, должны
обладать достаточной прочностью, чтобы выдерживать короткое замыкание, и
располагаться таким образом, чтобы не создавать дополнительных нагрузок на
испытуемый образец. Если
соглашением не предусмотрены другие требования, то испытательная цепь должна
присоединяться к входным зажимам НКУ. Трехфазные НКУ должны присоединяться к
трехфазным цепям. Для
проверки всех номинальных выдерживаемых токов короткого замыкания (4.3 - 4.6) значение ожидаемого тока короткого замыкания при
напряжении питания, равном 1,05 номинального рабочего напряжения, следует
определять по калибровочной осциллограмме, которую снимают при закороченных
проводниках питания. Закорачивание осуществляют путем подсоединения как можно
ближе к питающему вводу небольшого сопротивления. Из осциллограммы должно быть
видно, что до момента срабатывания защитного устройства или в течение заданного
периода времени ток имеет относительно постоянный характер, приближающийся к
значению, указанному в 8.2.3.2.4. При
испытаниях на переменном токе частота в испытуемой цепи должна быть равна
номинальной частоте с отклонениями порядка 25 %. Все
части оборудования, включая оболочку, присоединяемые при эксплуатации к
защитному проводнику, должны присоединяться следующим образом: 1)
НКУ, предназначенные для использования в трехфазных четырехпроводных системах (см.
также ГОСТ 29322) с заземленной нулевой точкой при соединении «звездой» и
имеющие соответствующую маркировку, - к нейтрали источника питания или к
индуктивной искусственной нейтрали, допускающей протекание предполагаемого тока
повреждения не менее 1500 А; 2)
НКУ, предназначенные для использования как в трехфазных трехпроводных системах,
так и в трехфазных четырехпроводных системах и имеющие соответствующую
маркировку, - к фазе, которая с наименьшей вероятностью может быть пробита на
землю. Примечание - Методы маркирования и обозначения - в стадии
рассмотрения. В испытательную цепь* должно быть включено надежное устройство
(например, плавкий предохранитель из медной проволоки диаметром 0,8 мм и длиной
не менее 50 мм) для обнаружения тока повреждения. Ток отключения плавкого
элемента цепи должен быть 1500 А ± 10 %, за исключением примечаний 2 и 3. В
случае необходимости должно использоваться омическое сопротивление для
ограничения тока до этого значения. * См. ГОСТ Р 50030.1 (рисунки 3 - 6). Примечания 1 Медная проволока диаметром 0,8 мм должна
расплавиться при токе 1500 А примерно в течение половины первого периода при
частоте от 45 до 67 Гц (или 0,01 с при постоянном токе). 2 Ожидаемый ток повреждения может быть менее
1500 А в случае небольшого оборудования согласно требованиям соответствующего
стандарта на продукцию. В этом случае требуется проволока меньшего диаметра
(см. примечание 4) с тем же временем плавления, что и в примечании 1. 3 В случае, если источник питания имеет
искусственную нейтраль, по согласованию с изготовителем может быть принято
меньшее значение ожидаемого тока повреждения. В этом случае требуется медная
проволока меньшего диаметра (см. примечание 4) с тем же временем плавления, что
и в примечании 1. 4 Соотношение между
ожидаемым током плавления плавкого элемента цепи и диаметром медной проволоки
должно соответствовать таблице 12. 8.2.3.2.3 Испытание главной цепи НКУ,
содержащие сборные шины, должны подвергаться испытаниям, указанным ниже в
подпунктах а), b) и d). НКУ,
не содержащие сборных шин, подвергают испытанию, указанному в подпункте а). НКУ,
не отвечающие требованиям 7.5.5.1.2,
подвергают дополнительному испытанию, указанному в подпункте с). a) Если в выходной цепи содержится блок, который ранее не был
испытан, то должно быть проведено следующее испытание. Для
испытания выходной цепи соответствующие выводные зажимы должны быть замкнуты болтовым
соединителем. Если защитным устройством в отходящей цепи является
автоматический выключатель, в испытуемую цепь может быть включено шунтирующее
сопротивление согласно 8.3.4.1.2b ГОСТ Р 50030.1
параллельно с индуктивным реактором, служащим для установления тока короткого
замыкания. Автоматический
выключатель, имеющий номинальный ток до 630 А включительно, должен быть включен
в испытуемую цепь посредством кабеля длиной 0,75 м, имеющим сечение,
соответствующее условному тепловому току (ГОСТ Р 50030.1, таблицы 9 и 10). Коммутационное
устройство должно быть замкнуто и находиться в замкнутом положении как при
нормальной эксплуатации, испытательное напряжение прикладывают один раз в
течение времени, достаточного для срабатывания защитного устройства от
короткого замыкания в блоке вывода и его отключения; в любом случае
продолжительность приложения испытательного напряжения должна быть не менее 10
периодов. b) НКУ, содержащие сборные шины, следует подвергать дополнительному
однократному испытанию с целью проверки прочности при коротком замыкании
сборных шин и входной цепи, включая все соединения. Точка, в которой создают
короткое замыкание, должна находиться на расстоянии (2 ± 0,40) м от ближайшей
точки подвода питания. При проверке номинального кратковременно выдерживаемого
тока (4.3) и номинального ударного
тока (4.4) это расстояние может быть
увеличено. При
проведении испытания при более низком напряжении испытательный ток должен быть
равен номинальному значению тока короткого замыкания (см. 8.2.3.2.4b). Если
конструкция НКУ такова, что длины испытуемых шин менее 1,6 м и НКУ не
предназначено для расширения, тогда испытанию подвергают шины полной длины, и
короткое замыкание должно быть выполнено на концах этих шин. Если
сборные шины состоят из различных секций (отличающихся сечением, расстоянием
между соседними шинами, типом и количеством опор на 1 м), то каждую секцию
следует испытывать отдельно. Совместное испытание секций может проводиться,
если выполняются перечисленные выше условия. c) Короткое замыкание достигается с помощью болтового соединения
проводников, соединяющих сборные шины с одним из блоков вывода как можно ближе
к зажимам блока. Значение тока короткого замыкания должно быть таким же, как
для сборных шин. d) Если имеется нейтральная шина, то ее необходимо
подвергнуть однократному испытанию для проверки прочности при коротком
замыкании по отношению к ближайшей фазной шине, содержащей по крайней мере одно
соединение. При соединении нейтральной шины с этой фазной шиной следует
выполнять требования, указанные в 8.2.3.2.3b. В случае отсутствия
специального соглашения между изготовителем и потребителем значение
испытательного тока в нейтральной шине должно составлять 60 % от фазного
испытательного тока. Таблица 12
8.2.3.2.4 Значение и продолжительность тока короткого замыкания a)
НКУ с защитным устройством от короткого замыкания, включенным в блок ввода (7.5.2.1.1) Ток, соответствующий
указанному ожидаемому току короткого замыкания, должен протекать до тех пор,
пока он не будет отключен защитным устройством. b) НКУ, не содержащие защитного устройства от короткого
замыкания в блоке ввода (7.5.2.1.2)
Электродинамическую и термическую стойкость к воздействию любого из номинальных
выдерживаемых токов короткого замыкания следует проверять ожидаемым током
короткого замыкания со стороны питания применяемого защитного устройства, если
оно имеется, равным по величине номинальному кратковременно выдерживаемому
току, номинальному ударному току короткого замыкания, номинальному условному
току короткого замыкания, отключаемому плавким предохранителем, указанным
изготовителем. В
случае трудностей в проведении испытаний кратковременно выдерживаемыми и
ударными токами при максимальном рабочем напряжении, испытания согласно 8.2.3.2.3 b), с),
d) могут
проводиться при любом возможном напряжении, при этом фактический испытательный
ток должен быть равен номинальному кратковременно выдерживаемому или ударному
току. Это должно быть зафиксировано в протоколе испытаний. Однако если во время
испытаний произойдет хотя бы кратковременное размыкание контактов защитного
устройства (если оно имеется), испытания должны быть повторены при максимальном
рабочем напряжении. При
испытаниях кратковременно выдерживаемыми и ударными токами любые размыкания,
вызванные сверхтоками, которые могут произойти при испытаниях, не принимают во
внимание. Все
испытания должны проводиться при номинальной частоте оборудования с отклонением
порядка ± 25 % и коэффициенте мощности, соответствующем току короткого
замыкания согласно таблице 5. Значение
тока при калибровке есть средняя величина действующих значений переменного тока
всех фаз. Если испытания проводят при максимальном рабочем напряжении,
калиброванным током является фактический ток испытания. Значения токов каждой
фазы не должны различаться более чем на + 5 и 0 %, а коэффициенты мощности в
каждой фазе от + 0,00 до - 0,05. Испытательный ток должен подаваться на такое
время, в течение которого действующее значение его периодической составляющей
оставалось бы постоянным. Примечания 1 Однако, исходя из возможностей
испытательного оборудования, продолжительность испытания может быть другой; при
этом испытательный ток без согласия изготовителя должен быть изменен согласно
формуле I2t = const при условии, что ударное значение тока не превышает
номинальный ударный ток и что действующее значение кратковременно выдерживаемого
тока не будет ниже номинального значения по крайней мере в одной фазе в течение
не менее 0,1 с после включения. 2 Испытания ударным и
кратковременно выдерживаемым током могут проводиться раздельно. В этом случае
время, в течение которого проводят испытания ударным током короткого замыкания,
должно быть таким, чтобы величина I2t не превышала эквивалентного значения, определенного при
испытаниях кратковременно выдерживаемым током, но была не менее трех периодов. Испытания
на условный ток короткого замыкания и ток короткого замыкания отключаемый
плавким предохранителем, должны проводиться при 1,05 номинального рабочего
напряжения (8.2.3.2.2) ожидаемыми
токами на стороне подвода питания применяемого защитного устройства, равными по
величине номинальному условному току короткого замыкания или номинальному току
короткого замыкания, отключаемого плавким предохранителем. Не допускается
проводить эти испытания при пониженном напряжении. 8.2.3.2.5 Результаты испытаний После
окончания испытания не должно наблюдаться деформации проводников. Допустима
незначительная деформация шин при условии, что выполняются требования в
отношении воздушных зазоров и длин путей утечки, указанных в 7.1.2. Не должно быть также
каких-либо значительных признаков разрушений изоляции проводников и несущих
изолирующих частей, т.е. основные характеристики изоляции должны оставаться
такими, чтобы механические и электроизоляционные свойства оборудования
удовлетворяли требованиям настоящего стандарта. Измерительные
приборы не должны показывать наличие повреждения изоляции. Не
должно наблюдаться ослабления деталей, используемых для соединения проводников;
проводники не должны отсоединяться от выводных зажимов. Деформация
оболочки допустима в той степени, при которой не происходит ухудшения степени
защиты и зазоры не уменьшаются ниже допустимых. Любую
деформацию шин или металлоконструкций НКУ, нарушающую нормальный ввод съемных и
выдвижных частей, следует рассматривать как повреждение. В
случае сомнения, следует убедиться, что аппаратура, входящая в НКУ, находится в
состоянии, удовлетворяющем требованиям соответствующих технических условий. 8.2.3.2.6
Для ЧИ НКУ проверку стойкости к коротким замыканиям осуществляют: - в
ходе испытаний согласно 8.2.3.2.1
- 8.2.3.2.5, или -
путем экстраполяции на основе результатов типовых испытаний подобных устройств. Примечания 1 Пример метода экстраполирования данных
проведенных типовых испытаний приведены в МЭК 61117 [10]. 2 Следует обратить внимание
на механическую прочность проводников, расстояния между токоведущими частями и
открытыми токопроводящими частями, расстояния между опорами, высоту и прочность
опор, а также прочность и тип частей, расположенных на опорах. 8.2.4 Проверка эффективности
цепи защиты 8.2.4.1 Проверка надежности
соединений между открытыми проводящими частями НКУ и цепью защиты Эта
проверка должна подтверждать надежность соединения различных открытых
проводящих частей НКУ с цепью защиты в соответствии с требованиями 7.4.3.1. Если
используют другие конструктивные способы обеспечения непрерывности цепи защиты,
отличные от указанных в 7.4.3.1.1,
в сомнительных случаях необходимо проводить измерения, подтверждающие, что
сопротивление между зажимом для входящего защитного проводника и
соответствующей открытой проводящей частью НКУ достаточно мало. 8.2.4.2 Испытание прочности
цепи защиты при токах короткого замыкания (не применяется для цепей по 8.2.3.1) Однофазный
испытательный источник питания нужно соединить с входным зажимом одной фазы и с
входным зажимом защитного проводника. Если НКУ оснащено защитным проводником,
то нужно использовать ближайший фазный провод. Отдельные испытания проводят для
каждого типа блоков вывода посредством болтовой закоротки между
соответствующими выходным фазовым зажимом блока и зажимом соответствующего
отходящего защитного проводника. Каждый
испытуемый блок вывода должен оснащаться защитным устройством, которое пропускает
максимальное значение ударного тока и Pt. Допускается
проведение испытания с защитным устройством, расположенным вне НКУ. При
испытании металлоконструкция НКУ должна быть изолирована от земли. Напряжение
испытания должно быть равно номинальному рабочему фазному напряжению. Значение
устанавливаемого ожидаемого тока короткого замыкания должно составлять 60 % от
величины ожидаемого тока короткого замыкания при проведении испытания НКУ
выдерживаемым током трехфазного короткого замыкания. Все
прочие условия этого испытания аналогичны перечисленным в 8.2.3.2. 8.2.4.3
Результаты испытаний Не
должна быть нарушена электрическая непрерывность и должна быть подтверждена
прочность цепи защиты при коротких замыканиях, независимо от того, представляет
эта цепь отдельный проводник или металлоконструкцию. Помимо
визуального осмотра, это может быть подтверждено посредством измерения под
током, примерно равном номинальному току соответствующего блока вывода. Примечания 1 Если в качестве защитного проводника
используют металлоконструкцию, то допускаются искрение и местный нагрев в
соединениях при условии, что они не ухудшают электрической непрерывности и
отсутствует загорание соседних элементов. 2 С помощью сравнения
значений сопротивления, измеренных до и после испытаний, между зажимом для
входящего защитного проводника и зажимом для соответствующего отходящего
защитного проводника можно проверить выполнение этого условия. 8.2.5 Проверка зазоров и длин
путей утечки Необходимо
удостовериться, что зазоры и длины путей утечки соответствуют значениям,
указанным в 7.1.2. При
необходимости, эти зазоры и длины путей утечки должны быть проверены измерением
с учетом возможной деформации частей оболочки или внутренних перегородок,
включая любые возможные изменения в результате короткого замыкания. Если
НКУ содержит выдвижные части, то необходимо убедиться, что зазоры и длины путей
утечки сохраняются как в испытательном положении (2.2.10), если такое имеется, так и в отсоединенном
положении (2.2.11). 8.2.6 Проверка механической
работоспособности Это
испытание не проводят на комплектующих НКУ, которые уже прошли типовые
испытания согласно соответствующим техническим условиям на них при условии, что
механические характеристики комплектующих не ухудшились при монтаже. Для
частей, подвергающихся типовым испытаниям, после их установки в НКУ должна быть
проверена удовлетворительность их механического срабатывания. Количество
рабочих циклов - 50. Примечание - В НКУ с выдвижными функциональными блоками цикл должен
осуществляться от присоединенного положения к отсоединенному и обратно. Одновременно следует проверить работу механической блокировки,
связанной с этими перемещениями. Считают, что испытание завершилось успешно,
если рабочие характеристики аппаратуры, блокировочных и подобных устройств не
ухудшились и если усилие, необходимое для их работы, осталось практически таким
же, как и до испытания. Степень
защиты, обеспечиваемая согласно 7.2.1,
должна проверяться на соответствие требованиям ГОСТ 14254 с
учетом необходимости дополнительных мер применительно к данному типу НКУ. Если
сразу после испытания на проникновение воды внутри оболочки обнаруживаются
следы воды, должна проводиться проверка диэлектрических свойств по 8.2.2. Испытательные устройства для
проверки степеней защиты IP3X и IP4X, а также типы опор оболочек, использованных при испытании
и обеспечивающих степень защиты IP4X, должны быть указаны в протоколе испытаний. НКУ,
имеющие степень защиты IP5X, должны быть испытаны согласно категории 2 ГОСТ
14254 (13.4). НКУ,
имеющие степень защиты IP6X, должны быть испытаны согласно категории 1 ГОСТ
14254 (13.4). 8.2.8 Проверка свойств
изоляционных материалов На
рассмотрении. 8.3
Приемосдаточные испытания
Должны
проверяться механическое срабатывание комплектующих элементов, блокировки,
замков и т.д. Должна быть проверена правильность прокладки проводников, кабелей
и изделий для их крепления. Необходимо также провести визуальный осмотр, чтобы
убедиться в соблюдении требуемой степени защиты, величин зазоров и длин путей
утечки. Соединения,
особенно винтовые и болтовые, должны быть проверены на наличие соответствующего
контакта. Допускается выборочная проверка. Далее
следует проверить полноту информации и маркировки, указанных в 5.1 и 5.2, а также соответствие НКУ этим данным. Кроме того,
следует проверить соответствие НКУ схемам соединений и монтажным схемам,
техническим данным и другим документам, обеспечиваемых изготовителем. В
зависимости от сложности НКУ может потребоваться осмотр монтажа проводников и
испытание НКУ на работоспособность. Методика испытания и виды испытаний должны
определяться тем, содержит ли НКУ сложные блокирующие устройства, устройства
управления последовательностью операций и т.д. В
некоторых случаях может потребоваться проведение или повторение испытания на
месте, при вводе в эксплуатацию электроустановки, для которой предназначено
НКУ. В этом случае между изготовителем и потребителем должно быть заключено
специальное соглашение. 8.3.2 Диэлектрические испытания Испытания
должны проводиться: -
согласно 8.3.2.1 и 8.3.2.2b, если изготовитель указывает значение номинального импульсного
выдерживаемого напряжения Uimp (4.1.3); -
согласно 8.3.2.1 и 8.3.2.2а - в других случаях. Эти
испытания не проводят на ЧИ НКУ, сопротивление изоляции которых было проверено
в соответствии с 8.3.4. Это
испытание также не требуется проводить для вспомогательных целей ПИ НКУ и ЧИ
НКУ, которые защищены устройством защиты от короткого замыкания с номинальным
током, не превышающим 16 А и, если было проведено предварительное испытание на
работоспособность по 8.3.1 при
номинальном напряжении, на которое рассчитаны вспомогательные цепи. При
проведении испытания должно быть подключено все электрическое оборудование НКУ,
за исключением рассчитанного (согласно техническим условиям) на более низкое
испытательное напряжение, а аппаратура, потребляющая ток (например, обмотки,
измерительные приборы), в которой приложенное испытательное напряжение может
вызвать протекание тока, должна быть отключена. Эта аппаратура должна
отсоединяться от одного из ее зажимов. Если аппаратура не рассчитана на полное
напряжение, то должны быть отсоединены все зажимы. Конденсаторы,
служащие для устранения помех, устанавливаемые между токоведущими частями и
открытыми токопроводящими частями, не отсоединяют; они должны выдержать
испытательное напряжение. 8.3.2.2 Места приложения,
продолжительность и значения испытательного напряжения a)
Испытательное напряжение по 8.2.2.4
должно прикладываться в течение 1 с. Источник переменного тока должен иметь
такую мощность, чтобы поддерживать испытательное напряжение вне зависимости от
токов утечки. Испытательное напряжение должно иметь практически синусоидальную
форму и частоту от 45 до 62 Гц. Если
оборудование, включенное в подлежащие испытанию главную или вспомогательную
цепи, ранее уже прошло диэлектрические испытания, то испытательное напряжение
должно быть снижено до 85 % от значения, указанного в 8.2.2.4. При
испытании: -
либо все коммутационные аппараты должны быть замкнуты, или -
испытательное напряжение должно последовательно прикладываться ко всем частям
цепи. Испытательное напряжение должно прикладываться между токоведущими частями
и металлоконструкцией НКУ b)
Испытания должны проводиться по 8.2.2.6.2
и 8.2.2.6.3. Если в цепи
имеются компоненты которые, согласно стандартам на них должны испытываться при
приемосдаточных испытаниях более низкими испытательными напряжениями, то эти
напряжения должны быть применены при проведении испытаний. Однако испытательное
напряжение не должно быть менее 30 % номинального выдерживаемого напряжения
(без учета коррекции высоты над уровнем моря) или удвоенного номинального
напряжения изоляции в зависимости от того, какое больше. 8.3.2.3
Результаты испытаний Изделие
считают выдержавшим испытание, если не произошло пробоя изоляции или перекрытия
по поверхности. 8.3.3 Проверка средств защиты и
электрической непрерывности цепи защиты Необходимо
проверить средства защиты от прямого и непрямого прикосновения к токоведущим
частям. Проверка
цепей защиты должна подтвердить, что требования, указанные в 7.4.3.1.5, выполняются. Особенно
тщательно необходимо проверить болтовые соединения, где требуется определенное
контактное нажатие; в этом случае испытания могут носить выборочный характер. 8.3.4 Проверка сопротивления
изоляции Для
ЧИ НКУ, которые не испытывались на электрическую прочность изоляции согласно 8.2.2 или 8.2.3, сопротивление изоляции измеряют с помощью
прибора для измерения сопротивления изоляции при напряжении не менее 500 В. Испытание
считают удовлетворительным, если сопротивление изоляции между цепями и
открытыми проводящими частями будет не менее 1000 Ом/В на цепь, отнесенное к
номинальному напряжению этих цепей относительно земли. Как
исключение, те аппараты, которые вследствие их специфики являются
токопроводящими (например, катушки, измерительные приборы) при приложении
напряжения или не рассчитаны на полное испытательное напряжение, должны быть
отключены. Таблица 13 -
Выдерживаемые импульсные напряжения изоляции при испытаниях напряжением
промышленной частоты и постоянного тока
Таблица 14- Минимальные
значения воздушных зазоров
Таблица 15 -
Испытательное напряжение для разомкнутых контактов полюсов устройств, пригодных
для разъединения
Таблица 16 - Минимальные
длины путей утечки
ПРИЛОЖЕНИЕ А
| |||||||||||||||||||||||||||||||||||||||||||||||||||||||||||||||||||||||||||||||||||||||||||||||||||||||||||||||||||||||||||||||||||||||||||||||||||||||||||||||||||||||||||||||||||||||||||||||||||||||||||||||||||||||||||||||||||||||||||||||||||||||||||||||||||||||||||||||||||||||||||||||||||||||||||||||||||||||||||||||||||||||||||||||||||||||||||||||||||||||||||||||||||||||||||||||||||||||||||||||||||||||||||||||||||||||||||||||||||||||||||||||||||||||||||||||||||||||||||||||||||||||||||||||||||||||||||||||||||||||||||||||||||||||||||||||||||||||||||||||||||||||||||||||||||||||||||||||||||||||||||||||||||||||||||||||||||||||||||||||||||||||||||||||||||||||||||||||||||||||||||||||||||||||||||||||||||||||||||||||||||||||||||||||||||||||||||||||||||||||||||||||||||||||||||||||||||||||||||||||||||||||||||||||||||||||||||||||||||||||||||||||||||||||||||||||||||||||||||||||||||||||||||||||||||||||||||||||||||||||||||||||||||||||||||||||||||||||||||||||||||||||||||||||||||||||||||||||||||||||
|
Сечение жесткого (одно- или многожильного) провода |
Сечение гибкого провода |
|||
|
наименьшее |
наибольшее |
наименьшее |
наибольшее |
|
|
6 |
0,75 |
1,5 |
0,50 |
1,5 |
|
8; 10 |
1,00 |
2,5 |
0,75 |
2,5 |
|
12 |
1,00 |
2,5 |
0,75 |
2,5 |
|
16 |
1,50 |
4,0 |
1,00 |
4,0 |
|
20 |
5,0 |
|||
|
25 |
2,5 |
6,0 |
1,50 |
4,0 |
|
32 |
10,0 |
6,0 |
||
|
40 |
4,0 |
16,0 |
2,50 |
10,0 |
|
63 |
6,0 |
25,0 |
6,00 |
16,0 |
|
80 |
10,0 |
35,0 |
10,00 |
25,0 |
|
100 |
16,0 |
50,0 |
16,00 |
35,0 |
|
125 |
25,0 |
70,0 |
25,00 |
50,0 |
|
160 |
35,0 |
95,0 |
35,00 |
70,0 |
|
200 |
50,0 |
120,0 |
50,00 |
95,0 |
|
250 |
70,0 |
150,0 |
70,00 |
120,0 |
|
315 |
95,0 |
240,0 |
95,00 |
185,0 |
|
Примечания 1 Если
внешние проводники присоединяют непосредственно к встроенной аппаратуре, то
значения сечений должны соответствовать указанным в соответствующих
технических условиях. 2
Применение проводников, отличающихся от указанных в таблице, должно быть
согласованно между изготовителем и потребителем. |
||||
(Более
подробная информация приведена в ГОСТ
Р 50571.10).
Для
расчета сечения защитных проводников, выдерживающих термические нагрузки,
создаваемые токами длительностью от 0,2 до 5 с, используют формулу
Sp =
,
где Sp - поперечное сечение защитного проводника, мм2;
I - действующее значение тока короткого замыкания, который
может протекать через защитное устройство при малом внутреннем сопротивлении А;
t - время срабатывания разъединяющего устройства, с.
Примечание - Нужно учитывать влияние ограничения тока сопротивлением
цепи и ограничивающую способность защитных устройств (интеграл Джоуля);
k - коэффициент,
зависящий от материала защитного проводника, изоляции и других элементов, а
также от начальной или конечной температур.
Значения
k для защитных изолированных проводников
не входящих в кабель, или для защитных неизолированных проводников, находящихся
в контакте с оболочкой кабеля, приведены в таблице В.1.
Таблица В.1
|
Изоляция защитных проводников или оболочек кабелей |
|||
|
ПВХ |
Облученный (сшитый) полиэтилен, этиленпропиленовый каучук, неизолированные проводники |
Бутилкаучук |
|
|
Конечная температура,
°С |
160 |
250 |
220 |
|
Коэффициент k для
проводников: |
|
|
|
|
-
медного |
143 |
176 |
166 |
|
-
алюминиевого |
95 |
116 |
110 |
|
-
стального |
52 |
64 |
60 |
|
Примечания 1
Начальную температуру проводника принимают равной 30 °С. 2
Таблица аналогична таблице 54 В ГОСТ Р 50571.10. |
|||
Рисунок С.1 -
НКУ заводского изготовления открытого типа
Рисунок С.2 -
НКУ заводского изготовления открытого типа, защищенное спереди
Рисунок С.3 -
НКУ заводского изготовления шкафного типа
Рисунок С.4 -
НКУ заводского изготовления многошкафного типа
Рисунок С.5 -
НКУ заводского изготовления пультового типа
Рисунок С.6 -
НКУ заводского изготовления многоящичного типа
Рисунок С.7 -
Система сборных шин (шинопровод)
Рисунок С.8 -
Монтажная конструкция
Рисунок С.9 -
Неподвижные части
Рисунок С. 10 -
Выдвижная часть

1 - сборные шины; 2 - блок
вывода; 3 - распределительные шины; 4 - зажимы для внешних проводников; 5 -
функциональные блоки; 6 - блок ввода
Рисунок D.1 - Разделение вида 1

1 - сборные шины; 2 -
блок вывода; 3 - распределительные
шины; 4 - зажимы для внешних
проводников; 5 - функциональные блоки; 6
- блок ввода
Рисунок D.2 - Разделение вида 2а

1 - сборные шины; 2 -
блок вывода; 3 - распределительные
шины; 4 - зажимы для внешних
проводников; 5 - функциональные блоки; 6
- блок ввода
Рисунок D.3 - Разделение вида 2b

1 - сборные шины; 2 - блок
вывода; 3 - распределительные шины; 4 - зажимы для внешних проводников; 5 -
функциональные блоки; 6 - блок ввода
Рисунок D.4 - Разделение вида 3а

1 - сборные шины; 2 - блок вывода; 3 - распределительные шины; 4
- зажимы для внешних проводников; 5 - функциональные блоки; 6 - блок ввода
Рисунок D.5 - Разделение вида 3b

1 - сборные шины; 2 - блок
вывода; 3 - распределительные шины; 4 - зажимы для внешних проводников; 5 -
функциональные блоки; 6 - блок ввода
Рисунок D.6 - Разделение вида 4
Пункты настоящего
стандарта
4.7 Номинальный коэффициент
одновременности.
6.1.1.2, примечание
Применение
НКУ в арктическом климате.
6.1.3, примечание
Применение
электронного оборудования на высоте более 1000 м над уровнем моря.
6.2 Особые условия эксплуатации.
6.2.10 Влияние электромагнитных излучений
(помех).
6.3.1 Условия транспортирования,
хранения и монтажа.
7.1.3 Зажимы для внешних проводников
7.1.3.2 Сечение
присоединяемых кабелей.
7.1.3.2 Способы
присоединения алюминиевых проводников
7.1.3.4 Пропускная
способность по току зажимов для нейтрального проводника.
7.2.1.1 Степень
защиты для предполагаемых условий установки.
Для
напольных НКУ также степень защиты со стороны дна.
7.4.2 Защита от прямого прикосновения к
токоведущим частям.
7.4.3 Защита от косвенного
прикосновения к токоведущим частям.
7.4.6 Доступность при эксплуатации
квалификационным персоналом.
7.4.6.1 Доступность для проверки подобных
операций.
7.4.6.2 Доступность при текущем техническом
обслуживании.
7.4.6.3 Доступность при расширении
компоновки НКУ, при нахождении остальной части НКУ под напряжением.
7.5.2.3 Значения ожидаемых токов короткого
замыкания для НКУ с несколькими блоками ввода или вывода для мощных вращающихся
электрических машин.
7.5.4 Координация устройств защиты от
короткого замыкания
7.6.4.3 Степень защиты после удаления
съемных или выдвижных частей.
7.7 Варианты разделения НКУ на
отсеки и секции.
7.9.1 Отклонения входного напряжения,
предназначенного для питания электронного оборудования.
7.9.4b Отклонения
частоты.
8.2.1.3.4 Испытания на превышение температуры при
нагрузке испытательным током более 3150 А.
8.2.1.6 Значения температуры окружающей
среды при испытаниях на превышение температуры
8.2.3.2.3d Величина тока в
нейтральной шине при испытаниях на короткое замыкание.
8.3.1 Необходимость опробования
функционирования на месте установки.
* Приложение F идентично приложению G
ГОСТ Р 50030.1.
F.1 Основные
принципы
Ширина желобков X, указанная в
примерах 1 - 11, практически
применима для всех примеров в зависимости от степени загрязнения.
|
Степень загрязнения |
Минимальная ширина желобков X, мм |
|
1 |
0,25 |
|
2 |
1,00 |
|
3 |
1,50 |
|
4 |
2,50 |
Если соответствующий воздушный зазор меньше 3 мм, минимальную
ширину желобка можно уменьшить до трети этого зазора.
Методы
измерения длин путей утечки и воздушных зазоров показаны в последующих примерах
1 - 11. В них не делаются
различия между зазорами контактов и желобками или типами изоляции.
Кроме
того:
-
предполагается, что каждый угол перекрывается изолирующей вставкой шириной Х мм,
находящейся в самом неблагоприятном положении (см. пример 3);
-
если расстояние между верхними кромками желобка равно X мм или больше, длину пути утечки
измеряют по контурам желобка (см. пример 2),
-
длины пути утечки и воздушные зазоры, замеренные между частями, подвижными
относительно друг друга, измеряют при самом неблагоприятном положении этих
частей.
F.2 Использование ребер
Ребра
существенно препятствуют появлению токов утечки, поскольку препятствуют
загрязнению и увеличивают скорость высыхания изоляции. Поэтому длины путей
утечки можно сократить до 0,8 требуемой величины, если минимальная высота ребра
равна 2 мм.
В - минимальная ширина основания согласно требованиям к
механической прочности; H - минимальная высота 2 мм
Рисунок F.1
Условие. Рассматриваемый
путь утечки проходит через желобок с параллельными или сходящимися боковыми
стенками любой глубины при ширине менее X мм.
Правило. Длину пути
утечки и воздушный зазор измеряют по прямой линии поверх желобка, как показано
на схеме.
Условие. Рассматриваемый
путь утечки проходит через желобок с параллельными боковыми стенками любой
глубины шириной X мм или более.
Правило. Воздушный зазор
определяют по прямой. Путь утечки проходит по контуру желобка.
Условие. Рассматриваемый
путь утечки проходит через клиновидный желобок шириной более X мм.
Правило. Воздушный зазор
определяют по прямой. Путь утечки проходит по контуру желобка, но замыкает
накоротко его дно по вставке шириной X мм.

Условие. Рассматриваемый
путь утечки охватывает ребро.
Правило. Воздушный зазор
- кратчайшее расстояние по воздуху над вершиной ребра. Путь утечки проходит по
контуру ребра.

Условие. Рассматриваемый
путь включает несомкнутый стык изолирующих частей с желобком шириной менее X мм по обе
стороны от него.
Правило. Воздушный зазор
и путь утечки определяют по прямой.

Условие Рассматриваемый
путь утечки включает несомкнутый стык изолирующих частей с желобками шириной X мм или более по
обе стороны от него.
Правило Воздушный зазор
определяют по прямой Путь утечки проходит по контуру желобков.

Условие Рассматриваемый
путь утечки включает несомкнутый стык изолирующих частей с желобком шириной не
менее X мм с одной стороны и
желобком шириной X мм или более с другой стороны.
Правило Воздушный зазор
и путь утечки соответствуют схеме.

Условие. Путь утечки
через несомкнутый стык больше, чем поверх барьера.
Правило. Воздушный зазор
равен кратчайшему пути в воздухе поверх барьера.

Условие. Достаточно
широкий зазор между головкой винта и стенкой паза.
Правило. Воздушный зазор
и путь утечки соответствуют схеме.

Условие. Зазор между
головкой винта и стенкой паза слишком мал, чтобы принимать его во внимание.
Правило. Длину пути
утечки измеряют от винта до стенки, в месте, где зазор равен X мм.
С - свободно движущаяся часть; воздушный зазор
равен d
+ D;
расстояние утечки равно d + D.
Условные обозначения для примеров 1 - 11:
- воздушный зазор;
- расстояние утечки.
* См. ГОСТ Р 50030.1.
В
настоящем приложении приведена информация, необходимая для выбора оборудования,
предназначенного для использования в электрической цепи (сети) или в части этой
цепи.
В
таблицах G.1 и G.2 приведены
примеры корреляции между номинальным напряжением системы питания и номинальным
импульсным выдерживаемым напряжением оборудования.
Значения
номинального импульсного выдерживаемого напряжения основываются на
характеристиках разрядников. Значения таблицы G.1 связаны с характеристиками,
приведенными в МЭК 99-1 (ГОСТ
16357); значения таблицы G.2 основываются на характеристиках разрядников с соотношением
разрядного и номинального напряжений ниже указанных в МЭК 99-1.
Следует
учитывать, что управление перенапряжениями относительно значений, указанных в
таблицах G.1 и G.2, можно
осуществлять подбором подходящего полного сопротивления или питающего кабеля.
Для
случаев управления перенапряжением устройствами, отличными от разрядников,
руководство по корреляции между номинальным напряжениям системы питания и
номинальным импульсным выдерживаемым напряжением оборудования приведено в ГОСТ
Р 50571.19.
Таблица G.1 - Соответствие между номинальным напряжением системы
питания и номинальным импульсным выдерживаемым напряжением оборудования в случае
защиты от перенапряжений с помощью разрядников согласно ГОСТ
16357
|
Номинальное напряжение системы питания, В (номинальное напряжение изоляции оборудования) |
Предпочтительные значения номинального импульсного выдерживаемого напряжения, кВ (1,2/50 мс), при высоте над уровнем моря 2000 м |
|||||||
|
Действующее значение напряжения переменного тока |
Действующее значение напряжения переменного или постоянного тока |
|||||||
|
|
|
|
|
Категория перенапряжения |
||||
|
IV |
III |
II |
I |
|||||
|
На вводе электроустановки потребителя |
В распределительной цепи |
На токоприемнике (электроприбор, оборудование) |
Уровень специальной защиты |
|||||
|
50 |
- |
- |
12,5; 24; 25; 30;
42; 48 |
60 - 30 |
1,5 |
0,8 |
0,5 |
0,33 |
|
100 |
66/115 |
66 |
60 |
- |
2,5 |
1,5 |
0,8 |
0,50 |
|
150 |
120/208; 127/220 |
115; 120; 127 |
110; 120 |
220 - 110; 240 - 120 |
4,0 |
2,5 |
1,5 |
0,80 |
|
300 |
220/380; 230/400;
240/415; 260/440; 277/480 |
220; 230; 240; 260;
277 |
220 |
440 - 220 |
6,0 |
4,0 |
2,5 |
1,50 |
|
600 |
347/600; 380/660;
400/690; 415/720; 480/830 |
347; 380; 400 415; 440;
480 500; 577; 600 |
480 |
960 - 480 |
8,0 |
6,0 |
4,0 |
2,50 |
|
1000 |
- |
660; 690; 720; 830;
1000 |
1000 |
- |
12,0 |
8,0 |
6,0 |
4,00 |
Примечание - В случае защиты от перенапряжения с помощью
распределительных сетей, прокладываемых в земле, или низкого уровня помех см.
таблицу G.2.
Таблица G.2 -
Соответствие между номинальным напряжением системы питания и номинальным
импульсным выдерживаемым напряжением оборудования в случае защиты от
перенапряжений с помощью разрядников с отношением разрядного напряжения к
номинальному ниже указанного в ГОСТ
16357
|
Номинальное напряжение системы питания, В (номинальное напряжение изоляции оборудования) |
Предпочтительные значения номинального импульсного выдерживаемого напряжения, кВ (1,2/50 мс), при высоте над уровнем моря 2000 м |
|||||||
|
Действующее значение напряжения переменного тока |
Действующее значение напряжения переменного или постоянного тока |
|||||||
|
|
|
|
|
Категория перенапряжения |
||||
|
IV |
III |
II |
I |
|||||
|
На вводе электроустановки потребителя |
В распределительной цепи |
На токоприемнике (электроприбор, оборудование) |
Уровень специальной защиты |
|||||
|
50 |
- |
- |
12,5; 24; 25; 30;
42; 48 |
60 - 30 |
0,8 |
0,5 |
0,33 |
- |
|
100 |
66/115 |
66 |
60 |
- |
1,5 |
0,8 |
0,50 |
0,33 |
|
150 |
120/208; 127/220 |
115; 120; 127 |
220 |
220 - 110; 240 - 120 |
2,5 |
1,5 |
0,80 |
0,50 |
|
300 |
220/380; 230/400;
240/415; 260/440; 277/480 |
220; 230; 240; 260;
277 |
220 |
440 - 220 |
4,0 |
2,5 |
1,50 |
0,80 |
|
600 |
347/600; 380/660;
400/690; 415/720; 480/830 |
347; 380; 400; 415;
440; 480; 500; 577; 600 |
480 |
960 - 480 |
6,0 |
4,0 |
2,5 |
1,5 |
|
1000 |
- |
660; 690; 720; 830;
1000 |
1000 |
- |
8,0 |
6,0 |
4,0 |
2,5 |
|
Примечание - Таблица может также применяться в случае защиты от
перенапряжения с помощью распределительных сетей, прокладываемых в земле, или
низкого уровня помех (до 25). |
||||||||
1 Требования
стойкости к внешним воздействующим факторам
1.1
Номинальные и предельные значения климатических факторов, отличающиеся от
приведенных в настоящем стандарте, должны соответствовать ГОСТ
15543.1 и ГОСТ
15150.
1.2
Конкретные требования по воздействию механических факторов должны
соответствовать группам условий эксплуатации по ГОСТ 17516.1.
2 Требования
к консервации, упаковке, транспортированию и хранению
2.1
Требования к упаковке и консервации - по ГОСТ 23216.
2.2
Условия транспортирования устанавливают в зависимости от назначения НКУ по ГОСТ
23216 и ГОСТ
15150.
3 Требования
к гарантии
Изготовитель
должен гарантировать надежную работу НКУ в течение определенного срока
эксплуатации, который должен быть не менее двух лет с даты ввода его в
эксплуатацию. При применении аппаратов и устройств, имеющих больший гарантийный
срок эксплуатации, этот же срок должен устанавливаться для НКУ.
4 Виды
испытаний
4.1
НКУ подвергают, кроме приемосдаточных и типовых испытаний, предусмотренных в
настоящем стандарте, также квалификационным и периодическим испытаниям. Порядок
проведения испытаний - по ГОСТ
15.001, периодичность испытаний, количество образцов НКУ, подвергаемых
испытаниям, программа испытаний должны устанавливаться в стандартах и
технических условиях на НКУ конкретных видов и серий.
4.2
Правила приемки и условия испытаний должны устанавливаться в стандартах или в
технических условиях на НКУ конкретных серий и типов.
4.3
Программа квалификационных испытаний должна включать приемосдаточные и типовые
испытания согласно настоящему стандарту, а также испытания на стойкость к
внешним воздействующим факторам по ГОСТ
15543.1, испытания на пожарную безопасность по ГОСТ
27483, ГОСТ 28779 и испытания на надежность по ГОСТ
27.003 и ГОСТ 27.410 (по требованию потребителя).
Периодические
испытания проводят в объеме типовых испытаний в соответствии с настоящим
стандартом.
* Международные стандарты
МЭК и их переводы - во ВНИИКИ Госстандарта России.
[6] МЭК 60417-1 (1998) Обозначения графические для оборудования.
Часть 1. Общий вид и применение
[7] МЭК 60158-2 (1982) Аппараты управления низковольтные. Часть 2.
Полупроводниковые контакторы
[9] МЭК 60890 (1987) Низковольтные комплектные устройства. Методы
испытаний на нагревание
Ключевые слова: комплектные устройства, полностью или
частично испытанные устройства, типовые испытания
|
|
|
|