Бесплатная библиотека стандартов и нормативов www.docload.ru

Все документы, размещенные на этом сайте, не являются их официальным изданием и предназначены исключительно для ознакомительных целей.
Электронные копии этих документов могут распространяться без всяких ограничений. Вы можете размещать информацию с этого сайта на любом другом сайте.
Это некоммерческий сайт и здесь не продаются документы. Вы можете скачать их абсолютно бесплатно!
Содержимое сайта не нарушает чьих-либо авторских прав! Человек имеет право на информацию!

 

Система нормативных документов в строительстве

Территориальные строительные нормы
Свердловской области

ТЕПЛОВАЯ ИЗОЛЯЦИЯ
ОБОРУДОВАНИЯ И ТРУБОПРОВОДОВ

ТСН 23-337-2002
СВЕРДЛОВСКОЙ ОБЛАСТИ

Екатеринбург, 2002 г.

ПРЕДИСЛОВИЕ

1. РАЗРАБОТАНЫ Инжиниринговой компанией по теплотехническому строительству «Теплопроект».

ПРИНЯТЫ И ВВЕДЕНЫ В ДЕЙСТВИЕ Постановлением Правительства Свердловской области № 764-ПП от 17 июля 2002 г.

2. ВВЕДЕНЫ ВПЕРВЫЕ

ЗАРЕГИСТРИРОВАНЫ Госстроем России № 9-23/625 от 14 августа 2002 г. с присвоением шифра ТСН 23-337-2002 Свердловской области.

СОДЕРЖАНИЕ

Предисловие. 1

1. Область применения. 2

2. Законодательная база и нормативные ссылки. 2

3. Термины и определения. 2

4. Общие положения. 2

5. Требования к конструкциям и материалам тепловой изоляции. 3

6. Проектирование тепловой изоляции. 7

6.1. Общие положения. 7

6.2. Определение толщины теплоизоляционного слоя по заданной плотности теплового потока. 9

6.3. Определение толщины изоляционного слоя по заданной температуре на поверхности изоляции. 10

6.4. Определение толщины теплоизоляционного слоя с целью предотвращения конденсации влаги на поверхности изоляции. 11

6.5. Определение толщины теплоизоляционного слоя для паропроводов с целью обеспечения заданных параметров пара. 12

6.6. Определение толщины теплоизоляционного слоя для предотвращения конденсации влаги на внутренних поверхностях объектов, транспортирующих газообразные вещества, содержащие водяные пары. 13

6.8. Определение толщины теплоизоляционного слоя по заданному снижению температуры вещества, транспортируемого трубопроводами. 14

6.9. Определение толщины теплоизоляционного слоя по заданной величине охлаждения вещества, хранимого в емкости. 14

6.10. Тепловая изоляция трубопроводов тепловых сетей. 14

6.11. Правила конструирования тепловой изоляции. 18

7. Требования к монтажу теплоизоляционных конструкций и контролю качества теплоизоляционных работ. 23

Приложение 1 Термины и определения. 26

Приложение 2 Технические характеристики теплоизоляционных материалов и изделий. 28

Приложение 3 Номенклатура, технические характеристики и ориентировочный срок службы защитных покрытий тепловой изоляции. 30

Приложение 4 Материалы, применяемые при устройстве пароизоляционного слоя. 31

Приложение 5 Вспомогательные и крепежные материалы и изделия для теплоизоляционных конструкций. 32

Приложение 6 Расчетные коэффициенты теплоотдачи. 34

Приложение 7 Территориальные нормы плотности теплового потока через изолированные поверхности трубопроводов надземной прокладки и оборудования с положительными температурами для г. Екатеринбурга и Свердловской области. 35

Приложение 8 Толщина теплоизоляционного слоя конструкций тепловой изоляции с теплоизоляционным слоем из матов минераловатных прошивных марки 100 и плит теплоизоляционных из минеральной ваты на синтетическом связующем марки 75, отвечающая территориальным нормам плотности теплового потока, для оборудования и трубопроводов, расположенных в г. Екатеринбурге и Свердловской области. 37

Приложение 9 Толщина теплоизоляционного слоя конструкций тепловой изоляции с теплоизоляционным слоем из матов минераловатных, прошивных марки 100 и плит теплоизоляционных из минеральной ваты на синтетическом связующем марки 75, отвечающая требованиям безопасности (заданной температуре на поверхности изоляции), для оборудования и трубопроводов, расположенных в г. Екатеринбурге и Свердловской области. 42

Приложение 10 Толщина теплоизоляционного слоя конструкций тепловой изоляции, обеспечивающая предотвращение конденсации влаги из воздуха на поверхности изоляции, для оборудования и трубопроводов, расположенных в помещениях объектов г. Екатеринбурга и Свердловской области. 45

Приложение 11. 49

Толщина теплоизоляционного слоя конструкций тепловой изоляции, обеспечивающая превращение замерзания воды в трубопроводах холодного водоснабжения при приостановке её движения в течение заданного времени, для оборудования и трубопроводов, расположенных на открытом воздухе и необогреваемых помещениях объемов г. Екатеринбурга и Свердловской области. 49

Приложение 12 Рекомендуемая расчетная теплопроводность грунта в зависимости от его вида и влагосодержания. 51

Приложение 13 Территориальные нормы плотности теплового потока через изолированные поверхности трубопроводов водяных тепловых сетей подземной канальной двухтрубной прокладки для г. Екатеринбурга и Свердловской области. 52

Приложение 14 Толщина теплоизоляционного слоя конструкций тепловой изоляции с теплоизоляционным слоем из матов минераловатных прошивных марки 100 и плит теплоизоляционных из минеральной ваты на синтетическом связующем марки 75, отвечающая территориальным нормам плотности теплового потока, через изолированные поверхности подающего и обратного трубопроводов водяных тепловых сетей подземной канальной двухтрубной прокладки для г. Екатеринбурга и Свердловской области. 52

Приложение 15 Предельные толщины теплоизоляционных конструкций для оборудования и трубопроводов. 53

Приложение 16 Виды сопряжений элементов металлических защитных трубопроводов. 53

Приложение 17 Толщина, состав растворов и норма расхода компонентов штукатурных защитных покрытий. 55

Приложение 18 Требования к проекту производства работ. 55

ТСН 23-337-2002

ТЕРРИТОРИАЛЬНЫЕ СТРОИТЕЛЬНЫЕ НОРМЫ

ТЕПЛОВАЯ ИЗОЛЯЦИЯ ОБОРУДОВАНИЯ И ТРУБОПРОВОДОВ

Thermal insulation of equipment and pipe lines.

1. ОБЛАСТЬ ПРИМЕНЕНИЯ

1.1. Настоящие территориальные строительные нормы предназначены для использования при проектировании, монтаже и эксплуатации конструкций тепловой изоляции наружных поверхностей оборудования и трубопроводов с температурой содержащихся в них веществ от минус 52 до 600 °С. Нормы распространяются на проектируемые, строящиеся и находящиеся в эксплуатации объекты промышленности и жилищно-коммунального комплекса г. Екатеринбурга и Свердловской области.

1.2. Нормы не распространяются на конструкции тепловой изоляции оборудования и трубопроводов, содержащих и транспортирующих взрывчатые вещества, изотермических хранилищ сжиженных газов, зданий и помещений для производства и хранения взрывчатых веществ, атомных электростанций и установок.

1.3. Нормы обязательны для всех организаций, независимо от формы собственности и государственной принадлежности, осуществляющих деятельность в области тепловой изоляции оборудования и трубопроводов в промышленности и ЖКХ г. Екатеринбурга и Свердловской области.

2. ЗАКОНОДАТЕЛЬНАЯ БАЗА И НОРМАТИВНЫЕ ССЫЛКИ

В настоящих нормах использованы ссылки на следующие документы:

СНиП 10-01-94 "Система нормативных документов в строительстве. Основные положения"

СНиП 2.04.14-88* "Тепловая изоляция оборудования и трубопроводов".

СНиП 2.04.07-86* "Тепловые сети".

СНиП III-4-80* "Техника безопасности в строительстве";

СНиП 2.03.11-85 "Защита строительных конструкций от коррозии";

ГОСТ 21.405 "Состав и правила оформления рабочей документации в тепловой изоляции оборудования и трубопроводов"

ОСТ 36-133-86 "Работы теплоизоляционные. Проект производства работ. Порядок разработки, состав и содержание".

3. ТЕРМИНЫ И ОПРЕДЕЛЕНИЯ

В настоящих нормах применены основные понятия, термины и определения в соответствии с приложением 1.

4. ОБЩИЕ ПОЛОЖЕНИЯ

4.1. Территориальные строительные нормы содержат нормативные требования по устройству тепловой изоляции трубопроводов и оборудования в промышленности и ЖКХ, требования к теплоизоляционным конструкциям и свойствам использованных в них материалов, определяют допустимый уровень тепловых потерь от наружной поверхности теплоизолированных трубопроводов и оборудования.

4.2. Допустимые значения теплового потока от наружной поверхности теплоизолированных трубопроводов и оборудования промышленных предприятий определяются на основании следующих критериев:

- по экономическим показателям, учитывающим стоимость тепловой энергии, стоимость применяемых в регионе теплоизоляционных материалов и предполагаемый (расчетный) срок службы теплоизоляционных конструкций;

- по технологическим и эксплуатационным требованиям, обусловленным спецификой изолируемого объекта и условиями его эксплуатации и указанным в техническом задании на проектирование тепловой изоляции;

- требованиями техники безопасности по допустимой температуре на поверхности изоляции в соответствии с требованиями санитарных норм проектирования промышленных предприятий.

4.3. Допустимый уровень теплового потока через изолированную поверхность трубопроводов тепловых сетей подземной бесканальной прокладки при использовании предизолированных труб, помимо факторов, указанных в п. 4.2., определяется номенклатурой и типоразмерами, применяемых в регионе теплоизоляционных материалов (пенополиуретан, армопенобетон, битумоперлит и битумовермикулит).

4.4. Для тепловой изоляции оборудования и трубопроводов следует использовать преимущественно индустриальные (полносборные или комплектные) конструкции заводского изготовления, в том числе предизолированные в заводских условиях трубы. Выбор типа конструкции тепловой изоляции следует производить с учетом конструктивных особенностей изолируемого объекта, условий эксплуатации и возможного агрессивного воздействия окружающей среды.

4.5. Для тепловой изоляции арматуры, фланцевых соединений, люков и компенсаторов теплоизолированных трубопроводов и оборудования следует использовать преимущественно съемные конструкции тепловой изоляции.

4.6. В конструкциях тепловой изоляции оборудования и трубопроводов допускается использовать теплоизоляционные, защитно-покровные, пароизоляционные и вспомогательные материалы, отвечающие требованиям действующих ГОСТ или ТУ. Применяемые в конструкциях импортные материалы должны иметь сертификаты соответствия требованиям нормативных документов Российской Федерации.

4.7. Требования настоящих территориальных строительных норм не противоречат требованиям СНиП 2.04.14-88*, при этом уточняют и дополняют их в части повышения энергоэффективности теплоизоляционных конструкций и в части нормативных значений плотности теплового потока с учетом фактических цен на тепловую энергию и теплоизоляционные материалы в г. Екатеринбурге и Свердловской области.

5. ТРЕБОВАНИЯ К КОНСТРУКЦИЯМ И МАТЕРИАЛАМ ТЕПЛОВОЙ ИЗОЛЯЦИИ

5.1. Технические требования к теплоизоляционным конструкциям оборудования и трубопроводов промышленных предприятий и ЖКХ г. Екатеринбурга и Свердловской области определяются СНиП 2.04.14-88* и настоящими территориальными строительными нормами. Ниже приводятся дополнительные требования, учитывающие специфику региона и современные тенденции развития тепловой изоляции в промышленности и ЖКХ.

5.2. В конструкциях теплоизоляции предназначенных для обеспечения заданной температуры на поверхности изоляции следует применять защитные покрытия с коэффициентом излучения более 2,33 Вт/(м2×К4). Защитные покрытия с коэффициентом излучения ниже указанного значения (листы из алюминия и алюминиевых сплавов, оцинкованная сталь) должны быть окрашены.

5.3. В конструкциях теплоизоляции оборудования и трубопроводов с температурами содержащихся в них веществ в диапазоне от 20 °С до 300 °С для всех способов прокладки, кроме бесканальной, следует применять теплоизоляционные материалы и изделия со средней плотностью не более 200 кг/м3 и теплопроводностью при температуре 25 °С не более 0,05 Вт/(м×К).

5.4. Во втором слое двухслойных конструкций теплоизоляции оборудования и трубопроводов с температурами содержащихся в них веществ в диапазоне от 300 °С до 600 °С для всех способов прокладки, кроме бесканальной, следует применять теплоизоляционные материалы и изделия со средней плотностью не более 200 кг/м3 и теплопроводностью при температуре 125 °С не более 0,08 Вт/(м×К).

5.5. В качестве первого слоя двухслойных конструкций теплоизоляции оборудования и трубопроводов с температурами содержащихся в них веществ в диапазоне от 300 °С до 600 °С допускается применять теплоизоляционные мате риалы и изделия со средней плотностью не более 350 кг/м3 и теплопроводностью при температуре 300 °С не более 0,12 Вт/(м×К).

5.6. Выбор теплоизоляционных материалов и изделий при проектировании осуществляется с учетом их назначения и области применения в конструкциях тепловой изоляции оборудования и трубопроводов.

При выборе теплоизоляционных материалов и конструкций для поверхностей с положительными температурами теплоносителя (20 °С и выше) следует учитывать следующие факторы:

- месторасположение изолируемого объекта;

- температуру изолируемой поверхности;

- температуру окружающей среды;

- теплопроводность теплоизоляционного материала;

- допустимую температуру применения теплоизоляционного материала;

- требования пожарной безопасности;

- агрессивность окружающей среды или веществ, содержащихся в изолируемых объектах;

- коррозионное воздействие на изолируемый объект;

- эксплуатационные свойства материала изолируемой поверхности;

- допустимые нагрузки на изолируемую поверхность;

- наличие вибрации и ударных воздействий;

- требуемую долговечность теплоизоляционной конструкции;

- санитарно-гигиенические требования;

- температурные деформации изолируемых поверхностей;

- конфигурацию и размеры изолируемой поверхности;

- условия монтажа (стесненность, высотность, сезонность и пр.)

При выборе теплоизоляционных материалов и конструкций для тепловой изоляции поверхностей с отрицательными температурами дополнительно следует учитывать относительную влажность окружающего воздуха, влажность теплоизоляционного материала и его паропроницаемость.

5.6.1. Для вертикальных трубопроводов высотой более 10 метров, горизонтальных трубопроводов, расположенных на эстакадах, над проездами для снижения трудоемкости работ рекомендуется предусматривать полносборные или комплектные конструкции и при монтаже использовать метод "надвига".

5.6.2. Температура применения теплоизоляционных материалов в обкладках определяется с учетом температуростойкости обкладочного материала.

Следует учитывать возможную линейную усадку при нагреве изолируемого объекта (особенно для жестких теплоизоляционных материалов), потерю массы и прочности во время нагрева, выгорание связующего.

Для конструкций с теплоизоляционным слоем из жесткого материала следует предусматривать вставки из волокнистого уплотняющегося материала.

5.6.3. При выборе теплоизоляционного материала учитываются требования пожарной безопасности в соответствии с нормами технологического проектирования соответствующих отраслей промышленности и положений СНиП 2.04.14-88*.

5.6.4. При выборе теплоизоляционных материалов и защитных покрытий следует учитывать совместимость элементов теплоизоляционной конструкции с агрессивными факторами окружающей среды, включая возможное воздействие веществ, содержащихся в изолируемом объекте.

Не допускается применение теплоизоляционных материалов, содержащих органические вещества, для изоляции конструкций оборудования и трубопроводов, содержащих сильные окислители (жидкий кислород).

Для металлических покрытий должна предусматриваться антикоррозионная защита или выбираться материал, не подверженный воздействию агрессивной среды.

5.6.5. При проектировании объектов с повышенными санитарно-гигиеническими требованиями к содержанию пыли в воздухе помещений в конструкциях теплоизоляции указанных объектов не допускается применение материалов, загрязняющих воздух в помещениях.

5.6.6. При изоляции трубопроводов из аустенитных сталей следует учитывать возможное коррозионное воздействие теплоизоляционного материала на изолируемые поверхности. Не допускается применение материалов, в которых содержание водорастворимых хлоридов превышает 0,03 % по массе.

5.6.7. При изоляции трубопроводов из пластических масс следует применять теплоизоляционные материалы низкой плотности с учетом возможной деформации материала под нагрузкой при повышенных температурах.

5.6.8. При изоляции стальных вертикальных резервуаров для хранения нефти и нефтепродуктов следует применять теплоизоляционные материалы низкой плотности с учетом ограничений по нагрузке от теплоизоляционных конструкций.

5.6.9. Для трубопроводов канальной прокладки допускается применение гидрофобизированых изделий из минеральной и стеклянной ваты в качестве теплоизоляционного слоя.

Не допускается применение теплоизоляционных материалов подверженных деструкции при взаимодействии с влагой (асбестосодержащая мастичная изоляция, изделия известково-кремнеземистые, перлитоцементные и совелитовые).

5.6.10. При определении расчетной теплопроводности теплоизоляционного материала следует учитывать возможность его уплотнения в конструкции, температуру теплоносителя, шовность конструкции, наличие крепежных деталей.

5.6.11. При выборе материала теплоизоляционного слоя конструкций с отрицательными температурами следует отдавать предпочтение материалам с закрытопористой структурой, если это не противоречит противопожарным нормам проектирования.

5.6.12. Теплоизоляционные материалы, применяемые в конструкциях теплоизоляции оборудования и трубопроводов, должны быть сертифицированы (иметь гигиенический, пожарный сертификаты и сертификат соответствия, выданный органами сертификации Госстроя РФ или Госстандарта РФ).

5.6.13. Теплоизоляционные материалы и изделия, применяемые в качестве теплоизоляционного слоя в составе теплоизоляционной конструкции, приведены в справочном приложении 2. Материалы, не включенные в приложение 4, а также вновь разработанные, могут применяться при соответствии их физико-технических характеристик требованиям к теплоизоляционным конструкциям и материалам, изложенным в п.п. 5.2 - 5.4.

5.6.14. При выборе теплоизоляционных материалов и изделий для объектов с положительной температурой теплоносителя следует руководствоваться таблицей 5.1.

5.6.15. При выборе теплоизоляционных материалов и изделий для объектов с положительной температурой теплоносителя следует руководствоваться таблицей 5.2.

Таблица 5.1. Область применения теплоизоляционных материалов для изоляции поверхностей с положительной температурой.

Наименование материала

Трубопроводы

Оборудование

Арматура

До 57 мм вкл.

25-219 мм

219 мм и более

530 мм и более

Резервуары и хранилища

Теплообменники

Емкостные горизонтальные и вертикальные

Аппараты колонного типа

Газоходы

Насосы, дымососы

фланцевая

приварная

муфтовая

Маты минераловатные прошивные безобкладочные

+

+

 

 

 

+

+

 

 

 

 

+

+

То же в обкладках

 

 

+

+

+

+

+

+

+

 

+

+

 

Плиты минераловатные на синтетическом связующем марок 50 и 75

 

 

+

+

 

+

+

 

 

 

+

+

 

То же марок 100, 125

 

 

 

+

+

+

+

+

 

 

 

 

 

Цилиндры из минераловатные на синтетическом связующем

+

+

 

 

 

 

 

 

 

 

+

+

+

Изделия минераловатные с гофрированной структурой марки 75

 

 

+

+

 

+

+

+

 

 

 

 

 

То же марки 100, 125

 

 

 

+

 

+

+

+

 

 

 

 

 

Маты из стеклянного штапельного волокна

 

+

+

 

 

+

 

 

 

 

+

+

+

Плиты из стеклянного штапельного волокна

 

 

 

+

+

 

+

+

 

 

 

 

 

Маты из базальтового супертонкого волокна

+

+

+

+

 

+

+

+

+

+

+

+

+

Маты из супертонкого стекловолокна без связующего

+

+

+

+

 

 

 

 

 

 

+

+

+

Полотно холстопрошивное ПСХ-Т или иглопробивное марки ИПС-Т

+

 

 

 

 

 

 

 

 

 

 

+

+

Пенополиуретан заливочный или напыляемый

+

+

+

+

+

+

+

+

 

 

 

 

 

Шнур асбестовый

+

 

 

 

 

 

 

 

 

 

 

+

+

Шнур минераловатный

+

 

 

 

 

 

 

 

 

 

 

+

+

Таблица 5.2. Область применения теплоизоляционных материалов для изоляции поверхностей с температурой 19 °С и выше

Наименование материала

Трубопроводы

Оборудование

Арматура

До 57 мм вкл.

25-219 мм

219 мм и более

530 мм и более

Резервуары и хранилища

Теплообменники

Емкости горизонтальные и вертикальные

Аппараты колонного типа

Воздуховоды

Кондиционеры

фланцевая

приварная

муфтовая

Плиты минераловатные на синтетическом связующем марок 50 и 75

 

 

+

+

 

+

+

+

 

 

+

+

 

То же марок 100, 125

 

 

 

+

+

+

+

+

+

 

 

 

 

Цилиндры из минераловатные на синтетическом связующем

+

+

 

 

 

 

 

 

 

 

+

+

+

Изделия минераловатные с гофрированной структурой марки 75

 

 

+

+

 

+

+

+

 

 

 

 

 

То же марки 100

 

 

 

+

 

+

+

+

 

 

 

 

 

Маты из стеклянного штапельного волокна

 

+

+

 

 

+

 

 

 

 

+

+

+

Плиты из стеклянного штапельного волокна

 

 

 

+

+

 

+

+

 

 

 

 

 

Маты из базальтового супертонкого волокна

+

+

+

+

 

+

+

+

+

+

+

+

+

Маты из супертонкого стекловолокна без связующего

+

+

+

+

 

 

 

 

 

 

+

+

+

Полотно холстопрошивное ПСХ-Т или иглопробивное марки ИПС-Т

+

 

 

 

 

 

 

 

 

 

 

+

+

Пенополиуретан заливочный или напыляемый

+

+

+

+

+

+

+

+

 

 

 

 

 

Скорлупы из пенополистирола ПСБ-С

+

+

 

 

 

 

 

 

+

 

+

+

+

Плиты из пенополистирола ПСБ-С

 

 

 

+

+

 

+

+

 

+

 

 

 

Плиты из экструдированного пенополистирола

 

 

 

+

+

 

+

+

 

+

 

 

 

Перлит (засыпка)

 

 

 

 

+

 

+

+

 

 

 

 

 

5.7. Номенклатура и технические характеристики и ориентировочный срок службы защитно-покровных материалов для тепловой изоляции оборудования и трубопроводов приведены в справочном приложении 3.

При выборе материала защитного покрытия учитываются следующие характеристики, влияющие на эксплуатационную надежность конструкции: водопроницаемость, прочность, горючесть, морозостойкость, стойкость к атмосферным воздействиям и воздействию химически агрессивных сред, стойкость к солнечной радиации, биостойкость, конструктивные и монтажные свойства.

5.7.1. При применении металлических защитных покрытий следует учитывать возможность их коррозии в условиях эксплуатации и предусматривать меры защиты от коррозии по СНиП 2.03.11-85 "Защита строительных конструкций от коррозии".

Не допускается применение алюминиевых сплавов в условиях прямого воздействия на них щелочей, кислот, галогенов, ртути и формальдегида без специальной защиты.

Не допускается применение покрытий из алюминиевых сплавов без защиты от коррозии при соприкосновении с изделиями и деталями теплоизоляционных конструкций, изготовленных из следующих материалов: углеродистая сталь (сетка, проволочные кольца, штыри, опорные кольца и т.п.); асбестоцементная и другие виды штукатурок, содержащих цемент.

Для грунтовки и окраски покрытий из алюминиевых сплавов не допускается применять краски, содержащие пигменты свинца, меди и ртути.

Не допускается применение кровельной стали в качестве защитного покрытия тепловой изоляции без защиты её от коррозии.

Тонколистовую оцинкованную сталь следует защищать от коррозии при возможности воздействия щелочей, галогенов, кислот и их солей и аммиака.

5.7.2. В помещениях цехов с агрессивной атмосферой применяют защитные покрытия из металлопласта. Не допускается применение металлопласта с полимерным покрытием в условиях прямого воздействия солнечной радиации.

5.7.3. При выборе защитных покрытий на основе синтетических и природных полимеров следует учитывать допустимую температуру применения материала, которая указывается в технических условиях или государственных стандартах на эти материалы.

5.7.4. Ориентировочный срок службы рекомендуемых к применению защитно-покровных материалов в неагрессивных средах приведен в приложении 3.

5.7.5. Качественные показатели устойчивости защитно-покровных материалов к внешним воздействиям при применении в конструкциях промышленной тепловой изоляции представлены в таблице 5.3.

Таблица 5.3.

Вид материала покрытия

Атмосферостойкость

Химическая стойкость

Морозостойкость

Биостойкость

Температуроустойчивость

Конструктивные свойства

Технологичность при обработке и монтаже

Транспортабельность

Декоративность

Металл

О

У

О

О

О

О

О

О

О

На основе синтетических полимеров:

У-Х

Х-О

X

X

У

Х-О

Х-О

X

Х-О

На основе природных полимеров:

У

X

У

У

У

У

У-Х

X

У

Минеральные

X

У

X

О

X

У-Х

X

У

У-Х

Дублированные

Основная характеристика материала определяется свойствами наружного металла и дублирующего слоя

Примечание: О - отличная, X - хорошая, У - удовлетворительная.

5.8. В конструкциях тепловой изоляции оборудования и трубопроводов с отрицательной температурой теплоносителя следует предусматривать пароизоляционный слой.

Номенклатура и технические характеристики пароизоляционных материалов приведены в рекомендуемом приложении 4.

5.9. Номенклатура, назначение и область применения применяемых в теплоизоляционных конструкциях вспомогательных материалов (крепежные материалы и изделия, конструкционные и клеящие материалы) приведены в справочном приложении 5.

6. ПРОЕКТИРОВАНИЕ ТЕПЛОВОЙ ИЗОЛЯЦИИ

6.1. Общие положения

6.1.1. Проектирование тепловой изоляции оборудования и трубопроводов промышленных предприятий следует выполнять на основании технического задания на проектирование, которое должно содержать необходимые для проектирования исходные требования:

- наименование объекта (цеха, предприятия) или его шифр, номер строительного титула с указанием местонахождения (город, район);

- стадийность проектирования;

- перечень изолируемого оборудования, линий трубопроводов, их шифры или маркировки. Должны быть указаны геометрические размеры: для трубопроводов - наружный (или условный) диаметр и длина, для арматуры и фланцевых соединений - диаметр условного прохода, для оборудования (аппаратов) - габаритные размеры или площадь поверхности (в случае сложной конфигурации)

- характеристику веществ, содержащихся в изолируемом объекте (наименование, температуру, давление и т.п.);

- расположение изолируемого объекта (на открытом воздухе, в помещении, канале, тоннеле, грунте) и расчетную температуру окружающего воздуха;

- если трубопровод или аппарат имеют наружный обогрев - указание об его виде и температуре греющих поверхностей (для трубопроводов-спутников следует указать их количество и наружный диаметр);

- указание назначения теплоизоляционной конструкции, а именно: обеспечение заданного значения теплового потока с поверхности изоляции; предотвращение конденсации влаги на поверхности изоляции; обеспечение заданной температуры на поверхности изоляции (от ожогов при обслуживании); предотвращение замерзания вещества, содержащегося в изолируемом оборудовании или трубопроводе к течение определенного времени; предотвращение конденсации влаги из транспортируемых газов на внутренней поверхности газоходов; сохранение заданной температуры транспортируемого вещества при его хранении; соблюдение заданного перепада температур на входе и выходе транспортируемого вещества;

- специальные требования к теплоизоляционным конструкциям, если таковые имеются (сейсмостойкость, стойкость к вибрации, и т.п.).

6.1.2. К техническому заданию на проектирование тепловой изоляции должны прилагаться чертежи общих видов подлежащего изоляции оборудования и наиболее сложных его узлов.

6.1.3. Состав и правила оформления рабочей документации по тепловой изоляции определяются ГОСТ 21.405. Рабочая документация по тепловой изоляции включает:

- основной комплект рабочих чертежей теплоизоляционных конструкций;

- техномонтажную ведомость;

- спецификацию оборудования.

Для сложных теплоизоляционных конструкций в составе рабочей документации дополнительно разрабатываются чертежи изделий и деталей, входящих в состав теплоизоляционной конструкции или привариваемых к изолируемой поверхности.

6.1.4. Выбор теплоизоляционных, защитно-покровных, пароизоляционных и вспомогательных материалов и изделий при проектировании осуществляется с учетом их назначения, области применения и эксплуатационных характеристик в конструкциях тепловой изоляции оборудования и трубопроводов в соответствии с требованиями раздела 5.

6.1.5. Расчет требуемой толщины теплоизоляционного слоя конструкций тепловой изоляции различного назначения выполняется по методикам и расчетным формулам приведенным в разделе 6.2.

6.1.6. Тепловая изоляция паропроводов в зависимости от конкретных условий применения может выполняться с целью обеспечения:

- заданной плотности теплового потока;

- заданного падения температуры пара (для паропроводов перегретого пара);

- заданного количества образующегося конденсата (для паропроводов насыщенного пара) при расчетной температуре окружающей среды.

При прокладке паропроводов в помещениях и проходных каналах следует выполнять проверочный расчет температуры поверхности изоляции на соответствие её требованиям техники безопасности.

6.1.7. Тепловая изоляция газоходов и металлических стволов дымовых труб предназначена для снижения температуры наружных поверхностей конструкций и предотвращения конденсации влаги на их внутренних поверхностях.

Тепловая изоляция дымовых труб и газоходов рассчитывается с учетом расхода, температурных параметров и влажности газов и температуры окружающей среды.

Тепловая изоляция должна выполняться на основании проекта, разработанного специализированной организацией.

6.1.8 Тепловая изоляция оборудования и трубопроводов с отрицательными температурами теплоносителя может выполняться:

- в соответствии с технологическими требованиями;

- с целью предотвращения или ограничения испарения теплоносителя;

- с целью предотвращения конденсации на поверхности изолированного объекта, расположенного в помещении;

- с целью предотвращения повышения температуры теплоносителя не выше заданного значения;

- по нормам тепловых потерь.

6.1.9. Тепловая изоляция трубопроводов холодной воды может выполняться:

- с целью предотвращения конденсации влаги на поверхности трубопровода, расположенного в помещении;

- с целью предотвращения замерзания воды при остановке её движения в трубопроводе, расположенном на открытом воздухе.

6.2. Определение толщины теплоизоляционного слоя по заданной плотности теплового потока

Плотность теплового потока может быть задана исходя из условий технологического процесса или определена по нормам, приведенным в нормативных документах.

6.2.1. Толщину теплоизоляционного слоя δk по заданной или нормированной плотности теплового потока для оборудования с плоской или цилиндрической поверхностью наружным диаметром более 1020 мм и трубопроводов; наружным диаметром более 1020 мм следует определять по формуле:

                                           (1)

где: dk - толщина теплоизоляционного слоя, м;

lk - теплопроводность изоляционного слоя, Вт/(м×°С);

tw - температура теплоносителя, °С;

te - температура окружающего воздуха, °С;

q - поверхностная плотность теплового потока, Вт/м2;

ae - коэффициент теплоотдачи от поверхности изоляции в окружающий воздух, Вт/(м2×°С).

6.2.2. Толщину теплоизоляционного слоя dk по заданной или нормированной плотности теплового потока с поверхности изоляции для трубопроводов и оборудования наружным

                                            (2)

                                                        (3)

диаметром до 1020 мм включительно следует определять по формулам:

где: di - наружный диаметр изоляционной конструкции, м;

d - наружный диаметр изолируемого объекта, м;

ql - линейная плотность теплового потока, Вт/м.

6.2.3. При определении толщины теплоизоляционного слоя по нормам плотности теплового потока следует принимать:

а) расчетную температуру окружающего воздуха:

- для объектов, расположенных на открытом воздухе 1,2 °С;

- для объектов, расположенных в помещении 20 °С;

б) среднегодовую температуру теплоносителя;

в) коэффициент теплоотдачи, aе - по приложению 6;

г) теплопроводность теплоизоляционного материала - при средней температуре теплоизоляционного слоя, определяемой как среднеарифметическое между температурой изолируемой поверхности и температурой поверхности изоляции;

д) плотность теплового потока при расчетах по нормам плотности теплового потока следует принимать:

- для оборудования и трубопроводов с положительными температурами, расположенных на открытом воздухе объектов Свердловской области - по таблице 1 обязательного приложения 7;

- для оборудования и трубопроводов с положительными температурами, расположенных в помещениях объектов Свердловской области - по таблице 2 обязательного приложения 7;

- для оборудования и трубопроводов с положительными температурами, расположенных на открытом воздухе объектов города Екатеринбурга - по таблице 3

обязательного приложения 7;

- для оборудования и трубопроводов с положительными температурами, расположенных в помещениях объектов города Екатеринбурга - по таблице 4

обязательного приложения 7;

- для оборудования и трубопроводов с отрицательными температурами, расположенными на открытом воздухе и в помещениях - в соответствии с рекомендациями СНиП 2.04.14-88* "Тепловая изоляция оборудования и трубопроводов" с изменением № 1.

6.2.4. При расчетах толщины тепловой изоляции по заданной плотности теплового потока, отличающейся от нормированной - плотность теплового потока задают, исходя из условий технологического процесса или общего баланса тепла всего объекта.

6.2.5. Полный тепловой поток с поверхности изоляции трубопроводов и аппаратов диаметром до 1020 мм вкл. следует определять по формуле:

,                                                           (4)

полный тепловой поток с поверхности изоляции оборудования и трубопроводов наружным диаметром более 1020 мм следует определять по формуле:

,                                                       (5)

где: Q - полный тепловой поток, Вт;

L - длина трубопровода, м;

F - площадь поверхности оборудования, м2;

Kred - коэффициент, учитывающий дополнительный тепловой поток через подвески и опоры трубопроводов и оборудования, следует принимать по таблице 6.1.

6.2.6. При расчетах толщины тепловой изоляции теплоизоляционную конструкцию, состоящую из однородного материала, установленного в несколько слоев, рассматривают, как однослойную.

При расчете толщины двухслойной изоляционной конструкции из разнородных теплоизоляционных материалов межслойную температуру следует задавать ниже максимальной температуры применения изоляционного материала наружного слоя. Толщину каждого слоя рассчитывают отдельно.

Таблица 6.1. Коэффициент Kred, учитывающий дополнительный тепловой поток через опоры трубопроводов и оборудования

Способ прокладки трубопроводов

Kred

Надземный на открытом воздухе, в непроходных каналах, тоннелях и помещениях:

 

для стальных трубопроводов на подвижных опорах, условным проходом

 

-до 150 мм

1,2

- 150 мм и больше

1,15

для стальных трубопроводов на подвесных опорах

1,05

для неметаллических трубопроводов на

1,7

для неметаллических трубопроводов, изолируемых совместно с основанием

1,2

для групповой прокладки неметаллических трубопроводов на сплошном настиле

2

Бесканальный

1,15

Оборудование

1,1

6.2.7. Рекомендуемая толщина теплоизоляционного слоя в конструкциях на основе матов минераловатных прошивных марки 100 по ГОСТ 21880-94 и плит теплоизоляционных из минеральной ваты на синтетическом связующем марки 75 по ГОСТ 9573-96, отвечающая нормам плотности теплового потока для Свердловской области и г. Екатеринбурга приведена в рекомендуемом приложении 8.

6.3. Определение толщины изоляционного слоя по заданной температуре на поверхности изоляции.

Расчет толщины изоляции по заданной температуре на поверхности изоляции следует производить в случаях, когда тепловой поток с поверхности изоляции не регламентирован, а изоляция необходима как средство, обеспечивающее нормальную температуру воздуха в рабочих помещениях, или предохраняющее обслуживающий персонал от ожогов.

6.3.1. Толщину теплоизоляционного слоя следует определять:

                                                           (6)

для плоской и цилиндрической поверхности диаметром более 2 м по формуле:

                                                   (7)

для цилиндрической поверхности диаметром менее 2 м по формуле:

где: ti - температура на поверхности изоляционной конструкции, °С;

tw, te, di, d - по пункту 6.2.1.

6.3.2. Температура на поверхности изоляции принимается согласно заданию или:

а) для изолируемых поверхностей, расположенных в рабочей или обслуживаемой зоне помещений:

- 45 °С - при температуре теплоносителя выше 100 °С;

- 35 °С - при температуре теплоносителя до 100 °С вкл.;

- 35 °С - для поверхностей оборудования и трубопроводов, содержащих вещества с температурой вспышки паров не выше 45 °С;

б) для изолируемых поверхностей, расположенных на открытом воздухе:

- 60 °С - на открытом воздухе при штукатурном или неметаллическом покровном слое;

- 55 °С - при металлическом покровном слое.

Температура на поверхности тепловой изоляции трубопроводов и оборудования, расположенных за пределами рабочей или обслуживаемой зоны, не должна превышать температурных пределов применения материалов покровного слоя, но не выше 75 °С.

6.3.3. Температуру окружающего воздуха следует принимать для изолируемых поверхностей:

- расположенных на открытом воздухе - среднюю максимальную наиболее жаркого месяца (для г. Екатеринбурга 23,1 °С);

- расположенных в помещениях - в соответствии с заданием, если не указано в задании - (+ 20 °С).

6.3.4. Коэффициент теплоотдачи, aе следует принимать по справочному приложению 6.

6.3.5. Рекомендуемая толщина теплоизоляционного слоя в конструкциях теплой изоляции на основе матов минераловатных прошивных марки 100 по ГОСТ 21880-94, предназначенных для обеспечения заданной температуры на поверхности изоляции трубопроводов и оборудования, расположенных на открытом воздухе и в помещении, приведена в таблице 1 рекомендуемого приложения 9.

6.3.6. Рекомендуемая толщина теплоизоляционного слоя из плит теплоизоляционных из минеральной ваты на синтетическом связующем марки 75 по ГОСТ 9573-96 в конструкциях тепловой изоляции, предназначенных для обеспечения заданной температуры на поверхности изоляции трубопроводов и оборудования, расположенных на открытом воздухе и в помещении, приведена в таблице 2 рекомендуемого приложения 9.

6.4. Определение толщины теплоизоляционного слоя с целью предотвращения конденсации влаги на поверхности изоляции.

6.4.1. Толщину теплоизоляции с целью предотвращения конденсации влаги из воздуха на поверхности изоляции следует выполнять для оборудования и трубопроводов, транспортирующих вещества с температурой ниже температуры окружающего воздуха и расположенных в помещении.

Для оборудования и трубопроводов, расположенных на открытом воздухе, такой расчет не выполняют.

Расчетную толщину теплоизоляционного слоя для трубопроводов и оборудования наружным диаметром до 2 м следует определять по формуле:

                                   (10)

после определения  толщину изоляции определяют по формуле (3).

6.4.2. Расчетную толщину тепловой изоляции для плоских и цилиндрических поверхностей диаметром 2 м и более определяют по формуле:

                                                         (11)

6.4.3. При расчетах толщины теплоизоляционного слоя следует принимать:

- температуру и относительную влажность воздуха - в соответствии с заданием,

- допустимый перепад температур (te-ti) при температуре и относительной влажности окружающего воздуха (j) в помещении рекомендуется принимать по таблице 6.2.;

- коэффициент теплоотдачи, αе следует принимать по справочному приложению 6.

6.4.4. Рекомендуемая толщина теплоизоляционного слоя из матов минераловатных прошивных марки 100, плит теплоизоляционных из минеральной ваты на синтетическом связующем марки 75, теплоизоляционных материалов с расчетным коэффициентом теплопроводности 0,03 5 Вт/(м×К) и 0,04 Вт/(м×К) в конструкциях тепловой изоляции оборудования и трубопроводов, расположенных в помещениях с температурой окружающего воздуха 20 °С и относительной влажности воздуха 60, 75 и 80 % приведена в таблицах 1 - 4 приложения 10.

Таблица 6.2. Расчетный перепад между температурой поверхности изоляции и температурой воздуха в помещении (te-ti) при расчетной относительной влажности окружающего воздуха.

Температура воздуха, te°C

Относительная влажность воздуха, φ, %

50

60

70

80

90

Расчетный перепад, (teti), °C

16

10,2

7,6

5,3

3,3

1,5

18

10,4

7,7

5,4

3,3

1,5

20

10,5

7,8

5,4

3,4

1,5

22

10,7

7,9

5,5

3,4

1,5

24

10,9

8,0

5,6

3,5

1,6

26

11,0

8,2

5,7

3,5

1,6

28

11,2

8,3

5,8

3,6

1,6

30

11,4

8,4

5,9

3,6

1,6

6.5. Определение толщины теплоизоляционного слоя для паропроводов с целью обеспечения заданных параметров пара.

6.5.1. Расчетную толщину теплоизоляционного слоя для паропроводов насыщенного пара по заданному количеству конденсата следует определять по формуле:

                             (12)

где:

- Gw - расход пара, кг/ч,

- r - скрытая теплота парообразования, кДж/кг;

- т - коэффициент, определяющий допустимое количество конденсата в паре.

6.5.2. Расчетную толщину теплоизоляционного слоя для паропроводов перегретого пара по падению температуры пара следует определять по формуле:

          (13)

где:

- twm средняя температура пара в трубопроводе, определяемая как (twl + tw2)/2, где twl - начальная температура пара в паропроводе, tw2 - конечная температура пара в паропроводе, °С;

- dint - внутренний диаметр паропровода, м;

- aint - коэффициент теплоотдачи от пара к стенке трубопровода, Вт/(м2 °С);

- - энтальпия пара при начальной температуре пара в паропроводе, кДж/кг.

- - энтальпия пара при допустимой конечной температуре пара в паропроводе, кДж/кг.

6.5.3. Температуру окружающего воздуха следует принимать как среднюю температуру наиболее холодной пятидневки для г. Екатеринбурга и севера Свердловской области по СНиП 23-01-99.

Коэффициент теплоотдачи от поверхности изоляции к окружающему воздуху следует принимать по приложению 6.

Энтальпия при начальной и конечной температурах пара определяется по таблицам теплофизических свойств воды и водяного пара.

Коэффициент теплоотдачи от пара к стенке паропровода определяется по эмпирическим формулам, учитывающим термодинамические параметры, теплофизические свойства и расход теплоносителя и приведенным в справочной литературе по теплопередаче.

6.6. Определение толщины теплоизоляционного слоя для предотвращения конденсации влаги на внутренних поверхностях объектов, транспортирующих газообразные вещества, содержащие водяные пары.

6.6.1. Для объектов (газоходов) прямоугольного сечения или цилиндрического диаметром более 2 м расчет толщины теплоизоляционного слоя следует производить по формуле:

где: twz - температура замерзания жидкости, °С;

vw - объём жидкости на метр длины трубопровода, м3;

rw - плотность жидкости, кг/м3;

cw - удельная теплоемкость жидкости, кДж/(кг×К)

vт - объём стенки на метр длины трубопровода, м3;

rm - плотность материала стенки трубопровода, кг/м3;

cm - удельная теплоемкость материала стенки, кДж/(кг×К);

rw - скрытая теплота замерзания (плавления), кДж/кг.

Z - заданное время приостановки движения жидкости, час.

6.7.2. Толщину теплоизоляционного слоя для стальных трубопроводов, транспортирующих холодную воду, следует определять по формуле:

            (17)

6.7.3. Расчетную температуру окружающего воздуха следует принимать как среднюю температуру наиболее холодной пятидневки с обеспеченностью 0,98.

Температура воздуха наиболее холодной пятидневки для г. Екатеринбурга минус 38 °С; для г. Ивдель - минус 43 °С.

Коэффициент теплоотдачи, ае следует принимать по приложению 6.

6.7.4. Расчетное время, в течение которого конструкция тепловой изоляции с теплоизоляционным слоем заданной толщины и расчетным и коэффициентами теплопроводности 0,035, 0,04, 0,054 и 0,059 Вт/(м×°С) предотвращает замерзание холодной воды с начальной температурой 5 и 10 °С в трубопроводах, расположенных на открытом воздухе и необогреваемых помещениях объектов г. Екатеринбурга и севера Свердловской области (г. Ивдель), при постановке её движения представлена в справочном приложении 11. При других исходных данных время до замерзания воды в трубопроводах определяется по изложенной выше методике.

6.8. Определение толщины теплоизоляционного слоя по заданному снижению температуры вещества, транспортируемого трубопроводами.

6.8.1. Расчет толщины теплоизоляционного слоя производят по следующим формулам:

при                (18)

при              (19)

6.8.2. Расчетную температуру окружающего воздуха следует принимать как среднюю температуру наиболее холодной пятидневки с обеспеченностью 0,98, соответственно, для г. Екатеринбурга минус 38 °С для севера Свердловской области - минус 43 °С.

Коэффициент теплоотдачи, αе следует принимать по приложению 6.

6.9. Определение толщины теплоизоляционного слоя по заданной величине охлаждения вещества, хранимого в емкости.

6.9.1 Расчет толщины теплоизоляционного слоя следует производить по формуле:

           (20)

где: Vw - объем хранимого вещества в емкости, м3;

Vm - объем стенки емкости, м3;

F - площадь изолируемой поверхности емкости, м2;

rw - плотность хранимого вещества, кг/м3;

сm - удельная теплоемкость вещества, кДж/(кг×К);

rm - плотность материала стенки емкости, кг/м3;

ст - удельная теплоемкость материала стенки, кДж/(кг×К);

Z - заданное время хранения вещества, час.

6.9.2. Температуру окружающего воздуха следует принимать:

- при расположении на открытом воздухе - среднюю наиболее холодной пятидневки обеспеченностью 0,98;

- при расположении в помещении - в соответствия с техническим заданием. Коэффициент теплоотдачи от покрытия изоляции к окружающему воздуху следует принимать по приложению 6.

6.10. Тепловая изоляция трубопроводов тепловых сетей.

6.10.1. Расчет изоляции тепловых сетей надземной прокладки выполняется так же, как и для технологических с положительными температурами, по нормам плотности теплового потока с учетом времени их работы.

Методика расчета нормативной толщины теплоизоляционного слоя для трубопроводов тепловых сетей надземной прокладки приведена в пункте 6.2.

За расчетную температуру наружной среды te, при круглогодичной работе тепловой сети принимают среднегодовую температуру наружного воздуха, а при работе только в отопительный период - среднюю за отопительный период.

6.10.2. Расчет тепловой изоляции трубопроводов подземной двухтрубной бесканальной прокладки.

Толщину теплоизоляционного слоя по нормам плотности теплового потока или по заданной плотности теплового потока при одинаковой глубине заложения следует определять по формулам:

- для подающего трубопровода:

- для обратного трубопровода:

               (21)

               (22)

где:

qi1, qi2 - линейные плотности теплового потока от и обратного трубопроводов, вт/м;

d1, d2 - наружные диаметры подающего и обратного трубопроводов, м;

di1, di2 - наружные диаметры теплоизоляционной конструкции подающего и обратного трубопроводов, м;

tw1, tw2 - температуры подающего и обратного трубопроводов, °С;

tgr - температура грунта на глубине заложения оси трубопровода, °С;

lk1 и lk2 - коэффициенты теплопроводности тепловой изоляции подающего и обратного трубопроводов в конструкции, Вт/(м×°С);

lgr - теплопроводность грунта, Вт/(м×°С), по приложению 12;

H - глубина заложения оси трубопроводов, м;

r0 - фактор термического сопротивления взаимного влияния трубопроводов при двухтрубной прокладке.

После определения величин ln (di1/di2) и ln (di2/di1) толщина теплоизоляционного слоя конструкции изоляции подающего и обратного трубопроводов δk1 и δk2 определяется по формуле (3).

Фактор термического сопротивления взаимного влияния трубопроводов при двухтрубной прокладке определяется по формуле:

                                      (23)

где N - расстояние между осями трубопроводов по горизонтали, м.

При глубине заложения менее 0,7 м в формулы (19)-(21) вместо глубины заложения Н следует подставлять приведенную глубину заложения Нp (без учета высоты снежного покрова):

                                                          (24)

Вместо температуры грунта tgr в формулы (21) и (23) следует подставлять температуру окружающего воздуха te.

Линейную плотность теплового потока по заданной толщине теплоизоляционных конструкций следует определять:

- подающего трубопровода:

                                                 (25)

- для обратного трубопровода:

                                                 (26)

где:

- полное термическое сопротивление теплоизоляционных конструкций подающего и обратного трубопроводов, соответственно:

                                    (27)

                                   (28)

где:

- y1 и y2 - коэффициенты, определяющие дополнительное термическое сопротивление подающего и обратного трубопроводов;

- rgr1(2) - термическое сопротивление грунта для прямого и обратного трубопроводов, соответственно, м×°С/Вт, которое при двухтрубной бесканальной обкладке определяется по формуле:

                                  (29)

При H/dil(2) ³ 1,25 термическое сопротивление грунта определяют по формуле:

                                              (30)

Коэффициенты, определяющие дополнительное термическое сопротивление подающего и обратного трубопроводов, y1 и y2 следует определять по формулам:

                             (31)

                         (32)

При известных плотностях теплового потока коэффициенты y1 и y2 следует определять по формулам:

                                                                   (33)

                                                                  (34)

При расчетах тепловой изоляции трубопроводов подземной бесканальной прокладки следует принимать:

а) расчетную среднегодовую температуру теплоносителя подающего и обратного трубопроводов водяных тепловых сетей по таблице 6.3.

Таблица 6.3. Среднегодовые температуры теплоносителя в водяных тепловых сетях.

Температурные режимы водяных тепловых сетей, °С

95-70

150-70

180-70

Трубопровод

Расчетная температура теплоносителя, (tw) °С

Подающий

65

90

110

Обратный

50

50

50

б) расчетную температуру наружной среды te при глубине заложения до оси трубопровода 0,7 м и менее:

- при круглогодичной работе тепловой сети - среднегодовую температуру наружного воздуха,

- при работе только в отопительный период - среднюю за отопительный период;

в) при глубине заложения оси трубопровода более 0,7 м - среднюю за год температуру грунта на глубине заложения трубопровода;

г) расчетный коэффициент теплоотдачи aе = 35 Вт /(м2 °С)

д) теплопроводность грунта рекомендуется принимать по приложению.

Нормы плотности теплового потока с поверхности изоляции трубопроводов тепловых сетей подземной бесканальной прокладки следует принимать по СНиП 2.04.14-88* "Тепловая изоляция оборудования и трубопроводов" см. изм. № 1.

6.10.3. Расчет тепловой изоляции трубопроводов тепловых сетей подземной прокладки в непроходных каналах.

Линейную плотность теплового потока по заданной толщине теплоизоляционных конструкций следует определять по формулам (25) и (26), при этом:

- полное термическое сопротивление теплоизоляционных конструкций подающего и обратного трубопроводов, соответственно, определяют по формулам:

                                           (35)

                                  (36)

где:

- rc - линейное термическое сопротивление канала, м×°С/Вт

- yc1 и yc2 - коэффициенты, определяющие дополнительное термическое сопротивление подающего и обратного трубопроводов в канале;

- ae1 - коэффициент теплоотдачи от поверхности теплоизоляционной конструкции к окружающему воздуху в канале, Вт /(м2×°С).

Линейное термическое сопротивление канала, rc, следует определять по формуле:

                                              (37)

где:

- h и b - внутренние размеры канала (высота и ширина), м;

- - коэффициент теплоотдачи от воздуха к стенке канала, Вт/(м2×°С).

Термическое сопротивление грунта определяют по формулам (29) или (30) в зависимости от глубины заложения канала, при этом вместо наружного диаметра изоляционной конструкции трубопровода, dil(2) следует подставлять эквивалентный диаметр канала,

                                                              (38)

При глубине заложения канала 0,7 и менее м следует пользоваться указаниями пункта 6.10.2.

Коэффициенты, определяющие дополнительное термическое сопротивление подающего и обратного трубопроводов в канале, yc1 и yc2 определяют по формулам:

     (39)

    (40)

Температуру воздуха в канале, tc, следует определять по формуле:

                                       (41)

где:

а) ri1 и ri2 - термическое сопротивление теплоизоляционных конструкций подающего и обратного трубопроводов, м×°С/Вт:

                                                      (42)

                                                     (43)

б) re1 и re2 - термическое сопротивление теплоотдачи от поверхности теплоизоляционной конструкции подающего и обратного трубопроводов к воздуху в канале, м*°С/Вт:

                                                          (44)

                                                         (45)

Толщину тепловой изоляции подающего и обратного трубопроводов по заданной плотности теплового потока следует определять по формулам:

                              (46)

                              (47)

Нормы плотности теплового потока с изолированной поверхности подающего и обратного трубопроводов водяных тепловых сетей следует принимать по обязательному приложению 13.

При расчетах тепловой изоляции трубопроводов подземной двухтрубной канальной прокладки тепловых сетей следует принимать:

а) расчетную среднегодовую температуру теплоносителя подающего и обратного трубопроводов - по пункту 6.10.2.;

б) расчетную температуру наружной среды te при глубине заложения до верха канала

0,7 м и менее:

- при круглогодичной работе тепловой сети - среднегодовую температуру наружного воздуха;

- при работе только в отопительный период - среднюю за отопительный период;

в) при глубине заложения верха канала более 0,7 м - среднюю за год температуру грунта на глубине заложения оси трубопроводов;

г) расчетный коэффициент теплоотдачи αе = 35 Вт /(м2 °С) (при глубине заложения верха канала 0,7 м и менее);

д) коэффициенты теплоотдачи от поверхности теплоизоляционной конструкции к окружающему воздуху в канале, αе1 и αе2, и коэффициент теплоотдачи от воздуха к стенке канала, , Вт/(м2×°С) следует принимать по справочному приложению 6;

е) теплопроводность грунта рекомендуется принимать по приложению 12. Толщина теплоизоляционного слоя из матов минераловатных прошивных марки 100 по ГОСТ 21880-94 и плит теплоизоляционных из минеральной ваты на синтетическом связующем марки 75 по ГОСТ 9573-96 для конструкций тепловой изоляции трубопроводов тепловых сетей подземной двухтрубной канальной прокладки приведены в таблицах 1, 2 справочного приложения 14.

6.11. Правила конструирования тепловой изоляции.

6.11.1. В состав конструкции тепловой изоляции для поверхностей с положительной температурой выше температуры окружающего воздуха в качестве обязательных элементов входят:

- теплоизоляционный слой;

- защитное покрытие;

- элементы крепления.

6.11.2. В состав конструкции тепловой изоляции для поверхностей с отрицательной температурой в качестве обязательных элементов входят:

- теплоизоляционный слой;

- пароизоляционный слой;

- защитное покрытие;

- элементы крепления.

6.11.3. В зависимости от применяемых конструктивных решений в состав конструкции дополнительно могут входить:

- выравнивающий слой;

- предохранительный слой.

6.11.4. Для поверхностей с температурой выше 250 °С следует предусматривать теплоизоляционные конструкции включающие 2 и более теплоизоляционных слоя с перекрытием швов.

6.11.5. Предельная толщина теплоизоляционного слоя в конструкциях тепловой изоляции оборудования и трубопроводов приведена в приложении 15.

Применение конструкций с большей толщиной теплоизоляционного слоя требует технического обоснования.

6.14.6. Для элементов оборудования и трубопроводов, требующих в процессе эксплуатации систематического наблюдения, следует предусматривать сборно-разборные съемные теплоизоляционные конструкции.

6.11.7. Расчетную толщину тепловой изоляции определяют по методикам, приведенным в разделах 6.2-6.13. Если расчетная толщина теплоизоляционного слоя не совпадает с номенклатурной толщиной выбранного материала, следует принимать по действующей номенклатуре ближайшую более высокую толщину теплоизоляционного материала.

Допускается принимать ближайшую более низкую толщину теплоизоляционного слоя в случаях расчета по температуре на поверхности изоляции и нормам плотности теплового потока, если разница между расчетной и номенклатурной толщиной не превышает 3 мм.

6.11.8. Толщина тепловой изоляции приварной, муфтовой и несъемной фланцевой арматуры следует принимать равной толщине изоляции трубопровода.

Толщина тепловой изоляции фланцевых соединений и фланцевой арматуры с положительной температурой транспортируемых веществ при съемных теплоизоляционных конструкциях должна быть равной толщине изоляции трубопровода, но не более 120 мм.

Толщина тепловой изоляции фланцевых соединений и фланцевой арматуры с отрицательной температурой транспортируемых веществ при съемных теплоизоляционных конструкциях должна быть равной толщине изоляции трубопровода.

6.11.9. Конструкция тепловой изоляции оборудования и трубопроводов с отрицательными температурами не должна иметь сквозных теплопроводных включений ("мостиков холода").

При проектировании опорных полок и разгружающих устройств следует предусматривать сквозные элементы или их части из материалов с теплопроводностью не более 0,3 Вт/(м×°С) для снижения теплового потока и разности температур между поверхностью изоляции в районе опорного элемента и окружающего воздуха.

6.11.10. Конструкция тепловой изоляции оборудования и трубопроводов с положительными температурами не должна иметь сквозных теплопроводных включений.

При проектировании опорных полок и разгружающих устройств в составе теплоизоляционных конструкций оборудования и трубопроводов с положительными температурами следует предусматривать конструктивные элементы в виде прокладок или опор из малотеплопроводных материалов, предотвращающие увеличение плотности теплового потока и температуры на поверхности теплоизоляционной конструкции в местах прохождения теплопроводных включений.

6.11.11. Кромки продольного нахлеста защитных покрытий смежных конструкций тепловой изоляции трубопроводов должны быть смещены друг относительно друга в шахматном порядке на расстояние не более, чем на 30 - 50 мм. Продольный нахлест конструкции должен располагаться не выше уровня горизонтальной оси трубопровода.

6.11.12. Торцевая теплоизоляционная конструкция перед фланцевым соединением или арматурой на трубопроводе закрывается плоскими, составными, гофрированными или разрезными диафрагмами. Если фланцевое соединение не подлежит изоляции - торцы конструкций оформляются "под конус".

6.11.13. Крепление теплоизоляционного слоя однослойных теплоизоляционных конструкций на трубопроводах рекомендуется предусматривать:

- при изоляции цилиндрами-бандажами из ленты упаковочной оцинкованной или черной окрашенной 0,7×20 мм не менее, чем по 2 штуки на изделие. Допускается замена бандажей на кольца из проволоки диаметром 2 мм;

- при изоляции горизонтальных участков трубопроводов и цилиндрических аппаратов наружным диаметром, минераловатными и стекловолокнистыми плитами или матами-бандажами и подвесками из проволоки диаметром 1,2 - 2,0 мм. Бандажи следует предусматривать с шагом не более 500 мм или по 3 бандажа на изделие длиной 1000 мм. Подвески, устанавливаемые между бандажами, рекомендуется предусматривать для трубопроводов наружным диаметром 219 мм и более. При изоляции плитами или безобкладочными матами под подвески следует предусматривать подкладки из рубероида, стеклопластика или другого упругого материала.

При изоляции трубопроводов и горизонтальных частей цилиндрических аппаратов наружным диаметром 520 мм и более мягкими и полужесткими волокнистыми теплоизоляционными материалами допускается предусматривать крепление теплоизоляционного слоя с помощью проволочного каркаса, заранее монтируемого на трубопроводе, и бандажей.

Каркас, как правило, выполняется в виде колец из проволоки диаметром 3 мм с шагом 500 мм по длине трубопровода (аппарата) с прикрепленными к ним стяжками из проволоки диаметром 1,2 мм с интервалом не более 500 мм по дуге периметра трубопровода. Теплоизоляционные маты или плиты притягиваются стяжками к поверхности трубопровода (аппарата). По теплоизоляционному слою предусматриваются бандажи из металлической ленты или проволочные кольца.

При изоляции скорлупами из пенопластов рекомендуется предусматривать крепление двумя бандажами на одно изделие.

Для сегментов из пенопластов (сегменты могут нарезаться из плит) рекомендуется предусматривать крепление бандажами и приклейку на мастике со смещением поперечных швов на длину, равную половине изделия. Изделия устанавливают на слое мастики с заполнением продольных и поперечных швов. Мастики применяются с наполнителем из крошки изделий, применяемых в качестве основного теплоизоляционного слоя. Количество бандажей регламентируется длиной изделий.

6.11.14. Крепление теплоизоляционных слоев многослойной конструкции предусматривают аналогично креплению однослойных конструкций с заменой бандажей по внутренним слоям на проволочные кольца.

Наружный слой теплоизоляционных изделий устанавливают с перекрытием швов между изделиями первого слоя.

6.11.15. При изоляции трубопроводов диаметром до 57 мм вкл. Полосами из стекловолокнистых материалов допускается предусматривать крепление спиральной навивкой проволоки по теплоизоляционному слою и сшивку краев полос.

6.11.16. При изоляции вертикальных участков трубопроводов диаметром до 273 мм включительно, для предотвращения сползания бандажей рекомендуется предусматривать вертикальные струны из проволоки. Следует устанавливать 2 струны с противоположных сторон теплоизоляционного слоя.

При изоляции вертикальных участков трубопроводов (аппаратов) диаметром более 273 мм для крепления теплоизоляционного слоя рекомендуется предусматривать с помощью проволочного каркаса по п. 6.14.13. Дополнительно для фиксации бандажей (или колец) следует предусматривать проволочные струны с шагом 500 мм по окружности.

6.11.18. В составе теплоизоляционных конструкций оборудования и трубопроводов следует предусматривать опорные элементы и разгружающие устройства, обеспечивающие механическую прочность и эксплуатационную надежность конструкций.

На вертикальных участках трубопроводов (аппаратов) должны быть предусмотрены опорные конструкции, разгружающие устройства с шагом через 3-4 метра по высоте трубопровода (аппарата).

6.11.19. Для компенсации напряжений, возникающих в конструкции вследствие различия коэффициентов температурного расширения материалов изолируемого объекта и материалов теплоизоляционной конструкции для сохранения целостности теплоизоляционных конструкций следует предусматривать компенсационные температурные швы.

Температура изолируемой поверхности, °С

Шаг между температурными швами, м

до 200

5

200-300

4

300-400

2,7

более 400

2

Температурные швы рекомендуется устанавливать со следующим шагом:

6.11.20. Толщина теплоизоляционного слоя из волокнистых уплотняющихся теплоизоляционных материалов не должна быть менее 20 мм.

6.11.21. При проектировании теплоизоляционных конструкций из заливочного пенополиуретана следует предусматривать:

- марки пенополиуретана, не содержащие фреон;

- для защитного покрытия - листы из оцинкованной стали толщиной 0,5 мм при наружном диаметре теплоизоляционной конструкции до 600 мм; толщиной 0,7 - 0,8 мм - при наружном диаметре от 600 до 1500 мм; толщиной 1 мм - при наружном диаметре теплоизоляционной конструкции более 1500 мм.

6.11.22. При изоляции трубопроводов жесткими формованными изделиями и пенопластами следует предусматривать вставки из волокнистых сжимаемых материалов, для компенсации температурных деформаций трубопровода и усадки жестких изделий при температурных воздействиях.

6.11.23. Пароизоляционный слой следует предусматривать в конструкциях теплоизоляции оборудования и трубопроводов с температурой ниже температуры окружающей среды, если расчетная температура холодной поверхности ниже температуры «точки росы» при расчетном давлении и влажности окружающего воздуха.

Пароизоляционный слой в конструкциях тепловой изоляции промышленного оборудования и трубопроводов всегда должен находиться на стороне с более высокой температурой поверхности.

6.11.24. Требуемое количество пароизоляционных слоев для конструкции тепловой изоляции с отрицательной температурой теплоносителя в зависимости от материала пароизоляционного слоя, срока службы и температуры изолируемой поверхности следует принимать по табл. 6.4.

Таблица 6.4. Количество пароизоляционных слоев в конструкции тепловой изоляции объектов с отрицательной температурой теплоносителя.

Пароизоляционный материал

Толщина, мм

 

8

12

 

Пленка полиэтиленовая, ГОСТ 10354-82

0,15-0,2

2

2

0,21-0,3

1

2

0,31-0,5

1

1

Фольга алюминиевая, ГОСТ 618-73

0,06-0,1

1

2

Изол, ГОСТ 10296-79

2

1

2

Рубероид ГОСТ 10923-93

1

3

-

1,5

2

3

6.11.25. Расчетное сопротивление паропроницанию пароизоляционных слоев определяют по формуле:

                                                           (48)

где:

Rn - расчетное сопротивление паропроницанию, сН/кг;

п - количество слоев материала в покрытии;

Rmat - сопротивление паропроницанию одного слоя материала, сН/кг;

Кт - монтажный коэффициент запаса.

Сопротивление паропроницанию пароизоляционных рулонных материалов, Rmat, рекомендуется принимать по таблице 6.5.

Таблица 6.5. Сопротивление паропроницанию пароизоляционных рулонных материалов, Rmat

Наименование материала

Толщина слоя, мм

Сопротивление паропроницанию, Rmat ·10-10, сН/кг

запаса, Кт

1 слой

два слоя и более

Полиэтиленовая пленка

0,03-0,08

4,8

0,5

0,7

0,08-0,12

9,6

0,12-0,15

14,4

0,15-0,20

16,8

Изол

2

33,6

0,3

0,5

Рубероид

1

1,5

4,8

7,2

0,6

0,8

6.11.26. Для низкотемпературного оборудования и трубопроводов с переменным температурным режимом работы, необходимость установки пароизоляционного слоя определяется расчетом с учетом возможности испарения конденсата с поверхности покрытия и теплоизоляционного слоя.

6.11.27. При проектировании следует предусматривать герметизацию швов пароизоляционного слоя и меры по предотвращению его повреждения в процессе монтажа.

Для предотвращения повреждения пленочных пароизоляционных материалов при применении металлического защитного покрытия следует устанавливать предохранительный слой из тонкого рулонного материала, например, стеклорогожки, стеклохолста, полотна холстопрошивного и т.п.

При применении винтового крепления защитного покрытия для предотвращения повреждения пароизоляционного слоя самонарезающими винтами следует предусматривать предохранительный слой из волокнистого теплоизоляционного материала толщиной не менее длины винта.

Допускается устройство воздушного зазора между пароизоляционным слоем и металлическим защитным покрытием.

6.11.28. Следует предусматривать защиту от коррозии внутренней поверхности металлического защитного покрытия для предотвращения коррозионного воздействия конденсирующейся влаги.

6.11.29. Для закрепления теплоизоляционных конструкций и их элементов на оборудовании и трубопроводах следует использовать механические крепежные детали и изделия и клеевые составы.

Перечень наиболее распространенных изделий и материалов для изготовления крепежных элементов для теплоизоляционных конструкций с указанием их назначения приведены в приложении 5. Там же приводятся материалы, рекомендуемые для устройства выравнивающего слоя.

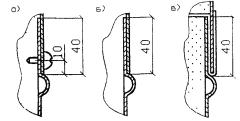
6.11.30. Узлы сопряжения металлических защитных покрытий тепловой изоляции представлены на рисунках рекомендуемого приложения 16.

6.11.31. В теплоизоляционных конструкциях оборудования и трубопроводов с отрицательными температурами для крепления теплоизоляционного слоя следует предусматривать оцинкованную проволоку.

При температуре изолируемого объекта ниже минус 40 °С в качестве подвесок рекомендуется применять проволоку из нержавеющей стали.

6.11.32. Не допускается применять элементы из оцинкованной стали в конструкциях тепловой изоляции, соприкасающиеся с поверхностью металлоконструкций с температурой более 350 °С.

6.11.33. Не допускается прямой контакт крепежных деталей (колец, стяжек, бандажей, металлической сетки и др.) из углеродистой стали с покрытием из алюминия.

Для предотвращения контакта следует предусматривать окраску внутренней поверхности алюминиевого защитного покрытия антикоррозионными составами или обертку стеклотканью или стеклохолстом.

6.11.34. Не допускается контакт элементов теплоизоляционных конструкций из углеродистой стали с трубопроводами и оборудованием из высоколегированных сталей. Крепежные детали, соприкасающиеся с поверхностями из легированной стали, следует изготавливать из стали той же марки или предусматривать антикоррозионную обработку деталей.

6.11.35. При выборе клеев для склейки и приклейки теплоизоляционных слоев, а также других элементов теплоизоляционной конструкции следует учитывать совместимость клея и материалов конструкции.

6.11.36. Теплоизоляционные конструкции со штукатурным покрытием применяют на объектах сложной конфигурации.

Для покрытия изоляции объектов, расположенных на открытом воздухе следует предусматривать асбестоцементный или песчано-цементный растворы.

Для покрытия изоляции объектов, расположенных в помещении следует предусматривать асбозуритовый, асбозуритоцементный растворы или растворы содержащие гипс. Поверхность асбозуритовой и асбозуритоцементной штукатурок следует оклеивать тканью с целью повышения их механической прочности и увеличения срока службы.

Для объектов, подвергающихся вибрации, следует предусматривать оклейку штукатурного защитного покрытия с последующей окраской.

Для объектов, где возможно воздействие агрессивных кислотных сред, следует предусматривать кислотоупорную штукатурку с последующей оклейкой стеклотканью и окраской химически стойкими красками. Не допускается применять штукатурные покрытия на производствах, использующих или производящих щелочи, плавиковую и фосфорную кислоты.

Для оклейки допускается применять миткаль, бязь техническую, парусину, мешковину, марлю, стеклоткань; в качестве клеящего состава - крахмал огнеупорную глину, лаки и краски, которыми окрашивают поверхность ткани. Для окраски допускается применять масляную краску, краску БТ-177, перхлорвиниловые лаки и эмали.

Толщину штукатурного покрытия при укладке по основанию из жестких или волокнистых материалов в зависимости от диаметра изолируемого объекта рекомендуется принимать по таблице 1 приложения 17.

Состав растворов для изготовления штукатурного покрытия приведен в таблице 2 приложения 17.

В штукатурном защитном покрытии следует предусматривать температурные швы в виде разрывов в покрытии шириной 10 мм с шагом, указанным в пункте 6.11.19. Температурные швы заполняют волокнистым теплоизоляционным материалом и закрывают накладками из оцинкованной стали.

7. ТРЕБОВАНИЯ К МОНТАЖУ ТЕПЛОИЗОЛЯЦИОННЫХ КОНСТРУКЦИЙ И КОНТРОЛЮ КАЧЕСТВА ТЕПЛОИЗОЛЯЦИОННЫХ РАБОТ

7.1. Монтаж тепловой изоляции выполняется в соответствии с проектом производства работ и рабочей документацией тепловой изоляции при соблюдении требований настоящего раздела и нормативно-технической документации, регламентирующей правила производства и приемки работ.

Состав рабочей документации указан в разделе 6.1.

Порядок разработки, состав и содержание проекта производства работ регламентируется ОСТ 36-133-86 и рекомендуемым приложением 18.

7.2. К началу теплоизоляционных работ на строительной площадке должны быть размещены инвентарные здания и сооружения для приобъектного хранения материалов, изделий и конструкций, инвентарные административные и бытовые здания для инженерных служб и рабочих, предусмотрены помещения для сушки мокрой одежды, душевые, туалет, комната отдыха. Должны быть организованы мастерская и помещения для инструмента и механизмов.

7.3. Потребность в грузоподъемных механизмах, производственном оборудовании, приспособлениях, инструменте и транспортных средствах определяется при разработке проекта производства работ исходя из объема, технологии и сроков производства теплоизоляционных работ.

7.4. Организационно-техническая подготовка теплоизоляционных работ предусматривает выполнение следующих мероприятий:

- монтаж, наладку и испытание грузоподъемных механизмов;

- организацию рабочих мест, устройство приспособлений по технике безопасности и охране труда;

- комплектацию монтажных бригад средствами малой механизации и инструментом;

- организацию проезда и прохода к местам производства работ;

- обеспечение рабочих мест электроэнергией;

- приемку оборудования и трубопроводов под монтаж тепловой изоляции;

- разработку оперативных планов работ.

7.5. Приемка объектов под изоляцию осуществляется при условии их полной готовности к производству теплоизоляционных работ.

Готовность объекта под изоляцию определяется законченностью строительно-монтажных работ в пределах участков, обеспечивающих максимальный фронт работ, и очисткой этих участков от строительного мусора.

Оборудование и трубопроводы должны быть установлены в проектное положение, а работающие под давлением - спрессованы с оформлением соответствующего акта.

Работы по изоляции смонтированного оборудования и трубопроводов следует производить после полного окончания монтажа и испытания соответствующего монтажного блока. На оборудовании, аппаратах и резервуарах должны быть установлены детали крепления по проекту. На вертикальных участках трубопроводов и вертикальном оборудовании должны быть установлены разгружающие устройства. На горизонтальных трубопроводах должны быть установлены опорные кольца, если это предусмотрено проектом.

7.6. Разрешение на производство теплоизоляционных работ оформляется актом приемки, подписанным представителями заказчика и монтажной организации, выполняющей теплоизоляционные работы (подрядчика или субподрядчика).

7.7. Материалы, изделия, входящие в состав теплоизоляционных конструкций и предусмотренные в проекте, при необходимости по согласованию с разработчиком проекта и заказчиком могут быть заменены на другие, соответствующие по техническим характеристикам и не ухудшающие эксплуатационные показатели конструкции.

7.8. Хранение и транспортирование материалов изделий и конструкций должны производиться в условиях, исключающих их увлажнение атмосферными осадками и механическое повреждение.

7.9. Работы должны выполняться в соответствии с требованиями СНиП III-4-80* по технике безопасности при производстве теплоизоляционных работ.

7.10. Изолируемые поверхности должны быть очищены от строительного мусора и пыли до начала монтажа теплоизоляционных конструкций. Работы по антикоррозионной защите проводятся до начала теплоизоляционных работ.

7.11. Приварку штырей для крепления теплоизоляционного слоя и других предусмотренных проектом опорных и крепежных элементов к изолируемой поверхности, установку опорных и разгружающих устройств следует осуществлять до начала теплоизоляционных работ.

7.12. Изоляцию вертикального оборудования (колонн, емкостей и т.н.) и магистральных трубопроводов рекомендуется выполнять до установки их в проектное положение. До начала изоляции оборудование и трубопроводы должны быть установлены монтирующей организацией на временные опоры высотой не менее 0,5 м.

7.13. Монтаж конструкций теплоизоляционных полносборных (КТП) или комплектных (КТК) на горизонтальных участках трубопроводов начинают от фланцевого соединения (патрубка аппарата, арматуры) с торцевым нахлестом защитно-покровного элемента конструкции на смежную конструкцию в направлении уклона.

Первая КТП (КТК) устанавливается от фланцевого соединения на расстоянии, обеспечивающем беспрепятственное разъединение фланцевого соединения (длина соединительного болта).

Теплоизоляционные слои смежных конструкций должны плотно прилегать друг к другу, обеспечивая непрерывность теплоизоляционного слоя.

7.14. Монтаж теплоизоляционного слоя конструкции, собираемой поэлементно, на горизонтальных участках трубопроводов и аппаратов начинают от фланцевого соединения (патрубка аппарата, арматуры) со сдвигом на расстояние, обеспечивающее беспрепятственный разъем фланцевого соединения.

Теплоизоляционный слой из волокнистых материалов устанавливают с уплотнением, указанным в проекте.

7.15. На горизонтальных трубопроводах укладку теплоизоляционных изделий следует производить в сторону, противоположную уклону.

7.16. Монтаж теплоизоляционного слоя многослойных теплоизоляционных конструкций следует производить со смещением продольных и поперечных швов наружного слоя относительно внутреннего.

7.17. При выполнении работ по монтажу пароизоляционного слоя следует выполнять требования проекта по обеспечению его герметичности. Места возможных разрывов или проколов, стыки между элементами пароизоляционного слоя, места примыкания к изолируемой поверхности подлежат тщательной герметизации.

7.18. Контроль качества материалов, используемых в теплоизоляционной конструкции.

7.18.1. Теплоизоляционные, защитно-покровные, пароизоляционные и вспомогательные материалы, применяемые в конструкциях тепловой изоляции должны иметь паспорт или сертификат качества, подтверждающие их технические характеристики.

7.18.2. Соответствие качества поступивших на монтажную площадку материалов паспорту или сертификату, проверяется выборочными лабораторными испытаниями по ГОСТ 17177 или по методикам указанным в ГОСТ или технических условиях на эти материалы.

7.18.3. Наличие антикоррозионного покрытия на крепежных изделиях, применяемых для крепления элементов теплоизоляционной конструкции на изолируемом объекте, проверяется визуально.

7.19. Операционный и приемочный контроль выполнения тепловой изоляции.

Соответствие смонтированной тепловой изоляции проекту и нормативным документам по использованным материалам и конструктивному оформлению подтверждается наличием журнала и актами на скрытые работы.

7.19.1. Операционный контроль при монтаже тепловой изоляции следует осуществлять в соответствии с рекомендациями таблицы 7.1.

Таблица 7.1. Рекомендуемая схема операционного контроля качества теплоизоляционных работ

Наименование объекта

Монтажная площадка

Чистота поверхности объекта

Сплошность теплоизоляционного слоя

Крепление теплоизоляционного слоя

Положение нахлеста в защитных покрытиях

Крепление защитного покрытия

Толщина теплоизоляционного слоя в конструкции

Плотность контакта с изолируемой поверхностью

Плотность заполнения пенопластом или засыпкой

Воздушный зазор между поверхностью объекта и спутником

Температурные швы

Антикоррозийная защита

Пароизоляционный слой

Герметизация локальных мест

Ровность мастичного или штукатурного слоя

Окраска покровного слоя

Внешний вид

1

2

3

4

5

6

7

8

9

10

11

12

13

14

15

16

Трубопроводы диаметром, мм

Теплоизоляционный слой из волокнистых или жестких формованных изделий

От 10 до 76

+

+

+

+

+

+

-

+

+

+

-

+

-

+

+

+

Св. 76 до 325

+

+

+

+

+

+

+

+

+

+

-

+

-

+

+

+

Св. 325

+

+

+

+

+

+

+

+

+

+

-

+

+

+

+

+

Арматура трубопроводов с покрытием из тонколистового материала

От 10 до 325

+

+

+

+

+

+

-

+

+

-

-

+

+

-

+

+

Св. 325

+

+

+

+

+

+

-

+

+

-

-

+

+

-

+

+

Теплоизоляционный из заливочного пенопласта и мастичная изоляция

До Ду 350 вкл.

+

+

-

+

+

-

-

+

-

+

+

+

+

+

+

+

Фитинги, арматура

+

+

-

+

+

-

-

+

-

+

+

+

+

+

+

+

Отводы трубопроводов и фитинги с покрытием из тонколистового материала

Штампованные

+

+

+

+

+

-

-

+

+

-

-

-

-

-

+

+

Гофрированные

+

+

+

+

+

-

-

-

+

-

-

-

-

-

+

+

Сварные

+

+

+

+

+

-

-

+

+

-

-

-

-

-

+

+

Поэлементные

+

+

+

+

+

-

-

+

+

-

-

-

-

-

+

+

Пластмассовые отводы

-

+

+

-

+

+

-

-

-

-

-

-

-

-

-

+

+

Емкости, аппараты, оборудование

Резервуары вертикальные с изоляцией конструкциями:

Панельными

+

+

-

+

+

-

-

-

-

-

+

-

+

-

-

+

Поэлементно

+

+

+

+

+

+

+

+

-

+

+

+

+

-

+

+

Резервуары

Горизонтальные

+

+

+

+

+

+

+

+

-

+

+

+

+

-

+

+

Сферические

+

+

+

+

+

+

-

-

-

+

+

+

+

-

+

+

Аппараты колонного типа высотой, м

менее 3

+

+

+

+

+

+

+

+

-

+

-

+

+

-

+

+

3 и более

+

+

+

+

+

+

+

+

-

+

-

+

+

-

+

+

Технологическое оборудование диаметром, м

менее 1,6

+

+

+

+

+

+

+

+

-

+

-

+

+

-

+

+

1,6 и более

+

+

+

+

+

+

+

+

-

+

-

+

+

-

+

+

Примечание. Операционный контроль по таблице 7.1. выполняется следующими методами:

- позиции 1-5, 10-13, 15 и 16 проверяются визуально;

- позиция 6 - производится замером толщины теплоизоляционного слоя со свободной от изоляции стороны во время ее монтажа;

- позиция 7 - проверяется нажатием (плоскость) или подпиранием снизу (трубопроводы) вручную;

- позиция 8 - проверяется на слух постукиванием деревянным молотком;

- позиция 9 - проверяется после установки теплоизоляционного слоя до монтажа защитно-покровного слоя визуально с торцов изоляции;

- позиция 14 - проверяется не менее, чем двухметровой, линейкой.

- выполнение антикоррозионных мероприятий (проверяется визуально);

- сплошность теплоизоляционного слоя (проверяется постукиванием деревянным молотком массой 0,8 кг);

- правильность выполнения нахлестов (отсутствие встречных нахлестов против уклона трубопроводов - проверяется визуально);

- наличие окраски защитного покрытия в соответствии с целевым назначением объекта (проверяется визуально);

- дизайн конструкции (проверяется визуально).

7.19.2. К числу дефектов выявляемых при приемочном контроле смонтированных теплоизоляционных конструкций относятся:

- применение материалов, несоответствующих стандартам и техническим условиям.

- отступления от проектных решений в части использованных материалов, конструкций и способа монтажа изоляции, не согласованные с проектной организацией и заказчиком.

- несоответствие плотности и толщины теплоизоляционного слоя проектным требованиям;

- отклонение по толщине для теплоизоляционного слоя из волокнистых уплотняющихся материалов - более (- 3 мм). Допуск по толщине теплоизоляционной конструкции с теплоизоляционным слоем из жестких формованных изделий должен соответствовать допуску на изделия по техническим условиям и государственным стандартам. При изоляции поверхностей с целью предотвращения конденсации влаги на поверхности изоляции объектов, расположенных в помещении, допуск по толщине изоляции допускается только в сторону увеличения ("+").

- механические повреждения изоляции;

- некачественная отделка торцевых участков изоляции у фланцевых соединений, арматуры, опор и др.;

- слабая затяжка металлической сетки и каркасов;

- неплотное прилегание теплоизоляционного слоя или полносборной конструкции к поверхности изолируемого объекта;

- неплотное сопряжение смежных элементов защитного покрытия;

- несоблюдение правил сопряжения продольных и поперечных швов защитного покрытия, допускающее затекание воды в теплоизоляционный слой.

- отсутствие тепловой изоляции в местах расположения опор;

- наличие отступлений от проекта в части расположения крепежных деталей

- нарушение герметичности пароизоляционного слоя.

7.19.3. Окончательная дефектная ведомость, куда заносят все фактические показатели смонтированной изоляции, установленные при приемке, составляется после сопоставления показателей смонтированной изоляционной инструкции с проектными данными и учета изменений, внесенных в процессе монтажа (если таковые имеются и согласованы с проектной организацией и заказчиком).

7.19.4. Окончательную приемку смонтированных теплоизоляционных конструкций с составлением акта сдачи-приемки производят после устранения замеченных недостатков по дефектной ведомости.

7.19.5. При производстве теплоизоляционных работ домонтажным способом окончательная приемка тепловой изоляции осуществляется после установки объекта в проектное положение, и по завершении изоляционных работ в зоне монтажных стыков и в местах установки строповочных скоб.

ПРИЛОЖЕНИЕ 1

Обязательное

ТЕРМИНЫ И ОПРЕДЕЛЕНИЯ

1. Теплопроводность - количество теплоты, которое передается за единицу времени через единицу площади изотермической поверхности при температурном градиенте, равном единице. Теплопроводность, (l), измеряют в Вт/(м×°С).

2. Плотность теплоизоляционного материала - величина, определяемая отношением массы материала ко всему занимаемому им объему, включая поры и пустоты. Плотность (r), измеряют в кг/м3.

3. Удельная теплоемкость - количество теплоты, необходимое для нагревания 1 кг материала на 1 °С. Удельная теплоемкость измеряется в кДж/(кг×°С).

4. Температуростойкость (предельная температура применения) - способность материала сохранять свои конструкционные свойства при повышении температуры.

5. Теплоизоляционный материал - строительный материал или изделие, имеющее теплопроводность при средней температуре изоляционного слоя 25 °С не более 0,2 Вт/(м×°С).

6. Теплоизоляционная конструкция - конструкция, состоящая из одного или нескольких слоев теплоизоляционного материала, защитного покрытия и элементов крепления. В состав теплоизоляционной конструкции могут входить пароизоляционный, предохранительный или выравнивающий слои.

Теплоизоляционные конструкции по степени монтажной готовности подразделяются на следующие виды;

- конструкция теплоизоляционная полносборная (КТП) теплоизоляционное изделие полной заводской готовности или изготовленное в приобъектных мастерских, представляющее собой теплоизоляционное изделие (теплоизоляционный слой) скрепленное с защитным покрытием и оснащенное деталями для крепления конструкции на изолируемом объекте;

- конструкция теплоизоляционная комплектная (КТК) набор предварительно подготовленных по типоразмерам теплоизоляционных изделий, элементов защитного покрытия и деталей крепления, собираемых поэлементно на месте монтажа;

- сборная (поэлементная) - конструкция, которую собирают в проектном положении на месте монтажа из теплоизоляционных и защитно-покровных материалов с доводкой и фиксацией крепежными деталями по месту.

7. Теплоизоляционный слой - часть теплоизоляционной конструкции, состоящая только из теплоизоляционного материала или изделия

8. Многослойная теплоизоляционная конструкция - это конструкция, состоящая из двух и более слоев теплоизоляционного материала.

9. Защитное покрытие - элемент конструкции, устанавливаемый поверх теплоизоляционного слоя для предохранения его от воздействия окружающей среды и механических повреждений.

10. Пароизоляционный слой - элемент теплоизоляционной конструкции оборудования и трубопроводов с температурой ниже температуры окружающей среды, предохраняющий теплоизоляционный слой от проникновения в нее паров воды вследствие разности парциальных давлений влаги у холодной поверхности и в окружающей среде.

11. Предохранительный слой - элемент теплоизоляционный конструкции, входящий в состав теплоизоляционной конструкции для оборудования и трубопроводов с температурой поверхности ниже температуры окружающей среды с целью защиты пароизоляционного слоя от повреждения.

12. Толщина тепловой изоляции - толщина изоляционного материала в конструкции без учета толщины защитного покрытия, пароизоляционного, предохранительного и выравнивающего слоев.

13. Уплотнение теплоизоляционных материалов - монтажная характеристика, определяющая плотность теплоизоляционного материала после его установки в проектное положение.

Уплотнение материалов характеризуется коэффициентом уплотнения, значение которого нормируется СНиП 2.04.14-88.

14. Паропроницаемость - способность материала пропускать водяные пары, содержащиеся в воздухе, под действием разности их парциальных давлений на противоположных поверхностях слоя материала. Паропроницаемость измеряется в мг/(м×ч×Па).

ПРИЛОЖЕНИЕ 2

Справочное

Технические характеристики теплоизоляционных материалов и изделий.

Материал, изделие, ГОСТ или ТУ

Плотность, кг/м3

Теплопроводность, Вт/(м×°С) при средней температуре, °С

Температура применения, °С

Группа горючести

25

125

300

Волокнистые изделия

1. Вата минеральная из тонкого базальтового волокна (ТУ 5761-002-01411834-00)

80-100

0,041

0,055

0,09

До 700

НГ

2. Вата базальтовая энергетическая и изделия на ее основе (ТУ 5761-001-00126238-00)

 

 

 

 

 

 

2.1. маты теплоизоляционные (МТПЭ) и базальтовые (МБПЭ) прошивные энергетические:

 

 

 

 

 

НГ

марка 50

45-64

0,036

0,05

0,09

От минус 180 до 700

75

65-89

0,036

0,05

0,09

100

90-110

0,038

0,049

0,09

в обкладке из стеклоткани до 450

125

111-135

0,038

0,049

0,085

2.2. плиты энергетические (ПТЭ)

 

 

 

 

От минус 140 до 200

НГ

марка 50

40-56

0,038

0,05

75

57-83

0,038

0,05

100

84-110

0,038

0,049

125

111-138

0,038

0,049

2.3. цилиндры энергетические (ЦГЭ)

 

 

 

 

От минус 140 до 200

НГ

марка 110

110

0,038

0,049

150

150

0,038

0,048

200

200

0,038

0,047

2.4. шнур теплоизоляционный (ШТЭ) и базальтовый (ШБЭ) энергетический

 

 

 

 

От минус 120 до 700

НГ

марка 150

130-179

0,038

0,048

200

180-224

0,038

0,048

250

225-275

0,04

0,048

3. Изделия теплоизоляционные из стеклянного штапельного волокна «URSA®» (ТУ 5763-002-00287697-97)

 

 

 

 

 

НГ

плиты: марка П-30

Св. 26 до 33

0,038

 

П-20

Св. 18 до 26

0,040

 

П-17

Св. 16 до 18

0,044

0,06

П-15

Св. 13 до 16

0,046

 

маты: марка М-25

Св. 21 до 25

0,040

0,063

4. Изделия из стеклянного штапельного волокна

 

 

 

 

 

НГ

4.1 плиты марка П-30

Св. 27 до 38

 

 

П-20

Св. 18 до 26

 

 

4.2. маты: марка М-45

Св. 41 до 50

0,047

-

-

от -60 до 180

Г2

М-35

Св. 30 до 41

 

 

 

М-25

Св. 21 до 29

 

 

 

5. Изделия минераловатные гофрированной структуры для промышленной тепловой изоляции ТУ 36.16.22-8-91

 

 

 

 

До 400

НГ

марка 75

От 50 до 75

0,048

0,082

-

100

Св. 75 до 100

0,048

0,078

-

125

Св. 100 до 125

0,048

0,076

-

6. Маты минераловатные прошивные ГОСТ 21880-94

 

 

 

 

От минус 180 до 700

НГ

Марка 75

До 85

0,046

-

-

100

Св. 85 до 110

0,044

0,065

0,15

125

Св. 110 до 135

0,044

0,064

0,13

7. Маты теплоизоляционные из минеральной ваты «ТЕХ МАТ» (ТУ 5762-007-45757203-00)

Св. 35 до 50 (60-70)*

0,038

0,06

0,12

От минус 180 до 570

НГ

(0,034-0,032)*

(0,053-0,05)*

(0,097-0,091)*

8. Плиты из минеральной ваты на синтетическом связующем теплоизоляционные (ГОСТ 9573-96) марка 75

75

0,047

0,077

-

От минус 60 до 400

НГ

125

125

0,049

0,072

-

НГ

9. Плиты минераловатные мягкие, полужесткие и жесткие теплоизоляционные (ТУ 5762-001-01411834-98) марка ПМ-50

От 30 до 50

0,046

0,077

 

От минус 60 до 400

НГ

ПП-100

От 75 до 100

0,048

0,074

 

НГ

10. Плиты теплоизоляционные из минеральной ваты на синтетическом связующем (ТУ 5762-010-040011485-96)

 

 

 

 

От минус 60

 

марка 35

От 20 до 35

0,044

0,064

 

До 400

 

50

Св. 35 до 50

0,042

0,062

 

До 400

 

75

Св. 50 до 75

0,041

0,061

 

До 400

 

100

Св. 75 до 100

0,041

0,061

 

До 500

 

11. Цилиндры теплоизоляционные из минеральной ваты на синтетическом связующем (ТУ 5762-013-040011485-97)

Св. 100 до 150

0,038

0,052

0,087

От минус 180 до 600

НГ

12. Полотна стекловолокнистые холстопрошивные типа ПСХ-Т (ТУ 6-48-97-93)

Поверхностная плотность 500 г/м2

0,05

-

-

От минус 200 до 500

НГ

13. Полотно иглопробивное стеклянное ИПС ТУ 6-48-135-97

Поверхностная плотность 550 г/м2

0,05

-

-

От минус 200 до 550

НГ

14. Rockwool Lamella Mat Производитель-Группа «Rockwool»

От 36 до 54

0,039

0,064 (при 100 °С)

-

до 250

НГ

15. Rockwool Wired Mat 80

80

0,032

0,053

0,092

до 1000

НГ

16. Rockwool Wired Mat 105

95-105

0,033

0,052

0,087

до 1000

НГ

Пенопласты

17. Изделия из пенополистирола (ТУ 2244-032-04001232-97)

15-40

не более 0,042

-

-

От минус 180 до 60

Г3

18. Плиты пенополистирольные (ГОСТ 15588-86) марка 15

15

0,043

 

 

От минус 180 до 60

Г3

25

25

0,041

 

 

35

35

0,038

 

 

50

50

0,041

 

 

18. Плиты пенополистирольные (ТУ 2244-007-04001508-96) марка 15т

не более 9

0,047

 

 

От минус 180 до 60

Г3

15с

от 9,1 до 10

0,046

 

 

15а

от 13,1 до 15,0

0,04

 

 

19. Плиты пенополистирольные с паронепроницаемым покрытием (ТУ 2246-008-04001508-96)

9-15

0,047-0,04

 

 

От минус 180 до 60

Г3

18. Пенополиуретан марки Изолан-345 (ТУ 2254-229-10480596-97)

70-100

0,03

 

 

От минус 180 до 150

Г3

19. Пенополиуретан марки Изолан-205 (ТУ 2254-238-10480596-97)

50-55

0,025

 

 

до 160

горючий

20. Пенополиуретан марки Изолан-101 (ТУ 2254-211-10480596-96)

55

0,03

 

 

до 150

Трудногорючий

21. Пенополиуретан марки Изолан-105 (ТУ 2254-228-10480596-97)

50

0,028

 

 

до 160

горючий

22. Экструдированный пенополистирол (ЭППС) (ТУ 2244-002-17953000-95)

 

0,04

-

-

От минус 180 до 60

Г3

марка ЭППС-4

45-50

ЭППС-5

40-45

ЭППС-6

35-40

Примечание: знаком (*) отмечены плотность и теплопроводность материалов (поз. 7) в конструкции

ПРИЛОЖЕНИЕ 3

Справочное

Номенклатура, технические характеристики и ориентировочный срок службы защитных покрытий тепловой изоляции

Материал, ГОСТ или ТУ

Группа горючести

Применяемая толщина, мм

Срок службы, год

Вне помещения

В помещении

Металлические

Листы из алюминия и алюминиевых сплавов ГОСТ 21631-76, марки АД0, АД1, АМц, Амг2

негорючие

0,3-1,0

12-15

14-17

Ленты из алюминия и алюминиевых сплавов ГОСТ 13726-78 марки АД0, АД1, АМц, Амг2

негорючие

0,3-1,0

10-12

12-14

Сталь тонколистовая оцинкованная непрерывных линий ГОСТ 14918-80

негорючие

0,35-0,1

10-12

12-14

Сталь рулонная холоднокатаная с полимерным покрытием (металлопласт) ТУ 14-1-1114-74

трудногорючая

0,8-1,3

6-7

10-12

Прокат тонколистовой холоднокатаный электролитически оцинкованный ТУ 14-1-4766-90

негорючий

0,7-1,0

10-12

12-14

Прокат холоднокатаный тонколистовой кровельный (с окраской) ТУ 14-11-262-89

негорючий

0,7-1,2

6-7

10-12

На основе синтетических полимеров

Стеклопластик рулонный РСТ ТУ 6-48-87-92, марки РСТ-Х, РСТ-Ф, ТСТ-Л

трудногорючий

Поверхностная плотность 0,41-1,1 г/м2

6-8

8-9

Стеклопластик рулонный РСТ ТУ 36.16.22-68-95

трудногорючий

Поверхностная плотность 0,25 г/м2

5-6

6-8

Стеклопластик теплоизоляционный ТУ 6-48-00204961-99

трудногорючий

0,25-0,5

6-8

8-9

Стеклопластик ФСП ТУ 6-48-128-95

горючий

0,6

5-6

6-8

Стеклотекстолит КАСТ-В ГОСТ 10292-74, КАСТ-В-ТЭ ТУ 6-05-031-489-92

горючий

0,5-1,2

6-8

8-9

На основе синтетических полимеров

Стеклотекстолит покровный листовой ТУ 36-1583-88

трудногорючий

0,3-0,8

6-8

8-9

Пленка винипластовая каландрированная ГОСТ 16398-81

горючая

0,4-1,0

3-4

5-6

Пленка из вторичного поливинилхлоридного сырья для покрытия тепловой изоляции ТУ 63-473-39-91

горючая

1,3

3-4

5-6

На основе природных полимеров

Изол ГОСТ 10296-79

горючий

2

2-3

4-6

Рубероид, марки РКК-350, РКК-400 ГОСТ 10923-93

горючий

2,0-3,0

2-3

6-7

Пергамин кровельный ГОСТ 2697-83

горючий

1,0-1,5

2-3

4-6

Стеклорубероид ГОСТ 15879-70

горючий

2,5

3-4

6-8

Минеральные

Стеклоцемент текстолитовый для теплоизоляционных конструкций ТУ 36.16.22-46-90

негорючий

1 ,5-2,0

5-6

8-10

Синтецемент для покрытия тепловой изоляции ТУ 36-2493-93 марки СЦ-ХЛД, СЦ-КЛП

трудногорючий

1,8-2,5

5-6

8-10

Листы асбестоцементные ГОСТ 18124-95

негорючие

6-10

6-8

8-10

Листы асбестоцементные волнистые ГОСТ 30340-95

негорючие

5-8

6-8

8-10

Штукатурки асбестоцементная, песчаноцементная

негорючие

10-20

4-5

8-10

Дублированные

Фольга алюминиевая дублированная для теплоизоляционных конструкций ТУ 36.16.22-49-90

трудногорючая

0,5-1,5

4-5

6-7

Фольгоизол ГОСТ 20429-84

горючий

2,0-2,5

4-6

6-7

Фольгорубероид ТУ 21-РСФСР-689-88

горючий

1,5-2,0

5-6

6-8

Фольгоизол ТУ 5763-055-00204961-99 марка ACT

трудногорючий

0,25

4-5

6-7

ПРИЛОЖЕНИЕ 4

Справочное

Наименование материала

Область применения

Примечания

Битумы нефтяные строительные ГОСТ 6617-76, битумы дорожные ГОСТ 22245-90

Обмазочная пароизоляция, наклейка и проклейка швов пароизоляционных слоев из рулонного материала при температуре окружающей среды от-10 до +70 °С.

Рекомендуется марка БН-70/30

Изол, ГОСТ 10296-79

Рулонная пароизоляция при температуре не ниже - 35 °С.

С проклейкой швов дорожными и строительными битумами

Мастики битумные, битумополимерные ТУ 5775-001-29659211-96, ТУ 21-5744710-527-92

Обмазочная пароизоляция, наклейка и проклейка швов пароизоляционных слоев из рулонного материала при температуре окружающей среды от минус 50 до +70 °С.

 

Битумно-резиновая мастика МБР ГОСТ 15836-79

Наклейка и проклейка швов рулонных пароизоляционных материалов

 

Пленка полиэтиленовая ГОСТ 10354-82

Рулонная пароизоляция при температуре не ниже минус 60 °С. Применяется с проклейкой швов липкой лентой.

Рекомендуется применять марки С, Т, В

Пергамин кровельный ГОСТ 2697-83

Рулонная пароизоляция при температуре не ниже минус 15 °С

-//-

Рубероид РКП-350 ГОСТ 10923-93

Рулонная пароизоляция при температуре не ниже минус 40 °С

То же

Фольга алюминиевая для технических целей ГОСТ 618-73

Рулонная пароизоляция

С проклейкой швов клеями, герметиками, или лентами «Герлен-Д.Т»

Фольга алюминиевая дублированная ТУ 36.16.22-49-90

Рулонная пароизоляция и защитное покрытие (без проклейки)

С проклейкой швов лентами «Герлен-Д»

Фольгоизол ГОСТ 20429-84

Защитное покрытие и рулонная пароизоляция на битуме или с проклейкой швов битумом

Защитное покрытие устанавливается без проклейки

Лента полиэтиленовая с липким слоем ГОСТ 20477-86

Проклейка швов пароизоляционного и покровных слоев теплоизоляционных конструкций

Лента марки А при температуре не ниже -40 °С

Лента поливинилхлоридная ГОСТ 1621486 ТУ 6-19-240-84

Проклейка швов пароизоляционного и покровных слоев теплоизоляционных конструкций

При температуре не ниже минус 40 °С

Лента поливинилхлоридная с липким слоем ТУ 95.2322-92

Проклейка швов пароизоляционного и покровных слоев теплоизоляционных конструкций

При температуре не ниже минус 40 °С

Лента поливинилбутиральная с липким слоем ГОСТ 9438-85

Рулонная пароизоляция и проклейка швов пароизоляционного слоя

 

Лента герметизирующая «Герлен-Д, Т, Ф» ТУ 5772-009-05108038-98

Герметизация швов пароизоляционного слоя и защитного покрытия

При температуре от минус 60 до +(100-120) °С

Липкая герметизирующая лента «Герсален» ТУ 5770-116-

Герметизация швов пароизоляционного слоя и защитного покрытия

Эксплуатируется при температуре от минус 60 до + 80 °С

Герметики кремнийорганические ТУ 38-303-04-04-90

Проклейка швов металлического защитного покрытия и фольги

 

Герметики тиоколовые (УТ-34) ГОСТ 24285-80

Уплотнение и проклейка швов защитного покрытия при температуре покрытия от минус 60 до +100 °С

Работы производить при температуре воздуха не ниже 15 °С

ПРИЛОЖЕНИЕ 5

Справочное

Таблица 1. Вспомогательные и крепежные материалы и изделия для теплоизоляционных конструкций.

Наименование материала

Область применения

Примечания

Проволока стальная низкоуглеродистая общего назначения ГОСТ 3282-74

Крепление теплоизоляционного слоя 0,8 мм - для сшивки изделий в обкладках, стеклоткани и металлической сетках, стеклоткани и металлической сетки, 1,2 мм - для подвесок и стяжек, 2,0 - для проволочных колец, 4,0 и 5,0 - для штырей или приварных колец. Крепление пароизоляционного, выравнивающего, предохранительного слоев и покровного из стеклопластика, изола или рубероида

Для сшивки, колец стяжек и подвесок применяется проволока отожженная черная или оцинкованная из Ст0. Для штырей применяется проволока из стали Ст3.

Крепежные детали из оцинкованной стали, прилегающие к изолируемой поверхности, применять при температуре от -40 до +300 °С.

Масса 1000 м, кг: 0,8-3,95; 1,2-8,88; 2,0-24,65; 4,0-98,6; 5,0-154,2

Проволока стальная оцинкованная для сердечников проводов или перевязочная для воздушных линий связи

Крепление теплоизоляционного слоя, в основном, для поверхностей с отрицательными температурами 0,8 мм - для сшивки изделий в обкладках, стеклоткани и металлической сетки, 1,2 мм - для подвесок и стяжек, 2,0 - проволочных колец, 4,0 и 5,0 - для вставных штырей. Крепление пароизоляционного, выравнивающего, предохранительного слоев и покровного из стеклопластика, изола или рубероида

Для сшивки, колец, стяжек и подвесок применяется проволока оцинкованная из Ст0. Для вставных штырей применяется проволока из стали Ст3. Крепежные детали из оцинкованной стали, прилегающие к изолируемой поверхности, применять при температуре от  -40 до +300 °С. Не применять для приварных штырей или колец. Масса 1000 м, кг, при диаметре 0,8-3,95; 1,2-8,88; 2,0-24,65; 4,0-98,6; 5,0-154,2.

Проволока из высоколегированной коррозионностойкой и жаростойкой стали ГОСТ

18142-72

Крепежные детали (подвески, стяжки и кольца каркаса или приварные), прилегающие к изолируемой поверхности с температурой выше 400 °С или ниже минус 40 °С. Штыри из проволоки 3,0-4,0 мм

Проволока из стали 12Х18Н9Т или 12Х18Н10Т диаметром 0,8-4,0 мм

Проволока алюминиевая круглая электротехническая AM (ТУ 16.К71.088-90)

Крепление теплоизоляционного слоя (сшивка изделий в обкладках, стеклоткани или стеклохолста, подвески, стяжки, кольца). Крепление пароизоляционного, выравнивающего или предохранительного слоев.

Масса 1000 м, кг, при диаметре 0,8 - 1,38; 1,2 - 3,1; 2,0 - 8,6; 3,0-19,3

Сетки стальные плетеные одинарные с квадратными или ромбическими ячейками ГОСТ 5336-80

Для уплотнения теплоизоляционного слоя и увеличения надежности теплоизоляционной конструкции и в качестве армирующего слоя под штукатурное покрытие

Применять сетку № 12-1,4 из стальной оцинкованной проволоки, под штукатурное покрытие - не оцинкованную

Сетки проволочные тканные с квадратными ячейками ГОСТ 3626-82

Для уплотнения теплоизоляционного слоя и увеличения надежности теплоизоляционной конструкции

Применять сетку из стальной оцинкованной проволоки

Сетки проволочные крученые с шестиугольными ячейками ГОСТ 13603-89

В качестве обкладок теплоизоляционных материалов

Рекомендуется применять сетку из стальной оцинкованной проволоки 0,6×20. Допускается применять неоцинкованную сетку

Сетка сварная для теплоизоляции ту 14-4-714-76, ТУ 4-647-95

Для изготовления матрацев и полносборных конструкций

Применять сетку из стальной оцинкованной проволоки 0,6×20

Лента стальная упаковочная черная 0,7×20 мм ГОСТ 3360-

В качестве бандажей для крепления теплоизоляционного, предохранительного, выравнивающего слоев или защитного покрытия.

Применяется с окраской лаком БТ-577 ГОСТ 5631-79 или другим видом противокоррозионного покрытия. Масса 1 м: 0,11 кг

Лента из алюминия и алюминиевых сплавов ГОСТ 13726-78, ТУ 15-06-297-88, ТУ 15-06-300-88

В качестве бандажей для крепления теплоизоляционного, предохранительного слоев и защитного покрытия из алюминия и алюминиевых сплавов.

Применяется лента из алюминиевого сплава ДЦМ или ДЦМ1 (мягкая). Бандажи шириной 30 - 50 мм и толщиной 0,8 мм. Масса 1 м: 0,066-0,11 кг.

Лента стальная горячекатаная ГОСТ 6009-74

Для изготовления опорных полок, разгружающих устройств и других элементов теплоизоляционной конструкции прилегающих к изолируемой поверхности с температурой не выше 400 °С или не ниже минус 40 °С.

Применяют преимущественно ленты 2×30, 3×30 из стали Ст3пс. Изготовленные элементы из ленты стальной горячекатаной должны быть покрыты антикоррозионными составами, соответствующими покрытию изолируемого объекта или лаком БТ-577 ГОСТ 5631-79

Ткань из стеклянных крученых комплексных нитей ГОСТ 19170-73, ГОСТ 19907-83, ТУ 6-48-53-90

Для обкладок волокнистых теплоизоляционных материалов, при изготовлении матрацев, предохранительного слоя.

Как правило, применяют ткани марок Т-13, Т-23.

Ткани кремнеземные Ту 6-48-64-91

Для обкладок волокнистых теплоизоляционных материалов, и при изготовлении матрацев для изоляции поверхностей с температурой выше 450 °С.

Рекомендуется ткань КТ-11

Картон асбестовый ГОСТ 2850-95

Для изготовления прокладок и элементов опорных полок и разгружающих устройств

Применяют картон марки КАОН-1 толщиной 3 - 8 мм. Ширина ленты 10, 12, 15, 20, 25, 30, 35, 40,

Лента изоляционная хлопчатобумажная киперная

Крепление изоляционного и пароизоляционного слоев (вместо проволочных колец) при изоляции объектов с отрицательными температурами

50, 60 мм, толщина 0,43 мм. Прочность на разрыв от 2,6 до 15,6 МПа, масса 100 м от 0,187 до 1,098 кг в зависимости от ширины ленты.

Винты самонарезающие для металла и пластмасс с потайной или полукруглой головкой ГОСТ 10621-80

Крепление металлического защитного покрытия или пластмасс, элементов неметаллического защитного покрытия (картин) с окантовкой металлом

Применять винты 4×12 с противокоррозионным покрытием (оцинкованные или кадмированные). Масса 1000 шт. стальных винтов 1,193 кг.

Заклепки с полукруглой головкой ГОСТ 10299-80, заклепки трубчатые ГОСТ 26805-86

Крепление металлического защитного покрытия, диафрагм, изготовление элементов съемных конструкций, бандажей с замками

Применять заклепки диаметром 4 мм алюминиевые или стальные с противокоррозионным покрытием

Заклепки комбинированные ЗК-12-4, 5 ТУ 36-2088-85

Крепление элементов металлического защитного покрытия

Стальные с противокоррозионным покрытием

Нити стеклянные крученые комплексные ГОСТ 8325-93

Сшивка обкладок матов и стеклоткани. Изготовление матрацев в стеклоткани.

Применять нить марки БС10-160×1×3(50). Масса 1000 м - 0,68 кг.

Нити кремнеземные ТУ 6-48-52-90

Сшивка обкладок матов в кремнеземной ткани стеклоткани. Изготовление матрацев в кремнеземной ткани.

Применять при температуре изолируемой поверхности выше 450 °С

Пиломатериалы хвойных пород

Для устройства каркаса для крепления защитного покрытия при изоляции поверхностей с большим радиусом кривизны и плоских и изготовления разгрузочных полок при изоляции поверхностей с отрицательными температурами.

Применяются бруски и доски с влажностью не более 22 %. Все деревянные элементы должны быть обработаны антисептическими составами и антипиреном. (Может быть применена смесь пентахлорфенолята натрия, буры и борной кислоты в

Текстолит электротехнический листовой ГОСТ 12652-74

Для изготовления элементов опорных полок, разгружающих устройств и прокладок при изоляции поверхностей с отрицательными температурами.

Марки СТ-М, СТЭФ толщиной 3 - 8 мм

Текстолит конструкционный ГОСТ 5-78

Для изготовления элементов опорных полок, разгружающих устройств и прокладок при изоляции поверхностей с отрицательными температурами.

Текстолит марки ТПК или ПТ толщиной 3 - 8 мм

Стеклотекстолит конструкционный ГОСТ 10292-74

Для изготовления опорных полок, разгружающих устройств и прокладок при изоляции поверхностей с отрицательными температурами.

Применяют стеклотекстолит толщиной 3-10 мм

Рубероид марок РПП ГОСТ 10923-93

Для выравнивающего слоя при устройстве покрытия из стеклопластиков и временного покрытия тепловой изоляции

Толщина 1,0 - 1,5 мм

Пергамин кровельный ГОСТ 2697-83

То же

Толщина 1,0 - 1,5 мм

Ткань хлопчатобумажная ГОСТ 29298-92, ткань мешочная ГОСТ 30090-93

Для оклейки штукатурного слоя конструкций, расположенных на открытом воздухе

Рекомендуется применять с окраской масляной краской

Лак БТ-577 ГОСТ 5631-79

Лак БТ-577 применяется для окраски металлических крепежных деталей, окраски трубопроводов холодной воды и с отрицательными температурами, в качестве противокоррозионной защиты внутренних поверхностей алюминиевых покрытий.

Лак БТ-577 применять при температуре поверхности не более 140 °С

Краска БТ-177 ГОСТ 5631-79

Окраска защитных покрытий и металлических крепежных деталей.

 

Битум, битумные мастики и эмульсии ГОСТ 6617-76

Для приклеивания к изолируемой поверхности изделий из минеральной и стеклянной ваты, пенополистирола.

Наклейка или проклейка швов пароизоляционного слоя с битумной пропиткой (приложение 4)

Фенолополивинилацетальный клей ГОСТ 12172-74

Для приклеивания к изолируемой поверхности изделий из пенополистирола.

Применяется клей БФ-4

Поливинилацетатная дисперсия ПВАД ГОСТ 18992-80

Для проклейки швов рулонных стеклопластиков и материалов, дублированных фольгой

Для изготовления полносборных конструкций с теплоизоляционным слоем из минеральной и стеклянной ваты.

Клей 88-НП

Для оклеивания и приклеивания пенополиуретана и рулонных стеклопластиков

 

Клей эпоксидный универсальный

Для склеивания всех видов пенопластов, металлов, алюминиевой фольги, древесины

 

Полимерцементная мастика

Приклейка и склеивание теплоизоляционного слоя

 

ПРИЛОЖЕНИЕ 6

Справочное

Расчетные коэффициенты теплоотдачи

1. Расчетные коэффициенты теплоотдачи от наружной поверхности защитного покрытия в зависимости от месторасположения, температуры изолируемой поверхности, вида защитного покрытия и вида расчета приведены в таблице.

2. Расчетный коэффициент теплоотдачи от наружной поверхности защитного покрытия трубопроводов подземной канальной прокладки и коэффициент теплоотдачи от воздуха в канале к стенке канала рекомендуется принимать равным 8 Вт / (м2×°С).

Температура изолируемой поверхности, °С

Вид изолируемой поверхности

Вид расчета изоляции

Расчетный коэффициент теплоотдачи, ae, Вт/(м2×°С), при расположении изолируемых

В помещениях и тоннелях

На открытом воздухе

Вид защитного покрытия

металлическое

неметаллическое

металлическое

неметаллическое

20 и выше

Плоская поверхность, оборудование, вертикальные трубопроводы

По заданной температуре на поверхности покровного слоя

8

10

8

10

Остальные виды расчетов

35

35

Горизонтальные трубопроводы

По заданной температуре на поверхности изоляции

8

10

8

10

Остальные виды расчетов

8

10

29

29

19 и ниже

Все виды изолируемых объектов

Предотвращение конденсации влаги на поверхности изоляции

5

7

-

-

Остальные виды расчетов

8

10

29

29

Примечания.

1. К металлическим защитным покрытиям отнесены покрытия из нержавеющей и оцинкованной стали, листов из алюминия и алюминиевых сплавов, и других материалов, окрашенных алюминиевой краской.

2. К неметаллическим защитным покрытиям отнесены покрытия из стеклопластика, синтетических и природных полимеров, асбоцементных листов, штукатурок, покрытий, окрашенных различными красками, кроме алюминиевой.

ПРИЛОЖЕНИЕ 7

Обязательное

Территориальные нормы плотности теплового потока через изолированные поверхности трубопроводов надземной прокладки и оборудования с положительными температурами для г. Екатеринбурга и Свердловской области.

Таблица 1. Нормы плотности теплового потока для оборудования и трубопроводов объектов, расположенных на открытом воздухе в Свердловской области.

Наружный диаметр, мм

Температура теплоносителя, °С

20

50

100

150

200

250

300

350

400

450

500

550

600

Плотность теплового потока, Вт/м

18

4

9

18

27

36

47

58

70

83

96

110

125

141

25

5

11

20

30

40

52

64

77

90

105

120

136

153

32

6

12

22

32

44

56

69

82

97

112

128

146

164

45

6

13

25

36

49

62

77

92

108

125

142

191

181

57

7

15

27

40

53

68

83

99

116

134

153

173

192

76

8

17

31

44

60

75

92

110

128

148

169

190

213

89

9

18

33

48

63

80

98

116

136

157

178

201

225

108

10

20

36

52

69

87

105

125

146

168

191

215

241

133

11

23

40

57

75

95

115

136

159

182

207

233

260

159

12

25

44

62

92

103

124

147

171

196

222

250

278

219

15

30

52

73

96

119

144

170

197

225

255

586

317

273

18

35

59

83

108

134

161

189

219

249

281

315

349

325

21

39

65

92

119

147

176

206

238

271

306

342

379

377

23

43

72

100

129

159

191

223

257

292

329

367

407

426

25

47

78

108

139

171

204

239

275

312

350

390

432

476

27

51

84

116

149

183

217

254

292

331

372

414

457

530

30

55

90

125

159

195

232

270

310

351

394

438

484

630

34

62

102

140

178

217

258

300

343

388

434

482

531

720

38

69

112

153

195

237

281

325

372

420

464

520

573

820

43

77

124

168

213

258

305

353

403

454

507

262

618

920

47

84

135

183

231

280

330

381

434

486

545

602

662

1020

51

91

146

198

249

301

354

409

467

522

582

643

705

Более 1020 и плоские поверхности

Плотность теплового потока, Вт/м2

13

25

35

45

55

64

73

81

90

98

106

114

123

Таблица 2. Нормы плотности теплового потока для оборудования и трубопроводов, расположенных в помещениях предприятий в Свердловской области

Наружный диаметр, мм

Температура теплоносителя, °С

50

100

150

200

250

300

350

400

450

500

550

600

Плотность теплового потока, Вт/м

18

6

15

24

33

44

55

66

79

92

106

121

136

25

7

17

26

37

48

60

73

86

101

116

131

148

32

8

18

29

40

52

65

78

92

108

124

141

158

45

9

21

32

45

58

72

87

103

120

137

155

175

57

10

23

35

49

63

78

94

111

129

148

167

188

76

11

26

40

55

70

87

104

123

142

163

184

206

89

12

28

43

58

75

92

111

130

150

172

194

218

108

14

30

47

63

81

100

119

140

162

184

208

233

133

16

34

51

70

89

109

130

152

175

200

225

252

159

17

37

56

76

96

118

140

164

189

215

242

270

219

21

44

66

89

112

167

162

189

217

246

276

308

273

24

50

75

100

126

152

180

210

240

272

305

339

325

27

56

83

110

138

167

197

229

261

295

331

367

377

31

61

91

120

150

181

213

247

282

318

356

395

426

33

67

98

129

161

194

228

264

301

339

378

419

476

36

72

105

138

172

207

243

280

319

359

401

444

530

39

78

113

148

184

220

258

298

339

381

424

470

630

45

88

127

166

205

245

287

330

374

420

467

516

720

50

97

139

181

224

267

311

357

405

454

504

556

820

56

127

153

198

244

291

339

388

439

491

545

600

920

61

117

167

215

264

314

365

418

472

527

584

643

1020

67

127

180

232

284

337

392

447

504

563

623

685

Более 1020 и плоские поверхности

Плотность теплового потока, Вт/м2

18

31

42

52

61

69

78

85

93

103

111

119

Таблица 3. Нормы плотности теплового потока для оборудования и трубопроводов объектов, расположенных на открытом воздухе в г. Екатеринбурге

Наружный диаметр, мм

Температура теплоносителя, °С

20

50

100

150

200

250

300

350

400

450

500

550

600

Плотность теплового потока, Вт/м

18

4

8

16

24

32

42

52

62

74

86

99

112

127

25

4

9

17

26

35

45

56

68

80

93

107

122

137

32

5

10

19

28

38

49

60

73

86

100

114

130

146

45

5

11

21

31

42

54

67

80

94

109

125

142

160

57

6

12

23

34

46

58

72

86

101

117

134

152

171

76

7

14

26

38

50

64

79

94

111

128

147

166

186

89

7

15

27

40

53

68

83

100

117

135

154

174

195

108

8

16

29

43

58

73

89

107

125

144

165

186

208

133

9

18

32

47

63

79

97

115

135

155

177

200

223

159

10

20

35

51

68

85

104

123

144

166

189

213

238

219

12

23

41

59

78

98

119

141

164

188

214

240

268

273

14

26

46

66

87

108

131

155

180

207

234

263

293

325

15

29

51

72

95

118

143

168

195

223

252

283

315

377

17

32

56

79

102

127

153

181

209

239

270

302

336

426

18

35

60

84

109

136

163

192

222

253

286

320

355

476

20

38

64

90

116

144

173

203

235

267

302

337

374

530

22

41

68

96

124

153

183

215

248

282

318

355

393

630

25

46

77

107

137

169

202

236

272

309

347

387

428

720

27

51

84

116

149

183

218

255

293

332

373

415

459

820

30

56

92

127

162

198

236

275

315

357

400

445

492

920

33

61

100

137

174

213

253

295

337

381

427

475

523

1020

36

66

108

147

187

228

270

314

359

406

454

503

555

Более 1020 и плоские поверхности

Плотность теплового потока, Вт/м2

10

17

27

35

42

50

57

64

71

78

86

93

100

Таблица 4. Нормы плотности теплового потока для оборудования и трубопроводов, расположенных в помещениях предприятий г. Екатеринбурга.

Наружный диаметр, мм

Температура теплоносителя, °С

50

100

150

200

250

300

350

400

450

500

550

600

Плотность теплового потока, Вт/м

18

5

13

21

30

39

49

60

71

83

96

109

123

25

6

15

23

33

43

54

65

77

90

104

118

134

32

7

16

25

35

46

57

70

82

96

111

123

142

45

8

18

28

39

51

63

77

91

106

122

138

156

57

8

19

30

42

55

68

82

97

107

130

148

166

76

9

22

34

47

60

75

91

107

124

142

161

181

89

10

23

36

50

64

79

96

113

131

150

170

191

108

11

25

39

53

69

85

102

121

140

160

181

203

133

12

28

43

58

75

92

111

130

150

172

194

218

159

14

30

46

63

80

99

119

139

161

183

207

232

219

17

35

54

73

93

113

135

158

183

208

234

262

273

19

40

60

81

103

125

149

174

200

228

256

286

325

21

44

66

88

112

136

162

188

216

246

276

308

377

23

48

71

96

121

147

174

202

232

263

295

328

426

25

52

77

102

129

156

185

215

246

278

312

347

476

27

55

82

109

137

165

196

227

259

293

329

365

530

30

59

87

116

145

175

207

240

274

310

346

384

630

34

67

98

129

160

193

228

263

300

338

378

418

720

37

73

106

140

174

209

245

283

322

363

405

448

820

41

80

116

152

188

226

265

305

347

390

465

481

920

45

87

126

164

203

243

284

327

371

416

463

512

1020

49

94

135

176

217

259

303

348

394

442

491

542

Более 1020 и плоские поверхности

Плотность теплового потока, Вт/м2

13

23

32

40

48

55

62

69

77

84

91

98

Приложение 8

Рекомендуемое

Толщина теплоизоляционного слоя конструкций тепловой изоляции с теплоизоляционным слоем из матов минераловатных прошивных марки 100 и плит теплоизоляционных из минеральной ваты на синтетическом связующем марки 75, отвечающая территориальным нормам плотности теплового потока, для оборудования и трубопроводов, расположенных в г. Екатеринбурге и Свердловской области.

Таблица 1. Толщина тепловой изоляции из матов минераловатных прошивных марки 100, отвечающая территориальным нормам плотности теплового потока, для оборудования и трубопроводов с положительными температурами объектов, расположенных на открытом воздухе в Свердловской области.

Наружный диаметр, мм

Температура теплоносителя, °С

20

50

100

150

200

250

300

350

400

450-600

Толщина тепловой изоляции, мм

18

40

40

50

60

80

90

100

100

100

100

25

40

40

60

70

80

90

100

110

120

120

32

40

40

60

80

90

100

110

130

130

140

45

40

50

70

90

100

110

120

130

140

140

57

40

50

70

90

110

120

130

150

150

150

76

40

60

80

100

110

130

140

160

160

160

89

40

60

80

100

120

130

150

160

170

170

108

40

60

90

110

120

140

160

170

180

180

133

40

60

90

110

130

150

160

180

190

200

159

50

70

90

120

140

150

170

190

200

220

219

50

70

100

130

150

170

190

200

220

230

273

50

70

110

130

160

180

200

220

230

230

325

50

80

110

140

160

180

200

220

240

240

377

50

80

110

140

170

190

210

230

240

240

426

50

80

120

150

170

190

220

240

250

250

476

50

80

120

150

180

200

220

240

250

250

530

50

80

120

150

180

200

230

250

260

260

630

60

90

130

160

180

210

230

260

280

280

720

60

90

130

160

190

220

240

260

280

280

820

60

90

130

160

190

220

250

270

290

300

920

60

90

130

170

200

220

250

280

300

300

1020

60

90

140

170

200

230

250

280

300

320

Более 1020 и плоские поверхности

60

100

160

200

240

280

310

320

320

320

Примечание. Толщина изоляции для трубопроводов наружным диаметром до 89 мм вкл. указана для условного материала, близкого по теплопроводности к матам минераловатным прошивным марки 100 при рабочей температуре теплоносителя.

Таблица 2. Толщина тепловой изоляции из плит теплоизоляционных из минеральной ваты на синтетическом связующем марки 75, отвечающая территориальным нормам плотности теплового потока, для оборудования и трубопроводов с положительными температурами объектов, расположенных на открытом воздухе в Свердловской области.

Наружный диаметр, мм

Температура теплоносителя, °С

20

50

100

150

200

250

300

350

400

Толщина тепловой изоляции, мм

18

40

40

50

60

80

80

100

100

100

25

40

40

50

70

80

90

100

110

120

32

40

40

60

80

80

100

110

120

130

45

40

50

60

80

90

110

120

130

140

57

40

50

70

90

100

120

130

140

150

76

40

50

70

100

110

130

140

150

160

89

40

60

80

100

120

130

150

160

170

108

40

60

80

100

120

140

160

170

180

133

40

60

90

110

130

150

160

180

200

159

40

60

90

120

140

150

170

190

200

219

50

70

100

130

150

170

180

200

220

273

50

70

100

130

150

170

190

210

230

325

50

70

110

140

160

180

200

220

240

377

50

80

110

140

160

190

210

230

240

426

50

80

110

140

170

190

220

240

250

476

50

80

120

150

170

200

220

240

260

530

50

80

120

150

180

200

230

250

270

630

50

90

120

150

180

210

230

260

280

720

50

90

130

160

190

210

240

260

280

820

50

90

130

160

190

220

240

270

290

920

50

90

130

160

190

220

250

270

300

1020

60

90

130

170

200

230

250

280

300

Более 1020 и плоские поверхности

60

100

150

200

230

270

310

320

320

Примечания.

1. Плиты теплоизоляционные из минеральной ваты на синтетическом связующем марки 75 рекомендуется применять для изоляции трубопроводов диаметром 325 мм и более.

2. Толщина изоляции для трубопроводов наружным диаметром до 273 мм вкл. указана для условного материала, близкого по теплопроводности к плитам теплоизоляционным минераловатным на синтетическом связующем марки 75 при рабочей температуре теплоносителя.

Таблица 3. Толщина тепловой изоляции из матов минераловатных прошивных марки 100, отвечающая территориальным нормам плотности теплового потока, для оборудования и трубопроводов с положительными температурами, расположенных в помещениях объектов Свердловской области.

Наружный диаметр, мм

Температура теплоносителя, °С

50

100

150

200

250

300

350

400-600

Толщина тепловой изоляции, мм

18

40

50

60

80

90

100

100

100

25

40

50

70

80

100

110

120

120

32

40

60

70

90

100

110

130

140

45

40

60

80

100

110

130

140

140

57

40

70

90

100

120

130

150

150

76

50

70

90

110

130

140

160

160

89

50

70

100

120

130

150

160

170

108

50

80

100

120

140

160

170

180

133

50

80

110

130

150

160

180

200

159

60

90

110

130

150

170

190

220

219

60

100

120

150

170

180

200

230

273

60

100

130

150

170

200

220

230

325

70

100

130

160

180

200

220

240

377

70

110

140

160

190

210

230

240

426

70

110

140

170

190

220

240

250

476

70

110

140

170

200

220

240

250

530

70

110

150

180

200

230

250

260

630

70

120

150

180

210

230

260

280

720

70

120

160

190

210

240

260

280

920

80

120

160

190

220

250

270

300

1020

80

120

160

200

220

250

280

300

Более 1020 и плоские поверхности

80

140

190

230

270

310

320

320

Примечание. Толщина изоляции для трубопроводов наружным диаметром до 89 мм вкл. указана для условного материала, близкого по теплопроводности к матам минераловатным прошивным марки 100 при рабочей температуре теплоносителя.

Таблица 4. Толщина тепловой изоляции из плит теплоизоляционных из минеральной ваты на синтетическом связующем марки 75, отвечающая территориальным нормам плотности теплового потока, для оборудования и трубопроводов с положительными температурами, расположенных в помещениях объектов Свердловской области

Наружный диаметр, мм

Температура теплоносителя, °С

50

100

150

200

250

300

350

400

Толщина тепловой изоляции, мм

18

40

50

60

80

80

100

100

100

25

40

50

70

80

90

110

120

120

32

40

60

70

90

100

110

130

140

45

40

60

80

90

110

120

140

140

57

40

60

90

100

120

130

150

250

76

50

70

90

110

130

140

160

160

89

50

70

90

110

130

150

160

170

108

50

80

100

120

140

150

170

180

133

50

80

110

120

140

160

180

200

159

60

90

110

130

150

170

190

210

219

60

90

120

140

160

130

200

220

273

60

100

130

150

170

200

220

230

325

60

100

130

160

180

200

220

240

377

60

110

130

160

190

210

230

240

426

70

110

140

170

190

210

240

250

476

70

110

140

170

200

220

240

250

530

70

110

140

170

200

220

250

260

630

70

110

150

180

210

230

260

280

720

70

120

150

180

210

240

260

280

820

70

120

150

190

220

240

270

290

920

70

120

160

190

220

250

280

300

1020

70

120

160

190

220

250

280

310

Более 1020 и плоские поверхности

80

140

190

230

270

310

320

320

Примечания.

1. Плиты теплоизоляционные из минеральной ваты на синтетическом связующем марки 75 рекомендуется применять для изоляции трубопроводов диаметром 325 мм и более.

2. Толщина изоляции для трубопроводов наружным диаметром до 273 мм вкл. указана для условного материала, близкого по теплопроводности к плитам теплоизоляционным из минеральной ваты на синтетическом связующем марки 75 при рабочей температуре теплоносителя.

Таблица 5. Толщина тепловой изоляции из матов минераловатных прошивных марки 100, отвечающая территориальным нормам плотности теплового потока, для оборудования и трубопроводов с положительными температурами объектов, расположенных на открытом воздухе в г. Екатеринбурге.

Наружный диаметр, мм

Температура теплоносителя, °С

20

50

100

150

200

250

300-400

Толщина тепловой изоляции, мм

18

40

50

70

90

100

100

100

25

40

60

80

100

120

120

120

32

40

60

80

110

120

140

140

45

40

70

90

120

140

140

140

57

40

70

100

120

140

150

150

76

50

80

100

130

160

160

160

89

50

80

110

140

170

170

170

108

50

90

120

150

170

180

180

133

60

90

130

160

180

200

200

159

60

90

130

160

190

210

220

219

60

100

140

180

210

230

230

273

70

110

150

190

220

230

230

325

70

110

160

190

220

240

240

377

70

120

160

200

230

240

240

426

80

120

160

210

240

250

250

476

80

120

170

210

250

250

250

530

80

120

170

210

250

260

260

630

80

120

180

220

260

280

280

720

80

130

180

230

270

280

280

820

80

130

190

230

270

300

300

920

80

130

190

240

280

300

300

1020

80

130

190

240

280

320

320

Более 1020 и плоские поверхности

90

140

200

260

310

320

320

Примечание. Толщина изоляции для трубопроводов наружным диаметром до 89 мм вкл. указана для условного материала, близкого по теплопроводности к матам минераловатным прошивным марки 100 при рабочей температуре теплоносителя.

Таблица 6. Толщина тепловой изоляции из плит теплоизоляционных из минеральной ваты на синтетическом связующем марки 75, отвечающая территориальным нормам плотности теплового потока, для оборудования и трубопроводов с положительными температурами объектов, расположенных на открытом воздухе в г. Екатеринбурге.

Наружный диаметр, мм

Температура теплоносителя, °С

20

50

100

150

200

250

300-400

Толщина тепловой изоляции, мм

18

40

50

60

80

100

100

100

25

40

50

80

90

110

120

120

32

40

50

80

100

120

140

140

45

40

60

90

110

130

140

140

57

40

70

90

120

140

150

150

76

40

70

100

130

150

160

160

89

50

70

110

130

160

170

170

108

50

80

120

140

160

180

180

133

50

80

120

150

170

200

200

159

60

90

130

160

180

210

220

219

60

100

140

170

200

230

230

273

60

100

150

180

210

230

230

325

70

110

150

190

220

240

240

377

70

110

150

190

230

240

240

426

70

110

160

200

240

250

250

476

70

110

160

210

240

250

250

530

70

120

170

210

240

260

260

630

70

120

170

210

250

280

280

720

80

120

180

220

260

280

280

820

80

120

180

220

270

300

300

920

80

130

180

230

270

300

300

1020

80

130

190

230

280

320

320

Более 1020 и плоские поверхности

80

140

200

250

300

320

320

Примечания.

1. Плиты теплоизоляционные из минеральной ваты на синтетическом связующем марки 75 рекомендуется применять для изоляции трубопроводов диаметром 325 мм и более

2. Толщина изоляции для трубопроводов наружным диаметром до 273 мм вкл. указана для условного материала, близкого по теплопроводности к плитам теплоизоляционным из минеральной ваты на синтетическом связующем марки 75 при рабочей температуре теплоносителя.

Таблица 7. Толщина тепловой изоляции из матов минераловатных прошивных марки 100, отвечающая территориальным нормам плотности теплового потока, для оборудования и трубопроводов с положительными температурами, расположенных в помещениях промышленных предприятий г. Екатеринбурга.

Наружный диаметр, мм

Температура теплоносителя, °С

50

100

150

200

250

300-600

Толщина тепловой изоляции, мм

18

50

70

90

100

100

100

25

50

70

100

110

120

120

32

50

80

100

120

140

140

45

50

90

110

140

140

140

57

60

100

120

150

150

150

76

70

100

130

150

160

160

89

70

110

140

160

170

170

108

70

110

140

170

180

180

133

80

120

150

180

200

200

159

80

130

160

190

220

220

219

80

140

170

200

230

230

273

90

140

180

210

230

230

325

90

150

190

220

240

240

377

100

150

190

230

240

240

426

100

160

200

240

250

250

476

100

160

200

240

250

250

530

100

160

210

250

260

260

630

100

170

210

250

280

280

720

110

170

220

260

280

280

820

110

170

220

270

300

300

920

110

180

230

270

300

300

1020

110

180

230

280

320

320

Более 1020 и плоские поверхности

120

200

250

300

320

320

Примечание. Толщина изоляции для трубопроводов наружным диаметром до 89 мм вкл. указана для условного материала, близкого по теплопроводности к матам минераловатным прошивным марки 100 при рабочей температуре теплоносителя.

Таблица 8. Толщина тепловой изоляции из плит теплоизоляционных из минеральной ваты на синтетическом связующем марки 75, отвечающая территориальным нормам плотности теплового потока, для оборудования и трубопроводов с положительными температурами, расположенных в помещениях промышленных предприятий г. Екатеринбурга

Наружный диаметр, мм

Температура теплоносителя, °С

50

100

150

200

250

300-400

Толщина тепловой изоляции, мм

18

50

70

90

100

100

100

25

50

70

90

110

120

120

32

50

70

100

120

140

140

45

50

80

110

130

140

140

57

60

90

120

140

150

150

76

60

90

120

150

160

160

89

70

100

130

150

170

170

108

70

112

140

170

180

180

133

80

112

140

180

200

200

159

80

120

150

180

210

220

219

80

130

160

200

230

230

273

80

140

180

210

230

230

325

90

140

180

220

240

240

377

90

150

180

220

240

240

426

100

150

190

230

250

250

476

100

160

200

240

250

250

530

100

160

200

240

260

260

630

100

160

210

250

280

280

720

100

170

210

260

280

280

820

100

170

220

260

300

300

920

100

170

220

270

300

300

1020

110

170

230

270

310

320

Более 1020 и плоские поверхности

110

190

250

300

320

320

Примечания.

1. Плиты теплоизоляционные из минеральной ваты на синтетическом связующем марки 75 рекомендуется применять для изоляции трубопроводов диаметром 325 мм и более.

2. Толщина изоляции для трубопроводов наружным диаметром до 273 мм вкл. указана для условного материала, близкого по теплопроводности к плитам теплоизоляционным из минеральной ваты на синтетическом связующем марки 75 при рабочей температуре теплоносителя.

Приложение 9

Рекомендуемое

Толщина теплоизоляционного слоя конструкций тепловой изоляции с теплоизоляционным слоем из матов минераловатных, прошивных марки 100 и плит теплоизоляционных из минеральной ваты на синтетическом связующем марки 75, отвечающая требованиям безопасности (заданной температуре на поверхности изоляции), для оборудования и трубопроводов, расположенных в г. Екатеринбурге и Свердловской области.

Таблица 1. Толщина тепловой изоляции из матов минераловатных прошивных марки 100 в конструкции с металлическим защитным покрытием, отвечающая требованиям техники безопасности для оборудования и трубопроводов, расположенных на открытом воздухе.

Наружный диаметр трубопровода, мм

Температура теплоносителя, °С

до 200

250

300

350

400

450

500

550

600

Толщина теплоизоляционного слоя, мм

25

40

40

40

50

50

60

70

80

100

32

40

40

50

60

60

70

80

90

100

45

40

40

50

60

70

80

90

100

120

57

40

40

50

60

70

90

100

110

120

76

40

40

60

70

80

90

100

120

130

89

40

50

60

70

80

90

110

120

130

108

40

50

60

70

80

100

110

130

140

133

40

50

60

70

90

100

120

130

150

159

40

50

60

80

90

100

120

140

150

219

40

50

70

80

100

110

130

140

160

273

40

50

70

80

100

120

130

150

170

325

40

50

70

90

100

120

140

160

170

377

40

50

70

90

100

120

140

160

180

426

40

60

70

90

100

120

140

160

180

476

40

60

70

90

110

130

140

170

190

530

40

60

70

90

110

130

150

170

190

630

40

60

70

90

110

130

150

170

190

720

40

60

70

90

110

130

150

180

200

820

40

60

80

90

110

130

160

180

200

920

40

60

80

90

120

140

160

180

200

1020

40

60

80

100

120

140

160

180

210

Более 1020 и плоские поверхности

40

60

80

100

130

150

180

210

240

Таблица 2. Толщина тепловой изоляции из матов минераловатных прошивных марки 100 в конструкции с неметаллическим защитным покрытием, отвечающая требованиям техники безопасности для оборудования и трубопроводов, расположенных на открытом воздухе

Наружный диаметр трубопровода, мм

Температура теплоносителя, °С

до 200

300

350

400

450

500

550

600

Толщина теплоизоляционного слоя, мм

25

40

40

40

50

50

50

60

70

32

40

40

40

50

60

60

70

80

45

40

40

40

50

60

70

80

90

57

40

40

50

50

60

70

80

90

76

40

40

50

60

70

80

90

100

89

40

40

50

60

70

80

90

100

108

40

40

50

60

70

80

90

100

133

40

40

50

60

70

90

100

110

159

40

50

60

70

80

90

100

110

219

40

50

60

70

80

90

110

120

273

40

50

60

70

80

100

110

120

325

40

50

60

70

90

100

110

130

377

40

50

60

70

90

100

120

130

426

40

50

60

80

90

100

120

130

476

40

50

60

80

90

110

120

140

530

40

50

60

80

90

110

120

140

630

40

50

60

80

90

110

120

140

720

40

50

70

80

90

110

130

140

820

40

50

70

80

100

110

130

150

920

40

50

70

80

100

110

130

150

1020

40

50

70

80

100

110

130

150

Более 1020 и плоские поверхности

40

60

70

90

110

130

150

170

Таблица 3. Толщина тепловой изоляции из плит теплоизоляционных из минеральной ваты на синтетическим связующем марки 75 в конструкции с металлическим защитным покрытием, отвечающая требованиям техники безопасности для оборудования и трубопроводов, расположенных на открытом воздухе.

Наружный диаметр трубопровода, мм

Вид защитного покрытия

металлическое

неметаллическое

Температура теплоносителя, °С

до 200

250

300

350

400

до 250

300

350

400

Толщина теплоизоляционного слоя, мм

25

40

40

40

50

50

40

40

40

50

32

40

40

50

50

60

40

40

40

50

45

40

40

50

60

70

40

40

40

50

57

40

40

50

60

70

40

40

50

50

76

40

40

50

70

80

40

40

50

60

89

40

40

60

70

80

40

40

50

60

108

40

50

60

70

80

40

40

50

60

133

40

50

60

70

90

40

40

50

60

159

40

50

60

80

90

40

50

60

70

219

40

50

60

80

100

40

50

60

70

273

40

50

70

80

100

40

50

60

70

325

40

50

70

80

100

40

50

60

70

377

40

50

70

90

100

40

50

60

70

426

40

50

70

90

110

40

50

60

80

476

40

50

70

90

110

40

50

60

80

530

40

50

70

90

110

40

50

60

80

630

40

60

70

90

110

40

50

60

80

720

40

60

70

90

110

40

50

70

80

820

40

60

70

90

110

40

50

70

80

920

40

60

70

90

110

40

50

70

80

1020

40

60

80

90

120

40

50

70

80

Более 1020 и плоские поверхности

40

60

80

100

130

40

60

70

90

Таблица 4. Толщина тепловой изоляции из матов минераловатных прошивных марки 100 в конструкции с металлическим защитным покрытием, отвечающая требованиям техники безопасности для оборудования и трубопроводов, расположенных в помещениях.

Наружный диаметр трубопровода, мм

Температура теплоносителя, °С

100

150

200

250

300

350

400

450

500

550

600

Толщина теплоизоляционного слоя, мм

25

40

40

40

40

50

70

80

90

100

100

120

32

40

40

40

50

60

70

80

90

100

120

120

45

40

40

40

50

60

70

90

100

110

120

140

57

40

40

40

50

70

80

90

100

120

130

140

76

40

40

40

60

70

80

100

110

120

140

150

89

40

40

40

60

70

90

100

110

130

150

160

108

40

40

50

60

70

90

100

120

130

150

170

133

40

40

50

60

80

90

110

120

140

160

180

159

40

40

50

60

80

100

110

130

150

160

200

219

40

40

50

70

80

100

120

140

160

180

200

273

40

40

50

70

90

100

120

140

160

180

210

325

40

40

50

70

90

110

130

150

170

190

210

377

40

40

50

70

90

110

130

150

170

200

220

426

40

40

50

70

90

110

130

150

180

200

220

476

40

40

50

70

90

110

140

160

180

200

230

530

40

40

50

70

90

110

140

160

180

210

230

630

40

40

50

70

90

120

140

160

190

210

240

720

40

40

50

70

100

120

140

170

190

220

250

820

40

40

60

80

100

120

140

170

190

220

250

920

40

40

60

80

100

120

150

170

200

230

250

1020

40

40

60

80

100

120

150

170

200

230

260

Более 1020 и плоские поверхности

40

40

60

80

110

140

170

200

240

270

310

Таблица 5. Толщина тепловой изоляции из матов минераловатных прошивных марки 100 в конструкции с неметаллическим защитным покрытием, отвечающая требованиям техники безопасности для оборудования и трубопроводов, расположенных в помещениях

Наружный диаметр трубопровода, мм

Температура теплоносителя, °С

100

150

200

250

300

350

400

450

500

550

600

Толщина теплоизоляционного слоя, мм

25

40

40

40

40

40

50

60

70

80

90

100

32

40

40

40

40

50

60

70

80

90

100

110

45

40

40

40

4

50

60

70

80

90

110

120

57

40

40

40

40

50

60

80

90

100

110

120

76

40

40

40

50

60

70

80

90

110

120

130

89

40

40

40

50

60

70

80

100

110

120

140

108

40

40

40

50

60

70

90

100

110

130

140

133

40

40

40

50

60

80

90

100

120

130

150

159

40

40

40

50

60

80

90

110

120

140

150

219

40

40

40

50

70

80

100

110

130

150

170

273

40

40

40

50

70

90

100

120

140

150

170

325

40

40

40

60

70

90

100

120

140

160

180

377

40

40

40

60

70

90

110

120

140

160

180

426

40

40

40

60

70

90

110

130

150

170

190

476

40

40

40

60

70

90

110

130

150

170

190

530

40

40

40

60

70

90

110

130

150

170

190

630

40

40

40

60

80

90

110

130

160

180

200

720

40

40

40

60

80

100

120

140

160

180

200

820

40

40

40

60

80

100

120

140

160

180

210

920

40

40

40

60

80

100

120

140

160

190

210

1020

40

40

40

60

80

100

120

140

160

190

210

Более 1020 и плоские поверхности

40

40

50

60

80

110

130

160

190

220

250

Таблица 6. Толщина тепловой изоляции из плит теплоизоляционных из минеральной ваты на синтетическом связующем марки 75, отвечающая требованиям техники безопасности для оборудования и трубопроводов, расположенных в помещениях.

Наружный диаметр трубопровода, мм

Вид защитного покрытия

металлическое

неметаллическое

Температура теплоносителя, °С

до 150

200

250

300

350

400

до 200

250

300

350

400

Толщина теплоизоляционного слоя, мм

25

40

40

40

50

60

70

40

40

40

50

60

32

40

40

40

60

70

80

40

40

50

60

70

45

40

40

50

60

70

80

40

40

50

60

70

57

40

40

50

60

80

90

40

40

50

60

80

76

40

40

50

70

80

90

40

40

60

70

80

89

40

40

50

70

80

100

40

50

60

70

80

108

40

40

60

70

90

100

40

50

60

70

90

133

40

40

60

70

90

110

40

50

60

80

90

159

40

50

60

80

90

110

40

50

70

80

100

219

40

50

60

80

100

120

40

50

70

80

100

273

40

50

70

80

100

120

40

50

70

90

100

325

40

50

70

90

110

130

40

60

70

90

100

377

40

50

70

90

110

130

40

60

70

90

110

426

40

50

70

90

110

130

40

60

70

90

110

476

40

50

70

90

110

130

40

60

70

90

110

530

40

50

70

90

110

140

40

60

70

90

110

630

40

50

70

90

110

140

40

60

80

90

110

720

40

50

70

90

120

140

40

60

80

100

120

820

40

50

70

90

120

140

40

60

80

100

120

920

40

50

70

100

120

140

40

60

80

100

120

1020

40

50

70

100

120

150

40

60

80

100

120

Более 1020 и плоские поверхности

40

60

80

100

130

160

40

60

80

110

130

Примечания.

1. Маты минераловатные прошивные марки 100 рекомендуется применять для изоляции трубопроводов диаметром 108 мм и более.

2. Плиты теплоизоляционные из минеральной ваты на синтетическом связующем марки 75 рекомендуется применять для изоляции трубопроводов диаметром 325 мм и более.

3. В таблицах 1, 2, 4 и 5 толщина изоляции для трубопроводов наружным диаметром до 89 мм вкл. указана для условного материала, близкого по теплопроводности к матам минераловатным прошивным марки 100 при рабочей температуре теплоносителя.

4. В таблицах 3 и 6 толщина изоляции для трубопроводов наружным диаметром до 325 мм вкл. указана для условного материала, близкого по теплопроводности к плитам теплоизоляционным из минеральной ваты на синтетическом связующем марки 75 при рабочей температуре теплоносителя.

Приложение 10

Рекомендуемое

Толщина теплоизоляционного слоя конструкций тепловой изоляции, обеспечивающая предотвращение конденсации влаги из воздуха на поверхности изоляции, для оборудования и трубопроводов, расположенных в помещениях объектов г. Екатеринбурга и Свердловской области.

Таблица 1. Толщина изоляции из матов минераловатных прошивных марки 100 в конструкции с металлическим защитным покрытием, обеспечивающим предотвращение конденсации влаги из воздуха на поверхности изоляции объектов, расположенных в помещениях с различной влажностью воздуха.

Наружный диаметр трубы, мм

Температура изолируемой поверхности, °С

до -10 вкл

-20

-30

-40

-50

До 0 вкл

-10

-20

-30

-40

-50

до 5 вкл.

0

-10

-20

-30

-40

-50

Толщина теплоизоляционного слоя, мм, при относительной влажности воздуха в помещении, %

60

75

80

25

40

40

40

40

50

40

40

50

60

70

80

40

40

50

60

70

80

90

32

40

40

40

50

50

40

40

50

70

80

80

40

40

50

60

70

90

100

45

40

40

40

50

60

40

50

60

70

80

90

40

40

50

70

80

90

110

57

40

40

50

50

60

40

50

60

70

90

100

40

40

60

70

80

100

110

76

40

40

50

60

60

40

50

60

80

90

100

40

40

60

70

90

100

120

89

40

40

50

60

70

40

50

70

80

90

110

40

40

60

80

90

110

120

108

40

40

50

60

70

40

50

70

80

100

110

40

40

60

80

100

110

130

133

40

40

50

60

70

40

60

70

90

100

120

40

40

70

80

100

120

140

159

40

40

50

60

70

40

60

70

90

110

120

40

50

70

90

100

120

140

219

40

50

60

70

80

40

60

80

100

110

130

40

50

70

90

110

130

150

273

40

50

60

70

80

40

60

80

100

120

130

40

50

70

90

110

130

160

325

40

50

60

70

80

40

60

80

100

120

140

40

50

70

90

110

140

160

377

40

50

60

70

80

40

60

80

100

120

140

40

50

70

100

120

140

170

426

40

50

60

70

80

40

60

90

100

120

140

40

50

80

100

120

140

170

476

40

50

60

70

80

40

60

90

110

130

140

40

50

80

100

120

150

170

530

40

50

60

70

90

40

70

90

110

130

150

40

50

80

100

130

150

180

630

40

50

60

70

90

40

70

90

110

130

150

40

50

80

100

130

150

180

720

40

50

60

80

90

40

70

90

110

130

150

40

50

80

110

130

150

180

820

40

50

60

80

90

40

70

90

110

130

150

40

50

80

110

130

160

190

920

40

50

60

80

90

40

70

90

110

140

160

40

50

80

110

130

160

190

1020

40

50

60

80

90

40

70

90

110

140

160

40

50

80

110

140

160

190

Более 1020 и плоские поверхности

40

50

70

80

100

40

70

100

130

150

180

40

60

90

120

150

180

220

Таблица 2. Толщина изоляции из матов минераловатных прошивных марки 100 в конструкции с неметаллическим защитным покрытием, обеспечивающим предотвращение конденсации влаги из воздуха на поверхности изоляции объектов, расположенных в помещениях с различной влажностью воздуха.

Наружный диаметр трубы, мм

Температура изолируемой поверхности, °С

до -20 вкл

-30

-40

-50

До 0 вкл

-10

-20

-30

-40

-50

До 0 вкл.

-10

-20

-30

-40

-50

Толщина теплоизоляционного слоя, мм, при относительной влажности воздуха в помещении, %

60

75

80

25

40

40

40

40

40

40

40

50

60

60

40

40

50

60

60

70

32

40

40

40

40

40

40

40

50

60

70

40

40

50

60

70

80

45

40

40

40

50

40

40

50

50

60

70

40

40

50

60

70

80

57

40

40

40

50

40

40

50

60

70

80

40

40

60

70

80

90

76

40

40

40

50

40

40

50

60

70

80

40

50

60

70

80

90

89

40

40

40

50

40

40

50

60

70

80

40

50

60

70

80

100

108

40

40

50

50

40

40

50

60

80

90

40

50

60

70

90

100

133

40

40

50

50

40

40

60

70

80

90

40

50

60

80

90

100

159

40

40

50

60

40

40

60

70

80.

90

40

50

70

80

90

110

219

40

40

50

60

40

50

60

70

90

100

40

50

70

80

100

120

273

40

40

50

60

40

50

60

70

90

100

40

50

70

90

100

120

325

40

40

50

60

40

50

60

80

90

100

40

60

70

90

110

120

377

40

40

50

60

40

50

60

80

90

110

40

60

70

90

110

130

426

40

50

50

60

40

50

60

80

90

110

40

60

80

90

110

130

476

40

50

50

60

40

50

60

80

90

110

40

60

80

90

110

130

530

40

50

60

60

40

50

70

80

100

110

40

60

80

100

110

130

630

40

50

60

70

40

50

70

80

100

110

40

60

80

100

110

130

720

40

50

60

70

40

50

70

80

100

110

40

60

80

100

120

140

820

40

50

60

70

40

50

70

80

100

120

40

60

80

100

120

140

920

40

50

60

70

40

50

70

80

100

120

40

60

80

100

120

140

1020

40

50

60

70

40

50

70

80

100

120

40

60

80

100

120

140

Более 1020 и плоские поверхности

40

50

60

70

40

50

70

90

110

130

40

60

90

110

130

160

Таблица 3. Толщина изоляции из плит теплоизоляционных из минеральной ваты на синтетическом связующем марки 75 в конструкции с металлическим защитным покрытием, обеспечивающим предотвращение конденсации влаги из воздуха на поверхности изоляции объектов, расположенных в помещениях с различной влажностью воздуха.

Наружный диаметр трубы, мм

Температура изолируемой поверхности, °С

До -10 вкл

-20

-30

-40

-50

До 0 вкл

-10

-20

-30

-40

-50

до 5 вкл.

0

-10

-20

-30

-40

-50

Толщина теплоизоляционного слоя, мм, при относительной влажности воздуха в помещении, %

60

75

80

25

40

40

40

40

50

40

40

50

60

70

80

40

40

40

60

70

80

90

32

40

40

40

40

50

40

40

50

60

70

80

40

40

50

60

70

80

90

45

40

40

40

50

50

40

40

50

70

80

90

40

40

50

60

80

90

100

57

40

40

40

50

60

40

40

60

70

80

90

40

40

50

70

80

90

110

76

40

40

40

50

60

40

50

60

70

80

100

40

40

60

70

80

100

110

89

40

40

50

50

60

40

50

60

80

90

100

40

40

60

70

90

100

120

108

40

40

50

60

60

40

50

60

80

90

100

40

40

60

80

90

100

120

133

40

40

50

60

70

40

50

70

80

90

110

40

40

60

80

90

110

130

159

40

40

50

60

70

40

50

70

80

100

110

40

40

60

80

100

110

130

219

40

40

50

60

70

40

60

70

90

100

120

40

40

70

80

100

120

140

273

40

40

50

60

70

40

60

70

90

110

120

40

50

70

90

110

130

150

325

40

40

50

70

80

40

60

80

90

110

130

40

50

70

90

110

130

150

377

40

40

60

70

80

40

60

80

100

110

130

40

50

70

90

110

130

150

426

40

40

60

70

80

40

60

80

100

110

130

40

50

70

90

110

130

160

476

40

40

60

70

80

40

60

80

100

120

130

40

50

70

90

120

140

160

530

40

40

60

70

80

40

60

80

100

120

140

40

50

70

100

120

140

160

630

40

50

60

70

80

40

60

80

100

120

140

40

50

70

100

120

140

170

720

40

50

60

70

80

40

60

80

100

120

140

40

50

70

100

120

140

170

820

40

50

60

70

80

40

60

80

100

120

140

40

50

70

100

120

150

170

920

40

50

60

70

80

40

60

80

100

130

140

40

50

70

100

120

150

170

1020

40

50

60

70

80

40

60

80

100

130

150

40

50

80

100

130

150

180

Более 1020 и плоские поверхности

40

50

60

80

90

40

70

90

120

140

160

40

50

80

110

140

170

200

Таблица 4. Толщина изоляции из плит теплоизоляционных из минеральной ваты на синтетическом связующем марки 75 в конструкции с металлическим защитным покрытием, обеспечивающим предотвращение конденсации влаги из воздуха на поверхности изоляции объектов, расположенных в помещениях с различной влажностью воздуха.

Наружный диаметр трубы, мм

Температура изолируемой поверхности, °С

до -20 вкл

-30

-40

-50

До 0 вкл

-10

-20

-30

-40

-50

До 0 вкл

-10

-20

-30

-40

-50

Толщина теплоизоляционного слоя, мм, при относительной влажности воздуха в помещении, %

60

75

80

25

40

40

40

40

40

40

40

50

50

60

40

40

40

50

60

70

32

40

40

40

40

40

40

40

50

60

60

40

40

50

50

60

70

45

40

40

40

40

40

40

40

50

60

70

40

40

50

60

70

80

57

40

40

40

40

40

40

40

50

60

70

40

40

50

60

70

80

76

40

40

40

50

40

40

50

60

70

70

40

40

50

70

80

90

89

40

40

40

50

40

40

50

60

70

80

40

40

60

70

80

90

108

40

40

40

50

40

40

50

60

70

80

40

50

60

70

80

90

133

40

40

40

50

40

40

50

60

70

80

40

50

60

70

80

100

159

40

40

50

50

40

40

50

60

80

90

40

50

60

70

90

100

219

40

40

50

50

40

40

60

70

80

90

40

50

60

80

90

110

273

40

40

50

60

40

40

60

70

80

90

40

50

70

80

100

110

325

40

40

50

60

40

40

60

70

80

100

40

50

70

80

100

110

377

40

40

50

60

40

40

60

70

90

100

40

50

70

80

100

120

426

40

40

50

60

40

40

60

70

90

100

40

50

70

90

100

120

476

40

40

50

60

40

40

60

70

90

100

40

50

70

90

100

120

530

40

40

50

60

40

50

60

70

90

100

40

50

70

90

100

120

630

40

40

50

60

40

50

60

72

90

100

40

50

70

9

110

120

720

40

40

50

60

40

50

60

80

90

110

40

50

70

90

110

130

820

40

40

50

60

40

50

60

80

90

110

40

50

70

90

110

130

920

40

40

50

60

40

50

60

80

90

110

40

50

70

90

110

130

1020

40

40

50

60

40

50

60

80

90

110

40

50

70

90

110

130

Более 1020 и плоские поверхности

40

50

60

70

40

50

70

80

100

120

40

50

80

100

120

150

Таблица 5. Толщина изоляции теплоизоляционных изделий с коэффициентом теплопроводности 0,035 Вт/(м×°С) в конструкции с металлическим защитным покрытием, обеспечивающим предотвращение конденсации влаги из воздуха на поверхности изоляции объектов, расположенных в помещениях с различной влажностью воздуха.

Наружный диаметр трубы, мм

Температура изолируемой поверхности, °С

10

5

0

-10

-20

-30

-50

10

5

0

-10

-20

-30

-50

10

5

0

-10

-20

-30

-50

Толщина теплоизоляционного слоя, мм, при относительной влажности воздуха в помещении, %

60

75

80

25

2

5

9

14

19

23

32

7

12

17

25

32

39

51

10

15

20

30

38

46

61

32

2

6

9

15

20

25

33

7

13

18

26

34

41

54

10

16

21

31

40

49

64

45

2

6

9

16

21

26

36

8

13

19

28

36

44

59

10

17

23

34

43

52

69

57

2

6

10

16

22

28

38

8

14

19

29

38

46

62

11

18

24

35

46

55

73

76

2

6

10

17

23

29

40

8

14

20

31

40

49

66

11

18

25

37

48

59

78

89

2

6

10

17

24

30

41

8

15

21

32

41

51

68

11

19

26

38

50

61

81

108

2

6

10

17

24

31

42

8

15

21

32

43

53

71

11

19

26

40

52

63

84

133

2

6

10

18

25

31

44

8

15

22

33

44

55

74

12

20

27

41

53

65

87

159

2

6

10

18

25

32

45

8

15

22

34

46

56

76

12

20

28

42

55

67

90

219

2

6

10

18

26

33

47

9

16

23

36

48

59

80

12

20

28

44

58

71

96

273

2

6

11

19

26

34

48

9

16

23

36

49

61

83

12

21

29

45

59

73

99

325

2

6

11

19

27

34

49

9

16

23

37

50

62

85

12

21

29

45

61

75

102

377

2

6

11

19

27

35

50

9

16

23

37

50

63

87

12

21

30

46

62

76

104

426

2

6

11

19

27

35

50

9

16

24

38

51

64

88

12

21

30

47

62

78

106

476

2

6

11

19

27

35

51

9

16

24

38

51

64

89

12

21

30

47

63

78

108

530

2

6

11

19

28

36

51

9

16

24

38

52

65

90

12

21

30

47

64

79

109

630

2

6

11

19

28

36

52

9

16

24

38

52

66

92

12

21

30

48

65

81

111

720

2

6

11

19

28

36

52

9

16

24

39

53

67

93

12

22

31

48

65

82

113

820

2

6

11

19

28

36

53

9

17

24

39

53

67

94

12

22

31

49

66

82

114

920

2

6

11

20

28

36

53

9

17

24

39

54

68

95

12

22

31

49

66

83

116

1020

2

6

11

20

28

37

53

9

17

24

39

54

68

96

12

22

31

49

67

84

117

Более 1020 и плоские поверхности

2

6

11

20

29

38

56

9

17

25

41

57

73

104

12

22

32

51

71

90

129

Таблица 7. Толщина изоляции теплоизоляционных изделий с коэффициентом теплопроводности 0,04 Вт/(м×°С) в конструкции с металлическим защитным покрытием, обеспечивающим предотвращение конденсации влаги из воздуха на поверхности изоляции объектов, расположенных в помещениях с различной влажностью воздуха.

Наружный диаметр трубы, мм

Температура изолируемой поверхности, °С

10

5

0

-10

-20

-30

-50

10

5

0

-10

-20

-30

-50

10

5

0

-10

-20

-30

-50

Толщина теплоизоляционного слоя, мм, при относительной влажности воздуха в помещении, %

60

75

80

25

1

4

6

11

14

18

24

5

9

13

19

25

30

40

7

12

16

23

29

35

47

32

1

4

7

11

15

19

26

6

10

13

20

26

32

42

7

12

16

24

31

37

49

45

1

4

7

12

16

20

27

6

10

14

21

28

34

45

8

13

17

26

33

40

53

57

1

4

7

12

17

21

29

6

10

15

22

29

36

48

8

13

18

27

35

42

56

76

1

4

7

12

17

22

30

6

11

15

23

31

37

50

8

14

19

28

37

45

60

89

1

4

7

13

18

22

31

6

11

15

24

31

39

52

8

14

19

29

38

46

62

108

1

4

7

13

18

23

32

6

11

16

24

32

40

54

8

14

20

30

39

48

64

133

1

4

7

13

18

23

33

6

11

16

25

33

41

56

8

14

20

31

40

49

67

159

1

4

7

13

19

24

34

6

11

16

25

34

42

57

8

15

20

31

41

51

69

219

1

5

8

13

19

24

35

6

11

17

26

35

44

60

9

15

21

32

43

53

72

273

1

5

8

14

19

25

36

6

12

17

27

36

45

62

9

15

21

33

44

55

75

325

1

5

8

14

20

25

36

6

12

17

27

37

46

63

9

15

21

33

45

56

77

377

1

5

8

14

20

25

37

6

12

17

27

37

47

65

9

15

22

34

45

57

78

426

1

5

8

14

20

26

37

6

12

17

27

37

47

65

9

15

22

34

46

57

79

476

1

5

8

14

20

26

37

6

12

17

28

38

47

66

9

15

22

34

46

58

80

530

1

5

8

14

20

26

37

6

12

17

28

38

48

67

9

15

22

35

47

58

81

630

1

5

8

14

20

26

38

6

12

17

28

38

48

68

9

15

22

35

47

59

81

720

1

5

8

14

20

26

38

6

12

17

28

38

49

68

9

16

22

35

48

60

83

820

1

5

8

14

20

26

38

6

12

17

28

39

49

69

9

16

22

35

48

60

84

920

1

5

8

14

20

26

38

6

12

17

28

39

49

70

9

16

22

35

48

61

85

1020

1

5

8

14

20

26

38

6

12

17

28

39

49

70

9

16

22

35

48

61

85

Более 1020 и плоские поверхности

1

5

8

14

21

27

40

6

12

18

29

40

52

75

9

16

23

37

51

64

92

Таблица 8. Толщина изоляции теплоизоляционных изделий с коэффициентом теплопроводности 0,04 Вт/(м×°С) в конструкции с неметаллическим защитным покрытием, обеспечивающим предотвращение конденсации влаги из воздуха на поверхности изоляции объектов, расположенных в помещениях с различной влажностью воздуха.

Наружный диаметр трубы, мм

Температура изолируемой поверхности, °С

10

5

0

-10

-20

-30

-50

10

5

0

-10

-20

-30

-50

10

5

0

-10

-20

-30

-50

Толщина теплоизоляционного слоя, мм, при относительной влажности воздуха в помещении, %

60

75

80

25

2

5

7

12

16

20

27

6

10

14

21

27

33

44

8

13

17

25

33

39

52

32

2

5

7

12

17

21

29

6

11

15

22

29

35

47

8

14

18

27

34

42

55

45

2

5

8

13

18

22

31

6

11

16

24

31

38

50

9

14

19

29

37

45

59

57

2

5

8

13

19

23

32

7

12

16

25

32

40

53

9

15

20

30

39

47

62

76

2

5

8

14

19

24

34

7

12

17

26

34

42

56

9

15

21

31

41

50

66

89

2

5

8

14

20

25

35

7

12

17

27

35

43

58

9

16

22

32

42

51

69

108

2

5

8

14

20

26

36

7

12

18

27

36

45

60

9

16

22

33

44

53

71

133

2

5

8

15

21

26

37

7

13

18

28

37

46

62

10

16

23

34

45

55

74

159

2

5

8

15

21

27

38

7

13

18

29

38

47

64

10

16

23

35

46

57

77

219

2

5

9

15

22

28

39

7

13

19

30

40

49

68

10

17

24

36

48

60

81

273

2

5

9

15

22

28

40

7

13

19

30

41

51

70

10

17

24

37

50

62

84

325

2

5

9

16

22

29

41

7

13

19

31

41

52

71

10

17

24

38

51

63

86

377

2

5

9

16

22

29

41

7

13

19

31

42

53

73

10

17

25

38

51

64

88

426

2

5

9

16

22

29

42

7

13

19

31

42

53

74

10

17

25

39

52

65

89

476

2

5

9

16

23

29

42

7

13

19

31

43

54

75

10

17

25

39

52

65

90

530

2

5

9

16

23

29

42

7

13

20

31

43

54

75

10

18

25

39

53

66

91

630

2

5

9

16

23

30

43

7

13

20

32

43

55

77

10

18

25

40

53

67

93

720

2

5

9

16

23

30

43

7

14

20

32

44

55

77

10

18

25

40

54

68

94

820

2

5

9

16

23

30

43

7

14

20

32

44

56

78

10

18

25

40

54

68

95

920

2

5

9

16

23

30

44

7

14

20

32

44

56

79

10

18

25

40

55

69

96

1020

2

5

9

16

23

30

44

7

14

20

32

44

56

79

10

18

25

40

55

69

97

Более 1020 и плоские поверхности

2

5

9

16

24

31

46

7

14

20

32

46

59

85

10

18

26

42

58

74

105

Примечания к таблицам 1-4.

1. Маты минераловатные прошивные марки 100 рекомендуется применять для изоляции трубопроводов диаметром 108 мм и более.

2. Плиты теплоизоляционные из минеральной ваты на синтетическом связующем марки 75 рекомендуется применять для изоляции трубопроводов диаметром 325 мм и более.

3. В таблицах 1 и 2 толщина изоляции для трубопроводов наружным диаметром до 89 мм вкл. указана для условного материала, близкого по теплопроводности к матам минераловатным прошивным марки 100 при рабочей температуре теплоносителя.

4. В таблицах 3 и 4 толщина изоляции для трубопроводов наружным диаметром до 325 мм вкл. указана для условного материала, близкого по теплопроводности к плитам теплоизоляционным из минеральной ваты на синтетическом связующем марки 75 при рабочей температуре теплоносителя.

Приложение 11

Рекомендуемое

Толщина теплоизоляционного слоя конструкций тепловой изоляции, обеспечивающая превращение замерзания воды в трубопроводах холодного водоснабжения при приостановке её движения в течение заданного времени, для оборудования и трубопроводов, расположенных на открытом воздухе и необогреваемых помещениях объемов г. Екатеринбурга и Свердловской области.

Таблица 1. Время до начала замерзания воды при остановке ее движения в трубопроводах холодного водоснабжения с температурой, теплоизолированных матами минераловатными прошивными марки 100 и расположенных на открытом воздухе или необогреваемых помещениях объектов г. Екатеринбурга.

Наружный диаметр трубы, мм

Температура воды в трубопроводе, °С

+5

+ 10

Толщина теплоизоляционного слоя, мм

40

60

80

100

120

140

160

40

60

80

100

120

140

160

Время до начала замерзания, час

25

0,8

0,9

1,1

1,2

1,2

1,3

1,4

1,0

1,2

1,3

1,4

1,5

1,6

1,7

32

1,3

1,6

1,8

2,0

2,2

2,3

2,4

1,6

1,9

2,2

2,4

2,6

2,8

2,9

45

2,3

2,9

3,4

3,7

4,1

4,3

4,6

2,7

3,4

4,0

4,4

4,8

5,1

5,4

57

3,3

4,2

5,0

5,6

6,1

6,5

6,9

3,9

5,0

5,9

6,6

7,2

7,7

8,2

76

5,1

6,6

7,8

8,8

9,7

10,5

11,2

5,9

7,7

9,1

10,3

11,4

12,3

13,1

89

6,2

8,1

9,7

11,0

12,2

13,3

14,2

7,2

9,5

11,3

12,9

14,3

15,5

16,6

108

7,9

10,5

12,7

14,6

16,2

17,7

19,0

9,2

12,3

14,8

17,0

18,9

20,6

22,2

133

10,4

14,0

17,1

19,8

22,1

24,3

26,2

12,1

16,3

19,9

23,0

25,8

28,2

30,5

159 и более

12,9

17,6

21,6

25,2

28,3

31,2

33,8

15,0

20,4

25,1

20,3

33,0

36,3

39,4

Таблица 2. Время до начала замерзания воды при остановке ее движения в трубопроводах холодного водоснабжения, теплоизолированных матами минераловатными прошивными марки 100 и расположенных на открытом воздухе или необогреваемых помещениях объектов севера Свердловской области.

Наружный диаметр трубы, мм

Температура воды в трубопроводе, °С

+5

+ 10

Толщина теплоизоляционного слоя, мм

40

60

80

100

120

140

160

40

60

80

100

120

140

160

Время до начала замерзания, час

25

0,7

0,8

0,9

1,0

1,1

1,2

1,2

0,9

1,0

1,2

1,3

1,4

1,4

1,5

32

1,2

1,4

1,6

1,8

1,9

2,0

2,1

1,4

1,7

2,0

2,2

2,3

2,5

2,6

45

2,0

2,6

3,0

3,3

3,6

3,8

4,0

2,4

3,1

3,5

3,9

4,3

4,6

4,8

57

2,9

3,8

4,4

4,9

5,4

5,8

6,1

3,5

4,4

5,2

5,8

6,4

6,8

7,3

76

4,5

5,8

6,9

7,8

8,6

9,3

9,9

5,3

6,8

8,1

9,2

10,1

10,9

11,7

89

5,5

7,2

8,6

9,8

10,8

11,7

12,6

6,4

8,4

10,1

11,5

12,7

13,8

14,7

108

7,0

9,3

11,2

12,9

14,3

15,6

16,8

8,2

10,9

13,1

15,1

16,8

18,3

19,7

133

9,2

12,4

15,1

17,5

19,6

21,5

23,2

10,7

14,5

17,6

20,4

22,9

2571

27,1

159 и более

11,4

15,6

19,1

22,3

25,1

27,6

30,0

13,3

18,1

22,3

26,0

29,3

32,2

34,9

Примечание. Толщина изоляции дли трубопроводов наружным диаметром до 89 мм вкл. указана для условного материала, близкого по теплопроводности к матам минераловатным прошивным марки 100 при рабочей температуре теплоносителя.

Таблица 3. Время до начала замерзания воды при остановке ее движения в трубопроводах холодного водоснабжения, теплоизолированных теплоизоляционным материалом, коэффициентом теплопроводности 0,035 Вт/(м×°С) и расположенных на открытом воздухе или необогреваемых помещениях объектов г. Екатеринбурга.

Наружный диаметр трубы, мм

Температура воды в трубопроводе, °С

+5

+10

Толщина теплоизоляционного слоя, мм

40

60

80

100

120

140

160

40

60

80

100

120

140

160

Время до начала замерзания, час

25

1,3

1,5

1,7

1,9

2,0

2,1

2,3

1,6

1,9

2,2

2,4

2,5

2,7

2,8

32

2,1

2,6

3,0

3,3

3,6

3,8

4,0

2,6

3,2

3,6

4,0

4,3

4,6

4,8

45

3,8

4,8

5,5

6,2

6,7

7,2

7,6

4,5

5,7

6,6

7,3

8,0

8,5

9,0

57

5,5

7,0

8,2

9,2

10,1

10,9

11,5

6,4

8,3

9,7

10,9

11,9

12,8

13,6

76

8,3

10,9

12,9

14,7

16,2

17,5

18,7

9,7

12,7

15,1

17,2

18,9

20,5

21,9

89

10,2

13,4

16,1

18,4

20,4

22,1

23,7

11,9

15,7

18,8

21,5

23,8

25,9

27,7

108

13,0

17,4

21,1

24,2

27,0

29,5

31,7

15,2

20,3

24,6

28,3

31,6

34,5

37,1

133

17,2

23,2

28,4

32,9

36,9

40,5

43,8

20,0

27,0

33,1

38,3

43,1

47,2

51,0

159 и более

21,3

29,2

36,0

42,0

47,3

52,2

56,6

24,8

33,9

41,9

48,8

55,1

60,7

65,9

Таблица 4. Время до начала замерзания воды при остановке ее движения в трубопроводах холодного водоснабжения, теплоизолированных теплоизоляционным материалом с коэффициентом теплопроводности 0,035 Вт/(м×°С) и расположенных на открытом воздухе или необогреваемых помещениях объектов севера Свердловской обл.

Наружный диаметр трубы, мм

Температура воды в трубопроводе, °С

+5

+10

Толщина теплоизоляционного слоя, мм

40

60

80

100

120

140

160

40

60

80

100

120

140

160

Время до начала замерзания, час

25

1,1

1,4

1,5

1,7

1,8

1,9

2,0

1,4

1,7

1,9

2,1

2,3

2,4

2,5

32

1,9

2,3

2,7

2,9

3,2

3,4

3,5

2,3

2,8

3,2

3,6

3,9

4,1

4,3

45

3,4

4,2

4,9

5,5

5,9

6,4

6,7

4,0

5,0

5,9

6,5

7,1

7,6

8,0

57

4,8

6,2

7,3

8,2

8,9

9,6

10,2

5,7

7,3

8,6

9,7

10,6

11,4

12,1

76

7,4

9,6

11,5

13,0

14,3

15,5

16,6

8,6

11,3

13,4

15,3

16,8

18,2

19,4

89

9,0

11,9

14,2

16,3

18,0

19,6

21,0

10,6

13,9

16,7

19,1

21,1

23,0

24,6

108

11,5

15,4

18,7

21,5

23,9

26,1

28,1

13,5

18,1

21,9

25,1

28,0

30,6

32,9

133

15,2

20,6

25,1

29,1

32,7

35,9

38,8

17,7

24,0

29,4

34,0

38,2

41,9

45,3

159 и более

18,9

25,8

31,8

37,2

41,9

46,2

50,1

22,0

30,1

37,2

43,3

48,9

53,9

58,5

Таблица 5. Время до начала замерзания воды при остановке ее движения в трубопроводах холодного водоснабжения, теплоизолированных теплоизоляционным материалом с коэффициентом теплопроводности 0,04 Вт/(м×°С) и расположенных на открытом воздухе или необогреваемых помещениях объектов г. Екатеринбурга.

Наружный диаметр трубы, мм

Температура воды в трубопроводе, °С

+5

+10

Толщина теплоизоляционного слоя, мм

40

60

80

100

120

140

160

40

60

80

100

120

140

160

Время до начала замерзания, час

25

1,1

1,3

1,5

1,7

1,8

1,9

2,0

1,4

1,7

1,9

2,1

2,2

2,4

2,5

32

1,9

2,3

2,7

2,9

3,2

3,3

3,5

2,3

2,8

3,2

3,5

3,8

4,0

4,3

45

3,3

4,2

4,9

5,4

5,9

6,3

6,7

4,0

5,0

5,8

6,4

7,0

7,5

7,9

57

4,8

6,2

7,2

8,1

8,9

9,5

10,1

5,7

7,3

8,5

9,6

10,5

11,2

11,9

76

7,3

9,5

11,4

12,9

14,2

15,4

16,4

8,6

11,2

13,3

15,1

16,6

18,0

19,2

89

8,9

11,8

14,1

16,1

17,9

19,4

20,8

10,5

13,8

16,5

18,9

20,9

22,7

24,3

108

11,4

15,3

18,5

21,3

23,7

25,9

27,8

13,4

17,9

21,6

24,8

27,7

30,2

32,5

133

15,1

20,4

24,9

28,9

32,4

35,5

38,4

17,6

23,7

29

33,6

37,7

41,4

44,7

159 и более

18,7

25,6

31,6

36,8

41,5

45,7

49,6

21,8

29,8

36,7

42,8

48,3

53,2

57,7

Таблица 6. Время до начала замерзания воды при остановке ее движения в трубопроводах холодного водоснабжения, теплоизолированных теплоизоляционным материалом с коэффициентом теплопроводности 0,04 Вт/(м×°С) и расположенных на открытом воздухе или необогреваемых помещениях объектов севера Свердловской обл.

Наружный диаметр трубы, мм

Температура воды в трубопроводе, °С

+5

+ 10

Толщина теплоизоляционного слоя, мм

40

60

80

100

120

140

160

40

60

80

100

120

140

160

Время до начала замерзания, час

25

1,0

1,2

1,4

1,5

1,6

1,7

1,8

1,2

1,5

1,7

1,9

2,0

2,1

2,2

32

1,7

2,1

2,4

2,6

2,8

3,0

3,1

2,0

2,5

2,9

3,1

3,4

3,6

3,8

45

3,0

3,7

4,3

4,8

5,2

5,6

5,9

3,5

4,4

5,1

5,7

6,2

6,7

7,0

57

4,3

5,4

6,4

7,2

7,9

8,4

9,0

5,0

6,4

7,6

8,5

9,3

10,0

10,6

76

6,5

8,4

10,1

11,4

12,6

13,6

14,5

7,6

9,9

11,8

13,4

14,8

16,0

17,0

89

7,9

10,4

12,5

14,3

15,8

17,2

18,4

9,3

12,2

14,7

16,7

18,6

20,1

21,6

108

10,1

13,5

16,4

18,8

21,0

22,9

24,6

11,9

15,9

19,2

22,1

24,6

26,8

28,8

133

13,3

18,1

22,1

25,6

28,7

31,4

34,0

15,6

21,1

25,8

29,8

33,5

36,7

39,7

159 и более

16,6

22,7

27,9

32,6

36,7

40,5

43,9

19,4

26,4

32,6

38,0

42,9

47,2

51,2

Примечание. Расчетная температура окружающего воздуха принята: в таблицах 1, 3, 5 - минус 38 °С, в таблицах 2, 4, 6 - минус 43 °С (г. Ивдель).

Приложение 12

Справочное

Рекомендуемая расчетная теплопроводность грунта в зависимости от его вида и влагосодержания

Вид грунта

Средняя плотность, кг/м3

Влагосодержание, % по массе

Теплопроводность, Вт/(м×°С)

Вид грунта

Средняя плотность, кг/м3

Влагосодержание, % по массе

Теплопроводность, Вт/(м×°С)

Песок

1480

4

0,86

Суглинок

1600

8

1,45

1600

5

1,11

15

1,78

15

1,92

2000

5

1,75

23,8

1,92

10

2,56

Суглинок

1100

8

0,71

11,5

2,68

15

0,9

-

-

-

1200

8

0,83

-

-

-

15

1,04

-

-

-

1300

8

0,98

Глинистые

1300

8

0,72

15

1,2

18

1,08

1400

8

1,12

40

1,66

15

1,36

1500

8

1,0

20

1,63

18

1,46

1500

8

1,27

40

2,0

15

1,56

1600

8

1,13

20

1,86

27

1,93

Приложение 13

Обязательное

Территориальные нормы плотности теплового потока через изолированные поверхности трубопроводов водяных тепловых сетей подземной канальной двухтрубной прокладки для г. Екатеринбурга и Свердловской области.

Наружный диаметр трубопровода, мм

Температурный график тепловых сетей, °С

95-70

150-70

180-70

Трубопровод

подающий

обратный

подающий

обратный

подающий

обратный

Среднегодовая температура теплоносителя, °С

65

50

90

50

110

50

Плотность теплового потока, Вт/м

32

13

9

19

9

24

9

38

14

10

20

10

26

9

45

15

11

22

11

27

10

57

17

12

24

11

30

11

76

19

13

27

13

34

12

89

20

14

30

14

37

12

108

23

16

33

15

40

13

133

25

18

37

17

42

15

159

27

19

40

18

46

16

219

33

23

47

21

57

18

273

37

26

51

23

65

21

325

41

29

57

25

69

22

377

46

31

63

27

75

24

426

49

33

69

29

83

25

476

52

36

77

33

85

28

530

56

38

80

34

92

29

630

63

43

91

37

107

32

720

72

49

100

40

121

36

820

78

53

110

42

133

38

920

85

57

118

49

144

43

1020

91

62

128

54

151

44

1220

104

70

144

59

177

51

1420

113

77

168

70

209

62

Приложение 14

Рекомендуемое

Толщина теплоизоляционного слоя конструкций тепловой изоляции с теплоизоляционным слоем из матов минераловатных прошивных марки 100 и плит теплоизоляционных из минеральной ваты на синтетическом связующем марки 75, отвечающая территориальным нормам плотности теплового потока, через изолированные поверхности подающего и обратного трубопроводов водяных тепловых сетей подземной канальной двухтрубной прокладки для г. Екатеринбурга и Свердловской области.

Наружный диаметр трубопровода, мм

Температурный график тепловых сетей, °С

95-70

150-70

180-70

Трубопровод

подающий

обратный

подающий

обратный

подающий

обратный

Среднегодовая температура теплоносителя, °С

65

50

90

50

110

50

Толщина теплоизоляционного слоя, мм

32

50

50

50

50

50

50

38

50

50

50

50

50

50

45

50

50

50

50

60

60

57

50

50

60

60

60

60

76

60

60

60

60

70

70

89

60

60

60

60

70

70

108

60

60

60

60

70

70

133

70

70

70

70

80

80

159

70

70

70

70

90

90

219

70

70

80

80

90

90

273

80

80

90

90

90

90

325

80

80

90

90

100

100

377

80

80

90

90

100

100

426

80

80

90

90

100

100

476

90

90

90

90

110

110

530

90

90

100

100

110

110

630

90

90

100

100

110

110

720

90

90

100

100

110

110

820

90

90

100

100

110

110

920

100

100

110

110

120

120

1020

100

100

110

110

120

120

1220

100

100

110

110

120

120

1420

100

100

110

110

120

120

Примечания.

1. Маты минераловатные прошивные рекомендуется применять для трубопроводов наружным диаметром 108 мм и более, плиты теплоизоляционные из минеральной ваты на синтетическом связующем марки 75 рекомендуется применять для изоляции трубопроводов диаметром 325 мм и более.

2. Толщина изоляции для трубопроводов наружным диаметром до 89 мм вкл. указана для условного материала, близкого по теплопроводности к матам минераловатным прошивным марки 100.

Приложение 15

Рекомендуемое

Предельные толщины теплоизоляционных конструкций для оборудования и трубопроводов

Наружный диаметр, мм

Предельная толщина, мм

Наружный диаметр, мм

Предельная толщина, мм

Наружный диаметр, мм

Предельная толщина, мм

18

100

133

200

530

260

25

120

159

220

630

280

32

140

219

230

720

280

45

140

273

230

820

300

57

150

325

240

920

300

76

160

377

240

1020 и более

320

89

170

426

250

 

 

108

180

476

250

 

 

Приложение 16

Виды сопряжений элементов металлических защитных трубопроводов

Рис.

Вид

Конструкция

1.1

В продольных швах горизонтальных и вертикальных трубопроводов при dиз менее 200 мм

1.2

В продольных швах горизонтальных и вертикальных трубопроводов при dиз более 200 мм. В поперечных швах горизонтальных трубопроводов при dиз более 600 мм

1.3

В поперечных швах горизонтальных трубопроводов при dиз менее 600 мм и при необходимости в устройстве температурного шва при любом dиз

1.4

В поперечных швах криволинейных участков трубопроводов

1.5

В поперечных швах вертикальных трубопроводов: а - при dиз менее 600 мм или при необходимости устройства температурного шва при любом dиз, б - при dиз более 600 мм

1.6

Отделка торцов изоляции горизонтальных и вертикальных трубопроводов у фланцевых соединений и у арматуры: а - при dиз до 350 мм; б - при dиз более 350 мм

2. Виды сопряжений элементов металлических защитных покрытий горизонтальных и вертикальных аппаратов

Рис.

Вид

Конструкция

2.1

В поперечных швах вертикальных аппаратов: а - в месте крепления самонарезающими винтами; б - при образовании температурного шва; в - при опирании на разгружающие устройства

2.2

В продольных швах вертикальных аппаратов

2.3

При креплении верхнего (а) и нижнего (б, в) днищ вертикальных аппаратов к его цилиндрической части

2.4

А - А - в продольных швах днищ вертикальных и горизонтальных аппаратов; Б - Б - для соединения шва накладки днища вертикальных и горизонтальных аппаратов; В - В - при креплении накладки к днищу вертикальных и горизонтальных аппаратов

2.5

В поперечных швах горизонтальных аппаратов с расположением зига по краю листа: а - в месте крепления самонарезающими винтами; б - в месте температурного шва

2.6

В продольных швах горизонтальных аппаратов

2.7

При креплении днищ горизонтальных аппаратов к его цилиндрической части: а - без температурного шва; б - с температурным швом

2.8

Варианты отделки изоляции аппаратов у фланцевых соединений

Приложение 17

Справочное

Толщина, состав растворов и норма расхода компонентов штукатурных защитных покрытий.

Таблица 1. Рекомендуемая толщина штукатурного защитного покрытия.

Диаметр трубопровода, мм

Вид изоляционного материала (основание)

Толщина штукатурного покрытия, мм

До 133 вкл.

Жесткие изделия

10

То же

Волокнистые изделия

15

159 и более

Жесткие изделия

15

То же

Волокнистые изделия

15-20

Таблица 2. Состав растворов и норма расхода компонентов для изготовления штукатурного покрытия.

Раствор

Нормы расхода компонентов (с учетом влажности и потерь) на 1 м3 раствора

компонент

количество

Асбозуритовый

Асбозурит, т

0,915

Вода, м3

0,86

Асбозуритоцементный

Асбозурит, т

0,76

Цемент, т

0,2

Вода, м3

1

Асбестоцементный

Асбест VI сорта, т

0,313

Цемент, т

1,17

Вода, м3

1

Цементно-песчаный

Цемент, т

0,4

Песок, м3

1,01

Вода, м3

1

Асбестогипсовый

Асбест VI сорта, т

0,29

Гипс строительный, т

0,57

Вода, м3

1

Гипсоизвестковый

Известь негашеная, т

0,07

Гипс строительный, т

0,53

Вода, м3

1

Штукатурка кислотоупорная

Диабаз или андезитовая мука, т

1,3

Стекло натриевое жидкое, т

0,7

Натрий кремнефтористый, т

0,1

Приложение 18

Рекомендуемое

Требования к проекту производства работ.

1. Проект производства работ (далее ППР) является неотъемлемой частью проектной документации для подготовки и производства теплоизоляционных работ.

Проект разрабатывается в целях определения наиболее эффективных организационных форм и методов производства работ, способствующих снижению их трудоемкости, сокращению продолжительности строительства объектов, повышению уровня механизации работ, степени использования строительных машин и оборудования, качества работ и обеспечению безопасности труда.

2. ППР разрабатывается проектной организацией или организацией-исполнителем теплоизоляционных работ в зависимости от степени сложности объектов строительства применительно к признакам, приведенным в табл. 1.

Наличие одного из совокупных признаков, указанных в табл. 1, является основанием для отнесения объектов к той или иной степени сложности.

ППР по сложным объектам, как правило, должен разрабатываться проектной организацией или специализированной организацией-исполнителем теплоизоляционных работ, имеющей лицензию на проектирование, опыт работ по теплоизоляции объектов не менее 3 лет и квалифицированные инженерно-технические кадры; по несложным - организацией-исполнителем теплоизоляционных работ.

3. Техническая помощь организации-исполнителю теплоизоляционных работ в выполнении организационно-технических решений, принятых в ППР, осуществляется разработчиком ППР только в части монтажа сложных технических средств и применения новых методов работ, не имеющих аналогов в практике производства работ.

4. Исходными материалами для разработки ЭДИ должны служить: задание на разработку ППР, проект организации строительства, рабочая документация (рабочий проект) на тепловую изоляцию, выполненная в составе, предусмотренном требованиями ГОСТ 21.405-93, и исходные данные в соответствии с требованиями СНиП 3.01.01-85.

Дополнительно разработчик ППР должен иметь монтажные чертежи размещения (компоновки) изолируемого оборудования и трубопроводов и, при необходимости, чертежи строительной части предприятия в составе, определяемом разработчиком ППР.

Обеспечение разработчика ППР исходной документацией входит в обязанность заказчика просчета.

Таблица 1.

Классификационный признак

Степень сложности строительства

сложный

несложный

Состав объекта

Крупный промышленный комплекс, состоящий из нескольких производств или производство, состоящее из нескольких установок или

Состоящий из одной установки или сооружения

Условия производства работ

Объекты, имеющие в своем составе установки или сооружения с условиями производства работ, требующие разработки специальной оснастки и рабочей конструкторской документации на эту оснастку (например, для изоляции аппаратов колонного типа, высотой свыше 30 м, аппараты на постаментах высотой более 6 м, эстакады трубопроводные и газоходы на высоте свыше 6 м, трубопроводы обвязки аппаратов, расположенные за пределами обслуживающих площадок или этажерок, резервуары сферические, хранилища нефтепродуктов емкостью свыше 10 тыс. м2 и др.).

Имеющий установки и сооружения с условиями производства работ, которые позволяют применить стандартную

Технологические процессы монтажа теплоизоляционных конструкций

При выполнении работ методами, требующими проектной проработки организационно-технических решений во взаимосвязи с методами монтажа оборудования и трубопроводов (Например, методом домонтажной изоляции единичного оборудования и трубопроводов или блоков при блочном монтаже оборудования и трубопроводов) При выполнении работ с применением конструкций изоляции, с особо  сложной технологией их монтажа, требующей применения специальных технических средств (например, с применением изоляции из заливочных или напыляемых пенопластов, засыпной изоляции и др.)

При выполнении работ традиционными методами с применением обычных конструкций изоляции, с несложной технологией их монтажа и без применения специальных технических средств.

5. Состав и содержание ППР сложных объектов по разделам приведены в табл. 2.

6. Для несложных объектов ППР должен состоять из разделов:

- пояснительная записка в составе п. 1. табл. 2;

- требования безопасности к производству работ;

- сводные технико-экономические показатели;

- ситуационный план (строительный генеральный план) п. 2. табл. 2;

- механизация ручного труда в составе п. 4. табл. 2.

При необходимости разрабатывается календарный план производства работ.

7. Проект производства работ для сложных объектов (промышленных комплексов при новом строительстве) и условий производства работ (при применении сложных конструкций и методов монтажа, требующих размещения приобъектных мастерских на строительной площадке или при реконструкции производства, подъемно-транспортных средств, средств электрообеспечения, строительства лесов и т.п.) подлежит согласованию организациями, перечень которых определяется заказчиком ППР.

Проект производства работ для несложных объектов и условий производства работ подлежит согласованию с организацией-заказчиком ППР.

8. Основными показателями для оценки экономической эффективности решений, принятых в ППР, являются:

- трудоемкость, чел.-дн.;

- физическая выработка, м3/чел.-дн.;

- продолжительность работ, дней.

Для анализа удельного вида затрат по видам работ показатели физической выработки и трудоемкости приводятся раздельно:

- на основных работах;

- то же с учетом вспомогательных работ на монтаже;

- то же, с учетом вспомогательных работ на монтаже и работ в заготовительных мастерских.

При оценке экономической эффективности решений путем сопоставления затрат при выполнении работ традиционными методами и методами, предусмотренными в проекте, показатели затрат определяются по сборникам ЕНиР или по элементным плановым нормативам. Расчет технико-экономических показателей эффективности организационно-технических решений должен выполняться в составе организационно-технологических схем.

9. Сводные технико-экономические показатели теплоизоляционных работ рекомендуется выполнять в виде таблицы (см. табл. 3).

Таблица 3. Сводные технико-экономические показатели теплоизоляционных работ.

Наименование объекта

Объем работ

Трудоемкость чел.-дн.

Выработка, м3/чел.-дн.

основной слой, м3

покрытие, м2

на основных работах

с учетом вспомогательных работ

с учетом вспомогательных работ и работ в мастерских

 

 

 

 

 

 

 

 

 

 

 

 

 

 

 




Rambler's Top100 Яндекс цитирования
  Copyright © 2008-2026, www.docload.ru