Бесплатная библиотека стандартов и нормативов www.docload.ru

Все документы, размещенные на этом сайте, не являются их официальным изданием и предназначены исключительно для ознакомительных целей.
Электронные копии этих документов могут распространяться без всяких ограничений. Вы можете размещать информацию с этого сайта на любом другом сайте.
Это некоммерческий сайт и здесь не продаются документы. Вы можете скачать их абсолютно бесплатно!
Содержимое сайта не нарушает чьих-либо авторских прав! Человек имеет право на информацию!

 

ПРАВИТЕЛЬСТВО МОСКВЫ
МОСКОМАРХИТЕКТУРА

РЕКОМЕНДАЦИИ
по защите жилых зданий
с несущими кирпичными стенами
при чрезвычайных ситуациях

2002

ПРЕДИСЛОВИЕ

1. РАЗРАБОТАНЫ МНИИТЭП (инженер Г. И. Шапиро, к. т. н. В. С. Коровкин, инженер Ю. А. Эйсман) и НИЦ СтаДиО (к. т. н. Ю.М. Стругацкий).

2. ПОДГОТОВЛЕНЫ к утверждению и изданию Управлением перспективного проектирования и нормативов Москомархитектуры.

3. СОГЛАСОВАНЫ ЦНИИСК им. Кучеренко; ЦНИИЭП жилища.

4. УТВЕРЖДЕНЫ И ВВЕДЕНЫ В ДЕЙСТВИЕ Указанием Москомархитектуры от 18.10.2002 г. № 68.

СОДЕРЖАНИЕ

ВВЕДЕНИЕ

Решение проблемы защиты жилых зданий, строящихся в Москве, в случаях возникновения чрезвычайных ситуаций (ЧС)1, в соответствии с директивными и нормативными документами должно учитывать природные и техногенные чрезвычайные ситуации, определенные соответствующими ГОСТ. Однако учет природных особенностей Московского региона и уроков многочисленных аварий зданий и сооружений в России и за рубежом2 показывает, что перечень ЧС, рассматриваемых при таком анализе, должен быть существенно уточнен и расширен по сравнению с гостируемым. В него необходимо включить следующие чрезвычайные ситуации:

1 Здесь и в дальнейшем курсивом выделяются термины и сокращения, определенные в госстандартах.

2 Библиография строительных аварий чрезвычайно обширна, весьма подробная библиография аварий жилых зданий во второй половине 20 века - в [20].

1. Природные ЧС:

A) - сейсмические воздействия;

Б) - опасные метеорологические явления, приводящие к повышенным ветровым нагрузкам на здания;

B) - образование карстовых воронок и провалов в основаниях зданий;

2. Антропогенные (в т.ч. техногенные) ЧС3:

3 Термин «антропогенные ЧС», применяемый в литературе, представляется более общим, чем гостируемый «техногенные ЧС» - в частности, это иллюстрирует приводимый здесь перечень ЧС.

А) - взрывы снаружи или внутри здания (в литературе упоминаются следующие источники: бытовой газ, взрывоопасные газовые смеси и жидкости, бомбы и другие взрывные устройства, используемые террористами);

Б) - пожары4;

4 Пожары могут быть отнесены и к природным ЧС, но чаще они возникают по причинам, связанным с деятельностью людей.

В) - транспортные аварии (ДТП, авиационные катастрофы);

Г) - аварии зданий и сооружений или значительные повреждения их несущих конструкций, вызванные одной из следующих причин:

а) ошибки в проектах, в том числе вызванные несовершенством СНиП,

б) недоброкачественное производство работ (на заводе или на монтаже);

в) дефекты материалов;

г) недостатки эксплуатации зданий, в том числе их инженерного оборудования;

д) небрежность, некомпетентность, а иногда и случаи вандализма жильцов, технического персонала или посторонних посетителей здания (в частности, самовольная перепланировка квартир с ослаблением несущих конструкций).

Указанные в приведенном перечне источники ЧС, по аналогии с классификацией взрывов на производстве, здесь разделены на проектные и запроектные. Защита зданий при ЧС, вызванных проектными источниками, определяется соответствующими СНиП, защита зданий при ЧС, вызванных запроектными источниками, требует специального анализа, конечная цель которого - разработка соответствующих норм и перевод рассматриваемых ЧС из разряда запроектных в категорию проектных Основная цель настоящих рекомендаций - обеспечение безопасности московских жилых зданий при запроектных ЧС.

Как показывает анализ чрезвычайных ситуаций, перечисленных выше, [19] наиболее вероятные для московских условий запроектные ЧС сводятся к локальным аварийным воздействиям на отдельные конструкции одного здания: взрывы, пожары, карстовые провалы, ДТП, дефекты конструкций и материалов, аварии инженерных систем здания, некомпетентная реконструкция и т.п. Это случайные, в общем случае непредсказуемые, нештатные ситуации, указанные в п. п. 1В, 2 вышеприведенного перечня ЧС.

Как правило, воздействия рассматриваемого типа приводят к местным повреждениям несущих конструкций зданий. При этом в одних случаях ЧС этими первоначальными повреждениями и исчерпываются, а в других - несущие конструкции, сохранившиеся в первый момент аварии, не выдерживают дополнительной нагрузки, ранее воспринимавшейся поврежденными элементами, и тоже разрушаются. Аварии последнего типа получили в литературе наименование "прогрессирующее обрушение".

Термин "прогрессирующее обрушение" и формулировка проблемы защиты от него панельных зданий появились в 1968 г. в докладе комиссии, расследовавшей причины известной аварии 22-этажного панельного жилого дома «Роунан Пойнт» в Лондоне [1]. После публикации доклада практически во всех развитых странах были начаты исследования этой проблемы, и к концу 70-х годов анализ возможных средств защиты от прогрессирующего обрушения зданий различных конструктивных систем с учетом экономических критериев был в основном завершен. Основные выводы, полученные разными исследователями, и последовавшие за ними изменения норм проектирования особенно для панельных зданий большинства развитых стран оказались схожи. Для конструкций различных систем зданий основные рекомендации сводились к следующему.

1. Не отказываясь в принципе от профилактических мер, направленных на предупреждение локальных ЧС или возникающих при них аварийных воздействий, самое серьезное внимание следует уделить предупреждению прогрессирующего обрушения. Это вызвано, во-первых, тем, что никакими экономически оправданными мерами невозможно полностью исключить возможность локальных разрушений несущих конструкций зданий, во-вторых, тем, что прогрессирующее обрушение ведет к наиболее тяжелым последствиям, в-третьих, тем, что при сравнительно небольших местных разрушениях несущих конструкций зданий обеспечение их устойчивости против прогрессирующего обрушения позволяет предотвратить эти последствия и защита может быть достигнута простыми и не дорогостоящими техническими средствами.

2. Основной принцип предотвращения прогрессирующего обрушения - повышение неразрезности конструктивной системы здания посредством совершенствования стыков и связей между конструктивными элементами.

3. Эффективность конструктивной защиты зависит от развития в элементах конструкций и их связях пластических деформаций; для пластичности связей, в частности, требуется, чтобы прочность анкеровки связей в сборных элементах была «соответствующей», т.е. больше несущей способности самой связи, или больше усилий, вызывающих текучесть связи.

4. Отмечается качественное сходство рекомендуемых мер защиты от прогрессирующего обрушения с апробированными конструктивными антисейсмическими мероприятиями. В литературе приводятся многочисленные примеры сейсмостойких зданий, локальные разрушения которых не привели к прогрессирующему обрушению благодаря соответствующей сейсмозащите.

Настоящие рекомендации, основанные на указанных принципах, рассматривают вопросы защиты при локальных ЧС для жилых зданий с несущими кирпичными стенами. Вопросы, рассмотренные в настоящих Рекомендациях, в той или иной мере ранее рассматривались, необходимость разработки данных рекомендаций появилась после ужесточения противопожарных требований [12]. Пожары являются частным случаем ЧС. Мероприятия по выполнению требований противопожарных норм защищают отдельные элементы здания только от воздействия пожара, а в случае других ЧС могут оказаться бесполезными. Поэтому в московских нормах [13] было принято положение о необходимости защиты здания в целом от прогрессирующего обрушения (п. 3.6) при ЧС любого типа, а требования по огнестойкости отдельных конструктивных элементов (п. 3.24) трактуются с учетом защищенности здания от прогрессирующего обрушения.

Рекомендации составлены на основе анализа обширной научной и нормативной зарубежной литературы и по результатам научных исследований проблемы защиты зданий от прогрессирующего обрушения, выполненных в МНИИТЭП, и разработаны в развитие Московских городских норм [13].

1. ОСНОВНЫЕ ПОЛОЖЕНИЯ.

1.1. Жилые здания первой и второй категории ответственности с кирпичными5 несущими стенами должны быть защищены от прогрессирующего (цепного) обрушения в случае локального разрушения их несущих конструкций при аварийных воздействиях, не предусмотренных условиями нормальной эксплуатации зданий (взрывы, пожары, ударные воздействия транспортных средств и т.п.). Это требование означает, что в случае аварийных воздействий допускаются локальные разрушения несущих конструкций (полное или частичное разрушение отдельных стен в пределах одного этажа и двух смежных осей здания), но эти первичные разрушения не должны приводить к обрушению или к разрушению конструкций, на которые передается нагрузка, ранее воспринимавшаяся элементами, поврежденными аварийным воздействием.

5 Здесь и далее имеется в виду не только кирпичные стены, но и из других каменных материалов в соответствии с [7, 22].

Конструктивная система здания должна обеспечивать его прочность и устойчивость в случае локального разрушения несущих конструкций как минимум на время, необходимое для эвакуации людей. Перемещение конструкций и раскрытие в них трещин в рассматриваемой чрезвычайной ситуации не ограничивается.

1.2. При проектировании защиты зданий с кирпичными несущими стенами от прогрессирующего обрушения следует выделять два типа неповрежденных конструктивных элементов. В элементах первого типа воздействия локальных разрушений не вызывают качественного изменения напряженного состояния, а приводят лишь к увеличению напряжений и усилий (неповрежденные участки стен и плиты перекрытий, не расположенные над локальным разрушением). В элементах второго типа (к ним относятся конструкции, потерявшие первоначальные опоры - элементы стен и перекрытий, расположенные над локальным разрушением) в рассматриваемом состоянии здания качественно меняется напряженное состояние.

В связи с тем, что элементы первого типа при нормальных эксплуатационных воздействиях подвергаются нагрузкам в два-три раза ниже разрушающих, основной задачей проектирования является обеспечение прочности и устойчивости элементов стен и перекрытий, потерявших опору в результате локального разрушения стен. Обеспечение устойчивости этих конструкций, которая зависит как от прочности самих зависших элементов, так и от прочности их связей между собой и с неповрежденными стенами, - основная задача защиты зданий от прогрессирующего обрушения

1.3. Устойчивость здания против прогрессирующего обрушения следует обеспечивать наиболее экономичными средствами:

- конструктивными мерами, способствующими развитию в элементах и их соединениях пластических деформаций при предельных нагрузках;

- рациональным решением системы конструктивных связей, отдельных узлов и элементов соединений и стыков.

1.4. Реконструкция здания (в частности, перепланировка квартир с устройством новых проемов), не должна снижать устойчивости здания против прогрессирующего обрушения.

2. РАСЧЕТ ЗДАНИЙ С КИРПИЧНЫМИ НЕСУЩИМИ СТЕНАМИ НА УСТОЙЧИВОСТЬ ПРОТИВ ПРОГРЕССИРУЮЩЕГО ОБРУШЕНИЯ.

2.1. Устойчивость здания против прогрессирующего обрушения проверяется расчетом на особое сочетание нагрузок и воздействий, включающее постоянные и временные длительные нагрузки, а также воздействие гипотетических локальных разрушений несущих конструкций.

2.2. Величины нагрузок должны определяться по [11]. При этом коэффициенты сочетаний нагрузок и коэффициенты надежности по нагрузке следует принимать равными единице.

2.3. Воздействие локальных разрушений несущих конструкций учитывается тем, что рассматривается несколько вариантов расчетной модели здания, каждый из которых соответствует одному из возможных локальных разрушений конструкций при аварийных воздействиях (см. рис. 1).

Рекомендуется принимать следующие размеры локальных повреждений:

Рис. 1. Фрагмент кирпичного жилого дома

а) фасад

б) план этажа

1 - армированные пояса, 2 - варианты расположения гипотетических локальных разрушений.

· карстовая воронка под фундаментом здания диаметром 6 м (для карстоопасных районов);

· разрушение (удаление) двух пересекающихся стен одного (любого) этажа на участках от места их сопряжения (в частности, от угла здания) до ближайшего проема в каждой стене или до следующего пересечения со стеной перпендикулярного направления, но на длине не более 3 м;

· исчезновение любого из простенков наружной стены;

· исчезновение любого из участков стены одного этажа шириной 3 м;

· повреждение сборного или монолитного перекрытия общей площадью до 40 м2;

Для оценки устойчивости здания против прогрессирующего обрушения разрешается рассматривать лишь наиболее опасные расчетные схемы разрушения:

локальные разрушения, включающие разрушение наружных стен, ослабленных дверными проемами выходов на балконы и лоджии;

локальные разрушения, включающие разрушения простенков внутренних стен между двумя дверными проемами при балочной разрезке большепролетных сборных перекрытий.

2.4. При расчете зданий на устойчивость против прогрессирующего обрушения расчетные сопротивления кладки, арматуры и прокатной стали, а также нормативные сопротивления бетона принимаются в соответствии с [7-9]. Расчетные сопротивления бетонных и железобетонных конструкций, определяемые делением нормативных сопротивлений на коэффициенты надежности, повышают за счет использования коэффициентов надежности по материалу, указанных в табл. 1. Кроме того, расчетные сопротивления умножают на коэффициенты условий работы, учитывающие малую вероятность аварийных воздействий и интенсивный рост прочности бетона в первый период после возведения здания, а также возможность использования арматуры и металлических элементов за пределом текучести материала. Коэффициенты условий работы для кирпичной кладки и бетона принимают по таблице 2, для арматуры всех классов вводится единый коэффициент gs = 1,1. Коэффициент условий работы gs для пластичных сталей принимается равным 1,1.

Таблица 1.

Материал

Напряженное состояние или характеристика материала

Условное обозначение

Коэффициент надежности по материалу

Бетон

Сжатие

gb

1,15

Растяжение

gbt

1,25

Таблица 2.

Факторы, обуславливающие введение коэффициентов

Условное обозначение

Коэффициент условий работы

1. Кирпичная кладка

Сжатие

gc

п.п. 3.11-3.14*

растяжение

п.п. 3.15-3.17*

2. Конструкции бетонные

gb1

0,9

3. Нарастание прочности бетона во времени, кроме бетонов класса В50 и выше, бетонов на глиноземистом цементе, алюминатных и алитовых портландцементах.

gb2

1,25

4. Элементы заводского изготовления (бетонные и железобетонные).

gb3

1,15

* см. [7, 22].

2.5. Для расчета зданий на устойчивость к прогрессирующему обрушению рекомендуется использовать пространственную расчетную модель.

Такая модель должна включать элементы, которые при нормальных эксплуатационных условиях являются ненесущими, а при наличии локальных разрушений активно участвуют в перераспределении нагрузки. Модель здания должна быть рассчитана при всех выбранных в соответствии с рекомендациями п. 2.3 расчетных схемах локального разрушения конструкций.

2.6. Упругая расчетная модель здания должна включать расчетное локальное разрушение и позволять учитывать изменившийся характер работы элементов, потерявших опору.

Полученные при упругом расчете усилия в отдельных элементах должны сравниваться с их расчетными несущими способностями. Устойчивость здания против прогрессирующего обрушения при этом будет обеспечена, если для любого элемента соблюдается условие F £ S, где F и S - соответственно усилие в элементе, найденное из упругого расчета, и его расчетная несущая способность, найденная с учетом указаний п. 2.4.

2.7. В случае обеспечения пластичной работы конструктивной системы в предельном состоянии расчет рекомендуется проводить кинематическим методом теории предельного равновесия. В этом случае допускается проверять лишь устойчивость элементов, расположенных над локальным разрушением, и расчет здания при каждой выбранной схеме локального разрушения сводится к следующей процедуре:

задаются наиболее вероятные механизмы прогрессирующего (вторичного) обрушения элементов здания, потерявших опору (задать механизм разрушения значит определить все разрушаемые связи и найти возможные обобщенные перемещения (wi) по направлению усилий в этих связях);

для каждого из выбранных механизмов прогрессирующего обрушения определяются прочности всех пластично разрушаемых связей (Si), находятся равнодействующие внешних сил, приложенных к отдельным звеньям механизма, то есть к отдельным не разрушаемым элементам или их частям (Gi), и перемещения по направлению их действия (ui);

определяется работа внутренних сил (W) и внешних нагрузок (U) на возможных перемещениях рассматриваемого механизма

W = å Si wi; U = å Gi ui

и проверяется условие равновесия

W ³ U.                                                                (1)

Если пластичность какой-либо связи не обеспечена, ее работа учитываться не должна (связь считается отсутствующей). Если таких связей и элементов, которые могут разрушаться хрупко, слишком много, и их формальное исключение слишком сильно уменьшает оценку сопротивления здания прогрессирующему обрушению, следует или обеспечить пластичность связей, или использовать другую - упругую расчетную модель здания (см. п.п. 2.6 и 2.8).

2.8. Кирпичные здания, надземная часть которых запроектирована на расчетную сейсмику 6 баллов (независимо от категории грунтов основания), допускается не рассчитывать на устойчивость против прогрессирующего обрушения. При этом для расчета в соответствии с [10], принимать необходимые коэффициенты по экстраполяции. По результатам этого расчета должны быть запроектированы узлы и связи в соответствии с [7-9].

2.9. Проверка прочности стен должна выполняться с учетом армирования кладки и наличия в кладке железобетонных поясов.

2.10. Связи, соединяющие перекрытия со стенами, должны удерживать перекрытия от падения (в случае его разрушения) на нижележащий этаж. Связи должны быть рассчитаны на нормативный вес половины пролета перекрытия с расположенным на нем полом.

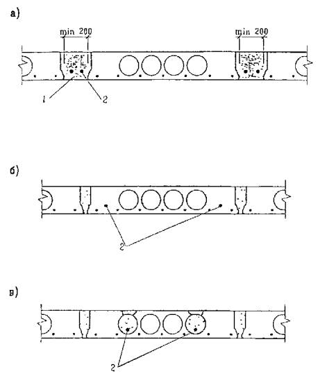
2.11. В перекрытиях необходимо предусматривать участки (скрытые балки), запроектированные в соответствии с требованиями п. 5.18 [12] по степени огнестойкости, предъявляемыми к несущим конструкциям (см. рис. 2). Эти участки, имеющие арматуру, расположенную с увеличенным защитным слоем, соединяют вертикальные несущие конструкции и обеспечивают устойчивость здания при ЧС (прогибы конструкций и раскрытие в них трещин не ограничиваются). Количество и места расположения арматуры определяются расчетом. Указанная арматура может учитываться при расчетах на эксплуатационные и монтажные нагрузки.

Рис. 2. Варианты укладки дополнительной арматуры с увеличенным защитным слоем

а) - в монолитных участках,

б) - в плитах перекрытия,

в) - в замоноличенных пустотах плит перекрытия,

1 - бетон, 2 - арматура.

Все остальные участки перекрытия могут проектироваться в соответствии с требованиями п. 5.18 [12] к перекрытиям междуэтажным, в том числе чердачным и над подвалом.

В случае применения сборных плит перекрытия, в которых нет такой арматуры, необходимо устраивать специальные монолитные участки или проводить альтернативные мероприятия.

3. КОНСТРУКТИВНЫЕ ТРЕБОВАНИЯ.

3.1. Основное средство защиты жилых зданий от прогрессирующего обрушения - увеличение «связанности» здания: создание неразрезности перекрытий, повышение пластических свойств связей перекрытия со стенами, увеличение «связанности» самих стен с помощью армированных поясов с непрерывным армированием (см. рис. 3 и 4), вовлечение в работу пространственной системы ненесущих элементов.

3.2. Связи между сборными элементами, устанавливаемые по расчету на нормальные эксплуатационные или монтажные нагрузки либо по конструктивным соображениям, следует проектировать с учетом возможности аварийных локальных разрушений. Для эффективного решения проблемы защиты зданий от прогрессирующего обрушения, с учетом всех задач проектирования при нормальных эксплуатационных и монтажных условиях необходимо предусматривать горизонтальные продольные и поперечные связи между плитами перекрытий, обеспечивающие необходимую прочность дисков перекрытий при растяжении и сдвиге.

3.3. Эффективная работа связей, препятствующих прогрессирующему обрушению, возможна лишь при обеспечении их пластичности в предельном состоянии необходимо, чтобы после исчерпания несущей способности связь не выключалась из работы и допускала без разрушения сравнительно большие абсолютные деформации (порядка нескольких миллиметров).

Для обеспечения пластичности соединений сборных элементов, их конструктивные решения должны включать специальные пластичные элементы, выполненные из пластичной листовой или арматурной стали.

Рис. 3. Варианты устройства армированных поясов и анкеровки плит перекрытия

1а, б, в, г - в несущих стенах,

2 а, б - в ненесущих стенах,

1 а, б - армокирпичные пояса,

1 а, г, 2 а, б - железобетонные пояса.

Рис. 4. Варианты анкеровки панелей перекрытий:

1 - анкер, 2 - каркасы для железобетонных поясов.

Растянутая линейная связь между сборными элементами, как правило, представляет цепочку последовательно соединенных элементов: анкер закладной детали, закладная деталь, собственно связь, закладная деталь второго элемента и ее анкер. В силу случайной изменчивости сопротивлений отдельных элементов этой цепи и их соединений, предельное состояние всего стыка определяется слабейшим звеном. Соответственно, реальная пластичность всего соединения зависит от того, какой элемент окажется слабейшим:

- если произойдет выкалывание бетона или кирпичной кладки вместе с анкерующей деталью, то разрушение будет носить хрупкий характер с весьма незначительными абсолютными деформациями, предшествующими выключению связи из работы (рис. 5а);

- если разрушится одно из сварных соединений, то, хотя при качественной сварке пластичность и проявится, в силу малой протяженности самого разрушаемого звена абсолютные деформации, предшествующие выключению связи из работы, будут сравнительно невелики (рис. 5б);

- только в том случае, когда слабейшим звеном соединения окажется собственно металлическая связь, все соединение проявит максимально возможные пластические свойства (рис. 5в).

Соединения элементов, препятствующие прогрессирующему обрушению зданий, должны проектироваться неравнопрочными, при этом наименее прочным элементом, должен быть тот, предельное состояние которого обеспечивает наибольшие пластические деформации соединения.

Для выполнения этого условия рекомендуется рассчитать все элементы соединения, кроме наиболее пластичного, на усилие, в 1,5 раза превышающее несущую способность пластичного элемента: например, анкеровку закладных деталей и сварные соединения рекомендуется рассчитывать на усилие в 1,5 раза большее, чем несущая способность самой связи.

При этом несущую способность связи следует определять в соответствии с [9] по формуле

при gс = 1. Необходимо особо следить за фактически точным исполнением проектных решений пластичных элементов - замена их более прочными недопустима.

3.4. Эффективность сопротивления прогрессирующему обрушению здания требует пластичной работы в предельном состоянии не только связей, но и других конструктивных элементов. В частности, необходимо:

Рис. 5. Диаграмма деформирования растянутой линейной связи при разрушении различных ее элементов

а) - при выкалывании анкерующего бетона,

б) - при разрушении сварных соединений;

в) - при разрушении листовой или стержневой связи.

- надпроемные перемычки, работающие как связи сдвига, проектировать так, чтобы они разрушались от изгиба, а не от действия поперечной силы;

- шпоночные соединения проектировать так, чтобы прочность отдельных шпонок на срез была в 1,5 раза больше их прочности при смятии.

3.5. Сечения всех перечисленных в п. 3.2 типов связей должны определяться расчетом на эксплуатационные, монтажные или рассматриваемые здесь аварийные воздействия, но не менее требуемых для обеспечения восприятия растягивающих усилий следующих величин:

- для горизонтальных связей, расположенных в перекрытиях вдоль длины протяженного в плане здания, - 15 кН (1,5 тс) на 1 м ширины здания;

- для горизонтальных связей, расположенных в перекрытиях перпендикулярно длине протяженного в плане здания, а также для горизонтальных связей в зданиях с компактным планом - 10 кН (1,0 тс) на 1 м длины здания.

Расстояние между связями следует назначать не более чем 3,6 м.

3.6. В кирпичных зданиях с несущими стенами следует отдавать предпочтение монолитным перекрытиям, особенно в тех зданиях, где имеются помещения с большими площадями (более 40 м2).

3.7. Жилые здания должны возводиться на ленточных, свайных фундаментах, либо на сплошной монолитной железобетонной плите. Столбчатые фундаменты с опиранием стен на рандбалки использовать не рекомендуется.

3.8. Сборные ленточные фундаменты должны быть непрерывными и иметь непрерывное армирование в виде стержней, уложенных в горизонтальные растворные швы между фундаментными подушками (подготовкой) и первым фундаментным блоком, а также последним (самым верхним) блоком и кирпичной стеной. Диаметр и количество стержней должно определяться расчетом, а толщина шва должна на 2 см превышать диаметр стержней. Марка цементно-песчаного раствора по пределу прочности на сжатие должна быть не менее 150. Вводы коммуникаций не должны нарушать непрерывности армированных швов и не должны повреждать защитного слоя арматурных стержней.

3.9. Свайные ростверки должны образовывать единую систему под всем зданием. Изолированные ростверки под отдельными кустами свай не рекомендуются.

3.10. Толщина внутренних несущих кирпичных стен должна быть не менее 38 см, толщина внутреннего несущего слоя наружных стен - также не менее 38 см, внутреннего слоя ненесущих стен (связанных с поперечными несущими) - не менее 25 см.

3.11. На каждом этаже внутренние стены, а также внутренний слой наружных стен должны иметь по периметру здания пояс армированной кладки между верхом надпроемных перемычек и низом перекрытия. Интенсивность армирования должна быть определена расчетом.

3.12. Если низ перекрытия (покрытия) на каждом или на некоторых этажах совпадает с верхом надпроемной перемычки, и вследствие этого армированный пояс кладки устроить не удается, перемычки следует выполнять монолитными и непрерывными по всему контуру наружных и внутренних стен, т.е. устраивать железобетонный пояс (по типу антисейсмического).

3.13. Покрытие и перекрытия, как сборные, так и монолитные, должны быть надежно связаны со стенами расчетными связями, а сборные плиты - друг с другом, образуя жесткий диск.

В случае сборных конструкций плиты рекомендуется проектировать с двойной арматурой и с закладными деталями, приваренными к арматуре. Через стальные связи на сварке плиты должны быть соединены друг с другом и с армированными поясами кладки стен (см. рис. 3).

Монолитные плиты должны иметь выпуски арматуры, позволяющие соединить железобетонное покрытие и перекрытия с армированными поясами кладки стен.

3.14. Аналогичную конструкцию соединений должны иметь лестничные марши и площадки.

3.15. Связи, соединяющие сборные элементы друг с другом и с армированными поясами стен, должны выполняться из пластичной стали. Связи между плитами, проходящие в толще внутренних несущих стен, должны обеспечивать неразрезность плит.

3.16. Предпочтительно перегородки проектировать из листовых материалов по каркасу либо едиными сборными элементами - железобетонными или гипсолитовыми. Перегородки из штучных материалов объемной массой менее 500 кг/м3 не рекомендуются.

3.17. Перегородки должны быть надежно соединены с перекрытиями связями, исключающими горизонтальные перемещения, но допускающими взаимное вертикальное перемещение, т.е. свободный прогиб перекрытий при статической нагрузке. Вместе с тем конструкция крепления перегородки к вышележащему перекрытию должна обеспечивать ее зависание в случае обрушения нижележащего перекрытия. Это относится в первую очередь к помещениям над нежилыми первыми этажами.

Перегородки рекомендуется соединять вертикальными стыками с соседними перегородками и стенами металлическими связями. Связи должны быть рассчитаны на восприятие собственного веса перегородок.

Список литературы

1. Report of the Inquiry into the Collapse of Flats at Ronan Point, Caning Town; MSO, 1968. (ЦИНИС, перевод 18736).

2. Д.Д. Сергеев. Краткий обзор отчета об аварии 22-этажного жилого дома в Лондоне. Обзорная информация № 2. М., ГлавАПУ, 1969.

3. Разработка и исследование усовершенствованной системы конструктивных связей между сборными элементами панельных зданий унифицированной конструкции с целью повышения их надежности и улучшения технико-экономических характеристик. Научно-технический отчет МНИИТЭП, шифр НИ-1696 М , 1976.

4. Д. Пуме. Особенности проектирования многоэтажных зданий на аварийные нагрузки. «Строительная механика и расчет сооружений», 1977, № 1.

5. Стругацкий Ю.М. Обеспечение прочности панельных зданий при локальных разрушениях их несущих конструкций. В сб. «Исследования несущих бетонных и железобетонных конструкций сборных многоэтажных зданий», МНИИТЭП, М., 1980.

6. «Пособие по проектированию жилых зданий. Вып. 3. Конструкции жилых зданий (к СНиП 2.08.01-85)». М., 1989.

7. СНиП II-22-81. Каменные и армокаменные конструкции. М., 1996

8. СНиП 2.03.01-84*. Бетонные и железобетонные конструкции. М., 1996.

9. СНиП II-23-81*. Стальные конструкции. М., 1996.

10. СНиП II-7-81*. Строительство в сейсмических районах. М., 1996.

11. СНиП 2.01.07-85*. Нагрузки и воздействия. М., 1996.

12. СНиП 21-01-97*. Пожарная безопасность зданий и сооружений. М., 1999.

13. МГСН 3.01-01. Жилые здания. М., 2001.

14. Design and Typical Details of Connections for precast and Prestressed Concrete, Second Edition, PSI, Chicago, 1988. 13. British Standard Structural use of Concrete.

a) BS 8110:Part 1:1997. Code of practice for design and construction.

b) BS 8110:Part 2:1985. Code of practice for special circumstances.

15. Construction Standards Manual. CSM CS:1996 Common Standards (summaries of standards etc. of professional interest across construction sector).

16. Building Regulations. Disproportional collapse The Structural Engineer 1993, v 71, № 23.

17. J.B. Menzies. Improving structural safety through feedback. The Structural Engineer. 1993, v. 71, № 21.

18. J.N.J.A. Vambersky. Precast concrete in buildings today and in the future. The Structural Engineer. 1994, v. 72,

19. Ю.М. Стругацкий, Г.И. Шапиро. Безопасность московских жилых зданий массовых серий при чрезвычайных ситуациях. ПГС № 8, Стройиздат, М., 1998.

20. Б.В. Сендеров. Аварии жилых зданий. М., СИ, 1991.

21. Инструкция по проектированию зданий и сооружений в районах г. Москвы с проявлением карстово-суффозионных процессов. Мосгорисполком, ГЛАВАПУ, Моспроект-1, Мосгоргеотрест, 1984.

22. Пособие по проектированию каменных и армокаменных конструкций (к СНиП II-22-81). ЦНИИСК им. Кучеренко Госстроя СССР, М., 1989.




Rambler's Top100 Яндекс цитирования
  Copyright © 2008-2026, www.docload.ru