Бесплатная библиотека стандартов и нормативов www.docload.ru

Все документы, размещенные на этом сайте, не являются их официальным изданием и предназначены исключительно для ознакомительных целей.
Электронные копии этих документов могут распространяться без всяких ограничений. Вы можете размещать информацию с этого сайта на любом другом сайте.
Это некоммерческий сайт и здесь не продаются документы. Вы можете скачать их абсолютно бесплатно!
Содержимое сайта не нарушает чьих-либо авторских прав! Человек имеет право на информацию!

 

Изменение № 5 ГОСТ 6465-76 Эмали ПФ-115. Технические условия

Принято Межгосударственным советом по стандартизации, метрологии и сертификации (протокол № 20 от 01.11.2001)

Зарегистрировано Бюро по стандартам МГС № 3975

За принятие изменения проголосовали:

Наименование государства

Наименование национального органа по стандартизации

Азербайджанская Республика

Азгосстандарт

Республика Армения

Армгосстандарт

Республика Беларусь

Госстандарт Республики Беларусь

Республика Казахстан

Госстандарт Республики Казахстан

Кыргызская Республика

Кыргызстандарт

Республика Молдова

Молдова - Стандарт

Российская Федерация

Госстандарт России

Республика Таджикистан

Таджикстандарт

Туркменистан

Главгосслужба «Туркменстандартлары»

Республика Узбекистан

Узгосстандарт

Украина

Госстандарт Украины

Вводная часть. Второй абзац дополнить словами: «и для окраски внутри помещений»;

третий абзац дополнить словами: «по ГОСТ 9.401-91»;

четвертый абзац. Заменить ссылку: ГОСТ 9.401-79 на ГОСТ 9.401-91;

дополнить абзацем:

«Обязательные требования, направленные на обеспечение безопасности эмали ПФ-115 для жизни, здоровья и имущества граждан, охрану окружающей среды, изложены в п. 1.4 (табл. 1, показатели 5, 14, 15, 16), пп. 4.1, 4.2».

Пункт 1.3. Первый абзац дополнить словами: «ксилолом по ГОСТ 9410-78 или ГОСТ 9949-76».

Пункт 1.3а исключить.

Пункт 1.4. Таблица 1. Показатель 1. Графа «Наименование показателя». Заменить слово: «пленки» на «покрытия»;

графа «Норма для эмали». Исключить слово: «(эталонами)»; после слов «контрольными образцами цвета» дополнить словами: «утвержденными в установленном порядке»;

показатели 2, 3. Графа «Наименование показателя». Заменить слово: «пленки» на «покрытия»;

показатели 4, 6. Графа «Наименование показателя». Заменить слова: «(или ВЗ-4)» на «с диаметром сопла 4 мм при температуре (20±0,5) °С»;

показатели 9, 12 изложить в новой редакции:

Наименование показателя

Норма для эмали

Метод испытания

высший сорт

первый сорт

9. Время высыхания до степени 3 при температуре (20±2) °С, ч. не более, для эмалей цветов:

 

 

По ГОСТ 19007-73

красной, вишневой

-

48

 

черной

-

24

 

остальных цветов

24

24

 

12. Твердость покрытия по маятниковому прибору, не менее:

 

 

По ГОСТ 5233-89

типа ТМЛ (маятник А), относительные единицы, для эмалей цветов:

 

 

 

красной, вишневой

-

0,10

 

черной

-

0,10

 

белой

0,10

0,10

 

остальных цветов или типа М-3, условные единицы, для эмалей цветов:

0,10

0,10

По п. 3.66 настоящего стандарта

красной, вишневой

-

0,15

 

черной

-

0,20

 

белой

0,35

0,25

 

остальных цветов

0,30

0,25

 

примечание 2 изложить в новой редакции:

«2. По требованию потребителя для промышленного применения изготавливают эмали других цветов по контрольным образцам цвета»;

примечания 3, 4 исключить.

Пункты 2.2 изложить в новой редакции:

«2.2. Приемосдаточные испытания проводят по показателям 1-5, 7-9, 12 табл. 1.

При получении неудовлетворительных результатов приемосдаточных испытаний хотя бы по одному из показателей проводят повторные испытания на удвоенной выборке, взятой от той же партии.

Результаты испытаний распространяются на всю партию.

Нормы по показателям 6, 13, 14, 15 и 16 табл. 1 определяют не реже одного раза в год с календарной даты начала выпуска эмали.

Нормы по показателям 10 и 11 табл. 1 определяют в каждой тридцатой партии.

При получении неудовлетворительных результатов периодических испытаний проверяют каждую партию до получения удовлетворительных результатов подряд не менее чем на трех партиях.

При получении повторного отрицательного результата периодические испытания переводят в приемосдаточные до получения удовлетворительных результатов».

Пункт 3.2. Второй, третий абзацы. Заменить слова и значение: «горячекатаной жести» на «жести по ГОСТ 13345-85»; 0,25-0,28 на 0,25-0,32;

второй, пятый абзацы. Заменить значение и ссылку: 0,8-0,9 на 0,7-1,0; ГОСТ 16523-89 на ГОСТ 16523-97;

четвертый абзац изложить в новой редакции:

«Твердость и блеск покрытия определяют на стеклянных пластинках размером 90´120 мм, толщиной от 1,2 до 1,8 мм»;

седьмой абзац изложить в новой редакции:

«При определении цвета, внешнего вида, блеска покрытия, времени высыхания, эластичности пленки при изгибе, прочности покрытия при ударе, твердости, стойкости покрытия к статическому воздействию воды, раствора моющего средства и трансформаторного масла, адгезии пленки испытуемую эмаль разбавляют смесью сольвента и уайт-спирита (нефраса С4-155/200) 1:1, сольвентом или ксилолом до условной вязкости 28-30 с по вискозиметру ВЗ-246 с диаметром сопла 4 мм при температуре (20,0±0,5) °С, фильтруют через сетку № 01Н-02Н по ГОСТ 6613-86 и наносят на подготовленные пластинки краскораспылителем в один слой (кроме определения цвета). При определении цвета эмаль наносят до полного укрытия окрашиваемой поверхности»;

восьмой абзац. Исключить слова: «и способности покрытия шлифоваться»;

десятый абзац исключить.

Пункт 3.3 изложить в новой редакции:

«3.3. Цвет покрытия эмали определяют визуально по ГОСТ 29319-92.

При разногласиях в оценке цвета за окончательный результат принимают определение цвета при естественном дневном свете».

Пункт 3.4. Заменить слово: «пленки» на «покрытия».

Пункт 3.4а исключить.

Пункт 3.5.1 после слов «(нефраса С4-155/200) 1:1» изложить в новой редакции: «ксилолом или сольвентом до рабочей вязкости 28-30 с по вискозиметру типа ВЗ-246 с диаметром сопла 4 мм при температуре (20,0±0,5) °С».

Пункт 3.6 изложить в новой редакции:

«3.6. Укрывистость определяют по ГОСТ 8784-75 при вязкости эмали 20-22 с при температуре (20,0±0,5) °С по вискозиметру ВЗ-246 с диаметром сопла 4 мм.

Эмаль наносят краскораспылителем. Время сушки до степени 3 - в соответствии с табл. 1».

Раздел 3 дополнить пунктами - 3.6б - 3.6б.5:

«3.6б. Определение твердости покрытия

3.6б.1. Твердость покрытия эмали определяют по ГОСТ 5233-89, разд. 1.

3.6б.2. Определение твердости покрытия по маятниковому прибору типа М-3.

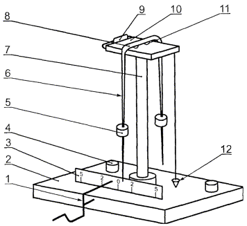
1 - пусковой механизм; 2 - основание; 3 - шкала; 4 - установочные винты; 5 - груз; 6 - двустрелочный механизм; 7 - штатив; 8 – соединительная планка; 9 - рамка; 10 - столик; 11 - стальные шарики; 12 - отвес

3.6б.2.1. Аппаратура и материалы

Маятниковый прибор типа М-3 для определения твердости при комнатной температуре (20±2) °С (чертеж).

Основные характеристики маятникового прибора:

масса маятника (120±1) г;

длина маятника, считая от точки опоры до конца стрелки, (500±1) мм;

диаметр стального шарика (точки опоры) 7,938 мм по ГОСТ 3722-81;

шкала прибора, разделенная на градусы;

угол отклонения от 5 до 2°;

время затухания колебаний на стеклянной пластинке («стеклянное число») (440±6) с.

Стеклянные пластинки размером 90´120 мм, толщиной от 1,2 до 1,8 мм.

Секундомер.

Растворители: эфир этиловый по ГОСТ 8981-78 или ацетон технический по ГОСТ 2768-84.

3.6б.2.2. Подготовка к испытанию

Перед каждым испытанием шарики маятника и стеклянную пластинку прибора тщательно протирают ватой, смоченной растворителем, а затем сухой чистой марлей.

На пластинки, подготовленные по ГОСТ 8832-76, наносят испытуемую эмаль (п. 3.2).

3.6б.2.3. Проведение испытания

Маятниковый прибор проверяют по «стеклянному числу» - времени затухания колебаний маятника, точки опоры которого лежат на стеклянной пластинке прибора.

Определение «стеклянного числа» проводят при температуре (20±2) °С и относительной влажности воздуха (65±5) %.

Измерения проводят не менее чем на трех участках поверхности стеклянной пластинки.

Таким же образом определяют время затухания колебаний маятника на стеклянной пластинке с испытуемым покрытием эмали.

3.6б.2.4. Обработка результатов

Твердость (Н), условные единицы, вычисляют по формуле

,

где t - время затухания колебаний маятника на испытуемом покрытии эмали, с;

t1 - время затухания колебаний маятника на стеклянной пластинке прибора («стеклянное число»), с.

За результат испытания принимают среднее арифметическое полученных результатов измерения времени затухания колебаний маятника на стеклянной пластинке и на испытуемом образце покрытия эмали.

Отклонения значений единичных измерений от среднего арифметического не должно быть более 3 %.

При разногласиях показатель «твердость покрытия» определяют по ГОСТ 5233-89, по маятниковому прибору типа ТМЛ (маятник А).

3.6б.2.5. Погрешность метода

Погрешность метода при определении твердости на приборе М-3 составляет ±0,02 условной единицы».

Пункт 3.7. Третий абзац. Заменить слово: «пленки» на «покрытия».

Пункт 3.8. Заменить слова: «порошка «Лотос» (ГОСТ 25644-83)» на «средства моющего синтетического порошкообразного по ГОСТ 25644-96»; «в течение времени, указанного в п. 15 табл. 1» на «при заданной температуре в течение 15 мин».

Пункт 3.9 исключить.

Пункт 4.2. Второй абзац изложить в новой редакции:

«На транспортную тару должны быть нанесены: знак опасности по ГОСТ 19433-88 (класс 3), классификационный шифр 3313, номер ООН 1263».

Пункт 4.3 дополнить абзацем:

«При хранении условная вязкость эмалей увеличивается от нормы по табл. 1. При разбавлении эмалей растворителем в количестве не более 10 % (от массы эмали) до нормы по показателю «вязкость» эмали должны соответствовать требованиям настоящего стандарта».

Раздел 6 изложить в новой редакции:

«6. Требования безопасности

6.1. Эмали ПФ-П5 различных цветов являются пожароопасными и токсичными материалами, что обусловлено свойствами компонентов, входящих в их состав.

Предельно допустимые концентрации, классы опасности компонентов по ГОСТ 12.1.005-88 и характеристики пожароопасности по ГОСТ 12.1.044-89 приведены в табл. 2.

Таблица 2

Наименование компонента

Предельно допустимая концентрация паров в воздухе рабочей зоны производственных помещений, мг/м3

Класс опасности

Температура, С

Концентрационные пределы воспламенения, % (по объему)

вспышки

самовоспламенения

нижний

верхний

Ксилол

50

3

Не ниже 23

Выше 450

1,0

6.0

Скипидар

300

4

34

300

0,8

6.9

Уайт-спирит

300

4

Не ниже 33

270

1,4

6.0

Сольвент

50

3

22-36

464-535

1,02*

-

Соединения свинца

0,01/0,005

1

-

-

-

-

Соединения хрома

0,01

1

-

-

-

-

* Нижний предел воспламенения при температуре 25 °С и давлении 101325 Па (760 мм рт. ст.).

6.2. Возможные пути поступления вредных веществ в организм человека - ингаляционный и через кожные покровы.

Пары растворителей оказывают раздражающее действие на слизистые оболочки глаз, верхних дыхательных путей и кожу.

Соединения свинца, являясь чрезвычайно опасными, вызывают хроническую интоксикацию, выражающуюся в поражении центральной нервной и сердечно-сосудистой систем, в изменениях крови, желудочно-кишечного тракта и других органов.

Соединения хрома раздражают и прижигают слизистую оболочку и кожу, вызывая изъязвления; при вдыхании аэрозолей происходит прободение хрящевой части носовой перегородки. Они оказывают также общетоксическое действие, поражая желудочно-кишечный тракт.

6.3. Производство эмалей должно соответствовать правилам безопасности лакокрасочных производств, утвержденным в установленном порядке.

6.4. Производство, испытания и применение эмалей должны соответствовать требованиям ГОСТ 12.3.005-75 и ГОСТ 12.1.004-91.

6.5. Лица, связанные с изготовлением и применением эмалей, должны быть обеспечены специальной одеждой по ГОСТ 12.4.103-83 и средствами индивидуальной защиты по ГОСТ 12.4.011-89, ГОСТ 12.4.068-79.

Индивидуальные средства защиты органов дыхания - по ГОСТ 12.4.028-76, ГОСТ 12.4.004-74 и ГОСТ 17269-71.

6.6. Работы, связанные с изготовлением и применением эмалей, проводят в помещениях, снабженных местной и общей приточно-вытяжной вентиляцией по ГОСТ 12.4.021-75, обеспечивающей состояние воздушной среды в соответствии с ГОСТ 12.1.005-88.

Средства тушения пожара - песок, кошма, огнетушители пенные ОХП-10, углекислотные ОУ-2 и ОУ-5, пенные установки, тонкораспыленная вода - по ГОСТ 12.4.009-83.

6.7. Для охраны атмосферного воздуха от загрязнений должны быть предусмотрены очистка воздуха на газоочистных установках и контроль за соблюдением предельно допустимых выбросов (ПДВ) по ГОСТ 17.2.3.02-78.

6.8. Отходы, образующиеся при очистке оборудования, утилизируют в соответствии с порядком накопления, транспортирования, обезвреживания и захоронения токсичных промышленных отходов».

Приложение 1. Заменить слово: «Обязательное» на «Рекомендуемое»;

второй абзац изложить в новой редакции:

«Перед применением эмаль тщательно перемешивают, при необходимости разбавляют сольвентом, уайт-спиритом (нефрасом С4-155/200), скипидаром или их смесью 1:1».

Приложение 2. Таблица. Головка. Заменить наименование графы: «ГОСТ 6465-76 с изменением № 1, 2, 3, 4» на «ГОСТ 6465-76 с изменениями № 1, 2, 3, 4, 5».

Приложение 3. Наименование таблицы изложить в новой редакции:

«Электрические характеристики эмали ПФ-115 для нанесения распылением в электрополе при рабочей вязкости 20-25 с по вискозиметру ВЗ-246 с диаметром сопла 4 мм при температуре (20±0,5) °С».

(ИУС № 8 2002 г.)




Rambler's Top100 Яндекс цитирования
  Copyright © 2008-2026, www.docload.ru