Бесплатная библиотека стандартов и нормативов www.docload.ru

Все документы, размещенные на этом сайте, не являются их официальным изданием и предназначены исключительно для ознакомительных целей.
Электронные копии этих документов могут распространяться без всяких ограничений. Вы можете размещать информацию с этого сайта на любом другом сайте.
Это некоммерческий сайт и здесь не продаются документы. Вы можете скачать их абсолютно бесплатно!
Содержимое сайта не нарушает чьих-либо авторских прав! Человек имеет право на информацию!

 

ПРАВИТЕЛЬСТВО МОСКВЫ
МОСКОМАРХИТЕКТУРА

РЕКОМЕНДАЦИИ
по проектированию специальных
учебно-воспитательных
учреждений открытого типа
для детей и подростков
с девиантным поведением

2002

ПРЕДИСЛОВИЕ

1. РАЗРАБОТАНЫ: ГУП МНИИП «Моспроект-4» (архитекторы Любомудрова К.И., Кряжевских М.А., инженер Тихомирова И.Б.).

2. ПОДГОТОВЛЕНЫ К УТВЕРЖДЕНИЮ И ИЗДАНИЮ Управлением перспективного проектирования и нормативов Москомархитектуры (архитектор Шалов Л.А., инженер Щипанов Ю.Б.).

3. СОГЛАСОВАНЫ: Департаментом образования г. Москвы, Москомархитектурой.

4. УТВЕРЖДЕНЫ И ВВЕДЕНЫ В ДЕЙСТВИЕ указанием Москомархитектуры от 22.10.02 г. № 69

СОДЕРЖАНИЕ

ВВЕДЕНИЕ

Специальные учебно-воспитательные учреждения открытого типа (далее ОУ) рассчитаны на работу с детьми и подростками с девиантным поведением и являются самостоятельным типом коррекционно-профилактического учреждения добровольного пребывания детей и подростков с асоциальным поведением, создающим для них оптимальные условия для воспитания, образования, оздоровления, социализации и профессиональной ориентации.

Назначением ОУ является обеспечение психологической, медицинской и социальной реабилитации детей и подростков, включая коррекцию их поведения и адаптацию в обществе, а также создание условий для получения ими начального, основного, среднего (полного) общего образования и начального допрофессионального образования.

1. ОБЛАСТЬ ПРИМЕНЕНИЯ

1.1. Настоящие «Рекомендации» разработаны для г. Москвы в дополнение к нормативным документам в строительстве, действующим на ее территории, и распространяются на проектирование новых и реконструкцию существующих ОУ.

1.2. Настоящие «Рекомендации» устанавливают основные положения и требования к размещению, участку, территории, архитектурно-планировочным решениям и инженерному оборудованию ОУ.

1.3. Проектирование ОУ должно вестись в соответствии с положениями настоящих «Рекомендаций», а также требованиями нормативно-методических документов в строительстве, действующих на территории г. Москвы.

2. НОРМАТИВНЫЕ ССЫЛКИ

В настоящих «Рекомендациях» приведены ссылки на следующие нормативно-методические документы:

СНиП 10.01-94. «Система нормативных документов в строительстве. Основные положения»;

СНиП 2.08.02-89* «Общественные здания и сооружения»;

СНиП 21-01-97* «Пожарная безопасность зданий и сооружений»;

СНиП 2.07.01-89* «Градостроительство. Планировка и застройка городских и сельских поселений»;

СНиП 2.04.09-84 «Пожарная автоматика зданий и сооружений»;

СНиП 2.04.05-91* «Отопление, вентиляция и кондиционирование воздуха»;

СП 2.4.2.782-99 «Гигиенические требования к условиям обучения школьников в различных видах современных общеобразовательных учреждений»;

СанПин 2.2.1/2.1.1.1076-01 «Гигиенические требования к инсоляции и солнцезащите помещений жилых и общественных зданий и территорий»;

СН 441-72* «Указания по проектированию ограждений площадок и участков предприятий, зданий и сооружений»;

МГСН 4.06-96 «Общеобразовательные учреждения»;

МГСН 4.15-98 «Общеобразовательные учреждения для детей-сирот и детей, оставшихся без попечения родителей»;

МГСН 1.01-99 «Нормы и правила проектирования планировки и застройки г. Москвы»;

МГСН 4.12-97 «Лечебно-профилактические учреждения»;

МГСН 2.06-99 «Естественное, искусственное и совместное освещение»;

МГСН 2.01-99 «Энергосбережение в зданиях»;

МГСН 4.07-96 «Дошкольные учреждения»;

«Рекомендации по проектированию образовательных учреждений для детей, нуждающихся в психолого-педагогической и медико-социальной помощи», М., 2000 г.;

«Рекомендации по проектированию сети и зданий детских внешкольных учреждений для г. Москвы», М., 1997 г.;

Пособие по проектированию учреждений здравоохранения к СНиП 2.08.02-89*.

3. ОБЩИЕ ПОЛОЖЕНИЯ

3.1. Основными видами деятельности ОУ являются: образовательная деятельность, учебно-производственная деятельность, дополнительное образование, оздоровление воспитанников, педиатрическая и иная врачебная помощь, психологическая и социально-педагогическая диагностика, психологическая коррекция, социально-правовая помощь.

3.2. Основными задачами ОУ являются:

- оказание психо-коррекционной помощи воспитанникам на основе индивидуальной социально-педагогической диагностики;

- организация образовательной деятельности и компенсирующего обучения по общеобразовательным программам (основным и дополнительным) и начального допрофессионального образования в соответствии с индивидуальными особенностями несовершеннолетних и их уровнем обученности;

- создание благоприятных условий для разностороннего развития личности, в том числе путем удовлетворения потребностей обучающихся в самообразовании и получении дополнительного образования;

- организация развивающего досуга (проведение коррекционных мероприятий, эстетическое образование, занятия спортом);

- социальная адаптация воспитанников;

- организация мероприятий, направленных на формирование законопослушного поведения воспитанников;

- обеспечение социальной защиты, охраны прав и законных интересов воспитанников;

- социально-правовая помощь воспитанникам;

- при интернатной форме обучение - создание условий проживания, приближенных к домашним.

3.3. В зависимости от режима работы учреждения, ОУ подразделяются на:

- учреждения, работающие по режиму образовательных школ с ежедневным посещением и продленным учебным днем (далее ОУ-1);

- учреждения, работающие по режиму школ-интернатов с пятидневным или постоянным проживанием в течение учебного года (далее ОУ-2).

Та или иная форма проживания воспитанников определяется с учетом желания родителей или их законных представителей.

В зависимости от степени социальной дезадаптации и бытовых условий дома, несовершеннолетний направляется в ОУ того или иного типа. Воспитанники детских домов направляются только в ОУ-2.

На летний период воспитанники ОУ-2 направляются в лагеря труда и отдыха.

3.4. Контингент воспитанников ОУ составляют несовершеннолетние в возрасте от 8 до 18, требующие специального педагогического подхода:

- с устойчивым противоправным поведением;

- подвергшиеся любым формам психологического насилия;

- отказывающиеся посещать общеобразовательные учреждения, испытывающие трудности в общении с родителями.

В ОУ не могут быть помещены несовершеннолетние, имеющие заболевания, препятствующие совместному содержанию и обучению в данных учреждениях.

Основанием для приема несовершеннолетних в ОУ является постановление комиссии по делам несовершеннолетних и защите их прав, заключение психолого-медико-педагогической комиссии и согласие подростков, достигших возраста 14 лет, их родителей или законных представителей.

Родители (лица их заменяющие) имеют право отказаться от услуг данного учреждения, в случае, если условия содержания, воспитания и обучения в учреждении недостаточно комфортны для реабилитации воспитанников.

3.5. ОУ создаются отдельно для мальчиков и девочек. При наличии соответствующих условий возможно создание смешанных учреждений с совместным содержанием и обучением мальчиков и девочек.

3.6. Воспитанники, выпущенные из учреждения, имеют право продолжать обучение в том образовательном учреждении, где они обучались ранее. Они принимаются в соответствующий класс на основании документов ОУ об их промежуточной аттестации.

3.7. Воспитанники после выпуска из ОУ-2 направляются к родителям (лицам, их заменяющим). Не имеющие таковых несовершеннолетние воспитанники направляются в соответствующие учреждения для детей-сирот и детей, оставшихся без попечения родителей.

3.8. ОУ-2 должно быть полностью рассчитано на использование внутренней инфраструктуры, с целью создания условий для реализации дополнительных образовательных программ: занятий спортом, искусством, ремеслами. Функции этих учреждений должны быть обеспечены в ОУ-2 за счет соответственной расширенной номенклатуры помещений.

3.9. Вместимость ОУ рекомендуется принимать не более 150 мест.

3.10. Состав и площади помещений ОУ должны определяться в соответствии с Разделом 5 настоящих Рекомендаций и уточняются в каждом конкретном случае заданием на проектирование.

4. ТРЕБОВАНИЯ К РАЗМЕЩЕНИЮ, УЧАСТКУ И ТЕРРИТОРИИ

4.1. ОУ следует размещать в селитебной зоне; в 10 - 20-ти минутной доступности до общественного транспорта.

4.2. Здания ОУ следует размещать на обособленных земельных участках.

4.3. Расстояние от зданий ОУ-1 до красной линии и от границы земельного участка ОУ-1 до стен жилых домов следует принимать в соответствии с положениями МГСН 4.06-96.

4.4. Площадь участка ОУ-1 принимается из расчета 80 - 100 м2 на 1 воспитанника; ОУ-2 - 100 - 120 м2 на 1 воспитанника. Площади участка ОУ-2 определены с учетом размещения на нем площадок и сооружений оздоровительного и досугового характера, обеспечивающих психотерапевтическую коррекцию.

4.5. В составе территории участка ОУ-1 предусматриваются следующие зоны:

- учебная и общественная;

- физкультурно-оздоровительная;

- отдыха;

- хозяйственная.

В составе территории участка ОУ-2 предусматриваются следующие зоны:

- учебная и общественная;

- физкультурно-оздоровительная;

- учебно-производственная;

- проживания;

- изолятора;

- хозяйственная.

4.6. Размеры и состав зон участков в зависимости от объемно-планировочного решения уточняются в процессе проектирования с учетом положений настоящего раздела.

4.7. В зоне размещения функциональных блоков учебного и общественного назначения всех типов ОУ рекомендуется предусматривать мощеную площадку для массовых сборов воспитанников.

4.8. В составе физкультурно-оздоровительной зоны ОУ-1 рекомендуется предусматривать:

- баскетбольную и волейбольную площадки;

- гимнастическую площадку (15 ´ 16 м).

В составе физкультурно-оздоровительной зоны ОУ-2 рекомендуется предусматривать:

- легкоатлетическое спортядро с круговой беговой дорожкой длиной 250 м.

Состав и количество физкультурных площадок уточняется заданием на проектирование.

4.9. В ОУ-1 площадки для игры с мячом следует располагать на расстоянии не менее 25 м от окон здания, а при наличии ограждения высотой 3 м - не менее 15 м. Площадки для занятий физкультурой - на расстоянии не менее 10 м.

4.10. В зоне отдыха ОУ следует предусматривать площадки для детей младшего школьного возраста, оборудованные качелями, качалками, оборудованием для развития основных видов движения (для лазания, скатывания, перелезания), скамейками для отдыха.

4.11. В учебно-производственной зоне ОУ размещаются мастерские, проектируемые, как правило, в отдельных зданиях или блоках с самостоятельным входом. Производственная зона предусматривается в непосредственной близости к хозяйственной зоне с целью использования гаража для обучения автоделу и хозяйственного въезда в ОУ-1.

4.12. В зоне проживания ОУ-2 рекомендуется предусматривать прогулочную территорию, оборудованную газонами, цветниками, навесами, качелями, скамейками для отдыха и т.п.

4.13. Изолятор, предусматриваемый в ОУ-2, должен иметь самостоятельный выход на участок и подъездные нуги, обеспечивающие возможность проезда специального медицинского транспорта для госпитализации заболевших.

4.14. Хозяйственная зона должна размещаться со стороны производственных помещений пищеблока и иметь в ОУ-1 отдельный въезд. На ее территории в ОУ размещаются мусоросборники, гараж с мастерскими, навесы для инвентаря и оборудования, мусоросборники и т.п. Вместимость гаража в каждом конкретном случае определяется заданием на проектирование, исходя из местных условий. Одну из машин следует использовать как для хозяйственных нужд учреждения, так и для обучения автоделу воспитанников.

4.15. Территория ОУ-1 должна иметь два въезда и прохода: один - центральный, второй - хозяйственный. Въезд и проход на территорию ОУ-2 осуществляется через единый контрольно-пропускной пункт, оснащенный въездными воротами с электроприводом и проходом для сотрудников и посетителей через помещение наружной охраны.

4.16. Земельные участки ОУ должны иметь ограждение по всему периметру: для ОУ-1 - решетчатое ограждение высотой не менее 1,5 м, для ОУ-2 - глухое ограждение высотой не менее 2 м с проходной для охраны.

4.17. Площадь озеленения территории участков всех типов ОУ должна составлять 25 - 30 % от общей площади участка. В состав зеленой зоны входят: газоны с низкорастущими декоративными растениями, кустарники (не выше 50 см), цветники и отдельно стоящие лиственные деревья, размещаемые в центральной зоне участка.

4.18. Участки ОУ должны быть освещены в соответствии с требованиями СНиП 23-05-95.

4.19. Планировка участков должна обеспечивать подъезды с твердым покрытием к хозяйственной зоне, подъезды пожарных машин ко всем зданиям и блокам, а также объезды вокруг них в соответствии с СНиП 21-01-97*.

4.20. Для автомашин сотрудников ОУ следует предусматривать открытую стоянку в соответствии с требованиями МГСН 1.01-99.

5. ТРЕБОВАНИЯ К АРХИТЕКТУРНО-ПЛАНИРОВОЧНЫМ РЕШЕНИЯМ И ИНЖЕНЕРНОМУ ОБОРУДОВАНИЮ

Общие требования.

5.1. В состав ОУ входят следующие функциональные группы помещений:

- вестибюльная;

- проживания (ОУ-2);

- общего образования;

- начальной допрофессиональной подготовки и дополнительного образования;

- лечебно-реабилитационная (психолого-коррекционная и медицинская);

- досуговая и физкультурно-оздоровительная;

- изолятора (ОУ-2);

- питания;

- административно-бытовая;

- хозяйственного обслуживания.

Состав функциональных групп помещений в учреждении определяется типом ОУ.

Архитектурно-планировочные решения ОУ должны учитывать требования функционального зонирования помещений с учетом осуществляемой в них деятельности.

Различные функциональные группы помещений, рассчитанные на работу с детьми, помимо своих основных функций, должны обеспечивать также коррекционную функцию, что учитывается составом и площадями их помещений и должно быть отражено в архитектурно-планировочных решениях.

5.2. При проектировании помещений ОУ рекомендуется пользоваться габаритными схемами, приведенными в Приложениях. Рекомендуемые площади отдельных помещений в зависимости от конкретных планировочных и конструктивных решений могут быть изменены (уменьшены или увеличены) не более, чем на 15 %.

5.3. Функциональные группы помещений могут размещаться либо в одном здании, непосредственно примыкая друг к другу, либо в отдельных корпусах или блоках, соединенных отапливаемыми переходами. При этом должны предусматриваться пожарные отсеки площадью не более 5000 м2, разделяемые противопожарными стенами 1-го типа (в соответствии с требованиями СНиП 2.08.02-89*), а из каждого пожарного отсека должно быть предусмотрено не менее двух эвакуационных выходов, один из выходов допускается предусматривать в соседний блок.

5.4. Учитывая специфику контингента ОУ-2, отдельные блоки помещений, непосредственно рассчитанные на пребывание воспитанников, следует проектировать непроходными, с возможностью их изоляции в течение суток в зависимости от режима работы каждой группы помещений. Объединение различных групп помещений может осуществляться через общее коммуникационное пространство. В том случае, когда в одном блоке размещены различные группы помещений, их следует проектировать поэтажно, предусматривая возможность изоляции.

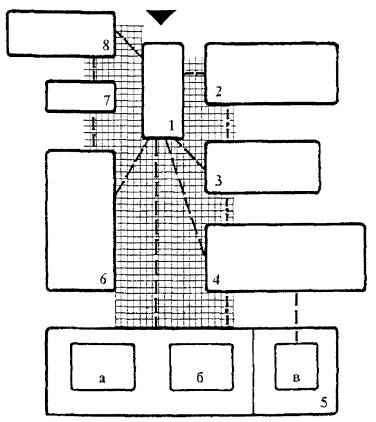
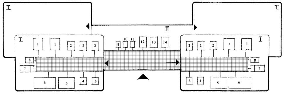
Общая функционально-планировочная схема ОУ-1 представлена на Рис. 1.

Общая функционально-планировочная схема ОУ-2 представлена на Рис. 2.

5.5. Здания ОУ не должны превышать 4 этажей.

5.6. Объемно-планировочная структура зданий должна обеспечивать оптимальные условия осуществления протекающих в нем функциональных процессов, отражать специфику учреждения и обеспечивать комфортные условия эксплуатации и необходимую связь с участком.

Рис. 1. Схема функциональной структуры ОУ-1.

1. Вестибюльная группа помещений. 2. Помещения питания. 3. Помещения общего образования. 4. Помещения досугового и физкультурно-оздоровительного назначения: а. - физкультурно-оздоровительные; б. - досуговые; в. - начальное профессиональное и дополнительное образование. 5. Лечебно-реабилитационные помещения. 6. Административно-бытовые помещения.

Условные обозначения.

   -     Коммуникационное пространство

  -     Обязательные связи

  -     Необязательные связи

Рис. 2. Схема функциональной структуры ОУ-2.

1. Вестибюльная группа помещений. 2. Помещения проживания. 3. Помещения питания. 4. Помещения общего образования. 5. Помещения досугового и физкультурно-оздоровительного назначения: а. - физкультурно-оздоровительные; б. - досуговые; в. - начальное профессиональное и дополнительное образование. 6. Лечебно-реабилитационные помещения. 7. Медицинский изолятор. 8. Административно-бытовые помещения.

Условные обозначения.

                 -         Коммуникационное пространство

                -         Обязательные связи

                -         Необязательные связи

5.7. Ширина лестничных маршей должна быть не менее 1,35 м. Лестничные марши и площадки должны иметь защитное ограждение на всю высоту.

Ширину дверей основных помещений следует принимать не менее 1 м.

Ширину коридоров в группах помещений административно-бытового, методического и хозяйственного назначения следует принимать не менее 1,4 м; а во всех группах помещений, рассчитанных на работу с детьми - не менее 2,2 м.

Ширина рекреационных помещений должна приниматься не менее 4 м.

5.8. Высота наземных этажей здания ОУ должна быть не менее 3,3 м (от пола до пола вышележащего этажа). Рекомендуемая высота зрительного зала принимается 3,6 м, высота спортзала - 6 м (до низа несущих конструкций).

5.9. Внутренняя отделка помещений ОУ должна быть выполнена из материалов, разрешенных для применения органами Госсанэпиднадзора Минздрава РФ, допускающих влажную уборку, а также применение дезинфицирующих средств.

5.10. Все помещения общего образования, начальной допрофессиональной подготовки и дополнительного образования, а также лечебно-реабилитационные помещения, рассчитанные на пребывание детей, должны быть оборудованы умывальниками.

5.11. Помещения, в которых сосредоточены материальные ценности, должны иметь металлические двери и решетки на окнах.

5.12. В помещениях рекреаций, фойе и холлах рекомендуется организовывать уголки релаксации с зелеными насаждениями, фонтанчиками, аквариумами и т.д.

5.13. Естественное освещение в помещениях следует проектировать в соответствии с требованиями МГСН 2.06-99.

5.14. Все основные учебные помещения и помещения начальной допрофессиональной подготовки должны иметь КЕО не менее 1,5 на поверхности столов и освещаться боковым с левой стороны светом. Для организации мобильных форм ведения занятий необходимо предусматривать равномерное освещение по всей рабочей плоскости в помещении за счет дополнительного верхнего света или дополнительного искусственного освещения в глубине помещения.

5.15. Допускается не предусматривать естественного освещения:

- в зрительном зале;

- в коммуникациях и коридорах, не являющихся рекреационными помещениями и путями эвакуации;

- в умывальных, душевых и уборных при спортивном зале, санитарных узлах для персонала, комнатах личной гигиены женщин;

- в радиоузле;

- в столовой для персонала;

- в кладовых инвентаря, комнатах хранения предметов уборки;

- в помещениях технических служб.

В зависимости от архитектурно-планировочного решения допускается проектировать с искусственным освещением санитарные узлы для детей и подростков (при соблюдении необходимой кратности обмена воздуха).

5.16. Санитарные узлы и туалетные комнаты в ОУ проектируются с учетом специфики работы каждого подразделения в соответствии с действующими нормативными документами: МГСН 4.15-98, МГСН 4.06-96. Размещение санитарных приборов (выполненных в «антивандальном» исполнении) осуществляется только в общих санитарных узлах в открытых кабинах.

Общее количество санитарных приборов принимается из расчета: на каждые 20 воспитанников по два унитаза для мальчиков и для девочек, 2 писсуара в уборной для мальчиков; 1 умывальник на каждые 30 мальчиков и 30 девочек.

В состав оборудования кабин личной гигиены для девочек входят умывальник и бидэ. Количество кабин личной гигиены определяется из расчета: 1 кабина на каждые 70 девочек.

5.17. В комнатах хранения уборочного инвентаря следует предусматривать умывальник и слив.

5.18. Инсоляцию помещений, в которых находятся дети, следует предусматривать в соответствии с требованиями СП 2.2.1/2.1.1.1076-01.

5.19. Отопление и вентиляцию зданий ОУ следует проектировать в соответствии с требованиями СНиП 2.04.05-91*, МГСН 4.06-96, МГСН 2.01-99.

5.20. Энергоснабжение, электрооборудование, электрическое освещение здания и наружное освещение территории следует предусматривать в соответствии с требованиями МГСН 2.06-99, МГСН 4.06-96, МГСН 2.01-99.

5.21. Здания ОУ должны проектироваться с учетом максимального энергосбережения в соответствии с требованиями МГСН 2.01-99.

5.22. Здания ОУ следует проектировать не менее II степени огнестойкости в соответствии с СНиП 21-01-97*.

5.23. В зданиях ОУ должна быть предусмотрена автоматическая пожарная сигнализация в соответствии с требованиями СНиП 2.04.09-84. Перечень помещений, в которых необходимо предусматривать автоматическую пожарную сигнализацию, следует определять в соответствии с МГСН 4.06-96 и МГСН 4.15-98. Сигнал о срабатывании системы АПС (автоматической пожарной сигнализации) выводится в помещение с круглосуточным пребыванием персонала.

5.24. На путях эвакуации должно быть предусмотрено аварийное и эвакуационное освещение, проектируемое в соответствии с требованиями СНиП 21-01-97* и СНиП 23-05-95.

Вестибюльная группа помещений.

5.25. Рекомендуемый состав помещений вестибюльной группы ОУ приведен в таблице 5.1.

5.26. В ОУ-2 вестибюльную группу не рекомендуется размещать в блоке помещений проживания. Вход воспитанников во все блоки различных групп помещений осуществляется через вестибюль.

5.27. В ОУ-1 помещение гардероба для воспитанников должно быть зонировано на изолированные секции - для начальной, основной, и старшей школы. Помещение гардероба для воспитанников в ОУ-2 должно быть зонировано на изолированные секции для отдельных групп, комплектуемых по принципу совместного проживания, т.е. возрастному принципу - 8 - 10 лет, 11 - 14 лет, 15 - 18 лет, отделяемых друг от друга сетчатыми перегородками. Следует предусматривать возможность полной изоляции гардероба в целом.

5.28. В составе оборудования гардероба для воспитанников рекомендуется предусматривать сушильные шкафы для одежды и обуви с подогревом и вытяжкой, а также вешалки консольного типа.

5.29. Гардероб для верхней одежды персонала и посетителей рекомендуется предусматривать в отдельном помещении при вестибюле.

5.30. В ОУ-2 в состав вестибюльной группы рекомендуется включать комнату свиданий воспитанников с посетителями.

5.31. В состав вестибюльной группы следует включать пост дежурного вахтера с помещением отдыха.

5.32. В ОУ в помещениях начальной допрофессиональной подготовки при организации отдельного входа рекомендуется предусматривать вестибюль, площадью не менее 30 м2 с гардеробом и санитарным узлом с умывальником в шлюзе.

5.33. Входы в здание следует оборудовать тамбурами.

Таблица 5.1.

Рекомендуемые состав и площади помещений вестибюльной группы.

№№ п./п.

Наименование помещений

Типы учреждений

Примечание

ОУ-1

ОУ-2

Площадь помещений, м2

Площадь помещений, м2

Ha 1 учащегося

Всего

Ha 1 учащегося

Всего

1

2

3

4

5

6

7

1.

Вестибюль

0,5

-

0,5

-

С учетом численности персонала

2.

Гардероб для верхней одежды воспитанников

0,8

-

0,8

-

 

3.

Гардероб для верхней одежды персонала и посетителей

0,1

-

0,1

-

 

4.

Комната свиданий с посетителями

-

-

-

12

 

5.

Помещение поста дежурного вахтера

-

10

-

10

 

6.

Санитарный узел с умывальником в шлюзе

 

3

 

3

 

7.

Комната хранения предметов уборки

 

4

 

4

 

Помещения общего образования.

5.34. Рекомендуемые состав и площади помещений общего образования, общие для всех типов ОУ, приведены в таблице 5.2. Площади помещений общего образования, на которые в «Рекомендациях» отсутствуют габаритные схемы, определены в соответствии с МГСН 4.06-96.

5.35. Данная группа помещений обеспечивает проведение мероприятий, направленных на:

- обучение по образовательным программам в соответствии с возрастными и индивидуальными особенностями детей и подростков, на уровне, предусмотренном Законом Российской Федерации «Об образовании»;

- психолого-педагогическую помощь в усвоении образовательных программ;

- образование воспитанников с отклонениями в развитии.

5.36. Помещения общего образования должны группироваться в блоки: начальная, основная и старшая школы. Формирование контингента классов во всех типах ОУ происходит по уровню обученности воспитанников.

5.37. Наполняемость классов принимается в соответствии с «Рекомендациями по проектированию образовательных учреждений для детей, нуждающихся в психолого-педагогической и медико-социальной помощи» - 9 чел.

5.38. В блоке помещений общего образования следует предусмотреть рекреации из расчета 1,2 м2 на 1 учащегося.

5.39. В состав помещений начальной школы рекомендуется включать игровые комнаты, рассчитанные на одновременное пребывание 18 учащихся. Необходимость и количество игровых комнат определяется заданием на проектирование.

5.40. В составе группы помещений основной и старшей школы предусмотрены неспециализированные классные помещения и специализированные кабинеты: физики-химии, иностранного языка, биологии, компьютерный класс. Учебные помещения должны отвечать требованиям активного ведения учебного урока с организацией как фронтальных, так и групповых и индивидуальных форм обучения с широким привлечением технических средств.

5.41. Учитывая специфику контингента воспитанников, неспециализированные классные помещения следует проектировать с трехрядной расстановкой одноместных парт. Количество неспециализированных классных помещений определяется в каждом конкретном случае заданием на проектирование.

5.42. Учитывая специфику контингента воспитанников ОУ-2, в оборудование как специализированных, так и неспециализированных классных помещений не следует включать стеллажи с пособиями. В данном случае хранение пособий должно быть предусмотрено либо в лаборантских, либо в учительской.

5.43. В состав помещений общего образования входит библиотека с книгохранилищем и читальным залом.

5.44. Проектирование санитарных узлов при учебных помещениях осуществляется в соответствии с МГСН 4.06-96.

Таблица 5.2.

Рекомендуемые состав и площади помещений общего образования.

№№ п/п.

Наименование помещений

Площадь помещений, м2

Примечания

1

2

3

4

Начальная школа

1.

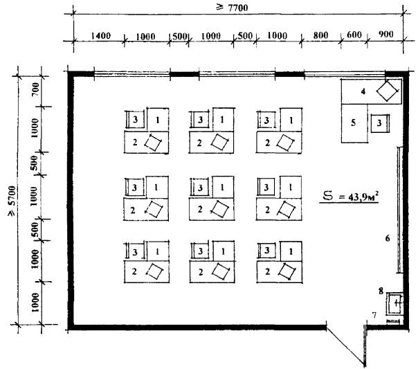
Класс

36

Приложение, Рис. П.1.

2.

Компьютерный класс

44

Приложение, Рис. П.2.

3.

Кабинет иностранного языка

36

 

4.

Игровая

54

Приложение. Рис. П.3.

5.

Санитарные узлы для мальчиков и для девочек с умывальниками в шлюзе

16 ´ 2

 

Основная школа и старшая школа.

1.

Класс

36

 

2.

Кабинет занятий физикой и химией с двумя лаборантскими

50 + 9 + 9

Приложение, Рис. П.4.

3.

Кабинет иностранного языка

36

 

4.

Компьютерный класс

50

Приложение, Рис. П.5.

5.

Кабинет черчения

54

 

6.

Кабинет биологии с живым уголком и лаборантской

38 + 12 + 9

 

7.

Библиотека с читальным залом и хранилищем

120

 

8.

Санитарные узлы для мальчиков и для девочек с умывальниками в шлюзе

16 ´ 2

 

9.

Комнаты личной гигиены для девочек

2

Разместить при санузлах для девочек

Общешкольные помещения.

1.

Методический кабинет

24

 

2.

Кабинет заведующего учебной частью

20

 

3.

Учительская

36

 

4.

Санитарный узел персонала с умывальником в шлюзе

3

 

5.

Кабина личной гигиены для женщин

2

Разместить при санузле для женщин

6.

Комната хранения предметов уборки

4

 

Помещения начальной допрофессиональной подготовки и дополнительного образования.

5.45. Рекомендуемые состав и площади помещений начальной допрофессиональной подготовки и дополнительного образования, общие для всех типов ОУ, приведены в таблице 5.3. В «Рекомендациях» даны усредненные площади мастерских начальной допрофессиональной подготовки, что позволяет как организовать мастерские различных видов деятельности, так и перепрофилировать имеющиеся при изменении условий. Усредненные показатели площадей мастерских определены на основании МГСН 4.06-96. Усредненные показатели помещений дополнительного образования определены на основании «Рекомендаций по проектированию сети и зданий детских внешкольных учреждений для г. Москвы».

5.46. Данная группа помещений обеспечивает проведение мероприятий, направленных на:

- начальную профориентацию воспитанников;

- предоставление воспитанникам возможности получения начальной допрофессиональной подготовки аналогично учебно-производственным комплексам - УПК - для обычных общеобразовательных школ;

- трудовую терапию и привитие навыков к труду;

- формирование у воспитанников потребности в групповом и межличностном общении;

- раскрытие врожденных склонностей воспитанника, формирование его культурных интересов;

- осуществление социально-бытовой адаптации, дающей навыки самостоятельного жизнеобеспечения.

5.47. Наполняемость мастерских допрофессиональной подготовки и групп дополнительного образования принимается в соответствии с «Рекомендациями по проектированию образовательных учреждений для детей, нуждающихся в психолого-педагогической и медико-социальной помощи» - 9 чел.

5.48. Рекомендуется использование мастерских начальной допрофессиональной подготовки во внеурочное время в качестве помещений для дополнительного образования и досуговых занятий по интересам. Вследствие этого, рекомендуется их располагать в блоке досуговых помещений.

5.49. Профиль, состав и площади мастерских начальной допрофессиональной подготовки и помещений дополнительного образования в каждом конкретном случае уточняются заданием на проектирование.

Рекомендуемый состав мастерских начальной допрофессиональной подготовки для мальчиков: мастерские по обработке металла, обработке дерева, электротехнике, радиоэлектронике, автоделу (теория). Практические занятия по автоделу проводятся в гараже, на территории учреждения.

Рекомендуемый состав мастерских начальной допрофессиональной подготовки для девочек: мастерские швейная, вязальная, изготовления шляп, делопроизводства, кулинарного мастерства.

Номенклатура видов начальной допрофессиональной подготовки может быть расширена, с целью подбора воспитанникам занятий, соответствующих их склонностям.

5.50. Кулинарная мастерская является обязательным элементом допрофессиональной подготовки, т. к. способствует бытовой адаптации детей из неблагополучных семей, которые в основном составляют контингент ОУ. Она должна включать в свой состав две зоны: зону производства и зону «чаепития». В оборудование первой зоны входят разделочные столы, плита, холодильник, шкаф сухих продуктов, шкаф кухонной посуды, мойка. Оборудование второй зоны составляют обеденный стол со стульями, шкаф с чайной посудой.

5.51. Интерьеры помещений начальной допрофессиональной подготовки и дополнительного образования должны быть привлекательны и вызывать интерес у воспитанников, оказывать положительное эмоциональное и эстетическое воздействие. Интерьеры не должны выглядеть казенно. К оформлению интерьеров рекомендуется привлекать воспитанников и использовать элементы их самодеятельного творчества.

5.52. Учитывая специфику контингента воспитанников, планировка мастерских начальной допрофессиональной подготовки и помещений дополнительного образования для занятий, проведение которых связано с использованием ценного оборудования, должна обеспечивать выделение двух зон доступности:

- зону занятий с руководителем;

- зону ограниченной доступности (хранения ценного оборудования, сырья, изделий).

5.53. При помещениях начальной допрофессиональной подготовки и дополнительного образования следует предусматривать кладовые для хранения материалов и готовых изделий.

5.54. Мастерские следует оборудовать шкафами для хранения спецодежды и умывальниками с подачей горячей и холодной воды (из расчета 2 умывальника на группу).

5.55. Помещения, в которых процесс обучения связан с выделением химических веществ и пыли (в т.ч. мастерские радиотехники, электроники, монтажные и др.), следует оборудовать эффективной вентиляционной системой в соответствии со СНиП 2.04.05-91*.

Монтажные мастерские, в которых проводится рубка и резка металла, а также мастерские с крупногабаритным и тяжелым оборудованием, с крупногабаритными материалоемкими объектами работ учащихся, необходимо располагать на первом этаже.

Таблица 5.3.

Рекомендуемые состав и площади помещений начальной допрофессиональной подготовки и дополнительного образования.

№№ п./п.

Наименование помещений

Площадь помещений, м2

Примечания

1.

2

3

4

1.

Мастерские начальной допрофессиональной подготовки с кладовыми (для мальчиков)

(68 + 12) ´ 5

 

2.

Мастерские начальной допрофессиональной подготовки с кладовыми (для девочек)

(59 + 8) ´ 5

 

3.

Мастерская кулинарного творчества

40

Приложение, Рис. П.6.

4.

Кабинет лепки и керамики для воспитанников начальной школы с кладовой

72 + 10

Приложение, Рис. П.7.

5.

Teaтрально-художественная мастерская с кладовой

49 + 15

Приложение, Рис. П.8. 8

6.

Кинофотолаборатория

18

 

7.

Комната музыкальных занятий с кладовой инструментов

32 + 14

Приложение, Рис. П.9.

8.

Изостудия с кладовой

38 + 14

Приложение, Рис. П.10.

9.

Комната мастеров

25

 

10.

Кладовые для хранения сырья, материалов и готовой продукции

24 - 36

 

11.

Санитарные узлы для мальчиков и для девочек с умывальниками в шлюзе

16 ´ 2

Разместить поэтажно

12.

Санитарный узел персонала с умывальником

3

 

13.

Комната хранения предметов уборки

4

 

Лечебно-реабилитационные помещения (психолого-коррекционные и медицинские).

5.56. Состав, количество и площади кабинетов определяются заданием на проектирование в каждом конкретном случае. Учитывая специфику контингента, номенклатура медицинских помещений в ОУ-2 должна быть достаточно расширенной и включать кабинеты специалистов различного профиля. Рекомендуемые состав и площади лечебно-реабилитационных помещений приведены в таблице 5.4.

5.57. Группа лечебно-реабилитационных помещений предназначена для проведения мероприятий, направленных на:

- лечение, оздоровление и профилактику физических и психических заболеваний у воспитанников;

- нормализацию психического состояния воспитанников;

- преодоление отклонений в эмоционально-волевой сфере воспитанников;

- формирование законопослушного поведения несовершеннолетних;

- социально-средовую адаптацию воспитанников.

5.58. Группа медицинских помещений рассчитана на профилактику соматических заболеваний у воспитанников и общее укрепление организма.

5.59. Медицинские помещения следует проектировать с учетом положений МГСН 4.12-97 и Пособия по проектированию учреждений здравоохранения к СНиП 2.08.02-89*. Все помещения должны быть рассчитаны на индивидуальную работу с воспитанниками.

5.60. Психолого-коррекционные помещения предназначены для проведения мероприятий, направленных на:

- индивидуальную психологическую коррекцию;

- преодоление социальной дезадаптации.

5.61. В состав оборудования кабинета групповой психотерапии рекомендуется включать кресла, журнальный столик, компьютерный стол специалиста. Кабинет рассчитан на проведение занятий группы из 9 чел.

5.62. Кабинет релаксации рассчитан на проведение индивидуальной психолого-терапевтической коррекции. В состав оборудования его рекомендуется включать мягкую мебель (кресло или диван), светомузыкальную установку, аквариум с рыбками, зеленый уголок.

5.63. Кабинет групповых занятий ЛФК рассчитан на проведение занятий в группе из 9 чел.

Таблица 5.4.

Рекомендуемые состав и площади лечебно-реабилитационных помещений (психолого-коррекционных и медицинских).

№№ п.п.

Наименование помещений

Типы учреждений

Типы учреждений

ОУ-1

ОУ-2

Площадь помещений, м2

Площадь помещений, м2

1

2

3

4

5

1.

Кабинет врача-педиатра

10

10

 

2.

Кабинет логопеда

10

10

 

3.

Кабинет дефектолога

-

10

 

4.

Консультативный кабинет

12

-

 

5.

Кабинет нарколога

-

10

 

6.

Кабинет гинеколога-венеролога

-

12

Приложение, Рис. П.11.

7.

Кабинет детского психиатра

-

10

 

8.

Кабинет психоневролога

-

10

 

9.

Кабинет психотерапевта

10

10

 

10.

Кабинет стоматолога

16

16

Приложение, Рис. П.12.

11.

Кабинет офтальмолога с темной комнатой

-

18 + 8

Приложение, Рис. П.13.

12.

Кабинет медицинской сестры

10

10

 

13.

Процедурная

12

12

 

14.

Фитокабинет с кладовой

-

10 + 3

 

15.

Ингаляторий на 3 места

-

15

Приложение, Рис. П.14.

16.

Кабинет физиотерапии

-

24

Приложение, Рис. П.15.

17.

Кабинет групповых занятий ЛФК с кладовой и раздевалкой

-

60 + 6 + 8

Приложение, Рис. П.16.

18.

Кабинет массажа на 1 место

-

8

 

19.

Кабинет психолога

14

14

 

20.

Кабинет групповой психотерапии

44

44

Приложение, Рис. П.17.

21.

Зал ситуационных игр

38

-

Приложение, Рис. П.18.

22.

Кабинет релаксации

-

12

 

23.

Кабинет социального педагога

-

14

 

24.

Санузлы для мальчиков и для девочек с умывальниками в шлюзе

16 ´ 2

16 ´ 2

 

25.

Санузел персонала с умывальником

3

3

 

26.

Комната хранения предметов уборки

4

4

 

Досуговые и физкультурно-оздоровительные помещения.

5.64. Рекомендуемый состав и площади досуговых и физкультурно-оздоровительных помещений приведены в таблице 5.5. и приняты общими для обоих типов ОУ.

5.65. Эта группа помещений обеспечивает проведение мероприятий, направленных на:

- проведение массовых досуговых и физкультурно-оздоровительных мероприятий;

- физическое развитие, предоставление позитивной возможности дать выход своей энергии;

- культурное и эстетическое развитие.

5.66. Актовый зал рекомендуется проектировать в ОУ-1 на 120 % от вместимости учреждения (в расчете на персонал, родителей и гостей), в ОУ-2 - на 100 % от вместимости.

5.67. При актовом зале предусматривается фойе, которое рекомендуется использовать как зал для танцев, игр и музей детских поделок.

5.68. Спортивный зал рассчитывается на проведение занятий в группе из 18 чел. При зале проектируется 2 раздевальные, на 9 чел. каждая, а также кладовая спортинвентаря, смежная с ним.

5.69. Зал гимнастических и тренажерных занятий рассчитан на проведение занятий в группе из 9 чел. При необходимости он может быть использован для проведения занятий различными видами борьбы и тяжелой атлетикой. В ОУ-1 группы занимающихся формируются по классам, т.е. в эту группу включены как мальчики, так и девочки. В связи с этим при зале гимнастических занятий рекомендуется проектировать 2 раздевальные, на 5 чел. каждая.

В ОУ-2 группы занимающихся, как правило, соответствуют по составу группам проживания. В этом случае при гимнастическом зале рекомендуется проектировать 1 раздевальную на 9 воспитанников.

5.70. В ОУ рекомендуется дополнительно предусматривать помещения для хранения лыж и велосипедов, площади которых определяются заданием на проектирование.

Таблица 5.5.

Рекомендуемые состав и площади досуговых и физкультурно-оздоровительных помещений

№№ п.п.

Наименование помещений

Площадь помещений, м2

Примечания

1

2

3

4

А. Досуговые помещения

1.

Актовый зал

180

Для ОУ-1

150

Для ОУ-2

Используется также для занятий театральной студии

2.

Эстрада при зале

36 - 54

Глубина эстрады - 3,5 - 4 м

3.

Кинопроекционная с перемоточной и радиоузлом

26

 

4.

Фойе

162

Для ОУ-1

135

Для ОУ-2

5.

Санитарный узел для мальчиков и для девочек с умывальниками в шлюзе при фойе

16 ´ 2

 

6.

Помещение для артистов

15 ´ 2

 

7.

Фильмовидеотека

8

 

8.

Помещение пожарного поста

10

 

9.

Кладовая мебели и реквизита

20

 

10.

Кладовая аппаратуры

10

 

Б. Физкультурно-оздоровительные помещения

1.

Спортивный зал 12 ´ 24 м

288

 

2.

Кладовая спортинвентаря

16

Смежно со спортивным залом

3.

Раздевальные для воспитанников с душевыми и санитарными узлами на 9 чел. при спортивном зале

18 ´ 2

По 2 душевые, 1 унитазу и умывальнику на каждую раздевальную

4.

Зал гимнастических и тренажерных занятий

72

 

5.

Раздевальные при зале гимнастических и тренажерных занятий:

 

 

- раздевальные на 5 чел.

8 ´ 2

Для ОУ-1

- раздевальная на 9 чел.

18

Для ОУ-2

6,

Кладовая спортинвентаря

10

 

7.

Комната инструкторов-методистов с санузлом в шлюзе

10 + 3

С состав санузла входят: унитаз, умывальник, душ

8.

Санузлы для мальчиков и для девочек с умывальниками в шлюзе

16 ´ 2

 

9.

Комната гигиены для девочек

2

Разместить при санитарном узле для девочек

10.

Санитарный узел с умывальником для персонала

3

 

11.

Комната хранения предметов уборки

4

 

Помещения питания.

5.71. Питание для воспитанников ОУ организуется в одну смену в общей столовой.

5.72. Площадь обеденного зала принимается из расчета 1,1 м2 на 1 посадочное место; при зале предусматривается умывальная из расчета 3 м2 (1 умывальник) на каждые 20 мест.

5.73. В производственные помещения кухни должен предусматриваться отдельный вход.

5.74. Кроме питания воспитанников, помещения кухни должны обеспечивать питание персонала.

5.75. Состав, площади и оборудование производственных помещений кухни в ОУ следует определять заданием на проектирование, исходя из возможностей работы на полуфабрикатах или на сырье, учитывая наличие базового предприятия школьных столовых в муниципальном районе. Работа технологического оборудования кухни предусматривается на электричестве.

5.76. Для питания персонала предусматривается обеденный зал самообслуживания (или буфет) из расчета 1,1 м2 на 1 посадочное место. Его следует располагать в составе помещений кухни или вблизи нее. Количество мест определяется заданием на проектирование, исходя из количества питающихся в учреждении, продолжительности обеденного времени и количества смен. При зале предусматривается подсобное помещение площадью 8 м2, предназначенное для раздачи пищи, хранения и мойки посуды.

5.77. Для обслуживания изолятора в ОУ-2 при помещениях кухни следует предусматривать раздаточную, имеющую удобную связь с изолятором.

5.78. Учитывая специфику контингента воспитанников ОУ-2 (как правило, наличие хронических заболеваний в запущенной форме) в состав производственных помещений кухни следует включать кабинет диетсестры.

5.79. Рекомендуемые состав и площади производственных помещений кухни приведены в табл. 5.7.

Таблица 5.7.

Рекомендуемые состав и площади производственных помещений кухни.

№№ п.п.

Наименование

На полуфабрикатах

На сырье

Примечание

Площадь помещений, м2

Площадь помещений м2

1

2

3

4

5

1.

Горячий цех

} 35

70

 

2.

Холодный цех

3.

Рыбный цех

} 9

24

 

4.

Мясной цех

5.

Хлеборезка, хранение хлеба

4

8

 

6.

Цex мучных изделий

-

14

 

7.

Раздаточная

-

18

 

8.

Сервизная

-

8

 

9.

Моечная кухонной посуды

10

10

 

10.

Моечная столовой посуды

10

18

 

11.

Моечная котлов

-

10

 

12.

Охлаждаемая камера для хранения:

 

 

 

- молочных продуктов

6

8

 

- рыбы, мяса

6

8

 

- яиц

-

6

 

13.

Кладовая сухих продуктов

6

8

 

14.

Кладовая овощей

8

12

 

15.

Кладовая суточного запаса

-

8

 

16.

Помещение первичной обработки овощей

-

8

 

17.

Загрузочная, кладовая тары

8

14

 

18.

Камера утилизации отходов с техническим сливом

-

4

 

19.

Комната заведующего производством

8

8

 

20.

Кабинет диетсестры

-

8

 

21.

Бельевая, гардеробная персонала, душевая, уборная

14

18

 

22.

Комната хранения предметов уборки

4

4

 

Помещения проживания.

5.80. Помещения проживания предусматриваются в ОУ-2. Рекомендуемые состав и площади помещений проживания приведены в таблице 5.8.

5.81. Помещения проживания следует размещать в соответствии с требования п.п. 5.3. и 5.4. настоящих Рекомендаций.

5.82. Помещения проживания следует проектировать по типу школ-интернатов (МГСН 4.15-98).

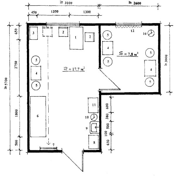
5.83. Помещения проживания в ОУ-2 рекомендуется проектировать в виде изолированных жилых секций, объединяющих 3 - 4 жилые группы на 9 чел. каждая, организованные по половозрастному принципу. Секции для мальчиков и девочек рекомендуется размещать поэтажно с возможностью полной изоляции. Функционально-планировочная схема помещений жилой секции представлена на Рис. 3.

5.84. В состав жилой группы входят:

- три спальные комнаты на 1 место;

- две спальные комнаты на 3 места;

- комната приготовления уроков;

- гостиная;

- санитарный узел;

- душевая;

- комната дежурного воспитателя с санитарным узлом в шлюзе;

- гардеробная для хранения одежды и личных вещей воспитанников.

5.85. В состав жилой секции, помимо жилых групп, следует включать:

- бытовую комнату;

- комнату дежурной медицинской сестры;

- инвентарную;

- кладовую чистого белья;

- кладовую грязного белья;

- комнату хранения уборочного инвентаря.

5.86. Между спальными помещениями и коридором следует предусматривать глухие (не открывающиеся) окна для организации наблюдения за воспитанниками в ночное время.

5.87. В состав оборудования спальных комнат входят кровати и стулья в соответствии с количеством мест в комнате. Гардеробная оборудуется шкафами-купе с секциями по количеству воспитанников в жилой группе.


Рис. 3. Функционально-планировочная схема жилой секции на 4 жилые группы по 9 воспитанников

I - Помещения жилой группы: 1. Спальная комната на 3 места. 2. Спальная комната на 1 место. 3. Санитарный узел. 4. Душевая. 5. Комната приготовления уроков. 6. Гостиная. 7. Комната дежурного воспитателя. 8. Гардеробная.
II - Помещения на жилую секцию: 9. Комната хранения уборочного инвентаря. 10. Кладовая чистого белья. 11. Кладовая грязного белья. 12. Бытовая. 13. Инвентарная. 14. Комната дежурной медсестры.

Условные обозначения:  - Коммуникационное пространство.


5.88. В жилых группах санитарные узлы проектируются обособлено от жилых комнат с целью осуществления необходимого надзора. Рекомендуемый состав оборудования санитарного узла: унитаз, умывальник. Рекомендуемый состав душевой: душ (I душевая сетка), вешалка, умывальник, скамья для раздевания, умывальник. В секции для мальчиков в состав оборудования санитарного узла следует включать писсуар. В секции для девочек - бидэ.

5.89. Оборудование гостинной должно быть приспособлено к проведению групповых психолого-коррекционных занятий.

Таблица 5.8.

Рекомендуемые состав и площади помещений проживания.

№№ п.п.

Наименование помещений

Площадь помещений, м2

Примечания

1

2

3

4

Жилая группа

1.

Спальная на 3 места (2 шт.)

14 ´ 2 = 28

 

2.

Спальная на 1 место (3 шт.)

6 ´ 3 = 18

 

3.

Комната приготовления уроков

22

Приложение, Рис. 19.

4.

Гостиная

32

Приложение, Рис. 20.

5.

Санитарный узел для мальчиков

2,5

В секции для мальчиков

6.

Санитарный узел для девочек

3

В секции для девочек

7.

Душевая

4

 

8.

Комната дежурного воспитателя с санитарным узлом

9 + 3

В состав санузла входят: унитаз, умывальник, душ

9.

Гардеробная

6

 

Жилая секция

1.

Комната дежурной медсестры

9

 

2.

Комната хранения грязного белья

3

 

3.

Комната хранения чистого белья

4

 

4.

Бытовая комната

10

 

5.

Инвентарная

8

 

6.

Комната уборочного инвентаря

4

 

Помещения изолятора.

5.90. Помещения изолятора предусматриваются в ОУ-2. Рекомендуемый состав и площади помещений изолятора приведены в таблице 5.9.

5.91. Вместимость изолятора следует предусматривать из расчета 8 - 10 % от числа воспитанников.

5.92. Связь помещений изолятора с остальными помещениями ОУ осуществляется через тамбур-шлюз, в котором следует размещать умывальник и вешалку для смены халатов.

5.93. В состав помещений изолятора следует включать изоляционные палаты двух типов: на 1 и 3 чел. Количество палат того или иного типа определяется в каждом конкретном случае заданием на проектирование.

5.94. Между изоляционными палатами и коридором следует предусматривать глухие (не открывающиеся) окна для наблюдения за детьми.

5.95. Для организации питания детей, находящихся в изоляторе, в состав его помещений следует включать буфетную с моечной посуды. Оборудование буфетной должно быть рассчитано на электроподогрев готовой пищи.

5.96. Вход в санитарные узлы в изоляторе следует проектировать из коридора с проемом без дверного полотна для возможного наблюдения за воспитанниками.

Таблица 5.9.

Рекомендуемый состав и площади помещений изолятора.

№№ п.п.

Наименование помещений

Площадь помещений, м2

Примечания

1

2

3

4

1.

Изоляционная палата на 1 место

6

 

2.

Изоляционная палата на 3 места

15

 

3.

Санитарный узел для воспитанников

4

Состав оборудования: унитаз, писсуар, умывальник

4.

Душевая для воспитанников

5

Состав оборудования: умывальник, ванна

5.

Комната гигиены для девочек

2

Состав оборудования: умывальник, биде

6.

Процедурная

8

 

7.

Кабинет врача, медицинской сестры

16

 

8.

Комната персонала с раздевальной и санузлом

10 + 4 + 3

Состав оборудования санузла: душ, унитаз, умывальник

9.

Буфетная с моечной посуды

12

 

10.

Кладовая со шкафами для чистого и грязного белья

6

 

11.

Комната хранения уборочного инвентаря

4

 

Административно-бытовые помещения.

5.97. Рекомендуемый состав и площади административно-бытовых помещений приведены в таблице 5.10.

5.98. Помещения кладовой чистого белья с местом для его починки и кладовой грязного белья предусматриваются только в ОУ-2. Рекомендуется располагать их рядом с прачечной.

Таблица 5.10.

Рекомендуемые состав и площади помещений административно-бытового обслуживания.

№№ п.п.

Наименование помещений.

Площадь помещений, м2

Примечания.

1

2

3

4

1.

Кабинет директора

36

 

2.

Приемная

18

Смежно с кабинетом директора

3.

Канцелярия

12

 

4.

Кабинет заместителя директора по хозяйственной части

16

 

5.

Кабинет заместителя директора по воспитательной работе

16

 

6.

Кабинет заместителя директора по социальной работе

16

 

7.

Кабинет заместителя директора по начальной допрофессиональной подготовки и дополнительному образованию

16

 

8.

Помещение дежурного персонала технического обслуживания

14

 

9.

Бухгалтерия с кассой

18 + 4

 

10.

Комната сестры-хозяйки

12

 

11.

Комната психологической разгрузки персонала

18

 

12.

Комната отдыха персонала

36

 

13.

Компьютерный центр с архивом

24 + 10

 

14.

Помещение пожарного поста

12

 

15.

Кладовая чистого белья

20

В ОУ-2

16.

Кладовая грязного белья

18

- « -

17.

Прачечная

22

- « -

18.

Инвентарные

40

 

19.

Санитарные узлы для мужчин и женщин с умывальниками в шлюзе

3 ´ 2

 

20.

Кабины личной гигиены для женщин

2

Разместить при санитарном узле

21.

Комната хранения уборочного инвентаря

4

 

22.

Помещение КПП

12

 

ПРИЛОЖЕНИЯ

ЭКСПЛИКАЦИЯ ОБОРУДОВАНИЯ

1. Стол ученический

2. Стул

3. Стол учителя

4. Классная доска

5. Умывальник

6. Вешалка для полотенца

Рис. П.1. Класс на 9 учащихся.

ЭКСПЛИКАЦИЯ ОБОРУДОВАНИЯ

1. Стол ученический

2. Стол ученический с компьютером

3. Стул

4. Компьютерный стол специалиста с компьютером

5. Стол специалиста

7. Вешалка для полотенца

8. Умывальник

Рис. П.2. Компьютерный класс начальной школы.


ЭКСПЛИКАЦИЯ ОБОРУДОВАНИЯ

1. Сухой бассейн

2. Горка

3. Скамья

4. Стол специалиста

5. Стул

6. Ковер

7. Мяч массажный

8. Мягкий модуль

9. Мяч

10. Мягкие игрушки

11. Умывальник

12. Вешалка для полотенца

Рис. П.3. Игровая начальной школы на 18 воспитанников.

ЭКСПЛИКАЦИЯ ОБОРУДОВАНИЯ

I. КАБИНЕТ

1. Стол ученический-лабораторный

2. Стул ученический

3. Стол демонстрационный

4. Стул учительский

5. Мойка (умывальник)

6. Бак для мусора

7. Классная доска

8. Комбинированный шкаф

II. III. ЛАБОРАНТСКИЕ

9. Шкаф-стеллаж

10. Вытяжной шкаф

Рис. П.4. Кабинет для занятий физикой и химией (I) с лаборантскими (II) и (III)


ЭКСПЛИКАЦИЯ ОБОРУДОВАНИЯ

1. Стол

2. Стул

3. Стол специалиста

4. Компьютерный стол специалиста

5. Классная доска

6. Компьютер

7. Вешалка для полотенца

8. Умывальник

9. Ученический компьютерный стол

10. Комбинированный шкаф

Рис. П.5. Компьютерный класс основной и старшей школы.

ЭКСПЛИКАЦИЯ ОБОРУДОВАНИЯ

1. Стол-шкаф кухонный

2. Холодильник

3. Мойка

4. Плита

5. Сервировочная стойка с разделочным столом

6. Комбинированная стенка

7. Табурет

8. Обеденный стол

9. Стул

Рис. П.6. Мастерская кулинарного творчества.


ЭКСПЛИКАЦИЯ ОБОРУДОВАНИЯ

1. Рабочий стол

2. Стол для индивидуальной работы

3. Табурет

4. Печь для обжига

5. Гончарный круг

6. Стол специалиста

7. Стул

8. Умывальник с вешалкой для полотенца

Рис. П.7. Кабинет лепки и керамики для воспитанников начальной школы с кладовой.


ЭКСПЛИКАЦИЯ ОБОРУДОВАНИЯ

I. МАСТЕРСКАЯ

1. Стол ученический для индивидуальной работы

2. Стул

3. Рабочий стол

4. Рабочий стол со швейной машиной

5. Табурет регулируемый

6. Мольберт

7. Стол мастера

8. Стул мастера

9. Умывальник

10. Вешалка для полотенца

11. Шкаф для экспозиций

II. КЛАДОВАЯ

12. Комбинированный шкаф

Рис. П.8. Театрально-художественная мастерская с кладовой

ЭКСПЛИКАЦИЯ ОБОРУДОВАНИЯ

I. КОМНАТА

1. Стул

2. Пюпитр

3. Помост для преподавателя

4. Пианино

5. Табурет винтовой

6. Стол преподавателя

7. Классная доска

8. Умывальник

9. Вешалка для полотенца

II. КЛАДОВАЯ

10. Комбинированный шкаф

Рис. П.9. Комната музыкальных занятий с кладовой инструментов.

ЭКСПЛИКАЦИЯ ОБОРУДОВАНИЯ

I. ИЗОСТУДИЯ

1. Мольберт

2. Помост для моделей

3. Стенд для рисунков и картин

4. Стол преподавателя

5. Стул преподавателя

6. Умывальник

7. Вешалка для полотенца

II. КЛАДОВАЯ

8. Комбинированный шкаф

Рис. П.10. Изостудия с кладовой

ЭКСПЛИКАЦИЯ ОБОРУДОВАНИЯ

I. КАБИНЕТ ГИНЕКОЛОГА-ВЕНЕРОЛОГА

1. Кресло гинекологическое

2. Винтовой табурет

3. Передвижной светильник

4. Стол врача

5. Стул

6. Столик инструментальный

7. Бачок для мусора

8. Умывальник

9. Шкаф медицинский

10. Ширма

Рис. П.11. Кабинет гинеколога-венеролога.

II. КАБИНЕТ СТОМАТОЛОГА

1. Кресло стоматологическое

2. Столик инструментальный

3. Установка стоматологическая универсальная

4. Винтовой табурет

5. Плевательница

6. Светильник

7. Шкаф медицинский

8. Умывальник

9. Бачок для мусора

10. Стол врача

11. Стул

Рис. П.12. Кабинет стоматолога.

ЭКСПЛИКАЦИЯ ОБОРУДОВАНИЯ

1. Стол врача

2. Стул

3. Столик с набором линз для проверки остроты зрения

4. Офтальмологические установки

5. Табурет винтовой

6. Кушетка смотровая

7. Таблица

8. Шкаф медицинский

9. Умывальник

10. Бачок для мусора

11. Столик инструментальный

12. Светозащитная штора

Рис. П.13. Кабинет офтальмолога с темной комнатой.

ЭКСПЛИКАЦИЯ ОБОРУДОВАНИЯ

1. Стационарная ингаляционная установка

2. Винтовой табурет

3. Стол процедурной медсестры

4. Стул

5. Умывальник

6. Бачок для мусора

7. Вешалка для полотенца

Рис. П.14. Ингаляторий на 3 места

ЭКСПЛИКАЦИЯ ОБОРУДОВАНИЯ

1. Кушетка

2. Столик с аппаратурой

3. Столик с аппаратурой для приема процедур сидя

4. Стул

5. Стол врача

6. Шкаф медицинский

7. Умывальник

8. Вешалка для полотенца

Рис. П.15. Кабинет физиотерапии.


ЭКСПЛИКАЦИЯ ОБОРУДОВАНИЯ

I. ЗАЛ

1. Стол методиста

2. Стул методиста

3. Шведская стенка

4. Скамья

5. Зеркало

6. Маты для занятий

II. КЛАДОВАЯ

7. Комбинированный шкаф

8. Манеж для складирования мячей

III. РАЗДЕВАЛКА

9. Скамья для переодевания

10. Шкаф методиста

11. Крючки для одежды

12. Умывальник

13. Вешалка для полотенца

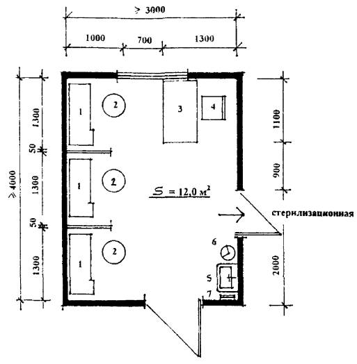
Рис. П.16. Кабинет групповых занятий ЛФК с кладовой и раздевалкой


ЭКСПЛИКАЦИЯ ОБОРУДОВАНИЯ

1. Стол

2. Стул

3. Стол специалиста

4. Кресло

5. Шкаф-стеллаж

6. Умывальник

7. Вешалка для полотенца

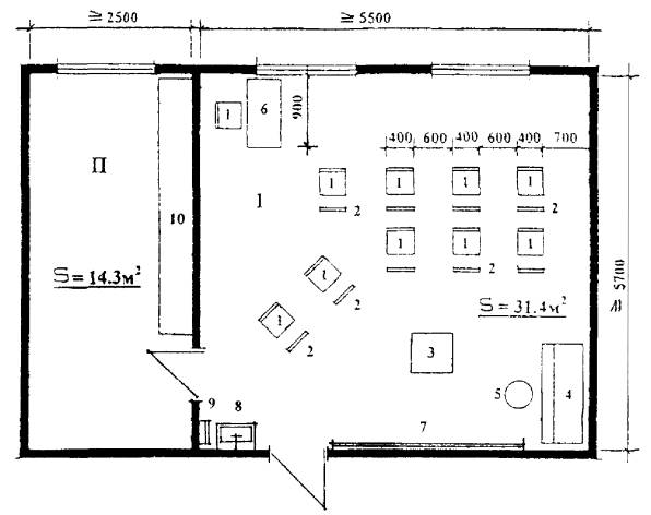
Рис. П.17. Кабинет групповой психотерапии на 9 человек.

ЭКСПЛИКАЦИЯ ОБОРУДОВАНИЯ

1. Рабочий стол

2. Стул

3. Стол специалиста

4. Компьютерный стол специалиста с компьютером

5. Стеллаж

6. Ученическая доска

7. Умывальник

8. Вешалка для полотенца

Рис. П.18. Зал ситуационных игр.

ЭКСПЛИКАЦИЯ ОБОРУДОВАНИЯ

1. Стол ученический

2. Стул

3. Стол воспитателя

Рис. П.19. Комната приготовления уроков.

ЭКСПЛИКАЦИЯ ОБОРУДОВАНИЯ

1. Игровой стол

2. Стул

3. Комбинированный шкаф

4. Мягкая мебель

5. Журнальный стол

6. Телевизор

Рис. П.20. Примеры расстановки оборудования гостиной.




Rambler's Top100 Яндекс цитирования
  Copyright © 2008-2026, www.docload.ru