Бесплатная библиотека стандартов и нормативов www.docload.ru

Все документы, размещенные на этом сайте, не являются их официальным изданием и предназначены исключительно для ознакомительных целей.
Электронные копии этих документов могут распространяться без всяких ограничений. Вы можете размещать информацию с этого сайта на любом другом сайте.
Это некоммерческий сайт и здесь не продаются документы. Вы можете скачать их абсолютно бесплатно!
Содержимое сайта не нарушает чьих-либо авторских прав! Человек имеет право на информацию!

 

МИНИСТЕРСТВО ЭНЕРГЕТИКИ РОССИЙСКОЙ ФЕДЕРАЦИИ

СОГЛАСОВАНО

с Госгортехнадзором РФ
письмо № 03-35/271
от 04.06.2001 г.

УТВЕРЖДЕНО

Заместителем Министра энергетики
Российской Федерации
Г.С. Устюжаниным

« 29 » декабря 2001 г.

РУКОВОДЯЩИЙ ДОКУМЕНТ

ИНСТРУКЦИЯ
ПО ЗАЩИТЕ ГОРОДСКИХ ПОДЗЕМНЫХ
ТРУБОПРОВОДОВ ОТ КОРРОЗИИ

РД 153-39.4-091-01

Москва

4-й филиал Воениздата

2002

ПРЕДИСЛОВИЕ

1 РАЗРАБОТАН ГУП «Академия коммунального хозяйства им. К.Д. Памфилова» (АКХ).

ИСПОЛНИТЕЛИ:

Р.И. Горбачева, Е.Г. Кузнецова (руководитель разработки), В.М, Левин, Л.В. Ремезкова, М.А. Сурис, Л.И. Фрейман (АКХ).

ВНЕСЕН Департаментом газовой промышленности и газификации Минэнерго России и ОАО «Росгазификация».

2 СОГЛАСОВАН с Госгортехнадзором России (письмо № 03-35/271 от 04.06.2001 г.), ОАО «Росгазификация» (письмо № 17-334 от 13.04.2001 г.).

3 ПРИНЯТ И ВВЕДЕН В ДЕЙСТВИЕ приказом Минэнерго России № 375 от 29 декабря 2001 г.

4 ВЗАМЕН «Инструкции по защите городских подземных трубопроводов от электрохимической коррозии», утвержденной ВО «Росстройгазификация» при Совете Министров РСФСР 06.12.1989 г.

Срок введения - с 1 февраля 2002 г.

СОДЕРЖАНИЕ

1 Общие положения. 3

1.1 Область применения. 3

1.2 Нормативные и другие ссылки. 3

1.3 Термины и определения. 3

1.4 Принятые сокращения. 3

2 Основные положения по защите от коррозии городских подземных трубопроводов. 3

2.1 Порядок и организация проведения защитных мероприятий. 3

2.2 Критерии опасности коррозии подземных стальных трубопроводов. Выбор способов защиты от коррозии. 5

2.3 Измерения на подземных стальных трубопроводах. 6

3 Изоляция трубопроводов и резервуаров. 7

3.1 Общие требования. 7

3.2 Покрытия из экструдированного полиэтилена. 9

3.3 Покрытия из экструдированного полипропилена. 10

3.4 Покрытия из полимерных липких лент. 11

3.5 Комбинированное ленточно-полиэтиленовое покрытие. 12

3.6 Покрытия на основе битумных мастик. 13

Материалы для мастичных покрытий (грунтовки, мастики, армирующие и оберточные материалы) 14

Технология изготовления мастик. 14

Технология нанесения покрытий на основе битумных мастик. 15

3.7 Комбинированные мастично-ленточные покрытия. 16

3.8 Технология производства и приемки работ по изоляции резервуаров СУГ. 17

Требования к применяемым материалам и структуре покрытия. 17

Технология проведения изоляционных работ. 18

Приемка работ и контроль качества покрытия. 19

3.9 Изоляция фасонных элементов трубопроводов в базовых условиях. 19

3.10 Изоляционные работы на местах строительства подземных сооружений. 20

Технология изоляции стыков трубопроводов с покрытием из экструдированного полиэтилена термоусаживающимися лентами. 20

Изоляция стыков и ремонт мест повреждений полимерных покрытий трубопроводов с применением полиэтиленовых липких лент и полимерно-битумных лент. 22

Изоляция стыков и ремонт мест повреждений покрытия трубопроводов, построенных из труб с мастичным битумным покрытием.. 24

Технология изоляционных работ. 25

Технология ремонта поврежденных участков мастичного покрытия в трассовых условиях наплавляемым рулонным материалом Изопласт-П.. 26

3.11 Складирование и транспортировка изолированных труб и резервуаров СУГ. 27

3.12 Специальные требования. 28

3.13 Приборы контроля качества покрытий трубопроводов. 30

4 Электрохимическая защита трубопроводов. 31

4.1 Организация работ по электрохимической защите. 31

4.2 Определение опасности коррозии. 31

Определение коррозионной агрессивности грунтов. 31

Определение наличия блуждающих постоянных токов в земле. 34

Определение опасного влияния блуждающего постоянного тока. 35

Определение опасного влияния переменного тока. 36

4.3 Проектирование электрохимической защиты.. 37

Общие положения. 37

Проектирование ЭХЗ вновь прокладываемых трубопроводов. 42

Проектирование ЭХЗ действующих трубопроводов. 43

4.4 Производство строительно-монтажных работ по электрохимической защите. 45

4.5 Пуско-наладочные работы.. 49

4.6 Порядок приемки и ввода в эксплуатацию установок электрохимической защиты.. 50

4.7 Эксплуатация установок электрохимической защиты.. 51

4.8 Эксплуатационный контроль состояния изоляции и опасности коррозии трубопроводов. 55

Приложения. 56

Приложение А. Перечень нормативных документов, на которые имеются ссылки в настоящей инструкции. 56

Приложение Б. Библиография. 58

Приложение В. Термины и определения. 59

Приложение Г. Принятые сокращения. 60

Приложение Д. Определение переходного электрического сопротивления покрытий газопроводов. 60

Приложение Е. Протокол определения удельного электрического сопротивления грунта в трассовых условиях. 61

Приложение Ж. Протокол определения удельного электрического сопротивления грунта в лабораторных условиях. 62

Приложение З. Протокол определения средней плотности катодного тока. 62

Приложение И. Сводная ведомость результатов определения коррозионной агрессивности грунтов по отношению к стали. 63

Приложение К. Протокол измерений потенциала трубопровода при определении опасности постоянных блуждающих токов. 63

Приложение Л. Протокол измерений смещения потенциала трубопровода при определении опасного влияния переменного тока. 64

Приложение М. Протокол измерений плотности переменного тока при определении опасного влияния переменного тока. 64

Приложение Н. Стационарные медносульфатные электроды длительного действия. 65

Приложение О. Индикаторы общей и локальной коррозии. 66

Приложение П. Методика расчета совместной катодной защиты проектируемых газо- и водопроводов и катодной защиты проектируемой сети газопроводов. 70

Приложение Р. Информация о пакете программ АРМ-ЭХЗ-6П «Проектирование электрохимической защиты трубопроводной сети»2) 72

Приложение С. Информация о компьютерной программе CAG для расчета анодных заземлений систем катодной защиты3) 77

Приложение Т. Информация о компьютерной программе MLG-2 для расчета вертикальных анодных заземлителей в многослойных грунтах4) 80

Приложение У. Методика расчета защиты гальваническими анодами (протекторами) 82

Приложение Ф. Расчет дренажной защиты.. 86

Приложение Х. Формы приемо-сдаточной документации. 86

Приложение Ц. Протокол измерений потенциалов трубопровода при контроле эффективности электрохимической защиты.. 92

Приложение Ч. Протокол определения исправности электроизолирующих соединений (ЭИС) 93

Приложение Ш. Акт коррозионного обследования подземного сооружения. 93

РД 153-39.4-091-01

РУКОВОДЯЩИЙ ДОКУМЕНТ

ИНСТРУКЦИЯ
ПО ЗАЩИТЕ ГОРОДСКИХ
ПОДЗЕМНЫХ ТРУБОПРОВОДОВ
ОТ КОРРОЗИИ

Дата введения 01.02.2002 г.

1 ОБЩИЕ ПОЛОЖЕНИЯ

1.1 ОБЛАСТЬ ПРИМЕНЕНИЯ

Настоящий Руководящий документ (РД) распространяется на защиту от коррозии при проектировании, строительстве, реконструкции, эксплуатации и ремонте стальных трубопроводов (кроме газопроводов с давлением газа более 1,2 МПа и теплопроводов), прокладываемых в пределах территории городов и населенных пунктов, промышленных предприятий, а также межпоселковых трубопроводов.

РД устанавливает нормы и требования к:

- проектированию, применению, порядку и организации проведения противокоррозионных мероприятий, относящихся к:

- защитным изоляционным покрытиям на подземных трубопроводах и резервуарах;

- электрохимической защите подземных трубопроводов и резервуаров;

- определению коррозионной агрессивности грунтов;

- контролю качества изоляционных покрытий;

- измерениям на подземных стальных трубопроводах;

- обеспечению промышленной, экологической безопасности и охране труда.

Настоящий РД обязывает организации, осуществляющие проектирование, строительство и эксплуатацию городских подземных трубопроводов и резервуаров, организовать разработку новых или корректировку действующих технических условий, регламентов, инструкций и другой документации в части защиты сооружений от коррозии.

С выходом в свет настоящего РД действие «Инструкции по защите городских подземных трубопроводов от электрохимической коррозии», утвержденной ВО «Росстройгазификация» при СМ РСФСР в декабре 1989 г., прекращается.

1.2 НОРМАТИВНЫЕ И ДРУГИЕ ССЫЛКИ

В настоящем РД использованы ссылки на нормативные документы, приведенные в Приложении А. Ссылки на другие научно-технические документы и материалы приведены в Приложении Б (Библиография).

1.3 ТЕРМИНЫ И ОПРЕДЕЛЕНИЯ

В настоящем РД применены термины и определения, приведенные в Приложении В.

1.4 ПРИНЯТЫЕ СОКРАЩЕНИЯ

В настоящем РД используются сокращения, приведенные в Приложении Г.

2 ОСНОВНЫЕ ПОЛОЖЕНИЯ ПО ЗАЩИТЕ ОТ КОРРОЗИИ ГОРОДСКИХ ПОДЗЕМНЫХ ТРУБОПРОВОДОВ

2.1 ПОРЯДОК И ОРГАНИЗАЦИЯ ПРОВЕДЕНИЯ ЗАЩИТНЫХ МЕРОПРИЯТИЙ

2.1.1 Все организации, выполняющие работы по проектированию, строительству, реконструкции, эксплуатации и ремонту стальных трубопроводов, на которые распространяется действие настоящей Инструкции, должны иметь соответствующие лицензии.

2.1.2 Все подземные стальные трубопроводы, укладываемые непосредственно в грунт, должны быть защищены в соответствии с ГОСТ 9.602-89*.

2.1.3 В грунтах низкой и средней коррозионной агрессивности при отсутствии блуждающих токов стальные трубопроводы должны быть защищены изоляционными покрытиями «весьма усиленного типа» (допускается применение покрытий из экструдированного полиэтилена «усиленного типа» с обязательным применением электрохимической защиты (ЭХЗ)); в грунтах высокой коррозионной агрессивности или при наличии опасного влияния блуждающих токов - защитными покрытиями «весьма усиленного типа» с обязательным применением средств ЭХЗ.

2.1.4 Мероприятия по защите трубопроводов от коррозии должны быть предусмотрены проектом защиты, который разрабатывается одновременно с проектом строительства или реконструкции трубопровода.

2.1.5 Проект защиты разрабатывается на основании данных о коррозионной агрессивности грунтов и о наличии блуждающих токов. Указанные данные могут быть получены в результате изысканий, выполненных организацией, разрабатывающей проект, либо специализированной организацией, привлекаемой на субподрядных началах. Данные о коррозионной агрессивности грунтов могут быть предоставлены заказчиком. Проектирование защиты должно осуществляться на основе технических условий, выдаваемых предприятием по защите от коррозии или организациями, осуществляющими эксплуатацию трубопроводов. Для действующих трубопроводов основанием для проектирования защиты может являться также наличие коррозионных повреждений на трубопроводах.

2.1.6 Все виды защиты от коррозии, предусмотренные проектом, должны быть введены в действие до сдачи подземных трубопроводов в эксплуатацию. Для подземных стальных трубопроводов в зонах опасного влияния блуждающих токов ЭХЗ должна быть введена в действие не позднее 1 месяца, а в остальных случаях не позднее 6 месяцев после укладки трубопровода в грунт.

2.1.7 Основные работы по контролю за коррозионным состоянием трубопроводов осуществляют организации, на которые возложена эксплуатация соответствующих трубопроводов.

В составе этих организаций создаются специализированные подразделения (службы), основными функциями которых являются:

- оценка опасности коррозии подземных стальных трубопроводов, включая электрические измерения в полевых и лабораторных условиях для определения коррозионной агрессивности грунтов по трассе трубопроводов и электрические измерения для определения характера влияния блуждающих токов (постоянного и переменного) на трубопроводы;

- обследование коррозионного состояния трубопроводов: при их техническом освидетельствовании, при плановых и аварийных раскопках трубопровода (состояние изоляции, наличие коррозионных повреждений на трубопроводе - как сквозных, так и несквозных каверн и язв);

- регистрация и анализ причин коррозионных отказов трубопроводов;

- выдача технических условий на проектирование ЭХЗ действующих, реконструируемых и вновь сооружаемых трубопроводов для специализированной проектной организации, имеющей лицензию, или самостоятельная разработка проекта ЭХЗ при наличии лицензии на проведение соответствующих работ;

- согласование проектов ЭХЗ, разработанных проектной организацией;

- осуществление технического надзора за строительно-монтажными работами по защите от наружной коррозии;

- участие в пуско-наладке установок ЭХЗ;

- приемка в эксплуатацию защитных покрытий и установок ЭХЗ;

- эксплуатационное обслуживание установок ЭХЗ с проведением регламентных работ в сроки и объемах, устанавливаемых производственными нормативно-техническими документами, разработанными на основании данной Инструкции;

- ремонт защитных покрытий и установок ЭХЗ силами специализированных подразделений предприятия, эксплуатирующего подземные трубопроводы, или сторонних специализированных организаций, имеющих соответствующие лицензии;

- ведение и хранение технической документации по защите трубопроводов от коррозии (при наличии технической возможности компьютерная подготовка документов и их хранение на электронных носителях).

2.1.8 Подразделение по защите от коррозии должно иметь постоянный штат сотрудников и техническое оснащение специальными контрольно-измерительными приборами и аппаратурой, необходимыми для электрических измерений в полевых и лабораторных условиях в соответствии с данной Инструкцией.

2.1.9 Мероприятия по ограничению утечки токов в землю осуществляют организации и предприятия, в ведении которых находятся действующие, реконструируемые и строящиеся сооружения, являющиеся источниками блуждающих токов. В частности, требования к сооружениям, конструкциям и устройствам железных дорог по ограничению утечки тяговых токов содержится в «Инструкции по защите железнодорожных подземных сооружений от коррозии блуждающими токами» (МПС РФ, 1999 г.).

2.1.10 При наличии договоренности между организациями-владельцами различных трубопроводов возможно устройство совместной защиты, объединяющей в единую систему ЭХЗ трубопроводов различного назначения. Если такая договоренность отсутствует или совместная защита нецелесообразна, то при проектировании и наладке ЭХЗ необходимо предусмотреть устранение ее вредного влияния на смежные сооружения.

Вредным влиянием ЭХЗ на соседние металлические сооружения считается:

- уменьшение по абсолютной величине потенциала по отношению к минимальному или увеличение по абсолютной величине потенциала по отношению к максимальному защитному потенциалу на соседних подземных металлических сооружениях, защищенных катодной поляризацией;

- появление опасности коррозии на соседних подземных металлических сооружениях, ранее не требовавших защиты от нее;

- смещение в любую сторону от стационарного значения потенциала на кабелях связи, не защищенных катодной поляризацией.

2.1.11 Оборудование и приборы, применяемые при защите подземных трубопроводов, должны быть сертифицированы в установленном порядке.

2.2 КРИТЕРИИ ОПАСНОСТИ КОРРОЗИИ ПОДЗЕМНЫХ СТАЛЬНЫХ ТРУБОПРОВОДОВ. ВЫБОР СПОСОБОВ ЗАЩИТЫ ОТ КОРРОЗИИ

2.2.1 Коррозионная агрессивность грунта по отношению к стали характеризуется тремя показателями:

- удельным электрическим сопротивлением грунта, определяемым в полевых условиях;

- удельным электрическим сопротивлением грунта, определяемым в лабораторных условиях;

- средней плотностью катодного тока (jк), необходимого для смещения потенциала стали в грунте на 100 мВ отрицательнее стационарного потенциала (потенциала коррозии).

Если один из показателей свидетельствует о высокой агрессивности грунта (см. табл. 2.1.1), то грунт считается агрессивным, и определение остальных показателей не требуется.

Таблица 2.1.1

Коррозионная агрессивность грунта по отношению к углеродистой и низколегированной стали

Коррозионная агрессивность грунта

Удельное электрическое сопротивление грунта, Ом×м

Средняя плотность катодного тока, А/м2

Низкая

Свыше 50

Менее 0,05

Средняя

От 20 до 50

От 0,05 до 0,20

Высокая

Менее 20

Свыше 0,20

Примечание:

Если удельное электрическое сопротивление грунта, измеренное в лабораторных условиях, равно или выше 130 Ом×м, оценка коррозионной агрессивности грунта по средней плотности катодного тока не требуется; коррозионная агрессивность грунта принимается низкой.

2.2.2 Опасным влиянием блуждающего постоянного тока на подземные стальные трубопроводы является наличие изменяющегося по знаку и по величине смещения потенциала трубопровода по отношению к его стационарному потенциалу (знакопеременная зона) или наличие только положительного смещения потенциала, как правило, изменяющегося по величине (анодная зона). Для проектируемых трубопроводов опасным считается наличие блуждающих токов в земле.

2.2.3 Опасное воздействие переменного тока на стальные трубопроводы характеризуется смещением среднего потенциала трубопровода в отрицательную сторону не менее, чем на 10 мВ, по отношению к стационарному потенциалу, либо наличием переменного тока плотностью более 1 мА/см2 (10 А/м2) на вспомогательном электроде.

2.2.4 Применение ЭХЗ обязательно:

- при прокладке трубопроводов в грунтах с высокой коррозионной агрессивностью (защита от почвенной коррозии);

- при наличии опасного влияния постоянных блуждающих и переменных токов.

2.2.5 При защите от почвенной коррозии катодная поляризация подземных стальных трубопроводов (кроме трубопроводов, транспортирующих нагретые выше 20 °С жидкие или газообразные среды) должна осуществляться таким образом, чтобы средние значения поляризационных потенциалов металла находились в пределах от -0,85 В до -1,15 В по насыщенному медносульфатному электроду сравнения (м.с.э.).

Примечания:

1. При невозможности измерения поляризационных потенциалов допускается осуществлять катодную поляризацию таким образом, чтобы средние значения суммарного потенциала - разности потенциалов (включающей поляризационную и омическую составляющие) между трубой и электродом сравнения находились в пределах от -0,9 В до -2,5 В для трубопроводов с мастичным и ленточным покрытиями, от - 0,9 В до - 3,5 В для трубопроводов с покрытием из экструдированного полиэтилена.

2. Здесь и далее за исключением оговоренных случаев значения потенциалов приводятся по м.с.э.

2.2.6 Катодная поляризация подземных стальных трубопроводов, по которым транспортируются нагретые выше 20 °С среды, должна осуществляться таким образом, чтобы средние значения поляризационных потенциалов стали находились в пределах от -0,95 В до -1,15 В.

2.2.7 ЭХЗ от коррозии блуждающими постоянными токами подземных стальных трубопроводов должна осуществляться таким образом, чтобы обеспечивалось отсутствие на сооружении анодных и знакопеременных зон.

Примечание:

Допускается суммарная продолжительность положительных смещений потенциала относительно стационарного потенциала за время измерений в пересчете на сутки не более 4 мин/сутки.

2.2.8 При защите подземных стальных трубопроводов в грунтах высокой коррозионной агрессивности при одновременном опасном влиянии блуждающих токов средние значения поляризационных потенциалов или суммарных потенциалов должны находиться в пределах, указанных в пункте 2.2.5. Измеряемые значения потенциалов по абсолютной величине должны быть не менее значения стационарного потенциала.

2.2.9 Защита стальных подземных трубопроводов от коррозии, вызываемой блуждающими токами от электрифицированного на переменном токе транспорта, а также переменными токами, индуцированными от высоковольтных линий электропередач, осуществляется в опасных зонах независимо от коррозионной агрессивности грунтов путем катодной поляризации. Катодная поляризация должна осуществляться таким образом, чтобы средние значения поляризационных потенциалов находились в пределах от -0,90 В до -1,15 В или суммарных потенциалов - от -0,95 В до -2,5 В для трубопроводов с мастичными и ленточными покрытиями и от -0,95 В до -3,5 В для трубопроводов с покрытием экструдированным полиэтиленом.

2.2.10 В тех случаях, когда обеспечение защитных потенциалов по п. 2.2.5 на действующих трубопроводах, длительное время находившихся в эксплуатации в коррозионно-опасных условиях, экономически нецелесообразно, допускается по согласованию с проектной и эксплуатационной организациями и при необходимости с органом Госгортехнадзора применение «смягченного» критерия защищенности - минимального поляризационного защитного потенциала, равного:

Eмин = Ест - 0,10 В,

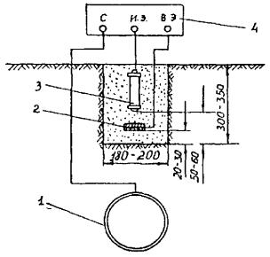
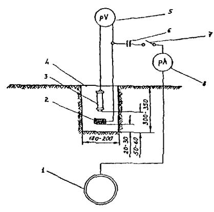
где Ест - стационарный потенциал вспомогательного электрода (датчика потенциала), см. п. 4.7.21

2.3 Измерения на подземных стальных трубопроводах

2.3.1 Измерения на подземных стальных трубопроводах выполняются с целью определения:

- опасности коррозии;

- эффективности ЭХЗ;

- степени защищенности;

- качества (состояния) изоляционных покрытий.

2.3.2 Измерения по определению опасности коррозии выполняются при проектировании ЭХЗ на вновь строящихся и реконструируемых трубопроводах, при обследовании эксплуатируемых трубопроводов, не оборудованных ЭХЗ.

2.3.3 Измерения по определению эффективности ЭХЗ и степени защищенности подземных трубопроводов проводятся при опытном опробовании проектируемой защиты, приемке ее в эксплуатацию, при контроле состояния противокоррозионной защиты трубопроводов, находящихся в эксплуатации.

2.3.4 Измерения по определению качества изоляционных покрытий проводятся при приемке подземных трубопроводов и при периодическом приборном контроле действующих трубопроводов.

2.3.5 Измерения по оценке опасности коррозии включают: определение коррозионной агрессивности грунта, определение наличия блуждающих токов в земле, выявление анодных и знакопеременных зон на подземных трубопроводах, определение степени влияния переменного тока.

2.3.6 Определение эффективности ЭХЗ включает:

- измерения потенциалов катодно-защищаемых трубопроводов с целью проверки соответствия потенциалов ГОСТ 9.602-89* и пп. 2.2.5 - 2.2.10 данной Инструкции;

- ориентировочную оценку скорости коррозии стали в грунте с помощью специальных индикаторов.

2.3.7 Определение степени защищенности подземных трубопроводов состоит в оценке отношения протяженности защитных зон к общей длине участков, требующих защиты.

2.3.8 Оценка качества изоляции на эксплуатируемых трубопроводах включает (пп. 3.1.10 - 3.1.15):

- без вскрытия трубопровода: определение сплошности покрытия (например, прибором типа АНПИ, ТИСПИ и др.);

- со вскрытием трубопровода: определение толщины, сплошности, адгезии, переходного сопротивления изоляции (например, методом мокрого контакта).

2.3.9 Результаты измерений оформляются соответствующими протоколами. Протоколы и данные измерений могут храниться на электронных носителях информации.

3 ИЗОЛЯЦИЯ ТРУБОПРОВОДОВ И РЕЗЕРВУАРОВ

3.1 ОБЩИЕ ТРЕБОВАНИЯ

3.1.1 Работы по нанесению изоляционных покрытий на трубы должны осуществляться в базовых условиях на механизированных линиях изоляции в соответствии с Технологическим регламентом (или Технологической инструкцией), разработанным для каждого типа покрытия и согласованным в установленном порядке. Качество покрытия труб должно соответствовать требованиям Технических условий на каждый вид покрытия.

3.1.2 Изоляционные работы в трассовых условиях допускается выполнять ручным способом: при изоляции резервуаров, при изоляции сварных стыков и мелких фасонных частей, исправлении повреждений покрытия (не более 10 % от площади трубы), возникших при транспортировании труб, а так же при ремонте трубопроводов. При устранении повреждений заводской изоляции на месте укладки газопровода должно быть обеспечено соблюдение технологии и технических возможностей нанесения покрытия и контроль его качества. Все работы по ремонту изоляционного покрытия должны быть отражены в паспорте газопровода.

3.1.3 В качестве основных материалов для формирования защитных покрытий рекомендуются: полиэтилен, полиэтиленовые липкие ленты, термоусаживающиеся полиэтиленовые ленты, битумные и битумно-полимерные мастики, наплавляемые битумно-полимерные материалы, рулонные мастично-ленточные материалы, композиции на основе хлорсульфированного полиэтилена, полиэфирных смол и полиуретанов.

3.1.4 Применяемые материалы и покрытия на их основе должны соответствовать требованиям Технических условий и иметь сертификаты качества или технические паспорта. Возможность применения импортных материалов для защитных покрытий допускается при их соответствии требованиям ГОСТ 9.602-89* и наличии разрешения, оформленного в установленном порядке. Технология нанесения защитных покрытий из импортных материалов должна соответствовать требованиям фирмы-изготовителя этих материалов.

3.1.5 Вновь разрабатываемые материалы для защитных покрытий и их конструкции вводятся в практику строительства и ремонта трубопроводов в соответствии с требованиями нормативно-технической документации, согласованной с головной организацией по защите от коррозии подземных металлических сооружений - разработчиком ГОСТ 9.602-89* и утвержденной в установленном порядке.

3.1.6 При выполнении работ по изоляции труб в базовых условиях, резервуаров, а также в процессе нанесения покрытий на сварные стыковые соединения трубопроводов, при ремонте мест повреждений покрытий должен проводиться контроль качества подготовки и праймирования поверхности, толщины, адгезии и диэлектрической сплошности покрытий.

3.1.7 Качество работ по очистке, праймированию поверхности и нанесению покрытий на трубы, выполняемых в заводских условиях и на производственных базах строительно-монтажных организаций, проверяет и принимает отдел технического контроля или лаборатория предприятия. Проверку качества изоляционных работ на трассе должны осуществлять инженерно-технические работники строительно-монтажной организации, выполняющей изоляционные работы, а также технический надзор заказчика или организации, эксплуатирующей трубопроводы.

3.1.8 Состав изоляционных мастик, дозировку компонентов, температурно-временной режим их приготовления контролируют специалисты лаборатории трубоизоляционных цехов. Контрольные пробы мастик с целью определения температуры размягчения, растяжимости и пенетрации мастики (глубину проникновения иглы) отбирают по одной от каждой партии не реже одного раза в день.

3.1.9 Качество защитного покрытия сваренного в нитку трубопровода из труб с заводской или базовой изоляцией контролируют перед укладкой в траншею путем измерения толщины, адгезии к металлу и проверки диэлектрической сплошности покрытия.

3.1.10 Толщину защитных покрытий контролируют приборным методом неразрушающего контроля с применением толщиномеров и других измерительных приборов:

- в базовых и заводских условиях - для покрытий из экструдированного полиэтилена, комбинированных ленточно-полиэтиленовых, ленточных и битумно-мастичных покрытий на каждой десятой трубе одной партии не менее чем в четырех точках по окружности трубы и в местах, вызывающих сомнение;

- в трассовых условиях - для битумно-мастичных покрытий - на 10 % сварных стыков труб, изолируемых вручную, в четырех точках по окружности трубы;

- на резервуарах - для битумно-мастичных покрытий - в одной точке на каждом квадратном метре поверхности, а в местах перегибов изоляционных покрытий, в частности, на ребрах через 1 м по длине окружности.

3.1.11 Адгезию защитных покрытий к стали контролируют приборным методом с применением адгезиметров:

- в базовых и заводских условиях - через каждые 100 м или на каждой десятой трубе в партии;

- в трассовых условиях - на 10 % сварных стыков труб, изолированных вручную;

- на резервуарах с покрытиями из рулонных и других полимерных материалов - не менее чем в двух точках по окружности резервуара.

Для мастичных битумных покрытий допускается определение адгезии методом выреза треугольника с углом 45° и отслаивания покрытия от вершины угла. Адгезия считается удовлетворительной, если более 50 % площади отслаиваемой мастики остается на металле. Поврежденное в процессе проверки адгезии покрытие должно быть отремонтировано в соответствии с технологией ремонтов, приведенной в настоящей Инструкции.

3.1.12 Сплошность покрытий труб в базовых и заводских условиях контролируют на всей поверхности приборным методом с помощью искрового дефектоскопа при напряжении 4,0 или 5,0 кВ на 1 мм толщины покрытия (в зависимости от материала покрытия) после окончания процесса изоляции труб, а также на трассе после ремонта покрытий трубопроводов, изоляции стыков и резервуаров.

3.1.13 Дефектные места, а также сквозные повреждения защитного покрытия, выявленные во время проверки его качества, должны быть исправлены до засыпки трубопровода. При ремонте должна быть обеспечена однотипность, монолитность и сплошность защитного покрытия; после исправления отремонтированные места подлежат вторичной проверке.

3.1.14 Проверку защитного покрытия после засыпки трубопровода на отсутствие внешних повреждений, создающих непосредственный электрический контакт между металлом труб и грунтом, производят приборами типа АНТПИ, ИПИТ-2, КАОДИ, ТИСПИ-03 и др. в соответствии со специальной инструкцией к прибору.

3.1.15 Перед началом монтажа трубопровода по требованию представителя заказчика должны быть предъявлены: сертификаты (паспорта) на каждую партию материалов, из которых изготовлено покрытие, или результаты лабораторных испытаний материалов - данные лабораторных испытаний проб, взятых из котлов в процессе приготовления битумной мастики; журнал изоляционных работ; акт проверки качества защитного покрытия.

По окончании строительства защитное покрытие уложенных трубопроводов и резервуаров принимают представители заказчика и представители организации, эксплуатирующей трубопроводы, с оформлением Акта на скрытые работы.

3.2 ПОКРЫТИЯ ИЗ ЭКСТРУДИРОВАННОГО ПОЛИЭТИЛЕНА

3.2.1 Наиболее прогрессивным покрытием для трубопроводов диаметром от 57 до 2020 мм является покрытие из экструдированного полиэтилена, нанесенное на трубы по жесткому адгезиву в базовых условиях.

3.2.2 Структура покрытий из экструдированного полиэтилена включает:

- подклеивающий слой (адгезив) толщиной 0,25 - 0,4 мм;

- наружный слой толщиной 1,55 - 2,75 мм (для усиленного тина) и 1,8 - 3,25 мм (для весьма усиленного типа).

Общая толщина защитного покрытий усиленного и весьма усиленного типов должна соответствовать требованиям табл. 3.2.1

Таблица 3.2.1

№ п/п

Диаметр трубы, мм

Толщина покрытия, мм, не менее

Усиленного типа

Весьма усиленного типа

1

От 57 до 89

1,8

2,2

2

От 102 до 259

2,0

2,5

3

От 273 до 426

2,2

3,0

4

От 530 до 820

2,5

3,5

5

Свыше 820

3,0

3,5

3.2.3 Основные требования к покрытиям весьма усиленного типа из экструдированного полиэтилена приведены в табл. 3.2.2.

Таблица 3.2.2

Основные требования к полиэтиленовым покрытия весьма усиленного типа1

№ п/п

Наименование показателей

Нормируемые значения для покрытий ВУС-типа

1

Адгезия к стальной поверхности, Н/см (кгс/см), не менее

35,0 (3,5)

2

Адгезия к стальной поверхности после выдержки в воде в течение 1000 часов при 20 °С, Н/см (кгс/см)

35,0 (3,5)

3

Диэлектрическая сплошность покрытия. Отсутствие пробоя при напряжении, кВ/мм, не менее

5,0

4

Прочность при ударе при температурах от минус 40 °С до плюс 40 °С, Дж на мм толщины покрытия, не менее:

для труб Æ 57 мм

3,5

для труб Æ 76 - 159 мм

4,25

для труб Æ 219 мм и более

5,0

5

Толщина в зависимости от диаметра труб, мм

От 2,2 до 3,5

6

Переходное электросопротивление, при 20 °С, Ом×м2, не менее

исходное

1×109

через 100 суток выдержки в 3 % растворе NaCl

1×108

7

Площадь отслаивания покрытия после катодной поляризации при 20 °С (ГОСТ Р 51164-98, Приложение В), см2, не более

5,0

8

Максимальная температура эксплуатации, °С

60

1 Покрытия изготавливаются по ТУ 1394-001-05111644-96; ТУ 1390-003-01284659-00; ТУ 1390-002-01297858-96; ТУ 1390-003-00154341-98; ТУ 1390-002-01284659-97; ТУ 1390-005-01297858-98; ТУ РБ 03289805.002-98; ТУ 1394-002-47394390-99; ТУ 1394-002-47394390-99 и др.

3.2.4 При экструзионном нанесении покрытия используют гранулированный полиэтилен высокого и низкого давления и его сополимеры. При этом в конструкции покрытия обязательно предусматривается подклеивающий слой (адгезив).

3.2.5 В качестве адгезива должны применяться сополимеры этилена с эфирами акриловой кислоты, адгезионно-активные композиции на основе сэвилена марки 113-27 (ТУ РБ 04643628.059-98) либо 113-51 (ТУ 6-04643628-01-93).

3.2.6 Для нанесения основного слоя покрытия могут быть использованы термо- и светостабилизированные композиции полиэтилена высокого давления, изготовленные на основе базовых марок 10203-003, 10404-003, 15303-003 (ГОСТ 16337-77*) в соответствии с рецептурами 09, 10, 12, 14, 97-100, или композиции полиэтилена для кабельной промышленности марок 153-10К, 102-10К по ГОСТ 16336-77, или другие композиции полиэтилена, обеспечивающие получение покрытия с показателями свойств, отвечающими требованиям табл. 3.2.2.

3.2.7 При изоляции методом экструзии трубы по рольгангу проходят через сушильную печь для удаления с их поверхности влаги и поступают в камеру дробеметной или дробеструйной очистки.

3.2.8 Для нагрева до температуры 170 - 200 °С трубы поступают в проходную газовую печь или проходят через кольцевой высокочастотный индуктор.

3.2.9 При нанесении полиэтиленового покрытия методом поперечного экструдирования, на трубы, совершающие равномерное вращательно-поступательное движение, через щелевую головку первого экструдера поступает лента клеевого слоя (адгезива) толщиной 0,25 - 0,4 и шириной 100 - 250 мм.

3.2.10 Поверх клеевого слоя из второго экструдера большей мощности также через щелевую головку наносится в несколько слоев основное покрытие из термо- и светостабилизированного полиэтилена.

3.2.11 Температура изоляционных материалов на выходе из щелевых головок экструдеров составляет 180 - 240 °С. Толщина полиэтиленового покрытия регулируется количеством слоев навиваемой ленты, выходящей из головки экструдера, что регулируется частотой вращения трубы и скоростью осевого перемещения труб по рольгангу. Толщина ленты полиэтилена, выходящей из головки экструдера, должна составлять от 0,5 до 0,8 мм.

3.2.12 Для уплотнения полиэтиленового покрытия используется прижимной валик с фторопластовой оболочкой, который обеспечивает монолитность покрытия и выравнивает его поверхность.

3.2.13 Покрытие методом продольной экструзии «чулком» для труб диаметром до 500 мм наносится с помощью кольцевой двухщелевой головки, подача изоляционных материалов в которую обеспечивается двумя или тремя экструдерами в зависимости от диаметра труб и производительности изоляционной установки.

3.2.14 Температурный режим работы экструдеров и кольцевой головки аналогичен режиму нанесения покрытия методом поперечного экструдирования. Для обеспечения оптимальных условий формирования адгезионной связи между клеевым слоем (адгезивом) и поверхностью трубы применяется вакуумирование головки.

3.2.15 После нанесения полиэтиленового покрытия его охлаждают до 60 - 70 °С, орошая трубы холодной водой. Далее охлажденные трубы поступают на участок контроля качества покрытия.

3.3 ПОКРЫТИЯ ИЗ ЭКСТРУДИРОВАННОГО ПОЛИПРОПИЛЕНА

3.3.1 Покрытие из экструдированного полипропилена обладает повышенной механической прочностью. Трубы с указанным покрытием могут быть рекомендованы для строительства газопроводов при закрытых методах прокладки (метод «прокола» и протаскивания через скважины). Конструкция покрытия из экструдированного полипропилена (ТУ 1394-010-04005951-99) включает:

- клеевой подслой на основе термоплавкой полимерной композиции толщиной 0,2 - 0,4 мм;

- наружный слой на основе экструдированного термосветостабилизированного полипропилена толщиной 1,1 - 2,3 мм (для усиленного типа), 1,6 - 2,3 мм (для весьма усиленного типа) и 1,6 - 2,8 мм (для проколов).

Общая толщина защитных покрытий в зависимости от назначения и диаметров труб приведена в табл. 3.3.1.

Таблица 3.3.1

№ п/п

Диаметр трубы, мм

Толщина покрытия, мм, не менее

Усиленного типа

Весьма усиленного типа

Для строительства трубопроводов, прокладываемых методом прокола и протаскиванием через скважины

1

До 250

1,5

2,0

2,0

2

От 250 до 273

1,5

2,2

2,0

3

От 273 до 500

1,5

2,2

2,0

4

530 и более

1,8

2,5

2,2

5

820 и более

2,0

2,5

2,5

6

1420

2,5

-

3,0

3.3.2 Основные требования к покрытиям из экструдированного полипропилена приведены в табл. 3.3.2.

Таблица 3.3.2

Основные требования к покрытиям из экструдированного полипропилена

№ п/п

Наименование показателей

Нормируемые значения

1

Адгезия к стальной поверхности, Н/см (кгс/см), не менее

70,0 (7,0) - для труб Æ до 1220 мм

100,0 (10,0)- для труб Æ 1220 и выше

2

Адгезия к стальной поверхности после выдержки в воде в течение 1000 часов при 20 °С, Н/см (кгс/см)

35,0 (3,5) - для труб Æ до 1220 мм

70,0 (7,0) - для труб Æ 1220 и выше

3

Диэлектрическая сплошность при напряжении, кВ

Отсутствие пробоя при напряжении 25 кВ

4

Ударная прочность, Дж на 1 мм толщины покрытия, не менее

8,0 - для труб до Æ 1220 мм

10,0 - для труб Æ 1220 и выше

5

Толщина в зависимости от диаметра труб, мм

От 1,5 до 3,0 (см. табл. 3.3.1)

6

Переходное электросопротивление, при 20 °С, Ом×м2, не менее

- исходное

1×1010

- через 100 суток выдержки в 3 % растворе NaCl

1×109

7

Площадь отслаивания покрытия при катодной поляризации при 20 °С (ГОСТ Р 51164-98, Приложение В), см2, не более

5,0 - для труб Æ от 219 до 1020 мм

4,0 - для труб Æ 1220 и выше

8

Максимальная температура эксплуатации, °С

80

3.3.3 При экструзионном нанесении покрытия используют гранулированный полипропилен высокого и низкого давления и его сополимеры. При этом в конструкции покрытия обязательно предусматривается подклеивающий слой (адгезив).

Оборудование и технология нанесения полипропиленового покрытия аналогичны технологии нанесения покрытий из экструдированного полиэтилена, отличаются лишь температурные режимы.

3.3.4 В качестве клеевого подслоя покрытия применяется композиция типа POLYPROPLENE BB125E фирмы BOREALIS или другие импортные и отечественные полимерные клеевые композиции, обеспечивающие получение защитного покрытия с показателями свойств, отвечающими требованиям НТД, утвержденной в установленном порядке.

3.3.5 В качестве наружного защитного слоя покрытия применяется композиция полипропилена типа POLYPROPYLENE ВВ108Е-1199 фирмы BOREALIS или другие импортные и отечественные композиции полипропилена, обеспечивающие получение защитного покрытия с показателями свойств, отвечающими требованиям НТД.

3.4 ПОКРЫТИЯ ИЗ ПОЛИМЕРНЫХ ЛИПКИХ ЛЕНТ

3.4.1 Для изготовления ленточных покрытий применяются полиэтиленовые липкие ленты типа Полилен и битумно-полимерные грунтовки типа НК-50 (ТУ 5775-001-12978559-94) или П-001 (ТУ 102-612-92).

3.4.2 Структура покрытия весьма усиленного типа включает два слоя полиэтиленовой липкой ленты толщиной 0,63 мм (либо 3 слоя ленты толщиной 0,45 мм), нанесенной по специальной битумно-полимерной грунтовке, и наружную обертку из оберточной полиэтиленовой ленты с липким слоем. Общая толщина защитного покрытия, включая обертку, должна быть не менее 1,8 мм (ТУ 4859-001-11775856-95).

3.4.3 Основные требования к покрытиям из полиэтиленовых липких лент приведены в табл. 3.4.1.

Таблица 3.4.1

Основные требования к покрытиям весьма усиленного типа из полиэтиленовых липких лент

№ п/п

Показатель

Норма

Метод испытаний

1

Адгезия покрытия к трубе, Н/см, (кгс/см), не менее

15,0 (1,5)

ТУ 2245-003-1297895-99

2

Диэлектрическая сплошность покрытия. Отсутствие пробоя при напряжении, кВ/мм, не менее

5,0

-

3

Толщина, мм, не менее

1,8

Магнитный толщиномер

3.4.4 При выборе лент для изоляции подземных газопроводов предпочтение следует отдавать полиэтиленовым липким лентам. Покрытие на их основе выгодно отличается от покрытия из поливинилхлоридных липких лент значительно более высокими показателями адгезии (1,5 ктс/см против 0,4 кгс/см), механической прочности, устойчивости к катодному отслаиванию, более низким показателем водопоглощения. В связи с этим применять поливинилхлоридные липкие ленты при изоляции подземных трубопроводов не рекомендуется.

Основные требования к полиэтиленовым липким лентам приведены в табл. 3.4.2.

3.4.5 Покрытие из полиэтиленовых липких лент отечественного и зарубежного производства наносится в базовых условиях на трубы диаметром от 45 до 530 мм. Нанесение покрытия осуществляется на механизированных поточных линиях, включающих узел очистки поверхности труб, камеру нанесения и сушки грунтовки, узлы намотки ленты и обертки.

3.4.6 Адгезию покрытия из полимерных липких лент определяют через сутки после их нанесения при температуре 20 ± 5 °С.

Таблица 3.4.2

Основные требования к полиэтиленовым липким лентам

№ п/п

Показатель

Полилен (лента изоляционная) ТУ 2245-003-1297859-99

Полилен-ОБ (лента оберточная) ТУ 2245-004-1297859-99

40-ЛИ-63

40-ЛИ-45

40-ОБ-63

1

Адгезия к праймированной стали, Н/см (кгс/см), не менее

20,0 (2,0)

20,0 (2,0)

-

2

Адгезия в нахлесте ленты к ленте, Н/см (кгс/см), не менее

7,0 (0,7)

7,0 (0,7)

0,5

3

Адгезия к стали после выдержки в воде 1000 часов при 20 °С, Н/см (кгс/см), не менее

15,0 (1,5)

15,0 (1,5)

-

4

Толщина ленты, мм

0,635

0,450

0,635

5

Ширина полотна, мм

450, 225

450, 225

450, 225

6

Длина полотна в рулоне, м

170

125

170

7

Прочность при разрыве, кгс/см, не менее

5,0

5,0

8,0

8

Относительное удлинение при разрыве, %, не менее

200

200

200

9

Удельное электросопротивление, Ом×м, не менее

1,0×1013

1,0×1013

-

3.5 КОМБИНИРОВАННОЕ ЛЕНТОЧНО-ПОЛИЭТИЛЕНОВОЕ ПОКРЫТИЕ

3.5.1 Конструкция комбинированного ленточно-полиэтиленового покрытия труб состоит из изолирующего слоя на основе полиэтиленовой липкой ленты и защитного слоя из экструдированного полиэтилена и должна соответствовать требованиям ТУ 1390-014-05111644-98 и ТУ 1390-013-04001657-98. Структура комбинированного ленточно-полиэтиленового покрытия приведена в табл. 3.5.1.

Таблица 3.5.1

Структура комбинированного ленточно-полиэтиленового покрытия весьма усиленного типа для труб диаметром 57 - 530 мм

Структура покрытия

Толщина покрытия для труб диаметром

До 114 мм

До 250 мм

До 530 мм

Грунтовочный слой - битумно-полимерная грунтовка НК-50 или П-001

Расход 80- 120 г/м2 для всех диаметров труб

Изолирующий подслой - липкая полиэтиленовая лента Полилен 40-ЛИ-45

0,45

0,45

0,45

Защитный слой - экструдированный полиэтилен, мм

1,75

2,05

2,55

Общая толщина, мм

2,2

2,5

3,0

3.5.2 Основные показатели свойств комбинированного ленточно-полиэтиленового покрытия весьма усиленного типа, приведенные в табл. 3.5.2, отвечают требованиям ГОСТ 9.602-89*:

- по показателям адгезии, водостойкости адгезии и стойкости к катодному отслаиванию - требованиям, предъявляемым к покрытиям из полиэтиленовых липких лент;

- по ударной прочности, диэлектрическим характеристикам, толщине - требованиям, предъявляемым к покрытиям из экструдированного полиэтилена.

3.5.3 Нанесение покрытия осуществляется на механизированной линии с приводными ролико-опорами, оснащенной узлом щеточной или иглофрезерной очистки, модернизированной камерой нанесения и сушки грунтовки, узлом для навивки ленты, снабженным пневмоторможением, экструдером с плоско-щелевой головкой для нанесения защитного слоя из экструдированного полиэтилена и камерой водяного охлаждения сформированного покрытия.

Таблица 3.5.2

Основные требования к комбинированному ленточно-полиэтиленовому покрытию весьма усиленного типа

№ п/п

Показатели свойств

Норма

1

Адгезия покрытия к стали, Н/см (кгс/см), не менее, при температурах:

20 °С

20,0 (2,0)

40 °С

10,0 (1,0)

2

Адгезия покрытия к стали после выдержки в воде в течение 1000 ч при 20 °С, Н/см (кгс/см), не менее

15,0 (1,5)

3

Диэлектрическая сплошность покрытия. Отсутствие пробоя при напряжении, кН/мм, не менее

5,0

4

Прочность при ударе, при температурах от минус 40 °С до плюс 40 °С, Дж на мм толщины покрытия, не менее:

- для труб Æ 57 мм

3,5

- для труб Æ 76 - 159 мм

4,25

- для труб Æ 219 мм и более

5,0

5

Площадь отслаивания покрытия при катодной поляризации при 20 °С (ГОСТ Р 51164-98, Приложение В), см2, не более

5,0

6

Переходное электросопротивление при 20 °С, Ом×м2

- исходное

1×108

- через 100 суток выдержки в 3 % растворе NaCl

1×107

3.6 ПОКРЫТИЯ НА ОСНОВЕ БИТУМНЫХ МАСТИК

3.6.1 Конструкция покрытия на основе битумных мастик должна состоять из нескольких армированных слоев мастики, нанесенной на трубу по битумному праймеру. Структура покрытий весьма усиленного типа на основе битумных мастик приведена в табл. 3.6.1.

Таблица 3.6.1

Структура защитных покрытий весьма усиленного типа на основе битумных мастик

Конструкция и материалы защитного покрытия

Толщина, мм, не менее

каждого слоя

общая

Битумный праймер

Расход - 80 г/м2

до Æ 159 - 7,5

Æ > 159 - 9,0

Битумная мастика

2,5 - 3

Армирующий слой

Не нормирована

Битумная мастика

2,5 - 3

Армирующий слой

Не нормирована

Битумная мастика

2,5 - 3

Наружная обертка

В зависимости от материала

3.6.2 Основные требования к покрытиям на основе битумных мастик:

Адгезия покрытия к стали на сдвиг при 20 °С, кгс/см2, не менее 5,0

Диэлектрическая сплошность покрытия, кВ, не менее

- для толщины 7,5 мм                                                                         30,0

- для толщины 9,0 мм                                                                         36,0

Переходное электрическое сопротивление, Ом×м 2, не менее

- исходное                                                                                            2,0×108

- после 100 суток выдержки в 3 % растворе NaCl                           2,0×107

Площадь отслаивания покрытия при катодной поляризации при 20 °С, см2,

не более                                                                                                5,0

Материалы для мастичных покрытий (грунтовки, мастики, армирующие и оберточные материалы)

3.6.3 Для приготовления битумной грунтовки (праймера) применяют нетоксичные нефтяные растворители, обеспечивающие быстрое высыхание грунтовки на металлической поверхности до «отлипа» и адгезию мастичного покрытия к металлу.

3.6.4 Для приготовления битумного праймера нужное количество соответствующего битума, преимущественно марки БНИ-IV (ГОСТ 9812-74), расплавляют, обезвоживают и охлаждают до температуры 70 °С. Затем в бак наливают необходимое количество растворителя, в который (а не наоборот) при непрерывном перемешивании деревянной лопастью вливают небольшими порциями битум. Соотношение битума и растворителя должно быть 1:3 по объему или 1:2 по массе. Битумный праймер считается готовым, если в нем после смешивания нет комков битума.

3.6.5 Приготовленный праймер должен храниться в герметически закрытой таре. Перед заливкой праймера в грунтовочное устройство его обязательно перемешивают деревянной лопастью. Гарантированный срок хранения - 6 месяцев.

Технология изготовления мастик

3.6.6 Мастики изготавливаются на стационарном технологическом оборудовании в заводских условиях. Битумно-атактическая мастика может быть изготовлена в условиях трубоизоляционной базы в специальных битумо-варочных котлах, оснащенных механическими мешалками. Изготовление мастик и нанесение их на трубы должно производиться в соответствии с технологическим регламентом, разработанным в установленном порядке.

3.6.7 Для приготовления мастики битум БНИ-IV освобождают от тары и кусками загружают в котел на 3/4 его вместимости. Перед загрузкой котел должен быть тщательно очищен. Загруженный битум нагревают при температуре 140 - 150 °С до полного расплавления.

3.6.8 В случае интенсивного вспенивания для его прекращения в битум добавляют низкомолекулярный силоксановый каучук СКТН-1 из расчета 2 г на 1 т массы или пеногаситель ПМС-200 в той же пропорции.

3.6.9 После полного обезвоживания при температуре 170 - 180 °С в битум при непрерывном перемешивании добавляют атактический полипропилен (ТУ 6-05-1902-81 и ТУ 6-05-131-2-88) или модификатор битумных мастик типа ТС-3 (ТУ 9400-001-26503804-96) в количестве не более 5 %.

3.6.10 Для получения однородной, без комков и включений мастики необходимо ее интенсивное перемешивание в процессе изготовления.

3.6.11 При применении в качестве наполнителя атактического полипропилена последний следует добавлять в расплавленный и обезвоженный битум порциями не более 10 - 15 кг или добавлять его в расплавленном виде.

3.6.12 В целях предупреждения коксования битумных мастик не следует нагревать их и выдерживать более 1 часа при температуре выше 190 °С.

Примечание:

Признаком начавшегося коксования битума является появление на поверхности расплавленной массы пузырей и зеленовато-желтого дымка.

3.6.13 Битумные мастики по физико-механическим свойствам должны отвечать требованиям, указанным в табл. 3.6.2.

3.6.14 Для повышения механической прочности покрытий из мастик в их конструкцию должны входить слои из армирующих материалов.

3.6.15 В качестве армирующих материалов для мастичных битумных покрытий применяют стеклохолсты ВВ-К, ВВ-Г, нетканое полимерное полотно марки С1.100.80-04 (ТУ 8390-007-05283280-96) либо С-050-103 (ТУ 8390-002-46353927-99), стеклосетка Э(с)4-40. Допускается применять стеклохолсты других марок, соответствующие основным показателям, установленным в нормативно-технической документации на ВВ-К и ВВ-Г.

Таблица 3.6.2

Физико-механические свойства битумных мастик

№ п/п

Мастика

Температура размягчения (ГОСТ 11506-73*), °С, не менее

Глубина проникновения иглы при 25 °С, (ГОСТ 11501-78*), десятые доли мм, не менее

Растяжимость при 25 °С (ГОСТ 11505-75*), см, не менее

Температура хрупкости, °С, не выше

1

Мастика битумно-атактическая (ТУ 204-РСФСР 1057-80)

80

14

1,5

-5

2

Мастика битумно-полимерная (ТУ 2513-001-15111644-96)

90

15

3,5

-5

3

Мастика битумно-резиновая изоляционная (ГОСТ 15836-79)

 

 

 

 

- МБР-75

75

30

4,0

-5

- МБР-90

90

20

3,0

0

4

Мастичная композиция для противокоррозионных покрытий «Асмол» ТУ 5623-002-05111644-96)

 

 

 

 

- специальная

70 - 80

50

10,0

-15

- марка Б

70 - 90

15

3,5

-5

5

Мастика битумно-полимерная изоляционная «Транскор» (ТУ 5775-002-32989231-99)

75 - 83

75 - 95

23 - 28

20 - 23

4,0 - 6,0

4,0 - 6,0

-20

-5

3.6.16 Армирующие материалы должны отвечать требованиям, приведенным в табл. 3.6.3.

Таблица 3.6.3

Основные характеристики армирующих материалов

№ п/п

Наименование показателя

Армирующие материалы

Нетканое полимерное полотно ТУ 8390-007-05283280-96

Стеклосетка Э(с)4-40 (ГОСТ 19907-80)

ВВ-Г

(ТУ 21-23-44-79)

вв-к

(ТУ 21-33-43-79)

1

Толщина, мм

-

-

0,5 ± 0,1

0,5 ± 0,1

2

Поверхностная плотность, г/м2

80 ± 4

40

-

-

3

Разрывная нагрузка, Н/50 мм

80

120

80

80

4

Гибкость, число изгибов до появления трещин, не менее

50

150

10

10

5

Устойчивость в горячем битуме (160 - 170 °С), мин., не менее

5

20

5

5

Примечание:

Стекловолокнистые холсты должны быть не ворсистыми и без складок. Намотка холста в рулоны должна быть плотной, ровной с торцов.

Технология нанесения покрытий на основе битумных мастик

3.6.17 При нанесении покрытий необходимо выполнять качественную очистку и праймирование поверхности труб, а также соблюдать температурный режим в процессе изготовления мастики и нанесения ее на трубы. Толщина наносимого мастичного изоляционного слоя, сплошность и прилипаемость его, степень пропитки армирующих материалов зависят от вязкости мастики, регулируемой изменением температуры в ванне.

3.6.18 Покрытия на основе битумных мастик наносятся на трубы в базовых условиях на механизированных линиях изоляции, включающих печь сушки труб, узел щеточной очистки поверхности труб, камеру нанесения и сушки грунтовки, битумную ванну и бобинодержатели для армирующих и оберточных материалов, узел водяного охлаждения покрытия.

3.6.19 Трубы продвигаются по линии по ролико-опорам и имеют поступательно-вращательное движение.

3.6.20 Трубы высушивают при помощи специальной проходной печи или в помещении естественной сушкой на стеллажах-накопителях.

3.6.21 Поверхность труб очищают механическим способом с помощью вращающихся проволочных щеток.

3.6.22 На механизированных линиях праймер наносят на сухую поверхность труб сразу после их очистки путем полива из расходной емкости и растирания специальным полотенцем, а в полевых условиях - с помощью кистей, мягкой ветоши и полотенец.

3.6.23 Слой праймера на поверхности труб должен быть ровным, без пропусков, сгустков и пузырей. Толщина слоя высушенного праймера регулируется его расходом. Расход битумного праймера - 80 г/м2 изолируемой поверхности.

Праймер перед нанесением покрытия должен быть высушен «до отлипа».

3.6.24 Нанесение покрытия на трубы в трассовых условиях должно производиться не позднее, чем через сутки после нанесения праймера.

При температуре воздуха выше 30 °С при формировании покрытия как в базовых, так и в трассовых условиях допускается снижение температуры битумной мастики до 140 - 150 °С.

3.6.25 Мастику наносят по периметру и длине трубы ровным слоем заданной толщины без пузырей и посторонних включений.

3.6.26 Слои армирующей обмотки и наружная обертка из бумаги должны накладываться на горячую мастику по спирали с нахлестом и определенным натяжением, исключающим пустоты, складки и обеспечивающим непрерывность слоя мастики и необходимую толщину защитного покрытия.

3.6.27 При нанесении мастичных покрытий на трубы должны быть оставлены неизолированными концы труб длиной 100 - 150 мм для труб диаметром 57 - 219 мм; 150 - 200 мм для труб диаметром 219 мм и более.

3.7 КОМБИНИРОВАННЫЕ МАСТИЧНО-ЛЕНТОЧНЫЕ ПОКРЫТИЯ

3.7.1 К данному виду покрытий относятся:

- покрытие на основе термоусаживающейся ленты и мастики (типа покрытия ПАЛТ, ТУ 2256-022-16802026-2000);

- покрытие на основе полимерно-битумной ленты типа ЛИТКОР по ТУ 2245-001-48312016-01, типа ЛИАМ-М (модифицированной) по ТУ 2245-024-16802026-00.

3.7.2 Структура покрытия ПАЛТ весьма усиленного типа включает:

- грунтовку (расход 80 г/м);

- мастичный армированный слой толщиной не менее 4,0 мм;

- термоусаживающуюся ленту.

3.7.3 Основные требования к покрытию ПАЛТ весьма усиленного типа приведены в табл. 3.7.1.

3.7.4 Покрытие типа ПАЛТ наносится на трубопроводы в процессе строительства или ремонта по очищенной щетками и загрунтованной поверхности. Мастичная композиция перед нанесением должна быть нагрета до температуры 130 - 140 °С и нанесена ровным слоем по всей поверхности трубы. Для достижения толщины мастичного слоя, равной 4,0 мм, покрытие армируют стеклосеткой. Поверх горячего мастичного слоя должна быть нанесена по спирали с нахлестом не менее 25 мм термоусаживающаяся лента ДРЛ (без адгезионного слоя) толщиной 0,8 мм (ТУ 2245-003-46541379-98) или 40-ЛИ-У 70 (ТУ 2245-018-16802026-98).

3.7.5 Структура покрытия весьма усиленного типа на основе полимерно-битумных лент (типа ЛИТКОР и ЛИАМ-М) включает:

- битумный праймер (расход 80 г/м2);

- полимерно-битумную ленту (изоляционную) толщиной не менее 1,7 мм в два слоя;

- обертку защитную полимерную липкую толщиной 0,6 мм.

Таблица 3.7.1

Основные требования к покрытию ПАЛТ весьма усиленного типа

№ п/п

Показатель

Норма

Метод контроля

1

Внешний вид

Осутствие складок и гофр

Визуально

2

Адгезия, при 20 °С, кгс/см2

5,0

ГОСТ Р 51164-98 (приложение Б, метод Б)

3

Диэлектрическая сплошность покрытия. Отсутствие пробоя при напряжении, кВ/мм, не менее

5,0

Искровой дефектоскоп

4

Прочность при ударе, при температуре до 40 °С, Дж,

не менее

6,0

ГОСТ Р 51164-98 (приложение А)

5

Переходное электросопротивление, Ом×м2

- исходное

3×108

ГОСТ Р 51164-98 (приложение Г)

 

- через 100 суток выдержки в 3 % растворе NaCl, при 20 °С

2×107

6

Толщина

5,0

Толщиномер

7

Площадь отслаивании покрытия при катодной поляризации, см2, при 20 °С, не более, см2

10,0

ГОСТ Р 51164-98 (приложение В)

8

Температура хрупкости мастичного слоя, °С, (по Фраасу)

минус 10 °С

ГОСТ 2678-94

Таблица 3.7.2

Основные физико-механические характеристики битумно-полимерных лент

№ п/п

Показатель

Норма для ленты типа ЛИТКОР (ТУ 2245-001-48312016-01)

Норма для ленты типа ЛИАМ-М (ТУ 2245-024-16802026-00)

1

Адгезия к праймированной стали при 20 °С, Н/см (кгс/см), не менее

20,0 (2,0)

20,0 (2,0)

2

Ширина, м

450,0

450,0

3

Толщина, мм

 

 

- на основе ленты ПВХ

1,5 - 2,0

-

- на основе ленты ПЭКОМ

1,8 - 2,2

1,7 - 2,2

4

Основные свойства мастики, нанесенной на ленту:

 

 

- температура размягчения по КиШ, °С

80

70

- пенетрация, дес. доли мм, при 25 °С

24 - 30

35

- растяжимость при 25 °С, см, не менее

4,0 - 4,5

4,0

- температура хрупкости, °С, не выше:

-

 

- для летней

минус 5

0

- для зимней

минус 15

минус 20

5

Длина полотна в рулоне, м

20,0 - 30,0

15,0 - 20,0

6

Удельное объемное электрическое сопротивление при 20 °С, Ом×м, не менее

1×1010

1×108

Допускается применение конструкции покрытия, включающей:

- битумный праймер (расход 80 г/м2);

- полимерно-битумную ленту (изоляционную) толщиной не менее 2,0 мм;

- полимерно-битумную ленту (оберточную) толщиной не менее 2,0 мм.

Общая толщина покрытия должна быть не менее 4,0 мм. Допускается для труб Æ до 159 мм включительно применять конструкцию из двух слоев полимерно-битумной изоляционной ленты толщиной каждого слоя не менее 2,0 мм.

3.7.6 Основные физико-механические характеристики битумно-полимерных лент приведены в табл. 3.7.2.

3.7.7 Покрытие из битумно-полимерных лент наносится на трубопроводы в процессе строительства или ремонта по очищенной щетками и покрытой битумным праймером стальной поверхности. Битумный праймер перед нанесением ленты может быть подсушен для ускоренного формирования адгезии. Применение праймеров П-001, НК-50 и других, применяемых под липкие ленты, категорически запрещается. Перед нанесением на трубу мастичный слой ленты должен быть подплавлен пламенем газовой горелки или паяльной лампы. При нанесении на изолируемую поверхность лента должна быть плотно прижата (прикатана) к трубе.

3.8 ТЕХНОЛОГИЯ ПРОИЗВОДСТВА И ПРИЕМКИ РАБОТ ПО ИЗОЛЯЦИИ РЕЗЕРВУАРОВ СУГ

Требования к применяемым материалам и структуре покрытия

3.8.1 Для подземных стальных резервуаров должны применяться защитные покрытия весьма усиленного типа на основе рулонного наплавляемого материала типа Изопласт-П или битумных мастик. Наиболее перспективным для изоляции СУГ является рулонный наплавляемый битумно-полимерный материал Изопласт-П.

3.8.2 Основные физико-механические характеристики рулонного наплавляемого материала Изопласт-П приведены в табл. 3.8.1 и должны соответствовать ТУ 5774-005-05766480-95.

3.8.3 Покрытие резервуаров СУГ объемом до 200 м3 должно состоять из слоя битумного праймера и двух слоев рулонного битумно-полимерного материала Изопласт-П марки ЭПП-4,0. Функцию обертки выполняет полиэтиленовая пленка, нанесенная на рулонный материал. Общая толщина покрытия должна быть не менее 8,0 мм.

3.8.4 Покрытие должно хорошо прилипать к поверхности резервуара. Адгезия покрытия на сдвиг должна составлять не менее 5,0 кгс/см2. Нижние и верхние слои покрытия должны быть сплавлены между собой, между слоями не должно быть пазух, вздутий и расслоений. Покрытие должно быть сплошным, без пропусков и прожогов.

Таблица 3.8.1

Основные физико-механические характеристики рулонного наплавляемого материала Изопласт-П

№ п/п

Показатель

Норма для марки ЭПП-4

1

Масса 1 м2 материала, кг

4,0

2

Разрывная сила при растяжении, Н/на 50 мм, не менее

360

3

Масса вяжущего с наплавляемой стороны, кг/м2

2,0 ± 0,3

4

Масса основы, г/м2, не более

140

5

Водопоглощение за 24 часа, % по массе, не более

1,0

6

Температура хрупкости вяжущего, °С, не ниже

минус 25

Технология проведения изоляционных работ

3.8.5 Работа по изоляции резервуаров СУГ должна проводиться в соответствии с разработанной технологической «Инструкцией по производству работ по нанесению изоляционного покрытия из рулонного битумно-полимерного материала Изопласт-П на резервуары для хранения сжиженного газа V = 50 - 200 м3» и состоит из ряда последовательно проводимых технологических операций:

- предварительный подогрев и сушка поверхности резервуара (при необходимости);

- пескоструйная очистка поверхности резервуара;

- праймирование изолируемой поверхности и подсушивание битумного праймера;

- раскраивание полос материала Изопласт-П в соответствии с требуемыми размерами;

- формирование покрытия путем наклеивания подплавленного с внутренней стороны Изопласта-П и тщательной его прикатки.

3.8.6 Перед нанесением покрытия изолируемая поверхность резервуара должна быть очищена от продуктов коррозии и при необходимости (дождь, снег) подсушена.

Очистку поверхности необходимо осуществлять с применением пескоструйных аппаратов типа «Стык-325» или аппаратов других марок аналогичного принципа действия, позволяющих с большой скоростью и эффективностью достичь требуемой степени очистки и придания поверхности необходимой шероховатости.

3.8.7 Для праймирования поверхности резервуаров СУГ необходимо использовать битумный праймер, который приготавливают из битума БНИ-IV и бензина в условиях заготовительных мастерских.

3.8.8 Формирование защитного покрытия на резервуарах СУГ необходимо осуществлять методом наклеивания раскроенного полотна Изопласта-П, подплавленного с внутренней стороны. Подплавление Изопласта-П производят пламенем пропановой горелки, не допуская возгорания и стекания расплавленной мастики. Признаком того, что мастика достаточно расплавлена, чтобы обеспечить требуемую прилипаемость к запраймированной поверхности, является образование валика подплавленной мастики на поверхности рулонного материала.

3.8.9 Покрытие наносят по круговому периметру резервуара, наклеивая полотнища Изопласта-П по направлению «снизу-вверх».

Наклейку рулонного материала на резервуар производят ярусами, начиная с нижнего. Длина полотнища не должна быть более 2,0 м.

Нахлест полотнища верхнего яруса на нижний должен составлять не менее 80 мм.

3.8.10 Завершать обклеечные работы по периметру резервуара необходимо в верхней его части, наклеивая полотнище Изопласта-П таким образом, чтобы одна его половина попадала на правую сторону резервуара, другая - на левую, и при этом обеспечивался требуемый нахлест на ниже приклеенный ярус материала.

3.8.11 Чтобы исключить образование пустот и пазух в местах нахлеста одного слоя материала на другой, необходимо сразу же после прикатки произвести шпаклевку кромок покрытия выступившей из-под рулонного материала подплавленной мастикой.

3.8.12 Наклейка полотнищ Изопласта-П по направлению «вдоль резервуара» должна осуществляться «встык». Для герметизации стыковочный шов нагревают горелкой и зашпаклевывают подплавленной мастикой.

3.8.13 К выполнению работ по нанесению второго слоя покрытия приступают после того, как удостоверились в правильном нанесении первого слоя: кромки полотна в нахлесте зашпаклеваны; вертикальные стыковочные швы не разошлись, хорошо прошпаклеваны; материал приклеен к поверхности без пустот, гофр и вздутий.

3.8.14 Второй слой наплавляемого рулонного материала сдвигают по отношению к первому таким образом, чтобы полотнища верхнего слоя перекрывали швы нижележащего слоя.

Технологические приемы при наклейке второго слоя рулонного материала в основном такие же, как при наклейке первого. Однако, при нанесении второго слоя необходимо одновременно с подплавлением рулонного материала осуществлять подогрев поверхности ранее наклеенного изоляционного слоя до начала его плавления и плотную его прикатку.

При несоблюдении этих требований прилипаемость между слоями покрытия будет недостаточной, в покрытии могут возникнуть расслоения в процессе эксплуатации.

Приемка работ и контроль качества покрытия

3.8.15 Контроль качества сформированного покрытия осуществляют после того, как его температура снизится до температуры окружающего воздуха, но не менее чем через 6 часов после его нанесения.

3.8.16 При контроле качества покрытия осуществляют:

- внешний осмотр в процессе послойного формирования покрытия и всей поверхности готового покрытия;

- замер толщины магнитным толщиномером типа УКТ-1, МТ-2003И и др., работающими в диапазоне толщин до 10,0 мм;

- проверку сплошности искровым дефектоскопом;

- определение степени прилипаемости к поверхности резервуара адгезиметром типа СМ-1 или методом «выреза треугольника»;

- определение прилипаемости слоев покрытия друг к другу.

3.9 ИЗОЛЯЦИЯ ФАСОННЫХ ЭЛЕМЕНТОВ ТРУБОПРОВОДОВ В БАЗОВЫХ УСЛОВИЯХ

3.9.1 Для изоляции фасонных элементов (цокольных выводов, углов поворотов, колен, конденсатосборников и др.) подземных трубопроводов следует применять покрытия ПАП-М105 и Полур. Допускается применять другие виды покрытий, не уступающие по качеству названным.

Таблица 3.9.1

Характеристики покрытий весьма усиленного типа для изоляции фасонных соединительных деталей трубопроводов в базовых условиях

№ п/п

Показатель

ПАП-М105

Полур

1

Адгезия к стальной поверхности, кгс/см2, не менее

35,0

35,0

2

Диэлектрическая сплошность покрытия. Отсутствие пробоя при напряжении, кВ/мм, не менее

7,0

5,0

3

Прочность при ударе в диапазоне температур от - 40 °С до + 60 °С, Дж на 1 мм толщины покрытия, не менее

10,0

5,0 на всю толщину покрытия

4

Толщина, мм, не менее

2,0

До Æ 159 мм - 2,5

> Æ 159 мм - 3,5

5

Переходное электрическое сопротивление, Ом×м2, не менее

1×108

1×107

6

Площадь катодного отслаивания при потенциале 1,5 В в 3 % растворе NaCl через 30 суток (ГОСТ Р 51164-98, Приложение В), см2, не более

 

 

при 20 °С

3,0

5,0

при 40 °С

5,0

10,0

при 60 °С

10,0

15,0

3.9.2 Покрытие ПАП-М105 (ТУ 2296-001-25895297-99) состоит из двух слоев композиционного материала на основе отвержденной полиэфирной смолы М 105 ТВ, армированного стекловолокнистыми матами. Характеристики покрытия ПАП-М105 весьма усиленного типа приведены в табл. 3.9.1.

3.9.3 Покрытие Полур (ТУ 2296-034-17187505-00) формируется на основе полиуретановых композиций, представляющих собой двухкомпонентные отверждающиеся системы на основе полиуретана и технологических добавок. Характеристики покрытия Полур весьма усиленного типа приведены в табл. 3.9.1.

3.9.4 Покрытия, приведенные в табл. 3.9.1, наносятся на фасонные элементы трубопроводов в условиях трубоизоляционных баз или механических мастерских согласно специально разработанным и утвержденным в установленном порядке Технологическим инструкциям на каждый вид покрытия. Названные покрытия допускается наносить в трассовых условиях при соблюдении технологических параметров нанесения и отверждения покрытий, а также контроля качества применяемых композиций и нанесенного покрытия.

3.10 ИЗОЛЯЦИОННЫЕ РАБОТЫ НА МЕСТАХ СТРОИТЕЛЬСТВА ПОДЗЕМНЫХ СООРУЖЕНИЙ

3.10.1 Проведение работ по изоляции сварных стыков, мест врезок, углов поворотов, мелких фасонных частей, а также резервуаров СУГ ручным способом в трассовых условиях во время дождя и снегопада допускается только при условии защиты изолируемой поверхности от попадания влаги. При температуре воздуха ниже минус 25 °С проведение изоляционных работ запрещается.

3.10.2 Сварные стыки труб, фасонные части (гидрозатворы, конденсатосборники, колена и др.), а также места повреждений защитного покрытия изолируют в трассовых условиях, по возможности, теми же материалами, что и трубопроводы, или другими, по своим защитным свойствам не уступающими покрытию линейной части трубы и сочетающимися с покрытием трубопровода.

3.10.3 Перед проведением изоляционных работ в трассовых условиях необходимо:

- ознакомиться с технологией изоляционных работ;

- подготовить необходимое оборудование и приспособления;

- подготовить укрытие для изоляционных работ в случае ненастной погоды или сильного ветра (при нанесении термоусаживающихся лент).

Технология изоляции стыков трубопроводов с покрытием из экструдированного полиэтилена термоусаживающимися лентами

3.10.4 Наиболее близким по качеству к покрытию из экструдированного полиэтилена является покрытие стыка, сформированное в трассовых условиях из термоусаживающихся лент с применением специального оборудования и приспособлений (пескоструйная установка или шлифмашинка, газовые баллоны с горелками, прикаточные валики и др.).

3.10.5 Для изоляции стыков могут применяться отечественные термоусаживающиеся ленты Донрад-СТ2 (ТУ 2245-004-46541379-97), ДРЛ-СТ2 (ТУ 2245-001-31673075-97), Терма-СТ (ТУ 2245-002-44271562-00), ЛТА-С (ТУ РБ 03230835-005-98), а также термоусаживающиеся ленты фирмы Райхем класса не ниже С50. Толщина термоусаживающейся ленты должна быть не менее 1,8 мм. Основные физико-механические показатели качества названных лент приведены в табл. 3.10.1.

3.10.6 Изоляция сварных стыков термоусаживающимися лентами должна выполняться по приведенной ниже технологии и состоит из ряда последовательно проводимых технологических операций:

- предварительный подогрев и сушка стыка (при необходимости);

- очистка зоны сварного стыка шлифмашинкой или пескоструйным аппаратом;

- формирование манжеты и ленты;

- нанесение и усадка манжеты и нагрев стыка.

Таблица 3.10.1

Показатели качества термоусаживающихся лент

№ п/п

Показатель

Норма для лент типа

Донрад-СТ2 (ТУ2245-004-46541379-97), ДРЛ-СТ2 (ТУ 2245-001-31673075-97)

ЛТА-С (ТУ РБ 03230835-005-98)

Терма-СТ (ТУ 2245-002-44271562-00)

1

Прочность адгезионного соединения со сталью, Н/см (кгс/см), не менее

 

 

 

- при 20 °С на воздухе

35,0 (3,5)

45,0 (4,5)

50,0 (5,0)

- после выдержки в воде при 20 °С в течение 1000 ч.

30,0 (3,0)

-

35,0 (3,5)

2

Прочность адгезионного соединения с полиэтиленовым покрытием, Н/см (кгс/см), не менее

 

 

 

- при 20 °С на воздухе

35,0 (3,5)

45,0 (4,5)

50,0 (5,0)

- после выдержки в воде при 20 °С в течение 1000 ч.

-

-

35,0 (3,5)

3

Прочность при разрыве, МПа, не менее

12,0

12,0

12,0

4

Относительное удлинение при разрыве, %, не менее

200

250

200

5

Температура усадки, °С, не менее

130

110 - 130

130 - 160

6

Степень усадки в продольном направлении, %, не менее

20

20

10 - 25

7

Удельное объемное электросопротивление, Ом×см, не менее

-

1×1015

-

8

Толщина, мм

1,4 - 2,0

0,5 - 1,8

1,2 - 2,4

9

Ширина, мм

300; 450

225; 450; 630

350; 450; 610

3.10.7 Формирование манжеты.

Термоусаживающаяся лента, используемая для изоляции сварного стыка труб, вырезается таким образом, чтобы ее нахлест на заводское изоляционное покрытие составлял не менее 70 мм, а длина соответствовала длине окружности трубопровода плюс 20 % от этой длины на термоусадку материала, плюс 100 мм на нахлест при формировании манжеты.

Формирование из ленты кольцевой манжеты проводится непосредственно на трубопроводе рядом со стыком. При этом заготовка ленты по кольцу изгибается вокруг сварного стыка трубопровода. Величина нахлеста ленты должна составлять не менее 100 мм. Под манжету в месте нахлеста ленты подставляется прокладка из термостойкого материала (фторопласта). После чего с помощью ручной газовой горелки прогревают адгезионный подслой ленты в месте нахлеста до образования расплава, а затем вручную с применением прикатывающего валика производят уплотнение места нахлеста ленты. По мере остывания расплава происходит склеивание ленты и формирование кольцевой манжеты.

Подготовленную манжету оставляют рядом с зоной сварного стыка трубопровода до тех пор, пока не прогреют стык до необходимой температуры.

3.10.8 Нагрев зоны сварного стыка до необходимой температуры (130 - 140 °С) производят ручными газовыми горелками различных конструкций. Газовая горелка должна обеспечивать получение факела не коптящего пламени длиной не менее 300 мм и шириной до 100 мм. Контроль температуры нагрева стыка в разных точках осуществляют пробным контактом полоски ленты, прикладываемой к поверхности разогретого стыка подклеивающим слоем. Если подклеивающий слой ленты при контакте с металлом трубы быстро плавится и прилипает к стальной поверхности, температура стыка достаточная для формирования покрытия из термоусаживающейся ленты. При нагреве стыка до указанной выше температуры металл приобретает сизоватый цвет.

3.10.9 Края примыкающего к стыку покрытия также должны быть нагреты мягким пламенем горелки до 90 - 100 °С, полиэтилен при этом может слегка размягчиться.

3.10.10 Нанесение и усадка манжеты.

После нагрева изолируемой зоны до необходимой температуры термоусаживающаяся манжета устанавливается на место сварного стыка. Величина нахлеста манжеты на заводское покрытие труб должна составлять не менее 70 мм по обе стороны сварного стыка.

Процесс термоусаживания манжеты начинается с ее фиксирования на зоне сварного стыка. Это достигается равномерным прогревом центральной части манжеты по всему периметру, в результате чего манжета дает усадку и фиксируется на трубе. Для обеспечения равномерности усадки материала и предотвращения сваривания манжеты к верхней образующей трубопровода в самом начале процесса усадки между манжетой и трубой по обеим сторонам манжеты устанавливаются эластичные специальные кольцевые прокладки толщиной 10 - 15 мм (могут быть изготовлены из отрезков кабеля и т.д.).

После закрепления манжеты на изолируемом участке трубопровода прокладки вынимаются и производится прогрев и усадка всей манжеты.

Процесс усадки ведется от центра манжеты к кромкам. При этом для обеспечения максимального адгезионного контакта между манжетой и изолируемым участком трубопровода нельзя допускать образования под покрытием воздушных пузырей, складок. Уплотнение, выравнивание покрытия может производиться вручную (с помощью рукавицы), прикатывающим эластичным валиком, дощечкой с мягкой, эластичной набивкой и др.

Термоусаживающаяся манжета должна плотно, без гофр и складок облегать изолируемый участок трубопровода с выходом валика расплава адгезионного подслоя ленты из-под манжеты на заводское покрытие.

3.10.11 Контроль качества изолируемого стыка. Сформированное защитное покрытие должно удовлетворять следующим требованиям:

- иметь одинаковую величину нахлеста на заводское покрытие;

- копировать рельеф изолируемой поверхности сварного стыка без гофр, морщин, протяженных и локальных воздушных включений;

- не иметь проколов, задиров и других сквозных дефектов;

- толщина сформированного покрытия должна быть не менее 1,8 мм;

- показатель прочности адгезионной связи сформированного покрытия с металлом и заводским полиэтиленовым покрытием должен составлять не менее 3,5 кг на см ширины отслаиваемой полосы.

Изоляция стыков и ремонт мест повреждений полимерных покрытий трубопроводов с применением полиэтиленовых липких лент и полимерно-битумных лент

3.10.12 Для изоляции стыков и ремонта мест повреждений полимерных покрытий трубопроводов (из экструдированного полиэтилена, из полиэтиленовых липких лент и др.) могут применяться полиэтиленовые липкие ленты типа Полилен 40-ЛИ-45 и полимерно-битумные ленты типа ЛИТКОР.

3.10.13 Полиэтиленовые липкие ленты толщиной 0,45 мм могут применяться для изоляции стыков газопроводов малых и средних диаметров (Æ 57 - 530) мм с заводским покрытием преимущественно из полиэтиленовых липких лент. Допускается применение указанных лент для изоляции стыков трубопроводов, построенных из труб с покрытием из экструдированного полиэтилена, при условии, что с концов труб полиэтиленовое покрытие снято на конус под углом не более 30 и что на 100 мм примыкающего к стыку покрытия создана шероховатость. Невыполнение указанного условия приводит к браку в покрытии стыка.

Липкие ленты должны наноситься на стык по специальному клеевому праймеру, выпускаемому под каждый вид ленты, с усилием натяжения 1,5 ¸2,0 кгс на см ширины навиваемой полосы.

3.10.14 Качественное выполнение работ при ручном нанесении ленточного покрытия на стык возможно лишь при температуре окружающего воздуха не ниже +10 °С, т.е. в теплое время года, и при использовании полиэтиленовых лент толщиной не более 0,45 мм.

3.10.15 Качество покрытия стыка из полиэтиленовых липких лент должно соответствовать требованиям ТУ 4869-001-11775856-95 «Трубы стальные с покрытием из полиэтиленовых липких лент». Структура покрытия весьма усиленного типа должна включать три слоя изоляционной ленты 40-ЛИ-45 и слой оберточной ленты типа Полилен-ОБ. Общая толщина покрытия должна составлять не менее 1,8 мм.

3.10.16 Технология изоляции стыка полиэтиленовыми липкими лентами состоит из следующих технологических операций:

- очистка изолируемой поверхности трубопровода и нанесение грунтовки типа НК-50, П-001 и др., специально выпускаемых под каждый вид ленты;

- заравнивание выступающего клейма сварщика и сварного шва пластичной битумной мастикой, нанесенной по праймеру;

- снятие на конус под углом не более 30° примыкающего к стыку ПЭ-покрытия и придание ему шероховатости на длине 100 мм металлическими щетками или шлифмашинкой (если это не сделано в заводских условиях);

- снятие с примыкающего к стыку покрытия защитной обертки на длине около 100 мм (относится к покрытию из полиэтиленовых липких лент);

- нанесение на подготовленную поверхность сварного стыка изоляционной полиэтиленовой ленты с нахлестом более 65 % для получения 3-х слойного покрытия.

Нахлест на примыкающее к стыку покрытие линейной части трубы должен быть не менее 100 мм, т.е. на тот участок, с которого была снята защитная обертка.

3.10.17 Нанесение изоляционной ленты на стык должно осуществляться по подсохшей «до отлипа» грунтовке, причем грунтовка должна наноситься не только на околошовную зону сварного стыка, но и на примыкающее к стыку полиэтиленовое покрытие. Грунтовка должна наноситься равномерным слоем, особое внимание необходимо уделять равномерности нанесения грунтовки на нижнюю образующую стыка трубопровода. Не допускается наличие пропусков грунтовки по поверхности. Расход грунтовки - 80 г/м2.

3.10.18 На стык, изолированный полимерной липкой лентой, должны наносить защитную полимерную обертку в один слой с нахлестом витков 2 ¸ 2,5 см.

3.10.19 Качество нанесенного на стык покрытия должно соответствовать требованиям табл. 3.4.1 (п. 3.4.3).

3.10.20 Засыпку газопровода грунтом необходимо осуществлять только после формирования адгезии ленточного покрытия к трубе (не менее чем через сутки).

3.10.21 Универсальным материалом для изоляции стыков и ремонта мест повреждений покрытий из экструдированного полиэтилена, а также из полиэтиленовых липких лент является полимерно-битумная лента типа ЛИТКОР.

3.10.22 Изоляцию стыковых соединений и фасонных элементов трубопроводов, включая конденсатосборники, с указанными полимерными покрытиями полимерно-битумными лентами типа ЛИТКОР необходимо производить по следующей технологии:

- сушка и подогрев изолируемой поверхности (в зимнее и сырое время года);

- очистка изолируемой поверхности (ручная - металлическими щетками или механизированная - шлифмашинками);

- обработка концевых участков полиэтиленового покрытия (50 - 70 мм) щетками для придания глянцевой поверхности шероховатости;

- нанесение на изолируемую поверхность кистью или валиком битумного праймера;

- навивка по праймеру заранее заготовленной полосы ленты ЛИТКОР. Навивку следует производить, предварительно освободив липкую мастичную сторону ленты от антиадгезионной прокладки и нагревая мастичный слой пламенем паяльной лампы или пропановой горелки до начала его подплавления. Прогретую ленту слегка натягивают и прижимают к изолируемой поверхности трубопровода. Во избежание образования пузырей и для плотного прилегания к трубе ленту дополнительно прикатывают валиком.

3.10.23 Ширина навиваемой полосы ленты типа ЛИТКОР при спиральной навивке должна быть не более 150 мм. Двухслойное покрытие формируется с одной бобины с нахлестом не менее 50 %. Оберточную ленту наносят с нахлестом 15 - 20 мм. При изоляции углов поворота и мест врезок необходимо применять ленту типа ЛИТКОР шириной 70 - 85 мм.

3.10.24 Сформированное покрытие стыка из ленты типа ЛИТКОР должно удовлетворять следующим требованиям:

- иметь величину нахлеста на покрытие трубы не менее 70 мм;

- копировать рельеф изолируемой поверхности без гофр, быть плотным, без пазух и воздушных включений;

- толщина покрытия весьма усиленного типа должна быть не менее 4,0 мм;

- адгезия покрытия из ленты типа ЛИТКОР к поверхности трубы и к полимерному покрытию должна составлять не менее 1,5 кгс/см. При нанесении ленты по подсушенному праймеру адгезия формируется быстро, в связи с чем измерение адгезии можно проводить сразу после остывания покрытия. При нанесении ленты по «мокрому» праймеру адгезия формируется до указанной величины не менее суток;

- покрытие должно быть сплошным при проверке искровым дефектоскопом при напряжении на щупе 20 кВ;

3.10.25 Ремонт мест повреждений покрытия из экструдированного полиэтилена необходимо выполнять с применением термоусаживающихся лент или ленты типа ЛИТКОР, а покрытий из полиэтиленовых липких лент - лентой типа ЛИТКОР или полиэтиленовой липкой лентой Полилен 40-ЛИ-45 (аналогично технологии изоляции стыков, изложенной в п. 3.10.16).

3.10.26 Работы по ремонту покрытий из экструдированного полиэтилена термоусаживающимися лентами включают следующие технологические операции:

- очистка зоны ремонтируемого участка покрытия (стальная поверхность, соседние участки заводского покрытия не менее 50 мм от края дефекта);

- нагрев (сушка) ремонтируемого участка. Температура предварительного подогрева вновь изолируемой поверхности стали и прилегающих участков заводского (базового) покрытия определяется соответствующей технической документацией на данный материал;

- нанесение ленты-заполнителя. В качестве заполнителя может применяться лента-заполнитель типа «Герлен-Д». При незначительной толщине покрытия (менее 2,0 мм) допускается применять заплату из термоусаживающейся ленты;

- нанесение защитной заплаты из термоусаживающейся ленты. Заплата вырезается таким образом, чтобы ее нахлест на неповрежденное заводское покрытие составлял не менее 50 мм, а при больших и протяженных дефектах - не менее 70 мм.

3.10.27 Ремонт мест повреждений с применением полимерно-битумной ленты типа ЛИТКОР включает следующие технологические операции:

- зачистка покрытия вокруг оголенного участка трубопровода;

- нанесение на оголенную металлическую поверхность битумного праймера и его высушивание;

- наклеивание заплаты на запраймированный участок, вырезанной из ленты типа ЛИТКОР по форме поврежденного участка изоляции. Мастичный слой заплаты перед наклеиванием подплавляют пламенем паяльной лампы или газовой горелки;

- подплавление и наложение поверх первого слоя второго слоя заплаты с перекрыванием его не менее чем на 50 мм во все стороны. Для получения плотного покрытия его прикатывают валиком (через антиадгезионную бумагу).

Для предотвращения сдвиговых деформаций при засыпке трубопровода грунтом (особенно на трубопроводах больших диаметров) поверх заплаты накладывают кольцевой бандаж из любой полимерной ленты с липким слоем.

Изоляция стыков и ремонт мест повреждений покрытия трубопроводов, построенных из труб с мастичным битумным покрытием

3.10.28 Для изоляции стыков трубопроводов и ремонта мест повреждений покрытия должны применяться преимущественно битумные мастики тех марок, из которых сформировано покрытие трубы, в частности, битумно-резиновая мастика (ГОСТ 15836-69), битумно-атактическая мастика (ТУ 204 РСФСР 1057-80) и битумно-полимерная мастика (ТУ 2513-001-05111644-96), а также полимерно-битумная лента типа ЛИТКОР (ТУ 2245-001-48312016-01), являющаяся более технологичной в трассовых условиях, чем битумные мастики, и рулонный наплавляемый битумно-полимерный материал типа Изопласт-П (ТУ 5774-005-05766480-95).

3.10.29 Требования к применяемым материалам.

- битумно-резиновая мастика должна быть заводского изготовления;

- битумно-атактическая мастика изготавливается в битумно-варочных котлах в условиях трубоизоляционных баз и разливается в мешки из крафт-бумаги или бидоны;

- битумно-полимерная мастика также изготавливается в условиях трубоизоляционных баз из битума БНИ-IV с добавлением полимерного модификатора (ТУ 9400-001-26503804-96) в количестве от 3 до 6 %.

Основные физико-механические характеристики битумных мастик, рекомендуемых для изоляции стыков и мест повреждений покрытия, приведены в табл. 3.6.1 (п. 3.6.1).

Основные показатели качества ленты типа ЛИТКОР и рулонного наплавляемого материала типа Изопласт-П приведены в табл. 3.7.2 (п. 3.7.6) и табл. 3.8.1 (п. 3.8.2) соответственно.

В качестве армирующих и оберточных материалов для изоляции стыков и ремонта мест повреждений мастичных битумных покрытий необходимо применять рулонные материалы типа «Бризол»:

- Поликром-БР (ТУ 66.30.019-93);

- полотно резиновое гидроизоляционное (ТУ 38.105436-77 с учетом Изм. № 4 от 25.09.94 г.).

Допускается применять в качестве армирующего материала для изоляции стыков стеклохолст, стеклосетку Э(с)-40, нетканое полимерное полотно (п. 3.6.15).

Основные требования к рулонным гидроизоляционным материалам приведены в табл. 3.10.2.

Таблица 3.10.2

Физико-механические характеристики рулонных гидроизоляционных материалов типа Бризол (ТУ 38-105-1819-88)

№ п/п

Показатель

Норма

1

Условная прочность при растяжении, МПа (кгс/см2), не менее

0,6 (6)

2

Относительное удлинение при разрыве, %, не менее

60

3

Водопоглощение за 24 часа, %, не более

0,8

4

Эластичность, количество двойных перегибов, не менее

10

5

Гибкость на стержне диаметром 10 мм при температуре минус 5 °С

не должно быть трещин

6

Гарантийный срок хранения со дня изготовления

6 месяцев

Технология изоляционных работ

3.10.30 Технология изоляции сварных соединений трубопроводов и ремонта мест повреждений битумных покрытий, а также нанесения покрытий на фасонные части с использованием битумных мастик и рулонного материала типа Бризол или других армирующих материалов должна включать следующие основные операции:

- очистку изолируемой поверхности стыка (ручная - щетками или наждачной бумагой № 2, № 3; механизированная - шлифмашинкой);

- обработку концевых участков примыкающего к золе сварного стыка битумного покрытия путем срезания его на конус на расстоянии 100 ¸ 150 мм, для чего удаляют с покрытия обертку из бумаги. Затем срезанное на конус покрытие выравнивают, подплавляя его газовой горелкой или паяльной лампой;

- сушку и подогрев стыка (в зимнее и сырое время года);

- нанесение на очищенную поверхность стыка кистью или валиком битумного праймера, приготовленного из битума БНИ - IV и бензина (не содержащего солярку) в соотношении 1:3 по объему;

- нагрев мягким пламенем газовой горелки (или паяльной лампой) примыкающих к зоне сварного стыка или места врезки концевых участков мастичного битумного покрытия длиной около 100 ¸ 150 мм до начала оплавления мастики;

- нанесение по высохшему праймеру первого слоя горячей (140 ¸ 160) °С битумно-полимерной мастики, армированной 1 слоем рулонного материала типа Бризол или стеклотканью Э(с)4-40 (ГОСТ 19907-83);

- нанесение второго слоя горячей битумно-полимерной мастики, также армированной 1 слоем Бризола или стеклотканью Э(с)4-40.

При армировании покрытия Бризолом необходимая общая толщина достигается за счет нанесения двух слоев, а при армировании мастики стеклосеткой или нетканым полимерным полотном требуемая толщина покрытия достигается за счет нанесения трех слоев.

При нанесении покрытия необходимо соблюдать следующие требования:

- ширина нахлеста формируемого на стыке покрытия на мастичное покрытие линейной части трубы должна быть не менее 100 мм;

- полотно Бризола целесообразно наносить на стык путем оборачивания им стыка, при этом ширина полотна должна определяться длиной стыка плюс 140 ¸ 200 мм. При изоляции мест врезок углов поворота и отводов необходимо использовать узкую ленту Бризола или стеклоткани (шириной 70 ¸ 100 мм) и формировать покрытие методом навивки по спирали, причем витки ленты Бризола, армирующие первый слой битумно-полимерного покрытия, не должны нахлестывать друг на друга. Второй (оберточный) слой наносится с нахлестом не менее 20 мм;

- при изоляции стыка по указанной технологии следует проводить послойную прикатку сформированного покрытия валиком в целях избежания пустот и неровностей, а также для улучшения прилипаемости покрытия, как к металлу, так и к имеющемуся битумному покрытию.

При ремонте с применением битумных мастик необходимо выполнять следующие технологические операции:

- на подогретый до оплавления участок с поврежденным битумным покрытием наносят из лейки слой горячей битумной мастики и накладывают поверх него заранее приготовленную заплату из Бризола, перекрывающую дефект в покрытии не менее чем на 50 мм по всему периметру;

- затем наносят второй слой расплавленной битумной мастики и его накрывают заплатой из Бризола с нахлестом, не менее чем на 100 мм, перекрывающим 1-й слой покрытия. Сформированное покрытие и горячем виде прикатывают деревянным валиком для устранения воздушных пузырей, гофр и для более плотного межслойного сцепления покрытия;

- толщина изоляционного покрытия зоны сварного стыка и на отремонтированном участке на трубах Æ 159 мм должна быть не менее 7,0 мм, на трубах Æ свыше 159 мм - не менее 8,0 мм;

- Бризол, температура хрупкости которого согласно ТУ до - 5 °С, следует хранить в зимнее время в трассовых условиях в вагончиках, и перед нанесением на стык слегка прогреть ленту паяльной лампой или мягким пламенем газовой горелки, не допуская деформации полотна;

- степень прилипаемости покрытия, как к металлу, так и к существующему покрытию должна быть удовлетворительной и соответствовать ГОСТ 9.602-89* (для покрытий на основе битумных мастик);

- во избежание расслоения между наносимой на стык мастикой и существующим на трубе мастичным покрытием необходимо в обязательном порядке прогревать до оплавления существующее на трубе покрытие. Качество изоляции стыка или отремонтированного участка покрытия в значительной степени зависит от соблюдения технологии изоляционных работ.

3.10.31 Изоляция стыковых соединений трубопроводов с мастичным битумным покрытием с применением полимерно-битумных лент типа ЛИТКОР должна включать следующие технологические операции:

- подготовку поверхности стыка или места врезки трубопроводов к работам по нанесению покрытия из ленты типа ЛИТКОР проводят, как указано в п. 3.10.30;

- нанесение первого изоляционного слоя ленты по битумному праймеру путем наклеивания ленты шириной, равной ширине изолируемого стыка. Перед наклеиванием ленту ЛИТКОР необходимо освободить от антиадгезионной пленки и прогреть мастично-полимерный слой пламенем пропановой горелки до начала его подплавления. Прогретую ленту ЛИТКОР необходимо слегка натянуть и прижать к изолируемой поверхности трубопровода. Во избежание образования пузырей и для плотного прилегания к трубе ленту необходимо дополнительно прикатать валиком;

- нанесение поверх первого, изоляционного слоя второго, оберточного слоя из ленты ЛИТКОР большей ширины. Ширину навиваемой полосы второго слоя ленты необходимо выбирать таким образом, чтобы образовался нахлест на обе стороны основного покрытия не менее 7,0 см. Ленту наносят также путем подогрева пламенем газовой горелки мастичного слоя и прикаткой к уже имеющемуся покрытию;

- для увеличения механической прочности формируемого покрытия стыка на основе ленты ЛИТКОР желательно второй слой наносить из ленты ЛИТКОР-оберточной. При отсутствии ленты ЛИТКОР-оберточной покрытие необходимо формировать из двух слоев ленты ЛИТКОР-изоляционной плюс обертка из полиэтиленовой ленты типа Полилен или аналогичных лент.

3.10.32 Показатели качества покрытия стыка лентой типа ЛИТКОР должны соответствовать требованиям п. 3.10.24.

Технология ремонта поврежденных участков мастичного покрытия в трассовых условиях наплавляемым рулонным материалом Изопласт-П

3.10.33 Ремонту подлежат сквозные повреждения покрытия, а также участки, на которых зафиксировано снижение толщины вследствие продавливания покрытия (вмятины, задиры и т.п.). Поврежденные участки могут быть отремонтированы с применением наплавляемого рулонного битумно-полимерного материала типа Изопласт-П.

3.10.34 Отслоившееся мастичное покрытие в зоне сквозного дефекта должно быть удалено с трубы, а края оставляемого покрытия освобождены от бумаги, зачищены на конус в разогретом виде с применением ножа или металлического шпателя. Поверхность оголенного металла трубопровода на участках дефекта необходимо зачистить от ржавчины стальными проволочными щетками, высушить и запраймировать битумным праймером.

3.10.35 Работы по ремонту поврежденного мастичного покрытия подземных газопроводов включают следующие технологические операции:

- выкраивание из рулонного материала двух заплат, форма и размер одной из которых соответствует форме повреждения покрытия, вторая заплата должна перекрывать первую по площади не менее чем на 5 см в каждую сторону;

- оплавление краевых участков поврежденного покрытия пламенем паяльной лампы;

- праймирование оголенного металла трубы битумным праймером;

- подплавление пламенем паяльной лампы или газовой горелки с внутренней стороны заплаты и наложение ее на поврежденный участок покрытия таким образом, чтобы заплата как можно точнее легла на оголенный участок трубы и заполнила его. Заплату плотно прикатывают к трубе специальным валиком с антиадгезионной пропиткой или прижимают рукавицей;

- подплавление и наложение поверх первого слоя второго слоя заплаты с перекрыванием его не менее чем на 5 см во все стороны, однако при нанесении второго слоя необходимо одновременно с подплавлением рулонного материала осуществлять подогрев поверхности ранее наклеенного изоляционного слоя до начала его плавления и плотную его прикатку.

При несоблюдении этих требований прилипаемость слоев покрытия друг к другу будет недостаточной, в покрытии могут возникнуть расслоения в процессе эксплуатации.

3.10.36 Общая толщина покрытия весьма усиленного типа на основе Изопласта-П на отремонтированном участке должна быть не менее 7,5 мм.

Таблица 3.10.3

Материалы, рекомендуемые дли изоляции отводов, углов поворотов, мест врезок, заглушек, мест приварки шин для КУ для газопроводов с различными видами покрытий

№ п/п

Покрытие действующего трубопровода

Покрытие вновь присоединяемого трубопровода

Материал для изоляции мест присоединения (врезки)

1

Мастичное битумное

Из экструдированного полиэтилена

Полимерно-битумная лента типа ЛИТКОР

2

Мастичное битумное

Из полиэтиленовых липких лент

Полимерно-битумная лента типа ЛИТКОР

3

Мастичное битумное

ПАП-М 105

Полимерно-битумная лента типа ЛИТКОР

4

Мастичное битумное

Мастичное битумное

Полимерно-битумная лента типа ЛИТКОР, битумные мастики + Бризол

5

Из экструдированного полиэтилена

ПАП-М 105

Полимерно-битумная лента типа ЛИТКОР

6

Из экструдированного полиэтилена

Из полиэтиленовых липких лент

Полимерно-битумная лента типа ЛИТКОР, Полилен 40-ЛИ-45 (на прямых участках)

7

Из экструдированного полиэтилена

Из экструдированного полиэтилена

Полимерно-битумная лента типа ЛИТКОР и Полилен 40-ЛИ-45 (на прямых участках)

8

Из полиэтиленовых липких лент

Из полиэтиленовых липких лент

Полимерно-битумная лента типа ЛИТКОР, Полилен 40-ЛИ-45 (на прямых участках)

9

Из полиэтиленовых липких лент

ПАП-М 105

Полимерно-битумная лента типа ЛИТКОР

Покрытие должно хорошо прилипать к поверхности трубы и к основному мастичному покрытию. Адгезия покрытия на сдвиг должна составлять не менее 5,0 кгс/см2. Нижний и верхний слои покрытия должны быть сплавлены между собой, между слоями не должно быть пазух, вздутий и расслоений. Покрытие должно быть сплошным, без пропусков и прожогов.

3.10.37 Для подплавления мастичного слоя ленты типа ЛИТКОР и Изопласта-П необходимо применять паяльные лампы либо газовые горелки, работающие от пропановых баллонов типа БП-3-50 емкостью 50 л, оснащенных регулятором давления (редуктором) типа БПО-5-3.

3.10.38 Изоляция стыков, отводов, углов поворотов, мест врезок и заглушек трубопроводов, построенных из труб с различными видами покрытий, должна выполняться универсальной полимерно-битумной лентой типа ЛИТКОР, а также полиэтиленовой лентой Полилен 40-ЛИ-45, или битумно-полимерной мастикой, армированной Бризолом. Технологии изоляционных работ аналогичны приведенным в п.п. 3.10.16, 3.10.22, 3.10.30 и 3.10.31. Участки стыковки трубопроводов с различными видами покрытий должны выполняться материалами, приведенными в табл. 3.10.3.

3.11 СКЛАДИРОВАНИЕ И ТРАНСПОРТИРОВКА ИЗОЛИРОВАННЫХ ТРУБ И РЕЗЕРВУАРОВ СУГ

3.11.1 При складировании изолированных труб и резервуаров, а также их транспортировании к местам строительства следует принимать меры для предохранения защитного покрытия от повреждения и учитывать требования «Инструкции по хранению, погрузке, транспортировке и разгрузке изолированных труб» (Сборник руководящих материалов по защите городских подземных трубопроводов от коррозии. М., «Недра», 1987 г.).

3.11.2 Поднимать, перемещать и опускать изолированные трубы и резервуары необходимо с помощью механизмов вертикального транспорта (автомобильных или башенных кранов) с надежными захватными приспособлениями. Не допускается применение канатов, цепей и других грузозахватных устройств, которые могут повредить покрытие.

Башенные краны применяются при разгрузке с трубоизоляционных устройств, складировании и погрузке изолированных труб на автомобильный транспорт.

Автомобильные краны применяются при разгрузке изолированных труб на местах сооружения трубопроводов, а также на погрузке и разгрузке труб в железнодорожный транспорт.

3.11.3 Разгрузка изолированных труб на местах строительства трубопроводов должна производиться с применением мягких полотенец, капроновых кольцевых стропов или стальных стропов с торцевыми захватами.

3.11.4 Трубы с покрытием на трассе или строительной площадке должны укладываться на инвентарные прокладки, обеспечивающие сохранность покрытия. Укладывать изолированные трубы непосредственно на землю запрещается.

3.11.5 Участок трубопровода опускают в траншею при помощи мягких полотенец, плавно без ударов труб о стенки траншеи на постель из мягкого грунта. Освобождать полотенца из-под трубы следует без рывков после проверки правильности укладки трубопровода в траншею.

3.11.6 Транспортирование изолированных труб должно производиться в железнодорожных полувагонах или автомобильным транспортом, оборудованным турникетными кониками и комплектуемым прицепами-роспусками, на которых также установлены турникетные коники с резиновыми прокладками, предохраняющими покрытие от повреждений.

3.11.7 Размещение и крепление изолированных труб в полувагонах должно производиться в соответствии с требованиями «Технических условий погрузки и крепления грузов» МПС и действующей на предприятии-изготовителе документации, согласованной с МПС.

3.11.8 Погрузочно-разгрузочные работы и хранение труб и резервуаров СУГ должны производиться в условиях, предотвращающих повреждение покрытия. Сбрасывание труб и резервуаров с автомобилей при их разгрузке не допускается.

3.11.9 Допустимая температура окружающей среды при хранении, транспортировке, погрузке и разгрузке изолированных труб зависит от материала, из которого изготовлено покрытие, и отражена в ТУ на трубы с конкретным видом покрытия.

3.11.10 При длительном (более 0,5 года) хранении труб с покрытием и изолированных резервуаров СУГ рекомендуется не допускать попадания на них прямых солнечных лучей.

3.11.11 При складировании изолированных труб должны выполняться следующие требования:

- трубы с покрытием должны храниться на стеллажах оборудованных поперечными вертикальными упорами, исключающими самопроизвольное скатывание труб. Нижний ряд труб должен укладываться на ложементы;

- высота штабеля для труб с мастичным битумным покрытием не должна превышать 2 м;

- высота штабеля для труб с полимерными покрытиями (из экструдированного полиэтилена, ленточно-полиэтиленовым, из полиэтиленовых липких лент) не должна превышать 3 м;

- расстояние между штабелями должно обеспечивать проезд трубовоза и работу крана;

- площадка для складирования должна быть горизонтальной.

3.11.12 При складировании труб запрещается:

- укладывать в один штабель трубы разного диаметра;

- складировать вместе изолированные и неизолированные трубы;

- укладывать трубы в наклонном положении с опиранием поверхности трубы на кромки нижележащих труб.

3.12 СПЕЦИАЛЬНЫЕ ТРЕБОВАНИЯ

3.12.1 К выполнению работ по нанесению на стыки трубопроводов покрытия из битумных мастик допускаются лица не моложе 18 лет, прошедшие медицинское освидетельствование, обучение и сдавшие экзамен в установленном порядке.

3.12.2 Каждый рабочий при допуске к работе получает Инструктаж по технике безопасности на рабочем месте с соответствующей распиской в журнале по проведению инструктажа.

3.12.3 Лица, работающие с оборудованием для подогрева изоляционных материалов (мастик, рулонных материалов) должны проходить обучение по программам пожарно-технического минимума со сдачей зачетов.

3.12.4 При выполнении работ по изоляции стыков и ремонту мест повреждений покрытия все работающие с горячими мастиками и грунтовками (праймером), содержащими токсичные и летучие огнеопасные вещества, должны быть проинструктированы об их свойствах и обучены безопасным методам и приемам работ по утвержденной на данном предприятии программе.

3.12.5 Рабочие, занятые приготовлением и нанесением мастичного слоя и праймера (грунтовки) должны работать в брезентовых рукавицах, фартуках и ботинках на толстой подошве.

3.12.6 При приготовлении праймера смешение битума с бензином должно производиться только деревянными мешалками на расстоянии не менее 10 м от места разогрева битума.

3.12.7 Емкости для хранения праймера должны иметь герметичные крышки. При вывинчивании пробок у бочек с праймером нельзя ударять молотком или другими металлическими предметами. Нельзя курить около емкостей и у мест приготовления и применения праймера.

3.12.8 Если в процессе работы был пролит бензин (или праймер), это место следует засыпать песком или землей. Воспламенившуюся мастику категорически запрещается тушить водой. Тушить ее следует, накрыв кошмой, песком, порошковыми или углекислотными огнетушителями.

3.12.9 При работе с наплавляемыми битумно-полимерными материалами следует соблюдать такие же меры безопасности, как при работе с расплавленными битумными мастиками: попадание их на кожу вызывает сильные и глубокие ожоги. По степени воздействия пары битума относятся к IV классу опасности.

3.12.10 Лица, занятые в производстве изоляционных работ с применением праймера, битумных мастик и газовых горелок, должны быть обеспечены спецодеждой и средствами индивидуальной защиты в соответствии с типовыми нормами, утвержденными Госкомитетом по труду и социальным вопросам и ГОСТ 12.04.011-89.

3.12.11 Оборудование для подплавления рулонных битумно-полимерных материалов (газовые горелки с баллонами, паяльные лампы и др.) не допускается использовать с неисправностями, способными привести к пожару.

- Запрещается пользоваться шлангами, длина которых более 30 м.

- Запрещается использовать одежду и рукавицы со следами масел и бензина.

- Запрещается допускать к самостоятельной работе учеников и работников, не имеющих квалификационного удостоверения и талона по технике пожарной безопасности.

При эксплуатации пропановых баллонов с редуктором БПО-5-3 во время работ по подогреву изоляционных материалов, необходимо соблюдать правила безопасности в газовом хозяйстве, утвержденные Госгортехнадзором. Перед открытием вентиля баллона необходимо вывернуть регулирующий маховик до полного освобождения задающей пружины. Запрещается быстрое открытие вентиля баллона при подаче газа в редуктор. Присоединительные элементы редуктора и вентиля должны быть чистыми и не иметь никаких повреждений, следов масел и жиров.

3.12.12 При эксплуатации баллона с редуктором необходимо соблюдать Правила эксплуатации, изложенные в Паспорте на оборудование.

3.12.13 К месту работ баллоны должны доставляться на специальных тележках. Переноска баллонов на плечах и руках запрещается.

3.12.14 Баллоны с газом при хранении и эксплуатации должны быть защищены от действия солнечных лучей и других источников тепла. Расстояние от горелок (по горизонтали) до отдельных баллонов с пропаном должно быть не менее 5 м.

3.12.15 Паяльные лампы необходимо содержать в полной исправности и не реже 1 раза в месяц проверять их на прочность и герметичность. Каждая паяльная лампа должна иметь паспорт с результатами заводских гидроиспытаний.

3.12.16 Заправлять паяльные лампы горючим и разжигать их следует в специально отведенных для этих целей местах.

3.12.17 Во избежание взрыва паяльной лампы запрещается:

- применять в качестве горючего для ламп, работающих на керосине, бензин или смеси бензина с керосином;

- повышать давление в резервуаре лампы при накачке воздуха более допустимого рабочего давления, указанного в паспорте;

- заполнять лампу горючим более чем на 3/4 объема ее резервуара;

- отвертывать воздушный винт и наливную пробку, когда лампа горит или еще не остыла;

- ремонтировать лампу, а также выливать из нее или заправлять ее горючим вблизи открытого огня (в том числе, горящей спички, сигареты и т.п.).

3.12.18 Хранение в одном помещении баллонов с пропаном, а также битума, растворителей и рулонных материалов не допускается.

3.12.19 Спецодежда лиц, работающих с растворителями, должна храниться в подвешенном виде в металлических шкафах.

3.12.20 В местах приготовления и хранения грунтовок, праймера и исходных материалов не допускается курение и применение открытого огня.

3.12.21 В случае загорания рулонных битумных материалов и растворителей необходимо использовать при тушении углекислотные огнетушители, песок. Использование воды при тушении не допускается.

3.13 ПРИБОРЫ КОНТРОЛЯ КАЧЕСТВА ПОКРЫТИЙ ТРУБОПРОВОДОВ

3.13.1 Важнейшими параметрами противокоррозионных покрытий труб являются толщина, адгезия к поверхности трубы и физическая сплошность.

3.13.2 Измерение толщины различных типов диэлектрических покрытий осуществляют неразрушающим методом с применением толщиномеров:

- для покрытий с толщиной от 20 мкм до 2,0 мм - магнитного толщиномера МТ-41НЦ;

- для покрытий с толщиной 7,9 - 11,0 мм - устройства УКТ-1, которое может быть использовано как в базовых, так и в полевых условиях вместо применяемых ранее для этих целей МТ-230Н и МТ-32Н;

- для покрытий с толщиной до 10 мм;

- магнитного толщиномера МТ-2003И;

- вихретокового прибора ИТДП-П. Диапазон измеряемых толщин - в пределах от 0 до 10 мм с поддиапазонами: 0 ¸ 2 мм; 2 ¸ 5 мм; 5 ¸ 10 мм. Диапазон измерения выбирается автоматически;

- вихретокового прибора ИТ-1. Диапазон измеряемых толщин от 0 до 10 мм с поддиапазонами: 0 ¸ 3 мм; 0 ¸ 10 мм.

3.13.3 Для контроля физической сплошности покрытий, т.е. для обнаружения сквозных проколов и мест повреждения покрытия применяют искровые дефектоскопы.

Для проверки качества изоляции труб в условиях трубоизоляционных баз, а также в полевых условиях применяются искровые дефектоскопы преимущественно трех марок:

- ДКИ-1, имеющий выходное импульсное напряжение на поисковой штанге в диапазоне от 6 до 36 кВ. ДКИ-1 работает от системы батарей 12 В и может быть использован для контроля сплошности битумных, ленточных покрытий, а также покрытий из экструдированного полиэтилена;

- Крона-1р М отличается от ДКИ-1 наличием комплекта кольцевых щупов для различных диаметров труб. Максимальное напряжение на поисковой штанге 36 кВ;

- ДИСИ-1 предназначен для контроля сплошности полимерных и битумных покрытий в строительно-монтажных организациях и газовых хозяйствах. Напряжение питания 12 В. Преобразованное высокое импульсное напряжение на поисковой штанге 6, 12, 24 и 36 кВ.

3.13.4 Для измерения величины адгезии покрытий к поверхности трубы применяют адгезиметры:

- УКАП-1-100 для определения адгезии ленточных покрытий «на отслаивание» и мастичных покрытий «на сдвиг». Диапазон усилий отслаивания покрытий от 0,1 до 10 кгс;

- цифровой прибор АМЦ-2-20 на базе мини-ЭВМ может определять адгезию «на отслаивание» как ленточных покрытий, так и покрытий из экструдированного полиэтилена, фиксировать минимальное, максимальное и среднее интегральное значение величины адгезии. Прибор комплектуется универсальным захватом.

Таблица 3.13.1

Краткие технические характеристики приборов для обнаружения мест сквозных повреждений изоляционных покрытий подземных трубопроводов

№ п/п

Характеристики

АНПИ-3

ИПИТ-2

АНТПИ

КАОДИ

ТИСПИ

1

Максимально определяемая глубина заложения трубопровода, м

10

5

10

5

10

2

Напряжение питания генератора, В

12

12

12

10 ¸ 15

12

3

Радиус действия от места подключения генератора, м

500 ¸ 2000

1000 ¸ 2000

2000

³ 2000

500 ¸ 1000

4

Минимальная площадь определяемого повреждения, мм2

-

10 ¸ 25

0,25

0,25

0,25

5

Точность локализации повреждения, м

0,5

0,5

0,5

0,5

0,5

6

Масса, кг, не более

 

 

 

 

 

генератора

4,8

4,0

6,0

5,0

6,0

приемника

2,0

2,0

1,5

1,5

1,5

антенного устройства

-

2,5

-

0,4

-

7

Чувствительность приемника, мкВ, не хуже

50

-

4,5

2

4,5

8

Рабочие частоты генератора и приемника, Гц

 

 

 

 

 

F1

1000

1000

1024

1303

1024

F2

-

-

8192

163

8192

F3

-

-

-

100

-

Примечание:

Допускается использование других средств измерений и оборудования с аналогичными метрологическими характеристиками.

3.13.5 Для обнаружения мест сквозных повреждений изоляционных покрытий металлических трубопроводов, уложенных в грунт, предназначены:

- искатель повреждений изоляции трубопроводов - ИПИТ-2;

- аппаратура нахождения трасс и повреждений изоляции газопроводов - АНТПИ;

- комплект аппаратуры обнаружения дефектов изоляции - КАОДИ;

- искатель сквозных повреждений гидроизоляции металлических газопроводов - ТИСПИ-03;

- аппарат нахождения повреждений изоляции АНПИ-3.

Характеристики названных приборов приведены в табл. 3.13.1.

4 ЭЛЕКТРОХИМИЧЕСКАЯ ЗАЩИТА ТРУБОПРОВОДОВ

4.1 ОРГАНИЗАЦИЯ РАБОТ ПО ЭЛЕКТРОХИМИЧЕСКОЙ ЗАЩИТЕ

4.1.1 Организация работ по ЭХЗ включает:

- проектирование ЭХЗ (определение опасности коррозии, разработка и согласование проектной документации);

- строительно-монтажные работы;

- пуско-наладочные работы;

- приемку в эксплуатацию;

- эксплуатационный контроль работы ЭХЗ (проверка ее эффективности, степени защищенности трубопроводов, технические осмотры установок защиты, их текущий и капитальный ремонты).

4.2 ОПРЕДЕЛЕНИЕ ОПАСНОСТИ КОРРОЗИИ

Определение коррозионной агрессивности грунтов

4.2.1 Удельное электрическое сопротивление грунта определяют для выявления участков трассы с высокой коррозионной агрессивностью грунта, в пределах которых необходима ЭХЗ стальных трубопроводов, а также для расчета параметров катодной и гальванической (протекторной) защиты.

Удельное электрическое сопротивление грунта определяется в полевых и лабораторных условиях.

4.2.2 Удельное электрическое сопротивление грунта в полевых условиях определяют непосредственно на местности по трассе подземного трубопровода без отбора проб грунта. В качестве аппаратуры применяются измерители сопротивления типа Ф-416, М-416. Допускается применение других приборов.

В качестве электродов применяются стальные стержни длиной 250 - 350 мм и диаметром 15 - 20 мм. Конец электрода, забиваемый в землю, заточен конусом. На верхнем конце электрода предусматривается возможность подключения проводов, идущих к измерительным приборам. Перед проведением измерений поверхность электродов должна быть зачищена.

4.2.3 Измерение электрического сопротивления грунта производят по четырехэлектродной схеме (рис. 4.2.1). Электроды размещают на поверхности земли на одной прямой линии, которая для проектируемого трубопровода должна совпадать с осью трассы, а для уложенного в землю - проходить перпендикулярно или параллельно ему на расстоянии 2 - 4 м от оси трубы. Измерения выполняют через каждые 100 - 200 м в период, когда на глубине заложения трубопровода отсутствует промерзание грунта.

Глубина забивки электродов в грунт не должна быть более 1/20 расстояния между электродами. Расстояние между электродами принимается равным глубине прокладки подземного трубопровода.

4.2.4 Удельное электрическое сопротивление грунта r, Ом×м, определяют по формуле: r = 2pRa,

где R - измеренное по прибору сопротивление, Ом;

а - расстояние между электродами, м.

Результаты измерений и расчетов заносят в протокол (Приложение Е).

4.2.5 Для определения удельного электрического сопротивления грунта в лабораторных условиях необходимо произвести отбор и обработку проб испытываемого грунта.

Пробы грунта отбирают в шурфах, скважинах и траншеях из слоев, расположенных на глубине прокладки сооружения, с интервалами 50 - 200 м на расстоянии 0,5 - 0,7 м от боковой стенки трубы. Для пробы берут 1,5 - 2 кг грунта, удаляют твердые включения размером более 3 мм. Отобранную пробу помещают в полиэтиленовый пакет и снабжают паспортом, в котором указываются номера объекта, пробы, место и глубина отбора пробы.

4.2.6 Для определения коррозионной агрессивности грунта по отношению к стали в лабораторных условиях рекомендуется пользоваться методиками, изложенными в приложениях 1 и 2 ГОСТ 9.602-89*, или использовать специальные устройства и приборы, например, УЛПК-1, АКГК.

Приборы снабжены инструкцией по эксплуатации, ячейками, электродами, предназначенными для определения удельного электрического сопротивления грунта и средней плотности катодного тока, необходимого для смещения потенциала стали в грунте на 100 мВ отрицательнее потенциала коррозии.

Рис. 4.2.1 Схема определения удельного сопротивления грунта

1 - электрод; 2 - прибор.

4.2.7 Определение удельного электрического сопротивления грунта в лабораторных условиях проводится по 4-х-электродной схеме. Сущность метода в том, что внешние электроды с одинаковой площадью рабочей поверхности S поляризуют током определенной силы J и измеряют падение напряжения U на двух внутренних электродах при расстоянии l между ними. Сопротивление грунта R рассчитывают по формуле R = U/J. Удельное электрическое сопротивление грунта r, Ом×м, вычисляют по формуле r = R(S/l), где R - измеренное сопротивление, Ом; S - площадь поверхности рабочего электрода, м2; l - расстояние между внутренними электродами, м.

Внешние электроды представляют собой прямоугольные пластины (из углеродистой или нержавеющей стали) с ножкой, к которой крепится или припаивается проводник-токоподвод. Размеры электродов 44 ´ 40 мм, где 40 - высота электрода. Одну сторону электродов, которая примыкает к торцевой поверхности ячейки, изолируют.

Внутренние электроды изготавливают из медной проволоки или стержня диаметром 1 - 3 мм и длиной более высоты ячейки.

Ячейка прямоугольной формы из материала с диэлектрическими свойствами (стекло, фарфор, пластмасса). Внутренние размеры ячейки рекомендуются следующие: 100 ´ 45 ´ 45 мм.

Отобранную пробу песчаных грунтов смачивают до полного влагонасыщения, а глинистых - до достижения мягкопластичного состояния. Если уровень грунтовых вод ниже уровня отбора проб, смачивание проводят дистиллированной водой, а если выше - грунтовой водой. Электроды зачищают шкуркой шлифовальной (ГОСТ 6456-82) зернистостью 40 и меньше, обезжиривают ацетоном, промывают дистиллированной водой. Внешние электроды устанавливают вплотную к торцевым поверхностям внутри ячейки. В ячейку укладывают грунт, послойно утрамбовывая его, на высоту меньше высоты ячейки на 4 мм. Затем устанавливают внутренние электроды вертикально, опуская их до дна по центральной линии ячейки на расстоянии 50 мм друг от друга и 25 мм от торцевых стенок ячейки.

Измерения при определении удельного электрического сопротивления грунта производят в соответствии с инструкцией, прилагаемой к прибору.

Результат заносится в протокол (Приложение Ж).

4.2.8 При определении коррозионной агрессивности грунтов по отношению к стали по средней плотности катодного тока, необходимого для смещения потенциала стали в грунте на 100 мВ отрицательнее потенциала коррозии с помощью приборов по п. 4.2.6, предусмотрено автоматическое смещение потенциала от потенциала коррозии и поддержание его на заданном уровне в течение опыта.

Для проведения замеров используют ячейку из материала, обладающего диэлектрическими свойствами (стекло, фарфор, пластмасса и т.д.), объемом от 0,5 до 1,0 л высотой не менее 100 мм.

Рабочий электрод представляет собой прямоугольную пластину из стали Ст.3 толщиной 1,5 - 2 мм, размером 50 ´ 20 мм и рабочей поверхностью 10 см2. Вспомогательный электрод из стали Ст.3 или любой углеродистой стали, формой и размером такой же, как рабочий электрод. Электрод сравнения - м.с.э., хлоридсеребряный, каломельный.

Пробу грунта отбирают по пункту 4.2.5. Отобранную пробу загружают в ячейку, сохраняя естественную влажность грунта. Если при хранении проб после их отбора возможно изменение естественной влажности грунта, то необходимо определять влажность отобранной пробы по ГОСТ 5180-84. Для определения влажности грунта отбирают часть пробы (массой несколько единиц или десятков граммов), подготовленной по пункту 4.2.5, и взвешивают, находя массу m1, затем ее высушивают при t < 105 °С и снова взвешивают, находя массу m2. Влажность определяют по формуле: W = [(m1 - m2)/m1]×100 %. Перед проведением исследования вновь определяют влажность пробы грунта. Если влажность уменьшилась, то ее доводят до естественной влажности с помощью дистиллированной воды.

На дно ячейки насыпают на высоту 20 мм грунт и уплотняют. Устанавливают вертикально напротив друг друга рабочий и вспомогательный электроды. Электроды должны быть обращены друг к другу рабочими поверхностями, расстояние между ними 2 - 3 см. Далее грунт укладывают в ячейку послойно (один - три слоя) с последовательным трамбованием слоев, добиваясь максимально возможного уплотнения. Расстояние от верхней кромки рабочего электрода до поверхности грунта должно составлять 55 мм. Электрод сравнения устанавливают сверху ячейки в грунт, заглубляя его на 1,0 - 1,5 см.

Одним и тем же грунтом заполняют три ячейки и параллельно выполняют три измерения силы катодного тока Jк в каждой ячейке.

Если в ходе измерений значение Jк постоянно или уменьшается во времени, то длительность поляризации составляет 15 мин, в течение которых измеряют и записывают 3 - 4 значения Jк. Если сила тока во времени растет, то измеряют и записывают Jк 5 - 6 раз в течение 40 мин или в более короткий промежуток времени, если за период измерений сила тока превысит 2 ´ 10-4 А (200 мкА), что с учетом рабочей поверхности электрода 10 см2 характеризует высокую коррозионную агрессивность грунта.

Последнее значение силы тока в каждой ячейке берут для вычисления среднего арифметического значения силы катодного тока Jк.ср и последующего определения плотности катодного тока jк. Результаты измерения заносят в протокол (Приложение З).

Результаты определения коррозионной агрессивности грунтов заносятся в сводную ведомость (Приложение И).

Определение наличия блуждающих постоянных токов в земле

4.2.9 Определение наличия блуждающих постоянных токов по трассе проектируемого трубопровода при отсутствии проложенных подземных металлических сооружений следует проводить, измеряя разность потенциалов между двумя точками земли через каждые 1000 м по двум взаимно перпендикулярным направлениям при разносе измерительных электродов на 100 м. Схема измерении приведена на рис 4.2.2.

4.2.10 При наличии подземных металлических сооружений, проложенных вблизи трассы проектируемого трубопровода на расстоянии не более 100 м, определение наличия блуждающих токов осуществляется путем измерения разности потенциалов между существующим сооружением и землей с шагом измерений не более 200 м.

4.2.11 Для измерения напряжения и силы тока используют показывающие и регистрирующие приборы классом точности не хуже 1,5. Следует применять вольтметры с внутренним сопротивлением не менее 200 кОм на 1 В. Среди рекомендуемых приборов можно указать: ЭВ 2234, мультиметр цифровой специализированный модификации 43313.1, 43312.1, прибор для измерения параметров установок защиты от коррозии подземных металлических сооружений ПКИ-02.

4.2.12 При измерениях используют переносные медносульфатные электроды сравнения, которые подбирают так, чтобы разность потенциалов между двумя электродами по паспорту не превышала 10 мВ.

Переносный медносульфатный электрод сравнения (рис. 4.2.3) состоит из неметаллического полого корпуса с пористым дном и навинчивающейся крышкой с укрепленным в ней стержнем из красной меди. В корпус заливают насыщенный раствор медного купороса CuSO4×2О.

Рис. 4.2.2 Схема электрических измерений для обнаружения блуждающих токов в земле

1 - медносульфатные электроды сравнения; 2 - изолированные проводники; pV - вольтметр; l - расстояние между электродами сравнения.

При сборке переносных медносульфатных электродов необходимо:

- очистить медный стержень от загрязнений и окисных пленок либо механически (наждачной бумагой), либо травлением азотной кислотой. После травления стержень тщательно промыть дистиллированной или кипяченой водой. Попадание кислот в сосуд электрода недопустимо;

- залить электрод насыщенным раствором чистого медного купороса в дистиллированной или кипяченой воде с добавлением кристаллов купороса. Заливать электроды следует за сутки до начала измерений. После заливки все электроды установить в один сосуд (стеклянный или эмалированный) с насыщенным раствором медного купороса так, чтобы пористое дно электродов было полностью погружено в раствор.

4.2.13 Измерения в каждом пункте должны проводиться не менее 10 мин с непрерывной регистрацией или с ручной записью результатов через каждые 10 с.

В зоне влияния блуждающих токов трамвая с частотой движения 15 - 20 пар в 1 ч измерения необходимо производить в часы утренней или вечерней пиковой нагрузки электротранспорта.

В зоне влияния блуждающих токов электрифицированных железных дорог период измерения должен охватывать пусковые моменты и время прохождения электропоездов в обе стороны между двумя ближайшими станциями (платформами).

4.2.14 Если наибольший размах колебаний разности потенциалов (между наибольшим и наименьшим ее значениями) превышает 0,04 В, это характеризует наличие блуждающих токов (как в отсутствии, так и при наличии сооружений, проложенных вблизи трассы проектируемого трубопровода).

4.2.15 При измерениях в зоне действия блуждающих токов и амплитуде колебаний разности потенциалов, превышающей 0,5 В, в качестве электродов сравнения вместо м.с.э. могут быть использованы стальные электроды, аналогичные описанным в п. 4.2.2.

Рис. 4.2.3 Переносной медносульфатный электрод сравнения

1 - корпус; 2 - стержень из красной меди; 3 - крышка для крепления стержня; 4 - наконечник проводника; 5 - контактный зажим; 6 - полость, заполняемая насыщенным раствором сульфата меди; 7 - нижняя крышка; 8 - пористое дно.

Определение опасного влияния блуждающего постоянного тока

4.2.16 Опасное влияние блуждающего постоянного тока выявляют, определяя изменение потенциала трубопровода под действием блуждающего тока по отношению к стационарному потенциалу трубопровода. Измерения выполняются с шагом не более 200 м в городах и не более 500 м на линейных участках межпоселковых газопроводов при отсутствии отводов.

4.2.17 Измерения проводят в контрольно-измерительных пунктах, колодцах, шурфах или с поверхности земли. Переносные электроды сравнения устанавливают на дне колодца или шурфа или на поверхности земли на минимально возможном расстоянии (в плане) от трубопровода.

4.2.18 Для измерений используют вольтметры в соответствии с п. 4.2.11. Положительную клемму измерительного прибора присоединяют к сооружению, отрицательную - к электроду сравнения.

4.2.19. Режим измерений должен соответствовать условиям, изложенным в п. 4.2.13.

Результаты ручной записи измерений заносят в протокол (Приложение К).

В тех случаях, когда наибольший размах колебаний потенциала сооружения, измеряемого относительно м.с.э. (разность между наибольшим и наименьшим абсолютными значениями этого потенциала), не превышает 0,04 В, колебания потенциала не характеризуют опасного влияния блуждающих токов.

4.2.20 Стационарный потенциал трубопровода Uст следует определять при выключенных средствах ЭХЗ путем непрерывного измерения и регистрации разности потенциалов между трубопроводом и электродом сравнения в течение достаточно длительного времени - вплоть до выявления практически не изменяющегося во времени (в пределах 0,04 В) значения потенциала, относящегося к периоду перерыва в движении электрифицированного транспорта, когда блуждающий ток отсутствует, как правило, в ночное время суток. За стационарный потенциал трубопровода принимается среднее значение потенциала при различии измерявшихся значений не более чем на 40 мВ.

При отсутствии возможности измерить стационарный потенциал трубопровода его значение принимают равным - 0,7 В относительно м.с.э.

4.2.21 Разность между измеренным потенциалом трубопровода и его стационарным потенциалом определяется по формуле

DU = Uизм - Uст,

где Uизм - наименее отрицательная или наиболее положительная за период измерений разность потенциалов между сооружением и м.с.э.

Результат вычисления заносят в протокол (Приложение К).

В грунтах высокой коррозионной агрессивности влияние блуждающих токов признается опасным при наличии за период измерений положительного смещения потенциала; в грунтах средней и низкой коррозионной агрессивности опасным влияние блуждающего тока признается при суммарной продолжительности положительных смещений потенциала относительно стационарного потенциала за время измерений в пересчете на сутки более 4 мин/сутки.

Определение опасного влияния переменного тока

4.2.22 Зоны опасного влияния переменного тока определяют на участках стальных трубопроводов, на которых выявлены значения напряжения переменного тока между трубопроводом и м.с.э., превышающие 0,3 В.

4.2.23 Смещение потенциала трубопровода, вызываемое переменным током, измеряют на вспомогательном электроде (ВЭ) относительно переносного насыщенного м.с.э. до и после подключения ВЭ к трубопроводу через конденсатор емкостью 4 мкФ.

Примечание:

На участке трубопровода, обеспеченном ЭХЗ, измерения выполняют при отключенных средствах ЭХЗ.

Подготовку шурфа и установку ВЭ производят как в п. 4.7.14. Для измерений собирают схему, приведенную на рис. 4.2.4. Используют вольтметр с входным сопротивлением не менее 1 МОм. При наличии атмосферных осадков предусматривают меры против попадания влаги в грунт.

Измерения выполняют в такой последовательности:

Через 10 мин после установки ВЭ в грунт измеряют его стационарный потенциал относительно м.с.э.

Подключают ВЭ к трубопроводу по схеме рис. 4.2.4 и через 10 мин снимают первое показание вольтметра. Следующие показания непрерывно записывают в память соответствующего измерительного прибора (например, ПКИ-02) или снимают через каждые 10 с не менее 10 мин.

Среднее смещение потенциала ВЭ за период измерений определяют по компьютерной программе (например, используемой при камеральной работе с прибором ПКИ-02) или по формуле:

где SUi - сумма значений потенциала ВЭ, измеренных при подключении ВЭ к трубопроводу, мВ; Uст - стационарный потенциал ВЭ, мВ; m - общее число измерений.

Действие переменного тока признается опасным при среднем смещении потенциала в отрицательную сторону не менее, чем на 10 мВ, по отношению к стационарному потенциалу.

Результаты измерений оформляют в виде протокола (Приложение Л).

4.2.24 Для дополнительной оценки опасности коррозии стали под действием переменного тока измеряют силу переменного тока на ВЭ при подключении его к трубопроводу. Для этой цели в цепь ВЭ - конденсатор-трубопровод дополнительно включают амперметр переменного тока (8) с пределами измерений от 0,01 мА (1×10-5 А) (рис. 4.2.4). После подключения ВЭ к трубопроводу измеряют силу переменного тока в течение 10 мин через каждые 10 - 20 с с записью по форме Приложения М.

Среднюю плотность переменного тока j рассчитывают по формуле:

j = J/6,25, мА/см2,

где: J (мА) - среднее значение силы переменного тока за время измерений; 6,25 - площадь ВЭ, см.

Действие переменного тока признается опасным при средней плотности тока более 1 мА/см2 (10 А/м2).

При использовании мультиметров, позволяющих измерять напряжение и силу тока, допускается сначала измерить смещение потенциала ВЭ по п. 4.2.23, а затем, включив прибор в цепь в качестве амперметра, измерить силу переменного тока на ВЭ.

При наличии амперметра и вольтметра переменного тока одновременно измеряют основной и дополнительный критерии после подключения ВЭ к трубопроводу.

Рис. 4.2.4 Схема измерения смещения стационарного потенциала трубопровода под влиянием переменного тока

1 - трубопровод; 2 - датчик потенциала; 3 - переносный медносульфатный электрод сравнения; 4 - шурф; 5 - вольтметр постоянного тока; 6 - конденсатор; 7 - выключатель; 8 - амперметр переменного тока.

4.3 ПРОЕКТИРОВАНИЕ ЭЛЕКТРОХИМИЧЕСКОЙ ЗАЩИТЫ

Общие положения

4.3.1 ЭХЗ стальных подземных сооружений следует применять в соответствии с требованиями ГОСТ 9.602-89* и разд. 4.2 настоящей Инструкции.

ЭХЗ стальных вставок длиной не более 10 м на полиэтиленовых газопроводах на линейной части и участков соединений полиэтиленовых газопроводов со стальными вводами в дома (при наличии на вводе электроизолирующих соединений) разрешается не предусматривать. При этом засыпка траншеи в той ее части, где проложена стальная вставка, по всей глубине заменяется на песчаную.

Стальные газопроводы, реконструируемые методом санации с помощью полимерных материалов, подлежат защите на общих основаниях.

Стальные газопроводы, реконструируемые методом протяжки полиэтиленовых труб, подлежат защите на тех участках, где стальная труба необходима как защитный футляр (под автомобильными, железными дорогами и др.).

Стальные футляры трубопроводов под автомобильными дорогами, железнодорожными и трамвайными путями при бестраншейной прокладке (прокол, продавливание и другие технологии, разрешенные к применению) должны быть, как правило, защищены средствами ЭХЗ, при прокладке открытым способом - изоляционными покрытиями и ЭХЗ в соответствии с п.п. 2.1.3, 2.2.5, 2.2.7 - 2.2.9. В качестве футляров рекомендуется использовать трубы с внутренним защитным покрытием. При защите трубы и футляра средствами ЭХЗ труба и футляр соединяются через регулируемую перемычку.

4.3.2 Основанием для проектирования ЭХЗ новых трубопроводов являются данные о коррозионной агрессивности грунтов и наличии блуждающих токов (разд. 4.2 настоящей Инструкции). Основанием для проектирования ЭХЗ действующих трубопроводов являются данные о коррозионной агрессивности грунтов, наличии зон опасного влияния блуждающих постоянных токов и переменных токов (разд. 4.2), а также о коррозионных повреждениях трубопроводов.

Указанные данные могут быть получены в результате изысканий организации-разработчика проекта подземных сооружений, либо специализированной организации, привлекаемой на субподрядных началах. Проектирование ЭХЗ должно осуществляться также на основе технических условий, выдаваемых специализированными предприятиями по защите от коррозии или организациями, эксплуатирующими трубопроводы.

4.3.3 Объем измерений, выполняемых при определении коррозионной агрессивности грунтов, наличии блуждающих постоянных токов и переменных токов и зон их опасного влияния, определен в разд. 4.2 настоящей Инструкции.

4.3.4 В случае прокладки подземного сооружения на расстоянии до 300 м от путей рельсового транспорта, электрифицированного на постоянном токе, необходимо измерить потенциалы рельсов с целью определения возможности и выбора места подключения дренажной защиты.

4.3.5 При проектировании ЭХЗ трубопроводов в зоне действия ЭХЗ проложенных ранее сооружений необходимо получить данные от эксплуатирующих организаций о номинальных параметрах действующих установок ЭХЗ и о режимах их работы (значения силы тока и напряжения на выходе установок, радиусы действия ЭХЗ).

4.3.6 При разработке проекта согласовывают:

- подключение установок ЭХЗ к сетям переменного тока - с организациями, эксплуатирующими эти сети;

- размещение самих установок и элементов системы ЭХЗ (анодных заземлителей, гальванических анодов (протекторов), воздушных и кабельных линий, контрольно-измерительных пунктов) - с держателями геофонда, землепользователями и организациями, эксплуатирующими смежные подземные сооружения;

- выполнение работ с выходом на проезжую часть в крупных городах - с местными управлениями дорожного хозяйства и ГИБДД.

4.3.7 Исходным для проектирования ЭХЗ новых сооружений является ситуационный план в масштабе 1:2000 (иногда 1:1000) проектируемых и существующих подземных сооружений, а для действующих сооружений - их ситуационный план с выделением тех сооружений, для которых проектируется ЭХЗ.

Во всех случаях на плане должны быть указаны: диаметры сооружений; рельсовые сети электрифицированного транспорта; действующие установки ЭХЗ; точки подключения к рельсовым путям отсасывающих кабелей и существующих дренажных установок; данные о коррозионной агрессивности грунтов и зонах блуждающих токов.

4.3.8 В соответствии со СНиП 11-01-95 «Инструкция о порядке разработки, согласования, утверждения и составе проектной документации на строительство предприятий, зданий и сооружений» в состав проектной документации на ЭХЗ входят:

- ситуационный план по п. 4.3.7;

- рабочие чертежи с согласованиями по п. 4.3.6, включая рабочий план в масштабе 1:500;

- заключение специализированной организации о гидрогеологических условиях для проектирования глубинных заземлителей, включающее при необходимости геолого-геофизический разрез местности;

- спецификация оборудования;

- паспорт проекта;

- сметная документация;

- пояснительная записка.

Пояснительная записка содержит:

- основание для разработки проекта;

- характеристику защищаемых сооружений;

- сведения об источниках блуждающих токов;

- оценку коррозионной ситуации;

- обоснование выбора установок ЭХЗ (при отсутствии соответствующих указаний в технических условиях);

- количество и параметры установок ЭХЗ (сводная таблица);

- сведения о проведенных согласованиях и соответствии проекта требованиям ГОСТ, СНиП и другим нормативным документам;

- сведения о соответствии проекта рекомендациям по охране природы.

В паспорте проекта указываются его краткая техническая характеристика, состав проекта и технико-экономические показатели.

4.3.9 Проектом ЭХЗ должна быть предусмотрена установка стационарных контрольно-измерительных пунктов (КИПов) с интервалом не более 200 м в пределах поселения и не более 500 м вне пределов поселения.

В первую очередь такие КИПы устанавливаются:

- в пунктах подключения дренажного кабеля к трубопроводу;

- в концах заданных зон защиты;

- в местах максимального сближения трубопровода с анодным заземлителем.

Рекомендуется также установка КИПов:

- в местах пересечения трубопровода с рельсами электрифицированного транспорта;

- в местах пересечения трубопровода со смежными подземными сооружениями, не включенными в систему совместной ЭХЗ;

- у одного конца футляров длиной не более 20 м и у обоих концов футляров длиной более 20 м.

4.3.10 Сборочный чертеж КИПа на трубопроводе приведен в Альбоме 2 МГНП 01-99 «Узлы и детали электрозащиты инженерных сетей от коррозии» (АО институт «МосгазНИИпроект», М., 1999, стр. 67). Стационарный КИП оборудован стационарным медносульфатным электродом сравнения длительного действия с датчиком потенциала (вспомогательным электродом - ВЭ), для чего используют электроды типа ЭНЕС, ЭСН-МС. Измерительная шина (или проводник) от трубопровода, проводники от электрода сравнения и датчика потенциала выведены под ковер или в фальшколодец (рис. 4.3.1).

Конструкция и основные параметры электродов ЭНЕС и ЭСН-МС даны в Приложении Н.

4.3.11 Для дополнительного контроля действия ЭХЗ рекомендуется предусматривать установку индикаторов общей и (или) локальной коррозии на участках трубопровода с высокой коррозионной агрессивностью грунта при одновременном опасном влиянии блуждающих токов. Наиболее целесообразна установка индикаторов на КУ и в КИПах на концах зон защиты. Индикаторы рекомендуется устанавливать также на участках, где применяется смягченный критерий защищенности по п. 2.2.10.

Рис. 4.3.1 Устройство стационарного контрольно-измерительного пункта с медносульфатным электродом сравнения длительного действия

1 - трубопровод; 2 - контрольные проводники от трубопровода, электрода сравнения и датчика потенциалов; 3 - ковер; 4 - защитная трубка; 5 - электрод сравнения; 6 - датчик потенциала

Оценка опасности общей коррозии производится с помощью блока пластин-индикаторов (БПИ), а оценка опасности локальной коррозии - с помощью индикатора локальной коррозии (ИЛК) (Приложение О). В стационарных КИПах на электроде сравнения в качестве датчика потенциала (взамен датчика потенциала по п. 4.3.10) может быть использован блок пластин-индикаторов.

4.3.12 С целью обеспечения эффективности ЭХЗ трубопроводов в проекте должна быть предусмотрена установка электроизолирующих соединений (электроизолирующих фланцев, муфт, вставок, сгонов и др.), для газопроводов в соответствии со СНиП 11-01-95.

4.3.13 Установку электроизолирующих соединений следует предусматривать:

- на входе и выходе трубопровода из земли (на участках перехода подземного трубопровода в надземный разрешается вместо установки электроизолирующих соединений применять электрическую изоляцию трубопроводов от опор и конструкций изолирующими прокладками);

- на входе и выходе газопроводов из ГРП (ШРП);

- на вводе трубопроводов в здания, где возможен их электрический контакт с землей через заземленные металлические конструкции, инженерные коммуникации здания и нулевой провод электропроводки здания;

- на вводе трубопровода на объект, являющийся источником блуждающих токов;

- для электрической изоляции отдельных участков трубопровода от остального трубопровода.

4.3.14 Выбор способа ЭХЗ осуществляют следующим образом.

Катодную защиту применяют при опасности почвенной коррозии, при одновременной опасности почвенной коррозии и коррозии блуждающими постоянными токами и переменными токами, при опасности коррозии только переменными токами, а также в зонах опасности только блуждающих постоянных токов, если включением дренажей не удается обеспечить защиту трубопроводов.

Защиту поляризованными или усиленными дренажами применяют при наличии опасности только блуждающих токов для соответствующих участков сближения защищаемого трубопровода с рельсовой сетью электрифицированных на постоянном токе железных дорог или трамвая при устойчивых отрицательных потенциалах рельсов (или знакопеременных потенциалах рельсов трамвая).

Гальваническая защита - защита гальваническими анодами (протекторами) может применяться:

- в грунтах с удельным сопротивлением не более 50 Ом×м для отдельных участков трубопроводов небольшой протяженности, не имеющих электрических контактов с другими сооружениями, при отсутствии опасности блуждающих токов или при наличии опасности блуждающих токов, если вызываемое ими среднее смещение потенциала от стационарного не превышает +0,3 В (с применением вентильных устройств); для участков трубопроводов, электрически отсеченных от общей сети изолирующими соединениями, а также в случаях, когда расчетные защитные токи относительно малы (например, £ 1 А), или как дополнительное средство, когда действующие катодные станции не обеспечивают защиту отдельных участков трубопроводов;

- для защиты трубопроводов сжиженного газа.

4.3.15 Основные требования к преобразователям для катодной защиты и электродренажам:

1. Неавтоматические преобразователи для катодной и дренажной защиты должны иметь ручное плавное или ступенчатое регулирование выходных параметров по напряжению и току от 10 до 100 % номинальных значений.

2. Автоматические преобразователи для катодной и дренажной защиты должны обеспечивать стабильные потенциалы трубопроводов или токи защиты с погрешностью, не превышающей 2,5 % от заданного значения.

3. Коэффициент полезного действия преобразователей и усиленных электродренажей в номинальном режиме должен быть не менее 70 %.

4. Коэффициент мощности преобразователей и усиленных электродренажей в номинальном режиме должен быть не менее 0,7.

5. Уровень шума, создаваемый средствами катодной и электродренажной защиты, применяемых в городах и населенных пунктах, на всех частотах не должен превышать 60 дБ.

6. Технический ресурс преобразователей, усиленных и поляризованных электродренажей должен быть не менее 50000 ч.

7. Все новые средства ЭХЗ (преобразователи, усиленные и поляризованные дренажи) должны быть подвергнуты эксплуатационным испытаниям не менее одного года на соответствие вышеприведенным требованиям независимой экспертной комиссией по программам, согласованным с потребителем.

8. Коэффициент пульсации выходного напряжения преобразователей и усиленных дренажей определяется требованиями потребителя.

4.3.16 В качестве анодных заземлителей установок катодной защиты применяют железокремнистые, углеграфитовые, стальные и чугунные электроды, помещенные в большинстве случаев в коксовую засыпку.

Технико-экономический расчет анодных заземлений заключается в определении оптимальных конструктивных параметров и числа анодных заземлителей, обеспечивающих минимальные приведенные суммарные затраты (отнесенные к одному году эксплуатации).

Анодные заземлители следует размещать на максимально возможном удалении от защищаемого трубопровода и в грунтах с минимальным удельным электрическим сопротивлением ниже уровня их промерзания.

4.3.17 Для гальванической защиты подземных сооружений рекомендуется использовать магниевые аноды (протекторы), обладающие наиболее отрицательным потенциалом (см. табл. 4.3.1).

Таблица 4.3.1

Технические данные магниевых гальванических анодов, упакованных с активатором

Тип анода

Габаритные размеры, мм

Масса (округленно), кг

диаметр

длина

ПМ-5У

165

580

16

ПМ-10У

200

700

30

ПМ-20У

270

710

60

Следует применять аноды, упакованные с активатором, который предохраняет анод от пассивации, обеспечивает равномерное распределение защитного тока и более равномерное растворение анодов.

Располагать гальванические аноды рекомендуется на расстоянии не менее 4 - 5 м от трубопровода.

4.3.18 В проектах ЭХЗ прямые нерегулируемые перемычки предусматриваются только для соединения металлических коммуникаций одинакового назначения.

В случае прокладки трубопроводов в одной траншее или в разных траншеях с разносом не более 5 м допускается предусматривать электроперемычки из изолированных стальных полос (с изоляцией не хуже изоляции газопровода). Разъемные соединения должны быть выведены под люк.

В случае расстояния между трубопроводами свыше 5 м электроперемычки следует предусматривать кабелем, имеющим общее сечение жил не менее 50 мм2 по меди. Присоединение кабелей к трубопроводам выполняется через контактные устройства.

Примечание:

При установке электроизолирующих соединений (ЭИС) на надземных участках газопроводов у ГРС, ГРП, ШРП следует устанавливать обводные электроперемычки, присоединяя их перед ЭИС на входе газопровода и после ЭИС на выходе газопровода. Сечение электроперемычек должно быть не менее 50 мм2 по меди (400 мм2 по стали). Если газопровод после ГРП (ШРП) выполняется надземным (по стенам, опорам, эстакадам), обводная электроперемычка не предусматривается.

В проектах совместной защиты различных подземных сооружений предусматривается система поляризованных (или вентильных) и регулируемых перемычек для подключения сооружений. Поляризованные и регулируемые электроперемычки применяются для включения в систему защиты сооружения, отличающегося от основного защищаемого сооружения продольной проводимостью и состоянием изоляционного покрытия, например, водопровода или теплопровода к электрозащитной установке или к газопроводу.

Проектирование ЭХЗ вновь прокладываемых трубопроводов

4.3.19 Проектирование ЭХЗ вновь прокладываемых подземных трубопроводов осуществляется одновременно с проектированием трубопроводов.

4.3.20 Объемы измерений, выполняемых при определении коррозионной агрессивности грунтов, наличия блуждающих постоянных токов и переменных токов и зон их опасного влияния, определяются в соответствии с разд. 4.2, объем дополнительных данных - по п.п. 4.3.4 настоящей Инструкции.

4.3.21 Параметры системы ЭХЗ определяются расчетным путем. При основных расчетах должны быть определены количество, параметры и места расположения катодных станций, электродренажных установок, гальванических анодов (протекторов) и анодных заземлителей.

4.3.22 Расчет ЭХЗ может проводиться по ведомственным и региональным методикам, основанным на статистическом материале (например, о защитных плотностях тока), собранном эксплуатационными и проектными организациями.

4.3.23. Расчет ЭХЗ при совместной защите сооружений различного назначения может проводиться по методике, приведенной в Приложении П. Методика основана на вычислении средней плотности защитного тока для всех сооружений на данной территории с учетом площади поверхности сооружений каждого типа, площади территории и среднего удельного сопротивления грунта и наиболее пригодна при низких или невысоких сопротивлениях изоляции и (или) значительных утечках защитного тока на посторонние (не защищенные) сооружения. При использовании данной методики радиус действия и ток одной установки вычисляют по формулам (13) и (11) Приложения П. В Приложении П приведен также конкретный пример расчета совместной ЭХЗ.

4.3.24 Расчет ЭХЗ сети трубопроводов может проводиться также на персональном компьютере по программе АРМ ЭХЗ-6П, основанной на решении общей математической задачи о распределении суммарного потенциала по трубам сети. Путем решения задачи «Оптимальная система ЭХЗ» при заданных характеристиках сети, количестве и размещении катодных станций, анодных заземлений и дренажей программа подбирает, в частности, оптимальные (минимальные) токи катодной защиты, обеспечивающие защитные суммарные потенциалы по всей сети. Путем решения задачи «Потенциал при заданных токах» программа при заданных характеристиках сети, количестве и заданных токах катодных станций, количестве и размещении анодных заземлителей и электродренажей программа вычисляет распределение суммарного потенциала по сети, которое может быть сопоставлено с необходимым - с последующим внесением нужных изменений в систему ЭХЗ. После решения указанных основных задач программа подбирает типы выпускаемых катодных станций и необходимые характеристики других устройств системы ЭХЗ. В число вводимых исходных данных входят для каждого участка сети значения удельного сопротивления грунта и принятые или экспериментально определенные значения сопротивления изоляции трубопровода.

Информация о программе АРМ ЭХЗ-6П, а также пример расчета по этой программе приведены в Приложении Р.

4.3.25 Расчет анодных заземлений системы ЭХЗ производят с учетом п. 4.3.17, исходя из необходимого тока катодной защиты и геолого-геофизического разреза грунта на местности, полученного методом вертикального электрического зондирования и отражающего строение грунта, толщины и удельные сопротивления его слоев. Указанные характеристики грунта вместе с типом, размерами и количеством анодных заземлителей определяют сопротивление растеканию тока анодного заземления, а сила тока и характеристики самого заземления - срок его службы.

4.3.26 Расчет одиночных вертикальных и горизонтальных заземлителей в однородном и двухслойном грунте, однорядных групповых заземлений из вертикальных заземлителей в однородном грунте и (с определенными ограничениями) в двухслойном грунте можно производить на персональном компьютере по программе CAG. Информация о программе CAG и пример ее использования приведены в Приложении С.

4.3.27 Расчет одиночных вертикальных заземлителей (в первую очередь, глубинных) в многослойном грунте с числом слоев от 3 до 12 может производиться на персональном компьютере по программе MLG-2. Информация о программе MLG-2 и пример ее использования приведены в Приложении Т.

4.3.28 При использовании программы АРМ ЭХЗ-6П расчет анодного заземления из вертикальных или горизонтальных заземлителей в однородном грунте производится самой программой после расчета и выбора системы катодной защиты.

4.3.29 Расчет защиты гальваническими анодами (протекторами) может проводиться также по методике, приведенной в Приложении У. Расчет дренажной защиты может производиться по методике, приведенной в Приложении Ф.

4.3.30 Расчет гальванической (протекторной) защиты может быть также проведен на персональном компьютере по программе АРМ ЭХЗ-6П (Приложение Р). Если в процессе расчета катодной защиты необходимые защитные токи оказываются малыми (например, 0,2 - 0,5 А), программа сама предлагает проектировщику выбрать гальваническую (протекторную) защиту, и если такой выбор подтвержден, производит ее расчет.

Проектирование ЭХЗ действующих трубопроводов

4.3.31 Проектирование ЭХЗ действующих трубопроводов осуществляется в соответствии с Общими положениями п.п. 4.3.1 - 4.3.18 данной Инструкции.

4.3.32 Методики расчета ЭХЗ проектируемых трубопроводов (пп. 4.3.19 - 4.3.30) могут быть применены и для действующих трубопроводов. Однако в данном случае более надежен метод опытного включения. Выбор параметров поляризованного дренажа осуществляется, как правило, методом опытного включения.

4.3.33 В результате опытного включения устанавливают тип ЭХЗ (дренажная или катодная) и основные ее параметры, а также пункты присоединения дренажных кабелей к подземным сооружениям и источникам блуждающих токов или места установки анодных заземлений; зону действия защиты; характер влияния защиты на смежные сооружения, необходимость и возможность осуществления совместной защиты.

4.3.34 Объем измерений, выполняемых при опытном включении, определяется организацией, проектирующей защиту. Порядок измерений излагается в программе, составленной перед началом работ, в которой указываются режимы работы защиты при опытном включении, пункты измерений на трубопроводах и смежных сооружениях, продолжительность измерений в каждом пункте с указанием размещения измерительных приборов.

4.3.35 Измерения потенциалов смежных сооружений в период опытного включения установок ЭХЗ, как правило, выполняются организациями, эксплуатирующими эти сооружения. В отдельных случаях эти работы выполняются организацией, проектирующей защиту, в присутствии представителей эксплуатационных организаций, в ведении которых находятся смежные сооружения.

4.3.36 При испытаниях установок ЭХЗ должны быть приняты меры по исключению их вредного влияния на смежные сооружения.

4.3.37 Вредное влияние защиты на смежные подземные металлические сооружения может быть устранено уменьшением тока защиты; регулировкой режима работы защиты на смежных сооружениях (если они оснащены ЭХЗ); включением смежных сооружений в систему совместной защиты.

4.3.38 Для опытного включения при отсутствии передвижных лабораторий можно использовать выпускаемые электродренажные установки и катодные станции.

4.3.39 При дренажной защите от блуждающих токов точка подключения кабеля к трубопроводу выбирается на таком участке, где средние значения положительных потенциалов трубопровода по отношению к земле максимальны.

Кроме того, пункт подключения дренажных кабелей к трубопроводу выбирается с учетом наименьшего расстояния от пункта присоединения к источнику блуждающих токов (рельсам, дроссель-трансформаторам, отсасывающим пунктам, тяговым подстанциям), возможности доступа к трубопроводу без вскрытия.

При возможности выбора нескольких мест присоединения предпочтение отдают участкам сетей с наибольшими диаметрами при прочих равных условиях.

4.3.40 Не допускается непосредственное присоединение установок дренажной защиты к отрицательным шинам тяговых станций трамвая, а также к сборке отрицательных линий этих подстанций. Не допускается присоединять усиленный дренаж в анодных зонах рельсовой сети, а также к рельсам деповских путей.

4.3.41 Подключение усиленного дренажа к рельсовым путям электрифицированных железных дорог не должно приводить в часы интенсивного движения поездов к тому, чтобы в отсасывающем пункте появлялись устойчивые положительные потенциалы.

4.3.42 Поляризованные и усиленные дренажи, подключаемые к рельсовым путям электрифицированных железных дорог с автоблокировкой, не должны нарушать нормальную работу рельсовых цепей системы централизованной блокировки во всех режимах.

Места и условия подключения поляризованных и усиленных дренажей согласовываются с соответствующими службами МПС.

4.3.43 Среднечасовой ток всех установок дренажной защиты, подключенных к рельсовому пути или сборке отрицательных питающих линий тяговой подстанции магистральных участков электрифицированных дорог постоянного тока, не должен превышать 25 % общей нагрузки данной тяговой подстанции.

4.3.44 При опытном включении в качестве дренажного кабеля можно использовать шланговые кабели сечением 16 - 120 мм2.

4.3.45 При присоединении дренажного кабеля к трубопроводу и элементам отсасывающей сети электротранспорта должен быть обеспечен надежный электрический контакт путем плотного скрепления контактирующих поверхностей.

Присоединение к рельсам трамвая и железных дорог может выполняться при помощи специальной струбцины, обжимающей подошву рельса, или болтовых соединений. В случае сварных стыков используются отверстия, имеющиеся в шейках рельсов.

Подключение дренажного кабеля к отсасывающему пункту, сборке отсасывающих кабелей и средней точке путевого дросселя выполняется с использованием существующего болтового соединения с применением дополнительной гайки.

4.3.46 На опытное включение дренажной установки должно быть получено разрешение транспортного ведомства. Представитель ведомства при опытном включении присоединяет дренажный кабель к сооружениям источников блуждающих токов.

4.3.47 Продолжительность работы опытной дренажной защиты зависит от местных условий и составляет от нескольких десятков минут до нескольких часов. При этом, как правило, должен быть охвачен период максимальных нагрузок электротранспорта.

4.3.48 Измерение тока дренажа, потенциалов защищаемого трубопровода, смежных подземных сооружений и рельсов электротранспорта производят в соответствии с режимами работы защиты, намеченными программой.

4.3.49 Если в результате измерений установлено, что зона эффективного действия поляризованной дренажной установки не распространяется на весь район выявленной опасности, пункт дренирования перемещают или включают одновременно несколько дренажных установок в различных пунктах.

При недостаточной эффективности принятых мер проводят опытное включение усиленных дренажных установок или комплекса дренажных установок с катодной станцией. В последнем случае опытное включение катодной станции проводят после окончательного выбора параметров дренажных установок.

4.3.50 При опытном включении катодной защиты для установки временных заземлений, как правило, выбирают участки, на которых впоследствии предполагается разместить и стационарные заземления.

4.3.51 Временное анодное заземление представляет собой ряд металлических электродов, помещенных вертикально в грунт на расстоянии 2 - 3 м друг от друга в 1 или 2 ряда. В качестве электродов обычно применяет некондиционные трубы диаметром 25 - 50 мм и длиной 1,5 - 2 м, забитые в землю на глубину 1 - 1,5 м.

4.3.52 Анодное заземление следует относить от подземных сооружений на максимально возможное расстояние. В отдельных случаях при отсутствии достаточной площади для размещения анодного заземления применяют заземления, состоящие из двух и более групп электродов, расположенных на отдельных участках, группы электродов соединяют между собой кабелем либо индивидуально подключают к катодной станции.

Для обеспечения эффективности катодной защиты целесообразно выбирать участки размещения анодных заземлений, на которых между защищаемыми трубопроводами и анодным заземлением отсутствуют прокладки других подземных металлических сооружений.

По возможности анодное заземление следует размещать на участках с минимальным удельным электрическим сопротивлением грунта и без дорожного покрытия (газоны, скверы, пойменные участки рек, прудов т.п.).

4.3.53 Как правило, при опытном включении катодной защиты определяют основной ее параметр - среднее значение силы тока в цепи ЭХЗ.

При составлении проекта остальные параметры защиты (сопротивление дренажного кабеля, сопротивление растеканию тока анодного заземления, напряжение на зажимах катодной станции или вольтодобавочного устройства усиленного электродренажа) рассчитывают либо выбирают с учетом технико-экономических показателей различных вариантов соотношения параметров.

4.3.54 Проектирование ЭХЗ подземных стальных трубопроводов, находившихся в коррозионно-опасных условиях более сроков, указанных в п. 2.1.6, осуществляется после проверки их технического состояния в соответствии с НТД и устранения выявленных дефектов.

Примечание:

В связи с тем, что при включении ЭХЗ возможно восстановление и отслаивание продуктов коррозии на поверхности трубопровода, длительно находившегося в эксплуатации, необходимо в течение 1-го года эксплуатации ЭХЗ осуществить проверку плотности (а по возможности и прочности) трубопровода и проверку изоляции «надтрассовым» методом.

4.4 ПРОИЗВОДСТВО СТРОИТЕЛЬНО-МОНТАЖНЫХ РАБОТ ПО ЭЛЕКТРОХИМИЧЕСКОЙ ЗАЩИТЕ

4.4.1 Перед началом строительства проект должен быть зарегистрирован Подрядчиком в организации, осуществляющей такую регистрацию.

Регистрирующая проект организация проверяет действительность на текущий момент согласований проекта, определяет соответствие предусмотренных проектом мероприятий возможностям и требованиям текущего периода, необходимость реализации проекта к моменту регистрации и наличие лицензии у Подрядчика.

Необходимые изменения, вносящиеся в проект на этой стадии, должны быть согласованы со всеми заинтересованными организациями, согласовавшими проект при его разработке, и новыми организациями, чьи интересы затрагиваются при внесении этих изменений в проект.

4.4.2 До начала строительно-монтажных работ строительная организация получает в соответствующих местных органах власти разрешение на производство работ, после чего вызывает на место производства работ представителей всех заинтересованных организаций, уточняет с их помощью наличие и местоположение в зоне производства работ подземных сооружений и коммуникаций, согласовывает с ними план производства работ.

От организации, чьи подземные сооружения или коммуникации находятся в непосредственной (до 5 м) близости к местам производства работ, должны быть получены письменные уведомления с привязками этих сооружений или коммуникаций и особыми требованиями к организации производства работ, если они имеются.

Примечание:

Местными органами власти может быть установлен и другой порядок организации подготовки к строительно-монтажным работам, в соответствии с которым Подрядчик получает уведомления непосредственно по месту размещения заинтересованных организаций. В этих случаях необходимость вызова их представителей на место производства работ определяется в момент получения уведомления.

4.4.3 Перед началом строительно-монтажных работ Подрядчик извещает о дате начала работ Заказчика, проектную организацию, организацию, осуществляющую технический надзор за строительством, и организацию, на обслуживание которой будут передаваться строящиеся защитные установки.

Сроки извещения о начале строительно-монтажных работ определяются указанными организациями.

4.4.4 Строительно-монтажные работы на объектах строительства установок ЭХЗ должны осуществляться по технологиям, предусмотренным проектами производства работ.

4.4.5 Строительство и монтаж узлов и деталей установок ЭХЗ рекомендуется осуществлять по типовым чертежам альбома МГНП 01-99 «Узлы и детали электрозащиты инженерных сетей от коррозии» АО института «МосгазНИИПроект».

Допускается строительство и монтаж отдельных узлов и деталей установок ЭХЗ по чертежам, разработанным специализированными проектными организациями (имеющими лицензии на выполнение конструкторских разработок) и согласованным с Заказчиком, эксплуатационной организацией и подрядными строительными организациями.

4.4.6 На каждом объекте строительства установок ЭХЗ Подрядчиком заводится журнал авторского и технического надзора, в который должны заносить свои замечания и сведения о контроле производства работ те организации, которые осуществляют технический надзор за строительством, авторский надзор и приемку отдельных узлов.

4.4.7 Отступления от проектных решений в процессе строительства допускаются после согласований с проектными организациями, эксплуатационными организациями и Заказчиками, а также с территориальными организациями - держателями геофонда, в случаях, когда отступления связаны с размещением подземных сооружений.

Если отступления затрагивают интересы других организаций, они должны быть предварительно с ними согласованы.

4.4.8 Приварку контактных устройств, электроперемычек и контрольных проводников к действующим трубопроводам осуществляют организации, которые эксплуатируют эти трубопроводы, по договорам с Подрядчиками.

Приварку контактных устройств, электроперемычек и контрольных проводников к строящимся трубопроводам осуществляют специализированные строительные организации, имеющие лицензии на производство сварочных работ на трубопроводах, и паспортированные сварщики.

Все работы, связанные с присоединениями дренажных кабелей к соответствующим устройствам сети электрифицированного транспорта, производят в соответствии с предписаниями эксплуатационных организаций (железных дорог и трамвая) и в присутствии представителей этих организаций.

4.4.9 Восстановление изоляционных покрытий на трубопроводах после приварки контактных устройств, электроперемычек или контрольных проводников осуществляют организации, которые эксплуатируют эти трубопроводы, или с их согласия специализированные организации, имеющие лицензии на производство изоляционных работ на действующих трубопроводах, по договорам с Подрядчиками.

4.4.10 Используемые в качестве стационарных медносульфатные электроды сравнения, например, типа ЭНЕС должны быть заполнены незамерзающим электролитом в соответствии с сертификатом качества.

Перед оборудованием контрольно-измерительных пунктов стационарными медно-сульфатными электродами сравнения необходимо проводить лабораторный предустановочный контроль последних, в процессе которого строительной организацией проверяется переходное сопротивление «электрод - влагонасыщенный песок».

С этой целью до начала измерений электроды выдерживают в нормальных климатических условиях не менее 3 ч.

Измерение переходного электрического сопротивления электродов производят по схеме, приведенной на рис. 4.4.1.

Кювету из нержавеющей стали или алюминия, размерами 30 ´ 30 ´ 10 см заполняют песком на высоту 9 см. Песок увлажняют до полного насыщения раствором NaCl с концентрацией 500 мг на 1 литр воды.

Электроды устанавливают поочередно на поверхность песка в средней части кюветы. Для создания надежного электролитического контакта ионообменной мембраны электрода с песком основание электродов следует обмазать указанным увлажненным песком, втерев его в защитную решетку на дне электрода.

Через 10 ± 1 мин после установки электродов в кювету измеряют переходное сопротивление электродов омметром (например, мультиметром 43313.1). Измерительные проводники от омметра присоединяют к электроду сравнения и кювете.

Переходное сопротивление «электрод - влагонасыщенный песок» должно быть не более 15 кОм.

Стационарный электрод сравнения с датчиком потенциала устанавливают в КИПе так, чтобы дно корпуса и датчик находились на уровне нижней образующей трубопровода и на расстоянии 100 мм от его боковой поверхности. При этом плоскость датчика должна быть перпендикулярна к оси трубопровода, а на боковой поверхности трубопровода не должно быть дефектов в изоляции.

Медносульфатные электроды сравнения после установки (так же, как контрольно-измерительные пункты, электроперемычки, контактные устройства, индикаторы коррозии и др.) необходимо засыпать вручную.

4.4.11 Технологический процесс монтажа контактных устройств, электроперемычек, контрольно-измерительных пунктов и анодных заземлителей должен осуществляться под пооперационным контролем представителей организаций, осуществляющих технический надзор за строительством ЭХЗ установок с оформлением соответствующих актов приемки.

Рис. 4.4.1 Схема измерения переходного электрического сопротивления электродов сравнения

1 - проверяемый электрод сравнения, 2 - омметр (мультиметр типа 43313.1); 3 - металлическая кювета, 4 - песок, увлажненный раствором NaCl в дистиллированной воде

4.4.12 Прокладка кабелей по стенам зданий и опорам, монтаж электрических щитков и подключения к действующим сетям электропитания должны осуществляться в соответствии с требованиями «Правил устройства электроустановок» (ПУЭ) Министерства топлива и энергетики Российской Федерации, «Правил эксплуатации электроустановок потребителей» (ПЭЭП) Главэнергонадзора России и «Правил техники безопасности при эксплуатации электроустановок потребителей» (ПТБЭЭП) Главэнергонадзора России. Условия присоединения к действующим сетям электропитания должны удовлетворять также техническим требованиям энергоснабжающей организации, полученным на стадии разработки проекта.

4.4.13 Прокладка кабелей в земле осуществляется в соответствии с требованиями ПУЭ. Засыпка уложенных в траншеи кабелей производится после их приемки представителем технического надзора с оформлением соответствующих актов.

4.4.14 Оборудование для установок ЭХЗ должно проходить предустановочный (предмонтажный) контроль на соответствие показателям качества с оформлением соответствующих актов. Предустановочный контроль выполняется Заказчиком или по договору с ним Подрядчиком или эксплуатационной организацией.

4.4.15 Проверка работоспособности и надежности преобразователей различных типов проводится согласно схеме рис. 4.4.2.

В качестве нагрузки могут быть использованы проволочные или ленточные сопротивления, в частности, намотанные на изолированную трубу.

Для каждого из испытываемых преобразователей величина нагрузочного сопротивления должна быть равна отношению номинального выходного напряжения к номинальному выходному току.

Все преобразователи проверяются в режиме ручного управления. С помощью ручки переменного резистора проверяются: возможность установки номинальных выходных параметров, диапазон регулирования выходного напряжения, значение которого должно меняться в пределах, указанных в паспорте.

При номинальном напряжении устанавливается номинальный ток и производится трехкратное отключение и включение питающего напряжения, затем проверяется работоспособность преобразователя при работе в номинальном режиме в течение не менее 1 ч.

Указанные выше испытания проводятся на обеих ступенях выходного напряжения преобразователя.

Рис. 4.4.2 Схема проверки работы преобразователя в ручном и автоматическом режимах

Номинальное выходное напряжение, В

R1, кОм ± 10 %

R2, кОм + 10 %

24

6,2

1,5

48

13

1,5

Затем автоматические преобразователи переводятся в режим автоматического поддержания разности потенциалов между трубопроводом и электродом сравнения. Согласно схеме к преобразователю подключается делитель напряжения на резисторах. Поочередно устанавливается заданная разность потенциалов 0,8; 2,0 и 3,5 В и измеряется разность потенциалов на клеммах блока управления. Измерения производятся прибором с входным сопротивлением не менее 200 кОм/В. Разница между значениями измеряемой и заданной разности потенциалов не должна превышать указанных в паспорте значений.

На преобразователи, не выдержавшие испытаний предустановочного контроля, составляется акт-рекламация, который предъявляется заводу-изготовителю.

4.4.16 Преобразователи установок ЭХЗ монтируются на соответствующих фундаментах или металлических каркасах, которые не должны иметь контактов с фундаментами или другими элементами зданий.

4.4.17 Корпуса преобразователей установок ЭХЗ во избежание поражения людей электрическим током должны быть заземлены или занулены в соответствии с требованиями «ПУЭ».

4.4.18 Монтаж установок гальванической (протекторной) защиты осуществляется в соответствии с требованиями «Инструкции по монтажу и эксплуатации протекторной защиты в условиях коммунального хозяйства» РДИ 204 РСФСР 3.11-82.

4.4.19 После завершения строительно-монтажных работ Подрядчиком составляется «Акт на приемку строительно-монтажных работ», который подписывается Заказчиком, Подрядчиком, представителями технического надзора и представителями проектной организации. Акт на приемку строительно-монтажных работ составляется на каждую установку в отдельности.

4.4.20 Исполнительные чертежи на построенные установки ЭХЗ составляются строительными организациями в процессе производства работ до засыпки кабельных прокладок и всех узлов, заверяются представителями Заказчика и эксплуатационных организаций, которым передаются установки, после проверки соответствия их проекту и на основании промеров и осмотров до засыпки.

4.4.21 Заверенные представителями Заказчиков и эксплуатационных организаций исполнительные чертежи строительными организациями должны сдаваться в территориальные геодезические организации - держатели геофонда, которые осуществляют их приемку после контрольных геодезических съемок в открытых траншеях и котлованах.

4.4.22 После завершения строительно-монтажных работ в полном объеме строительные организации передают Заказчикам для организации выполнения наладочных работ следующую документацию:

- Проект со всеми согласованиями отступлений от него, допущенными

в ходе строительно-монтажных работ                                                                     - 1 экз.

Исполнительные чертежи:                                                                                       - 1 экз.

масштаб 1:500 на кальке с отметкой о приемке их в геофонд и в копиях          - 3 экз.

- Журнал авторского и технического надзора                                                        - 1 экз.

- Справки от смежных организаций о выполнении работ в полном объеме,

если такие работы были предусмотрены проектами                                             - 1 экз.

- Технические паспорта на преобразователи, дренажные устройства

и сертификаты качества предприятий-изготовнтелей на гальванические

аноды (протекторы), анодные заземлители, медносульфатные электроды

сравнения и др. комплектующие изделия                                                               - 1 экз.

- Акты приемки электромонтажных работ                                                             - 1 экз.

- Акты приемки контактных устройств, электроперемычек, опорных и

контрольных пунктов                                                                                                - 1 экз.

- Акты приемки скрытых работ                                                                               - 1 экз.

- Акты проверки сопротивления растеканию контуров анодных заземлений   - 1 экз.

- Протоколы измерений сопротивления изоляции кабелей                                 - 1 экз.

- Протоколы измерений сопротивления петли «фаза-ноль» или

сопротивления защитного заземления                                                                    - 2 экз.

- Акты предустановочного контроля преобразователей                                       - 1 экз.

- Акты пневматических и электрических испытаний (заводских)

изолирующих фланцев                                                                                              - 1 экз.

- Справки о приемке установленных электроизолирующих соединений           - 1 экз.

- Справки о выполненном благоустройстве территорий, на которых

производились строительно-монтажные работы, от владельцев этих

территорий                                                                                                                 - 1 экз.

Рекомендуемые формы приемо-сдаточной документации приведены в Приложении X.

4.4.23 Указанная документация по поручению Заказчиков может передаваться сразу непосредственно эксплуатационным организациям в случаях, когда наладочные работы будут выполняться этими организациями.

4.4.24 После приемки документации от строительных организаций в полном объеме Заказчик заключает договора с энергоснабжающими организациями на пользование электроэнергией, составляет с ними акты разграничения балансовой принадлежности и ответственности за эксплуатацию линий электропитания и получает от местных органов Энергонадзора в установленном ими порядке разрешения на допуск установок ЭХЗ в эксплуатацию.

4.5 ПУСКО-НАЛАДОЧНЫЕ РАБОТЫ

4.5.1 Пуско-наладочные работы проводятся перед приемкой ЭХЗ и включают осмотр и проверку всех доступных элементов ЭХЗ и контроль потенциала трубопровода во всех пунктах измерений, указанных в проекте ЭХЗ.

Наладка установок ЭХЗ выполняется специализированными организациями, имеющими лицензию на выполнение этих работ.

4.5.2 Заказчик передает наладочной организации следующую документацию:

- Проектную документацию с согласованными в ходе строительства

изменениями в полном объеме                                                                          - 1 экз.

- Копии исполнительных чертежей на каждую установку                             - 1 экз.

- Акты приемки строительно-монтажных работ на каждую установку        - 1 экз.

- Акты допуска Энергонадзором электроустановок в эксплуатацию

на каждую установку передает заказчик                                                          - 1 экз.

4.5.3 В процессе наладочных работ преобразователи установок ЭХЗ должны пройти тщательный технический осмотр, проверку правильности всех внешних подключений и проверку плотности всех контактов. Выявленные в ходе осмотра и проверки недостатки устраняются работниками наладочных организаций, а выявленные неверные внешние подключения исправляются работниками строительно-монтажных организаций.

4.5.4 После проверки преобразователей производится осмотр и проверка всех элементов ЭХЗ. Все выявленные в ходе этой проверки дефекты устраняются строительно-монтажной организацией.

4.5.5 Установки ЭХЗ включаются в работу с токовыми нагрузками, соответствующими проектным параметрам, не менее чем за 72 часа до начала пуско-наладочных работ при обязательной проверке правильности внешних подключений.

4.5.6 О начале пуско-наладочных работ извещаются владельцы защищаемых сооружений, эксплуатационные организации, которым будут передаваться защитные установки, и владельцы смежных подземных коммуникаций.

4.5.7 На первом этапе наладочных работ производятся измерения потенциалов защищаемых сооружений при проектных режимах работы установок ЭХЗ.

4.5.8 Измерения производятся во всех пунктах измерений, предусмотренных проектом. Это пункты с наиболее высокими положительными и знакопеременными потенциалами, зафиксированными в ходе коррозионных изысканий; пункты в местах на трубопроводах, наиболее приближенных к источникам блуждающих токов, высоковольтным кабелям и линиям электропередач, а также наиболее удаленные и наиболее приближенные к анодным заземлителям.

4.5.9 Измерения должны производиться с использованием приборов и технологий, предусмотренных ГОСТом 9.602-89* и разд. 4.7 настоящей Инструкции.

4.5.10 Измерения при наладке дренажных защитных установок должны производиться приборами, обеспечивающими, по возможности, синхронные измерения потенциалов «труба-земля» и «рельс-земля» с длительностью записи не менее 1 ч.

4.5.11 Полученные результаты измерений первого этапа с учетом измерений на смежных коммуникациях анализируются, и принимаются решения по корректировке режимов работы установок защиты.

4.5.12 В случае необходимости изменения режимов работы ЭХЗ измерения повторяются во всех пунктах, находящихся в зонах действия защитных установок с измененными режимами работы.

4.5.13 Корректировка режимов работы ЭХЗ может производиться неоднократно до достижения желаемых результатов.

4.5.14 В конечном итоге на защитных установках должны быть установлены минимально возможные защитные токи, при которых на защищаемых сооружениях во всех пунктах измерений достигаются защитные потенциалы, по абсолютной величине не ниже минимально допустимых и не более максимально допустимых.

4.5.15 Окончательно установленные режимы работы защитных установок должны быть согласованы со всеми организациями, имеющими подземные сооружения в зонах действия налаживаемых установок, о чем они дают подтверждения в своих заключениях (справках).

4.5.16 В случаях, когда в ходе наладочных работ не удается достигнуть на защищаемых сооружениях требуемых защитных потенциалов во всех пунктах измерений, наладочная организация совместно с проектной и эксплуатационной организациями разрабатывает перечень необходимых дополнительных мероприятий и направляет их Заказчику для принятия соответствующих мер.

4.5.17 До реализации дополнительных мероприятий зона эффективной защиты подземных сооружений остается уменьшенной.

4.5.18 Завершаются наладочные работы оформлением технического отчета по наладке установок ЭХЗ, который должен включать: полные сведения о защищаемых и смежных подземных сооружениях; действующих источниках блуждающих токов; показателях коррозионной опасности; о построенных и ранее действующих (если такие имеются) установках ЭХЗ; установленных на сооружениях электроперемычках; действующих и вновь построенных КИПах; электроизолирующих соединениях; полную информацию о выполненных работах и их результатах; таблицу с окончательно установленными параметрами работы установок ЭХЗ; таблицу потенциалов защищаемых сооружений в установленных окончательно режимах работы установок ЭХЗ; справки (заключения) владельцев смежных сооружений; заключение по наладке установок ЭХЗ; рекомендации по дополнительным мероприятиям по защите подземных сооружений от коррозии.

4.5.19 Технический отчет по наладке должен быть согласован организацией по эксплуатации газового хозяйства в регионе или действующей по ее поручению специализированной организацией по защите от коррозии и организацией, координирующей по поручению местных властей работу по защите подземных сооружений в регионе (если такая имеется).

4.6 ПОРЯДОК ПРИЕМКИ И ВВОДА В ЭКСПЛУАТАЦИЮ УСТАНОВОК ЭЛЕКТРОХИМИЧЕСКОЙ ЗАЩИТЫ

4.6.1 Установки ЭХЗ вводятся в эксплуатацию после завершения пусконаладочных работ и испытания на стабильность в течение 72 ч.

4.6.2 Установки ЭХЗ принимает в эксплуатацию комиссия, в состав которой входят представители следующих организаций: Заказчика; проектной (по необходимости); строительной; эксплуатационной, на баланс которой будет передана построенная установка ЭХЗ; предприятия по защите от коррозии (службы защиты); местных органов Госгортехнадзора России (при необходимости), городских (сельских) электросетей.

4.6.3 Данные проверки готовности объектов к сдаче заказчик сообщает организациям, входящим в состав приемной комиссии, не менее чем за сутки.

4.6.4 Заказчик предъявляет приемной комиссии: проект на устройство ЭХЗ и документы, указанные в Приложении X.

4.6.5 После ознакомления с исполнительной документацией и с техническим отчетом о пусконаладочных работах приемная комиссия выборочно проверяет выполнение запроектированных работ, средств и узлов ЭХЗ, в том числе изолирующих фланцевых соединений, контрольно-измерительных пунктов, перемычек и других узлов, а также эффективность действия установок ЭХЗ. Для этого измеряют электрические параметры установок и потенциалы трубопровода на участках, где в соответствии с проектом зафиксирован минимальный и максимальный защитный потенциал, а при защите только от блуждающих постоянных токов предусмотрено отсутствие положительных потенциалов.

Установки ЭХЗ, не соответствующие проектным параметрам, не должны подлежать приемке.

4.6.6 Установку ЭХЗ вводят в эксплуатацию только после подписания комиссией акта о приемке.

В случае необходимости может быть осуществлена приемка ЭХЗ во временную эксплуатацию на незаконченном строительством трубопроводе.

После окончания строительства ЭХЗ подлежит повторной приемке в постоянную эксплуатацию.

4.6.7 При приемке ЭХЗ на подземных трубопроводах, пролежавших в грунтах высокой коррозионной агрессивности более 6 мес., а в зонах опасного влияния блуждающих токов - более 1 мес., необходимо проверить их техническое состояние в соответствии с НТД и при наличии повреждений установить сроки их устранения.

4.6.8 Каждой принятой установке ЭХЗ присваивают порядковый номер и заводят специальный паспорт установки, в который заносят все данные приемочных испытаний.

4.7 ЭКСПЛУАТАЦИЯ УСТАНОВОК ЭЛЕКТРОХИМИЧЕСКОЙ ЗАЩИТЫ

4.7.1 При эксплуатации установок ЭХЗ должны проводиться периодические технические осмотры и проверка эффективности их работы.

На каждой защитной установке необходимо иметь журнал контроля, в который заносятся результаты осмотра и измерений.

4.7.2 Обслуживание установок ЭХЗ в процессе эксплуатации должно осуществляться в соответствии с графиком технических осмотров и планово-предупредительных ремонтов. График технических осмотров и планово-предупредительных ремонтов должен включать определение видов и объемов осмотров и ремонтных работ, сроки их проведения, указания по организации учета и отчетности о выполненных работах.

Основное назначение работ - содержание установок ЭХЗ защиты в состоянии полной работоспособности, предупреждение их преждевременного износа и отказов в работе.

4.7.3 Технический осмотр включает:

- осмотр всех элементов установки с целью выявления внешних дефектов, проверку плотности контактов, исправности монтажа, отсутствия механических повреждений отдельных элементов, отсутствия подгаров и следов перегревов, отсутствия раскопок на трассе дренажных кабелей и анодных заземлений;

- проверку исправности предохранителей;

- очистку корпуса дренажного и катодного преобразователя, блока совместной защиты снаружи и внутри;

- измерение тока и напряжения на выходе преобразователя или между гальваническим анодом (протектором) и трубой;

- измерение поляризационного или суммарного потенциала трубопровода в точке подключения установки;

- производство записи в журнале установки о результатах выполненной работы.

4.7.4 Текущий ремонт включает:

- все работы по техническому осмотру;

- измерение сопротивления изоляции питающих кабелей;

- одну или две из указанных ниже работ по ремонту: линий питания (до 20 % протяженности), выпрямительного блока, блока управления, измерительного блока, корпуса установки и узлов крепления, дренажного кабеля (до 20 % протяженности), контактного устройства контура анодного заземления, контура анодного заземления (в объеме менее 20 %).

4.7.5 Капитальный ремонт включает:

- все работы по техническому осмотру;

- более двух ремонтных работ, перечисленных в пункте 4.7.4, либо ремонт в объеме более 20 % - линии питания, дренажного кабеля, контура анодного заземления.

4.7.6 Внеплановый ремонт - вид ремонта, вызванный отказом в работе оборудования и не предусмотренный годовым планом ремонта.

Отказ в работе оборудования должен быть зафиксирован аварийным актом, в котором указываются причины аварии и подлежащие устранению дефекты.

4.7.7 Рекомендуемые сроки проведения технических осмотров и планово-предупредительных ремонтов:

- технический осмотр - 2 раза в месяц для катодных, 4 раза в месяц - для дренажных установок и 1 раз в 6 месяцев - для установок гальванической защиты (при отсутствии средств телемеханического контроля). При наличии средств телемеханического контроля сроки проведения технических осмотров устанавливаются руководством эксплуатационной организации с учетом данных о надежности устройств телемеханики;

- текущий ремонт - 1 раз в год;

- капитальный ремонт - в зависимости от условий эксплуатации (ориентировочно 1 раз в 5 лет).

4.7.8 С целью оперативного выполнения внеплановых ремонтов и сокращения перерывов в работе ЭХЗ в организациях, эксплуатирующих устройства ЭХЗ, целесообразно иметь резервный фонд преобразователей для катодной и дренажной защиты из расчета 1 резервный преобразователь на 10 действующих.

4.7.9 При проверке параметров электродренажной защиты измеряют дренажный ток, устанавливают отсутствие тока в цепи дренажа при перемене полярности трубопровода относительно рельсов, определяют порог срабатывания дренажа (при наличии реле в цепи дренажа или цепи управления), а также сопротивление в цепи электродренажа.

4.7.10 При проверке параметров работы катодной станции измеряют ток катодной защиты, напряжение на выходных клеммах катодной станции и потенциал трубопровода на контактном устройстве.

4.7.11 При проверке параметров установки гальванической защиты измеряют:

1) силу тока в цепи гальванический анод (ГА) - защищаемое сооружение;

2) разность потенциалов между ГА и трубой;

3) потенциал трубопровода в точке присоединения ГА при подключенном ГА.

4.7.12 Эффективность ЭХЗ проверяют не реже, чем 2 раза в год (с интервалом не менее 4 месяцев), а также при изменении параметров работы установок ЭХЗ и при изменениях коррозионных условий, связанных с:

- прокладкой новых подземных сооружений;

- изменением конфигурации газовой и рельсовой сети в зоне действия защиты;

- установкой ЭХЗ на смежных коммуникациях.

4.7.13 Контроль эффективности ЭХЗ подземных стальных трубопроводов производится по поляризационному потенциалу или при отсутствии возможности его измерений - по суммарному потенциалу трубопровода в точке подключения установки ЭХЗ и на границах создаваемых ею зон защиты. Для подключения к трубопроводу могут быть использованы контрольно-измерительные пункты, вводы в здания и другие элементы трубопровода, доступные для производства измерений. На трубопроводе до места присоединения не должно быть фланцевых или электроизолирующих соединений, если на них не установлены электрические перемычки.

4.7.14 Поляризационный потенциал стальных трубопроводов измеряют на стационарных КИПах, оборудованных медносульфатным электродом сравнения длительного действия с датчиком потенциала - вспомогательным электродом (ВЭ, рис. 4.7.1), или на нестационарных КИПах с помощью переносного медносульфатного электрода сравнения с датчиком потенциала - вспомогательным электродом (ВЭ, рис. 4.7.2).

4.7.15 Для измерений поляризационного потенциала на нестационарных КИПах используют ВЭ и переносной медносульфатный электрод сравнения, устанавливаемые на время измерений в специальном шурфе.

Подготовку шурфа и установку ВЭ производят в следующем порядке:

В намеченном пункте измерений (где имеется возможность подключения к трубопроводу) с помощью трассоискателя или по привязкам на плане трассы трубопровода определяют месторасположение трубопровода.

Над трубопроводом или в максимальном приближении к нему в месте отсутствия дорожного покрытия делают шурф глубиной 300 - 350 мм и диаметром 180 - 200 мм.

Датчик (ВЭ) и переносной электрод сравнения следует устанавливать на расстоянии не менее 3h от трубок гидравлических затворов, конденсатосборников и контрольных трубок (h - расстояние от поверхности земли до верхней образующей трубопровода).

Перед установкой в грунт ВЭ зачищают шкуркой шлифовальной (ГОСТ 6456-82) зернистостью 40 и меньше и насухо протирают. Предварительно из взятой со дна шурфа части грунта, контактирующего с ВЭ, должны быть удалены твердые включения размером более 3 мм. На выровненное дно шурфа насыпают слой грунта толщиной 30 мм. Затем укладывают ВЭ рабочей поверхностью вниз и засыпают его грунтом до отметки 60 - 80 мм от дна шурфа. Грунт над ВЭ утрамбовывают с усилием 3 - 4 кг на площадь ВЭ. Сверху устанавливают переносной электрод сравнения и засыпают грунтом. Переносной электрод сравнения перед установкой подготавливают по п. 4.2.12. При наличии атмосферных осадков предусматривают меры против увлажнения грунта и попадания влаги в шурф.

Рис. 4.7.1 Схема измерения поляризационного потенциала на стационарных КИПах

1 -трубопровод; 2 - контрольные проводники; 3 - прибор типа 43313.1; 4 - стационарный медносульфатный электрод сравнения; 5 - датчик потенциала.

Примечание:

При использовании прибора типа ПКИ-02 проводник от трубопровода присоединяют к соответствующей клемме прибора.

Рис. 4.7.2 Схема измерения поляризационного потенциала на нестационарных КИПах

1 - трубопровод; 2 - датчик потенциала; 3 - переносный медносульфатный электрод сравнения; 4 - прибор типа 43313.1

Примечание:

При использовании прибора типа ПКИ-02 проводник от трубопровода присоединяют к соответствующей клемме прибора.

4.7.16 Для измерения поляризационного потенциала используют приборы с прерывателем тока (например, типа 43313.1 или ПКИ-02).

Прерыватель тока обеспечивает попеременное подключение ВЭ к трубопроводу и к измерительной цепи.

Измерения на стационарных и нестационарных КИПах производят следующим образом. К соответствующим клеммам приборов (рис. 4.7.1 и 4.7.2) присоединяют контрольные проводники от трубопровода, ВЭ и электрода сравнения; включают прибор. Через 10 мин после включения прибора измеряют потенциалы с записью результатов через каждые 10 с или при использовании прибора ПКИ-02 - с хранением в памяти прибора. Продолжительность измерений при отсутствии блуждающих токов не менее 10 мин. При наличии блуждающих токов продолжительность измерений принимается в соответствии с рекомендациями, изложенными в п. 4.2.13. Результаты измерений заносят в протокол (Приложение Ц).

Примечания:

1. Продолжительность измерений потенциала трубопровода в точке подключения установки защиты при ее техническом осмотре (см. п. 4.7.3) может составлять 5 мин.

2. Если на стационарном КИПе ВЭ постоянно подключен к катоднополяризуемому трубопроводу, то измерения поляризационного потенциала начинаются непосредственно после подключения прибора.

4.7.17 Среднее значение поляризационного потенциала Еср, В, вычисляют по формуле:

где SЕi - сумма измеренных n значений поляризационных потенциалов (В) за весь период измерений;

n - общее число измерений.

4.7.18 По окончании измерительных работ на нестационарном КИП и извлечения из шурфа электрода сравнения и ВЭ шурф засыпают грунтом. В целях обеспечения возможности повторных измерений в данной точке на плане прокладки трубопровода делают привязку пункта измерений.

4.7.19 Для определения эффективности ЭХЗ по суммарному потенциалу (включающему поляризационную и омическую составляющие) используют приборы типа ЭВ 2234, 43313.1, ПКИ-02. Переносные электроды сравнения устанавливают на поверхности земли на минимально возможном расстоянии (в плане) от трубопровода, в том числе на дне колодца. Режим измерений - по п. 4.7.15.

4.7.20 Среднее значение суммарного потенциала Ucp (В) вычисляют по формуле:

где SUi -сумма значений суммарного потенциала, n - общее число отсчетов.

Результаты измерений заносятся в сводный журнал (Приложение Ц), а также могут фиксироваться на картах-схемах подземных трубопроводов.

4.7.21 При защите по смягченному критерию защищенности минимальный (по абсолютной величине) защитный поляризационный потенциал определяется по формуле:

Еmin = Ест - 0,10 В,

где Ест - стационарный потенциал вспомогательного электрода (датчика потенциала).

Поляризационный потенциал измеряют в соответствии с п. 4.7.15.

Для определения Ест датчика (ВЭ) датчик отключают от трубы и через 10 мин после отключения измеряют его потенциал Е. Если измеренный потенциал отрицательнее - 0,55 В, то это значение принимается за Ест. Если измеренный потенциал по абсолютной величине равен или меньше 0,55 В, то принимается Ест = - 0,55 В. Значения Ест (измеренное и принятое) заносятся в протокол (Приложение Ц).

4.7.22 При обнаружении неэффективной работы установок катодной или дренажной защиты (сокращены зоны их действия, потенциалы отличаются от допустимых защитных) необходимо произвести регулирование режима работы установок ЭХЗ.

Если потенциал трубопровода на участке подключения гальванического анода (ГА) окажется меньше (по абсолютному значению) проектного или минимального защитного потенциала, необходимо проверить исправность соединительного провода между ГА и трубопроводом, мест припайки его к трубопроводу и ГА. Если соединительный провод и места припайки его окажутся исправными, а потенциал по абсолютному значению не увеличивается, то делают шурф на глубину закопки ГА для его осмотра и проверки наличия вокруг него засыпки (активатора).

4.7.23 Сопротивление растеканию тока анодного заземления следует измерять во всех случаях, когда режим работы катодной станции резко меняется, но не реже 1 раза в год.

Сопротивление растеканию тока анодного заземления определяют как частное от деления напряжения на выходе катодной установки на ее выходной ток или с помощью прибора М-416 и стальных электродов по схеме на рис. 4.7.3.

При длине анодного заземлителя lа.з, питающий электрод относят на расстояние b ³ 3lа.з измерительный электрод - на расстояние а ³ 2lа.з.

4.7.24 Сопротивление защитного заземления электроустановок измеряют не реже 1 раза в год. Схема измерения сопротивления растеканию тока защитного заземления приведена на рис. 4.7.3. Измерения следует производить в наиболее сухое время года.

Рис. 4.7.3 Измерение сопротивления растеканию тока анодного заземления

1 - анодные заземлители; 2 - контрольно-измерительный пункт; 3 - измерительный прибор; 4 - измерительный электрод; 5 - питающий электрод; 6 - дренажный провод.

4.7.25 Исправность электроизолирующих соединений проверяют не реже 1 раза в год. Для этой цели используют специальные сертифицированные индикаторы качества электроизолирующих соединений.

При отсутствии таких индикаторов измеряют падение напряжения на электроизолирующем соединении или синхронно потенциалы трубы по обеим сторонам электроизолирующего соединения. Измерение проводят при помощи двух милливольтметров. При исправном электроизолирующем соединении синхронное измерение показывает скачок потенциала.

В случае применения изолирующих вставок ЗАО «Экогаз» (г. Владимир), имеющих металлическую муфту, изолированную с обеих сторон от трубопровода, проверить их исправность можно определением сопротивлений муфты относительно каждой из сторон трубопровода с помощью мегомметра напряжением до 500 В. Сопротивление должно быть не менее 200 кОм.

Результаты проверки оформляют протоколами согласно Приложению Ч.

4.7.26 Если на действующей установке ЭХЗ в течение года наблюдалось 6 и более отказов в работе преобразователя, последний подлежит замене. Для определения возможности дальнейшего использования преобразователя необходимо провести его испытание в объеме, предусмотренном требованиями предустановочного контроля.

4.7.27 В случае если за время эксплуатации установки ЭХЗ общее количество отказов в ее работе превысит 12, необходимо провести обследование технического состояния трубопровода по всей длине защитной зоны.

4.7.28 Организации, осуществляющие эксплуатацию устройств ЭХЗ, должны ежегодно составлять отчет об отказах в их работе.

4.7.29 Суммарная продолжительность перерывов в работе установок ЭХЗ не должна превышать 14 суток в течение года.

В тех случаях, когда в зоне действия вышедшей из строя установки ЭХЗ защитный потенциал трубопровода обеспечивается соседними установками ЭХЗ (перекрывание зон защиты), то срок устранения неисправности определяется руководством эксплуатационной организации.

4.8 ЭКСПЛУАТАЦИОННЫЙ КОНТРОЛЬ СОСТОЯНИЯ ИЗОЛЯЦИИ И ОПАСНОСТИ КОРРОЗИИ ТРУБОПРОВОДОВ

4.8.1 Во всех шурфах, отрываемых при ремонте, реконструкции и ликвидации дефектов изоляции или коррозионных повреждений трубопровода, должны определяться коррозионное состояние металла и качество изоляционного покрытия.

4.8.2 При обнаружении коррозионного повреждения на действующем трубопроводе проводится обследование с целью выявления причины коррозии и разработки противокоррозионных мероприятий.

Форма акта обследования утверждается руководителем хозяйства, эксплуатирующего данный трубопровод. В акте должны быть отражены:

- год ввода в эксплуатацию данного участка трубопровода, диаметр трубопровода, толщина стенки, глубина укладки;

- тип и материал изоляционного покрытия;

- состояние покрытия (наличие повреждений);

- толщина, переходное сопротивление, адгезия покрытия;

- коррозионная агрессивность грунта;

- наличие опасного действия блуждающих токов;

- сведения о дате включения защиты и данные об имевших место отключениях ЭХЗ;

- данные измерения поляризационного потенциала трубы и потенциала трубы при выключенной защите;

- состояние наружной поверхности трубы вблизи места повреждения, наличие и характер продуктов коррозии, количество и размеры повреждений и их расположение по периметру трубы.

При обнаружении высокой коррозионной агрессивности грунта или опасного действия блуждающих токов при шурфовом обследовании следует дополнительно определить коррозионную агрессивность грунта и наличие опасного действия блуждающих токов на расстоянии около 50 м по обе стороны от места повреждения по трассе трубопровода.

В заключении должна быть указана причина коррозии и предложены противокоррозионные мероприятия.

Возможная форма акта приведена в Приложении Ш.

4.8.3 Определение опасного действия блуждающих токов (по пп. 4.2.16 - 4.2.24) на участках трубопроводов, ранее не требовавших ЭХЗ, проводится 1 раз в 2 года, а также при каждом изменении коррозионных условий.

4.8.4 Оценка коррозионной агрессивности грунтов (по п.п. 4.2.1 - 4.2.8) по трассе трубопроводов, ранее не требовавших ЭХЗ, проводится 1 раз в 5 лет, а также при каждом изменении коррозионных условий.

4.8.5 На участках трубопровода, где произошло коррозионное повреждение, после его ликвидации целесообразно предусмотреть установку индикаторов коррозии (п. 4.3.11 и Приложение О).

ПРИЛОЖЕНИЯ

Приложение А
(Справочное)

ПЕРЕЧЕНЬ
нормативных документов, на которые имеются ссылки в настоящей Инструкции

1. ГОСТ 9.602-89*. Единая система защиты от коррозии и старения. Сооружения подземные. Общие требования к защите от коррозии. С учетом Изм. № 1.

2. ГОСТ Р 51164-98. Трубопроводы стальные магистральные. Общие требования к защите от коррозии.

3. ГОСТ 16336-77*. Композиции полиэтилена для кабельной промышленности. Технические условия.

4. ГОСТ 16337-77* Е. Полиэтилен высокого давления. Технические условия.

5. ГОСТ 9812-74. Битумы нефтяные. Методы определения водонасыщаемости.

6. ГОСТ 11506-73*. Битумы нефтяные. Метод определения температуры размягчения по кольцу и шару.

7. ГОСТ 11501-78*. Битумы нефтяные. Метод определения глубины проникновения иглы.

8. ГОСТ 11505-75*. Битумы нефтяные. Метод определения растяжимости.

9. ГОСТ 15836-79. Мастика битумно-резиновая изоляционная.

10. ГОСТ 2678-94. Материалы рулонные кровельные и гидроизоляционные. Методы испытаний.

11. ГОСТ 19907-83. Ткани электроизоляционные из стеклянных крученых комплексных нитей.

12. ГОСТ 12.4.011-89. ССБТ. Средства защиты работающих. Общие требования и классификация.

13. ГОСТ 6709-72. Вода дистиллированная.

14. ГОСТ 19710-83Е. Этиленгликоль. Технические условия.

15. ГОСТ 4165-78. Медь сернокислая 5-водная. Технические условия.

16. ГОСТ 5080-84. Грунты. Методы лабораторного определения физических характеристик.

17. ГОСТ 6456-82. Шкурка шлифовальная бумажная. Технические условия.

18. Правила безопасности в газовом хозяйстве (ПБ 12-245-98). М.: НПООБТ, 1999 г.

19. СНиП 11-01-95. Инструкция о порядке разработки, согласования, утверждения и составе проектной документации на строительство предприятий, зданий и сооружений.

20. Правила устройства электроустановок (ПУЭ). 6-е издание. М.: ЗАО «Энерго», 2000 г.

21. Правила эксплуатации электроустановок потребителей (ПЭЭП) Главэнергонадзора России.

22. Правила техники безопасности при эксплуатации электроустановок потребителей (ПТБЭЭП) Главэнергонадзора России.

23. ТУ 1394-001-05111644-96. Трубы стальные с двухслойным покрытием из экструдированного полиэтилена.

24. ТУ 1390-003-01284695-00. Трубы стальные с наружным покрытием из экструдированного полиэтилена.

25. ТУ 1390-002-01284695-97. Трубы стальные с наружным покрытием из экструдированного полиэтилена.

26. ТУ 1390-002-01297858-96. Трубы стальные диаметром 89 - 530 мм с наружным антикоррозионным покрытием из экструдированного полиэтилена.

27. ТУ 1390-003-00154341-98. Трубы стальные электросварные и бесшовные с наружным двухслойным антикоррозионным покрытием на основе экструдированного полиэтилена.

28. ТУ 1390-005-01297858-98. Трубы стальные с наружным двухслойным защитным покрытием на основе экструдированного полиэтилена.

29. ТУ РБ 03289805.002-98. Трубы стальные диаметром 57 - 530 мм с наружным двухслойным покрытием на основе экструдированного полиэтилена.

30. ТУ 1 394-002-47394390-99. Трубы стальные диаметром от 57 до 1220 мм с покрытием из экструдированного полиэтилена.

31.ТУ 1390-013-04001657-98. Трубы диаметром 57 - 530 мм с наружным комбинированным ленточно-полиэтиленовым покрытием.

32. ТУ 1390-014-05111644-98. Трубы диаметром 57 - 530 мм с наружным комбинированным ленточно-полиэтиленовым покрытием.

33. ТУ РБ 03289805.001-97. Трубы стальные диаметром 57 - 530 мм с наружным комбинированным ленточно-полиэтиленовым покрытием.

34. ТУ 4859-001-11775856-95. Трубы стальные с покрытием из полимерных липких лент.

35. ТУ 2245-004-46541379-97. Лента термоусаживающаяся двухслойная радиационномодифицированная «ДОНРАД».

36. ТУ 2245-002-31673075-97. Лента термоусаживающаяся двухслойная радиационномодифицированная «ДРЛ».

37. ТУ 2245-001-44271562-97. Лента защитная термоусаживающаяся «Терма».

38. ТУ РБ 03230835-005-98. Ленты термоусаживаемые двухслойные.

39. ТУ 8390-002-46353927-99. Полотно нетканое термоскрепленое техническое.

40. ТУ 8390-007-05283280-96. Полотно нетканое клееное для технических целей.

41. ТУ 2245-003-1297859-99. Лента полиэтиленовая для защиты нефте- газопроводов «ПОЛИЛЕН».

42. ТУ 2245-004-1297859-99. Обертка полиэтиленовая для защиты нефте- газопроводов «ПОЛИЛЕН - ОБ».

43. ТУ 38.105436-77 с Изм. № 4. Полотно резиновое гидроизоляционное.

44. ТУ 2513-001-05111644-96. Мастика битумно-полимерная для изоляционных покрытий подземных трубопроводов.

45. ТУ 2245-001-48312016-01. Лента полимерно-битумная на основе мастики «Транскор» - ЛИТКОР.

46. ТУ 2245-024-16802026-00. Лента ЛИАМ-М (модифицированная) для изоляции подземных газо- нефтепроводов.

47. ТУ 5775-002-32989231-99. Мастика битумно-полимерная изоляционная «Транскор».

48. ТУ 204 РСФСР 1057-80. Покрытие защитное битумно-атактическое от подземной коррозии стальных газовых и водопроводных сетей и емкостей хранения сжиженного газа.

49. ТУ 1390-003-01297858-99. Трубы стальные диаметром 32 - 530 мм с наружным двухслойным покрытием на основе экструдированного полиэтилена.

50. ТУ 1394-002-47394390-99. Трубы стальные диаметром от 57 до 1220 мм с покрытием из экструдированного полиэтилена.

51. ТУ 4739-005-22136119-2000. Электроды сравнения неполяризующиеся медно-сульфатные «Энергомера» ЭСН-МС1 (МС2).

Приложение Б
(Справочное)

БИБЛИОГРАФИЯ

1. Инструкция по технологии изоляции сварных стыковых соединений газопроводов с покрытием из экструдированного полиэтилена термоусаживающимися лентами. В сб. служебных материалов № 9. М.: ОАО «Росгазификация». 1997 г., с. 16 - 23.

2. Инструкция по изоляции стыков и ремонту мест повреждений полимерных покрытий газопроводов с применением полиэтиленовых липких лент. В сб. служебных материалов № 9. М.: ОАО «Росгазификация». 1997 г., с. 23 - 33.

3. Инструкция по изоляции стыков и ремонту мест повреждений покрытия газопроводов, построенных из труб с мастичным битумным покрытием. В сб. служебных материалов № 9. М.: ОАО «Росгазификация». 1997 г., с. 33 - 41.

4. Инструкция по защите железнодорожных подземных сооружений от коррозии блуждающими токами. М: Трансиздат. 1999 г..

5. Оборудование и материалы для защиты стальных подземных газопроводов. М.: ОАО «Росгазификация», 1997 г..

6. МГНП 01-99. Узлы и детали электрозащиты инженерных сетей от коррозии. Рабочие чертежи. Альбом 1. Анодные заземлители. Альбом 2. Узлы элементов катодной защиты. АО институт «МосгазНИИПроект».

7. Рекомендации по изоляции стыков, отводов и углов поворотов газопроводов, построенных с заводским полиэтиленовым покрытием, и участков стыковки их с газопроводами, покрытыми битумными мастиками. В сб. служебных материалов № 9. М.: ОАО «Росгазификация». 1997 г., с. 41 - 46.

8. Рекомендации по защите от коррозии газопроводов, прокладываемых в футлярах. В сб. норм. док. и рекомендаций по защите газовых сетей от коррозии. М.: АО «Росгазификация», 1996 г., с. 53 - 57.

9. Рекомендации по электрохимической защите подземных газопроводов в условиях воздействия переменного тока. В сб. служебных материалов № 10. М.: АО «Росгазификация». 1997 г., с. 21 - 32.

10. Рекомендации по защите от коррозии газопроводов на участках их пересечения с подземными сооружениями. В сб. норм. док. и рекомендаций по защите газовых сетей от коррозии. М.: АО «Росгазификация», 1996 г., с. 25 - 41.

11. Рекомендации по оптимальным способам ЭХЗ подземных газопроводов в условиях периодического отключения основных средств ЭХЗ. В сб. норм. док. и рекомендаций по защите газовых сетей от коррозии. М.: АО «Росгазификация», 1996 г., с. 42 - 52.

12. Защита подземных металлических сооружений от коррозии. Справочник. М.: Стройиздат. 1991 г.

13. Информация фирмы BOREALIS PF 0838 1998 01/3. POLYPROPYLENE ВВ125Е. Adhesive polypropylene copolymer for steel pipe coating.

14. Информация фирмы BOREALIS PF 0837 1998 02 12 ED. 5. POLYPROPYLENE BB108E-1199. Polypropylene block copolymer for steel pipe coating.

15. Патент на изобретение № 2122047 «Электрод-сравнения неполяризующийся» с приоритетом от 15.04.97 г. Автор изобретения: Сурис М.А.

16. Патент на изобретение № 2143107 «Устройство для контроля степени локальной коррозии металлических сооружений» с приоритетом от 23.00.98 г. Авторы: Фрейман Л.И., Ремезкова Л.В., Кузнецова Е.Г., Солодченко Н.М.

17. Патент Российской Федерации на изобретение № 2161789 «Блок индикаторов скорости коррозии подземных металлических сооружений». 1999 г. Авторы: Левин В.М., Сурис М.А., Шевчук А.С., Логвинов А.И., Кулаков И.Г.

Приложение В
(Рекомендуемое)

ТЕРМИНЫ И ОПРЕДЕЛЕНИЯ

1. Адгезия                                          Сцепление покрытия с металлической основой (поверхностью трубы) или с полимерной основой.

2. Анодный заземлитель (анод)      Проводник, погруженный в электролитическую среду (грунт, раствор электролита) и подключенный к положительному полюсу источника постоянного тока.

3. Анодная зона                                 Участок подземного стального трубопровода, потенциал которого смещается относительно стационарного потенциала только к более положительным значениям.

4. Блуждающий ток                          Постоянный электрический ток, протекающий вне предназначенной для него цепи.

5. Гальванический анод                   Электрод из металла с более отрицательным

(протектор)                                        потенциалом, чем защищаемое металлическое сооружение, подключаемый к сооружению при его гальванической защите.

6. Гальваническая                             Электрохимическая защита металлического

(протекторная) защита                     сооружения путем подключения к нему гальванического анода.

7. Диэлектрическая сплошность     Отсутствие сквозных повреждений и утоньшений в

изоляционного покрытия                покрытии, определяемое при воздействии высоковольтного источника постоянного тока.

8. Защитный потенциал                   Потенциал, при котором электрохимическая защита обеспечивает необходимую коррозионную стойкость металла.

9. Знакопеременная зона                 Участок подземного стального трубопровода, потенциал которого смещается относительно стационарного потенциала и к более положительным, и к более отрицательным значениям.

10. Изоляционное покрытие            Слой или система слоев веществ, наносимых на поверхность металлического сооружения для защиты металла от коррозии и обладающих электроизоляционными свойствами.

11. Катодная защита                         Электрохимическая защита металлического сооружения путем подключения его к отрицательному полюсу источника постоянного тока, к положительному полюсу которого подключен анод.

12. Катодная зона                             Участок подземного стального трубопровода, потенциал которого смещается относительно стационарного потенциала только к более отрицательным значениям.

13. Коррозионная агрессивность    Совокупность свойств (характеристик) грунта,

грунта                                                 которые влияют на коррозию металла в грунте.

14. Максимальный защитный         Максимальный по абсолютному значению

потенциал                                          защитный потенциал, при котором не происходит катодное отслаивание покрытия и наводороживание металла.

15. Минимальный защитный           Минимальный по абсолютному значению защитный

потенциал                                          потенциал

16. Переходное                                  Сопротивление собственно покрытия в цепи

электросопротивление                     электрод - электролит - покрытие - труба.

изоляционного покрытия

17. Поляризационный потенциал   Не содержащий омической составляющей потенциал металла (вспомогательного электрода, трубопровода), через границу которого с электролитической средой протекает ток от внешнего источника.

18. Противокоррозионные               Комплекс мер, направленных на защиту

мероприятия                                      трубопровода от коррозии, включающий (как основные) нанесение защитного покрытия и электрохимическую защиту.

19. Разность потенциалов между    Напряжение между трубой в грунте и электродом

трубой и грунтом (потенциал         сравнения.

труба-земля)

20. Стационарный потенциал         Потенциал металла (трубопровода, электрода), через границу которого с электролитической средой не протекает ток от внешнего источника.

21. Суммарный потенциал              Потенциал металлического сооружения (трубопровода), включающий омическую компоненту, через границу которого с электролитической средой протекает ток от внешнего источника.

22. Электродренажная                     Электрохимическая защита трубопровода от

(дренажная) защита                          коррозии блуждающими токами, осуществляемая устранением анодного смещения потенциала путем отвода блуждающих токов к их источнику.

23. Электроизолирующее                 Конструктивный элемент для прерывания

соединение                                        металлической проводимости трубопровода.

24. Электрохимическая защита       Защита металла от коррозии в электролитической среде, осуществляемая установлением на нем защитного потенциала или устранением анодного смещения потенциала от стационарного потенциала.

Приложение Г
(Справочное)

ПРИНЯТЫЕ СОКРАЩЕНИЯ

                      - анодное заземление (анодный заземлитель)

БПИ                   - блок пластин индикаторов (индикатор общей коррозии)

ВУС                   - весьма усиленное (тип покрытия)

ВЭ                      - вспомогательный электрод (датчик потенциала)

ВЭЗ                    - вертикальное электрическое зондирование

ГА                      - гальванический анод (протектор)

ГЗ                      - гальваническая защита (протекторная)

ГРП                   - газорегуляторный пункт

ИЛК                   - индикатор локальной коррозии

КИП                   - контрольно-измерительный пункт

КУ                     - контактное устройство

м.с.э.                  - медносульфатный электрод (насыщенный)

СКЗ                    - станция катодной защиты

СУГ                   - сжиженные углеводородные газы

ШРП                  - шкафной регуляторный пункт

ЭИС                   - электроизолирующее соединение

ЭХЗ                   - электрохимическая защита

Приложение Д
(Обязательное)

Определение переходного электрического сопротивления покрытий газопроводов

Одним из параметров, характеризующих качество изоляционного покрытия на эксплуатирующихся газопроводах, является переходное электросопротивление, измеряемое в Ом×м2.

Переходное электрическое сопротивление покрытия газопровода измеряется в местах шурфования при обследовании коррозионного состояния, при проведении ремонтных работ и осуществлении врезок методом «мокрого контакта», схема которого приведена на рис. Д1.

Сущность метода заключается в следующем: в местах измерения переходного электросопротивления на поверхность покрытия газопровода, очищенную от грунта не менее чем на 0,8 м по его длине, по периметру накладывают тканевое полотенце 3, смоченное водой (для увеличения проводимости в воду можно добавлять сульфат натрия, 3 % масс). На полотенце накладывают металлический электрод - бандаж 2 и плотно стягивают его болтами или резиновыми лентами. Два дополнительных электрода-бандажа 6 исключают влияние поверхностной утечки тока через загрязненную или увлажненную поверхность изоляционного покрытия. Электроды-бандажи не должны контактировать с грунтом.

Измерения выполняют, как показано на схеме (рис. Д1). Резистором отбирают рабочее напряжение, равное 30 В. Если нет необходимости повреждать покрытие (например, для измерения адгезии), клемму 1 в схеме замыкают не на оголенный участок трубы, а на стальной штырь, вбитый в грунт рядом с газопроводом.

Величину переходного сопротивления рассчитывают по формуле:

где R - переходное электросопротивление, Ом×м2;

U - напряжение, В;

I1 - ток на амперметре А1, А; I2 - ток на амперметре А2, А;

F - площадь электрода-бандажа, имеющего контакт с изоляционным покрытием, м2.

Допускается измерение переходного сопротивления покрытия на эксплуатирующихся газопроводах мегомметром марки М 1101.

Рис. Д1. Измерение переходного электросопротивления изоляционного покрытия методом «мокрого контакта»

1 - клемма, снабженная магнитом для контакта с трубой; 2 - кольцевой электрод-бандаж; 3 - влажное матерчатое полотенце; 4 - защитное покрытие; 5 - труба; 6 - дополнительный электрод-бандаж; Е - источник постоянного тока; R - резистор; V - высокоомный вольтметр типа ЭВ-2234; А1 и А2 - миллиамперметры.

Приложение Е
(Рекомендуемое)

Протокол определения удельного электрического сопротивления грунта в трассовых условиях

Прибором типа _______________________________

Заводской номер ______________________________

Дата измерения ______________________________

Погодные условия ____________________________

№ п/п

Адрес пункта измерений

пункта измерения по схеме

Расстояние между электродами, м

Измеренное сопротивление, Ом

Удельное электрическое сопротивление грунта, Ом×м

Коррозионная агрессивность грунта

1

2

3

4

5

6

7

 

 

 

 

 

 

 

 

 

 

 

 

 

 

 

 

 

 

 

 

 

 

 

 

 

 

 

 

 

 

 

 

 

 

 

 

 

 

 

 

 

 

 

 

 

 

 

 

 

 

 

 

 

 

 

 

 

 

 

 

 

 

 

 

 

 

 

 

 

 

 

 

 

 

 

 

 

 

 

 

 

 

 

 

 

 

 

 

 

 

 

 

 

 

 

 

 

 

 

 

 

 

 

 

 

 

 

 

 

 

 

 

Измерил ____________________________________

Проверил ___________________________________

Приложение Ж
(Рекомендуемое)

Протокол определения удельного электрического сопротивления грунта в лабораторных условиях

№ п/п

Адрес пункта отбора проб

№ пункта по схеме

Электрическое сопротивление грунта R, кОм

Удельное электрическое сопротивление, r, Ом×м

Коррозионная агрессивность грунта

1

2

3

4

5

6

 

 

 

 

 

 

 

 

 

 

 

 

 

 

 

 

 

 

 

 

 

 

 

 

 

 

 

 

 

 

 

 

 

 

 

 

 

 

 

 

 

 

 

 

 

 

 

 

 

 

 

 

 

 

 

 

 

 

 

 

 

 

 

 

 

 

 

 

 

 

 

 

 

 

 

 

 

 

 

 

 

 

 

 

 

 

 

 

 

 

 

 

 

 

 

 

Анализ провел _____________________

«____ » ________________  200 _  год

Приложение З
(Рекомендуемое)

Протокол определения средней плотности катодного тока

Город ______________________________________

Дата отбора проб «______ » _________________  год

№ п/п

Адрес пункта отбора проб

№ пункта по схеме

Ячейка 1

Ячейка 2

t, мин.

Е, В

J, A (мкА)

t, мин.

Е, В

J, A (мкА)

1

2

3

4

5

6

7

8

9

 

 

 

 

 

 

 

 

 

 

 

 

 

 

 

 

 

 

 

 

 

 

 

 

 

 

 

 

 

 

 

 

 

 

 

 

 

 

 

 

 

 

 

 

 

 

Ячейка 3

Среднее значение силы тока, Jcp., A (мкА)

Средняя плотность тока, Jcp., А/м2

Коррозионная агрессивность грунта

t, мин.

Е, В

J, A (мкА)

10

11

12

13

14

15

 

 

 

 

 

 

 

 

 

 

 

 

 

 

 

 

 

 

 

 

 

 

 

 

 

 

 

 

 

 

Анализ провел _____________________

«____ » ________________  200 _  год

Приложение И
(Рекомендуемое)

Сводная ведомость результатов определения коррозионной агрессивности грунтов по отношению к стали

№ п/п

Адрес

№ пункта по схеме

Удельное сопротивление грунта, определенное в полевых условиях, Ом×м

Удельное сопротивление грунта, определенное в лабораторных условиях, Ом м

Средняя плотность катодного тока, А/м2

Оценка коррозионной агрессивности грунта

1

2

3

4

5

6

7

 

 

 

 

 

 

 

 

 

 

 

 

 

 

 

 

 

 

 

 

 

 

 

 

 

 

 

 

 

 

 

 

 

 

 

 

 

 

 

 

 

 

 

 

 

 

 

 

 

 

 

 

 

 

 

 

 

 

 

 

 

 

 

 

 

 

 

 

 

 

 

 

 

 

 

 

 

 

 

 

 

 

 

 

 

 

 

 

 

 

 

 

 

 

 

 

 

 

 

 

 

 

 

 

 

 

 

 

 

 

 

 

Приложение:

1. План (схема) трубопровода.

2. Протоколы измерений (Приложения Е, Ж, З).

Приложение К
(Рекомендуемое)

Протокол измерений потенциала трубопровода при определении опасности постоянных блуждающих токов

Город _______________________________________ ___________________________

Вид подземного сооружения и пункта измерения ________________ _____________

Дата ________________________________________

Время измерения начало _______________ , конец _______________

Тип ___________________________  и № прибора ________________

Данные измерений, мВ

t, мин/с

0

10

20

30

40

50

1 Uизм

 

 

 

 

 

 

2 Uизм

 

 

 

 

 

 

3 Uизм

 

 

 

 

 

 

4 Uизм

 

 

 

 

 

 

5 Uизм

 

 

 

 

 

 

6 Uизм

 

 

 

 

 

 

7 Uизм

 

 

 

 

 

 

8 Uизм

 

 

 

 

 

 

9 Uизм

 

 

 

 

 

 

10 Uизм

 

 

 

 

 

 

 

DU = Uизм - Uст, В

Оценка опасности коррозии

при Uизм наиболее отрицательном

при Uизм наиболее положительном

1

2

3

 

 

 

 

 

 

 

 

 

 

 

 

 

 

 

Приложение Л
(Рекомендуемое)

Протокол измерений смещения потенциала трубопровода при определении опасного влияния переменного тока

Город _______________________________________

Вид подземного сооружения и пункта измерения ________________

Дата ________________________________________

Время измерения начало _______________ , конец _______________

Тип и номер прибора ________________________________________

Измеренное значение стационарного потенциала вспомогательного электрода (ВЭ) относительно м.с.э. ___________________________________________

Данные измерений, мВ

t, мин/с

0

10

20

30

40

50

1

 

 

 

 

 

 

2

 

 

 

 

 

 

3

 

 

 

 

 

 

4

 

 

 

 

 

 

5

 

 

 

 

 

 

6

 

 

 

 

 

 

7

 

 

 

 

 

 

8

 

 

 

 

 

 

9

 

 

 

 

 

 

10

 

 

 

 

 

 

Камеральная обработка измерений

Число измерений

Сумма мгновенных значений

Средняя величина

Среднее значение смешения

1

2

3

4

Оценка опасности коррозии под действием переменного тока

___________________________________________________________

(опасно, неопасно)

Измерил ______________________  Проверил ___________________

Обработал                                         

Приложение М
(Информационное)

Протокол измерений плотности переменного тока при определении опасного влияния переменного тока

Город _______________________________________

Вид подземного сооружения и пункта измерения ________________

Дата ________________________________________

Время измерения начало _______________ , конец _______________

Тип и номер прибора ________________________________________

Данные измерений мгновенной силы переменного тока, мА

t, мин/с

0

10

20

30

40

50

1

 

 

 

 

 

 

2

 

 

 

 

 

 

3

 

 

 

 

 

 

4

 

 

 

 

 

 

5

 

 

 

 

 

 

6

 

 

 

 

 

 

7

 

 

 

 

 

 

8

 

 

 

 

 

 

9

 

 

 

 

 

 

10

 

 

 

 

 

 

Камеральная обработка измерений

Число измерений

Сумма мгновенных значений силы переменного тока, J, мА

Среднее значение силы переменного тока, J, мА

Среднее значение плотности переменного тока, j, мА/см2

1

2

3

4

Оценка опасности коррозии под действием переменного тока

___________________________________________________________

(опасно, неопасно)

Измерил ______________________  Проверил ___________________

Обработал                                         

Приложение Н
(Справочное)

Стационарные медносульфатные электроды длительного действия

Н.1 Стационарные медносульфатные электроды длительного действия типа ЭНЕС и ЭСН-МС (рис. H1) состоят из пластмассового корпуса 1, заполненного в заводских условиях электролитом 2, не замерзающим при температуре окружающей среды до минус 40 °С, медного стержня 3, ионообменной мембраны 4 (одной или двух) с защитной сеткой 5, предохранительной трубки 6 с проводниками 7 от медного стержня 3 и наконечников 9. Электроды оснащены датчиком потенциала 8, представляющим собой пластину из Ст3 размером 25 ´ 25 мм, вмонтированную в пластмассовое гнездо, закрепленное на корпусе электрода.

Н.2 Основные параметры и размеры электродов ЭНЕС и ЭСН-МС следующие:

Переходное электрическое сопротивление электрода, кОм, в пределах    0,2 ¸ 15

Потенциал по отношению к хлоридсеребряному электроду, мВ                 120 ± 30

Диаметр корпуса внутренний, мм, не более                                                   83

Количество электролита в корпусе, см3                                                          290 ¸ 300

Длина проводников, мм                                                                                    2000 ¸ 3000

Масса электрода полная, кг, не более                                                             0,65

Н.3 Состав незамерзающего электролита для заполнения электродов ЭНЕС и ЭСН-МС.

Таблица

Документ

Наименование составной части, единица измерения

Значение

ГОСТ 6709-72

Вода дистиллированная, см3

200 ± 3

ГОСТ 4165-78*

Сухой порошок сернокислой меди (хч или чда):

растворяемый в воде, г

65 ± 1,5

добавляемый к раствору, г

30 ± 1,5

ГОСТ 19710-83Е

Этиленгликоль первого или высшего сорта, см3

100,0 ± 1,5

Рис. H1. Стационарный медносульфатный электрод сравнения типа ЭНЕС-1 и ЭСН-МС

1 - корпус; 2 - электролит; 3 - стержень из красной меди; 4 - ионообменная мембрана; 5 - защитная сетка; 6 - предохранительная трубка; 7 - проводники; 8 - датчик потенциала (ВЭ); 9 - наконечник.

Приложение О
(Справочное)

ИНДИКАТОРЫ ОБЩЕЙ И ЛОКАЛЬНОЙ КОРРОЗИИ

О.1 Индикатор общей коррозии

О.1.1 Дополнительная оценка возможности общей коррозии при ЭХЗ может производиться с помощью блока пластин-индикаторов (БПИ).

О.1.2 Сущность метода заключается в том, что с помощью набора пластин-индикаторов, имеющих разные толщины, дополнительно оценивается общая коррозия и порядок ее средней скорости при ЭХЗ трубопровода в месте установки БПИ по времени от момента его установки до потери продольной электропроводимости пластин в результате коррозии.

О.1.3 БПИ (рис. О1) состоит из трех пластин, изготовленных из стали Ст.3 толщиной 0,3; 0,4; и 0,5 мм, рабочей длиной около 20 мм и шириной по 2 мм. Расстояние между пластинами 2 мм.

Пластины-индикаторы 2 с помощью пайки или контактной сварки укреплены на контрольной пластине 1. К свободным концам пластин-индикаторов и контрольной пластине присоединены изолированные проводники 3. БПИ вмонтирован в пластмассовый корпус таким образом, что внутренние поверхности пластин изолированы от внешней среды.

О.1.4 БПИ может быть установлен непосредственно на поверхности трубопровода (рис. О2.), либо на корпусе стационарного медносульфатного электрода сравнения (рис. О3).

Рис. О1. Блок индикаторов (без корпуса)

1 - контрольная пластина; 2 - пластина-индикатор; 3 - контрольные проводники; 4 - указатель толщины пластины-индикатора.

Рис. О2 Схема контроля электропроводимости индикаторов при установке блока индикаторов на поверхности трубопровода

1 - блок индикаторов; 2 - крепежный хомут; 3 - защитная трубка; 4 - клеммник; 5 - контрольные проводники от трубопровода, контрольной пластины блока индикаторов, пластин-индикаторов; 6 - омметр.

Рис. О3. Схема контроля электропроводимости индикаторов и измерения поляризационного потенциала трубопровода при установке блока индикаторов на стационарном электроде сравнения

1 - стационарный медносульфатный электрод сравнения; 2 - блок индикаторов (датчик потенциала) с толщиной пластин 0,3; 0,4; 0,5 мм; 3 - защитная трубка; 4 - клеммник в контрольно-измерительном пункте; 5 - прибор типа 43313.1; 6 - омметр; 7 - контрольные проводники от трубопровода, электрода сравнения, контрольной пластины, блока индикаторов, пластин-индикаторов; 8 - электроперемычка.

Примечание:

При использовании прибора типа ПКИ-02 проводник от трубопровода присоединяют к соответствующей клемме (зажиму) прибора.

O.1.5 В обоих вариантах установки проводники от пластин БПИ, трубопровода и (во втором варианте установки) от электрода сравнения присоединяются к специальному клеммнику, располагаемому в горловине фальшколодца, в измерительной колонке, в металлическом корпусе на стене здания, в корпусе станции катодной защиты. Схема клеммника с присоединенными к нему контрольными проводниками приведена на рис. О2 и рис. О3. Электроперемычка между контрольными проводниками от трубопровода (клемма «Т») и от контрольных пластин размыкается лишь на период измерений потенциала трубопровода.

О.1.6 Методика измерений на месте установки БПИ сводится к определению электросопротивления в цепях «индикаторы-трубопровод» с помощью омметра (например, мультиметра типа 43313.1) и не зависит от способа установки БПИ (на поверхности трубопровода или на корпусе электрода сравнения).

О.1.7 Порядок измерений с помощью мультиметра 43313.1.

Подключают измерительные провода к клеммам «КП» и «0,3».

Устанавливают переключатель мультиметра в положение, соответствующее измерению сопротивления в диапазоне 0 - 200 Ом.

Подключают измерительные провода к гнездам мультиметра для измерений электросопротивления VW/C и */ИЭ.

Включают мультиметр нажатием кнопки 1/о. При этом на ЦОУ (цифровом отсчетном устройстве) должна появиться индикация.

Значение сопротивления менее и более 10 Ом свидетельствует о том, что пластина толщиной 0,3 мм соответственно не разрушена и разрушена. Если пластина толщиной 0,3 мм разрушена, аналогичные измерения проводят на пластинах толщиной 0,4 и 0,5 мм. Если разрушена и пластина толщиной 0,4 мм, измерения продолжают на пластине толщиной 0,5 мм.

О.1.8 Измерения начинают в день установки БПИ.

На трубопроводах без ЭХЗ измерения проводят 1 раз в 6 месяцев до срабатывания первой пластины и далее с периодичностью 1 раз в 2 месяца.

Измерения проводят не реже 1 раза в 6 месяцев после включения ЭХЗ.

О.1.9 Оценку порядка величины скорости общей коррозии (К) после фиксации коррозионного разрушения пластины-индикатора производят по формуле:

К » 365×d/t, мм/год,

где: d - толщина пластины, мм;

t - число суток от момента установки блока индикаторов до первой фиксации разрушения индикатора, сут.

Примечание:

При срабатывании более одной пластины в расчет К принимается толщина d пластины, имеющей большую толщину.

О.1.10 При срабатывании всех пластин-индикаторов целесообразно произвести шурфование в пункте установки БПИ для обследования состояния поверхности трубопровода, выяснения причин коррозионных разрушений и разработки противокоррозионных мероприятий.

О.2 Индикатор локальной коррозии

О.2.1 Дополнительная оценка возможности локальной коррозии стального трубопровода при ЭХЗ может производиться с помощью индикатора локальной коррозии (ИЛК).

О.2.2 Сущность метода заключается в том, что одна из стенок полого стального корпуса ИЛК имеет заданную меньшую толщину, а в полость корпуса, заполненную сухим непроводящим капиллярно-пористым материалом, введен изолированный от корпуса металлический электрод. При сквозной коррозионной перфорации тонкой стенки корпуса внутрь него за счет капиллярного подсоса проникает грунтовая влага. В результате между корпусом и внутренним электродом образуется электролитический контакт, который может быть обнаружен по снижению электрического сопротивления между корпусом и внутренним электродом или по разности потенциалов между ними.

О.2.3 Схема одной из конструкций ИЛК представлена на рис. О4. Нижняя стенка («дно») 1 стального корпуса 2 толщиной 8 является рабочей, площадь ее рабочей поверхности равна 6,15 см. Полость 3 корпуса 2, заполненная тщательно промытым и высушенным речным песком, сверху перекрывается вставленной в корпус на плотной посадке эбонитовой заглушкой 4, через центр которой пропущен один из двух изолированных медных проводников 5 провода ПСВ-2. Нижняя часть проводника 5, освобожденная от изоляции, образует внутренний электрод 6. К внутренней поверхности верхней части корпуса над заглушкой в месте 7 припаян второй проводник 8 провода ПСВ-2. Пространство над заглушкой и внешние боковые стенки корпуса 2 залиты (в специальной форме) твердеющим герметиком типа «Полур», который исключает проникновение грунтовой влаги в полость 3 ИЛК иначе, чем через сквозную коррозионную перфорацию дна 1 корпуса 2.

О.2.4 Для оценки локальной коррозии по п. 2.1 у трубы одновременно устанавливается 2 идентичных ИЛК, 1 и 2, с одинаковой толщиной рабочей стенки d = 1,0 мм. Выводы от трубы и от обоих ИЛК выводятся на клеммник (рис. О5). Вывод от трубы подсоединяется к клемме Т, выводы от корпусов индикатора 1 и 2 - к клеммам соответственно К1 и К2, выводы от внутренних электродов индикаторов 1 и 2 - к клеммам соответственно B1 и В2. Клеммы Т и К1, К2 соединяются перемычкой П.

О.2.5 Контроль локальной коррозии сводится к измерению сначала разности потенциалов U и затем сопротивления R между корпусом и внутренним электродом ИЛК. Для измерений может использоваться мультиметр (например, 43313.1) с верхним пределом измерения сопротивления не менее 20 МОм и с входным сопротивлением при измерении напряжения не менее 10 МОм. При использовании мультиметра 43313.1 измерения производятся при подключении корпуса ИЛК к разъему Ж/ИЭ, внутреннего электрода - к разъему VW/C, причем R измеряется на шкале 20 М, а U на шкале «К» напряжения постоянного тока.

О.2.6 Признаком опасности локальной коррозии служит «срабатывание» проверяемых ИЛК - измерение хотя бы на одном из них конечных значений R < 10 МОм и (или) устойчивых отрицательных значений U, как правило, в пределах -20 мВ...-2 В.

О.2.7 При установлении возможной опасности локальной коррозии индикаторы отсоединяются от клемминков, извлекаются из грунта и рабочая поверхность каждого тщательно осматривается. При обнаружении на рабочей поверхности ИЛК хотя бы одной сквозной коррозионной язвы опасность локальной коррозии считается подтвержденной, и разрабатываются необходимые меры по защите от коррозии.

Рис. О4. Схема одной из конструкций индикатора локальной коррозии (ИЛК)

1 - рабочая стенка корпуса; 2 - стальной корпус; 3 - полость корпуса, заполненная непроводящим капиллярно-пористым материалом; 4 - непроводящая заглушка; 5 - соединительный провод к внутреннему электроду 6; 7 - место припайки проводника 8 к корпусу 2, 9 - герметик

Рис. О5. Схема установки и подключения индикаторов локальной коррозии при контроле опасности локальной коррозии трубопровода, оборудованного средствами ЭХЗ

КЛ - клеммник; 1 - ИЛК-1; 2 - ИЛК-2; К1 и К2 - соединительные проводники от корпусов ИЛК с соответствующими номерами и клеммы для подключения данных проводников; В1 и В2 - соединительные проводники от внутренних электродов ИЛК-1 и ИЛК-2 и клеммы подключения данных проводников; Т - соединительный проводник от трубы и клемма его подключения; П- перемычка.

Приложение П
(Информационное)

Методика расчета совместной катодной защиты проектируемых газо- и водопроводов и катодной защиты проектируемой сети газопроводов

П.1 Основным расчетным параметром является средняя плотность защитного тока jcp - отношение силы тока катодной станции J к суммарной наружной поверхности трубопроводов, защищаемых данной станцией.

П.2 Если проектируемые трубопроводы будут иметь соединения с действующими сооружениями, оборудованными установками ЭХЗ, необходимо расчетным путем проверить возможность защиты проектируемых трубопроводов действующими установками ЭХЗ.

П.3 Исходными данными для расчета катодной защиты проектируемых трубопроводов являются их параметры и среднее удельное сопротивление грунта на территории вдоль трасс проектируемых трубопроводов.

П.4 Площадь поверхности Sг2) всех газопроводов, которые электрически контактируют между собой за счет технологических соединений или специальных перемычек, определяют по формуле:

                                                        (П.1)

где: diг - диаметр (мм);

liг - длина (м) участка газопровода, имеющего диаметр diг;

n - общее число соответствующих участков газопровода.

П.5 Площадь поверхности всех водопроводов Sв2), которые электрически контактируют между собой за счет технологических соединений или специальных перемычек, определяют по формуле:

                                                        (П.2)

где: diв - диаметр (мм);

liв - длина (м) участка водопровода, имеющего диаметр diв;

m - общее число соответствующих участков водопровода.

Суммарная площадь поверхности S2) всех электрически связанных газопроводов и водопроводов равна:

S = Sг + Sв                                                               (П.3)

П.6 Среднее удельное сопротивление грунта r (Ом×м) вдоль трасс проектируемых трубопроводов определяется по формуле:

                                        (П.4)

где: riг и riв - средние удельные сопротивления грунта (Ом×м) вдоль длины соответственно liг - каждого 1-го участка газопровода и liв - каждого 1-го участка водопровода;

Lг и Lв - суммарные длины газопроводов и водопроводов на данной территории.

П.7 Вычисляется доля (%) площади поверхности газопроводов аг и водопроводов ав в суммарной площади их поверхностей:

aг = (Sг/S)×100                                                              (П.5)

aв = (Sв/S)×100                                                             (П.6)

П.8 Вычисляется площадь поверхности (м2/га) газопроводов bг и водопроводов bв, приходящаяся на единицу площади территории Sтep (га), где размещены проектируемые трубопроводы:

bг = (Sг/Sтep)                                                             (П.7)

bв = (Sв/Sтер)                                                             (П.8)

П.9 Средняя плотность защитного тока для всех трубопроводов j (мА/м2) вычисляется по уравнению:

j = 30 - 10-3×(100 + 3,0bв + 34bг + 5r)                                  (П.9)

П.10 При отсутствии водопроводов средняя защитная плотность тока газопроводов вычисляется по уравнению:

jг = 20 + 10-3(100aг - 34bг - 5r)                                         (П.10)

П.11 Если расчетное значение j или jг меньше 6 мА/м2, принимается j = 6 мА/м2.

П.12 Суммарная сила тока (А), необходимого для катодной защиты проектируемых газо - и водопроводов определяется по формуле:

J = 1,3 ´ 10-3jS,                                                            (П.11)

а для защиты только сети газопроводов - по формуле:

Jг = 1,3 ´ 10-3jгSг,                                                         (П.12)

П.13 Число катодных станций определяют из условий оптимального размещения анодных заземлителей (наличие площадок, удобных для их размещения), наличия источников питания и т.д. При этом значение тока одной катодной станции можно ориентировочно принять равным 25 А. Поэтому число катодных станций приближенно равно n = J/25, где J = J или Jг.

П.14 После размещения катодных станций на совмещенном плане необходимо рассчитать зону действия каждой из них. Для этой цели определяют радиус действия Ri (м) каждой катодной станции

                                                     (П.13)

где: j - катодная плотность тока (А/м2), определенная по формуле (9) или (10),

К (м2/га) - площадь поверхности всех трубопроводов на единицу площади поверхности территории:

К = S2)/Sтер(га)                                                        (П.14)

П.15 Если площади кругов, радиусы действия каждого из которых равны Ri, а центры находятся в точках размещения анодных заземлителей, не охватывают всей территории Sтep, необходимо изменить или места расположения катодных станций, или их токи и вновь выполнить проверку по п. П.14.

П.16 Тип преобразователя катодной станции выбирается так, чтобы допустимое напряжение было на 30 % выше расчетного с учетом старения изоляционных покрытий и анодных заземлителей, а также возможного развития сети трубопроводов.

Пример расчета совместной катодной защиты сети газопроводов и водопроводов

1. Пусть на территории площадью 10 га после завершения строительства будут размещены газопроводы (ГП) и водопроводы (ВП) диаметрами и длинами соответственно diг, liг и diв, liв по табл. П1:

Таблица П1

гп

ВП

diг, мм

liг, м

diв, мм

liв, мм

200

750

200

450

150

640

100

520

100

400

300

80

89

150

150

170

2. Определяем по формуле (П.1) суммарную поверхность всех газопроводов:

Sг = 3,14 ´ 10-3×(200 ´ 750 + 150 ´ 640 + 100 ´ 400 + 89 ´ 150) = 940 м2,

по формуле (П.2) - суммарную поверхность всех водопроводов:

Sв = 3,14 ´ 10-3×(200 ´ 450 + 100 ´ 520 + 300 ´ 80 + 150 ´ 170) = 601 м2.

3. Суммарная поверхность всех трубопроводов: S = Sг + Sв = 940 + 601 = 1541 м2

4. Определим среднее удельное сопротивление грунта у трубопроводов, исходя из опытных данных табл. П2, где представлены результаты измерений riг и riв вдоль каждого из участков трубопроводов, где эти величины можно считать постоянными (эти участки не обязательно совпадают с участками по табл. П1).

Таблица П2

ГП

ВП

liг, м

riг, Ом×м

liв, мм

riв, Ом×м

400

60

350

60

40

10

30

10

450

70

500

75

210

35

300

50

400

50

40

45

440

40

 

 

4. Суммарная длина газопроводов (по любой из табл. П1 или П2)

 = 750 + 640 + 400 + 150 = 1940 м

5. Суммарная длина водопроводов

 = 450 + 520 + 80 + 170 = 1220 м

6. По формуле (П.4) определяем среднее удельное сопротивление грунта у трубопроводов, используя данные табл. П2.

r = [1/(1940 + 1220)] ´ [(60 ´ 400 + 10 ´ 40 + 70 ´ 450 + 35 ´ 210 + 50 ´ 400 + 40 ´ 440) + (60 ´ 350 + 10 ´ 30 + 75 ´ 500 + 50 ´ 300 + 45 ´ 40)] = 56 Ом×м.

7. По формулам (П.5) и (П.6) вычисляем доли площади поверхности газопроводов и водопроводов в суммарной поверхности трубопроводов:

аг = (940/1541)×100 = 61 %

ав = (601/1541)×100 = 39 %

8. Вычисляем коэффициенты bг и bв по формулам (П.7) и (П.8):

bг = 940/10 = 94 м2/га

bв = 601/10 = 60,1 м2/га

9. По формуле (П.9) вычисляем среднюю плотность защитного тока для всех трубопроводов:

j = 30 - 10-3×(100 ´ 39 + 3,0 ´ 60,1 + 34 ´ 94 + 5 ´ 56) = 22,6 мА/м2

10. По формуле (П.11) вычисляем суммарную силу защитного тока

J = 1,3 ´ 10-3 ´ 22,6 ´ 1541 = 45,3 А

11. С учетом п. П.13 используемой «Методики» принимаем ток катодной станции 25 А и число катодных станций равным 2.

12. Вычисляем коэффициент К по формуле (П.14):

К = (1541/10) = 154,1 м2/га и по формуле (П.13) радиус действия каждой катодной станции

По совмещенному плану круги с центрами в местах расположения анодных заземлений и радиусами по 161 м охватывают всю территорию размещения проектируемых трубопроводов (при этом каждая станция охватывает по 8,14 га из 10 га). Следовательно, изменять число катодных станций и их расположение не нужно.

Приложение Р
(Информационное)

Информация о пакете программ АРМ-ЭХЗ-6П
«Проектирование электрохимической защиты трубопроводной сети»2)

2 Разработчик - Волгоградская Государственная архитектурно-строительная академия (ВолгГАСА). Тел.: 44-91-68.

Р.1 Общие положения

Р.1.1 Пакет программ предназначен для расчета и проектирования электрохимической защиты от коррозии сети подземных металлических трубопроводов различного назначения и сложности, в том числе:

- разветвленных;

- закольцованных;

- связанных перемычками заданного сечения;

- рассеченных изолирующими вставками;

- связанных с различного рода заземлениями;

- с неоднородной изоляцией;

- в неоднородных грунтах;

- в поле блуждающих и защитных токов смежных сооружений;

- с учетом гальванической неоднородности участков сети и пр.

Р.1.2 Основные решаемые задачи:

- определение оптимального количества и схемы размещения установок ЭХЗ, величины их токов и распределения суммарного защитного потенциала (U), исходя из условий минимума суммарного защитного тока и заданного диапазона изменения U в исследуемой области (оптимизационная задача, код M1);

- определение удельного электрического сопротивления изоляции в заданных точках трубопроводной сети по известному (измеренному) распределению защитного потенциала и токам катодных станций (обратная задача, код М3).

Р.1.3 Прочие решаемые задачи:

- подготовка сметы и спецификации на строительно-монтажные работы;

- расчет параметров анодных заземлителей и установок гальванической защиты;

- анализ поля токов в земле;

- построение эпюры потенциала в поле блуждающих и защитных токов;

- оценка поля токов продольных коррозионных макропар;

- распечатка проектных материалов, в том числе графических файлов типовых анодных заземлителей различной конфигурации.

Р.1.4 Прилагается постоянно обновляемая база данных по преобразователям, гальваническим анодам и электродренажам, прейскурант цен на строительно-монтажные работы, каталоги на вспомогательное оборудование и материалы, сметные коэффициенты. При этом предусмотрена корректировка, добавление и запоминание произвольных статей сметы.

Р.1.5 Прилагается специализированный графический редактор, позволяющий заготавливать рабочие чертежи узлов и деталей систем ЭХЗ.

Р.1.6 Пакет АРМ ЭХЗ-6П является составной частью комплекса АРМ ЭХЗ-6, куда входят пакеты АРМ ЭХЗ-6Э «Эксплуатация средств ЭХЗ»» и АРМ ЭХЗ-6У «Обучение производственного персонала служб ЭХЗ».

Р.1.7 Комплекс АРМ ЭХЗ-6 эксплуатируется во многих проектных и наладочных организациях России.

Р.1.8 Программы могут быть использованы в любых модификациях ПЭВМ от 286 до Pentium и выполняются с операционной системой как DOS, так и Windows.

Р.2 Постановка задач и исходные данные

Р.2.1 Исходные данные вводятся в диалоге с программой ввода и сопровождаются комментариями и пояснениями.

Для решения основных задач (M1, M2 и М3) требуются:

- масштабированный план трубопроводной сети с произвольно назначенной системой прямоугольных координат;

- координаты контролируемых точек сети: вводы трубопроводов в здания, повороты трасс, точки разветвления, пересечения с соседними подземными сооружениями и рельсами трамвая, КИПы и пр.

- диаметр, толщина стенки, удельное сопротивление изолирующего покрытия трубопроводов;

- удельное электрическое сопротивление грунта;

- фактическое количество установок ЭХЗ и их токи (задачи М2 и М3) или предполагаемое количество установок ЭХЗ и предельно допустимые защитные потенциалы в рассматриваемой сети (задача M1);

- предполагаемое (задача M1) или фактическое (задачи М2 и М3) положение анодных заземлителей и точек дренажа установок ЭХЗ на плане сети;

- координаты контролируемых точек рельсовой сети как источника блуждающих токов и эпюра распределения потенциала рельсы-земля.

Р.2.2 При постановке задач следует учитывать ряд особенностей.

Р.2.2.1 Минимальное расстояние между контролируемыми точками (или узлами дискретизации) на участке сети не лимитируется и определяется степенью точности ожидаемого решения и требуемой детализацией (дискретизацией) задачи. Например, вблизи анодного заземлителя шаг дискретизации может быть принят равным 10 м и менее, а на прямолинейных протяженных участках допустим шаг 500 м и более.

Возможны незначительные спрямления и искажения реальной схемы сети (замена расчетной схемой) с целью уменьшения объема ввода узлов дискретизации. Общее число узлов дискретизации - не более 200, начало нумерации - произвольное.

Р.2.2.2 Удельное электрическое сопротивление изоляционного покрытия Rиз для проектируемого городского трубопровода принимают приближенно, прорабатывая варианты с вилкой «новая - изношенная» изоляция, ориентируясь, вероятно, на худший вариант, взятый, например, из интервала Rиз = 200...50 Ом×м2, имея ввиду, что изоляция стареет, и фактические значения Rиз могут быть на порядок меньше.

При проработке вариантов с различными значениями Rиз удобно пользоваться коэффициентом старения изоляции, заложенным в разделе «Исходные данные», позволяющим пропорционально менять величины Rиз сразу во всем массиве участков.

Р.2.2.3 Один из способов определения фактических значений Rиз для узлов дискретизации в действующей трубопроводной сети представлен задачей М3. Точность решения задачи М3 зависит от степени достоверности результатов натурных измерений защитных потенциалов, созданных катодными станциями: изменение потенциала труба-земля в режиме включено - выключено должно быть зафиксировано с точностью ±0,01 В.

Р.2.2.4 При необходимости определения локального значения Rиз в отдельно взятой точке по трассе существующего трубопровода: а) включают опытную катодную станцию; б) измеряют поперечный градиент потенциала в земле вблизи исследуемой точки; в) измеряют смещение потенциала трубопровода, вызванное током катодной станции; г) по известной формуле вычисляют плотность тока на поверхности трубопровода в исследуемой точке и д) по закону Ома вычисляют удельное сопротивление изоляции Rиз.

Р.2.2.5 Поскольку проектируемая трубопроводная сеть, как правило, затем будет соединена с существующей сетью, следует учитывать их взаимное влияние, связанное с токами перетекания. С этой целью для узла дискретизации, соответствующего точке электрического соединения (стыка) сетей на проектируемом трубопроводе, вводят потенциал, близкий к фактическому потенциалу трубопровода со стороны существующей сети в этой точке, например, U = -0,90 В.

Следует учитывать, что задача M1 корректно решается лишь при разделенных сетях. Поэтому после решения M1 с разделенными сетями следует откорректировать результаты решением в режиме М2 при состыкованных сетях.

Р.2.2.6 При наличии рельсовой сети трамвая или электрифицированной железной дороги определяют шаг дискретизации рельсовых линий в интервале 1000...200 м с малым шагом в районе точек дренажа. Общая протяженность участка моделируемой рельсовой сети должна быть достаточной для воспроизведения поля блуждающих токов на исследуемой территории с минимальными искажениями. Для этого целесообразно рассекать рельсовую сеть в точках токораздела на границах зон действия соседних тяговых подстанций. Общее число узлов дискретизации рельсовой сети - не более 40, нумерация узлов - непрерывная от начала участка.

При наличии ответвления нумерация продолжается от точки разветвления. При этом точка разветвления получает двойной номер: по основной линии и по ответвлению.

Р.2.2.7 Переходное сопротивление участка рельсовой сети Rпеp можно принять, исходя из технического состояния рельсовой линии (обычно Rпер = 50...200 Ом×м), или рассчитать по результатам измерения методом градиента потенциала.

Для расчета Rпер на расстоянии Y = 20...30 м от оси рельсовой линии измеряют поперечный градиент потенциала земли DU/DY; измеряют удельное электрическое сопротивление грунта r, по закону Ома вычисляют плотность тока в земле в точке с радиальной координатой Y; вычисляют суммарный ток, пронизывающий боковую поверхность полуцилиндра радиуса Y единичной длины; измеряют среднее значение потенциала рельсов; по потенциалу рельсов и току вычисляют искомое значение переходного (линейного) сопротивления в данной точке.

P.2.2.8 При решении задачи M1, руководствуясь реальными возможностями размещения установок ЭХЗ на данной территории, вначале вводят предполагаемое, причем желательно избыточное, количество установок ЭХЗ, задавая их тип - катодные станции, электродренажи и установки гальванической защиты (протекторные). В процессе решения оптимизационной задачи (симплекс-методом) программа отбрасывает излишние установки ЭХЗ и выбирает наилучший вариант размещения оставшихся, исходя из заданной номинальной мощности каждой из них и других указанных выше ограничивающих условий.

Общее количество вводимых установок ЭХЗ - не более 25.

Р.2.2.9 При выборе конструкции анодных заземлителей можно пользоваться типовыми решениями из альбомов рабочих чертежей 5.905-6 и 7.402-5 или же принять нетиповой (собственный) заземлитель.

Р.2.2.10 При проектировании только гальванической защиты участка трубопроводной сети (обычно в режиме М2) вначале должно быть задано количество групп гальванических анодов, их размещение и токи, полагая, что группа - это мини СКЗ. После варьирования этими параметрами и отыскания приемлемого решения по распределению потенциала в сети определяют, используя раздел «Анодные заземлители СКЗ», количество гальванических анодов в группе, ток каждого из них и срок службы.

Решение задачи гальванической (протекторной) защиты в режиме M1 аналогично задаче с катодными станциями, но с заданием малых номинальных (предельных) токов, например, не более 0,2 А для группы гальванических анодов.

Р.2.2.11 К трубопроводу, заземленному на арматуру железобетонной конструкции или другое подземное сооружение, не требующее ЭХЗ, подключают эквивалентный трубопровод, моделирующий данное заземление. Параметры эквивалентного трубопровода вычисляют в разделе «Анализ поля токов» и направляют его от точки заземления вглубь земли. При этом, если моделируется железобетонный фундамент, то стационарный потенциал эквивалентного трубопровода берется более положительным, чем основного, т.е. равным, например, - 0,3 В.

Р.2.2.12 При определении величины стационарного потенциала Ест проектируемого к укладке трубопровода по трассе с неоднородным грунтом следует иметь ввиду, что в сухих грунтах потенциал Ест более положителен, чем в мокрых. Обычно Ест находится в диапазоне -0,45...-0,7 В.

Р.2.2.13 Поскольку удельное сопротивление изоляции трубопровода (Rиз) зависит от удельного сопротивления водной составляющей окружающего грунта, то целесообразно вводить для корректировки Rиз значения удельного сопротивления грунта (r) для каждой контролируемой точки или группы ближайших точек.

Р.2.2.14 При исследовании совокупности разнородных и разделенных трубопроводных сетей, т.е. при отсутствии потенциалвыравнивающих перемычек и гальванических связей между сетями, решают задачу М2. При наличии искусственных или естественных перемычек между трубопроводами возможно решение в режиме M1.

Потенциалвыравнивающую кабельную перемычку представляют эквивалентным по продольному сопротивлению трубопроводом с весьма качественной изоляцией (Rиз = 20000 Ом×м) или принимают Rиз = 2...4 Ом×м2 - при использовании голой стальной шины.

Р.2.2.15 При исследовании поля токов коррозии и защиты в земле, токов перетекания между смежными сооружениями и отдельными участками, например, при их гальванической разнородности, поля токов в многоанодной системе ЭХЗ и пр. используют программы раздела «Анализ поля токов». При этом могут быть построены линии тока анод-катод, векторы плотности тока, рассчитана таблица потенциалов земли в трехмерном пространстве; вычислены плотности тока и продольный ток трубопровода в исследуемой точке сети и т.д.

Р.2.2.16 Сметные расчеты на строительно-монтажные работы ведут на основании прейскурантов ПЭЗ-84 с соответствующим коэффициентом удорожания. Все сметные коэффициенты могут корректироваться пользователем. Могут вводиться нестандартные статьи и калькуляции, которые затем запоминаются для повторного использования.

Спецификация на оборудование и материалы составляется в автоматизированном режиме в процессе подготовки сметы и затем распечатывается по принятой форме.

Р.2.2.17 Графический материал - масштабированная схема трубопроводной сети с размещенными контрольными точками, установками ЭХЗ, КИПами, изолирующими фланцевыми соединениями и прочими графическими и текстовыми отметками - распечатывается на бумаге формата А4 или A3 (при наличии принтера с широкой кареткой), а при необходимости может быть перенесен для обработки в графический редактор WINDOWS.

ПРИМЕР РАСЧЕТА ПО ПРОГРАММЕ АРМ ЭХЗ-

Пусть в соответствии с представленной на рисунке Р1 расчетной схемой требуется определить параметры оптимальной системы ЭХЗ участка трубопроводной сети, находящегося в поле блуждающих токов рельсового транспорта.

Произвольно принимаем положение осей прямоугольной системы координат (X, Y, Z), задаем расположение узлов дискретизации: 1...12 - на трубопроводе и 1...5 - в рельсовой линии и определяем их координаты.

Рассматриваемый (проектируемый) трубопровод в узле 9 будет врезан в старую трубопроводную сеть с изношенной изоляцией, оборудованную ЭХЗ. Координаты узлов проектируемого трубопровода (Хт, Yт, Zт), стационарные потенциалы и потенциал в точке врезки приведены в табл. P1 (Zт - заглубление).

Таблица P1

№ узлов

Хт, м

Yт, м

Zт, м

Uст, В

1

0

0

1,5

-0,6

2

0

5

1,5

-0,6

3

0

10

1,5

-0,6

4

0

15

1,5

-0,6

5

0

60

1,5

-0,6

6

0

200

1,5

-0,6

7

-50

0

1,5

-0,6

8

-200

0

1,5

-0,6

9

-500

0

1,5

U = -0,85

10

100

-100

1,5

-0,6

11

150

-150

1,5

-0,6

12

200

-200

1,5

-0,6

Рис. Р1. Схема трубопроводов и рельсового пути к примеру расчета ЭХЗ по программе АРМ ЭХЗ-6П

Учитываемая в расчетах, рельсовая линия находится в пределах зоны действия ближайшей тяговой подстанции, которая подключена в узле Р3. Измеренные потенциалы рельс-земля (Up) и координаты узлов дискретизации (Хр, Yp) приведены в табл. Р2.

Таблица Р2

№ узлов

Хр, м

Yp, м

Uр, в

1

-2000

10

1,5

2

-800

10

1

3

50

10

-2

4

600

10

-0,8

5

1500

10

2

Удельное сопротивление изоляции трубопровода (Rиз) в данном примере принято равным 50 Ом×м. Переходное сопротивление рельсовой линии (Rпер) принято равным 50 Ом×м, что характерно для плохого состояния рельсового полотна.

При определении схемы ЭХЗ можно полагать, что в данной ситуации наиболее простой способ защиты (вариант 1) - применение электродренажа между точками 2 трубопровода и 3 рельсов. После ввода данных (из меню «Ввод и корректировка») решим задачу (из меню «Решение основной задачи») по варианту 1. Результаты решения в режиме M1 (оптимизационная задача) приведены в табл. Р3.

Поскольку наиболее опасный участок анодной зоны на трубопроводе находится в точках 11 и 12, то целесообразно рассмотреть вариант 2 - с катодной станцией: точка дренажа - 11, координаты анодного заземлителя - Ха = 200 и Ya = -120 м. Результаты расчета приведены в табл. Р3, вариант 2.

Для сравнения выполнен расчет по варианту 3 - включены одновременно и электродренаж, и СКЗ (табл. 3, вариант 3). Решается оптимизационная задача на минимум тока защиты. Несмотря на то, что суммарный ток защиты несколько снизился, предпочтение, по-видимому, следует отдать варианту 1.

Таблица Р3

№ узлов

Разность потенциалов труба-земля, В по м.с.э.

Без ЭХЗ

с ЭЗХ

вариант 1

вариант 2

вариант 3

1

-0,51

-1,134

-1,035

-1,034

2

-0,52

-1,177

-1,068

-1,069

3

-0,52

-1,189

-1,076

-1,078

4

-0,52

-1,189

-1,077

-1,078

5

-0,39

-1,073

-0,961

-0,961

6

-0,22

-0,973

-0,850

-0,850

7

-0,71

-1,343

-1,230

-1,236

8

-1,03

-1,637

-1,508

-1,524

9

-0,83

-1,086

-1,035

-1,040

10

-0,20

-0,886

-0,941

-0,850

11

-0,17

-0,859

-1,066

-0,892

12

-0,10

-0,850

-1,006

-0,853

Параметры ЭХЗ:

Jдр = 6,27 A

Jскз = 5,43 А

Jскз = 2,46 А

Jдр = 2,86 А

Расчет дренажного кабеля показал («Результаты расчета»), что по первому варианту необходим кабель сечением 35 мм2, а по третьему - 10 мм2.

При расчете анодного заземлителя с ферросилидовыми стержнями («Расчет анодного заземлителя») по варианту 3 оказалось, что достаточно одного стержня длиной 1,5 м. Его срок службы - 21,7 года, сопротивление растеканию тока - 7,9 Ом.

При ухудшении качества изоляции трубопровода до уровня Rиз = 25 Ом×м токи защиты увеличатся примерно в два раза.

Если же оставить Rиз = 50 Ом×м, но увеличить переходное сопротивление рельсовой линии до уровня Rпер = 100 Ом×м, суммарный ток защиты уменьшится примерно в два раза, поскольку существенно уменьшится интенсивность блуждающих токов. Так, в узле 8 (катодная зона) потенциал трубопровода изменится от Ug = - 1,03 В до Ug = - 0,82 В, в анодной - от U12 = - 0,10 В до U12 = - 0,36 В.

Приложение С
(Информационное)

Информация о компьютерной программе CAG для расчета анодных заземлений систем катодной защиты3)

3 Модифицированная программа ORVG-1. Разработчик - Академия коммунального хозяйства им. К.Д. Памфилова. Тел. 490-37-23.

С.1 Программа CAG предназначена для расчета одиночных вертикальных и горизонтальных заземлителей в однородных и двухслойных грунтах и однорядных анодных заземлений из идентичных вертикальных заземлителей в однородных и (при определенных ограничениях) в двухслойных грунтах. Характеристики грунтов берутся по данным вертикального электрического зондирования (ВЭЗ).

С.2 Программа разработана как программное средство для любых модификаций ПЭВМ от 286 до Pentium, совместимых с IBM PC AT. Программа может выполняться как с операционной системой DOS, так и Windows 95. Все необходимые для работы программы файлы поставляются в комплекте. Запуск осуществляется из рабочего файла. Все комментарии и советы вызываются через Help. Применение мыши, учитывая активную работу с клавиатурой, не предусмотрено. В результате выполнения программы вычисляются искомые значения. Они могут, кроме вывода на экран, сохраняться в файле результатов, формируемом по желанию пользователя для последующей распечатки и обработки.

С.3 Программа может решать следующие задачи:

С.3.1 При расчете одиночных заземлителей (число анодов n = 1) при заданных характеристиках анода, грунта и расположения анода в грунте:

- вычисление сопротивления растеканию тока анода R и одновременно срока службы анода Т, если задана сила тока на анод J, или допустимой силы тока на анод J, если задан срок его службы Т.

Для вертикального анода одновременно вычисляются приведенные годовые затраты С.

С.3.2 При расчете однорядных анодных заземлений в однородном и (с определенными ограничениями) в двухслойном грунте при заданных характеристиках анодов, грунта, расположения анодов в грунте, силе тока на заземление Jp и сроке службы анодов Т:

- при n = 0 и Rg = 0: расчет числа анодов nmз в экономически оптимальном заземлении, минимальных приведенных годовых затрат Cmin, сопротивления растеканию тока заземления Rg, сопротивления растеканию тока одного анода R, допустимой силы тока на анод J, минимального необходимого числа анодов в заземлении nm;

- при n = 0 и заданном Rg > 0: расчет числа анодов n, обеспечивающего получение значения Rg, максимально близкого к заданному; соответствующее значение Rg, а также значений R, J, nm и С;

- при Rg = 0 и числе анодов n ³ 2 расчет: значений Rg, R, J, nm и С.

Подробнее возможности и ограничения расчетов, обозначения и размерности вводимых и вычисляемых параметров перечислены в Help. Выход на Help возможен и в процессе расчетов - клавиша F1.

С.4 После запуска рабочего файла следует в соответствии с появляющимся запросом выбрать тип рассчитываемых анодов - вертикальные или горизонтальные, а затем ответить на запрос: не нужен (n) или нужен (имя файла) файл результатов.

С.5 При выборе вертикальных анодов на экране появляются 7 схем возможного расположения вертикального анода в грунте (рис. С1). При выборе горизонтальных анодов на экране появляются 4 схемы возможного расположения горизонтального анода в грунте (рис. С2).

С.6 Для введения исходных данных следует выбрать нужный номер схемы и дать его как двухзначное число (например, 24).

С.7 Для вертикальных анодов ввиду большого количества вводимых исходных параметров их столбец занимает 2 экрана. Переход от 1-й половины столбца ко 2-й и обратно осуществляется командами соответственно Page Down и Page Up.

С.8 В столбце исходных параметров, наряду с их обозначениями, приведены их произвольные численные величины - кроме коэффициента запаса (Eps), а для вертикальных анодов - также нормативного коэффициента (Ен), к.п.д. преобразователя (w) и числа часов работы заземления в году (Тг). Для этих параметров даны значения, употребительные на момент составления программы. Для изменения значения любого параметра, включая указанные, следует установить курсор на его символе и дать команды: Enter - нужное число - Enter. Могут вводиться параметры как типовых, так и нетиповых заземлителей.

С учетом п. 4.3.17 заглубление анода t, а также толщина верхнего слоя двухслойного грунта отсчитываются от нижней границы слоя промерзания грунта.

Рис. С1. К программе CAG: схема возможных расположений вертикального анода в однородном (1.1, 1.2) и двухслойном грунтах (2.1 - 2.5) для выбора расчетного варианта

Рис. С2. К программе CAG: схема возможных расположений горизонтального анода в однородном (1.1, 1.2) и двухслойном грунтах (2.1, 2.2) для выбора расчетного варианта

С.9 После введения всех нужных численных значений параметров подвести курсор к строке run в столбце исходных данных и нажать клавишу Enter. Если введенные числа не содержат ошибки (значения L, L1, L2, h, t соответствуют выбранной схеме расположения анода в грунте) и не попадают в зону ограничений возможностей программы, в правой половине экрана появляется столбец значений искомых характеристик. В противном случае высвечивается информация об ошибке или попадании введенного значения того или иного параметра в зону ограничений возможностей расчета по программе.

С.10 Выход из режима расчетов по любой схеме в графическое изображение осуществляется командой Esc. Выход из графического изображения в каталог программы - командами 0 и Enter.

Пример расчета однорядного анодного заземления из вертикальных анодов по программе CAG

Требуется рассчитать экономически оптимальное однорядное заземление на ток Jp = 25 А и срок службы Т = 10 лет. Заземление должно состоять из стальных труб длиной L по 10 м, наружным диаметром dн = 0,25 м и внутренним диаметром dв = 0,20 м; плотность стали Gam = 7800 кг/м3.

Коксовой обсыпки нет, поэтому принимаем d0 = dн = 0,25 м и расход материала анода по току Ес = 10 кг/А×год.

Грунт двухслойный. Отсчитываемые от нижней границы слоя промерзания заглубление анода t = 0,3 м, толщина верхнего слоя h = 8,3 м, его удельное сопротивление Ro1 = 20 Ом×м, удельное сопротивление нижнего слоя Ro2 = 40 Ом×м.

При указанных значениях L, h и t расположение анода отвечает схеме 2.4 (рис. С1), которая и выбирается для расчета.

Принимаем также:

- расстояние между соседними анодами в ряду S = L = 10 м;

- коэффициент запаса Eps = 0,72;

- нормативный коэффициент для расчета приведенных годовых затрат Ен = 0,27;

- число часов работы заземления в году Тг = 8760 ч;

- к.п.д. преобразователя W = 0,60;

- цена одного анода (включая стоимость кабеля) Ка = 100 у.е.;

- стоимость электроэнергии Кэ = 0,043 у.е/кВт×ч.

Вводим все приведенные значения в столбец исходных данных. Так как оптимальное число анодов в заземлении и сопротивление растеканию тока заземления неизвестны, то вводим значения соответственно n = 0 и Rg = 0.

После команды «run» в таблице результатов расчета получаем следующие основные данные:

- оптимальное число анодов в заземлении nmз = 6;

- сопротивление заземления растеканию тока Rg = 0,528 Ом;

- минимальные приведенные годовые затраты Cmin = 369 у.е./год.

Кроме того, в таблицу результатов выведены:

- допустимая сила тока на 1 анод J = 8,82 А;

- сопротивление растеканию тока одного анода R = 1,871 Ом;

- минимально необходимое число анодов в заземлении nm = 2,84, принимаем nm = 3.

Обязательное требование, чтобы число анодов в заземлении было не меньше минимально необходимого числа анодов, выполняется: nmз > nm.

Полученное решение может не удовлетворять каким-либо дополнительным условиям или требованиям. Например, длина ряда анодов в рассчитанном заземлении (S ´ (nmз - 1) = 10 ´ 5 = 50 м) может оказаться слишком большой.

В этом случае можно провести новый расчет с целью сокращения длины ряда, использовав, например, коксовую обсыпку, или увеличив длину анода, или перейдя к анодам из ферросилида, и т.д.

Пример расчета одиночного горизонтального заземлителя по программе CAG

Требуется рассчитать одиночный горизонтальный заземлитель из стальной полосы длиной L = 7 м, шириной b = 0,08 м и толщиной d = 0,03 м в двухслойном грунте с толщиной верхнего слоя (относительно нижней границы слоя промерзания) h = 2,5 м, его удельным сопротивлением Ro1 = 20 Ом×м и удельным сопротивлением нижнего слоя Ro2 = 10 Ом×м. Коэффициент запаса Eps = 0,72, расход материала анода по току Ес = 10 кг/А×год. Заданный срок службы Т = 10 лет. Необходимо выбрать оптимальное расположение анода в грунте, т.е. значение t, и определить допустимый ток на анод J и его сопротивление растеканию тока R.

Для расчета R принимаем наружный диаметр эквивалентного цилиндрического анода dэкв = 0,5b = 0,5×0,08 = 0,04 м и dв = 0 (см. Help).

Исходя из желательности наименьшего возможного заглубления, принимаем, что в одном варианте (A) t = 0,2 м, т.е. анод расположен в верхнем слое грунта, а в другом варианте (Б) t = 2,7 м, т.е. анод расположен в нижнем слое грунта, у его верхней границы.

В варианте А (схема 2.1 рис. С2) получаем R = 3,626 Ом, в варианте Б (схема 2.2 рис. С2) R = 1,574 Ом, т.е. с точки зрения более низкого R вариант Б выгоднее.

В обоих вариантах значение J, естественно, одинаково и равно 0,49 А. Однако это значение необходимо скорректировать на отношение площади сечений используемой полосы и цилиндра диаметром dэкв (см. Help):

Jфакт = J×(bd/0,785×d2экв) = 0,49×(0,08×0,03/0,785×0,042) » 0,94 А

Приложение Т
(Информационное)

Информация о компьютерной программе MLG-2 для расчета вертикальных анодных заземлителей в многослойных грунтах4)

4 Модифицированная программа MLG-1. Разработчик - Академия коммунального хозяйства им. К.Д. Памфилова. Тел. 490-37-23.

Т.1 Программа MLG-2 предназначена для технического расчета одиночных вертикальных заземлителей (в первую очередь, глубинных) систем катодной защиты подземных металлических сооружений в многослойных грунтах с числом слоев n от 3 до 12. Вводимые характеристики таких грунтов берутся по данным вертикального электрического зондирования (ВЭЗ).

Т.2 Программа разработана как программное средство для любых модификаций ПЭВМ от 286 до Pentium, совместимых с IBM PC AT. Программа может выполняться с операционной системой как DOS, так и Windows 95. Все необходимые для работы файлы поставляются в комплекте. Все комментарии и советы вызываются через Help. Применение мыши, учитывая активную работу с клавиатурой, не предусмотрено. В результате выполнения программы вычисляются искомые значения, которые, кроме вывода на экран, могут сохраняться в файле результатов, формируемом по желанию пользователя для последующей распечатки и обработки.

Т.3 Возможности и ограничения расчетов, обозначения и размерности вводимых и вычисляемых параметров перечислены в Help. Выход на Help возможен и в процессе расчетов (клавиша F1 или строка Help).

Т.4 После запуска рабочего файла следует ответить на появляющийся запрос: не нужен (n) или нужен (имя файла) файл результатов.

Т.5 Далее, исходя из принятой схемы строения горизонтально-слоистого грунта, следует ввести расстояния Yi каждого i-го слоя от поверхности земли, заглубление t и принятые параметры анода. Нижний слой трактуется как бесконечный, поэтому, например, для 4-слойного грунта вводятся значения У1 - У3 для 3-х слоев и удельные сопротивления Ro1 - Ro4 для всех 4-х слоев.

С учетом п. 4.3.17 заглубление анода t и толщина Y1 верхнего слоя грунта отсчитываются от нижней границы слоя промерзания грунта.

Т.6 Ввиду большого количества вводимых и исходных данных их столбец занимает 2 экрана. Переход от 1-й половины столбца ко 2-й и обратно осуществляется командами соответственно Page Down и Page Up.

Т.7 В столбце исходных параметров, наряду с их обозначениями, приведены их произвольные численные значения - кроме коэффициента запаса (Eps), нормативного коэффициента (Ен), к.п.д. преобразователя (w) и числа часов работы заземлителя в году (Тг). Для этих 4-х параметров даны значения, употребительные на момент составления программы. Для изменения значения любого параметра, включая указанные 4, следует установить курсор на его символе и дать команды: Enter - нужное число - Enter. Могут вводиться параметры как типовых, так и нетиповых заземлителей.

Т.8 После введения всех нужных численных значений параметров можно вызвать схему принятого расположения анода в грунте принятого строения: курсор подводится к строке «схема» в столбце исходных данных и дается команда «Enter». Визуализированная наглядная схема полезна для проверки, уточнения или исправления принятого размещения анода и (или) его длины.

В таблицу у схемы выводится ряд параметров, в частности толщина наиболее электропроводного слоя (Lmin, м), удельное сопротивление этого слоя (Romin, Ом×м) и среднее удельное сопротивление грунта по длине анода (Rosr, Ом×м).

Т.9 После проверки схемы курсор подводится к строке «run» в столбце исходных данных и дается команда Enter. Если введенные числа не содержат ошибки и не попадают в зону ограничений возможностей расчета, в правой половине экрана появляются искомые значения - сопротивление растеканию тока анода (R, Oм) и допустимая сила тока на анод (J, A), при которой обеспечивается введенный в столбец исходных данных срок службы анода (Т, годы).

Т.10 Выход из программы: Esc + Enter.

Пример расчета анодного заземлителя по программе MLG-2

Требуется рассчитать основные эксплуатационные характеристики вертикального трубчатого стального заземлителя длиной L = 20 м, наружным диаметром dн = 0,25 и внутренним диаметром dв = 0,20 м, заглубленного на глубину t = 1,0 м в 4-слойный грунт со следующими характеристиками:

Y1 = 3,0 м Rо1 = 20 Ом×м

Y2 = 5,5 м Rо2 = 40 Ом×м

Y3 = 9,5 м Ro3 = 7 Ом×м

Ro4 = 50 Ом×м

Выход по току Ес = 8 кг/А×год, необходимый срок службы Т = 10 лет, коэффициент запаса Eps = 0,72. Обсыпки нет (d0 = dн).

После введения перечисленных значений параметров по команде «схема» получаем на экране визуализированную схему размещения заземлителя в грунте (рис. Т1).

После выхода из «схемы» (Esc) и введения команды «run» на экран выведены искомые значения:

- сопротивление растекания тока заземлителя R = 1,041 Ом;

- допустимая сила тока J = 6,19 А.

Полученное значение J может оказаться недостаточным. В этом случае целесообразен расчет для заземлителя из более стойкого материала. Например, приняв сплошной ферросилидовый заземлитель той же длины L = 20 м и наружным диаметром dн = 0,08 м, при Ес = 0,25 кг/А×год, Eps = 0,72 и Т = 20 лет получим R = 1,229 Ом, J = 38,08 А.

Рис. Т1. К программе MLG-2: пример возможного расположения анода в 4-слойном грунте

Приложение У
(Информационное)

Методика расчета защиты гальваническими анодами (протекторами)

У.1 Исходными данными для проектирования гальванической защиты (ГЗ) - защиты гальваническими анодами (протекторами) - являются:

- геометрические и электрохимические характеристики гальванического анода;

- удельное электрическое сопротивление грунта в месте установки анода у трубопровода;

- диаметр и при необходимости переходное сопротивление трубопровода.

У.2 Расчет ГЗ сводится к определению:

- силы тока в цепи гальванический анод-труба;

- срока службы анода;

- необходимого числа анодов для защиты участка трубопровода.

У.3 Сила тока J (А) в цепи одиночный гальванический анод (ГА) - трубопровод в общем случае равна:

J1 = [Eт(J) - Eга(J)]/R = [DE(J)]/R]

где Eт(J) и Eгa(J) - электродные потенциалы трубы и ГА при силе тока J, R (Ом) - омическое сопротивление в цепи ГА - труба.

Величины Eгa особенно Ет представляют собой сравнительно сложные функции силы тока J. Поэтому при проектировании ГЗ чаще всего упрощенно принимают DE(J) » 0,6 В. При этом

J1 » 0,6/R                                                               (У.1)

У.4 Омическое сопротивление R представляет собой сумму сопротивлений растеканию тока ГА Ra, проводника, соединяющего ГА с трубой Rсп, и входного сопротивления трубопровода Rт:

R = Rа + Rсп + Rт                                                         (У.2)

Принимается, что поляризационные сопротивления ГА и трубы не зависят от тока и входят в значения Ra и Rт соответственно.

У.5 Входное сопротивление трубопровода равно

                                             (У.3)

где Rпрод - продольное сопротивление металла трубы на единицу ее длины; Rпер - переходное сопротивление труба-земля. Rпрод при известных удельном сопротивлении металла трубы, rм (Ом×м), ее диаметра D (м) и толщине стенки d (мм) вычисляется легко:

Rпрод (Ом×м) = rм/[p×(103D - d)×d]                                           (У.4)

Значение Rпер вычислить сложнее:

                       (У.5)

Здесь Rиз (Ом×м) - сопротивление изоляции на единицу длины трубы, rг - (Ом×м) - удельное сопротивление грунта, hт - расстояние от поверхности земли до оси трубы. Значение Rиз убывает во времени t, Rиз = Rиз(t), поэтому в уравнении (У.5) Rиз при расчете ГЗ следует в зависимости от задачи относить к моменту начала или конца эксплуатации ГА. Если известно или принято удельное поверхностное сопротивление изоляции R¢из (Ом×м2), то Rиз вычисляется по формуле:

Rиз = R¢из/p×D                                                             (У.6)

У.6 Сопротивление соединительного провода равно

Rсп(Ом) = rспlсп/S,                                                          (У.7)

где rсп - удельное сопротивление металла провода (для меди и алюминия соответственно 0,0175 и 0,028 Ом×мм2/м), lсп (м) - длина, S (мм2) - сечение соединительного проводника.

У.7 Обычно основной вклад в величину R вносит сопротивление растеканию тока анода Ra, и чаще всего вместо уравнения (У.2) используют упрощенную формулу

R » Ra                                                                          (У.8)

У.8 Значение Ra зависит от расположения анода в грунте, длины анода 1а (м); его диаметра dа (м); удельного сопротивления грунта rг; отсутствия или наличия засыпки - активатора: специальной смеси для снижения и стабилизации сопротивления растеканию тока и предотвращения пассивации ГА.

При наличии засыпки в расчет вводятся ее удельное сопротивление rз (Ом×м); высота lз (м) и диаметр dз (м) столба засыпки.

У.9 Для вертикального анода без засыпки сопротивление растеканию тока равно:

Ra = (rг/2plа){ln(2lа/dа) + 0,5×ln[(4h + la)/(4h - 1а)]},                        (У.9)

где h (м) - расстояние от поверхности земли до середины анода.

У.10 Для вертикального ГА с засыпкой (комплектного анода)

Rаз = (rг/2plз)×{ln(2lз/dз) + 0,5×ln[(4h + lз)/(4h - lз)] + [(rз/rг)×ln(dа/dз)]}    (У.10)

У.11 Для горизонтального ГА без засыпки

                       (У.11)

У.12 Для горизонтального ГА с засыпкой (комплектного анода)

  (У.12)

Формулы (У.8) - (У.11) справедливы при условии lа > da, lз > dз. Формулы (У.9) и (У.10) справедливы при условии соответственно la < 4h, lз < 4h.

У.13 Значения Ra для выпускаемых магниевых протекторов типа ПМ-У при h £ 2,5 м могут быть рассчитаны по эмпирической формуле

Rаз = Arг + B,                                                              (У.13)

где А и В - численные коэффициенты, приведенные в таблице:

Тип анода

А, м-1

В, Ом

ПМ 5У

0,57

0,24

ПМ 10У

0,47

0,18

ПМ 20У

0,41

0,15

У.14 Срок службы одиночного ГА, Т (годы), вычисляют по формуле

Т = Gqhпhи/(Jср ´ 8760),                                                     (У.14)

где G - масса ГА (кг); q - теоретическая токоотдача материала анода, А×ч/кг (для магниевых анодов 2330 А×ч/кг); hп - к.п.д. анода (обычно принимают hп = 0,6 или по технической документации на анод); hи - коэффициент использования материала анода (обычно принимают hп = 0,90); Jcp (A) - средняя сила тока в цепи анод-труба за период эксплуатации анода Т.

У.15 Количество одиночных анодов, необходимое для защиты сети трубопроводов, вычисляется из суммарного катодного тока Jc (А), требуемого для защиты сети. Значение Jc для построенных трубопроводов может быть найдено из данных опытного включения передвижных катодных станций, а для проектируемых трубопроводов - из необходимой плотности защитного тока (определенной, в частности, по методике Приложения П) и суммарной площади поверхности трубопроводов. С учетом этого необходимое количество идентичных одиночных анодов N равно:

N = Jс/J1                                                                 (У.15)

где J1 определяется уравнением (У.1), а значение R в уравнении (У.1) - формулой (У.2) или (У.8).

У.16 В целях эффективного использования и удобства контроля ГА при эксплуатации часто размещают группами. Количество групп, их местоположение и число анодов в каждой группе определяются при проектировании в зависимости от условий расстановки.

У.17 Общее число анодов в группе, необходимое для защиты данного участка трубопровода, определяется по формуле:

nгр = Jз/J1hср                                                              (У.16)

где Jз - сила тока, необходимая для защиты участка;

hср - средний коэффициент использования анода.

Значение hср может приниматься равным 0,85 при расстояниях между соседними анодами 2 - 5 м.

После размещения групп ГА на плане подземных сооружений вычисляется ожидаемая сила тока Jож в каждой группе:

Jож = nгр×J1×h,                                                           (У.17)

где h - коэффициент использования ГА. Значение h для ряда вертикальных комплектных анодов может быть найдено по диаграмме рис. У1 в зависимости от числа анодов в группе nгр и отношения а/lз межанодного расстояния а (м) в группе к длине комплектного анода lз (м).

У.18 В случае применения ГЗ для защиты от опасного влияния блуждающих токов (п. 4.3.15 настоящей Инструкции) необходимый ток ГЗ определяют на построенном трубопроводе (путем опытного включения катодной станции или ГА) как величину, обеспечивающую полное подавление положительного смещения суммарного потенциала от стационарного.

Рис. У1. Зависимость коэффициента использования (h) анодов группы ГА от количества (n) анодов в группе и отношения а/lз межанодного расстояния (а) к длине (lз) комплектного анода

а - ГА типа ПМ-5У; б - ГА типа ПМ-10У и ПМ-20У

Пример расчета гальванической защиты

Пусть требуется рассчитать систему ГЗ для защиты двух почти параллельных новых построенных отводов от действующей газопроводной сети, электрически отсеченных от нее и от вводов в доме изолирующими фланцами. Диаметр каждого отвода D = 0,057 м, толщина стенки d = 3,5 мм, длина 30 м, глубина прокладки hт = 1,5 м. Расстояние между отводами 20 м, удельное сопротивление грунта rг = 10 Ом×м. Необходимый суммарный начальный ток защиты обоих отводов, определенный по данным опытного включения передвижной катодной станции, равен Jн = 0,2 А.

Для устройства ГЗ доступны типовые комплектные Mg - аноды ПМ-10У длиной lз = 0,7 м, диаметрами засыпки (активатора) dз = 0,2 м и стержня da = 0,13 м, массой G = 30 кг. Удельное сопротивление засыпки rз = 2 Ом×м, необходимый срок эксплуатации Т не менее 10 лет. Глубина установки анода h = 1,85 м.

Для иллюстрации сравним значения R в формуле (У.1), вычисляемые по формулам (У.13) и (У.2).

По формуле (У.13) для ПМ-10У

Raз = 0,47 ´ 10 + 0,18 = 4,88 Ом

Для расчетов по формуле (У.2) необходимо вычислить все 3 слагаемых ее правой части.

Сопротивление растеканию тока вертикального анода вычисляем по формуле (У.10):

Raз = [10/(6,28 ´ 0,7)](ln[(2 ´ 0,7)/0,2] + 0,5ln[(4 ´ 1,85 + 0,7)/(4 ´ 1,85 - 0,7)] + (2/10)×ln(0,13/0,2)} = 4,45 Ом.

Сопротивление соединительного медного провода длиной lсп = 10 м (ГА размещен в середине между отводами) и сечением S = 5 мм2 вычисляем по формуле (У.7):

Rсп = 0,0175 ´ 10/5 = 0,035 Ом

Для вычисления переходного сопротивления трубопровода Rпер, входящего в уравнение (У.5), необходимо рассчитать продольное сопротивление трубы Rпред. Приняв по справочным данным удельное сопротивление трубной стали rм = 0,25 Ом×мм2/м, по формуле (У.4) получаем:

Rпрод = 0,25/3,14×(103 ´ 0,057 - 3,5)×3,5 = 4,25 ´ 10-4 Ом/м

Пусть начальное сопротивление изоляции R¢из, определенное из данных опытного включения катодной станции, равно 200 Ом×м2. Тогда сопротивление изоляции на единицу длины трубы по формуле (У.6) равно

Rиз = 200/(3,14 ´ 0,057) = 1120 Ом×м

Используя формулу (У.5) для начального переходного сопротивления труба/земля Rпер, получаем уравнение:

Решая это уравнение с помощью подходящей компьютерной программы (например, Eureca) или «ручным» методом последовательных приближений, получим Rпер = 1147 Ом×м. По формуле (У.3) вычисляем начальное входное сопротивление каждого трубопровода:

Таким образом, вычисляемое по уравнению (У.2) сопротивление цепи ГА-труба равно (с учетом того, что соединительных проводов и трубопроводов по 2):

R = Raз + 0,5×(Rсп + Rт) = 4,45 + 0,5×(0,035 + 0,35) = 4,64 Ом

Как видно, эта величина почти не отличается от вычисленной по простейшей формуле (У.13) для ПМ-10У (4,88 Ом). Видно также, что основной вклад в R вносит сопротивление растеканию тока ГА (96 %).

Оценим необходимый защитный ток к концу планируемого периода эксплуатации ГЗ (Т не менее 10 лет), исходя из падения во времени входного сопротивления трубопровода Rт по формуле:

(Rтк/Rтн) = е-gТ/2,                                                           (У.18)

где Rтк и Rгн - конечное и начальное входное сопротивление трубопровода;

g - коэффициент старения изоляции.

Приняв g = 0,08, из (У.18) получим при Т = 10 лет:

(Rтк/Rтн) = е-0,08×10/2 = 0,67

Поэтому можно принять, что необходимый защитный ток для обоих отводов через 10 лет эксплуатации ГЗ составит 1/0,67 = 1,5 начального, т.е.

Jк = l,5Jн = 1,5×0,20 = 0,3 А

На сопротивлении же цепи ГА-труба указанное снижение Rт практически не скажется.

Ток, генерируемый одним анодом (формула (У.1)), равен

J1 = 0,6/4,88 = 0,123 А

меньше требуемого для защиты обоих отводов (Jн = 0,20, Jк = 0,3 А), поэтому необходимо устройство группы ГА. Используя формулу (У.16) при hср = 0,85, получим предварительное число анодов в группе:

nгр = 0,3/0,123 ´ 0,85 = 2,87

Принимаем nгр = 3. При расстоянии между анодами а = 2 м отношение a/lаз = 2/0,7 = 2,86 » 3. По графику рис. У1 при данном a/lз и nгр = 3 находим коэффициент использования анодов h » 0,82, мало отличающийся от предварительно принятого. Поэтому окончательно принимаем число ГА в грунте nгр = 3, и максимальная сила тока ГЗ должна быть равна (формула (У.17)):

J = 3 ´ 0,123 ´ 0,82 = 0,303 А,

т.е. практически совпадает с необходимой конечной (через 10 лет) силой тока ГЗ Jк = 0,3 А. Для уменьшения этого тока до необходимой начальной величины 0,2 А в цепь ГА-трубопроводы необходимо включить регулируемый резистор; после его полного вывода через 10 лет сила тока и станет равной 0,3 А.

Теперь можно оценить, будет ли приемлемой потеря массы ГА за 10 лет. Так как начальный и конечный токи защиты на 1 анод равны соответственно 0,2/3 = 0,067 А и 0,3/3 = 0,1 А, то средний ток за 10 лет равен J1ср = 0,067 + [(0,1 - 0,067)/10] ´ 5 = 0,084 А

Потеря массы анода DG за 10 лет эксплуатации по формуле (У.14) равна: 10 = (DG ´ 2330 ´ 0,6 ´ 0,9)/(8760 ´ 0,084), отсюда DG = 5,85 кг. Таким образом масса анода уменьшится всего на 20 %. Однако ввиду необходимости дальнейшего (после 10 лет) увеличения защитного тока в результате старения изоляции защита трубопроводов данной группой ГА уже не будет обеспечиваться, так как сила тока от нее не может превысить указанного максимального значения:

Jmax = DV/Rгр = 0,6/[(4,88/3)×(1/0,82)] » 0,3 А

Приложение Ф
(Информационное)

Расчет дренажной защиты

Ф.1 Расчет усиленной дренажной защиты в городских условиях сводится к вычислению тока дренажа, радиуса действия одного усиленного дренажа и сечения дренажного кабеля.

Ф.2 Средний ток дренажа Jдр может быть вычислен так же, как защитный ток при катодной защите - из расчетной защитной плотности тока j (формулы (П.11, П.12) Приложения П):

Jдр = 1,3jSS                                                                  (Ф.1)

Ф.3 Радиус действия дренажа R (м) вычисляется так же, как радиус действия катодной станции (формула (П.13) Приложения П):

                                                            (Ф.2)

где К (м2/га) - удельная плотность поверхности защищаемых трубопроводов на единицу площади территории их размещения.

Ф.4 Сопротивление дренажного кабеля Rкаб (Ом) вычисляется по формуле:

Rкаб = (Uдр/Jдр) - 0,02,                                                       (Ф.3)

где Uдр - номинальное напряжение на выходе дренажа (для выпускаемых усиленных дренажей Uдр = 6 или 12 В).

Ф.5 Сечение дренажного кабеля равно:

Sкаб (мм2) = rкаб×lкаб/Rкаб,                                                   (Ф.4)

где rкаб - удельное сопротивление металла кабеля (для меди rкаб = 0,0175 Ом×мм2/м), lкаб (м) - полная длина кабеля.

Приложение X
(Рекомендуемое)

ФОРМЫ ПРИЕМО-СДАТОЧНОЙ ДОКУМЕНТАЦИИ

АКТ
приемки строительно-монтажных работ

__________________  «            » ___  200 ________  г.

(регион)

По адресу _____________________________________________________________

Работы выполнены по проекту ___________________________________________

(наименование организации и № проекта)

Мы, нижеподписавшиеся:

От заказчика ___________________________________________________________

(должность, фамилия)

От строительной организации ____________________________________________

(должность, фамилия)

От технического надзора ________________________________________________

(должность, фамилия)

От проектной организации _______________________________________________

(должность, фамилия)

составили настоящий акт в том, что________________________________________

_____________________  выполнены в соответствии с проектом.

Комиссии были предъявлены следующие узлы строительно-монтажных работ:

Кабельные прокладки

а) кабель от преобразователя до AЗ марки __________________________________

уложен в траншее на глубине __________________  м, длиной _________________  м и

защищен _________________________________________________________________

_________________________________________________________________________

(покрыт кирпичом, в трубах и т.д.)

По стене здания ________________________________________________________

(способ прокладки, марка кабеля и длина)

В подвале здания _______________________________________________________

(способ прокладки, марка кабеля и длина)

б) кабель от преобразователя до КУ марки _________________________________

уложен в траншее на глубине ___________________  м, длиной ________________  м и

защищен _________________________________________________________________

_________________________________________________________________________

(покрыт кирпичом, в трубах и т.д.)

По стене здания ________________________________________________________

(способ прокладки, марка кабеля и длина)

В подвале здания _______________________________________________________

(способ прокладки, марка кабеля и длина)

Анодное заземление выполнено по чертежу ________________________________

а) электроды заземления выполнены из ____________________________________

(материал, профиль, сечение)

длиной ______________  м, в количестве __________  шт. _____________________

(с обсыпкой или без обсыпки)

б) внутренний электрод выполнен из ______________________________________

(материал, профиль, сечение)

_________________________________________________________________________

(наличие активатора или обсыпки)

в) общее сопротивление растеканию тока __________________________________

Контактные устройства

а) КУ на _______________________  выполнено из ___________________________

(вид сооружения)

_________________________________________________________________________

(материал, сечение, профиль)

По чертежу № _________________ . Контакт с защищаемым

сооружением осуществлен путем ____________________________________________

_________________________________________________________________________

Противокоррозионное покрытие на защищаемом сооружении

_________________________________________________________________________

б) КУ на ________________________  выполнено из _________________________

(вид сооружения)

_________________________________________________________________________

(материал, сечение, профиль)

По чертежу № _________________ . Контакт с защищаемым

сооружением осуществлен путем ____________________________________________

_________________________________________________________________________

Противокоррозионное покрытие на защищаемом сооружении

_________________________________________________________________________

Электромонтажные работы:

1. Установка ____________________  питается от сети переменного

тока напряжением _________________ В, размещена ___________________________

_________________________________________________________________________

(место, метод крепления)

2. Электропроводка переменного тока выполнена ___________________________

_________________________________________________________________________

(марка, сечение, длина кабеля, провод)

Монтаж проводки осуществлен ___________________________________________

(по фасаду, подвале, в земле и т.д.)

Место подключения ____________________________________________________

Устройство учета эл. энергии ____________________________________________

3. Отключающее устройство выполнено ____________________________________

4. Защитное заземление выполнено по чертежу № ___________________________

5. Сопротивление растекания защ. заземления ______________________________

6. Электромонтажные работы выполнены в соответствии с актом

приемки и сдачи электромонтажных работ ___________________________________

7. Прочие устройства

_________________________________________________________________________

_________________________________________________________________________

8. Замечания по строительно-монтажным работам

_________________________________________________________________________

_________________________________________________________________________

Подписи:

От заказчика ___________________________________________________________

От строительной организации ____________________________________________

От технического надзора ________________________________________________

От проектной организации ______________________________________________

АКТ
приемки и сдачи электромонтажных работ

_________________  «             » ___  200 ________  г.

(регион)

Заказчик ______________________________________________________________

Объект ________________________________________________________________

Комиссия в составе:

От заказчика ___________________________________________________________

(должность, фамилия)

От электромонтажной организации _______________________________________

(должность, фамилия)

От эксплуатационной организации ________________________________________

(должность, фамилия)

Произведена проверка и осмотр выполненных работ по ______________________

_________________________________________________________________________

1. К сдаче предъявлено __________________________________________________

_________________________________________________________________________

_________________________________________________________________________

2. Электромонтажные работы выполнены по проекту, разработанному и согласованному с Территориальным Управлением «Госэнергонадзора» и «Энергосбыта» ___________________________________________________________

_________________________________________________________________________

3. Отступление от проекта _______________________________________________

_________________________________________________________________________

4. Электромонтажные работы выполнены (оценка) __________________________

5. Оставшиеся недоделки ________________________________________________

не препятствуют нормальной эксплуатации и подлежат устранению электромонтажной организацией до _________________________________________

_________________________________________________________________________

ЗАКЛЮЧЕНИЕ:

Электрооборудование, перечисленное в п. № 1 настоящего акта, считать принятым в нормальную эксплуатацию после пусконаладочных работ.

К акту прилагается:

1. Протокол измерения сопротивления изоляции кабелей.

2. Протокол измерения полного сопротивления петли «Фаза-О».

3. Протокол проверки наличия цепи между заземлителями и заземляемыми элементами электрооборудования.

4. Протокол измерения сопротивления растеканию тока заземляющих устройств.

СДАЛ: ___________________________

ПРИНЯЛ: ________________________

АКТ
приемки в эксплуатацию контактных устройств, потенциалоуравнивающих перемычек и контрольно-измерительных пунктов (ненужное зачеркнуть)

«____ » _______  200 _  г.

Комиссия в составе представителей:

От строительной организации ____________________________________________

(должность, фамилия)

От технического надзора ________________________________________________

(должность, фамилия)

От эксплуатационной организации ________________________________________

(должность, фамилия)

произвела осмотр и проверку выполненных работ ______________________________

_________________________________________________________________________

по адресу ________________________________________________________________

на трубопроводе __________________________________________________________

_________________________________________________________________________

Работы выполнены по проекту ____________________________________________

В соответствии с типовым чертежом ______________________________________

Глубина залегания трубопровода __________________________________________

_________________________________________________________________________

КУ, ПТ, КИП оборудован ________________________________________________

(электродом сравнения)

_________________________________________________________________________

_________________________________________________________________________

Привязки указаны на исполнительном чертеже _____________________________

_________________________________________________________________________

Подписи:

От строительной организации ____________________________________________

От технического надзора ________________________________________________

Заключение об исправности сдаваемого сооружения:

эксплуатационная организация, проводящая проверку

_________________________________________________________________________

Проверка производилась методом _________________________________________

с помощью прибора _______________________________________________________

Результат проверки ________________________________________________________

_________________________________________________________________________

_________________________________________________________________________

Должность

Ф. И. О.

Подпись

Печать                                                                 «____ » ___________  200 _  г.

АКТ
пневматических и электрических испытаний изолирующих фланцев с условным проходом
Dу -   _______________________________

Испытания изолирующего фланцевого соединения на прочность

«__ » ______  200_ г. проведено пневматическое испытание изолирующего фланцевого соединения (№ _____ ) на прочность давлением ______  МПа с выдержкой 10 мин с последующим осмотром.

При осмотре дефектов и утечек не обнаружено.

Изолирующее фланцевое соединение испытание на прочность выдержало.

Производитель работ _______________________________________

(должность, Ф. И. О., подпись)

Представитель ОТК_________________________________________

(должность, Ф. И. О., подпись)

Испытания изолирующего фланцевого соединения на плотность

«____ » ______  200_ г. проведено пневматическое испытание изолирующего фланцевого соединения (№ ______ ) на плотность давлением ______  МПа с выдержкой 5 мин. с последующим осмотром и измерением падения давления по манометру.

Утечек и видимого падения давления по манометру не обнаружено.

Изолирующее фланцевое соединение испытание на плотность выдержало.

Производитель работ _______________________________________

(должность, Ф. И. О., подпись)

Представитель ОТК ________________________________________

(должность, Ф. И. О., подпись)

Электрические испытания изолирующего фланцевого соединения (действительны в течении 3-х месяцев).

«____ » ________  200_ г. проведены электрические испытания изолирующего фланцевого соединения (№ ______ ).

При испытании в сухом помещении мегометром типа М-1101 при напряжении 1 кВ короткое замыкание не зафиксировано.

Измеренное сопротивление изолирующего фланцевого соединения _____________

__________________________________________________________________________

Изолирующее фланцевое соединение электрические испытания выдержало.

После установки фланца на газопровод вызвать представителя эксплуатационной организации для приемки.

Производитель работ ______________________________________

(должность, Ф. И. О., подпись)

Представитель ОТК _______________________________________

(должность, Ф. И. О., подпись)

СПРАВКА

О приемке изолирующего соединения __________________________________  шт.

По ______________________________________________________________________

(адрес)

Произведена проверка исправности электроизолирующего соединения

по вызову от ______________________________________________________________

(наименование организации)

Предприятие изготовитель ______________________________________________

Установка изолирующего соединения выполнена по проекту № _______________

_________________________________________________________________________

(наименование проектной организации)

Проверка производилась методом _________________________________________

с помощью прибора _______________________________________________________

При приемке представлены следующие документы:

а) акты пневматических и электрических испытаний;

б) эскиз трубопровода.

Результаты проверки ______________________________________________________

_________________________________________________________________________

_________________________________________________________________________

Заключение:

_________________________________________________________________________

_________________________________________________________________________

_________________________________________________________________________

Представитель эксплуатационной организации:

Должность ____________________  Подпись ______________________________

(Ф. И. О.)

«____ » ___________  200 _  г.

АКТ
приемки строительно-монтажных работ гальванической (протекторной) защиты

__________________  «__ » _______  200 __  г.

(регион)

Работы по защите _______________________________________________________

(наименование сооружения)

по адресу ____________________________________________________  выполнялись

по проекту № _____________________________________________________________

(наименование организации, обозначение проекта)

Мы, нижеподписавшиеся:

От заказчика ___________________________________________________________

(должность, фамилия)

От строительной организации ____________________________________________

(должность, фамилия)

От технического надзора ________________________________________________

(должность, фамилия)

От проектной организации _______________________________________________

(должность, фамилия)

составили настоящий акт в том, что __________________________________________

выполнены в соответствии с проектом.

Комиссии были предъявлены следующие узлы строительно-монтажных работ:

1. Гальванические аноды (протекторы)

а) типа ________  длиной _______  мм, массой _______  кг в количестве

_________ шт., установлены группами по ___________  шт. в каждой.

Общее количество групп ______________ ;

б) расстояние между гальваническими анодами (протекторами) в группах _____  м.

Расстояние между гальваническими анодами (протекторами) и защищаемым сооружением:

в 1-ой группе __________  м, во 2-ой группе ____________  м,

в 3-ей группе __________  м;

в) глубина заложения гальванических анодов (протекторов) в скважинах (шурфах)   м с поверхности до верха гальванического анода (протектора).

2. Кабельные прокладки

Соединительная магистраль в группах выполнена кабелем

_______________________  сечением _________________________  в траншеях

глубиной _______________  м, длиной _____________  м

и защищена ______________________________________________________________

(покрыта кирпичом, в трубах и т.д.)

Проводники от гальванических анодов (протекторов) к общей магистрали выполнены проводом марки _____________________ , способ соединения проводника

с магистралью ____________________________________________________________

(зажимы, скрутки, термитная сварка)

Места присоединения изолированы от земли _______________________________

_________________________________________________________________________

(способ изоляции)

3. Контактные устройства

Контакт с ___________________________________________________  выполнен по типовому (вид сооружения) чертежу (нормали)

_________________________________________________________________________

(обозначение документа)

путем ___________________________________________________________________

(сварки, болтового присоединения)

4. Прочие узлы _________________________________________________________

_________________________________________________________________________

5. Замечания по строительно-монтажным работам ___________________________

_________________________________________________________________________

_________________________________________________________________________

_________________________________________________________________________

_________________________________________________________________________

Подписи:

От заказчика ___________________________________________________________

От строительной организации ____________________________________________

От технического надзора ________________________________________________

От проектной организации _______________________________________________

АКТ
приемки в эксплуатацию установок электрохимической защиты в районе

__________________  «__ » ________  200__ г.

Комиссия в составе представителей:

От заказчика ___________________________________________________________

(должность, фамилия)

От строительной организации ____________________________________________

(должность, фамилия)

От эксплуатационной организации ________________________________________

(должность, фамилия)

От проектной организации _______________________________________________

(должность, фамилия)

От технического надзора ________________________________________________

(должность, фамилия)

От Госгортехнадзора ____________________________________________________

(должность, фамилия)

Ознакомившись с технической документацией, установила следующее:

1. Установки ЭХЗ построены по проекту ___________________________________

2. Техдокументация согласована со всеми заинтересованными организациями без замечаний.

3. Характеристика установок ЭХЗ

 

№ п/п

Адрес установки защиты

Тип установки защиты

Тип преобразователя

Тип блока совместной защиты

Анодное заземление

М

шт.

 

 

 

 

 

 

 

 

 

 

 

 

 

 

 

 

 

 

 

 

 

 

 

 

 

 

 

 

 

 

 

 

 

 

 

 

 

 

 

 

 

 

 

 

 

 

 

 

 

 

 

 

 

 

 

 

 

 

 

 

 

 

 

 

 

 

 

 

 

 

4. Параметры установок ЭХЗ

№ п/п

Ток (А)

Напряжение (В)

Сопротивление растеканию тока (Ом)

Токи в электроперемычках и протяженность защищаемых сооружений

Газопровод

Водопровод

Кабели связи

Теплопровод

 

 

 

 

 

 

 

 

 

 

 

 

 

 

 

 

 

 

 

 

 

 

 

 

 

 

 

 

 

 

 

 

 

 

 

 

 

 

 

 

 

 

 

 

 

 

 

 

 

 

 

 

 

 

 

 

 

 

 

 

 

 

 

 

 

 

 

 

 

 

 

 

 

 

 

 

 

 

 

 

 

 

 

 

 

 

 

 

 

 

 

 

 

 

 

 

 

 

 

 

 

 

 

 

 

 

 

 

 

 

 

 

5. Замечания по проекту, монтажу, наладке _________________________________

______________________________________________________________________

6. Комиссия постановила принять в эксплуатацию установки ЭХЗ с ________  года.

Подписи:

От заказчика ___________________________________________________________

От строительной организации ____________________________________________

От эксплуатационной организации ________________________________________

От проектной организации _______________________________________________

От технического надзора ________________________________________________

От Госгортехнадзора

Приложение Ц
(Рекомендуемое)

Протокол измерений потенциалов трубопровода при контроле эффективности электрохимической защиты

Город ________________________________________________________________

Вид подземного сооружения и пункта измерения ___________________________

Дата «____ » __________________________  год

Время измерений: начало ___________  конец ______________________________

Адрес пункта измерений ________________________________________________

Измеряемая величина (суммарный потенциал, поляризационный

потенциал) ______________________________________________________________

Режим измерения ______________________________________________________

(без защиты, с включенной защитой)

Тип и № прибора ________________  Предел измерений _____________________

Данные измерений, В

t, мин/с

0

10

20

30

40

50

1

 

 

 

 

 

 

2

 

 

 

 

 

 

3

 

 

 

 

 

 

4

 

 

 

 

 

 

5

 

 

 

 

 

 

6

 

 

 

 

 

 

7

 

 

 

 

 

 

8

 

 

 

 

 

 

9

 

 

 

 

 

 

10

 

 

 

 

 

 

11

 

 

 

 

 

 

12

 

 

 

 

 

 

13

 

 

 

 

 

 

14

 

 

 

 

 

 

15

 

 

 

 

 

 

16

 

 

 

 

 

 

17

 

 

 

 

 

 

18

 

 

 

 

 

 

Камеральная обработка результатов измерений

№ пункта измерения по схеме

Адрес пункта измерения

Число измерений

Сумма измеренных значений потенциала

Среднее значение защитного потенциала

Минимальное (по абсолютной величине) значение защитного потенциала

1

2

3

4

5

6

 

 

 

 

 

 

 

 

 

 

 

 

 

 

 

 

 

 

 

 

 

 

 

 

 

 

 

 

 

 

 

 

 

 

 

 

 

 

 

 

 

 

 

 

 

 

 

 

 

 

 

 

 

 

 

 

 

 

 

 

 

 

 

 

 

 

Измерил ___________________________

Обработал ________________________

Проверил __________________________

Если при измерениях в зоне действия блуждающих токов определено мгновенное значение потенциала трубопровода положительнее его стационарного потенциала, то следует выполнять измерения с учетом примечания к п. 2.2.7.

Приложение Ч
(Рекомендуемое)

Протокол определения исправности электроизолирующих соединений (ЭИС)

Город ____________________________________

Тип прибора ______________________________

Дата измерения «___ » ___________________  год

Погодные условия _________________________

№ п/п

№ пункта по схеме

Адрес установки ЭИС

Вид установленного ЭИС

Uт-з до ЭИС

Uт-з после ЭИС

DU = Uт-з до ЭИС - Uт-з после ЭИС

Исправность ЭИС

1

2

3

4

5

6

7

8

 

 

 

 

 

 

 

 

 

 

 

 

 

 

 

 

 

 

 

 

 

 

 

 

Измерения провел _________________________

Протокол измерения сопротивления изолирующих вставок (производства «Экогаз», г. Владимир)

Город ____________________________________

Тип прибора ______________________________

Дата измерения «____ » __________________  год

Погодные условия _________________________

п/п

№ пункта по схеме

Адрес установки изолирующей вставки

Сопротивление муфты относительно газопровода до муфты

Сопротивление муфты относительно газопровода после муфты

Исправность изолирующей вставки

1

2

3

4

5

6

 

 

 

 

 

 

 

 

 

 

 

 

 

 

 

 

 

 

Измерения провел _________________________

Приложение Ш
(Рекомендуемое)

АКТ коррозионного обследования подземного сооружения

«_____ »                      200     год

1. Адрес места повреждения _____________________________________________

2. Характеристика трубопровода: _________________________________________

давление (высокое, среднее, низкое) _________________________________________

материал трубы ___________________________________________________________

толщина стенки трубы _____________________________________________________

глубина заложения (от верха трубы до поверхности земли)

_________________________________________________________________________

год постройки _________________________________________________________

3. Состояние изоляционного покрытия:

материал и тип изоляционного покрытия _____________________________________

состояние изоляционного покрытия на трубе __________________________________

количество и характер видимых дефектов изоляции ____________________________

наличие влаги под изоляцией _______________________________________________

толщина _________________________________________________________________

сплошность ______________________________________________________________

адгезия __________________________________________________________________

переходное сопротивление _________________________________________________

4. Состояние наружной поверхности трубы:

наличие ржавчины на трубе под изоляцией, в местах отсутствия или повреждения изоляции ________________________________________________________________

характер ржавчины (цвет, бугристая, сплошная, легко - или трудноотделяемая от трубы) __________________________________________________________________

наличие сквозных или несквозных язв (сверху, снизу, сбоку, примерное число на 1 дм2

_________________________________________________________________________

размеры язв (диаметр, глубина) _____________________________________________

5. Характеристика грунта:

тип _____________________________________________________________________

влажность по внешнему осмотру: сухой, полусухой, влажный, мокрый, плывучий (подчеркнуть)

наличие грунтовой воды ___________________________________________________

наличие загрязнений ______________________________________________________

коррозионная агрессивность ________________________________________________

6. Наличие опасного действия блуждающих постоянных токов и переменного тока_____________________________________________________________________

7. Тип установки ЭХЗ ___________________________________________________

8. Дата ввода в эксплуатацию ____________________________________________

9. Суммарное время простоя до обнаружения повреждения ___________________

10. Потенциал в месте повреждения:

при работе установки ЭХЗ _________________________________________________

при отключенной установке ________________________________________________

11. Обстоятельства обнаружения повреждений (опрессовка и т.п.) _____________

12. Заключение о предполагаемых причинах коррозии.

13. Предлагаемые противокоррозионные мероприятия.

Подписи:

 




Rambler's Top100 Яндекс цитирования
  Copyright © 2008-2026, www.docload.ru