Бесплатная библиотека стандартов и нормативов www.docload.ru

Все документы, размещенные на этом сайте, не являются их официальным изданием и предназначены исключительно для ознакомительных целей.
Электронные копии этих документов могут распространяться без всяких ограничений. Вы можете размещать информацию с этого сайта на любом другом сайте.
Это некоммерческий сайт и здесь не продаются документы. Вы можете скачать их абсолютно бесплатно!
Содержимое сайта не нарушает чьих-либо авторских прав! Человек имеет право на информацию!

 

МИНИСТЕРСТВО МОРСКОГО ФЛОТА

ТЕХНОЛОГИЯ ПРОМЕРНЫХ РАБОТ
ПРИ ПРОИЗВОДСТВЕ
ДНОУГЛУБИТЕЛЬНЫХ РАБОТ

РД 31.74.04-79

(Изменение номера согласно
«Перечню РНД ММФ
» по состоянию 01.12.80
Документ не переиздавался
)

МОСКВА

ЦРИА «МОРФЛОТ»

1980

РАЗРАБОТАН Ростовским Центральным проектно-конструкторским бюро

Начальник бюро                                                                      И. П. Иванов

Руководитель разработки                                                       В. С. Стрельченко

Ответственный исполнитель                                                 К. П. Кобец

СОГЛАСОВАН Черноморским морским пароходством

Зам. начальника пароходства                                           Г. Д. Берначук

Каспийским морским пароходством

Начальник службы портового хозяйства                         Л. С. Ицкович

Северным морским пароходством

Зам. начальника службы портового хозяйства               П. Я. Ткачев

Балтийским морским пароходством

Зам. начальника Балтморпути                                          В. Н. Бабаскин

(по поручению пароходства)

Гидрографическим предприятием ММФ

Главный инженер ГП ММФ                                             Е. В. Клюев

УТВЕРЖДЕН В/О «Совсудоподъем» ММФ

Зам. председателя                                                              В. Г. Королев

Министерство

морского флота

(Минморфлот)

г. Москва

 

Руководителям

Предприятий

и организаций ММФ

Министерством утвержден руководящий технический документ РД 31.74.04-79 «Технология промерных работ при производстве дноуглубительных работ» со сроком введения в действие с 1 октября 1980 г. взамен Технической инструкции по производству промерных работ на дноуглубительных объектах ММФ.

РД устанавливает технологические требования, сроки проведения и допускаемые погрешности при выполнении промерных работ при производстве дноуглубительных работ и обеспечении мореплавания на подходах к портам и акваториях в системе ММФ.

Для внедрения РД 31.74.04-79 предлагаю:

1. Руководителям предприятий и организаций ММФ, проводящих промерные работы для обеспечения дноуглубления и мореплавания на подходах к портам, руководствоваться РД 31.74.04-79.

2. Ростовскому ЦП КБ обеспечить:

2.1. До 01.07.80 г.

издание и рассылку РД 31.74.04-79 всем заинтересованным организациям и предприятиям ММФ.

2.2. Контроль за внедрением РД 31.74.04-79.

Заместитель начальника Научно-технического управления

А. П. МОРОЗОВ

Технология промерных работ при производстве дноуглубительных работ

РД 31.74.04-79

Взамен Технической инструкции по производству промерных работ на дноуглубительных объектах ММФ, утвержденной 14.01.71

Директивным письмом Научно-

технического управления ММФ

НТУ-3-49/1838

от 1 ноября 1979 г.

Срок введения в действие установлен

с 1 октября 1980 г.

Настоящий руководящий документ (РД) распространяется на промерные работы, выполняемые в Министерстве морского флота СССР.

РД устанавливает технологические приемы и методы производства промеров и нормативные требования по точности и срокам их выполнения при производстве морских дноуглубительных работ и контроле состояния судоходных габаритов морских каналов, фарватеров и акваторий портов.

РД является обязательным для всех подразделений управлений морских путей, специальных служб морских пароходств, портов и других организаций ММФ, а также сторонних организаций, пользующихся услугами дноуглубительного флота ММФ.

1. ОБЩИЕ ПОЛОЖЕНИЯ

1.1. Задачи промера

1.1.1. Основными задачами промера являются:

определение объемов планируемых и выполненных дноуглубительных работ;

выявление состояния габаритов судоходных объектов морских путей (каналов, фарватеров, рейдов, портовых акваторий) для информации судоводителей;

выявление величины и интенсивности заносимости судоходных объектов морских путей;

обеспечение объектов дноуглубительных работ плановой разбивкой и закреплением на местности границ участков работ с заданной проектной точностью;

обеспечение объектов дноуглубительных работ промерными материалами;

контроль за состоянием габаритов на лимитирующих участках судоходных объектов морских путей;

контроль за состоянием отвалов грунта и подходных путей к ним;

контроль за качеством работы земснарядов;

обеспечение объектов дноуглубительных работ уровенными постами.

1.2. Виды промера, их назначение и сроки проведения

1.2.1. Установлены следующие виды промера: приемо-сдаточный (предварительный и исполнительный) подробный; контрольный.

1.2.2. Приемо-сдаточный промер должен выполняться для определения глубин, средней толщины снимаемого слоя, ширины прорези и объема работ на объектах дноуглубления.

1.2.2.1. Предварительный приемо-сдаточный промер должен выполняться до начала производства дноуглубительных работ.

1.2.2.2. Исполнительный приемо-сдаточный промер должен быть выполнен после окончания части работ и всех работ на данном участке.

1.2.3. Подробный промер должен выполняться для выявления состояния габаритов, определения величины и интенсивности заносимости судоходных объектов морских путей, для выявления состояния мелководных отвалов грунта и подходов к ним.

1.2.4. Контрольный промер должен выполняться для выявления лимитирующих участков судового хода, для получения оперативных сведений об изменениях габаритов на них, для выявления рельефа дна и глубин на отдельных объектах, отвалах грунта и подходах к ним, для осуществления контроля за качеством работы земснарядов в процессе дноуглубления.

1.2.5. Измерение глубин при всех видах промера должно производиться по поперечным профилям.

Допускается выполнение контрольного промера на каналах и фарватерах по продольным профилям, расположенным по оси и вблизи бровок.

1.2.6. Сроки проведения промера должны устанавливаться в зависимости от величины и интенсивности заносимости объекта, значимости объекта в судоходном отношении и соответствовать требованиям, указанным в табл. 1.

Таблица 1

Сроки проведения промерных работ

Вид промера

Объекты

Величина заносимости в год, м

Менее 0,3

Более 0,3

Заносимость обусловлена штормовым явлением

Приемо-сдаточный:

Все объекты дноуглубительных работ

 

 

 

предварительный

 

Не ранее 10 сут до начала работ

Не ранее 5 сут до начала работ

Не позднее 3 сут после окончания шторма (корректировка ранее выполненного промера)

исполнительный

 

Не позднее 10 сут после окончания работ на каждом профиле сдаваемого участка

Не позднее 5 сут после окончания работ на каждом профиле сдаваемого участка

Не позднее 3 сут после окончания шторма

Подробный

Все судоходные объекты морских путей

Не реже одного раза в год

Не реже одного раза и год

 

Контрольный

Лимитирующие участки судового хода

Через 90 сут

Через 30 сут

После окончания штормового явления

 

Отвалы грунта

Не реже одного раза в год

Не реже одного раза в год

 

 

Контроль работы земснаряда

Через каждые 5 сут

Через каждые 5 сут

 

1.2.7. При выполнении всех видов промера, оформлении рабочей и отчетной документации следует применять термины, определения и расчетные формулы, касающиеся основных элементов судового хода и поперечного сечения дноуглубительной прорези (приложение 1).

1.3. Подробность промера

1.3.1. Подробность промера определяется расстоянием между промерными профилями и частотой измерения глубин на профиле.

1.3.2. Подробность промера должна обеспечивать равномерное покрытие промерами всей промеряемой площади и выявлять характер рельефа дна, откосов, бровок каналов и выемок на акватории.

1.3.3. Координаты промерных профилей и точек измерения глубин на них должны быть постоянными и позволять сравнивать глубины последующих промеров с предыдущими.

1.3.4. Подробность промера должна назначаться в зависимости от размеров и формы объекта, рельефа дна, значимости объекта, вида промера и не должна быть меньше указанной в табл. 2.

Таблица 2

Наименьшая предельная подробность промера, м

Объекты

Приемосдаточный

Подробный

Контрольный

Расстояние между

профилями

точками на профилях

профилями

точками на профилях

профилями

точками на профилях

Судоходные каналы

 

 

 

 

 

 

Ложе и забровочное пространство

50,0 или 100,0

10,0

50,0 или 100,0

10,0

100,0; 200,0 или 500,0

10,0

Боковые откосы

50,0 или 100,0

2,5 и 5,0

50,0 или 1,00,0

5,0

100,0; 200,0 или 500,0

10,0

Фарватеры

 

 

 

 

 

 

Плавный рельеф

100,0

10,0

200,0 или 500,0

10,0

200,0 или 500,0

10,0

Сложный рельеф

50,0

5,0

50,0 или 100,0

5,0

100,0 или 200,0

10,0

Акватории портов

 

 

 

 

 

 

Причалы и другие гидротехнические сооружения:

 

 

 

 

 

 

на участке до 5,0 м от стенки сооружения

10,0

1,0

20,0

1,0

20,0 или 40,0

5,0

то же, от 5,0 до 10,0 м

10,0

2,5

20,0

2,5

20,0 или 40,0

5,0

то же, от 10,0 до 20,0 м

10,0

5,0

20,0

5,0

20,0 или 40,0

10,0

то же, 20,0 м и более

10,0

10,0

20,0

10,0

20,0 или 40,0

10,0

Гавани и аванпорты

 

 

 

 

 

 

Плавный рельеф

50,0

10,0

50,0

10,0

100,0

10,0

Сложный рельеф

20,0

2,5

20,0

2,5

40,0

5,0

Котлованы под плавдоки и другие сооружения

 

 

 

 

 

 

Ложе

10,0

5,0

20,0

6,0

40,0

10,0

Откосы из илов, глин и суглинков текучепластичных

10,0

5,0

10,0

5,0

40,0

5,0

Откосы из илов пластичных, песков

10,0

2,5

10,0

2,5

40,0

5,0

Откосы из твердых глин

10,0

1,0

10,0

1,0

40,0

2,5

Рейды, отвалы грунта и другие открытые участки моря

 

 

 

 

 

 

Плавный рельеф

-

-

200,0

20,0 или 50,0

500,0

50,0

Сложный рельеф

-

-

200,0

10,0 или 25,0

200,0 или 500,0

25,0 или 50,0

Примечания: 1. На объектах, где разработки производились штанговыми или грейферными земснарядами, подробность промера должна назначаться более высокой.

2. При выполнении контрольного промера по продольным профилям интервалы точек промера должны быть не реже 40 м.

3. Контрольный промер по продольным профилям рекомендуется дополнять промером по поперечникам с интервалами между ними не более 500 м.

4. Допускается увеличение подробности и частоты промера при выполнении научно-исследовательских работ в соответствии с их программами и методиками.

1.3.5. Длина промерных профилей должна обеспечивать измерение глубин по всей ширине объекта и за его границами на расстояниях не меньше указанных в табл. 3.

Таблица 3

Удлинение промерного профиля в каждую сторону от рабочих бровок искусственной прорези или бровок естественных судоходных путей

Тип грунта

Глубина прорези, м

От 1 до 5

6

8

10

1,2

14

16

18

Ил, глина, суглинок текучие

60

90

120

150

180

210

240

270

Ил, глина, суглинок текучепластичные

10

60

80

100

120

140

160

180

Ил с ракушкой, ил пластичный, песок пылеватый, песок рыхлый

30

50

50

50

60

70

70

80

Песок средней плотности, плотный, ракушечник заиленный

25

30

30

30

40

40

50

50

Глины и мергель

10

20

20

20

30

30

30

40

1.4. Последовательность проведения промерных работ, плановое и высотное обеспечение промера

1.4.1. Все виды промера должны выполняться в следующем последовательности:

подготовка геодезической основы (разбивка береговой опорной сети, разбивка магистралей и базисных линий, разбивка промерных профилей, составление сеток, таблиц и т.п.);

организация и производство уровенных наблюдений (установка и привязка водомерных реек, наблюдение уровня в установленные сроки);

измерение глубин и определение их планового положения (привязка);

обработка материалов промера (полевая и камеральная обработка, составление планов промера, вычисление объемов дноуглубительных работ и т.п.).

1.4.2. Районы проведения промера и дноуглубительных работ должны иметь сеть опорных пунктов.

1.4.2.1. В опорную сеть должны включаться хороню видимые с места проведения промера и дноуглубительных работ геодезические, навигационные знаки и другие приметные пункты (башни, шпили, трубы заводов и т.п.).

1.4.2.2. Разбивка опорной сети должна производиться по требованиям полигонометрии 4-го класса и триангуляции 2-го разряда.

1.4.2.3. Средняя квадратичная погрешность определения координат, включенных в опорную сеть пунктов, относительно исходных не должна превышать ±2,0 м.

1.4.2.4. Средняя квадратичная погрешность в определении положения границ прорези и координат глубин относительно опорной сети не должна превышать значений, указанных в табл. 4.

Таблица 4

Допустимая погрешность в определении положения границ прорези и места измерения глубины

Вид промера

Объекты

Допускаемая погрешность, м

Приемо-сдаточный

Все объекты дноуглубительных работ

±2,0

Подробный

Каналы и фарватеры

±3,0

Акватории, отвалы грунтов, рейды

±3,0

Контрольный

Каналы и фарватеры

±3,0

Рейды, акватории, отвалы грунта

±15,0

На участках работы земснарядов (все объекты)

±3,0

1.4.2.5. Пункты планового обеспечения промера на объектах постоянного проведения дноуглубительных работ и других видов промера должны закрепляться на местности специальными центрами.

1.4.3. Измеренные глубины должны приводиться к нулю глубин порта (отсчетному уровню).

1.4.3.1. Нуль водомерных реек уровенных постов, установленных в районе проведения промера и дноуглубительных работ, должен быть привязан к нулю глубин порта.

1.4.4. В зонах действия уровенных постов расхождение отметок горизонта воды не должно превышать половины точности измерения глубины (п. 5.1.1).

1.4.5. Погрешность в положении нуля водомерных реек временных уровенных постов относительно постоянных не должна превышать ±5 см.

1.5. Ведение рабочей документации

1.5.1. Все записи при построении и развитии геодезических сетей должны выполняться в полевых журналах установленной формы с выполнением требовании их ведения.

1.5.2. Вычисление координат опорных пунктов должно выполняться на бланках установленной формы.

1.5.3. Расчеты гониометрических, стадиометрических, гиперболических сеток должны выполняться в журналах установленной формы.

1.5.4. В полевых журналах промера при измерении глубин эхолотом должны записываться:

наименование объекта;

номер профиля;

дата и время (начало и окончание) промера на данном профиле;

поправки эхолота в начале промера, в конце и все промежуточные с указанием времени их определения;

наименование опорных пунктов и величины соответствующих горизонтальных углов;

направление движения промерного бота относительно бровок объекта;

высоты уровней воды за каждый час промера и поправки за уровень;

подпись должностного лица.

На эхограмме должны записываться:

наименование объекта;

вид промера;

номер эхограммы;

дата и время промера;

номер профиля;

поправки глубин за уровень, общая поправка;

исправленные глубины;

номер полевого журнала;

подписи должностных лиц.

1.5.5. При измерении глубин ручным лотом (наметкой) в полевом журнале, кроме записей, предусмотренных в п. 1.5.4, должны записываться измеренные глубины и поправка лота.

1.5.6. Записи в полевых промерных журналах должны выполняться карандашом. Исправление записей необходимо производить путем аккуратного перечеркивания неверной записи и написания новой. Подчистки в полевых журналах не допускаются.

1.5.7. Планы промера должны составляться в масштабах:

по приемосдаточному - 1:500; 1:1000 и 1:2000 в зависимости от размеров и значимости объекта;

по подробному - 1:1000 и 1:2000 для каналов, фарватеров и акваторий портов; 1:5000 для рейдов и отвалов грунта;

по контрольному - 1:2000, а при контроле качества работы земснарядов - в том же масштабе, что и приемо-сдаточный.

1.5.8. Смежные глубины на профилях, нанесенные на планах промера всех видов, должны располагаться на расстоянии не менее 2 мм друг от друга.

2. ПЛАНОВОЕ ОБЕСПЕЧЕНИЕ ПРОМЕРА

2.1. Общие требования

2.1.1. Плановой основой промера должны служить пункты государственной геодезической сети, геодезической сети сгущения и пункты сети рабочего обоснования, специально создаваемые для обеспечения промера.

2.1.2. Количество пунктов в каждом районе промера должно обеспечивать надежные определения мест измерения глубин на всей промеряемой площади.

2.1.3. В качестве пунктов сети рабочего обоснования промера могут использоваться искусственные сооружения и естественные ориентиры (створные знаки, маяки, трубы, башни, мачты, портовые огни и т.п.), имеющие хорошую видимость с места промера.

2.1.4. Плановое определение пунктов сети рабочего обоснования должно производиться путем развития аналитических сетей и съемочных сетей.

Исходными пунктами для развития аналитической сети должны служить пункты государственной геодезической сети и геодезической сети сгущения.

Исходными пунктами съемочной сети должны служить пункты государственной, сгущения и аналитической сетей рабочего обоснования промера.

Постоянство положения опорных пунктов на воде должно систематически проверяться путем повторного определения их координат.

2.1.5. Пункты аналитической сети должны закрепляться на местности постоянными центрами.

Пункты съемочной сети должны закрепляться на местности долговременными центрами.

2.1.6. При использовании радионавигационных систем (РНС) и радиогеодезических систем (РГС) плановое положение мачт антенн РНС и РГС должно определяться по методам определения пунктов аналитической сети.

2.1.7. Средняя квадратичная погрешность определения планового положения пунктов аналитической сети относительно исходных пунктов не должна превышать ±2,0 м.

2.1.8. Средняя квадратичная погрешность определения планового положения пунктов съемочной сети относительно исходных пунктов не должна превышать ±0,2 мм в масштабе отчетного планшета.

2.2. Методы определения пунктов рабочего обоснования промера и требования к их точности

2.2.1. Аналитические сети рабочего обоснования предназначены для определения координат опорных пунктов, служащих для определения планового положения измеренных глубин.

2.2.2. Аналитические сети рабочего обоснования должны развиваться следующими методами:

триангуляции 2-го разряда; полигонометрии; засечек.

2.2.3. Развитие аналитических сетей рабочего обоснования должно выполняться методом триангуляции 2-го разряда в виде:

цепи треугольников между двумя базисными сторонами, между базисной стороной и пунктом или между двумя пунктами государственной геодезической сети или геодезической сети сгущения;

сети треугольников, опирающихся на базисные стороны;

системы треугольников, заполняющих угол между двумя базисными сторонами;

центральной системы или геодезического четырехугольника, опирающихся на базисную сторону.

2.2.4. Координаты каждого опорного пункта, определенного методом триангуляции 2-го разряда, должны быть получены не менее чем из двух сплошных треугольников.

Допускается определение пункта из одного сплошного треугольника при условии, что угол при определенном пункте не менее 30 и не более 150°.

2.2.5. Углы в треугольниках при развитии сетей сгущения методом триангуляции 2-го разряда не должны быть менее 30° и цепочке и 20° в сплошной сети, длина сторон - от 0,5 до 3 км; средние квадратичные ошибки измерения углов треугольника должны быть не более 10", невязка треугольника - не более 40", относительная погрешность выходных сторон - не более 1:20000.

2.2.6. Развитие аналитической сети рабочего обоснования методом полигонометрии должно производиться:

при разомкнутом ходе между двумя опорными пунктами государственной или геодезической сети сгущения; при замкнутом ходе на одном опорном пункте;

в виде системы ходов с одной или несколькими узловыми точками, опирающимися на два и более опорных пункта государственной геодезической сети или геодезической сети сгущения.

2.2.7. Длина полигонометрического хода, число точек поворота и относительная невязка хода должны приниматься согласно табл. 5.

Таблица 5

Допуски при проложении полигонометрических ходов

Элемент хода

Класс и разряд полигонометрии

4-й класс

1-й разряд

2-й разряд

Предельная длина хода, км:

 

 

 

отдельного

10

5

3

между исходной и узловой точками

7

3

2

между узловыми точками

5

2

1,5

Предельный периметр полигона, км

30

15

9

Предельная длина сторон, м:

30

15

9

наибольшая

2000

800

350

наименьшая

250

120

80

оптимальная

500

300

200

Наибольшее число сторон в ходе

15

15

15

Средняя квадратичная погрешность измерения угла

2"

5"

10"

Угловая невязка хода или полигона

5"

1,0"

20"

Предельная относительная невязка хода

1:25000

1:10000

1:5000

Примечание. n - число углов в ходе. При использовании для линейных измерений свето- и радиодальномеров длины сторон и ходов могут быть увеличены при соответствующем обосновании в техническом проекте.

2.2.8. При определении пунктов аналитической сети засечками исходными пунктами должны служить геодезические пункты и пункты аналитической сети, полученные из сплошных треугольников.

2.2.9. Допускается в качестве исходных пунктов для засечек использовать пункты аналитической сети, полученные засечками, если они определены по пунктам, составляющим сплошные треугольники.

Средняя квадратичная погрешность такой двукратной засечки должна быть не более ±2,0 м с учетом ошибок определения исходных пунктов.

2.2.10. Определение пунктов аналитической сети по точкам полигонометрического хода должно производиться прямой засечкой, выполняемой не менее чем с трех точек хода. Углы при определяемом пункте между смежными засечками должны быть не менее 20°, а полигонометрический ход должен прокладываться между двумя геодезическими пунктами.

2.2.11. Определение пунктов аналитической сети прямой и комбинированной засечками должно производиться не менее чем с трех пунктов, а обратными засечками - не менее чем по четырем пунктам.

2.2.12. Съемочные сети рабочего обоснования предназначены для проведения съемок побережья района промера и дноуглубления, разбивки магистралей, определения положения теодолитных постов, створных знаков, закрепляющих на местности промерные профили, разбивки границ рабочей прорези дноуглубления.

2.2.13. Пункты съемочной сети должны определяться засечками по пунктам государственной, местной и аналитической сетей.

Прямая и комбинированная засечки должны производиться не менее чем с трех опорных пунктов, обратная засечка - не менее чем по четырем опорным пунктам.

Допускается определение координат пунктов съемочной сети привязкой (по углу и расстоянию), если исходными пунктами являются пункты государственной или аналитической сети и расстояние до исходного пункта не более 600 м.

Измерение расстояния должно производиться не менее двух раз, а относительная погрешность измерения расстояния должна быть не более 1:5000.

2.2.14. При использовании РНС расстановка береговых станций должна обеспечивать заданную точность определения места измеренных глубин на всей площади промера.

2.2.15. Антенны береговых станций не должны располагаться вблизи высоких зданий, линий электропередач и прочих объектов, могущих экранировать радиоволны или создавать им помехи.

2.2.16. Расчеты средних квадратичных погрешностей при определении положения опорных пунктов аналитической и съемочной сетей должны производиться по формулам, приведенным в табл. 6; размерность величин, входящих в формулы, - по табл. 7.

2.3. Разбивка промерных профилей

2.3.1. Промер глубин на дноуглубительных объектах должен производиться по постоянным основным профилям, разбитым и закрепленным на местности, с соблюдением требований к подробности промеров.

2.3.2. Промерные профили на каналах и фарватерах должны разбиваться перпендикулярно оси канала (фарватера) через равные интервалы. Нумерация основных профилей должна производиться от нуля канала.

2.3.3. Нуль канала, конечные точки канала и точки пересечения осей смежных колен канала (фарватера) должны иметь координаты.

2.3.4. На каналах (фарватерах), состоящих из нескольких колен, в точке пересечения их осей должны разбиваться два дополнительных профиля перпендикулярно смежным осям (черт. 1) с расчетом, чтобы длина поля, непокрытого промером, не превышала расстояния между профилями.

Черт. 1. Схема разбивки промерных профилей на каналах, имеющих поворотные колена:

ПСЗ - передний створный знак; ЗСЗ - задний створный знак; 1 - дополнительные промерные профили; К - точка пересечения колен канала

2.3.5. На каналах, имеющих разветвление, промерные поперечные профили должны разбиваться самостоятельно для каждого канала. За начало разбивки профилей примыкающего канала должна приниматься точка пересечения осей (черт. 2).

2.3.6. Разбивка поперечных промерных профилей на каналах, состоящих из двух частей (морской и речной; внешний и внутренний), должна производиться от нуля каналов. В речной части морского канала нумерация профилей должна нестись вверх по течению.

2.3.7. Разбивка промерных профилей на акваториях портов должна производиться перпендикулярно причальной линии по береговой магистрали, проложенной по контуру сооружений.

За начало разбивки промерных профилей должны приниматься условные точки, расположенные на вершинах углов волноломов или причальных сооружений.

Нулевые и поворотные точки должны привязываться к береговой магистрали.

2.3.8. На акваториях у сооружений с продольным прямолинейным направлением или имеющих незначительный излом линий. Разбивка промерных профилей должна производиться от условной точки через равные интервалы по всей длине.

Черт. 2. Схема разбивки промерных профилей на каналах, имеющих разветвление:

К - точка пересечения осей каналов

В местах излома линий должны разбиваться дополнительные профили, проходящие через вершину угла и перпендикулярно той или другой линии причала (сооружения) (черт. 3). Нумерация профилей должна быть сквозная.

Черт. 3. Схема разбивки промерных профилей у причалов, имеющих продольное направление

2.3.9. У причальных сооружений, имеющих резко изломанную конфигурацию, за условную точку разбивки профилей должна приниматься вершина углов смежных причалов.

Разбивка профилей должна производиться самостоятельно для каждой стороны причала (черт. 4). Профили следует нумеровать от нулевой точки.

Черт. 4. Схема разбивки профилей у причальных линий, имеющих резкий излом

2.3.10. Промерные профили у причалов пирса или мола должны разбиваться с трех сторон перпендикулярно кордону и веером в головной части пирса (мола).

Веер профилей должен состоять из линий, расходящихся под углом 22°30'.

Нумерация профилей должна производиться от головы мола для каждой стороны самостоятельно (черт. 5).

Черт. 5. Схема разбивки промерных профилей у причалов пирса

2.3.11. Для общего промера акватории гавани или отдельных районов порта разбивка промерных профилей должна производиться по магистрали, проложенной по контуру гидротехнических сооружений перпендикулярно наибольшему прямолинейному направлению сооружения.

У гидротехнических сооружений независимо от направления основных профилей, проходящих через всю гавань, должны разбиваться дополнительные профили перпендикулярно линии кордона длиной, обеспечивающей перекрытие основных профилей, но не менее 50 м (черт. 6).

Черт. 6. Схема разбивки промерных профилей на акватории гавани

2.4. Документы для определения планового положения профилей

2.4.1. Постоянные объекты дноуглубительных и промерных работ должны иметь заранее подготовленные технические документы:

схему разбивки профилей;

таблицу углов;

планшет с гониометрической или стадиометрической сеткой.

2.4.2. Схема разбивки профилей должна составляться на каждый объект промерных и дноуглубительных работ.

На схеме должны указываться:

привязка нулевого профиля;

направление профилей относительно основной линии разбивки;

нумерация профилей;

нумерация причалов, название гаваней, молов и другие подробности;

нуль глубин и его отметка относительно контрольного репера;

место положения контрольных и рабочих реек уровенных постов.

2.4.3. Схемы должны составляться в масштабах 1:2000 и 1:5000. На схемах каналов и фарватеров допускается промерные профили условно сжимать по горизонтали с интервалами между ними не менее 1 см.

2.4.4. Таблицы углов предназначены для определения на оси линейного створа мест пикетов промерных профилей.

Таблицы состоят из углов между направлением на опорный пункт и направлением на створ, соответствующих положению пикетов на оси створа.

2.4.5. Углы должны вычисляться аналитическим способом по координатам опорных пунктов.

Для контроля должно выполняться сравнение вычисленного угла и угла, полученного из разности дирекционных направлений на пункт и створ (Т2 - Т1).

Расхождение углов не должно превышать ±0,00145 рад.

2.4.6. Таблица углов должна проверяться на местности путем сравнения положения пикета, определенного по углу и створу и определенного засечками.

Погрешность в определении не должна превышать величины, определяемой по формуле (см. табл. 6).

2.4.7. При построении гониометрической сетки линейный интервал между дугами на планшете должен быть не менее 10 и не более 30 мм.

Величины угловых интервалов должны быть кратными целым значениям.

Линейное смещение дуг на планшете не должно превышать 0,4 мм и определяется из выражения

                                                                     (1)

где ∆n - линейное смещение дуг на планшете, мм;

δи - угловое расхождение, мин;

n - расстояние по нормали между двумя соседними дугами, мм;

и - разность числовых значений двух соседних дуг, мм.

2.4.8. Угловое расхождение гониометрической сетки должно определяться следующим способом:

на планшете в пересечении дуг снимаются координаты 3 - 5 точек;

решается обратная задача между этими точками и опорными пунктами. Находятся дирекционные направления и углы между ними;

сравнивается полученный угол со значением дуг и устанавливается величина углового расхождения δи (мин).

3. ВЫСОТНОЕ ОБЕСПЕЧЕНИЕ ПРОМЕРА

3.1. Общие требования

3.1.1. Все измеренные глубины должны приводиться к установленному для данного порта нулю глубин.

3.1.2. Приведение измеренных глубин к нулю глубин должно производиться в период промера по систематическим наблюдениям за колебаниями уровней воды на уровенных постах по водомерным рейкам, радиорейкам или самописцам уровня моря.

3.1.3. Количество и расположение уровенных постов должно обеспечивать определение положения уровня воды с погрешностью не более половины точности измерения глубины.

3.1.4. В качестве постоянных уровенных постов следует использовать постоянные и дополнительные уровенные посты государственных служб, например Гидрометеорологической службы, Гидрографической службы и др.

3.1.5. На морях без приливов при большом удаления района проведения промерных и дноуглубительных работ от места нахождения постоянных уровенных постов, отсутствии постоянной радиосвязи (земснаряд - уровенный пост, промерное судно - уровенный пост), а также при наличии сгонно-нагонных явлений в районе выполнения этих работ должны устанавливаться временные уровенные посты.

3.1.6. Погрешность передачи нуля глубин с постоянного поста на временный не должна превышать ±5 см.

3.1.7. На морях с приливами в районе дноуглубительных и промерных работ должны действовать одновременно постоянный и временный уровенные посты.

3.1.8. При действии нескольких уровенных постов в районе дноуглубительных и промерных работ положение мгновенного уровня должно определяться как средневзвешенная величина по формуле

                                                                   (2)

где Aу - превышение мгновенного уровня над нулем глубин в районе работ, см;

Ai - превышение мгновенного уровня над нулем глубин, определяемого по показаниям рейки на уровенном посту, см;

Di - удаление места работ от места нахождения уровенного поста, снимаемое по карте (плану), км.

3.1.9. После установки и нивелировки рабочей рейки временного уровенного поста этот уровенный пост должен передаваться багермейстеру земснаряда, который несет ответственность за его сохранность и организацию уровенных наблюдений.

3.1.10. Правильность положения водомерной рейки и порядок уровенных наблюдений на земснаряде должны контролироваться промерной партией не реже одного раза в 10 дней.

3.1.11. Багермейстеру земснаряда должны передаваться превышения нулей реек над нулем глубин (поправка рейки) всех действующих в районе работы земснарядов уровенных постов.

3.2. Установка постоянного уровенного поста

3.2.1. Дноуглубительные организации при неудобстве пользования постоянными уровенными постами могут устанавливать контрольные уровенные посты вблизи своих баз, за точность установки которых они несут ответственность. При этом контрольный пост при пользовании им рассматривается как постоянный.

3.2.2. При необходимости установки постоянного уровенного поста он должен устанавливаться в месте, где колебания уровня свободны от местных искажений и соответствуют колебаниям уровня моря на возможно большей площади водной поверхности.

Не разрешается устанавливать уровенные посты в устьях небольших речек или бухтах типа лагун.

3.2.3. При установке водомерных реек уровенного поста должны выполняться следующие требования:

рейка должна быть прочно прикреплена к неподвижному основанию в вертикальном положении;

длина и положение рейки должны обеспечивать уровенные измерения при самых низких и самых высоких уровнях воды;

к рейке должен быть обеспечен удобный доступ для снятия отсчетов в любое время суток при любой погоде, а также при нивелировке.

3.2.4. Нуль рейки устанавливаемого постоянного уровенного поста должен привязываться к нулю глубин данного района.

3.2.5. Привязка нуля рейки постоянного уровенного поста к нулю глубин должна производиться путем расчета превышения нуля рейки над нулем глубин по формуле

Aк = Нр - Нг,                                                                 (3)

где Aк - превышение нуля рейки над нулем глубин, см;

Нр - отметка нуля рейки поста, см;

Нг - отметка нуля глубин, см.

3.2.6. Отметка нуля рейки должна определяться геометрическим нивелированием 4-го класса путем проложения двойного хода от пункта нивелирной государственной сети.

Абсолютная величина невязки хода не должна превышать величины

mn = 10,                                                                   (4)

где mn - абсолютная величина невязки хода, мм;

L - длина хода, не более 3 км.

3.2.7. Превышение мгновенного уровня воды над нулем глубин должно определяться по формуле

Н = Aк - Ор,                                                                 (5)

где Н  - превышение мгновенного уровня воды над нулем глубин, см;

Ор - отсчет по рейке, см.

3.3. Установка временного уровенного поста

3.3.1. Временные уровенные посты должны устанавливаться в районе дноуглубительных и промерных работ при наличии приливо-отливных или сгонно-нагонных явлений, обусловливающих различную высоту уровня воды в месте нахождения постоянных уровенных постов и в районе промерных и дноуглубительных работ, а также при отсутствии постоянной радиосвязи с уровенными постами.

3.3.2. Временные уровенные посты должны устанавливаться до начала работ и обеспечивать надежные показания уровня в течение навигации или всего периода дноуглубительных и промерных работ.

3.3.3. Крепление водомерной рейки должно производиться к деревянной свае (колу), прочно забитой в грунт и возвышающейся над уровнем воды на 60 - 80 см.

Рейка должна быть прочно закреплена в вертикальном положении, нуль рейки должен находиться возможно ближе к отметке нуля глубин.

Рейка должна представлять собой деревянную доску шириной 12 см, толщиной 2,5 - 4,0 см, лицевая сторона которой разбита на деления через 2 см с нанесением цифр дециметровых делений.

3.3.4. Нуль рейки должен привязываться к нулю рейки постоянного уровенного поста с помощью водного нивелирования, т.е. путем сличения одновременных отсчетов уровней по рейкам временного и постоянного уровенных постов.

Расхождение моментов отсчетов не должно превышать 2 мин. Отклонение нуля рейки от нуля глубин не допускается более ±2 см.

3.3.5. Удаленность временного уровенного поста от постоянного не должна превышать 15 км.

3.3.6. Если разность в положении мгновенных уровней воды в местах установки постоянного и временного уровенных постов превышает половину точности измерения глубины или если временный уровенный пост удален от постоянного более чем на 15 км, привязка нуля рейки должна осуществляться к двум постоянным уровенным постам.

3.3.7. Отсчет по рейке временного уровенного поста, соответствующий нулю глубин, при привязке к одному постоянному уровенному посту должен определяться по формуле

Aр = Aк - (р - к),                                                           (6)

где Aр и Aк  - отсчеты, соответствующие нулю глубин по рейке временного и постоянного постов, см;

р и к   - показания отсчетов по рейке временного и постоянного постов, см.

Привязка к двум постоянным постам должна выполняться по формуле

                                                               (7)

где Aр1 и Aр2      - отсчеты по рейке временного поста, соответствующие нулю глубин, определенные по первому и второму постоянным постам, см;

D1 и D2   - кратчайшие расстояния от временного поста до первого и второго постоянных постов, снимаемые с карты, км.

3.4. Организация уровенных наблюдений

3.4.1. Наблюдения за колебаниями уровня должны производиться:

на морях без приливов - через каждые 4 ч; во время сгонов и нагонов, если изменение уровня менее 10 см за один час, - через каждый час, если изменение уровня более 10 см за один час, - каждые 30 мин;

на морях с приливами, где величина прилива менее 1 м, наблюдения должны производиться ежечасно;

на морях с приливами, где величина прилива равна 1 м и более, наблюдения должны производиться через промежутки времени, определяемые формулой

                                                                  (8)

где tн - промежуток времени между наблюдениями уровня, ч;

δ - точность измерения глубины, см;

т - промежуток времени между наступлениями полных или малых вод, ч;

н - величина прилива, см.

3.4.2. Наблюдение уровня должно производиться в течение всего периода дноуглубительных и промерных работ.

При снятии отсчетов по рейке запрещается касание ее.

Запрещается производить исправления повреждений рейки или переносить временный уровенный пост работникам земснарядов.

Отсчеты уровня по рейке должны производиться с точностью ±2 см, отсчеты моментов времени - с точностью ±3 мин. Отсчеты должны производиться троекратно, и среднее значение записывается и рабочий журнал земснаряда или журнал промеров.

3.4.3. При невозможности установки временного уровенного поста вблизи района работы земснаряда информация об уровнях воды передается на земснаряд по радио, при этом уровень передается уже исправленный соответствующими поправками, т.е. приведенный к нулю глубин.

4. СПОСОБЫ ПРОМЕРА И ОПРЕДЕЛЕНИЯ КООРДИНАТ ГЛУБИН

4.1. Способы промера и их применение

4.1.1. Способы промера обусловлены способами определения координат измеряемых глубин.

При проведении дноуглубительных работ должны применяться следующие способы промера:

по заданному направлению с определением координат глубин засечками;

по секущим створам;

с буксируемым мерным отрезком;

по тросу;

со льда.

4.1.1.1. Промер по заданному направлению с определением координат глубин засечками имеет следующие разновидности определения:

прямой засечкой с двух теодолитных постов (черт. 7);

прямой засечкой с одного теодолитного поста (черт. 8);

по двум углам, обратными засечками, выполненными одновременно двумя секстанами (черт. 9);

обратной засечкой по одному углу между створом и опорным пунктом (черт. 10);

комбинированной засечкой по двум горизонтальным углам, измеренным одновременно с теодолитного поста и промерного бота (черт. 11);

промеры с определением координат с помощью РНС.

Примечание. Способы промера по заданному направлению и определению координат по одному горизонтальному углу, выполненному прямой или обратной засечкой, разрешается применять в исключительных случаях и районах с недостаточно развитой опорной сетью.

Черт. 7. Промер по заданному направлению с определением координат глубин прямой засечкой:

1 - вешки направляющих створов; 2 - промерный бот; ТП-1, ТП-2 - теодолитные посты; α, β - горизонтальные углы, измеренные теодолитами, рад; Пр - промерные профили

Черт. 8. Промер по створу с определением координат глубин засечками с берегового поста:

1 - магистраль; 2 - вешки направляющих створов; 3 - промерный бот; ТП - теодолитный пост; α - горизонтальный угол, измеренный теодолитом или кипрегелем, рад

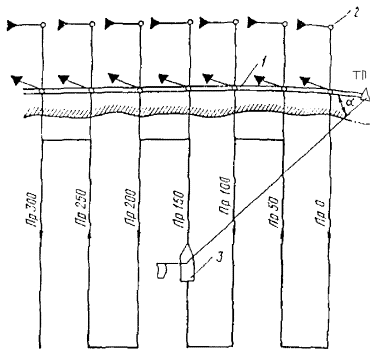
Черт. 9. Промер по заданному направлению с определением координат глубин обратной засечкой:

1 - опорные пункты; 2 - буйки, указывающие положение промерного профиля на местности; 3 - промерный бот; α, β - горизонтальные углы, измеренные секстанами с промерного бота, рад; Пр - промерные профили

Черт. 10. Промер по заданному створу с определением координат глубин обратной засечкой.

1 - опорный пункт; 2 - вешки направляющего створа; 3 - промерный бот; α - горизонтальный угол, измеренный секстаном между опорным пунктом и створом, рад; Пр - промерные профили

Черт. 11. Промер по заданному направлению с определением координат глубин комбинированной засечкой:

1 - опорный пункт; 2 - буйки, указывающие положение промерного профиля на местности; 3 - промерный бот; ТП - теодолитный пост; γ - горизонтальный угол, измеренный секстаном с промерного бота, рад; α - горизонтальный угол, измеренный теодолитом, рад

Черт. 12. Основные варианты расположения опорных пунктов при определении координат обратной засечкой

4.1.2. Выбор способа промера и определение границ его применения должны производиться в зависимости от местных условийисло, расположение, удаленность опорных пунктов) по допустимой погрешности и определении координат глубин.

4.1.3. Промер по заданному направлению с определением координат глубин засечками должен применяться при хорошо развитой сети опорных пунктов и выполнении следующих требований:

линии положения в районе проведения промера должны пересекаться под углом, при прямой засечке - не менее 20 и не более 160°, при обратной и комбинированной засечках, засечках на заданном створе и при применении РНС - не менее 30 и не более 150°;

изменение угла между смежными засечками на любом профиле не должно быть менее точности прокладки углов на планшете;

при прямой засечке теодолитные посты должны быть видны друг другу, иметь полный обзор района промера и позволять производить ориентировку инструментов с точностью не более средней квадратичной погрешности измерения горизонтальных углов применяемыми инструментами;

при обратной засечке должно быть не менее трех хорошо видимых с места промера опорных пунктов, расположенных треугольником или на одной прямой линии (черт. 12), при этом описанная окружность треугольника или прямая линия, соединяющая опорные пункты, не должна пересекать район промера.

4.1.3.1. Под линиями положения следует понимать отрезки прямых (хорд или касательных), заменяющие участки дуг вмещающих окружностей, гипербол, створные линии, линии засечек.

4.1.4. Промер по секущим створам должен применяться на объектах, имеющих большую протяженность (при невозможности применения других способов промера).

4.1.5. Промер с буксируемым мерным отрезком должен применяться на объектах, имеющих большую протяженность, ось симметрии и ведущий осевой створ, ширину участка промера, не превышающую 140 м, и забровочное пространство, позволяющее разворот и выход мерного отрезка на заданное направление. Угол дрейфа буксируемого буйка не должен превышать 20° от направления профиля.

4.1.6. Промер по тросу должен применяться на объектах, требующих высокой точности координирования, а также на акваториях со стесненными условиями (у причалов и других гидротехнических сооружений, в котлованах, гаванях, бухтах).

4.1.7. Промер со льда должен применяться при контрольном промере наиболее важных в навигационном отношении участков канала, фарватера или портовых акваторий, требующих высокой точности координирования и измерения глубин.

4.2. Расчет погрешностей определения координат глубин

4.2.1. Расчет величины погрешности должен производиться по формулам, приведенным в табл. 6.

Таблица 6

Формулы для расчета погрешностей в определении координат глубин

Способ определения координат глубин

Формула расчета погрешности

По двум засечкам с берега (прямая засечка)

По двум горизонтальным углам между тремя опорными пунктами

По двум горизонтальным углам между тремя опорными знаками, выставленными на воде

E'0 = kE0

k выбирается по табл. 8 с помощью градиентов по инверсионным треугольникам

По двум горизонтальным углам между тремя опорными пунктами, часть из которых установлена на воде

Комбинированная засечка

По створу с засечкой с берега

Чувствительность линейного створа (боковое уклонение створной линии)

Размерность величин, входящих в формулы, должна приниматься по табл. 7.

Таблица 7

Размерность величин при расчетах погрешностей в определении координат глубин

Величина

Единица измерения

Обозначение

Средняя квадратичная погрешность определения координат глубин

м

Е0

Расстояние от точки измерения глубины до опорного пункта

км

D

Расстояние между опорными пунктами

»

S

Расстояние между створными знаками

»

d

Точность измерения горизонтальных углов инструмента

мин

m'

Угол пересечения линий положения

град

γ

Углы при крайних пунктах, противолежащие средней засечке

»

A, С

Средняя квадратичная погрешность углов между опорными пунктами с учетом погрешности положения опорных пунктов

 

mα, mβ

Высота инверсионного треугольника

см

h1, h3

Средняя квадратичная погрешность в положении опорного пункта

м

M1, M2, M3

Чувствительность створа

»

Р

Кратность бинокля

 

n

4.2.2. Граница применения данного способа промера должна проходить по условной линии, на которой погрешность определения координат глубин равна допустимой.

4.2.3. В расчетах погрешностей определения координат глубин должна учитываться погрешность определения координат опорных пунктов, если она более ±2,0 м, и обязательно во всех случаях, если опорные пункты плавучие.

Таблица 8

Величина коэффициента k (к табл. 6)

Среднее расстояние до опорных пунктов, км

Средняя квадратичная погрешность положения опорного пункта, м

2

3

4

5

6

7

8

9

10

1

5,0

7,0

10,0

12,0

15,0

17,0

19,0

22,0

24,0

2

2,5

4,0

5,0

6,0

7,0

9,0

10,0

11,0

12,0

3

2,0

2,5

3,0

4,0

5,0

6,0

7,0

7,0

8,0

4

1,6

2,0

2,5

3,0

4,0

4,0

5,0

6,0

6,0

5

1,4

1,8

2,5

2,5

3,0

4,0

4,0

4,0

5,0

6

1,2

1,6

2,0

2,5

3,0

3,0

3,0

4,0

4,0

7

1,2

1,4

18

2,0

2,5

3,0

3,0

3,0

4,0

8

1,2

1,4

1,6

2,0

2,0

2,5

3,0

3,0

3,0

9

1,2

1,2

1,4

1,8

2,0

2,0

2,5

3,0

3,0

10

1,0

1,2

1,4

1,6

1,8

2,0

2,5

2,5

3,0

15

 

1,0

1,2

1,4

1,4

1,6

1,6

1,8

2,0

Среднее расстояние до опорных пунктов определяется по формуле

где D1, D2, D3 - расстояния до соответствующих опорных пунктов, км.

4.3. Технология проведения промера и определения координат глубин

4.3.1. Перед выполнением промерных работ на данном объекте должны быть выполнены все подготовительные операции, включающие: разбивку и закрепление на местности промерных профилей; проверку и исправление инструментов; установку, центровку и ориентирование инструментов; сверку часов на береговых постах наблюдения, промерном боте и уровенном посту; проверку устройств и инструментов для измерения глубин; подготовку полевых журналов; план технологической последовательности проведения промера на участке, сигнализацию и связь между постами и т.д.

4.3.2. Промер по заданному направлению с определением координат глубин прямой засечкой (см. черт. 7) должен выполняться следующим образом:

на двух береговых опорных пунктах устанавливаются теодолиты, которые по сигналу, подаваемому через равные промежутки времени с промерного бота, измеряют горизонтальные углы между опорным пунктом и промерным ботом в данный момент;

промерный бот с постоянной скоростью движется по промеряемому профилю, положение которого на местности указывается створами или буйками;

в момент подачи сигнала на эхограмме делается отметка, в полевых журналах теодолитных постов фиксируются время проведения засечек и величина измеренного горизонтального угла;

на планшете по горизонтальным углам наносятся точки положения промерного бота в момент проведения засечек, по которым определяется плановое положение измеренных глубин. Глубины снимаются с эхограммы против соответствующих засечек;

при наличии двусторонней радиосвязи между теодолитными постами и промерным ботом измеренные горизонтальные углы передаются на промерный бот, где на планшете ведется прокладка точек промера на профиле.

4.3.2.1. При проведении промера с определением координат глубин прямой засечкой должны выполняться следующие требования:

установка теодолитов должна производиться строго над центрами опорных пунктов. При невозможности точной центровки инструментов на каждом посту должны измеряться и записываться в полевом журнале линейное отклонение центра инструмента от центра опорного пункта и угол между опорным пунктом ориентирования;

вертикальные оси зрительных труб теодолитов в момент проведения засечки должны быть наведены на вешку, установленную на промерном боте в месте измерения глубин;

вешка, устанавливаемая на промерном боте, должна быть хорошо видима на теодолитных постах с самой удаленной точки района промера и иметь флажок или тоновую фигуру яркой окраски;

чувствительность створов, закрепляющих положение промерных профилей, должна быть не более одной десятой расстояния между профилями;

буйки, закрепляющие положение промерного профиля, должны устанавливаться в начале и конце этого профиля;

интервалы времени между засечками должны быть не менее 50 с и должны рассчитываться с точностью до 10 с по формуле

                                                              (9)

где t  - интервал времени между засечками, с;

N  - знаменатель масштаба планшета;

d   - заданное расстояние между точками определения места на планшете, см;

V   - скорость движения промерного бота, км/ч;

скорость движения промерного бота на промеряемом профиле должна быть постоянной;

путь промерного бота не должен иметь больших отклонений от заданного направления;

в полевых журналах на теодолитных постах и на промерном боте должны записываться номер промеряемого профиля, время промера (начало и окончание) на данном профиле, номер и время проведения определения (засечки);

время определений должно записываться с точностью до 10 с;

На эхограмме должны проставляться номер промеряемого профиля и порядковый номер определения против соответствующей отметки.

4.3.2.2. Сигнал для проведения определений (засечек) должен подаваться с промерного бота следующим образом:

предварительная команда за 30 с до проведения определения путем подъема флажка вверх в вертикальное положение;

исполнительная команда путем резкого опускания флажка в сторону и вниз;

при наличии радиосвязи за 20 с подается команда «Готовсь», в момент выполнения засечек - команда «Ноль».

4.3.3. При промере по заданному створу с определением координат глубин засечками с берегового поста (см. черт. 8) на берегу должна разбиваться магистраль, на которой размечаются места расположения промерных профилей.

Разбивка промерных профилей должна производиться угломерным инструментом.

Засечки движущегося по створу промерного бота должны производиться теодолитом или кипрегелем с опорного пункта магистрали.

Остальные элементы промера должны выполняться в соответствии с требованиями, изложенными в подпунктах 4.3.2.1 и 4.3.2.2.

4.3.3.1. При проведении промера по заданному створу должны выполняться следующие требования:

погрешность в определении координат опорных точек магистрали теодолитных (мензульных) постов не должна превышать ±2,0 м;

положение промерных профилей на магистрали должно определяться путем двукратного измерения расстояния по магистрали от опорных точек с относительной погрешностью менее 1:1000, места положения промерных профилей должны закрепляться пикетами;

установка створных знаков, закрепляющих промерные профили на местности, должна производиться с применением угломерных инструментов;

разнос створных знаков должен быть не менее величины, рассчитанной по формуле

                                                            (10)

где d - разность створных знаков, км;

Е0 - допустимая погрешность в определении координаты глубины для данного вида промера, м;

D - удаленность точки промера от переднего створного знака, км;

при невозможности установки на берегу створов с требуемым разносом створных знаков необходимо проводить дополнительное провешивание линии на воде;

провешивание линии на воде должно выполняться с применением угломерного инструмента с пикетов на магистральной линии путем установки специальных вешек;

в момент проведения засечки промерный бот должен находиться строго на линии створа.

4.3.3.2. Интервалы времени между засечками, движение промерного бота в период производства промера, ведение полевой документации, подача сигнала для производства засечек должны отвечать требованиям, изложенным в подпунктах 4.3.2.1 и 4.3.2.2.

4.3.4. Промер по заданному направлению с определением координат глубин обратной засечкой (см. черт. 9) производится следующим образом:

с промерного бота, движущегося по промеряемому профилю, одновременно двумя секстанами через равные интервалы времени измеряются два горизонтальных угла между тремя или четырьмя опорными пунктами;

по измеренным углам на планшет с гониометрической сеткой наносятся точки определений места.

Черт. 13. Промер с определением координат глубин по секущим створам:

1 - вешки секущих створов; 2 - промерный бот; 3 - буйки, указывающие положение промерных профилей на местности; Пр - промерные профили

4.3.4.1. Закрепление промерных профилей на местности, интервалы времени между определениями, движение промерного бота, ведение полевой документации должны отвечать требованиям подпункта 4.3.2.1.

4.3.5. Промер по створу с определением координат глубин обратной засечкой (см. черт. 10) должен производиться следующим образом:

с промерного бота, движущегося по створу, через равные интервалы времени секстаном измеряется горизонтальный угол между створом и опорным пунктом;

на планшете по измеренному углу на линии створа наносится точка определения места.

4.3.5.1. Интервалы времени между определениями, движение промерного бота и ведение полевой документации должны соответствовать требованиям, изложенным в подпункте 4.3.2.1.

4.3.6. Промер по заданному направлению с определением координат глубин комбинированной засечкой (см. черт. 11) должен производиться следующим образом:

на одном из двух опорных пунктов устанавливается теодолит и ориентируется на второй опорный пункт;

по сигналу с движущегося по профилю промерного бота измеряется горизонтальный угол между вторым опорным пунктом и промерным ботом, одновременно на промерном боте измеряется горизонтальный угол между опорными пунктами;

в моменты подачи сигналов на эхограмме делаются отметки, соответствующие измеренным глубинам в момент определения их координат.

4.3.6.1. Проведение промера с определением координат глубин комбинированной засечкой должно полностью соответствовать требованиям подпунктов 4.3.2.1. и 4.3.2.2.

4.3.7. Промер с определением координат глубин по секущим створам (черт. 13) должен производиться следующим образом:

на берегу или на воде параллельно промеряемому участку с двух его сторон устанавливаются секущие створы;

на ведущем створе или на одной из линий секущих створов производится разбивка поперечных промерных профилей;

расстояние между створными линиями принимается за базу;

промерный бот движется по промеряемому профилю с постоянной скоростью, и в момент пересечения линий секущих створов делаются отметки на эхограмме, по которой определяется плановое положение глубин, лежащих на створных линиях;

по длине базы определяются положения промежуточных точек.

4.3.7.1. При промере с определением координат глубин по секущим створам должны выполняться следующие требования:

промерные профили должны располагаться перпендикулярно секущим створам;

скорость движения промерного бота на промерном профиле должна быть постоянной, а дрейф промерного бота при промере не должен превышать 2°;

чувствительность секущих створов должна быть менее допустимой погрешности в определении координат глубин для данного вида промера.

4.3.7.2. Разбивка секущих створов при удалении промерных профилей менее 4000 м от береговой линии должна производиться на берегу геодезическим способом. При невозможности установки на берегу створов, обеспечивающих необходимую чувствительность на всех профилях, производится провешивание линии створов на воде.

Провешивание должно выполняться теодолитом.

Количество вешек и расстояние между ними должны обеспечивать необходимую чувствительность створов на всех промеряемых профилях.

4.3.7.3. Измерение длины базы (расстояния между секущими створами) должно производиться в начале, середине и конце промеряемого участка до начала и после окончания промера.

4.3.7.4. За базу должно приниматься:

среднее значение по измерениям, если разница в измерениях менее допустимой погрешности в определении координат глубин;

расчетное значение для каждого профиля, если разница в измерениях более допустимой погрешности.

4.3.7.5. Разбивка секущих створов на участках, удаленных на 4000 м и более от береговой линии, должна производиться на воде способами, указанными в подпунктах 4.3.7.6 и 4.3.7.7.

4.3.7.6. При наличии осевого ведущего створа разбивка должна производиться по промерному тросу, натянутому перпендикулярно осевому створу, путем установки вешек на заданном расстоянии от оси створа.

Нахождение оси должно производиться следующим образом:

по натянутому втугую промерному тросу на шлюпке продвигаются от бровки в сторону осевого створа, который наблюдают в бинокль, а при выходе на линию створа на тросе устанавливают небольшую марку;

переходят на противоположную бровку и прием повторяют;

расстояние между марками делят пополам и устанавливают большую марку, от которой и должно производиться измерение расстояний при установке створных вешек.

4.3.7.7. При отсутствии осевого ведущего створа разбивка секущих створов должна производиться следующим образом:

нащупывается лотом и отмечается рядом буйков одна из бровок прорези;

на этой линии или параллельно ей устанавливается первый створ из двух вешек;

второй секущий створ устанавливается по промерному тросу, натянутому перпендикулярно установленной створной линии первого створа;

дальнейшее провешивание линий секущих створов производится по промерному тросу на расстоянии 400 - 500 м от передней створной вехи.

Количество устанавливаемых вешек, измерение длины базы должны соответствовать требованиям, указанным в подпунктах 4.3.7.2 и 4.3.7.3.

4.3.7.8. При необходимости уточнения планового положения прорези один из секущих створов должен разбиваться геодезическим способом (прямой или обратной засечками).

Разбивка второго секущего створа, провешивание линии створов, уточнение длины базы проводятся так, как указано в подпункте 4.3.7.7.

4.3.8. Промер с буксируемым мерным отрезком (черт. 14) должен производиться следующим образом:

промерный бот, равномерно двигаясь по промеряемому профилю, буксирует отрезок троса длиной, равной половине ширины промеряемой прорези, с буйком на конце;

в момент пересечения линии осевого створа промерным ботом и буйком делаются отметки на эхограмме, соответствующие глубинам на оси и бровке. Расстояние между отметками эхограммы служат расчетной базой для определения планового положения промежуточных глубин.

Черт. 14. Промер с буксируемым мерным отрезком:

1 - ведущий осевой створ; 2 - буйки, указывающие положение промерных профилей на местности; 3 - буксируемый, буек; 4 - мерный отрезок троса; 5 - промерный бот; 6 - бровки прорези; Пр - промерные профили

4.3.8.1. При промере с буксируемым мерным отрезком должны выполняться следующие требования:

длина буксируемого мерного отрезка должна измеряться от центра вибраторов эхолота до центра буйка с точностью 0,1 м;

в качестве буксируемого мерного отрезка должен применяться мягкий стальной тросик диаметром 3 - 5 мм, не имеющий заломов;

скорость движения промерного бота при измерении глубин должна быть постоянной;

чувствительность осевого створа на всех промерных профилях должна соответствовать допустимой погрешности в определении координат глубин для данного вида промера;

при недостаточной чувствительности осевого створа линия створа должна провешиваться постановкой буйков без слабины буйрепа. Провешивание створной линии должно выполняться, как указано в подпункте 4.3.7.2.

4.3.8.2. Промер глубин с буксируемым мерным отрезком может производиться одним промерным ботом, промерным ботом и шлюпкой, промерным ботом и двумя шлюпками.

4.3.8.3. При промере одним промерным ботом буйки, определяющие положение промерных профилей на местности, должны устанавливаться на линии створа.

Смещение буйков от линии створа не должно превышать 2,0 м.

4.3.8.4. При промере промерным ботом и шлюпкой момент пересечения створной линии промерным ботом и буксируемым буйком должен определяться со шлюпки, установленной на линии створа на расстоянии 400 - 500 м от промеряемых профилей.

4.3.8.5. При промере промерным ботом с двумя шлюпками одна из шлюпок должна выполнять задачу, указанную в подпункте 4.3.8.4, другая должна определять положение промерных профилей и служить ориентиром для промерного бота, следующего по профилю.

4.3.9. Промер по тросу должен производиться следующим образом:

у причальных и других гидротехнических сооружений по их контуру разбивается магистраль, на которой размечаются и закрепляются пикетами места промерных профилей;

промерный трос закрепляется на пикете соответствующего профиля, завозится шлюпкой в направлении промерного профиля, в конце профиля отдается шлюпочный якорь и трос обтягивается втугую вьюшкой;

направление профиля определяется угломерным инструментом с пикета по углу между магистралью и линией положения профиля;

вторая шлюпка продвигается по натянутому тросу и против соответствующих марок производит измерения глубин.

4.3.9.1. При промере по тросу должны выполняться следующие требования:

цена деления разбивки мерного троса должна быть не более 1,0 м;

в качестве промерного троса должен использоваться мягкий стальной тросик диаметром 5 - 6 мм, не имеющий заломов;

разбивка промерного троса должна производиться в соответствии с табл. 9;

Таблица 9

Разбивка промерного троса

Обозначение

Расстояние по тросу, м

Марка из проволоки

1 ÷ 4 + К5

Кожаная марка:

 

с одним зубцом

5 + К50

с топориком

10 + К50

с двумя зубцами

15 + К50

с двумя топориками

20 + К50

с тремя зубцами

25 + К50

с тремя топориками

30 + К50

с четырьмя зубцами

35 + К50

с четырьмя топориками

40 + К50

с пятью зубцами

45 + К50

Флагдук:

 

красный

50

белый

100

синий

150

желтый

200

желтый и красный

250

желтый и белый

300

желтый и синий

350

два красных

400

красный и белый

450

красный и синий

500

Примечание. К = 0; 1; 2; ...; n - целые числа.

разбивка промерного троса должна начинаться на расстоянии не менее 10,0 м от места крепления якоря и заканчиваться на расстоянии 2,0 м от места крепления троса на вьюшке;

разбивка магистрали на берегу должна отвечать требованиям 4-го класса полигонометрии;

разбивка магистрали на воде должна производиться геодезическим способом, при этом расстояние между опорными точками на воде не должно превышать длины промерного троса. Погрешность в определении координат опорных точек магистрали на воде не должна быть более ±3,0 м;

погрешность измерения расстояния по промерному тросу не должна превышать 1:100 измеряемого расстояния;

разбивка пикетов на магистрали должна производиться путем двукратного измерения расстояния от опорной точки. Погрешность в измерении расстояния должна быть менее 1:1000;

при определении координат глубин по створам положение створной линии должно определяться, как указано в подпункте 4.3.7.6;

после окончания промера на данном профиле должно проверяться положение промерного троса на створной линии. Если его положение изменилось на величину, превышающую величину допустимой погрешности, промер аннулируется и повторяется вновь.

4.3.10. Промер со льда должен проводиться следующим образом:

на льду по оси канала или фарватера или по контуру портовых сооружений разбивается магистраль геодезическим способом;

на магистрали разбиваются и закрепляются пикетами положения промерных профилей;

по этим пикетам перпендикулярно магистрали растягивается промерный трос, по маркам которого пробиваются лунки и замеряется глубина;

измеренные глубины записываются в промерный журнал установленного образца;

магистральные линии на больших участках рейдов и отвалах грунтов прокладываются через середину площадей промеряемых объектов.

4.3.10.1. При промере со льда должны выполняться требования:

разбивка магистрали должна отвечать требованиям 4-го класса полигонометрии;

разбивка промерных профилей на магистрали должна производиться в соответствии с требованиями подпункта 4.3.9.1.

5. СПОСОБЫ ИЗМЕРЕНИЯ ГЛУБИН

5.1. Общие требования

5.1.1. Измерение глубин независимо от способа промера должно производиться с точностью, приведенной ниже:

Глубина, м                      Точность

0,1 - 5,0                           ±0,05

5,1 - 20,0                         ±0,10

Более 20,0                      ±0,20

5.1.2. Измерение глубин ручным лотом должно производиться в случаях:

когда глубины на объекте менее 1 м;

при наличии в воде пузырьков воздуха, водорослей или других факторов, искажающих запись глубин эхолотом;

у причалов и молов, на котлованах под гидротехнические сооружения и их откосах, когда промер выполняется по тросу;

при промере со льда.

5.1.3. Измерение глубин наметкой допускается во всех случаях, когда объем промерных работ небольшой и глубины не превышают 4 м.

5.1.4. Перед проведением промера необходимо проверить работу приборов, которыми выполняют измерение глубин, и определить их поправки. Поправки определяют также после окончания промера или в процессе промера.

Производство промера без определения поправок приборов запрещается.

5.1.5. Измерение глубин должно производиться с катера или мотобота, которые должны:

иметь малую осадку, позволяющую производить промер за бровками канала;

иметь запас горючего не менее чем на 24 ч непрерывной работы;

иметь компактное расположение оборудования и приборов, установку вибраторов эхолота и быть удобными при промере ручным лотом или наметкой;

не быть валкими, допускать перемещение по палубе 1 - 2 чел., без крена, изменяющего осадку вибраторов эхолота свыше половины точности измерения глубин;

иметь скорость хода от 2 до 15 км/ч и обеспечивать постоянство режима движения малым ходом продолжительное время.

5.1.6. В период выполнения промерных работ должны производиться регулярные наблюдения за положением уровня воды на временных или постоянных уровенных постах в соответствии с требованиями п. 3.4.

5.2. Измерение глубин эхолотом

5.2.1. Перед каждым выходом на промерные работы необходимо выполнять: монтаж эхолота, если он не стационарный; проверку работы эхолота; регулировку работы эхолота.

5.2.1.1. При монтаже необходимо обеспечить:

правильность и надежность монтажа электроцепей;

надежность крепления выносных вибраторов, по возможности в средней части судна;

защищенность самописца эхолота и аккумуляторных батарей от дождя и брызг;

взаимную видимость и слышимость оператора у самописца с рулевым и наблюдателями, измеряющими углы привязки точек промера.

5.2.1.2. При проверке работы эхолота выполняется:

замер величины напряжения электропитания в сравнении с номинальным. При снижении напряжения более чем на 10 % против номинала необходимо заменить аккумуляторные батареи;

замер и определение стабильности частоты вращения электродвигателя эхолота. Отклонение от номинала более чем на 0,5 % должно учитываться поправкой;

проверка состояния цепи управления посылкой звуковых сигналов, цепей излучающего и приемного вибраторов, сопротивления этих цепей и их изоляции по отношению к номинальным характеристикам;

проверка качества записи на эхограмме линии дна, нулевой линии и оперативных отметок.

5.2.1.3. Регулировка эхолота и устранение технических дефектов, обнаруженных в процессе проверки, должны выполняться в соответствии с инструкцией по технической эксплуатации данного типа эхолота.

5.2.2. Глубины, измеряемые эхолотом, должны исправляться поправками эхолота, определение которых производится до начала и после окончания промера, а также в процессе промера в зависимости от продолжительности периода промера и степени изменения свойств водной среды (температура, соленость).

Основным критерием частоты определения поправок в процессе промера является обеспечение требования, изложенного в подпункте 5.2.5.5.

5.2.3. Определение поправок эхолота при выполнении подробного и приемо-сдаточного промеров должно выполняться по тарировочному устройству. При контрольном промере допускается определение поправки эхолота путем проведения тарирования по грунту дна.

5.2.4. Общая поправка эхолота должна рассчитываться по формуле

Нэ = ∆Нт + ∆Нп +Н0,                                                          (11)

где ∆Нэ  - общая поправка эхолота, м;

Нт  - суммарная поправка, определяемая тарированием эхолота в районе промера, м;

Нп  - поправка за отклонение частоты вращения электродвигателя эхолота при промере от частоты, которая была зафиксирована во время тарирования, м;

Н0    - поправка за изменение осадки вибраторов эхолота на ходу катера по сравнению с осадкой их на стоянке во время тарирования, м.

5.2.5. Определение суммарном поправки эхолота тарированием должно выполняться в дрейфе или на якоре в местах, отражающих условия проведения промера.

5.2.5.1. Тарирование должно производиться на горизонтах от 2 м до максимальной глубины через 1 м.

5.2.5.2. Тарировочное устройство должно состоять из контрольной доски размером 400×1000 мм или диска диаметром 400 мм, опускаемых под вибраторы на мерных линях.

Мерные лини должны изготовляться из стального мягкого тросика диаметром 3 - 5 мм. Разбивка мерных линей выполняется на точно вымеренном компараторе и должна начинаться от верхней плоскости доски (диска) на 2, 3, 4, 5, 7, 10, 15, 20 м и далее через 10 м до длины, обусловленной максимальными глубинами в обследуемом районе. Маркировка разбивки должна соответствовать табл. 11.

5.2.5.3. Тарирование должно производиться в следующей последовательности:

за 10 - 15 мин до начала работ запускается эхолот;

опускается за борт на мерных линях тарировочное устройство на первый горизонт тарирования так, чтобы оно располагалось под вибраторами эхолота;

устанавливается коэффициент усиления, обеспечивающий четкую запись на ленте глубины от отражателя;

измеряются величина напряжения сети питания, частота вращения электродвигателя эхолота, коэффициент усиления и записываются на ленте;

после получения на эхограмме четкой линии записи глубины длиной 10 - 15 мм тарировочное устройство опускается на следующие горизонты и наблюдения повторяются;

по достижении максимального горизонта тарирования осуществляется ступенчатый подъем тарировочного устройства с повторением наблюдений на тех же горизонтах тарирования.

Образец оформления записей на эхограмме при тарировании приведен на черт. 15.

5.2.5.4. Величина суммарной поправки эхолота Нт для соответствующей глубины должна приниматься равной средней величине из поправок, полученных при опускании и подъеме тарировочного устройства.

5.2.5.5. Не допускается принимать к отчету результат промера объекта, если суммарные поправки Нт, определенные при двух смежных тарированиях, отличаются друг от друга более чем вдвое. В таких случаях промер аннулируется и должен быть повторен с соблюдением требований п. 5.2.2.

5.2.6. При отклонении частоты вращения электродвигателя эхолота от наблюдаемой в период тарирования более чем на ±0,5 % должна учитываться поправка эхолота за частоту вращения Нn, которая рассчитывается по формуле

                                                       (12)

или

                                                      (13)

где Нn  - поправка за частоту вращения для данной глубины, м;

пт  - частота вращения электродвигателя во время тарирования, рад/с;

пп  - частота вращения электродвигателя, наблюдаемая при промере, рад/с;

tт   - время номинального числа вспышек неоновой лампочки при тарировании, с;

tн  - время того же числа вспышек при промере, с.

Черт. 15. Образец оформления записи на эхограмме при тарировании эхолота:

Нэх - глубина измерения эхолотом, м; Нп - глубина погружения тарировочного устройства, м; ∆Нт - суммарная поправка эхолота, м; tт - время номинального числа вспышек неоновой лампочки, с; Uт - напряжение в цепи питания эхолота, В

5.2.7. Поправка за изменение углубления вибраторов на ходу ∆Н0 должна определяться следующим образом:

в районе работ устанавливается веха (буек);

промерный катер подходит к вехе так, чтобы она находилась вблизи вибраторов, и измеряется эхолотом глубина на стопе (стоянке);

катер отходит, набирает нужную скорость и при подходе к той же точке у вехи на ходу эхолотом измеряется глубина. Измерения повторяются при движении катера в прямом и обратном направлениях для нескольких значений скоростей;

поправка вычисляется для каждого значения скорости как среднее значение из двух разностей глубин, измеренных эхолотом при движении катера в прямом и обратном направлениях и на стопе.

5.2.7.1. Поправка эхолота за изменение осадки катера (мотобота) на ходу должна определяться по формуле

Н0 = Aср - Aт,                                                                 (14)

где Н0  - поправка эхолота за изменение осадки катера на ходу, м;

Aср  - средний из двух отсчетов глубин, снятых при движении катера, м;

Aт   - отсчет по рейке при стоянке катера, м.

5.2.8. Суммарная поправка эхолота и поправка за изменение углубления вибраторов на ходу промерного судна должны записываться на эхограмме.

5.2.9. При проведении промера скорость движения катера (мотобота) не должна превышать величины, рассчитанной по формуле

Vк = 0,0006/Na,                                                             (15)

где Vк  - скорость движения катера при промере, км/ч;

N  - знаменатель масштаба плана промера;

a - интервал между определениями координат глубин в масштабе плана, см.

5.2.10. Проверка соответствия фактической скорости движении катера нормативной при промере должна производиться по продолжительности прохождения промеряемого профиля, которая должна быть не более величины, рассчитываемой по формуле

t = 0,06l/Vк,                                                                  (16)

где t - продолжительность движения катера на промерном профиле, мин;

l  - длина промерного профиля, м;

Vк - скорость движения катера, км/ч.

5.2.11. Скорость движения катера (мотобота) должна быть постоянной к началу измерения глубин и поддерживаться на всей длине промеряемого профиля. При вынужденном изменении скорости движения катера (мотобота) должно производиться определение места катера в начале и конце периода изменения хода.

Черт. 16. Образец оформления записей на эхограмме при промерах:

1 - оперативные отметки начала и конца профиля; 2 - оперативная отметка определения координат глубины; tн - время номинального числа вспышек неоновой лампочки, с; Uн - напряжение в цепи питания эхолота, В; Мел. - Чунт. - Песч. (или М-Ч-П)- сокращенное наименование опорных пунктов

5.2.12. Перед выполнением промера в эхолот должна вводиться постоянная поправка за углубление вибраторов. В процессе промера оператор должен постоянно следить за качеством записи глубин, нулевой линии и оперативных отметок.

Допускается изменение усиления записи на эхограмме по сравнению с принятой при тарировании только в случаях пропадания отметок глубин или их потери на фоне помех.

5.2.13. При появлении прерывистых, волнистых или разбросанных записей глубин причины их появления должны выявляться на участке промера и должен производиться повторный промер участка.

5.2.14. В процессе промера на эхограмме должны записываться:

время проведения промера на каждом профиле;

номер профиля;

наименование бровок;

напряжение сети и частота вращения электродвигателя эхолота;

сокращенное наименование опорных пунктов и величины измеренных горизонтальных углов между ними.

Записи должны выполняться карандашом. Образец записей на эхограмме приведен на черт. 16.

5.2.15. Ленты эхограммы должны оформляться этикетками, содержащими все необходимые сведения о промере (черт. 17).

Этикетки должны наклеиваться в начале и конце ленты.

5.3. Измерение глубин ручным лотом

5.3.1. Лотлинь ручного лота должен изготовляться из стального мягкого тросика диаметром от 3 до 5 мм. Ручной лот, указанный на черт. 18, представляет собой груз с поддоном диаметром от 100 до 150 мм.

Черт. 17. Образец этикеток оформления эхограмм

Масса груза и диаметр поддона должны выбираться в зависимости от условий (глубины, скорости течения, рода грунта) на промеряемом объекте и обеспечивать измерения действительных глубин без погружения поддона в грунт.

Среднее давление поддона на грунт не должно превышать 0,05 кгс/см2.

5.3.2. Лотлинь должен разбиваться от 2 до 20 м через 0,1 м.

Разбивка должна начинаться от нижней поверхности поддона лота. Метровые деления лотлиня должны обозначаться марками согласно табл. 10.

Дециметровые деления должны обозначаться марками из кожи, медной или латунной проволоки, вплетаемой в лотлинь или припаиваемой к нему.

Полуметровые деления лотлиня должны обозначаться кожаными марками, имеющими большую длину, чем дециметровые деления, или двумя марками из проволоки.

Черт. 18. Ручной лот:

1 - поддон; 2 - стальной груз; 3 - ушко; 4 - лотлинь

Таблица 10

Маркировка метровых делений лотлиня

Метры лотлиня

Вид марки

1

6

11

16

Кожаная с одним зубцом

2

7

12

17

То же, с двумя зубцами

3

8

13

18

      »        тремя           »

4

9

14

19

      »        четырьмя    »

5

-

-

-

Красный флагдук

-

10

-

-

Кожаная с одним топориком

-

-

15

-

Синий флагдук

-

-

-

20

Кожаная с двумя топориками

5.3.3. Разбивка лотлиня должна выполниться стальной 20-метровой лентой или стальной рулеткой.

5.3.4. Перед производством промера должна определяться поправка лота для всех предполагаемых глубин измерения путем проверки его на компараторе.

5.3.5. Отсчет глубины, измеряемой ручным лотом, должен производиться при вертикальном положении лотлиня в момент касания грузом поверхности дна по ближайшей погруженной в воду марке с точностью, равной 5 см.

5.3.6. Измеренные глубины записываются в промерный журнал установленного образца.

5.4. Измерение глубин наметкой

5.4.1. Наметка изготавливается из сухой жерди легких пород дерева или бамбука диаметром 4 - 5 см, длиной до 6 м. Нижний конец оборудуется металлическим поддоном диаметром до 20 см.

5.4.2. Разбивка производится от нижней плоскости поддона стальной рулеткой на дециметровые и метровые деления.

Дециметровые деления окрашиваются попеременно в белый и черный цвета, метровые - в красный. Дециметровые и метровые деления обозначаются цифрами белого и черного (контрастно) цвета.

5.4.3. При измерении глубин наметкой определение точности снятия отсчетов и запись глубин выполняют так же, как и при промере ручным лотом.

6. ПРОВЕДЕНИЕ ПРОМЕРНЫХ РАБОТ ПРИ ДНОУГЛУБЛЕНИИ

6.1. Общие требования

6.1.1. На участке дноуглубительных работ перед установкой земснаряда должны выполняться следующие подготовительные работы:

разбивка и закрепление на местности рабочих границ прорези;

предварительный промер и определение планируемого объема дноуглубительных работ;

установка временного уровенного поста (при необходимости) и привязка нуля водомерной рейки к нулю глубин;

обследование участка работ тралением на наличие предметов засоренности, уборка или ограждение предметов засоренности, представляющих опасность для земснаряда или судов его каравана.

6.1.2. На все проведенные подготовительные работы должны составляться и передаваться на земснаряд документы, включающие следующие с ведения:

разбивку и закрепление рабочих границ прорези, способ определения места нахождения земснаряда на прорези, наименования и схему опорных пунктов;

расположение постоянных и временных уровенных постов, величины отметок нулей реек относительно нуля глубин, способ получения информации и частоту наблюдении за колебаниями уровня;

предварительный промер участка, планируемый объем дноуглубительных работ;

результат траления со схемой расположения неубранных препятствий и системой их ограждения, плановую привязку препятствий;

расположение отвала грунта, его характеристики и пути подхода к нему.

Указанные сведения передаются на земснаряд в виде технического задания, плана-наряда на дноуглубительные работы, ситуационного плана участка дноуглубительных работ, плана промера или рабочих чертежей дноуглубления объекта, схемы разбивки и закрепления рабочих границ прорези, акта подводного обследования участка или траления.

6.1.3. Предварительный, контрольный и исполнительный промеры должны выполняться согласно требованиям, изложенным в подразделах 1.2 и 1.3, одними и теми же способами и инструментами.

6.1.4. Разбивка рабочих границ участка работы земснаряда должна выполняться от главных осей объекта, на котором он расположен, по проекту, рабочим чертежам или техническому заданию на дноуглубительные работы.

6.1.5. Ограждение рабочих границ должно обеспечивать заданную точность разбивки и разработки участка на всей его длине и сохраняться до полного окончания работ.

6.2. Разбивка рабочих границ участка дноуглубительных работ

6.2.1. Разбивкой или перенесением проекта в натуру являются геодезические работы, выполненные на местности для определения планового положения характерных точек и линии строящегося или восстанавливаемого сооружения согласно его проекту.

6.2.2. Геометрической основой проекта при переносе его в натуру являются разбивочные (главные) оси, относительно которых в рабочих чертежах даны все размеры деталей сооружения и которые привязаны к пунктам геодезической основы.

Разбивочными, или главными, осями у гидротехнических сооружений являются продольные оси сооружений (оси каналов и фарватеров, бровочные линии), магистраль (базисная линия), разбитая вдоль главных осей сооружения на берегу или воде.

6.2.3. Разбивка рабочих границ участка дноуглубительных работ должна производиться на основании рабочих чертежей, технического задания или проекта на дноуглубительные работы по утвержденному проекту разбивки.

6.2.4. Перед работой по разбивке необходимо сделать выбор метода проведения геодезических работ, обеспечивающего требуемую точность разбивки, и составить разбивочный чертеж.

6.2.5. Разбивочный чертеж должен составляться на каждый участок работ только по проектной документации данного сооружения и содержать наименования и схему расположения опорных пунктов, необходимых для разбивки главных осей, данные привязки (горизонтальные углы, дирекционные углы и азимуты главных осей, координаты точек), размеры разбиваемого сооружения (участка). Если выписанных из проекта размеров и других величин оказывается недостаточно для полной разбивки сооружения (участка), допускается получение недостающих величин путем их вычисления или измерения по планам.

Содержание разбивочного чертежа должно проверяться путем сопоставления данных чертежа с проектными данными объекта.

6.2.6. Разбивочные работы должны выполняться в два этапа:

первый - разбивка (перенесение в натуру, восстановление на местности) и закрепление на местности главных осей сооружения (участка);

второй - детальная разбивка и закрепление запроектированных точек и линий.

6.2.7. Разбивочные работы должны выполняться в системе координат, принятой в проекте сооружения.

6.2.8. Разбивочные работы должны оформляться соответствующим актом.

6.2.9. Разбивка главных осей на местности должна выполняться по точкам следующими способами: угловой засечки; замкнутого треугольника; полярных координат; прямоугольных координат; линейной засечки.

Выбор способа разбивки должен производиться в зависимости от принятой в проекте системы координат, расположения участка с учетом рекомендаций, приведенных в табл. 11.

6.2.10. Разбивка главных осей способом угловой засечки должна выполняться на берегу с помощью двух теодолитов. Положение проектной точки на местности должно определяться одновременным отложением горизонтальных углов из двух опорных пунктов.

Базисом засечки является линия, соединяющая опорные пункты.

Погрешность в положении проектной точки должна рассчитываться по формуле

                                               (17)

где m - погрешность в положении проектной точки, м;

mз - средняя квадратичная погрешность прямой засечки, м;

mа - средняя квадратичная погрешность измерения длины базиса mb и его ориентирования mα, м;

mц.р  - средняя квадратичная погрешность от погрешности центровки и редукции, м.

Элементы, входящие в формулу (17), рассчитываются по формулам:

                                               (18)

где      mβ - средняя квадратичная погрешность отложения углов, рад;

b - длина базиса, м;

β1 и β2 - откладываемые горизонтальные углы, рад;

γ   - горизонтальный угол, рад, рассчитываемый по формуле

γ = π - (β1 +β2);                                                              (19)

                                             (20)

где b и γ  - элементы, входящие в формулу (18);

mb - погрешность измерения длины базиса, м;

β - наибольший из откладываемых горизонтальных углов, рад;

mα - погрешность ориентирования базиса, град;

                                        (21)

где        е - величина редукции, м;

γ, β1 и β2 - элементы, входящие в формулу (18).

Таблица 11

Рекомендации по применению способов разбивки главных осей участка

Объект, где расположен участок дноуглубительных работ

Место разбивки и закрепления главных осей и рабочих границ участка

Максимальная удаленность проектных точек от базовых (опорных) пунктов, м

Основной способ разбивки проектных точек

Инструмент, применяемый для разбивки

Все гидротехнические сооружения, расположенные на акваториях портов, морские и речные, подходные и соединительные каналы и фарватеры, акватории портов и гаваней

На берегу

2000

Замкнутый треугольник

Теодолит

2000

Угловая засечка

Теодолит

600

Полярные координаты

Теодолит, измерительная лента, оптические дальномеры (ОД)

400

Прямоугольные координаты

Теодолит, измерительная лента, ОД

48

Линейная засечка

Две измерительные ленты длиной 48 м

Все гидротехнические сооружения, расположенные на акваториях портов, морские и речные, подходные и соединительные каналы и фарватеры, акватории портов и гаваней

На воде

Более 4000

Линейная засечка

Высокоточная радиодальномерная система

2000

Полярные координаты, обратная угловая засечка

Система радиолага. Промерный секстан

400

Полярные и прямоугольные координаты

Теодолит, промерный трос

Отложение заданного проектного угла на местности должно выполняться согласно требованиям п. 6.2.15.

Черт. 19. Разбивка главных осей на воде:

1 - плавучие опорные пункты; 2 - рабочая бровка канала (фарватера); 3 - ось канала (фарватера), A, В, С - береговые опорные пункты; S1 и S2 - отстояние оси канала (фарватера) от базисной линии, разбитой на воде, м

6.2.10.1. Разбивка главных осей на воде должна производиться следующим способом (черт. 19):

вдоль направления канала или фарватера на расстоянии от проектного положения рабочей бровки, не превышающем 100 - 200 м, с интервалом 300 - 400 м выставляются вехи или буйки с буйрепом, имеющим длину, равную глубине места или несколько меньшую, с якорями повышенной держащей силы;

определяется плановое положение буев прямой засечкой с трех опорных пунктов или обратной засечкой по четырем опорным пунктам с погрешностью, не превышающей ±3 м;

после нанесения положения выставленных буев на планшет или план определяется отстояние базисной линии, разбитой на воде, от главных осей (оси канала или бровки) участка работ, по которым с помощью промерного троса и угломерного инструмента производится разбивка главных осей на местности.

6.2.10.2. При разбивке рабочих границ на местности должны учитываться возможные отклонения базисных буев от проектного положения, вызванные колебанием уровня воды.

Величина возможного отклонения должна приниматься по табл. 12, а направление отклонения - по направлению ветра или течения.

Таблица 12

Величина отклонения буя от проектного положения при понижении уровня воды

Глубина в районе установки буев, м

Понижение, уровня воды, м

0,10

0,20

0,30

0,40

0,50

0,60

0,80

1

0,43

0,00

0,69

0,80

0,86

0,91

-

2

0,63

0,86

1,05

1,20

1,32

1,43

1,60

3

0,77

1,10

1,30

1,50

1,66

1,80

2,04

4

0,89

1,20

1,51

1,74

1,95

2,11

2,40

5

0,99

1,40

1,71

1,90

2,17

2,37

2,69

6

1,10

1,54

1,87

2,16

2,40

2,62

3,01

7

1,18

1,66

2,02

2,34

2,60

2,82

3,24

8

1,25

1,78

2,17

2,52

2,80

3,00

3,49

9

1,34

1,90

2,31

2,66

2,95

3,24

3,68

10

1,41

1,98

2,43

2,80

3,15

3,36

3,92

11

1,48

2,10

2,55

2,96

3,30

3,54

4,12

12

1,55

2,20

2,67

3,08

3,45

3,78

4,32

13

1,61

2,28

2,79

3,20

3,60

3,90

4,48

14

1,67

2,30

2,89

3,32

3,75

4,05

4,68

15

1,73

2,42

2,97

3,44

3,85

4,20

4,84

6.2.11. Способ замкнутого треугольника должен применяться на берегу при повышенной точности разбивки и большом удалении опорных пунктов.

Положение проектной точки на местности находится способом прямой засечки (черт. 20) с опорных пунктов. Горизонтальный угол γ между опорными пунктами измеряется из проектной точки. Угловая невязка вычисляется и распределяется поровну на каждый внутренний угол треугольника или распределяется по значениям каждого угла с учетом их массы. Координаты точки разбивки рассчитываются, сравниваются с их проектными значениями и исправляются поправкой, по которой производится смещение точки в натуре.

Погрешность в положении проектной точки должна вычисляться по формуле

                             (22)

где                     m  - погрешность в положении проектной точки, мм;

S1 и S2   - расстояния от опорных пунктов до проектной точки, измеренные на местности или снятые с плана, м;

b, γ, mβ, mb и mα   - элементы, входящие в формулы (18) и (20).

Черт. 20. Разбивка точки способом замкнутого треугольника;

A, В - опорные пункты; S1 и S2 - расстояния от проектной точки до опорных пунктов, м; b - длина базиса, м; β1 и β2 - углы, отложенные на местности, после решения треугольника, рад; γ - исправленный угол между опорными пунктами, измеренный на местности, рад; М1 - фактическое положение проектной точки; M0 - проектное положение проектной точки; х иy - поправка для перемещения фактической точки, м

6.2.12. Способ полярных координат должен применяться при разбивке на берегу и на воде с помощью теодолита. Положение проектной точки на местности должно определяться по горизонтальному углу, отложенному от базиса, и проектному расстоянию, отложенному в данном направлении (черт. 21).

Построение проектного угла и отложение проектного расстояния должны производиться согласно требованиям пп. 6.2.15 и 6.2.16.

Погрешность в положении проектной точки должна рассчитываться по формуле

                                              (23)

где mи - средняя квадратичная погрешность измерения длины базиса и его ориентирования, м;

mS   - средняя квадратичная погрешность измерения длины, м;

mβ   - средняя квадратичная погрешность построения угла, рад;

S   - расстояние от опорного пункта до проектной точки, м.

Черт. 21. Разбивка точки способом полярных координат;

A - опорный пункт; В - базисное направление; β - проектный угол; S - проектное расстояние, м; M0 - проектная точка

6.2.13. Способ прямоугольных координат должен применяться при разбивке проектных точек на берегу и на воде, если заданное положение проектных точек определяется относительно базисной линии (магистрали), совпадающей с направлением одной из осей координат.

Положение проектной точки должно находиться путем отложения лентой (промерным тросом) в створе базисной линии от начальной точки величины X и величины Y на перпендикуляре восстановленном в этой точке (черт. 22).

Погрешность в положении проектной точки должна рассчитываться по формуле

                                       (24)

где        m  - средняя квадратичная погрешность, м;

mи   - погрешность в положении исходной точки;

mх и my   - погрешность отложения приращений координат, м;

mβ   - погрешность построения прямого угла, рад.

6.2.14. Способ линейной засечки должен применяться при разбивках на берегу и на воде, если заданы расстояния от проектной точки до опорных пунктов (черт. 23).

Черт. 22. Разбивка проектных точек способом прямоугольных координат:

М1, М2, М3 - проектные точки; ∆х1,х2, ∆х3 - отстояние проектной точки по базисной линии от начальной точки, м; ∆y1,y2, ∆y3 - отстояние проектных точек от базисной линии, м; A - начальная точка базисного направления; AВ - базисное направление

Погрешность разбивки рассчитывается по формуле

                                  (25)

где Р - полупериметр треугольника, равный:

                                                              (26)

mи - средняя квадратичная погрешность определения опорного пункта, м;

mS - погрешность отложения расстояния, м.

Черт. 23. Способ разбивки линейной засечкой

A и В - опорные пункты; М0 - проектная точка; b - длина базиса; S1 и S2 - расстояния от проектных точек до опорных пунктов, м

6.2.14.1. Разбивка проектной точки на берегу должна производиться двумя измерительными лентами (проволоками) при расстояниях от опорных пунктов до проектной точки менее 48 м или двумя промерными тросами при расстоянии более 48 м.

6.2.14.2. Разбивка проектной точки на воде должна производиться с помощью высокоточных радионавигационных систем, обеспечивающих заданную точность разбивки.

6.2.14.3. Работы по координированию с помощью РНС должны выполняться в соответствии с их инструкциями по эксплуатации.

Невязки, если они не превышают величины допустимой погрешности для данной системы, распределяются по измеренным расстояниям с учетом их веса по формулам, приведенным в инструкции или паспорте системы.

При невязке более допустимой погрешности производится повторное определение положения выставленной точки.

Путем сравнения проектного и фактического положения разбиваемых точек главной оси определяется поправка, которая должна учитываться при разбивке рабочих бровок прорези.

6.2.15. Построение проектного горизонтального угла на местности должно выполняться следующим способом (черт. 24):

на опорном пункте устанавливается, центруется и ориентируется в заданном направлении теодолит;

по алидаде устанавливается проектный угол с точностью измерения углов данным теодолитом и наблюдением в зрительную трубу в створе визирной оси фиксируется на местности точка, расположенная на расстоянии 20 - 48 м;

построение повторяется при другом положении вертикального круга;

по полученным точкам находится средняя величина построенного угла по формуле

Черт. 24. Построение проектного горизонтального угла:

α1 - построенный горизонтальный угол при КП; α2 - построенный горизонтальный угол при КЛ; αср - измеренный проектируемый горизонтальный угол; ∆α - поправка проектируемого угла; Х - боковое смещение проектируемой точки; l - расстояние от опорного пункта до проектной точки; α0 - построенный проектный горизонтальный угол; - заданное базисное направление; В - точка стоянки инструмента; М0, М1, М2, Мср - точки на местности

                                                              (27)

где αср  - среднее значение измеряемого угла, рад;

αi    - величина угла при i-м измерении, рад;

n - число произведенных измерений угла.

Измерение угла производится при круге право (КП) и круге лево (КЛ);

определяется поправка угла ∆α путем сравнения величины построенного угла с проектным, по которой рассчитывается величина бокового смещения проектной точки по формуле

X = lα,                                                                    (28)

где X   - боковое смещение проектной точки, м;

l    - расстояние между проектной точкой и опорным пунктом, м;

α  - поправка построенного угла, рад;

полученное смещение откладывается от средней точки в соответствующую сторону перпендикулярно направлению на теодолит, и полученная точка закрепляется на местности.

6.2.16. Отложения проектных длин линий на берегу (проектных расстояний) должны производиться с учетом угла наклона местности вдоль проектного направления.

6.2.17. При угле наклона местности, превышающем 5°, проектные длины (расстояния), снятые с плана, должны преобразовываться по формуле

                                                                        (29)

или

                                                              (30)

где Dпр - преобразованная проектная длина (расстояние), м;

dпр  - проектная длина (расстояние), снятая с плана, м;

α     - угол наклона местности вдоль проектного направлении, рад (град);

∆Н  - превышение проектной точки над базовой, м.

6.2.18. Отложение преобразованной проектной длины (расстояния) измерительной лентой (проволокой) должно производиться от центра опорного пункта по провешенному теодолитом заданному направлению и закрепляется на местности.

После повторного измерения отложенной длины должна определяться поправка путем сравнения отложенной длины (расстояния) с проектной, которая должна откладываться рулеткой от конечной точки.

6.2.19. Отложение проектной длины (расстояния) оптическим дальномером должно производиться следующим способом:

по проектному направлению (створу) на расстоянии, приблизительно равном проектной преобразованной длине, от опорной точки устанавливается рейка и производится измерение этого расстояния с заданной точностью;

путем сравнения проектной длины (проектного расстояния) с измеренной определяется поправка, которая откладывается от места установки рейки.

Выбор инструмента для измерения длины должен производиться в зависимости от местных условий и требуемой точности по данным табл. 13.

Таблица 13

Перечень инструментов для измерения длины линии на местности и их точность

Тип инструмента

Диапазон измерения расстояния, м

Средняя квадратичная относительная погрешность измерения

Оптические дальномеры:

 

 

ОТД

От 36 до 400

1:6000

ДН-10,

  » 20   » 200

1:1000

ДН-04

  » 10   » 120

1:2500

ДНР-06

  » 20   » 200

1:1600

ДВ-20

  » 17   » 60

1:1500

»

  » 60   » 120

1:1200

»

  » 120 » 300

1:600

Нитяной дальномер

  » 120 » 250

1:300

Стальная лента

  » 0     » 1000

От 1:1000 до 1:3000

6.2.20. Продление створной линии должно выполняться следующим способом:

теодолит устанавливают в одной из точек створной линии и производят его горизонтирование и центрирование;

зрительную трубу наводят на вешку, стоящую на створной линии, а затем переводят трубу через зенит и по визирной оси теодолита устанавливают дополнительную вешку;

операция повторяется при другом положении вертикального угла;

находится средняя точка между двумя дополнительными вехами, которая будет лежать на линии створа.

6.2.21. Проложение на местности линий большой протяженности в заданном направлении должно выполняться следующим способом:

на опорном пункте устанавливают теодолит и строят проектный угол согласно требованиям п. 6.2.15;

Черт. 25. Типы вешек для обозначения границ участка дноуглубительных работ:

1 - топовая фигура вешки; 2 - шест вешки; а - размер топовой фигуры

после построения проектного угла на местности микрометрическим винтом при алидаде зрительную трубу устанавливают так, чтобы визирная ось трубы совпала с построенным на местности проектным направлением. Линию провешивают по визирной оси трубы с помощью вешек, устанавливаемых друг от друга на расстоянии не более 200 м;

продление провешенной линии должно производиться в соответствии с требованиями п. 6.2.20.

6.2.22. Главные оси, разбитые на берегу, должны закрепляться на местности постоянными знаками. Базисная линия, разбиваемая на воде, должна сохраняться до полного окончания и сдачи дноуглубительных работ на данном участке канала или фарватера.

6.2.23. Детальная разбивка рабочих границ участка должна выполняться по главным осям способом прямоугольных координат.

6.2.24. Разбивка и закрепление рабочих границ должны производиться на берегу при удалении участка работ менее чем на 4000 м от береговой линии и на воде при его удалении более чем на 4000 м.

6.2.25. Разбивка рабочих границ на существующих каналах и фарватерах при наличии осевого ведущего створа должна производиться от оси, нахождение которой выполняется способом, указанным в подпункте 4.3.7.6. При отсутствии ведущего створа или плохой его видимости должна разбиваться на берегу или на воде магистраль, относительно которой производится разбивка рабочих границ.

Допускается на морских каналах и фарватерах, удаленных от береговой линии более чем на 4000 м и имеющих большую протяженность прямолинейного участка, разбивку рабочих границ участка при ремонтном дноуглублении производить способом, указанным в подпункте 4.3.7.7.

6.2.26. Закрепление на берегу рабочих бровок участка работ должно выполняться створными бровочными вехами с топовой фигурой (черт. 25). Разнос вех и размеры топовых фигур должны быть не менее указанных в табл. 14.

6.2.27. Закрепление на воде рабочих бровок участка работ должно выполняться:

при глубине на месте разбивки менее 4 м - створными вешками, забиваемыми в грунт;

при глубине более 4 м - плавучими вешками или буями, установленными на натянутом буйрепе (панер).

Разнос створных знаков и размеры топовых фигур должны быть не менее указанных в табл. 14.

Таблица 14

Величина разноса между вехами бровочных створов и размеры топовых фигур

Показатели

Дальность действия створа, км

0,5

1,0

1,5

2,0

2,5

3,0

3,5

4,0

Разнос между вехами, м

30

150

350

60

-

110

-

180

-

250

-

340

-

450

Размер а для топовой фигуры, м

Не менее 0,6

Не менее 1,2

-

Примечания: 1. В числителе разнос вех для невооруженного глаза, в знаменателе - для глаза, вооруженного шестикратным биноклем.

2. При пользовании биноклем с другой кратностью увеличения разнос между створами должен рассчитываться по формуле

                                                                                (31)

где d   - разнос между створными вехами, км;

Р     - допустимое боковое уклонение створа, м;

D    - дальность действия створа, км;

n     - кратность бинокля.

6.2.28. Плавучие и береговые бровочные знаки должны иметь освещение в ночное время, переносное или стационарное, с дальностью видимости огня, обеспечивающей их видимость с самой удаленной точки участка работ.

6.2.29. Створные бровочные знаки должны устанавливаться:

на участках работ для всех типов земснарядов с грунтозаборным устройством в диаметральной плоскости - на линии рабочих бровок (на расстоянии ВР/2 от оси разрабатываемой прорези);

на участках работы самоотвозных землесосов с бортовыми сосунами - на расстоянии от оси прорези, равном Вр/2 - (В/2 + 3),

где Вр - рабочая ширина разрабатываемой прорези, м;

В - ширина землесоса, м;

На участках работы грейферных и штанговых земснарядов - на расстоянии Вр/2 - R от оси разрабатываемой прорези, где R - вылет стрелы земснаряда при дноуглублении, рассчитываемый по формуле

R = Rmaxsinω,                                                                      (32)

где Rmax - максимальный рабочий вылет стрелы, м;

ω - максимальный угол поворота стрелы при работе от диаметральной плоскости земснаряда, рад.

6.3. Промерные работы по подготовке отвалов грунта

6.3.1. Место отвала грунта и его границы должны устанавливаться проектом или техническим заданием на дноуглубительные работы.

6.3.2. На мелководных и с ограниченной емкостью отвалах с целью контроля их состояния и расчета проходных глубин на отвалах и подходных путях к ним должен выполняться контрольный промер и сроки, установленные в п. 1.2.6, с подробностью согласно требованиям подраздела 1.3.

По материалам контрольного промера должен составляться план промера отвала грунта с нанесением границ отвала и рекомендуемого подхода к нему, должны указываться его проходная глубина и система ограждения отвала и подхода к нему.

План промера отвала должен выдаваться на земснаряд.

6.3.3. Проходная глубина на отвале и подходах к нему должна рассчитываться по формуле

Нпр = Нф - (Z0 + Z1 + Z2 + Z3),                                               (33)

где Нпр - проходная глубина на отвале и подходах к нему, м;

Нф  - фактическая глубина, м;

Z1  - навигационный запас под килем, необходимый для обеспечения управляемости судна, м;

Z2  - волновой запас, м;

Z3  - скоростной запас на изменение осадки судна на ходу, м;

Z0  - запас на крен судна, м.

Фактическая глубина определяется из выражения

Нф = Н ±Нур,                                                               (34)

где Н      - наименьшая глубина на отвале и подходах к нему, приведенная к нулю порта, м;

Нур  - фактическое положение уровня воды относительно нуля глубин порта.

Значения Z0, Z1, Z2, Z3 должны приниматься по табл. 15 - 18.

6.3.4. Разбивка границ подводных отвалов должна выполняться промерным секстаном по углам, снятым с карты (планшета).

Границы отвалов и подходных путей к нему должны ограждаться плавучими знаками.

При отсыпке грунта из трюмов шаланд или землесосов в котлованы гидротехнических сооружений границы котлованов должны ограждаться створными знаками, не мешающими маневрированию шаланды (землесоса) и обеспечивающими точность отсыпки грунта.

6.3.5. Подводные отвалы грунта для регулирования по плавучему или подвесному грунтопроводам должны ограждаться по продольной оси отвала.

Таблица 15

Навигационный запас глубины Z1

Подстилающие грунты на отвале и подходных путях

Запас глубины под килем, м

Ил

0,04Т

Песок, ракушка, гравий

0,05Т

Плотный слежавшийся грунт (песок, глина), скала

0,06Т

Примечание. Т - осадка судна с учетом выступающих за пределы корпуса судна грунтовых дверец.

Таблица 16

Волновой запас Z2 при встречном или попутном волнении

Длина судна, м

Волновой запас при высоте волны, м

0,5

1,0

1,5

2,0

2,5

75

0

0,05

0,20

0,35

0,55

100

0

0,05

0,15

0,25

0,40

150

0

0

0,05

0,15

0,25

При косом направлении волны относительно движения судна табличные значения необходимо умножить на коэффициенты:

при 0° ≤ φ ≤ 15°  K2 = 1,0;

       » 15° ≤ φ ≤ 35°  K2 = 1,4;

       » 35° ≤ φ ≤ 90°  K2 = 1,7.

Таблица 17

Относительный скоростной запас глубины Z3/B

Скорость судна

Минимальная глубина на отвале (подходе), м

уз

м/с

2

4

6

8

10

12

2

1,0

0,0025

0,0025

0,0025

0,0025

0,0025

0,0025

3

1,6

0,0050

0,0025

0,0025

0,0025

0,0025

0,0025

4

2,1

0,0100

0,0050

0,0030

0,0025

0,0025

0,0025

5

2,6

0,0175

0,0075

0,0050

0,0030

0,0030

0,0025

6

3,1

0,0275

0,0100

0,0075

0,0060

0,0050

0,0030

7

3,6

0,0400

0,0150

0,0100

0,0080

0,0075

0,0050

8

4,1

0,0550

0,0225

0,0125

0,0100

0,0080

0,0050

9

4,6

0,0650

0,0300

0,0175

0,0130

0,0100

0,0070

10

5,2

-

0,0475

0,0250

0,0175

0,0130

0,0100

11

5,7

-

0,0650

0,0350

0,0220

0,0170

0,0125

12

6,2

-

-

0,0420

0,0270

0,0200

0,0150

Примечание. В - ширина судна, м; Z3 - запас глубины на скорость движения судна, м.

Таблица 18

Величина запаса глубины на крен судна Z0

Ширина судна, м

Крен судна, град

2

4

6

8

10,0

0,10

0,20

0,40

0,60

12,0

0,10

0,30

0,50

0,70

14,0

0,10

0,40

0,50

0,80

16,0

0,10

0,40

0,60

1,00

18,0

0,10

0,45

0,70

1,10

20,0

0,10

0,50

0,80

1,20

22,0

0,15

0,50

0,90

1,30

6.3.6. Границы береговых отвалов грунта должны разбиваться с помощью теодолита по опорным пунктам. При намыве территории на территории намыва должны устанавливаться визирки, указывающие проектную отметку намыва.

6.4. Проведение промера при дноуглублении

6.4.1. Промер в период дноуглубления выполняется с целью планирования работ, определения планируемого и фактически выполненного объема, установления рабочих габаритов прорези (ширина, глубина, толщина срезаемого слоя), выбора эффективной технологической схемы разработки, контроля за качеством производимых работ, определения фактически достигнутых габаритов.

6.4.2. Промер должен выполняться до начала дноуглубления (предварительный), в период процесса дноуглубления (контрольный), после окончания этапа или всей работы на данном участке сполнительный).

6.4.3. Все виды промера должны выполняться по поперечным профилям и отвечать требованиям, изложенным в подразделе 1.3.

Все измеренные глубины должны приводиться к нулю глубин порта.

6.4.4. Предварительный промер должен выполняться не ранее сроков, указанных в п. 1.2.6.

При невозможности выполнения предварительного промера в сроки, указанные в п. 1.2.6, допускается в качестве предварительного использовать более ранний промер, если контрольной проверкой не будет обнаружено существенных изменений глубин.

Контрольная проверка глубин должна производиться не менее чем в 3 - 5 точках на профиле через один основной профиль.

6.4.5. На участках, где зависимость обусловлена штормовыми явлениями, предварительный промер для корректировки планируемых и фактически выполняемых объемов должен проводиться после каждого шторма не позже сроков, указанных в п. 1.2.6.

6.4.6. Подробность предварительного промера должна быть не ниже указанной в подразделе 1.3. Способ промера должен выбираться в зависимости от местных условий (наличие и расположение опорных пунктов, форма и удаленность от береговой линии участка работ) и обеспечивать проектную (заданную) точность определения координат глубин и положения рабочих границ во всех точках участка.

6.4.7. По данным предварительного промера должен составляться план промера участка, который после утверждения заказчиком выдается багермейстеру на земснаряд. На плане должны указываться дата выполнения промера, используемый инструмент для измерения глубин, способ определения их координат. План промера должен подписываться начальником промерной партии и исполнителем промера.

6.4.8. По данным предварительного промера должны рассчитываться объем планируемых работ и средняя толщина срезаемого слоя.

Объем планируемых дноуглубительных работ должен рассчитаться с учетом объема на допустимые переборы по глубине и ширине прорези по формуле

Vпл = Vпр + Vпер,                                                             (35)

где Vпл  - планируемый объем дноуглубительных работ, м3;

Vпр   - объем работ по проектным габаритам, м3;

Vпер  - объем допустимого перебора, м3.

6.4.9. Планируемый объем по проектным габаритам должен рассчитываться по формуле

Vпр = L((S1 + Sn)/2 + S2 + S3 + ... + Sn-1),                                         (36)

где        Vпр - объем работ по проектным габаритам, м3;

L   - расстояние между промерными профилями, м;

S1, S2, S3   - площадь поперечного сечения срезаемого на профиле грунта, м2, определяемая по формуле

S = H0Bp - ((H1 + Hn)/2 + H2 + H3 + + Hn-1)l,                                    (37)

где          H0 - проектная глубина канала, м;

Bp - рабочая ширина канала, м;

H1, H2, Hn    - глубины на точках профиля предварительного промера, м;

l  - расстояние между промерными точками на профиле, м.

Планируемый объем по проектным габаритам может быть также определен из выражения

Vпр = LучBрhср,                                                          (38)

где Vпр  - объем работ по проектным габаритам, м3;

Lуч  - длина участка, м;

Bр   - рабочая ширина прорези, м;

hср  - средняя толщина срезаемого слоя грунта на участке, рассчитываемая по формуле

                                                    (39)

где Н0    - проектная глубина прорези, м;

Нср - средняя фактическая глубина прорези на данном профиле, м;

N    - количество промерных профилей;

n     - количество точек глубин на профиле.

Средняя фактическая глубина на данном профиле для формулы (39) определяется из выражения

                                                                 (40)

где Нi   - глубины на точках профиля, м;

n     - количество точек измеренных глубин на профиле.

6.4.10. Объем допустимого перебора должен рассчитываться по формуле

Vпер = kLуч(BрH + 2Bдhср),                                                (41)

где k   - коэффициент, нормирующий общую долю допустимого перебора по ширине и глубине прорези по СНиП (по стандарту более высокого класса);

Bр   - расчетная ширина прорези, м;

H - допустимый перебор по глубине, м;

Bд - допустимый перебор по ширине прорези с каждой стороны, м.

6.4.11. В период дноуглубительных работ должен осуществляться постоянный контроль за качеством выработки проектных габаритов командой земснаряда и промерной партией путем периодического выполнения контрольного промера.

Промерные партии должны проводить контрольный промер в сроки, установленные в п. 1.2.6.

6.4.12. Промерной партией при выполнении контрольного промера должны проверяться:

исправность рабочей рейки уровенного поста, соответствие фактического превышения ее нуля над нулем глубин порта, своевременное получение информации о колебаниях уровня, правильный расчет поправок за уровень;

положение системы бровочного ограждения прорези и обеспечение ею заданной точности разработки прорези;

чистота выработки заданных габаритов относительно системы ограждения и соответствие разрабатываемых габаритов проектным;

чистота выработки по глубине, степень использования допустимых переборов.

6.4.13. Контрольный промер должен выполняться по поперечным профилям тем же инструментом и способом, которыми производился предварительный промер. Подробность контрольного промера не должна быть менее указанной в подразделе 1.3.

6.4.14. На участках, где в период дноуглубительных работ интенсивность заносимости равна или более 0,02 м/сут, контрольный промер должен выполняться через каждые трое суток как на разработанных земснарядом участках, так и впереди работы земснаряда и являться одновременно предварительным для неразработанного и исполнительным для разработанного участка.

6.4.15. По контрольному промеру после исправления глубин в соответствии с требованием п. 1.4.3 должен составляться и передаваться багермейстеру план (на миллиметровке) предварительного промера, на котором указываются проектные глубина и ширина прорези, наносится изобата по достигнутой проектной глубине, заштриховываются недоработанные до проектных глубин участки.

Пример оформления плана контрольного промера приведен на черт. 26.

6.4.16. Контрольный промер на многочерпаковых земснарядах и папильонажных землесосах должен дополнительно выполняться вахтенной службой не реже одного раза за каждые два часа работы земснаряда.

Измерение глубин должно производиться с земснаряда выборочно ручным лотом или эхолотом по поперечным профилям в двух местах;

В районе забора грунта грунторазрабатывающим устройством;

В носовой (кормовой) части земснаряда за районом действия прососов.

Черт. 26. План контрольного промера

Глубины приведены к нулю порта

Промер произведен 05.07.77

 

Начальник промерной партии

 

В. А. Петров

 

Промер произвел ст. техник

 

Н.П. Иванов

Результаты этого дополнительного контрольного промера планом не оформляются, а записываются в судовой (рамный) журнал земснаряда.

6.4.17. При измерении глубин ручным лотом его конструкция и способ измерения должны отвечать требованиям подраздела 5.3.

6.4.18. При измерении глубин эхолотом должна проводиться его проверка в соответствии с требованиями подпункта 5.2.1.2 и определяться общая поправка. Тарирование эхолота должно производиться не реже двух раз в сутки при стоянке земснаряда по грунту на плотных грунтах и по тарировочному устройству на илистых.

Тарирование по грунту должно производиться путем сравнения показаний эхолота с измеренной ручным лотом глубиной в районе установки вибраторов эхолота.

Результаты измерений должны фиксироваться в судовом (рамном) журнале земснаряда.

6.4.19. Контрольный промер на самоотвозных землесосах при наличии широкополосного эхолота должен выполняться вахтенной службой не реже 1 - 2 раз за вахту по продольным профилям при движении землесоса у бровок и по оси прорези, при этом должно определяться место земснаряда на галсе не менее чем в 3 - 5 точках обратной засечкой (по двум горизонтальным углам) или радиотехническим способом.

6.4.20. Тарирование широкополосного эхолота и определение его поправки должны производиться согласно инструкции по эксплуатации данного типа эхолота и путем сопоставления показаний эхолота с глубинами, измеренными ручным лотом, или данными по заглублению тарировочного устройства.

6.4.21. Прием и сдача дноуглубительных работ должны производиться по данным исполнительного промера.

6.4.22. Исполнительный промер должен выполняться в сроки, указанные в п. 1.2.6, по поперечным профилям. Промерные профили и точки измерения глубин на них должны совпадать и пределах точности определения их планового положения с соответствующими промерными профилями и точками предварительного промера.

Способы измерения и определения координат глубин должны быть такими же, как и при выполнении предварительного промера.

6.4.23. На участках с интенсивностью заносимости равной или более 0,02 мут исполнительный промер должен выполняться не позднее трех суток после окончания работы на данном профиле.

6.4.24. Проектные габариты должны считаться выполненными, если недобор по глубине не превышает 0,1 м, а отклонения фактической ширины от проектной относительно системы ограждений рабочих границ не превышают заданной точности разработки.

6.4.25. При недоборе по глубине более 0,1 м и по ширине, превышающем заданную точность, по требованию заказчика недобор должен устраняться повторной проходкой.

6.4.26. Переборы по глубине и ширине прорези сверх заданного допуска должны фиксироваться в журналах и планах промера как бросовая работа.

6.4.27. Объем выполненных работ должен рассчитываться по данным предварительного и исполнительного промеров. В особых случаях, при отсутствии предварительного промера, по договоренности с заказчиком допускается определение объема выполненных дноуглубительных работ по количеству отвезенного на отвал грунта в трюмах шаланд или самоотвозных землесосов.

Объем погруженного в трюм грунта должен определяться по формуле

                                                   (42)

где Vгртр - объем грунта, погруженного в трюм, м3;

Dгр    - водоизмещение шаланды (землесоса) после окончания загрузки трюма, т;

Dпер   - водоизмещение шаланды (землесоса) до начала загрузки трюма, т;

Wтр    - вместимость трюма до уровня слива воды, м3;

γв   - плотность воды, т/м3;

γср - средняя плотность грунта в состоянии естественного залегания, т/м3.

Водоизмещение шаланды (землесоса) должно определяться по его осадкам.

6.4.28. Объем выполненных дноуглубительных работ по данным предварительного и исполнительного промеров должен рассчитываться по формуле

V = 1/2[(S1 + S2)L1 + (S2 + S3)L2 + ... + (Sn-1 + Sn)Ln-1],                              (43)

где             V - объем выполненных дноуглубительных работ, м3;

S1, S2, ... , Sn  - площади поперечного сечения выемки на данном профиле, м2;

L1, L2, ... , Ln - расстояния между промерными профилями, м.

При равных расстояниях между промерными профилями объем выполненных работ должен рассчитываться по формуле

V = L((S1 + Sn)/2 + S2 + … + Sn-1) + Vвр + Vк,                                (44)

где L - равный интервал между профилями, м;

Vвр     - объем за счет откосов при врезке земснаряда, рассчитываемый по формуле

Vвр = S1a1 + S1b1/2;                                                             (45)

Vк - объем конечного участка, рассчитываемый по формуле

Vк = Snan + Snbn/2,                                                                 (46)

где a1, an     - расстояния от промерного профиля до нижней бровки откоса врезки и концевого участка, м;

b1, bn     - расстояния от нижней до верхней бровки откоса врезки и концевого участка (проекция на горизонтальную плоскость).

6.4.29. Расчет площадей поперечного сечения выемки (профилей) должен производиться по формуле

S = 1/2[∆h1l1 + (∆h1 + ∆h2)l2 +… +(∆hn-1 + ∆hn)ln + ∆hnln+1],                    (47)

где ∆h1, ∆h2, …, ∆hn   - разности отметок глубин до и после черпания, м;

l1, l2, …, ln   - расстояния между промерными точками, м.

При равных расстояниях между промерными точками площадь перечного сечения выемки (профиля) должна рассчитываться формуле

S = l(∆h1 + ∆h2 + ∆h3 + … +∆hn)                                           (48)

или

                                                        (49)

где l  - интервал между точками измерения глубины на профиле, м;

H2j - глубина по исполнительному промеру, м;

H1j - глубина по предварительному промеру, м.

6.4.30. При определении объемов выполненных дноуглубительных работ на участках с заносимостью, обусловленной штормовыми явлениями или имеющей величину более 0,3 м/год, исходными данными должны служить данные наиболее позднего предварительного и наиболее раннего исполнительного промеров, выполненных в пределах сроков, указанных в подразделе 1.2.

6.4.31. В расчетах объемов выполненных дноуглубительных работ должны приниматься переборы по глубине и ширине прорези только в пределах установленных допусков, однако в планах промера указываются фактически измеренные глубины.

6.4.32. При расчетах площадей поперечного сечения выемок должны включаться глубины, или приращения глубин, всех точек, удаленных от рабочих границ прорези на расстояние, указанное в табл. 3.

6.4.33. На основании исполнительного промера должен составляться приемо-сдаточный акт, в котором указываются наименьшие ширина и глубина участка, объем выполненных работ. К акту должны прилагаться план промера с глубинами до и после черпания, с изобатой проектной глубины и границами проектной выемки и ведомость подсчета объема выполненных дноуглубительных работ.

7. ОБРАБОТКА МАТЕРИАЛОВ ПРОМЕРА

7.1. Общие требования

7.1.1. Целью обработки материалов промера является составление планов промера, используемых для дноуглубления и обеспечения безопасности судоходства на каналах, фарватерах и портовых акваториях.

7.1.2. Обработка материалов промера должна включать следующие работы:

вычисление координат пунктов планового обеспечения промера;

вычисление отметки нуля водомерной рейки уровенного поста;

подготовку отчетных планшетов;

исправление измеренных глубин;

исправление взятых при промере углов;

исправление измеренных расстояний;

разбивку промерных точек на эхограмме и планшете;

снятие и выписку глубин с эхограммы;

составление планов промера.

Указанные работы выполняются полностью или частично в зависимости от содержания работы по промеру объекта.

7.1.3. Обработка материалов промера должна начинаться с проверки правильности заполнения рабочих журналов, эхограмм и лент самописцев РНС. Неполные и неясные записи и замеченные отступления от правил ведения данной документации должны заноситься в перечень замечаний для выяснения истинных величин в ходе дальнейшей обработки.

7.1.4. Обработка материалов промера должна проводиться с систематическим и надежным контролем на всех ее этапах.

Переход к каждому последующему этапу обработки должен осуществляться только после тщательной проверки правильности выполнения предшествующей операции. Все проверки должны производиться другими лицами и независимо от первого исполнителя.

7.1.5. Вычислительные и графические работы должны выполняться в две руки. Если работы, выполненные в процессе промера (прокладка галсов, определение места измерения глубин и др.) проводились с контролем, т.е. могут быть приняты как материалы второй руки, то окончательную обработку материалов этих работ выполняют в одну руку.

7.1.6. Выписки исходных данных (координаты опорных пунктов, высотные отметки и др.) должны контролироваться второй рукой и использоваться только по письменному разрешению руководителя обработки промера. Все вычисления должны выполняться на специальных бланках или на вычислительной бумаге чернилами и сразу набело.

7.1.7. При считке (сверке) результатов вычислений расхождения на одну единицу последнего знака должны исправляться в вычислениях второй руки.

При больших расхождениях для обнаружения ошибки должна производиться сверка промежуточных расчетов.

7.2. Вычисление координат пунктов рабочего обоснования

7.2.1. Вычисление координат пунктов рабочего обоснования должно выполняться в следующей последовательности:

предварительные вычисления, включающие проверку журналов измерения длин линий, горизонтальных направлений (углов), вертикальных углов, центровочных листов, выписку из журналов измеренных направлений и элементов приведений в специальные ведомости, составление схемы измеренных направлений, вычисление поправок в направления за центровку и редукцию, вычисление значений проведенных направлений, вычисление поправок и вывод окончательных длин измеренных линий;

уравнительные вычисления;

вычисление координат пунктов рабочего обоснования.

7.2.2. Журналы и центровочные листы при окончательной обработке должны проверяться полностью, если не производилась проверка во вторую руку в поле, или выборочно в количестве не менее 10 % при проведении проверки в поле.

В журналах угловых измерений должны проверяться полевые записи отсчетов по горизонтальному и вертикальному кругам теодолитов, все вычисления, включая выводы средних значений углов по приемам.

В центровочных листах должны проверяться полнота данных для определения элементов центровки и редукции, правильность измерения и выписки линейных и угловых элементов приведения, соответствие между измеренным и определенным графически контрольными углами, правильность названий направлений, к которым относятся элементы приведений.

Все обнаруженные ошибки должны исправляться красными чернилами, и около каждого исправления проверяющее документ лицо должно ставить свою подпись и дату. Кроме того, на специально отведенном месте проверяемого документа должна делаться отметка о проверке с отчетливой подписью проверявшего лица.

7.2.3. Поправки в измеренные направления за центровку l" и редукцию r" должны рассчитываться по формулам

l" = P/D;                                                                (50)

r" = P1/D                                                                   (51)

где                            D  - расстояние между пунктами, км;

- выбирают по таблицам приложения 2 по аргументам l, θ и М;

l и l1  - линейные элементы центровки и редукции, м;

θ и θ1 - угловые элементы центровки и редукции (измеряются от направления на центр знака до начального направления по часовой стрелке), град;

М   - измеряемое направление, град.

Знаки поправок l" и r" определяют знаками величин sin(M + θ) или sin(M + θ1). Вычисление поправок должно производиться в табличной форме в соответствии с табл. 19.

Таблица 19

Расчет поправок за центровку и редукцию

Элементы приведения, название пунктов и направлений

D1, км

М

M + θ

l"

M + θ1

r"

Бугово, веха

l = 0,04 м; l1 = 0,06 м

θ = 203°; θ1 = 28°30'

 

 

 

 

 

 

Дубки, сигнал

3,89

0°00'

203°30

-1"

28°30'

+2"

Морская пирамида

l = 0,04 м; l2 = 0,05 м

θ = 203°30'; θ2 = 30°40'

4,89

265°57'

109°27

+2"

294°27'

-2"

Поправки за центровку и редукцию могут не учитываться, если отношение линейных элементов приведения к наиболее короткой стороне для аналитических сетей рабочего обоснования менее 1:50000, для съемочных сетей рабочего обоснования - менее 1:10000.

7.2.4. Поправка δ" за приведение измеренных направлений на плоскость проекции Гаусса должна вводиться только для аналитических сетей, если величина поправки равна или более 1".

7.2.5. Для исправления измеренных направлений поправками за приведение к центрам и к плоскости для каждого направления должны вычисляться разность между суммой поправок (l" + r" + δ") этого направления и суммой поправок начального направления (l0" + r0" + δ0"), которой исправляются измеренные направления.

Вычисления должны выполняться в табличной форме в соответствии с табл. 20 с точностью до 0",1.

Таблица 20

Исправление измеренных направлений

Название направлений

Измеренные направления

l"

r"

δ"

l" + r" + δ"

(l" + r" + δ") - (l0" + r0" + δ0")

Приведенные направления

Бугово, веха

 

 

 

 

 

 

 

Дубки, сигнал

0°00'

-1,0

+2,0

-1,0

0,0

0,00

0°00'00"

Морская пирамида

265°57'

+2,0

-2,0

-1,0

-1,0

-1,0

265°56'59"

Примечание. В графу «r"» вписываются поправки за редукцию, вычисленные для тех пунктов, на которые измеряются направления.

7.2.6. В журналах измерения длин линий должны проверяться выводы средних значений измеренных длин и производиться вычисления поправок и окончательной длины линии по формуле

S = Dср + δi + δa + δt + δH + δL + δе + δг,                               (52)

где Dср  - средняя длина измеренной наклонной линии, м;

δi  - постоянная поправка дальномера, м;

δa  - поправка за приведение наклонной линии к горизонту, м;

δt  - поправка за температуру, м;

δH - поправка за приведение длины линии к уровню моря;

δL  - поправка за приведение длины линии на плоскость проекции Гаусса;

δе и δг - поправки за центровку и редукцию для точек стояния дальномеров (измеряются на установочном листе).

7.2.7. Уравнивание цепи треугольников, проложенной между двумя исходными сторонами, должно выполняться в следующем порядке:

вычисляется невязка fi за условие фигур для каждого треугольника по формуле

fi = ai + bi + ci - 180°,                                                       (53)

где ai, bi, ci - измеренные углы в треугольнике, град;

вычисляются первичные поправки ci за условие дирекционных углов для промежуточных углов по формулам:

cni = -ω/n,                                                                     (54)

cnpi = ω/n,                                                                      (55)

где cni и cnpi  - первичные поправки для промежуточных углов;

n   - число промежуточных углов;

ω = (Σcл - Σcпр) - (Tn - T0) ± 180;

cл    - промежуточный угол слева от ходовой линии;

cпр  - промежуточный угол справа от ходовой линии;

T0     - дирекционный угол начальной исходной стороны;

Tn   - дирекционный угол конечной исходной стороны;

вычисляются первичные поправки (ai) и (bi) для связующих углов по формуле

(ai) = (bi) = -((fi) + (ci))/2,                                                 (56)

которыми исправляются измеренные углы;

вычисляются вторичные поправки (a"i) и (b"i) за условия сторон для исправленных связующих углов по формулам:

                                                              (57)

                                                             (58)

где

ωS = (lgS0 + Σlg sina) - (lgSn + Σlg sinb);                               (59)

S0 и Sn   - длина начальной и конечной исходной стороны, м;

1"  - изменение логарифма синуса угла при увеличении его на 1", выраженное в единицах последнего знака мантиссы логарифма;

a, b  - связующие углы, град.

Элементы fi и ci, входящие в формулу (56), вычисляются по формулам (53), (54) и (55).

Вторичные поправки вводят в исправленные связующие углы и получают уравненные углы.

7.2.7.1. Значения свободных членов условий дирекционных углов ω и сторон ωS не должны превышать:

                                                      (60)

где n - число углов в передаче дирекционного угла;

mA - средняя квадратичная погрешность исходного азимута,

                                                                 (61)

или при решении треугольников логарифмами -

                                                                (62)

где Sn     - длина конечной стороны, м;

N - число треугольников в ряду.

7.2.7.2. Все вычисления должны выполняться и табличной форме в соответствии с приложением 3.

7.2.8. Уравнивание цепи треугольников, проложенной между исходной стороной и пунктом, должно выполняться так же, как в п. 7.2.7, за исключением вычисления вторичных поправок за условие сторон, которые в данном случае не возникают.

7.2.9. Уравнивание цепи треугольников, проложенной между двумя исходными пунктами, должно выполняться в следующем порядке:

вычисляются первичные поправки (см. п. 7.2.7) и ими исправляются измеренные углы;

решаются треугольники, где в качестве исходной используется измеренная контрольная сторона, и вычисляются предварительные координаты пунктов ряда;

вычисляются расстояния и дирекционный угол между начальным и конечным исходным пунктами по исходным и вычисленным координатам. Относительная невязка расстояния должна быть не более 1:2000. Расхождение дирекционного угла не должно превышать значения ω по подпункту 7.2.7.1;

производится уравнивание предварительных координат.

7.2.10. Уравнивание треугольников, заполняющих угол между двумя исходными сторонами, и уравнивание центральной системы должно производиться в следующем порядке:

вычисляются первичные поправки за условия фигур и дирекционных углов (для центральной системы только за условие фигур) и ими исправляются измеренные углы;

вычисляются вторичные поправки за условия сторон (для центральной системы - за условие полюса) и ими исправляются исправленные углы.

7.2.10.1. Все уравнительные вычисления должны выполняться в табличной форме в соответствии с приложениями 4 и 5.

7.2.11. Вычисление полигонометрических и теодолитных ходов должно выполняться в следующей последовательности:

производится уравнивание дирекционных углов, для чего определяется угловая невязка хода по формуле

ωβ = [T0 + Σβ - 180°(n - 1)] - Tn,                                         (63)

где ωβ - угловая невязка хода, град;

T0  - дирекционный угол исходной стороны в начале хода, град;

Σβ - сумма измеренных углов хода, в том числе и примычных, град;

n   - число измеренных углов хода, в том числе и примычных, град;

Tn - дирекционный угол исходной стороны в конце хода, град.

Полученная невязка ωβ не должна превышать для полигонометрических ходов (аналитические сети)

ωβ ≤ 30·15,                                                       (64)

для теодолитных ходов (съемочные сети) -

ωβ ≤ 1' ,                                                             (65)

где ωβ вводится с обратным знаком поровну во все измеренные углы, а при малой величине угловой невязки она распределяется по углам с более короткими длинами;

по уравненным углам и окончательным длинам сторон, рассчитанным согласно п. 7.2.6, вычисляются приращения координат по формулам:

∆X = ScosT;                                                            (66)

Y = SsinT,                                                                 (67)

где S  - длина линии, м;

T - дирекционный угол линии;

подсчитывается невязка координат ωX и ωY как разность между суммами вычисленных приращений и разностями соответствующих координат конечного и начального исходных пунктов;

невязка координат распределяется с обратным знаком на все приращения пропорционально длинам линий;

координаты точек хода вычисляют путем последовательного прибавления исправленных приращений координат к значениям координат предыдущих точек.

7.2.11.1. Все вычисления должны выполняться в табличной форме (приложение 6). Для оценки точности хода должна вычисляться относительная линейная невязка по формуле

которая не должна превышать 1:700.

7.2.12. Координаты пунктов аналитических сетей, определенных способом триангуляции, должны вычисляться в следующей последовательности:

по уравненным углам вычисляют координаты пунктов по формуле

                                              (68)

                                                       (69)

где      X3 и Y3  - координаты определяемого пункта, м;

X1, X2 и Y1, Y2   - координаты исходных пунктов, м;

α - угол треугольника при первом исходном пункте;

β - угол треугольника при втором исходном пункте;

определяется невязка в координатах ωX и ωY по ходовой линии:

ωX = Xвыч - Xтв;                                                        (70)

ωY = Yвыч - Yтв,                                                         (71)

где Xвыч и Yвыч   - вычисленные координаты исходных пунктов, м;

Xтв и Yтв    - фактические координаты этих же исходных пунктов, м.

Невязки координат для цепи треугольников, проложенной между двумя твердыми сторонами или стороной и пунктом, не должны превышать

ωX = ωY ≤ ±0,35N,                                                           (72)

где N - число треугольников в ряду;

вычисляют поправки координат по формулам:

δXi = -ωXi/n;                                                                (73)

δYi = ωYi/n,                                                                                                              (74)

где i  - номер пункта;

n - число пунктов.

Найденные поправки алгебраически складываются с вычисленными координатами пунктов.

7.2.12.1. Вычисление координат пунктов, определенных способом триангуляции, должно производиться в табличной форме в соответствии с приложением 7.

7.2.13. Координаты пунктов, определяемые методами засечек, должны вычисляться по уравненным координатам исходных пунктов не менее чем из двух их комбинаций.

Расхождение ωS для пунктов аналитических сетей не должно превышать

                                                    (75)

где ωX и ωY - разности координат пункта, полученные из вычислений по различным комбинациям исходных пунктов. За окончательное значение координат пункта должно приниматься среднее из полученных значений.

Дли пунктов съемочных сетей расхождение ωS не должно превышать 0,2 мм в масштабе отчетного планшета.

7.2.13.1. Вычисление координат пунктов, определенных засечками, должно выполняться в табличной форме в соответствии с приложениями 8 и 9.

7.3. Обработка материалов радиоизмерений

7.3.1. Обработка материалов радиоизмерений должна включать:

проверку лент самописцев и сличение отсчетов, снятых с лент, с отсчетами, произведенными по цифровым счетчикам;

проверку обработки привязок или контрольных определений;

вычисление поправок и исправление ими измеренных расстояний (разностей расстояний);

проверку материалов вычислений координат наземных антенн, точек привязки и исходных расстояний (разностей расстояний);

вычисление и проверку невязок галсов;

оценку точности радионавигационных определений.

7.3.2. Проверка лент самописца должна включать:

подсчет числа фазовых циклов между смежными определениями и сличение полученных данных с записями в журнале;

просмотр качеств записи на ленте и проверку правильности восстановления пропущенных или искаженных фазовых циклов.

7.3.3. Вычисление поправок и исправление ими измеренных расстояний (разностей расстояний) должно производиться согласно требованиям действующих руководств по использованию применяемых радионавигационных систем.

7.3.4. Невязка галсов должна определяться путем сравнения суммы приращений фазовых циклов от исходной точки привязки по всему галсу с приращением фазовых циклов, определяющих расстояние между исходной и конечной точками на данном галсе.

Допустимые повязки определяются по формулам: для гиперболических систем -

                                                 (76)

для стадиометрических систем -

                                            (77)

где mrан и mrак (mRан и mRак) - средние квадратичные погрешности исходных (начальной и конечной) разностей расстояний (расстояний);

mrн и mrк (mRн и mRк) - средние квадратичные погрешности измерения системой разностей расстояний (расстояний) в начальной и конечной точках привязки без учета погрешностей исходных разностей расстояний (расстояний).

Если невязки превышают допустимые, то следует проверить подсчет числа фазовых циклов по соответствующему каналу и правильность вычисления исходных разностей расстояний (расстояний).

Оставшаяся после всех исправлений невязка должна распределяться пропорционально времени плавания.

При проведении промера с использованием фазовых систем, не требующих привязки, во избежание грубых промахов при разрешении неоднозначности необходимо эпизодически, если это возможно, производить контрольные определения места независимыми способами.

При этом предельные погрешности контрольных определений места не должны превышать 0,5 ширины дорожки грубой сетки (предназначенной для решения неоднозначности) в районе определения места, выраженной в линейной мере.

7.3.5. Оценка точности радионавигационных определений должна производиться по формуле

                                                    (78)

где          θ - угол пересечения линий положения;

h1 иh2  - смещения линий положения, соответствующие погрешностям измеренных разностей расстояний (расстояний).

Для гиперболических систем:

                                                   (79)

                                                  (80)

θ = (ω1 +ω2)/2;                                                     (81)

для стадиометрических систем:

h1 = ±mR1;                                                          (82)

h2 = ±mR2;                                                          (83)

θ = ω                                                               (84)

где mr1 и mr2 (mR1 и mR2)    - средине квадратичные, погрешности измерения разностей расстояний (расстояний), рассчитанные согласно действующим руководствам по использованию радионавигационных систем;

ω  - угол при определенной точке между направлениями на наземные станции.

Полученные погрешности не должны превышать 1,5 мм в масштабе отчетного планшета.

7.4. Исправление измеренных глубин

7.4.1. Все измеренные глубины должны исправляться общей поправкой, рассчитанной по формуле

H = ∆Hл + ∆Hf,                                                           (85)

где H  - общая поправка, м;

Hл  - суммарная поправка эхолота (ручного лота или наметки), м;

Hf   - поправка за уровень, м.

Поправка не учитывается, если ее величина менее половины точности измерения глубины.

7.4.2. Все вычисления поправок и исправления измеренных глубин до переноса глубин на план или планшет должны быть проверены во вторую руку.

7.4.3. Частные поправки лотов при выводе общей поправки должны вычисляться и учитываться с точностью до 0,01 м. При нанесении на планы промера или отчетные планшеты исправленных глубин с эхограмм или журналов промера они должны округляться для диапазона глубин менее 10 м до 0,05 м, более 10 м - до 0,1 м.

7.4.4. Поправка за уровень ∆Hf служит для приведения измеренных глубин к нулю глубин порта и должна рассчитываться по формуле

Hf = A - f,                                                                     (86)

где A   - отсчет, соответствующий установленному нулю глубин по рейке уровненного поста, действующего в данном районе;

f  - отсчет мгновенного уровня по той же рейке в момент измерения глубины.

7.4.5. Величины поправок за уровень должны сниматься с предварительно вычерченных на миллиметровой бумаге графиков по точкам наблюдений через промежутки времени, соответствующие изменению поправок на величину, равную половине точности округления глубин.

Кривая уровня должна строиться на основании непосредственных наблюдений. Применение расчетных величин изменения уровня не допускается.

Переход от одной поправки к другой должен осуществляться так, чтобы ошибка в ней не превышала половины принятого интервала. Выбранные, поправки за уровень должны записываться на эхограммах, и журналах промера или сводиться в таблицу, составленную по форме табл. 21.

Таблица 21

Поправка за уровень

Поправка, м

Время начала действия поправки

0,6

8 ч 25 мин

0,8

8 ч 34 мин

1,0

8 ч 42 мин

0,8

8 ч 52 мин

0,6

9 ч 02 мин

7.4.6. При выполнении промера в районах, расположенных между двумя уровенными постами, когда фактическая разность поправок превышает точность измерения глубин, поправка должна рассчитываться по формуле

Hf = Hf1 + (Hf2 - Hf1)D/(D1 + D2),                                         (87)

где ∆Hf1 и ∆Hf2  - поправки за уровень на постах 1 и 2, м;

D1 и D2 - расстояние от места промера до постов 1 и 2, км.

7.4.7. При промере на морях с приливами в районах, где зоны действия уровенных постов взаимно перекрываются, поправки за уровень должны вычисляться для каждого отдельного участка промера по своему посту.

7.4.8. В районах промера, где из-за резкого изменения характера прилива зоны действия уровенных постов взаимного перекрытия не имеют, поправки за уровень должны вычисляться по зонам, число которых не должно быть более десяти.

7.4.8.1. Количество зон должно рассчитываться по формуле

K = 2∆h/δн,                                                               (88)

где h  - средняя величина из максимальных разностей высот уровня над нулями глубин в пунктах A и В, м;

δн  - точность измерения глубин, м.

7.4.8.2. Величина h должна определяться на основании анализа совмещенного по нулям глубин графика колебаний уровня моря на уровенных постах A и В (черт. 27).

7.4.8.3. Разбивка зон должна производиться таким образом, чтобы через уровенные посты A и В проходили середины соответствующих зон (черт. 28).

Черт. 27. Совмещенный график колебаний уровня моря на уровенных постах A и B:

1 - средний уровень поста A; 2 - средний уровень поста В; 3 - нуль глубин; hB - hA высоты мгновенного уровня моря над нулем глубин, м

Черт. 28. Разбивка зон:

0, 1, 2, …, 4 - номера зон; A и B - уровенные посты

Черт. 29. График поправки за уровень i-й зоны

7.4.8.4. Поправка глубин для любой зоны должна рассчитываться по формуле

Hf = HA + (HA - HB)i/K,                                               (89)

где ∆Hf   - поправка глубин за уровень в момент t, м;

HA - поправка за уровень на посту A в момент t, м;

HB - поправка за уровень на посту В в момент t, м;

i  - номер зоны;

K      - число зон между пунктами A и B.

7.4.8.5. Для каждой зоны должен строиться график (черт. 29) поправок за изменение уровня по данным, полученным из непосредственных наблюдений за уровнем на каждый момент наблюдений. Снятие поправок с этого графика выполняется в соответствии с требованиями п. 7.4.5.

7.4.8.6. При промере на морях без приливов, если максимальная разность превышений мгновенного уровня над нулем глубин на смежных уровенных постах превышает точность измерения глубин δн, то поправка за уровень должна рассчитываться по зонам согласно требованиям подпункта 7.4.8.4. Количество зон должно рассчитываться по формуле

K = 2hmax/δн                                                         (90)

где hmax - максимальная разность превышений мгновенного уровня между постами A и В, м.

Разбивка зон должна производиться согласно требованиям подпункта 7.4.8.3.

7.4.9. Расчет общей поправки эхолота должен производиться согласно требованиям пп. 5.2.4 и 5.2.6 и подпунктов 5.2.5.4, 5.2.5.5, 5.2.7.1.

7.5. Прокладка точек определения места измерения глубин

7.5.1. Прокладка на планшет точек определений на галсах должна производиться любым графическим способом, обеспечивающим их нанесение с погрешностью не более 1,5 мм.

7.5.2. Перед прокладкой измеренные углы должны исправляться поправками за центровку и редукцию при измерении теодолитом или поправкой индекса при измерении секстанами.

Измеренные радиорасстояния (разности расстояний) должны исправляться поправками, предусмотренными инструкциями по использованию соответствующих радионавигационных систем.

Исправление измеренных углов не производится, если линейное смещение точки определения из-за неучета поправки не будет превышать 1 мм в масштабе планшета.

7.5.3. Прокладка на планшет точек определения должна производиться по сеткам (гониометрическим, стадиометрическим, гиперболическим, сетке лучей) с помощью интерполяционной палетки. Прокладка точек должна производиться на рубашку планшета, и после проверки во вторую руку точки перекалываются на планшет.

Изготовление палетки и способ пользования изложены в приложении 10.

7.5.4. Прокладка точек определений на планшет по координатам, вычисленным на электронных вычислительных машинах, должна производиться с помощью координатографа.

7.5.5. Прокладка точек определений с помощью протрактора допускается в том случае, когда построение сеток нецелесообразно из-за большого количества используемых комбинаций опорных пунктов и относительно малого числа определений по каждой комбинации.

Перед началом работы протрактор должен проверяться. Если инструментальные погрешности его будут более 0,5 мм в двойном прогибе срезов линеек или имеется несовпадение продолжения срезов линеек с отверстием в центре протрактора, а также если совместная погрешность от мертвого хода и гнутия линеек будет более 3 мм, то таким протрактором работать запрещается.

7.5.6. Прокладка линий ведущих и секущих створов на планшет должна производиться по координатам створных знаков или по отрезкам, отсекаемым этими линиями на рамках планшета.

7.6. Разбивка промерных точек на эхограмме и планшете

7.6.1. Расстояния между точками измерения глубин, наносимыми на планшет или план промера, должны устанавливаться в зависимости от заданной подробности промера.

7.6.2. При определении координат точек глубин способами угловых засечек разбивка точек на планшете и эхограмме должна производиться следующим способом:

на планшете после нанесения всех галсов и точек определения на них от первой точки определения места на данном галсе производится разбивка линии галса на отрезки длиной, равной заданному интервалу нанесения глубин на планшет или план промеров в масштабе планшета (плана);

соответственно произведенной разбивке промерных точек на планшете производится разбивка точек на эхограмме, при этом должны выполняться требования:

начало разбивки промерных точек на эхограмме должно начинаться с той же точки определения, что и на планшете;

число делений между смежными точками на эхограмме должно соответствовать числу делений между этими же точками на планшете;

разбивка промерных точек на планшете и эхограмме должна осуществляться с помощью палеток (см. приложение 10).

7.6.3. При определении координат точек глубин по секущим створам разбивка промерных точек на планшете должна производиться на каждом профиле от линии секущего створа.

Разбивка на эхограмме производится согласно разбивке на планшете от отметки того секущего створа, от которого произведена разбивка точек на планшете.

7.6.3.1. При отсутствии планшета разбивка промерных точек должна производиться на эхограмме на каждом профиле от отметок, сделанных в момент пересечения секущих створов. Расчетной величиной для разбивки служит расстояние между секущими створами с учетом равномерной скорости перемещения промерного судна на профиле.

7.6.3.2. Расстояние между секущими створами измеряется на местности и принимается постоянным для всех профилей при параллельности створов.

Если створы не параллельны, расстояние между секущими створами должно рассчитываться для каждого профиля по формуле

Li = ±2l∆L/D,                                                                (91)

где Li  - расстояние между секущими створами на i-м профиле, м;

L1  - расстояние между секущими створами на первом профиле, м;

L  - разность расстояний между секущими створами на iи первом профиле;

l    - расстояние от первого до i-го профиля, м;

D  - расстояние между первым и i-м профилями, м.

Примечание. Знак «+» перед членом 2lL/D необходимо брать при расходящихся створах, а знак «-» при сходящихся.

7.6.4. При промере с буксируемым мерным тросом разбивка промерных точек на эхограмме должна производиться от отметок на эхограмме, сделанных в момент пересечения ведущего створа промерным ботом и буксируемым буйком. Расчетным расстоянием между отметками должна служить исправленная за дрейф буйка длина буксируемого мерного троса, которая рассчитывается по формуле

Lp = Lб.тcosα,                                                                        (92)

где Lp    - расчетное расстояние между засечками, м;

Lб.т     - длина буксируемого троса, измеряемая от центра вибраторов эхолота до центра буксируемого буйка, м;

α        - угол дрейфа буксируемого буйка, рад.

7.7. Снятие глубин с эхограммы

7.7.1. Перед снятием глубин на эхограмме должны быть выполнены следующие работы:

рассчитана общая поправка исправления глубин;

произведено дешифрирование записи дна;

произведена разбивка точек на эхограмме.

7.7.2. Эхограмма выполненного промера должна разбиваться на участки с равными общими поправками. На этих участках карандашом должна быть нанесена линия нуля глубин.

7.7.3. Снятие глубин должно производиться с помощью угольника, двигающегося по линейке, установленной параллельно линии нуля глубин.

Черт. 30. Выписывание глубин на эхограмму:

1 - лента с эхограммой; 2 - угольник; 3 - линейка; 4 - линия нуля глубин; 5 - точки разбивки; 6 - линия нуля эхограммы; 7 - выписанные глубины; 8 - дешифрованная линия дна

Угольник вместе с линейкой должны устанавливаться так, чтобы нуль шкалы угольника совпадал с линией нуля глубин. Полученный отсчет глубины в сантиметрах с округлением последней цифры кратно пяти должен выписываться чернилами на кромку эхограммы против точки деления (черт. 30).

7.8. Составление промерных планов и чертежей

7.8.1. Все виды промера должны оформляться в виде плана промера объекта и чертежей продольных и поперечных профилей.

7.8.2. Планы промера должны составляться на каждый объект (канал, фарватер, акваторию порта и т.п.) или на отдельный участок объекта.

Масштаб плана должен выбираться в зависимости от размеров объекта и подробности промера в соответствии с п. 1.5.7.

7.8.3. Планы промера всех объектов должны оформляться либо на планшетах с жесткой основой, либо на миллиметровой бумаге, с которых впоследствии снимаются кальки для размножения рабочих экземпляров.

7.8.3.1. Планы на планшетах с жесткой основой оформляются в тех случаях, когда координаты точек глубин определяются способами угловых или линейных засечек, на миллиметровой бумаге - когда координаты определяются при промере по секущим створам, с буксируемым мерным тросом, по промерному тросу.

7.8.3.2. Рамки планшета должны ориентироваться относительно истинного меридиана.

7.8.3.3. План промера должен обеспечиваться ситуационным планом, ориентированным по истинному меридиану, и содержать следующие подробности:

контуры береговой линии и гидротехнических сооружений, выкопированные с картографических материалов или нанесенные по материалам съемок;

опорные пункты и навигационные знаки, входящие в систему привязки промера;

надписи названий гаваней, молов, пирсов, номера причалов и другие наименования объектов, способствующие распознаванию объекта промера.

7.8.4. План промера должен оформляться следующим способом:

заголовок плана - посередине верхней части плана;

масштаб числовой - под названием плана;

стрелка направления истинного меридиана - на свободном месте;

ситуационный план - на свободном поле плана;

примечания, содержащие сведения о привязочном уровне и дату производства промера, - в левом нижнем углу;

проектные границы выемки - пунктирной линией;

ось створа - штрихпунктирной линией;

все изобаты - тонкой линией через 1,0 м на каналах и акваториях, через 0,5 м в прикордонной полосе, изобаты проектной глубины - жирной линией;

подписи - в правом нижнем углу.

7.8.5. Место измеренной глубины на плане должно обозначаться точкой. Значение глубины в сантиметрах следует записывать справа от точки на расстоянии 1 мм. Высота цифр должна быть равной 2 мм. Цифры записывают перпендикулярно направлению промерного профиля.

7.8.6. План приемосдаточного промера должен оформляться на отдельном листе, глубины до черпания должны выписываться на профиле с правой стороны, после черпания - с левой.

7.8.7. План промера канала (фарватера) должен составляться на одном листе независимо от длины канала и числа колен. Канал должен наноситься на план в виде прямолинейной полосы параллельно горизонтальной рамке. С целью компактности изображение канала (фарватера) должно составляться разномасштабно, т.е. план должен быть сжатым в продольном направлении.

Места стыка колен должны обозначаться двойной линией, у каждой из которых наносятся глубины профилей, проходящих через пересечение смежных колен (черт. 31).


Черт. 31.


При необходимости на свободном месте может быть дан план поворота или стыка.

7.8.8. План промера у причалов и гидротехнических сооружений должен составляться на основе прокладки береговой магистрали и съемки сооружений.

Черт. 32. Поперечный профиль по ПК 800

План может быть ориентирован по направлению объекта (причала, мола) с показанием стрелкой направления истинного меридиана. Подробность нанесения промерных профилей и выписка глубин должны соответствовать требованиям подраздела 1.3.

7.8.9. Чертежи продольного и поперечного профилей должны составляться на миллиметровой бумаге. Горизонтальный масштаб должен выбираться с таким расчетом, чтобы глубины выписывались с интервалом 5 мм; вертикальный масштаб - в зависимости от количества точек глубин - должен приниматься 1:50 или 1:100.

На чертеж должна наноситься линия проектной глубины. Профиль дна вычерчивается по глубинам, выписанным в горизонтальной графе под профилем.

При составлении поперечного профиля у причальных сооружений при крутых откосах горизонтальный масштаб допускается увеличивать (черт. 32).

Приложение 1

Обязательное

ОСНОВНЫЕ ЭЛЕМЕНТЫ СУДОВОГО ХОДА И ПОПЕРЕЧНОГО СЕЧЕНИЯ ДНОУГЛУБИТЕЛЬНОЙ ПРОРЕЗИ

1. Элементы судового хода

1.1. За начало канала должна приниматься условная точка, лежащая на траверзе входа в порт или в устье реки (нуль канала).

1.2. Длина морского канала должна измеряться по его оси от начальной точки (нуль канала) до выхода на естественные судоходные глубины (черт. 1).

Черт. 1. Трасса подходного канала:

1 - дамба; 2 - начало канала; 3 - створные знаки колен канала

1.3. Длина речного канала (фарватера) должна измеряться по его оси от начальной точки до порта (см. черт. 1).

За начало речного канала (фарватера) должна приниматься условная точка, лежащая на траверзе входа в устье или в протоку реки со стороны моря.

1.4. Длина морских и речных каналов измеряется в километрах.

2. Элементы поперечного сечения дноуглубительной прорези

2.1. В поперечном сечении канал (дноуглубительная прорезь) имеет следующие основные элементы (черт. 2):

ABCD - прорезь канала;

A и D - бровки прорези;

AB и DC - откосы прорези;

B и C - подошвы откосов;

H - глубина канала;

hпр - глубина прорези;

hбр - глубина забровочная;

B - ширина канала (прорези);

B0 - ширина канала на уровне естественного дна.

2.2. Глубины канала должны измеряться от нуля глубин порта (отсчетного уровня) (см. черт. 2).

Черт. 2. Элементы поперечного сечения канала:

ABCD - прорезь канала; A и D - бровки прорези; AB и CD - откосы прорези; B и C - подошвы откосов; H - глубина канала; B - ширина канала (прорези); B0 - ширина канала на уровне естественного дна; hбр - глубина забровочная; hпр - глубина прорези.

3. Навигационные, проектные и рабочие габариты прорези, расчетные формулы

3.1. Навигационная Hн и гарантированная Hг глубины канала назначаются проектом.

3.2. Проектная глубина канала назначается проектом и должна рассчитываться по формуле

H0 = Hн + Z4,                                                                  (1)

где Hн    - навигационная глубина канала, м;

Z4    - запас на заносимость, м.

3.3. Рабочая глубина канала задается техническим заданием на дноуглубительные работы и должна рассчитываться по формуле

Hр = H0 + ∆Hд,                                                                  (2)

где H0    - проектная глубина канала, м;

Hд   - допустимый перебор по глубине, м.

Рабочая глубина должна приниматься в расчетах планируемых и выполненных объемов дноуглубительных работ.

3.4. Допустимый перебор по глубине Hд устанавливается нормативом для каждого типа земснаряда.

3.5. Проходная глубина Hпр, измеренная от отсчетного уровня и равная наименьшей фактической глубине, обнаруженной на канале, с учетом значимости для безопасного судовождения отдельных осыпок (оплывания) у бровок и причалов должна рассчитываться по формуле

Hпр = Hпр ± ∆H,                                                                  (3)

где Hпр - проходная глубина канала, м;

Hф - фактическая наименьшая глубина на канале, приведенная к нулю глубин порта (отсчетному уровню), м;

H - превышение фактического уровня над нулем глубин порта.

Глубина прорези канала hпр должна рассчитываться по формуле

hпр = Hр - hбр,                                                               (4)

где hпр   - глубина прорези канала, м;

Hр    - рабочая глубина канала, м;

hбр   - забровочная глубина канала, м.

3.7. Забровочная глубина hбр измеряется от нуля глубин порта (отсчетного уровня) до естественного дна за бровками канала.

Черт. 3. Элементы канала:

H0 - проектная глубина канала; Hн - навигационная глубина канала; Hр - рабочая глубина канала, Hф - фактическая глубина канала; B0 - проектная ширина канала; Bг - гарантированная ширина канала; Bн - навигационная ширина канала; Bр - рабочая ширина канала; Bрр - расчетная ширина канала; Hд - допустимый перебор по глубине; Z4 - запас на заносимость по глубине; ∆B/2 - запас на заносимость по ширине канала; ∆Bд - допустимый перебор по ширине канала

3.8. При нанесении глубин на навигационные карты глубины должны приводиться к нулю глубин данного бассейна.

3.9. Превышение нуля данного порта над нулем глубин бассейна должно приниматься по Извещениям мореплавателям.

3.10. Проектная ширина канала B0 устанавливается проектом и измеряется на уровне проектной глубины канала (черт. 3).

Навигационная ширина канала Bн устанавливается проектом и измеряется на уровне навигационной глубины канала.

3.11. Гарантированная ширина канала Bг устанавливается проектом, измеряется по дну на уровне навигационной глубины канала и рассчитывается по формуле

Bг = Bн - ∆В,                                                                            (5)

где Bг  - гарантированная ширина канала, м;

Bн - навигационная ширина канала, м;

B  - запас на заносимость канала по ширине, м.

3.12. Запас на заносимость канала по ширине по каждому откосу B/2 должен рассчитываться по формуле

B/2 = hпр(m1 - m0),                                                                (6)

где B/2  - запас на заносимость одного откоса, м;

hпр  - глубина прорези канала, м;

m1   - заложение откоса канала перед выполнением ремонтного дноуглубления;

m0   - заложение откоса после выполнения дноуглубительных работ.

3.13. Рабочая ширина канала при строительстве назначается проектом, измеряется по дну на уровне проектной глубины канала и рассчитывается по формуле

Bр = Bн + hпрm0,                                                                (7)

где Bр - рабочая ширина канала, м;

Bн   - навигационная ширина канала, м;

hпр  - глубина прорези канала, м;

m0   - заложение откоса канала.

3.14. При ремонтном дноуглублении рабочая ширина канала должна рассчитываться по формуле

Bр = Bн + hсл(m1 - m0),                                                             (8)

где Bр, Bн  - элементы из формулы (7);

hсл  - толщина снимаемого слоя, м;

m1   - заложение откоса канала перед выполнением дноуглубительных работ;

m0   - заложение откоса после дноуглубления.

3.15. Расчетная ширина канала Bрр измеряется по дну канала на уровне проектной глубины канала и рассчитывается по формуле

Bрр = Bр + 2∆Bд,                                                                   (9)

где Bрр  - расчетная ширина канала, м;

Bр   - рабочая ширина канала, м;

Bд  - допустимый перебор по ширине канала на каждую сторону, м.

Приложение 2

Обязательное

ТАБЛИЦА ВЕЛИЧИН Р ДЛЯ ВЫЧИСЛЕНИЯ ПОПРАВОК ЗА ЦЕНТРОВКУ И РЕДУКЦИЮ

P = 206lsin(M + θ).

(Знак поправки положителен при углах M + θ от 0 до 180° и отрицательный при углах M + θ от 180 до 360°)

M + θ

l, м

M + θ

0,10

0,20

0,30

0,40

0,05

0,06

0,07

0,08

0,09

0° 180°

0

0

0

0

0

0

0

0

0

180° 360°

1 181

0

1

1

1

0

0

0

0

0

179 359

2 182

1

1

2

3

0

0

1

1

1

178 358

3 183

1

2

3

4

1

1

1

1

1

177 357

4 184

1

3

4

6

1

1

1

1

1

176 356

5 185

2

4

5

7

1

1

1

1

2

175 355

6 186

2

4

6

9

1

1

2

2

2

174 354

7 187

3

5

8

10

1

2

2

2

2

173 353

8 188

3

6

9

11

1

2

2

2

3

172 352

9 189

3

6

10

13

2

2

2

3

3

171 351

10 190

4

7

11

14

2

2

3

3

3

170 350

11 191

4

8

12

16

2

2

3

3

4

169 349

12 192

4

9

13

17

2

3

3

3

4

168 348

13 193

5

9

14

19

2

3

3

4

4

167 347

14 194

5

10

15

20

2

3

3

4

4

166 346

15 195

5

11

16

21

3

3

4

4

5

165 345

16 196

6

11

17

23

3

3

4

5

5

164 344

17 197

6

12

18

24

3

4

4

5

5

163 343

18 198

6

13

19

25

3

4

4

5

6

162 342

19 199

7

13

20

27

3

4

5

5

6

161 341

20 200

7

14

21

28

4

4

5

6

6

160 340

21 201

7

15

22

30

4

4

5

6

7

159 339

22 202

8

15

23

31

4

5

5

6

7

158 338

23 203

8

16

24

32

4

5

6

6

7

157 337

24 204

8

17

25

34

4

5

6

7

8

156 336

25 205

9

17

26

35

5

5

6

7

8

155 335

26 206

9

18

27

36

5

5

6

7

8

154 334

27 207

9

19

28

37

5

6

7

7

8

153 333

28 208

10

19

29

39

5

6

7

8

9

152 332

29 209

10

20

30

40

5

6

7

8

9

151 331

30 210

10

21

31

41

5

6

7

8

9

150 330

31 211

11

21

32

42

5

6

7

8

10

149 329

32 212

11

22

33

44

5

7

8

9

10

148 328

33 213

11

22

34

45

6

7

8

9

10

147 327

34 214

12

23

35

46

6

7

8

9

10

146 326

35 215

12

24

35

47

6

7

8

9

11

145 325

36 216

12

24

36

48

6

7

8

10

11

144 324

37 217

12

25

37

50

6

7

9

10

11

143 323

38 218

13

25

38

51

6

8

9

10

11

142 322

39 219

13

26

39

52

6

8

9

10

12

141 321

40 220

13

26

40

53

7

8

9

11

12

140 320

41 221

14

27

41

54

7

8

9

11

12

139 319

42 222

14

27

41

55

7

8

10

11

12

138 318

43 223

14

28

42

56

7

8

10

11

13

137 317

44 224

14

29

43

57

7

9

10

11

13

136 316

45 225

15

29

44

58

7

9

10

12

13

135 315

46 226

15

30

44

59

7

9

10

12

13

134 314

47 227

15

30

46

60

8

9

11

12

14

133 313

48 228

15

31

46

61

8

9

11

12

14

132 312

49 229

16

31

47

62

8

9

11

12

14

131 311

50 230

16

32

47

63

8

9

11

13

14

130 310

51 231

16

32

48

64

8

10

11

13

14

129 309

52 232

16

32

49

65

8

10

11

13

15

128 308

53 233

16

33

49

66

8

10

12

13

15

127 307

54 234

17

33

50

67

8

10

12

13

15

126 306

55 235

17

34

51

67

8

10

12

13

15

125 305

56 236

17

34

51

68

9

10

12

14

15

124 304

57 237

17

35

52

69

9

10

12

14

16

123 303

58 238

17

35

52

70

9

10

12

14

16

122 302

59 239

18

36

53

71

9

11

12

14

16

121 301

60 240

18

36

54

71

9

11

12

14

16

120 300

61 241

18

36

54

72

9

11

13

14

16

119 299

62 242

18

36

55

73

9

11

13

15

16

118 298

63 243

18

37

55

73

9

11

13

15

17

117 297

64 244

19

37

56

74

9

11

13

15

17

116 296

65 245

19

37

56

75

9

11

13

15

17

115 295

66 246

19

38

56

75

9

11

13

15

17

114 294

67 247

19

38

57

76

9

11

13

15

17

113 293

68 248

19

38

57

77

10

11

13

15

17

112 292

69 249

19

38

58

77

10

12

13

15

17

111 291

70 250

19

39

58

77

10

12

13

15

17

110 290

71 251

19

39

58

78

10

12

14

16

18

109 289

72 252

20

39

59

78

10

12

14

16

18

108 288

73 253

20

39

59

79

10

12

14

16

18

107 287

74 254

20

40

59

79

10

12

14

16

18

100 286

75 255

20

40

60

80

10

12

14

16

18

105 285

76 256

20

40

60

80

10

12

14

16

18

104 284

77 257

20

40

60

80

10

12

14

16

18

103 283

78 258

20

40

60

81

10

12

14

16

18

102 282

79 259

20

40

61

81

10

12

14

16

18

101 281

80 260

20

41

61

81

10

12

14

16

18

100 280

81 261

20

41

61

81

10

12

14

16

18

99 279

82 262

20

41

61

82

10

12

14

10

18

98 278

83 263

20

41

61

82

10

12

14

16

18

97 277

84 264

20

41

61

82

10

12

14

10

18

96 276

85 265

21

41

62

82

10

12

14

10

18

95 275

86 266

21

41

62

82

10

12

14

16

18

94 274

87 267

21

41

62

82

10

12

14

16

19

93 273

88 268

21

41

62

82

10

12

14

16

19

92 272

89 269

21

41

62

82

10

12

14

16

19

91 271

90 270

21

41

62

82

10

12

14

17

19

90 270

Приложение 3

Рекомендуемое

УРАВНИВАНИЕ ЦЕПИ ТРЕУГОЛЬНИКОВ, ПРОЛОЖЕННОЙ МЕЖДУ ДВУМЯ ИСХОДНЫМИ СТОРОНАМИ

1. Первичные поправки:

Для промежуточных углов

(cлi) = -ω/n;

(cпрi) = ω/n;

где ω = (Σсл - Σспр) - (Tn - T0) ± 180°;

для связующих углов

(ai) = (bi) = -((fi) + (ci))/2;

fi = ai + bi + ci - 180°.

2. Вторичные поправки

где ωS = (lgS0 + Σlg sina) - (lgSn + Σlg sinb).

Расчет элементов уравнивания производится по форме:

Обозначение

угла

Измеренный угол

Первичная поправка

Исправленный угол

Логарифм синуса исправленного угла

∆1"

Вторичная поправка

Уравненный угол

 

 

 

 

 

 

 

 

Приложение 4

Рекомендуемое

УРАВНИВАНИЕ ВСТАВКИ ТРЕУГОЛЬНИКОВ В УГОЛ С ИСХОДНЫМИ СТОРОНАМИ

Формулы:

fi = ai + bi + ci - 180°.

ω = Σ ci - В,

где В - исходный угол.

Первичные поправки:

(ci) = -ω/n;

где n - число промежуточных углов;

(ai) = (bi) = -(fi + (ci))/2;

Вторичные поправки:

Обозначение угла

Название вершины

Измеренный угол

Первичная поправка

Исправленный угол

Логарифм синуса исправленного угла

∆1"

Вторичная поправка

Уравненный угол

b1

Веха 1

 

 

 

 

 

 

 

c1

Сигнал 1

 

 

 

 

 

 

 

a1

Сигнал 2

 

 

 

 

 

 

 

bh

Сигнал 3

 

 

 

 

 

 

 

ch

Сигнал 1

 

 

 

 

 

 

 

ah

Веха 2

 

 

 

 

 

 

 

Приложение 5

Рекомендуемое

УРАВНИВАНИЕ ЦЕНТРАЛЬНОЙ СИСТЕМЫ

Формулы:

fi = ai + bi + ci - 180°.

Первичные поправки:

(ci) = 0;

(ai) = (bi) = -fi/2;

Вторичные поправки:

где ωS = Σlg sina - Σlg sinb.

Обозначение угла

Название вершины

Измеренный угол

Первичная поправка

Исправленный угол

Логарифм синуса исправленного угла

∆1"

Вторичная поправка

Уравненный угол

 

 

 

 

 

 

 

 

 

Σ1"

Σlg sin a

lg sin b)/ωS

Приложение 6

Рекомендуемое

ВЫЧИСЛЕНИЕ ПОЛИГОНОМЕТРИЧЕСКОГО ХОДА

Название пункта

Угол поворота β (левый по ходу)

Дирекционный угол T

cos Т

S, м

sin Т

Приращение координат

Координаты

X

Y

X

Y

 

 

 

 

 

 

 

 

Σβ = ________________

ΣS = ________________

 

Tвыч = _______________

Σ∆X = ______________

Σ∆Y = ______________

Tтв = ________________

Xn - X0 = ____________

Yn - Y0 = ____________

ωβ

ωX

ωY

ωдоп =

Абсолютная невязка хода

Относительная невязка хода ω/ΣS.

Приложение 7

Рекомендуемое

ВЫЧИСЛЕНИЕ КООРДИНАТ ПУНКТОВ ТРИАНГУЛЯЦИОННЫХ СЕТЕЙ

Формулы:

Номер треугольника

Пункты:

1, 2 - исходные,

3 - определяемые

Уравненные углы, α, β

X1

X2

X3

ctgβ

ctgα

ctgα + ctgβ

Y1

Y2

Y3

Xур

Yур

1

1

2

3

 

 

 

 

 

 

2

1

2

3

 

 

 

 

 

 

3

1

2

3

 

 

 

 

 

 

4

1

2

3

 

 

 

 

 

 

5

1

2

3

 

 

 

 

 

 

 

Для хода BlfD:

Для хода AqCD:

ωX = XDвыч - XDтв;

ωX = XCвыч - XCтв;

ωY = YDвыч - YDтв.

ωY = YCвыч - YCтв.

Допустимые ωX = ωY.

Приложение 8

Рекомендуемое

ВЫЧИСЛЕНИЕ ОБРАТНОЙ ЗАСЕЧКИ ПО ДВУМ НЕСМЕЖНЫМ УГЛАМ

Формулы:

XP = XCα + mcosT + ncos(T ± 90°);

YP = YCα + msinT + nsin(T ± 90°).

Контроль:

XA = XA - XP; ∆XB = XB - XP;

YA = YA - YP; ∆YB = YB - YP;

где                     Р   - определяемый пункт;

A и B    - левые исходные пункты;

C и D    - правые исходные пункты;

α и β     - левый и правый измеряемые углы;

XCα, YCα, XCβ, YCβ    - координаты центров окружностей, вмещающих измеренные углы;

T   - дирекционный угол прямой, соединяющей центры вмещающих окружностей;

S     - расстояние между центрами вмещающих окружностей;

rα, rβ  - радиусы вмещающих окружностей.

α

ctg α

β

ctg β

Определяемый пункт Р

XB - XA

YA - YB

XD - XC

YC - YD

 

XA + XB

YA + YB

XC + XD

YC + YD

 

XA

YA

XC

YC

 

XB

YB

XD

YD

 

XCα

YCα

XCβ

YCβ

 

XB - XCα

YB - YCα

XD - XCβ

YD - YCβ

 

XCβ - XCα

YCβ - YCα

tg T

T

 

cosT

sinT

2S

S

 

cos(T ± 90°)

sin(T ± 90°)

 

rα2

m

n

 

XA

YA

Знаменат.

ctgα

 

XB

YB

α

 

XP

YP

 

Приложение 9

Рекомендуемое

ВЫЧИСЛЕНИЕ ОБРАТНОЙ ЗАСЕЧКИ

Формулы:

(BP) = (AB) + α;

(CP) = (AP) + β;

YP = (XP - XA)tg(AP) + YA;

YP = (XP - XC)tg(CP) + YC.

Порядок вычисления

Определяемый пункт

P

Исходные пункты

A

B

C

5

tg(AP), K1, K2

 

 

 

3

AP, α, β

 

 

 

4

ctgβ - ctgα, ctgα, ctgβ

 

 

 

6

(BP), (CP)

 

 

 

8

tg(AP) - tg(BP), tg(BP) - tg(CP)

 

 

 

7

tg(AP), tg(BP), tg(CP)

 

 

 

10

XP - Xi

 

 

 

9

XP

 

 

 

1

Xi

 

 

 

2

Yi

 

 

 

11

YP

 

 

 

12

XP, YP

 

 

 

Приложение 10

Рекомендуемое

ИНТЕРПОЛЯЦИОННАЯ ПАЛЕТКА

Интерполяционная палетка должна представлять собой равнобедренный треугольник с углом при вершине от 20 до 30°, нанесенным на прозрачную основу (черт. 1).

Основание треугольника разбивается на равные части (20 делений). Точки деления основания соединяются тонкими линиями с вершиной треугольника. Средняя и крайние линии слегка утолщаются.

Для отыскания линии положения, проходящей через определяемое место, на планшете в точке В (черт. 2) восстанавливается перпендикуляр, который проводится до пересечения с двумя соседними линиями в точках A и С.

Палетка накладывается на планшет так, чтобы ее средняя линия прошла через точку В, а крайние линии - через точки A и С.

Черт. 1. Интерполяционная палетка

Прокладываемый отсчет интерполируется по лучам палетки и накаливается на перпендикуляре.

Черт. 2. Нахождение положения заданной точки:

1 - изолинии сеток, нанесенных на планшет; 2 - интерполяционная палетка; 3 - перпендикуляр к средней изолинии, проведенный на планшете

Нахождение положения заданной точки на плане с помощью палетки показано на черт. 2.

СОДЕРЖАНИЕ

1. Общие положения. 2

1.1. Задачи промера. 2

1.2. Виды промера, их назначение и сроки проведения. 2

1.3. Подробность промера. 3

1.4. Последовательность проведения промерных работ, плановое и высотное обеспечение промера. 4

1.5. Ведение рабочей документации. 5

2. Плановое обеспечение промера. 6

2.1. Общие требования. 6

2.2. Методы определения пунктов рабочего обоснования промера и требования к их точности. 6

2.3. Разбивка промерных профилей. 8

2.4. Документы для определения планового положения профилей. 10

3. Высотное обеспечение промера. 11

3.1. Общие требования. 11

3.2. Установка постоянного уровенного поста. 12

3.3. Установка временного уровенного поста. 13

3.4. Организация уровенных наблюдений. 13

4. Способы промера и определения координат глубин. 14

4.1. Способы промера и их применение. 14

4.2. Расчет погрешностей определения координат глубин. 17

4.3. Технология проведения промера и определения координат глубин. 18

5. Способы измерения глубин. 24

5.1. Общие требования. 24

5.2. Измерение глубин эхолотом.. 25

5.3. Измерение глубин ручным лотом.. 29

5.4. Измерение глубин наметкой. 30

6. Проведение промерных работ при дноуглублении. 30

6.1. Общие требования. 30

6.2. Разбивка рабочих границ участка дноуглубительных работ. 31

6.3. Промерные работы по подготовке отвалов грунта. 39

6.4. Проведение промера при дноуглублении. 41

7. Обработка материалов промера. 45

7.1. Общие требования. 45

7.2. Вычисление координат пунктов рабочего обоснования. 46

7.3. Обработка материалов радиоизмерений. 50

7.4. Исправление измеренных глубин. 51

7.5. Прокладка точек определения места измерения глубин. 54

7.6. Разбивка промерных точек на эхограмме и планшете. 54

7.7. Снятие глубин с эхограммы.. 55

7.8. Составление промерных планов и чертежей. 56

Приложение 1 Основные элементы судового хода и поперечного сечения дноуглубительной прорези. 58

Приложение 2 Таблица величин Р для вычисления поправок за центровку и редукцию.. 61

Приложение 3 Уравнивание цепи треугольников, проложенной между двумя исходными сторонами. 63

Приложение 4 Уравнивание вставки треугольников в угол с исходными сторонами. 63

Приложение 5 Уравнивание центральной системы.. 64

Приложение 6 Вычисление полигонометрического хода. 65

Приложение 7 Вычисление координат пунктов триангуляционных сетей. 65

Приложение 8 Вычисление обратной засечки по двум несмежным углам.. 66

Приложение 9 Вычисление обратной засечки. 67

Приложение 10 Интерполяционная палетка. 68

 




Rambler's Top100 Яндекс цитирования
  Copyright © 2008-2026, www.docload.ru