|
|
ГОСТ 30780-2002 МЕЖГОСУДАРСТВЕННЫЙ СТАНДАРТ Сосуды и аппараты стальные КОМПЕНСАТОРЫ
СИЛЬФОННЫЕ Методы расчета на прочность МЕЖГОСУДАРСТВЕННЫЙ
СОВЕТ Минск Предисловие 1 РАЗРАБОТАН
Техническим комитетом 260 «Оборудование химическое и
нефтегазоперерабатывающее»» Российской Федерации ВНЕСЕН Госстандартом России 2 ПРИНЯТ
Межгосударственным Советом по стандартизации, метрологии и сертификации
(протокол № 21 от 30 мая 2002 г.) За принятие проголосовали
3 Постановлением
Государственного комитета Российской Федерации по стандартизации и метрологии
от 16 сентября 2002 г. № 332-ст межгосударственный стандарт ГОСТ 30780-2002
введен в действие непосредственно в качестве государственного стандарта
Российской Федерации с 1 июля 2003 г. 4 ВЗАМЕН СТ СЭВ
4351-83 СОДЕРЖАНИЕ
ГОСТ 30780-2002 МЕЖГОСУДАРСТВЕННЫЙ
СТАНДАРТ Сосуды и аппараты стальные КОМПЕНСАТОРЫ СИЛЬФОННЫЕ И
ЛИНЗОВЫЕ Методы расчета на прочность Steel vessels and apparatus. Bellows-type expansion joints. Strength
calculation methods Дата введения 2003-07-01 1
Область применения
Настоящий
стандарт распространяется на однослойные сильфонные и линзовые компенсаторы
(далее - компенсаторы) с параллельными или наклонными (до 8°) пластинчатыми участками волны, которые
используют в сосудах и аппаратах химической, нефтехимической,
нефтегазоперерабатывающей и смежных отраслях промышленности, нагруженные
внутренним или наружным избыточным давлением, а также нагрузкой от осевых
перемещений, и устанавливает методы расчета на прочность, жесткость и
малоцикловую прочность. 2 Нормативные ссылкиВ настоящем
стандарте использованы ссылки на следующие стандарты: ГОСТ
14249-89 Сосуды и аппараты. Нормы и методы расчета на прочность ГОСТ
25859-83 Сосуды и аппараты стальные. Нормы и методы расчета на прочность
при малоцикловых нагрузках 3 ОбозначенияВ настоящем
стандарте применяют следующие обозначения: d - расчетный диаметр впадины волны компенсатора, мм (рисунок 1); h - высота волны компенсатора, мм (рисунок 1); r - радиус тороидального перехода в верхней и нижней части компенсатора,
мм (рисунок 1); s - исполнительная толщина стенки компенсатора, мм (рисунок 1); t - присоединительная длина цилиндрической части компенсатора, мм
(рисунок 2); с - сумма прибавок к
расчетной толщине, мм; [s] - допускаемое напряжение, определяемое по ГОСТ
14249, МПа; Р - внутреннее или внешнее
давление, МПа; sV(P) - максимальное эквивалентное
напряжение при действии внутреннего (наружного) давления, МПа; R(P) - расчетные значения
коэффициентов для определения напряжений при нагружении давлением Р =
0,1 МПа; sV(W) - максимальное
растягивающее (сжимающее) эквивалентное напряжение при осевом перемещении одной
волны компенсатора, МПа; R(W) - расчетные значения
коэффициентов для определения напряжений при нагружении осевым перемещением W =
1,0 мм; Е - модуль упругости при
расчетной температуре, МПа; W - осевое перемещение одной волны компенсатора, мм; sum - средние окружные напряжения, МПа; l - ширина волны компенсатора, мм (рисунки 1, 2); j - коэффициент прочности сварного шва; CW - коэффициент жесткости одной волны компенсатора
при осевом растяжении, Н/мм; R(CW) - расчетные значения
коэффициентов при определении жесткости одной волны компенсатора при
перемещении W = 1,0 мм; sAW - амплитуда максимального
эквивалентного напряжения от перемещения одной волны, МПа; sAP - амплитуда максимального
эквивалентного напряжения от давления, МПа; [s]AW - допускаемая амплитуда
напряжений для числа циклов NW, МПа; [s]AP - допускаемая амплитуда
напряжений для числа циклов NP, МПа; NW - число циклов нагружения осевым перемещением; NP - число циклов нагружения давлением; Кs - эффективный коэффициент
концентрации; r - коэффициент, учитывающий обработку
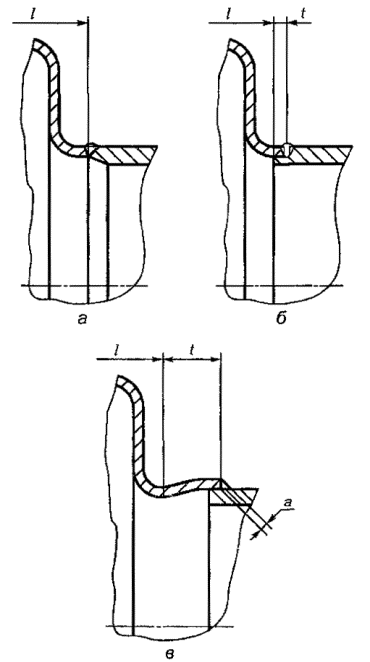
сварного шва; x - коэффициент, учитывающий тип сварного шва; Т - расчетная температура, °С; a - размер углового сварного шва (рисунок 2). 4 Общие положения4.1 Модели
компенсаторов приведены на рисунке 1, виды их присоединения к
стенке сосуда - на рисунке 2. Рисунок 1 - Модели
компенсаторов Рисунок
2 - Виды присоединения компенсаторов к стенке сосуда 4.2 Расчетные
формулы применимы, если выполняются следующие соотношения:
(Поправка, ИУС №
12-2005). 4.3 Общие
требования к расчету - по ГОСТ 14249
(за исключением 1.8.1). 4.4 Расчеты на
прочность компенсаторов действительны только, если прилегающие к компенсатору
элементы удовлетворяют условиям прочности при нагружении давлением. Длина
сопряжения t (рисунок 2) должна отвечать условию
в противном
случае проверяют несущую способность элемента сопряжения Р по формуле
(Поправка, ИУС №
12-2005). 4.5 Расчеты на
прочность действительны при условии полностью проваренных окружных сварных швов
(рисунок 2).
Размер углового сварного шва а (рисунок 2в) должен быть 0,7s. 4.6 Расчетные
формулы, приведенные в разделе 5, применимы при условии, если расчетная
температура не превышает значений, при которых возникает ползучесть материалов,
т.е. при температуре, когда допускаемое напряжение определяется в соответствии
с ГОСТ 14249
только по пределу текучести или временному сопротивлению (пределу прочности). Если нет точных
данных, то формулы применимы при условии, что расчетная температура стенки
компенсатора не превышает, °С: 380 - из
углеродистой стали; 420 - из
низколегированной стали; 525 - из
аустенитной стали. 5 Расчет напряжений в
компенсаторе
5.1 При расчете
напряжений в компенсаторе при действии внутреннего или наружного избыточного
давления в формулы (1) - (6) подставляют толщину стенки
компенсатора с учетом коррозии и технологических прибавок, а при расчете
жесткости компенсатора - толщину стенки компенсатора без учета коррозии и
технологических прибавок. 5.2 Определение
эквивалентных напряжений 5.2.1
Максимальные эквивалентные напряжения в компенсаторе в зависимости от
геометрических параметров возникают в зоне тороидального радиуса на стороне
большего диаметра компенсатора или в зоне тороидального радиуса на стороне
меньшего диаметра компенсатора. 5.2.1.1
Максимальные эквивалентные напряжения при действии внутреннего (наружного)
давления sV(P) определяют по формуле 5.2.1.2
Максимальные эквивалентные напряжения при осевом перемещении одной волны
компенсатора sV(W) рассчитывают по формуле 5.2.2 Средние
окружные напряжения sит рассчитывают по формуле Примечание - Необходимые
для формул (1
- 2)
значения коэффициентов R(P) и R(W) определяют по таблицам приложения А в зависимости от
геометрических параметров d/h, r/h и s/h. Промежуточные значения коэффициентов
определяют линейной интерполяцией. В таблицах А.1 и А.2 приложения А для каждого
значения Коэффициенты R(P)
и R(W) для определения максимальных
эквивалентных напряжений на стороне большего диаметра компенсатора приведены в
таблице А.1. Коэффициенты R(P)
и R(W), применяемые при определении
максимальных эквивалентных напряжений на стороне меньшего диаметра
компенсатора, приведены в таблице А.2. 5.3 Определение
коэффициентов жесткости компенсатора 5.3.1
Коэффициент жесткости одной волны компенсатора при осевом растяжении CW определяют по формуле 5.3.2
Необходимые для формулы (4) значения коэффициентов R(CW)
определяют по таблице А.1 в зависимости от d/h, r/h и s/h.
Промежуточные значения R(CW)
определяют линейной интерполяцией. 5.4 Расчет на прочность при
статическом нагружении внутренним (наружным) давлением При действии
внутреннего (наружного) избыточного давления прочность проверяют по средним
окружным напряжениям, определяемым по формуле (3).
При этом должно выполняться условие
Кроме того,
проверяют прочность по эквивалентным напряжениям от давления по формуле (1). При
этом должно выполняться условие (Поправка, ИУС №
12-2005). 5.5 Расчет компенсатора на
малоцикловую прочность 5.5.1 Если
компенсатор подвергнут циклам перемещений и циклам давления, то должно быть
выполнено условие:
5.5.2 Амплитуду
максимального эквивалентного напряжения от перемещения одной волны sAW рассчитывают по формуле
5.5.3 Амплитуду
максимального эквивалентного напряжения от давления определяют по формуле
5.5.4
Эффективный коэффициент концентрации Кs рассчитывают по формуле
где j - по ГОСТ 14249; r = 1,0 для шлифованной
поверхности сварного шва; r = 1,1 для необработанной поверхности
сварного шва; x = 1,1 для сварного шва по наружному диаметру
компенсатора; x = 1,2 для сварного шва по
внутреннему диаметру компенсатора. 5.5.5
Допускаемые амплитуды напряжений [s]AW (для числа циклов перемещений NW) и [s]AP (для числа циклов давлений NP) определяют по формулам:
при числе циклов не более
0,5×106. Коэффициенты А,
В, nN и ns определяют по ГОСТ
25859. 5.6 Допускается
определять напряжения и жесткость компенсаторов более точными методами
(например методом конечных элементов) или экспериментальными исследованиями. ПРИЛОЖЕНИЕ А
| |||||||||||||||||||||||||||||||||||||||||||||||||||||||||||||||||||||||||||||||||||||||||||||||||||||||||||||||||||||||||||||||||||||||||||||||||||||||||||||||||||||||||||||||||||||||||||||||||||||||||||||||||||||||||||||||||||||||||||||||||||||||||||||||||||||||||||||||||||||||||||||||||||||||||||||||||||||||||||||||||||||||||||||||||||||||||||||||||||||||||||||||||||||||||||||||||||||||||||||||||||||||||||||||||||||||||||||||||||||||||||||||||||||||||||||||||||||||||||||||||||||||||||||||||||||||||||||||||||||||||||||||||||||||||||||||||||||||||||||||||||||||||||||||||||||||||||||||||||||||||||||||||||||||||||||||||||||||||||||||||||||||||||||||||||||||||||||||||||||||||||||||||||||||||||||||||||||||||||||||||||||||||||||||||||||||||||||||||||||||||||||||||||||||||||||||||||||||||||||||||||||||||||||||||||||||||||||||||||||||||||||||||||||||||||||||||||||||||||||||||||||||||||||||||||||||||||||||||||||||||||||||||||||||||||||||||||||||||||||||||||||||||||||||||||||||||||||||||||||||
|
|
r/h |
|||||||||||
|
3,0 |
0,500 |
0,475 |
0,450 |
0,425 |
0,400 |
0,350 |
0,300 |
0,250 |
0,200 |
0,150 |
0,100 |
|
|
s/h |
0,018 |
30,04 |
30,87 |
32,45 |
34,30 |
37,56 |
43,56 |
50,32 |
59,11 |
68,31 |
80,16 |
117,5 |
|
265,8 |
239,9 |
220,7 |
201,3 |
184,4 |
156,7 |
134,9 |
116,6 |
100,3 |
87,62 |
91,60 |
||
|
8,494 |
6,549 |
5,155 |
4,088 |
3,298 |
2,236 |
1,580 |
1,145 |
0,841 |
0,639 |
0,559 |
||
|
0,020 |
26,30 |
26,76 |
28,10 |
29,50 |
32,24 |
37,14 |
42,66 |
49,83 |
57,08 |
67,88 |
97,03 |
|
|
274,9 |
247,1 |
229,1 |
210,3 |
193,8 |
165,9 |
143,2 |
123,7 |
106,4 |
94,03 |
103,8 |
||
|
10,35 |
8,078 |
6,423 |
5,142 |
4,179 |
2,865 |
2,036 |
1,478 |
1,089 |
0,843 |
0,753 |
||
|
0,023 |
21,76 |
22,15 |
23,22 |
24,18 |
26,35 |
30,11 |
34,36 |
39,72 |
44,87 |
55,30 |
74,71 |
|
|
286,2 |
256,4 |
239,8 |
222,1 |
206,0 |
178,0 |
154,1 |
132,9 |
114,7 |
103,5 |
121,7 |
||
|
13,45 |
10,66 |
8,582 |
6,950 |
5,703 |
3,961 |
2,832 |
2,063 |
1,535 |
1,221 |
1,129 |
||
|
0,026 |
18,44 |
18,78 |
19,65 |
20,46 |
22,11 |
25,07 |
28,43 |
32,50 |
36,22 |
45,60 |
59,07 |
|
|
295,3 |
266,4 |
248,8 |
232,1 |
216,4 |
188,1 |
163,2 |
140,9 |
122,5 |
113,5 |
139,2 |
||
|
16,91 |
13,57 |
11,04 |
9,023 |
7,459 |
5,233 |
3,762 |
2,754 |
2,076 |
1,698 |
1,614 |
||
|
0,030 |
15,20 |
15,49 |
16,18 |
16,85 |
18,02 |
20,25 |
22,77 |
25,64 |
28,10 |
35,87 |
44,81 |
|
|
304,3 |
278,3 |
258,6 |
242,9 |
227,7 |
199,3 |
173,2 |
150,1 |
132,3 |
131,1 |
162,2 |
||
|
22,05 |
17,93 |
14,75 |
12,18 |
10,14 |
7,193 |
5,207 |
3,846 |
2,962 |
2,508 |
2,456 |
||
|
0,035 |
12,35 |
12,59 |
13,12 |
13,66 |
14,46 |
16,07 |
17,88 |
19,77 |
21,28 |
27,30 |
33,88 |
|
|
314,1 |
293,2 |
274,1 |
254,8 |
238,6 |
210,1 |
183,3 |
160,1 |
145,0 |
158,6 |
190,4 |
||
|
29,25 |
24,09 |
20,03 |
16,69 |
14,01 |
10,05 |
7,344 |
5,510 |
4,368 |
3,846 |
3,870 |
||
|
0,040 |
10,31 |
10,51 |
10,94 |
11,38 |
11,93 |
13,13 |
14,45 |
15,72 |
16,68 |
21,77 |
26,51 |
|
|
324,2 |
304,4 |
285,8 |
266,9 |
249,1 |
218,3 |
191,6 |
169,4 |
159,1 |
185,4 |
218,2 |
||
|
37,21 |
30,96 |
25,96 |
21,80 |
18,41 |
13,34 |
9,864 |
7,539 |
6,154 |
5,599 |
5,747 |
||
|
0,045 |
08,78 |
08,96 |
09,03 |
09,67 |
10,05 |
10,95 |
11,93 |
12,79 |
14,19 |
17,91 |
21,32 |
|
|
331,6 |
312,9 |
294,8 |
276,2 |
258,6 |
226,5 |
199,7 |
180,6 |
176,9 |
211,7 |
245,7 |
||
|
45,85 |
38,46 |
32,47 |
27,44 |
23,31 |
17,07 |
12,79 |
9,975 |
8,374 |
7,828 |
8,153 |
||
|
0,050 |
07,59 |
07,75 |
08,03 |
08,34 |
08,61 |
09,29 |
10,02 |
10,62 |
12,19 |
14,98 |
17,53 |
|
|
336,9 |
319,2 |
301,7 |
283,5 |
266,2 |
234,6 |
208,8 |
191,8 |
201,8 |
237,4 |
272,8 |
||
|
55,11 |
46,55 |
39,53 |
33,61 |
28,70 |
21,25 |
16,15 |
12,86 |
11,08 |
10,59 |
11,15 |
||
|
0,060 |
05,88 |
06,00 |
06,20 |
06,42 |
06,53 |
06,93 |
07,36 |
07,66 |
09,24 |
10,94 |
|
|
|
343,6 |
327,5 |
311,3 |
294,3 |
278,0 |
248,7 |
226,1 |
216,1 |
250,2 |
287,6 |
|||
|
75,32 |
64,36 |
55,24 |
47,46 |
40,97 |
31,05 |
24,34 |
20,19 |
18,17 |
17,96 |
|||
|
0,070 |
04,71 |
04,81 |
04,95 |
05,10 |
05,17 |
05,39 |
05,63 |
06,16 |
07,24 |
08,35 |
||
|
349,2 |
332,6 |
317,9 |
302,3 |
287,5 |
261,5 |
245,4 |
260,6 |
297,1 |
336,6 |
|||
|
97,70 |
84,32 |
73,06 |
63,42 |
55,33 |
42,98 |
34,77 |
29,91 |
27,87 |
28,19 |
|||
|
0,080 |
03,88 |
03,94 |
04,04 |
04,16 |
04,21 |
04,33 |
04,45 |
05,08 |
05,83 |
|
||
|
358,1 |
341,3 |
325,7 |
310,8 |
297,7 |
277,8 |
271,2 |
304,3 |
342,6 |
||||
|
122,3 |
106,5 |
93,14 |
81,66 |
72,02 |
57,35 |
47,79 |
42,42 |
40,60 |
||||
|
0,090 |
03,27 |
03,31 |
03,37 |
03,46 |
03,49 |
03,55 |
03,79 |
04,27 |
04,80 |
|||
|
366,1 |
350,9 |
337,0 |
323,8 |
312,5 |
296,6 |
311,8 |
346,9 |
387,0 |
||||
|
149,2 |
131,1 |
115,7 |
102,4 |
91,31 |
74,49 |
63,76 |
58,12 |
56,79 |
||||
|
0,100 |
02,81 |
02,84 |
02,86 |
02,93 |
02,95 |
02,99 |
03,29 |
03,64 |
|
|
R(P) |
|
|
373,8 |
360,3 |
348,1 |
336,8 |
327,4 |
321,1 |
351,5 |
388,3 |
R(W) |
||||
|
178,8 |
158,4 |
141,0 |
126,0 |
113,5 |
94,72 |
83,06 |
77,41 |
R(CW) |
||||
Продолжение таблицы А.1
|
d/h |
|
r/h |
||||||||||
|
3,5 |
0,500 |
0,475 |
0,450 |
0,425 |
0,400 |
0,350 |
0,300 |
0,250 |
0,200 |
0,150 |
0,100 |
|
|
s/h |
0,018 |
32,96 |
33,41 |
34,95 |
36,92 |
40,14 |
46,23 |
53,17 |
61,97 |
70,91 |
84,70 |
119,2 |
|
246,2 |
219,0 |
202,3 |
185,8 |
171,2 |
146,5 |
126,3 |
108,8 |
93,29 |
82,57 |
92,30 |
||
|
7,485 |
5,843 |
4,647 |
3,721 |
3,025 |
2,075 |
1,474 |
1,069 |
0,786 |
0,609 |
0,546 |
||
|
0,020 |
28,59 |
28,95 |
30,28 |
31,79 |
34,49 |
39,47 |
45,11 |
52,24 |
59,16 |
72,51 |
97,86 |
|
|
253,8 |
227,0 |
209,4 |
193,6 |
179,3 |
154,5 |
133,4 |
114,8 |
98,72 |
88,83 |
104,0 |
||
|
9,123 |
7,203 |
5,784 |
4,672 |
3,826 |
2,649 |
1,891 |
1,374 |
1,018 |
0,805 |
0,741 |
||
|
0,023 |
23,67 |
23,99 |
25,05 |
26,09 |
28,24 |
32,04 |
36,28 |
41,58 |
46,37 |
58,15 |
74,87 |
|
|
263,2 |
237,4 |
218,4 |
203,5 |
189,7 |
164,6 |
142,4 |
122,6 |
106,3 |
98,55 |
121,2 |
||
|
11,85 |
9,493 |
7,713 |
6,298 |
5,201 |
3,643 |
2,615 |
1,909 |
1,435 |
1,171 |
1,114 |
||
|
0,026 |
20,07 |
20,35 |
21,21 |
22,01 |
23,71 |
26,70 |
30,01 |
33,96 |
37,32 |
47,34 |
58,95 |
|
|
270,3 |
245,6 |
225,8 |
211,7 |
198,2 |
172,9 |
149,8 |
129,3 |
113,6 |
112,0 |
138,1 |
||
|
14,89 |
2,06 |
9,897 |
8,149 |
6,776 |
4,788 |
3,455 |
2,541 |
1,944 |
1,635 |
1,596 |
||
|
0,030 |
16,56 |
16,80 |
17,48 |
18,13 |
19,34 |
21,56 |
24,00 |
26,71 |
28,85 |
36,79 |
45,10 |
|
|
277,1 |
254,3 |
237,2 |
220,3 |
207,1 |
181,7 |
158,0 |
137,4 |
123,1 |
133,6 |
160,3 |
||
|
19,38 |
15,90 |
13,17 |
10,94 |
9,163 |
6,540 |
4,757 |
3,544 |
2,783 |
2,429 |
2,433 |
||
|
0,035 |
13,46 |
13,66 |
14,18 |
14,69 |
15,51 |
17,08 |
18,79 |
20,52 |
21,75 |
27,85 |
33,95 |
|
|
283,4 |
265,8 |
249,2 |
232,3 |
216,6 |
190,0 |
166,2 |
146,5 |
137,1 |
160,0 |
187,6 |
||
|
25,63 |
21,27 |
17,80 |
14,92 |
12,58 |
9,078 |
6,684 |
5,083 |
4,128 |
3,744 |
3,840 |
||
|
0,040 |
11,23 |
11,40 |
11,81 |
12,22 |
12,78 |
13,92 |
15,13 |
16,25 |
17,68 |
22,28 |
26,49 |
|
|
290,6 |
273,9 |
257,9 |
241,3 |
225,7 |
197,3 |
173,7 |
157,1 |
156,4 |
185,7 |
214,6 |
||
|
32,50 |
27,23 |
22,95 |
19,37 |
16,44 |
12,00 |
8,966 |
6,976 |
5,850 |
5,474 |
5,709 |
||
|
0,045 |
09,55 |
09,70 |
10,03 |
10,36 |
10,74 |
11,58 |
12,45 |
13,18 |
14,88 |
18,22 |
21,26 |
|
|
295,4 |
279,7 |
264,2 |
248,1 |
232,8 |
205,0 |
182,5 |
168,1 |
180,8 |
210,9 |
241,3 |
||
|
39,92 |
33,70 |
28,60 |
24,29 |
20,73 |
15,32 |
11,63 |
9,269 |
8,005 |
7,678 |
8,105 |
||
|
0,050 |
08,25 |
08,38 |
08,64 |
08,92 |
09,17 |
09,79 |
10,43 |
10,90 |
12,67 |
15,18 |
17,45 |
|
|
298,7 |
283,8 |
269,0 |
253,5 |
238,6 |
211,9 |
191,1 |
179,2 |
204,7 |
235,7 |
267,8 |
||
|
47,85 |
40,66 |
34,71 |
29,65 |
25,46 |
19,06 |
14,73 |
12,01 |
10,64 |
10,42 |
11,09 |
||
|
0,060 |
06,37 |
06,47 |
06,64 |
06,82 |
06,93 |
07,27 |
07,62 |
08,01 |
09,49 |
11,01 |
|
|
|
302,3 |
289,1 |
275,7 |
261,6 |
248,2 |
224,6 |
208,4 |
220,8 |
251,2 |
284,3 |
|||
|
65,16 |
55,99 |
48,32 |
41,76 |
36,28 |
27,92 |
22,35 |
19,03 |
17,60 |
17,73 |
|||
|
0,070 |
05,08 |
05,16 |
05,27 |
05,40 |
05,44 |
05,62 |
05,81 |
06,41 |
07,38 |
08,37 |
||
|
310,7 |
295,7 |
281,8 |
268,6 |
257,0 |
239,4 |
236,6 |
264,2 |
296,3 |
331,8 |
|||
|
84,40 |
73,27 |
63,88 |
55,84 |
49,09 |
38,86 |
32,19 |
28,44 |
27,15 |
27,89 |
|||
|
0,080 |
04,16 |
04,22 |
04,29 |
04,39 |
04,41 |
04,49 |
04,64 |
05,25 |
05,91 |
|
||
|
318,3 |
304,9 |
292,7 |
281,3 |
271,4 |
257,8 |
276,8 |
306,2 |
340,2 |
||||
|
105,7 |
92,67 |
81,62 |
72,13 |
64,19 |
52,21 |
44,61 |
40,64 |
39,72 |
||||
|
0,090 |
03,50 |
03,52 |
03,57 |
03,64 |
03,65 |
03,68 |
03,95 |
04,38 |
04,85 |
|||
|
330,1 |
316,7 |
305,2 |
295,0 |
288,4 |
290,5 |
316,0 |
347,1 |
383,1 |
||||
|
129,3 |
114,4 |
101,8 |
90,92 |
81,85 |
68,31 |
59,98 |
56,01 |
55,75 |
||||
|
0,100 |
02,99 |
03,01 |
03,02 |
03,07 |
03,08 |
03,15 |
03,41 |
03,72 |
|
|
R(P) |
|
|
344,3 |
333,3 |
324,3 |
316,8 |
312,3 |
326,9 |
354,1 |
387,1 |
R(W) |
||||
|
155,5 |
138,8 |
124,6 |
112,5 |
102,4 |
87,51 |
78,67 |
74,97 |
R(CW) |
||||
Продолжение таблицы А.1
|
d/h |
|
r/h |
||||||||||
|
4,0 |
0,500 |
0,475 |
0,450 |
0,425 |
0,400 |
0,350 |
0,300 |
0,250 |
0,200 |
0,150 |
0,100 |
|
|
s/h |
0,018 |
35,49 |
35,98 |
37,37 |
39,44 |
42,64 |
48,80 |
55,88 |
64,62 |
73,18 |
89,62 |
120,1 |
|
229,0 |
204,8 |
186,7 |
172,6 |
159,8 |
137,5 |
118,6 |
101,8 |
87,41 |
78,71 |
92,47 |
||
|
6,680 |
5,270 |
4,229 |
3,414 |
2,795 |
1,934 |
1,379 |
1,001 |
0,740 |
0,584 |
0,538 |
||
|
0,020 |
30,79 |
31,15 |
32,39 |
33,99 |
36,67 |
41,71 |
47,43 |
54,43 |
60,93 |
75,90 |
98,19 |
|
|
235,4 |
212,0 |
192,8 |
179,3 |
166,8 |
144,3 |
124,6 |
107,0 |
92,44 |
84,92 |
103,8 |
||
|
8,141 |
6,493 |
5,257 |
4,279 |
3,526 |
2,461 |
1,762 |
1,283 |
0,958 |
0,775 |
0,732 |
||
|
0,023 |
25,52 |
25,77 |
26,81 |
27,93 |
30,06 |
33,88 |
38,13 |
43,24 |
47,61 |
60,11 |
74,81 |
|
|
243,0 |
220,9 |
200,9 |
187,7 |
175,5 |
152,7 |
132,1 |
113,7 |
99,64 |
97,99 |
120,4 |
||
|
10,57 |
8,542 |
6,994 |
5,749 |
4,773 |
3,365 |
2,423 |
1,777 |
1,353 |
1,133 |
1,103 |
||
|
0,026 |
21,65 |
21,87 |
22,72 |
23,53 |
25,25 |
28,23 |
31,46 |
35,24 |
38,22 |
48,49 |
58,93 |
|
|
248,5 |
227,2 |
208,2 |
194,3 |
182,4 |
159,5 |
138,3 |
119,7 |
106,7 |
114,0 |
136,9 |
||
|
13,26 |
10,83 |
8,947 |
7,411 |
6,190 |
4,401 |
3,189 |
2,362 |
1,838 |
1,588 |
1,583 |
||
|
0,030 |
17,87 |
18,06 |
18,73 |
19,35 |
20,59 |
22,77 |
25,10 |
27,62 |
29,45 |
37,34 |
45,26 |
|
|
253,5 |
233,4 |
218,3 |
203,1 |
189,3 |
166,5 |
145,0 |
127,0 |
117,3 |
134,9 |
158,5 |
||
|
17,22 |
14,23 |
11,86 |
9,903 |
8,326 |
5,978 |
4,374 |
3,296 |
2,644 |
2,370 |
2,417 |
||
|
0,035 |
14,51 |
14,68 |
15,18 |
15,66 |
16,48 |
18,00 |
19,58 |
21,14 |
22,48 |
28,48 |
33,97 |
|
|
257,1 |
242,0 |
227,5 |
212,5 |
198,5 |
173,0 |
152,1 |
136,9 |
135,3 |
160,4 |
185,2 |
||
|
22,69 |
18,95 |
15,94 |
13,42 |
11,36 |
8,259 |
6,136 |
4,741 |
3,945 |
3,670 |
3,819 |
||
|
0,040 |
12,10 |
12,24 |
12,62 |
13,00 |
13,55 |
14,62 |
15,71 |
16,69 |
18,45 |
22,65 |
26,45 |
|
|
262,0 |
247,8 |
233,8 |
219,4 |
205,6 |
180,7 |
160,6 |
147,7 |
159,4 |
185,3 |
211,6 |
||
|
28,68 |
24,16 |
20,47 |
17,35 |
14,79 |
10,89 |
8,237 |
6,535 |
5,623 |
5,384 |
5,682 |
||
|
0,045 |
10,27 |
10,39 |
10,69 |
10,99 |
11,36 |
12,13 |
12,89 |
13,50 |
15,40 |
18,44 |
21,20 |
|
|
265,0 |
251,7 |
238,4 |
224,5 |
211,2 |
187,4 |
169,0 |
158,7 |
183,0 |
209,8 |
237,7 |
||
|
35,13 |
29,81 |
25,41 |
21,69 |
18,60 |
13,90 |
10,71 |
8,726 |
7,732 |
7,572 |
8,072 |
||
|
0,050 |
08,86 |
08,96 |
09,19 |
09,43 |
09,68 |
10,22 |
10,76 |
11,15 |
13,03 |
15,31 |
17,39 |
|
|
266,9 |
254,4 |
241,8 |
228,6 |
216,0 |
193,7 |
177,3 |
180,6 |
206,1 |
233,9 |
263,7 |
||
|
42,01 |
35,88 |
30,78 |
26,43 |
22,81 |
17,30 |
13,61 |
11,36 |
10,33 |
10,29 |
11,05 |
||
|
0,060 |
06,80 |
06,88 |
07,03 |
07,18 |
07,27 |
07,56 |
07,84 |
08,32 |
09,68 |
11,06 |
|
|
|
273,8 |
258,6 |
246,8 |
235,3 |
224,4 |
206,2 |
200,7 |
223,9 |
251,1 |
281,2 |
|||
|
57,06 |
49,31 |
42,78 |
37,21 |
32,54 |
25,46 |
20,82 |
18,17 |
17,19 |
17,56 |
|||
|
0,070 |
05,41 |
05,47 |
05,56 |
05,66 |
05,68 |
05,82 |
05,97 |
06,60 |
07,48 |
08,39 |
||
|
282,0 |
268,2 |
256,5 |
246,0 |
237,0 |
225,4 |
240,8 |
265,8 |
294,8 |
327,6 |
|||
|
73,93 |
64,58 |
56,67 |
49,89 |
44,22 |
35,68 |
30,25 |
27,37 |
26,63 |
27,68 |
|||
|
0,080 |
04,41 |
04,46 |
04,52 |
04,59 |
04,59 |
04,64 |
04,83 |
05,37 |
05,97 |
|
||
|
295,9 |
283,6 |
273,0 |
263,7 |
257,5 |
258,4 |
279,8 |
306,4 |
337,5 |
||||
|
92,82 |
81,92 |
72,67 |
64,76 |
58,16 |
48,31 |
42,25 |
39,34 |
39,10 |
||||
|
0,090 |
03,70 |
03,71 |
03,75 |
03,80 |
03,79 |
03,79 |
04,08 |
04,47 |
04,89 |
|||
|
310,3 |
300,3 |
292,2 |
285,4 |
281,7 |
294,5 |
317,7 |
346,1 |
379,4 |
||||
|
114,0 |
101,6 |
91,10 |
82,13 |
74,67 |
63,69 |
57,20 |
54,49 |
55,01 |
||||
|
0,100 |
03,16 |
03,16 |
03,17 |
03,21 |
03,19 |
03,28 |
03,51 |
03,78 |
|
|
R(P) |
|
|
328,8 |
320,0 |
314,2 |
310,9 |
310,7 |
329,8 |
354,7 |
384,9 |
R(W) |
||||
|
137,7 |
123,9 |
112,2 |
102,3 |
94,07 |
82,16 |
75,46 |
73,22 |
R(CW) |
||||
Продолжение таблицы А.1
|
d/h |
|
r/h |
||||||||||
|
5,0 |
0,500 |
0,475 |
0,450 |
0,425 |
0,400 |
0,350 |
0,300 |
0,250 |
0,200 |
0,150 |
0,100 |
|
|
s/h |
0,018 |
40,31 |
40,90 |
42,00 |
44,25 |
47,41 |
53,69 |
60,87 |
69,27 |
76,84 |
96,11 |
120,7 |
|
200,2 |
181,3 |
164,7 |
151,0 |
140,8 |
122,0 |
105,1 |
90,14 |
78,35 |
75,17 |
92,14 |
||
|
5,476 |
4,396 |
3,579 |
2,927 |
2,420 |
1,697 |
1,217 |
0,887 |
0,667 |
0,549 |
0,529 |
||
|
0,020 |
35,01 |
35,44 |
36,44 |
38,19 |
40,82 |
45,91 |
51,62 |
58,19 |
63,72 |
80,18 |
98,19 |
|
|
204,6 |
186,4 |
170,2 |
155,8 |
145,8 |
126,9 |
109,5 |
94,25 |
82,99 |
85,26 |
102,9 |
||
|
6,666 |
5,402 |
4,433 |
3,651 |
3,035 |
2,143 |
1,544 |
1,133 |
0,866 |
0,733 |
0,721 |
||
|
0,023 |
29,05 |
29,31 |
30,19 |
31,41 |
33,48 |
37,28 |
41,39 |
46,01 |
49,52 |
62,44 |
74,64 |
|
|
209,4 |
192,1 |
176,4 |
161,5 |
151,8 |
132,7 |
115,0 |
99,83 |
90,06 |
100,8 |
118,9 |
||
|
8,628 |
7,075 |
5,860 |
4,867 |
4,073 |
2,902 |
2,106 |
1,566 |
1,231 |
1,081 |
1,090 |
||
|
0,026 |
24,65 |
24,80 |
25,58 |
26,45 |
28,11 |
31,00 |
33,99 |
37,30 |
39,57 |
49,75 |
59,41 |
|
|
212,5 |
196,1 |
180,8 |
167,9 |
156,2 |
137,2 |
119,5 |
105,0 |
98,31 |
115,9 |
134,7 |
||
|
10,78 |
8,924 |
7,448 |
6,226 |
5,238 |
3,764 |
2,757 |
2,084 |
1,684 |
1,526 |
1,567 |
||
|
0,030 |
20,32 |
20,43 |
21,05 |
21,61 |
22,86 |
24,91 |
26,95 |
29,07 |
30,84 |
38,33 |
45,42 |
|
|
214,7 |
199,4 |
186,7 |
174,5 |
162,9 |
142,0 |
124,8 |
113,0 |
115,9 |
135,7 |
155,5 |
||
|
13,92 |
11,63 |
9,787 |
8,243 |
6,979 |
5,073 |
3,772 |
2,922 |
2,447 |
2,293 |
2,397 |
||
|
0,035 |
16,46 |
16,56 |
17,01 |
17,42 |
18,22 |
19,57 |
20,87 |
22,10 |
24,14 |
29,30 |
33,96 |
|
|
217,2 |
203,3 |
192,0 |
180,2 |
169,0 |
148,9 |
133,1 |
123,7 |
139,4 |
160,0 |
181,3 |
||
|
18,22 |
15,37 |
13,04 |
11,07 |
9,442 |
6,974 |
5,300 |
4,241 |
3,693 |
3,574 |
3,793 |
||
|
0,040 |
13,67 |
13,75 |
14,08 |
14,38 |
14,90 |
15,80 |
16,65 |
17,36 |
19,54 |
23,12 |
26,38 |
|
|
221,3 |
206,1 |
195,5 |
184,4 |
173,8 |
155,1 |
141,3 |
142,5 |
162,2 |
183,8 |
206,9 |
||
|
22,89 |
19,47 |
16,64 |
14,23 |
12,23 |
9,191 |
7,153 |
5,906 |
5,315 |
5,268 |
5,649 |
||
|
0,045 |
11,56 |
11,63 |
11,87 |
12,09 |
12,43 |
13,03 |
13,59 |
14,00 |
16,12 |
18,72 |
21,11 |
|
|
224,8 |
210,6 |
198,0 |
187,7 |
178,0 |
161,1 |
149,8 |
164,1 |
184,6 |
207,2 |
232,3 |
||
|
27,92 |
23,92 |
20,58 |
17,73 |
15,36 |
11,76 |
9,374 |
7,966 |
7,368 |
7,435 |
8,030 |
||
|
0,050 |
09,93 |
09,98 |
10,16 |
10,33 |
10,53 |
10,94 |
11,31 |
11,61 |
13,53 |
15,49 |
17,30 |
|
|
228,1 |
215,0 |
203,1 |
192,0 |
182,3 |
168,5 |
167,3 |
185,2 |
206,5 |
230,3 |
257,5 |
||
|
33,31 |
28,73 |
24,88 |
21,60 |
18,86 |
14,71 |
12,01 |
10,47 |
9,904 |
10,13 |
11,00 |
||
|
0,060 |
07,57 |
07,60 |
07,70 |
07,79 |
07,86 |
08,04 |
08,19 |
08,79 |
09,95 |
11,13 |
|
|
|
237,2 |
225,9 |
216,1 |
207,5 |
200,3 |
192,4 |
206,6 |
226,3 |
249,4 |
276,0 |
|||
|
45,23 |
39,51 |
34,69 |
30,56 |
27,12 |
21,95 |
18,70 |
17,02 |
16,64 |
17,36 |
|||
|
0,070 |
05,98 |
06,01 |
06,06 |
06,11 |
06,11 |
06,17 |
06,23 |
06,89 |
07,64 |
08,42 |
||
|
250,8 |
241,1 |
233,1 |
227,0 |
222,4 |
227,8 |
244,8 |
266,1 |
291,3 |
320,9 |
|||
|
58,88 |
52,07 |
46,31 |
41,39 |
37,30 |
31,25 |
27,59 |
25,94 |
25,96 |
27,41 |
|||
|
0,080 |
04,86 |
04,88 |
04,91 |
04,94 |
04,90 |
04,91 |
05,13 |
05,57 |
06,08 |
|
||
|
267,9 |
260,2 |
254,4 |
250,6 |
250,1 |
263,1 |
281,8 |
304,9 |
332,4 |
||||
|
74,52 |
66,68 |
60,04 |
54,40 |
49,73 |
42,94 |
39,07 |
37,64 |
38,30 |
||||
|
0,090 |
04,06 |
04,06 |
04,07 |
04,09 |
04,05 |
04,06 |
04,31 |
04,62 |
04,97 |
|||
|
288,1 |
282,7 |
280,3 |
279,1 |
282,2 |
297,6 |
317,9 |
342,9 |
372,8 |
||||
|
92,43 |
83,63 |
76,20 |
69,91 |
64,74 |
57,40 |
53,48 |
52,50 |
54,06 |
||||
|
0,100 |
03,47 |
03,44 |
03,44 |
03,45 |
03,42 |
03,52 |
03,69 |
03,90 |
|
|
R(P) |
|
|
312,8 |
309,5 |
307,8 |
307,6 |
314,1 |
331,2 |
353,2 |
380,2 |
R(W) |
||||
|
112,9 |
103,2 |
95,09 |
88,23 |
82,66 |
74,94 |
71,21 |
70,93 |
R(CW) |
||||
Продолжение таблицы
А.1
|
d/h |
|
r/h |
||||||||||
|
7,0 |
0,500 |
0,475 |
0,450 |
0,425 |
0,400 |
0,350 |
0,300 |
0,250 |
0,200 |
0,150 |
0,100 |
|
|
s/h |
0,018 |
49,27 |
49,95 |
50,62 |
53,08 |
56,13 |
62,34 |
69,16 |
76,31 |
81,70 |
102,1 |
120,3 |
|
157,9 |
145,4 |
133,8 |
122,5 |
112,3 |
98,09 |
84,92 |
73,95 |
68,75 |
78,08 |
90,85 |
||
|
3,966 |
3,259 |
2,704 |
2,248 |
1,883 |
1,343 |
0,975 |
0,727 |
0,576 |
0,511 |
0,520 |
||
|
0,020 |
42,80 |
43,28 |
43,92 |
45,80 |
48,29 |
53,18 |
58,37 |
63,68 |
67,33 |
83,84 |
98,29 |
|
|
159,7 |
147,7 |
136,5 |
125,4 |
115,4 |
100,7 |
87,66 |
77,30 |
75,28 |
87,85 |
101,1 |
||
|
4,802 |
3,976 |
3,319 |
2,775 |
2,335 |
1,677 |
1,228 |
0,929 |
0,755 |
0,688 |
0,711 |
||
|
0,023 |
35,46 |
35,73 |
36,31 |
37,58 |
39,47 |
42,93 |
46,41 |
49,87 |
52,75 |
64,17 |
75,47 |
|
|
161,0 |
149,8 |
139,2 |
128,7 |
119,2 |
103,8 |
91,44 |
83,47 |
88,43 |
102,2 |
116,3 |
||
|
6,160 |
5,147 |
4,329 |
3,646 |
3,086 |
2,242 |
1,667 |
1,294 |
1,089 |
1,026 |
1,077 |
||
|
0,026 |
30,01 |
30,12 |
30,65 |
31,50 |
32,96 |
35,44 |
37,80 |
40,11 |
42,41 |
51,56 |
59,79 |
|
|
162,9 |
151,0 |
141,0 |
131,0 |
122,5 |
107,8 |
96,28 |
91,34 |
102,1 |
116,4 |
131,4 |
||
|
7,629 |
6,423 |
5,437 |
4,607 |
3,922 |
2,886 |
2,184 |
1,740 |
1,511 |
1,461 |
1,551 |
||
|
0,030 |
24,61 |
24,58 |
25,04 |
25,53 |
26,58 |
28,20 |
29,61 |
30,98 |
33,69 |
39,90 |
45,53 |
|
|
166,0 |
154,5 |
144,2 |
134,5 |
126,0 |
112,5 |
103,1 |
106,3 |
119,9 |
135,0 |
151,4 |
||
|
9,745 |
8,274 |
7,058 |
6,028 |
5,173 |
3,876 |
3,009 |
2,480 |
2,232 |
2,215 |
2,377 |
||
|
0,035 |
19,77 |
19,73 |
20,03 |
20,26 |
20,96 |
21,91 |
22,68 |
23,38 |
26,08 |
30,17 |
33,94 |
|
|
169,0 |
158,7 |
149,3 |
140,5 |
132,9 |
120,8 |
116,0 |
127,3 |
141,7 |
157,8 |
176,3 |
||
|
12,63 |
10,82 |
9,317 |
8,035 |
6,967 |
5,351 |
4,290 |
3,674 |
3,427 |
3,478 |
3,767 |
||
|
0,040 |
16,28 |
16,23 |
16,42 |
16,56 |
16,98 |
17,53 |
17,95 |
18,29 |
20,79 |
23,64 |
26,31 |
|
|
171,9 |
162,7 |
154,3 |
146,5 |
140,3 |
131,8 |
135,0 |
147,7 |
162,9 |
180,4 |
201,0 |
||
|
15,79 |
13,65 |
11,85 |
10,32 |
9,047 |
7,126 |
5,891 |
5,214 |
4,996 |
5,154 |
5,616 |
||
|
0,045 |
13,66 |
13,62 |
13,73 |
13,80 |
14,05 |
14,37 |
14,58 |
14,96 |
16,98 |
19,06 |
21,03 |
|
|
177,2 |
168,8 |
161,5 |
155,1 |
149,8 |
144,6 |
154,2 |
167,7 |
183,9 |
202,8 |
225,8 |
||
|
19,23 |
16,77 |
14,69 |
12,92 |
11,45 |
9,242 |
7,859 |
7,148 |
6,995 |
7,300 |
7,990 |
||
|
0,050 |
11,65 |
11,61 |
11,67 |
11,70 |
11,84 |
12,00 |
12,10 |
12,64 |
14,15 |
15,71 |
17,22 |
|
|
183,8 |
176,1 |
169,6 |
164,4 |
160,9 |
162,0 |
173,0 |
187,3 |
204,5 |
224,9 |
251,9 |
||
|
23,01 |
20,22 |
17,87 |
15,87 |
14,21 |
11,74 |
10,24 |
9,528 |
9,477 |
9,976 |
10,95 |
||
|
0,060 |
08,80 |
08,76 |
08,77 |
08,76 |
08,77 |
08,78 |
08,75 |
09,42 |
10,31 |
11,26 |
|
|
|
200,3 |
194,6 |
190,8 |
188,6 |
188,5 |
197,1 |
209,7 |
225,7 |
245,2 |
268,8 |
|||
|
31,65 |
28,27 |
25,41 |
22,98 |
20,98 |
18,08 |
16,42 |
15,82 |
16,10 |
17,15 |
|||
|
0,070 |
06,93 |
06,89 |
06,87 |
06,85 |
06,81 |
06,75 |
06,85 |
07,33 |
07,89 |
08,51 |
||
|
222,3 |
219,6 |
218,1 |
217,5 |
220,5 |
231,0 |
245,3 |
263,2 |
285,2 |
314,5 |
|||
|
42,02 |
38,08 |
34,76 |
31,97 |
29,68 |
26,47 |
24,82 |
24,49 |
25,31 |
27,15 |
|||
|
0,080 |
05,64 |
05,60 |
05,57 |
05,54 |
05,48 |
05,39 |
05,60 |
05,90 |
06,27 |
|
||
|
248,8 |
246,7 |
245,9 |
247,5 |
252,0 |
264,1 |
280,1 |
300,0 |
324,6 |
||||
|
54,40 |
49,96 |
46,25 |
43,15 |
40,66 |
37,28 |
35,79 |
35,92 |
37,51 |
||||
|
0,090 |
04,70 |
04,67 |
04,64 |
04,60 |
04,53 |
04,56 |
04,69 |
04,88 |
05,13 |
|||
|
274,9 |
273,5 |
273,5 |
277,4 |
282,7 |
296,4 |
314,2 |
336,2 |
366,5 |
||||
|
69,10 |
64,23 |
60,19 |
56,85 |
54,22 |
50,84 |
49,70 |
50,52 |
53,14 |
||||
|
0,100 |
04,03 |
03,98 |
03,95 |
03,91 |
03,92 |
03,94 |
04,02 |
04,13 |
|
|
R(P) |
|
|
300,8 |
300,3 |
301,7 |
306,7 |
312,8 |
328,2 |
347,7 |
371,9 |
R(W) |
||||
|
86,42 |
81,18 |
76,89 |
73,39 |
70,70 |
67,50 |
66,91 |
68,67 |
R(CW) |
||||
Продолжение таблицы А.1
|
d/h |
|
r/h |
||||||||||
|
10 |
0,500 |
0,475 |
0,450 |
0,425 |
0,400 |
0,350 |
0,300 |
0,250 |
0,200 |
0,150 |
0,100 |
|
|
s/h |
0,018 |
61,15 |
61,77 |
62,00 |
64,39 |
67,08 |
72,51 |
78,01 |
82,96 |
87,49 |
104,8 |
121,5 |
|
117,5 |
109,2 |
101,9 |
94,54 |
87,78 |
76,16 |
67,78 |
63,96 |
69,46 |
79,08 |
89,20 |
||
|
2,709 |
2,272 |
1,917 |
1,619 |
1,374 |
1,003 |
0,752 |
0,592 |
0,507 |
0,486 |
0,514 |
||
|
0,020 |
52,93 |
53,29 |
53,49 |
55,27 |
57,38 |
61,40 |
65,30 |
68,70 |
72,18 |
86,23 |
99,32 |
|
|
119,2 |
110,5 |
102,7 |
95,83 |
89,40 |
78,37 |
71,45 |
69,92 |
78,28 |
88,25 |
99,05 |
||
|
3,250 |
2,742 |
2,326 |
1,975 |
1,685 |
1,246 |
0,950 |
0,766 |
0,675 |
0,659 |
0,704 |
||
|
0,023 |
43,55 |
43,65 |
43,84 |
44,94 |
46,43 |
49,02 |
51,37 |
53,33 |
56,93 |
66,90 |
75,98 |
|
|
121,0 |
113,1 |
105,8 |
99,02 |
93,03 |
83,51 |
78,01 |
81,85 |
91,25 |
101,8 |
113,8 |
||
|
4,120 |
3,506 |
2,997 |
2,565 |
2,206 |
1,663 |
1,303 |
1,087 |
0,991 |
0,992 |
1,069 |
||
|
0,026 |
36,57 |
36,49 |
36,67 |
37,33 |
38,40 |
40,08 |
41,48 |
42,62 |
46,26 |
53,44 |
60,05 |
|
|
122,6 |
115,3 |
108,7 |
102,5 |
97,03 |
88,93 |
86,08 |
94,10 |
104,0 |
115,3 |
128,4 |
||
|
5,060 |
4,338 |
3,735 |
3,222 |
2,796 |
2,151 |
1,731 |
1,489 |
1,395 |
1,421 |
1,542 |
||
|
0,030 |
29,68 |
29,46 |
29,62 |
29,92 |
30,62 |
31,55 |
32,22 |
32,76 |
36,16 |
41,05 |
45,64 |
|
|
124,7 |
118,3 |
112,5 |
107,5 |
103,4 |
98,01 |
101,4 |
110,1 |
120,7 |
133,0 |
147,8 |
||
|
6,425 |
5,560 |
4,834 |
4,216 |
3,701 |
2,929 |
2,436 |
2,171 |
2,093 |
2,167 |
2,366 |
||
|
0,035 |
23,57 |
23,34 |
23,41 |
23,45 |
23,88 |
24,29 |
24,50 |
24,65 |
27,63 |
30,87 |
33,97 |
|
|
131,0 |
125,3 |
120,5 |
116,2 |
113,6 |
113,0 |
120,1 |
129,6 |
141,2 |
155,0 |
172,0 |
||
|
8,329 |
7,290 |
6,415 |
5,671 |
5,052 |
4,133 |
3,568 |
3,292 |
3,257 |
3,420 |
3,752 |
||
|
0,040 |
19,24 |
19,04 |
19,02 |
18,94 |
19,20 |
19,34 |
19,31 |
19,70 |
21,86 |
24,12 |
26,33 |
|
|
138,2 |
133,7 |
130,1 |
127,5 |
126,3 |
130,5 |
138,4 |
148,7 |
161,4 |
176,8 |
196,7 |
||
|
10,48 |
9,277 |
8,261 |
7,398 |
6,683 |
5,637 |
5,020 |
4,760 |
4,797 |
5,085 |
5,597 |
||
|
0,045 |
16,05 |
15,88 |
15,82 |
15,70 |
15,83 |
15,82 |
15,68 |
16,23 |
17,77 |
19,41 |
21,04 |
|
|
147,6 |
144,3 |
142,0 |
141,4 |
141,8 |
147,6 |
156,3 |
167,5 |
181,4 |
198,4 |
222,1 |
||
|
12,92 |
11,56 |
10,41 |
9,437 |
8,636 |
7,484 |
6,840 |
6,622 |
6,765 |
7,220 |
7,966 |
||
|
0,050 |
13,64 |
13,49 |
13,40 |
13,28 |
13,32 |
13,22 |
13,03 |
13,65 |
14,77 |
15,99 |
17,23 |
|
|
159,3 |
157,4 |
156,4 |
156,1 |
157,8 |
164,4 |
173,9 |
186,1 |
201,2 |
219,9 |
247,6 |
||
|
15,69 |
14,17 |
12,90 |
11,83 |
10,95 |
9,718 |
9,074 |
8,930 |
9,216 |
9,883 |
10,92 |
||
|
0,060 |
10,30 |
10,18 |
10,08 |
09,95 |
09,91 |
09,73 |
09,61 |
10,12 |
10,75 |
11,47 |
|
|
|
186,1 |
184,9 |
184,6 |
186,0 |
189,0 |
197,3 |
208,4 |
222,6 |
240,3 |
264,2 |
|||
|
22,34 |
20,55 |
19,07 |
17,83 |
16,84 |
15,52 |
14,97 |
15,08 |
15,78 |
17,03 |
|||
|
0,070 |
08,15 |
08,05 |
07,95 |
07,84 |
07,75 |
07,55 |
07,61 |
07,88 |
08,25 |
08,68 |
||
|
212,5 |
212,0 |
212,8 |
215,7 |
219,5 |
229,3 |
242,3 |
258,6 |
279,0 |
310,5 |
|||
|
30,73 |
28,73 |
27,08 |
25,73 |
24,68 |
23,40 |
23,07 |
23,60 |
24,91 |
27,00 |
|||
|
0,080 |
06,68 |
06,59 |
06,49 |
06,39 |
06,29 |
06,17 |
06,24 |
0,37 |
06,58 |
|
||
|
238,8 |
239,0 |
241,0 |
244,7 |
249,3 |
260,7 |
275,5 |
294,1 |
320,7 |
||||
|
41,18 |
39,01 |
37,25 |
35,85 |
34,80 |
33,68 |
33,74 |
34,88 |
37,04 |
||||
|
0,090 |
05,62 |
05,55 |
05,46 |
05,37 |
05,31 |
05,25 |
05,25 |
05,29 |
05,41 |
|||
|
265,0 |
266,0 |
268,8 |
273,3 |
278,6 |
291,7 |
308,3 |
330,0 |
363,4 |
||||
|
53,97 |
51,69 |
49,88 |
48,49 |
47,52 |
46,73 |
47,36 |
49,31 |
52,58 |
||||
|
0,100 |
04,88 |
04,82 |
04,75 |
04,69 |
04,64 |
04,56 |
04,51 |
04,50 |
|
|
R(P) |
|
|
291,3 |
293,1 |
296,1 |
301,3 |
307,4 |
322,1 |
340,7 |
369,6 |
R(W) |
||||
|
69,40 |
67,07 |
65,29 |
63,98 |
63,16 |
62,87 |
64,27 |
67,30 |
R(CW) |
||||
Продолжение таблицы А.1
|
d/h |
|
r/h |
||||||||||
|
15 |
0,500 |
0,475 |
0,450 |
0,425 |
0,400 |
0,350 |
0,300 |
0,250 |
0,200 |
0,150 |
0,100 |
|
|
s/h |
0,018 |
77,05 |
77,18 |
76,80 |
78,56 |
80,36 |
83,86 |
87,01 |
89,13 |
94,50 |
109,2 |
122,7 |
|
83,84 |
78,92 |
74,45 |
70,26 |
66,61 |
61,29 |
59,74 |
64,77 |
71,22 |
78,70 |
87,50 |
||
|
1,669 |
1,430 |
1,231 |
1,062 |
0,922 |
0,709 |
0,571 |
0,492 |
0,462 |
0,471 |
0,511 |
||
|
0,020 |
66,11 |
65,98 |
65,51 |
66,78 |
68,05 |
70,34 |
72,27 |
73,44 |
78,70 |
89,81 |
100,2 |
|
|
84,74 |
80,28 |
76,23 |
72,49 |
69,61 |
65,67 |
67,15 |
72,65 |
79,45 |
87,46 |
97,10 |
||
|
1,989 |
1,717 |
1,488 |
1,294 |
1,132 |
0,889 |
0,734 |
0,649 |
0,622 |
0,642 |
0,700 |
||
|
0,023 |
53,73 |
53,37 |
52,99 |
53,63 |
54,38 |
55,55 |
56,40 |
56,77 |
61,57 |
69,23 |
76,51 |
|
|
88,07 |
84,06 |
80,64 |
77,64 |
75,36 |
73,96 |
78,30 |
84,25 |
91,64 |
100,5 |
111,5 |
||
|
2,514 |
2,191 |
1,920 |
1,689 |
1,497 |
1,211 |
1,034 |
0,945 |
0,928 |
0,971 |
1,064 |
||
|
0,026 |
44,65 |
44,17 |
43,85 |
44,12 |
44,56 |
45,09 |
45,35 |
45,30 |
49,56 |
55,09 |
60,43 |
|
|
91,78 |
88,45 |
85,91 |
83,84 |
82,67 |
84,43 |
89,21 |
95,66 |
103,7 |
113,5 |
125,8 |
||
|
3,098 |
2,727 |
2,414 |
2,149 |
1,928 |
1,604 |
1,410 |
1,322 |
1,323 |
1,397 |
1,536 |
||
|
0,030 |
35,87 |
35,33 |
35,08 |
35,07 |
35,26 |
35,32 |
35,17 |
34,89 |
38,44 |
42,20 |
45,92 |
|
|
98,97 |
96,62 |
95,00 |
94,48 |
94,67 |
98,07 |
103,5 |
110,6 |
119,6 |
130,7 |
144,8 |
||
|
3,983 |
3,550 |
3,185 |
2,876 |
2,622 |
2,254 |
2,046 |
1,971 |
2,007 |
2,139 |
2,359 |
||
|
0,035 |
28,29 |
27,82 |
27,55 |
27,37 |
27,41 |
27,18 |
26,80 |
27,00 |
29,26 |
31,71 |
34,20 |
|
|
111,1 |
109,9 |
109,4 |
109,3 |
110,5 |
114,7 |
120,9 |
129,1 |
139,3 |
152,0 |
169,3 |
||
|
5,285 |
4,780 |
4,356 |
4,000 |
3,709 |
3,302 |
3,093 |
3,051 |
3,154 |
3,386 |
3,744 |
||
|
0,040 |
23,04 |
22,65 |
22,37 |
22,11 |
22,07 |
21,72 |
21,24 |
21,64 |
23,12 |
24,79 |
26,53 |
|
|
124,6 |
123,8 |
123,7 |
124,3 |
126,0 |
131,1 |
138,1 |
147,3 |
158,8 |
173,2 |
194,1 |
||
|
6,841 |
6,271 |
5,796 |
5,399 |
5,081 |
4,651 |
4,461 |
4,478 |
4,677 |
5,044 |
5,586 |
||
|
0,045 |
19,26 |
18,92 |
18,65 |
18,36 |
18,28 |
17,88 |
17,36 |
17,83 |
18,83 |
19,99 |
21,24 |
|
|
138,0 |
137,6 |
137,8 |
139,2 |
141,3 |
147,2 |
155,1 |
165,3 |
178,1 |
194,4 |
219,0 |
||
|
8,689 |
8,062 |
7,543 |
7,115 |
6,778 |
6,346 |
6,198 |
6,300 |
6,628 |
7,172 |
7,952 |
||
|
0,050 |
16,43 |
16,14 |
15,89 |
15,59 |
15,49 |
15,06 |
14,54 |
15,02 |
15,69 |
16,51 |
17,43 |
|
|
151,3 |
151,2 |
152,0 |
153,9 |
156,4 |
163,0 |
171,9 |
183,2 |
197,4 |
216,6 |
244,0 |
||
|
10,87 |
10,19 |
9,637 |
9,187 |
8,841 |
8,428 |
8,349 |
8,567 |
9,060 |
9,829 |
10,91 |
||
|
0,060 |
12,57 |
12,35 |
12,12 |
11,86 |
11,71 |
11,29 |
11,07 |
11,22 |
11,51 |
11,92 |
|
|
|
177,8 |
178,4 |
180,2 |
182,8 |
186,1 |
194,3 |
205,0 |
218,5 |
235,5 |
261,7 |
|||
|
16,36 |
15,62 |
15,02 |
14,56 |
14,23 |
13,93 |
14,08 |
14,63 |
15,58 |
16,96 |
|||
|
0,070 |
10,10 |
09,92 |
09,71 |
09,49 |
09,33 |
08,95 |
08,84 |
08,83 |
08,91 |
09,09 |
||
|
204,2 |
205,6 |
207,8 |
211,2 |
215,2 |
225,1 |
237,7 |
253,5 |
276,9 |
307,0 |
|||
|
23,63 |
22,85 |
22,27 |
21,84 |
21,58 |
21,51 |
22,01 |
23,06 |
24,67 |
26,91 |
|||
|
0,080 |
08,40 |
08,25 |
08,07 |
07,88 |
07,72 |
07,49 |
07,32 |
07,21 |
07,18 |
|
||
|
230,8 |
232,8 |
235,7 |
239,1 |
243,9 |
255,5 |
270,0 |
290,5 |
318,5 |
||||
|
32,96 |
32,20 |
31,68 |
31,34 |
31,20 |
31,50 |
32,52 |
34,26 |
36,76 |
||||
|
0,090 |
07,22 |
07,07 |
06,94 |
06,80 |
06,67 |
06,43 |
06,22 |
06,06 |
05,96 |
|||
|
257,4 |
260,2 |
263,7 |
267,8 |
272,6 |
285,5 |
303,3 |
329,1 |
360,2 |
||||
|
44,64 |
43,96 |
43,56 |
43,37 |
43,43 |
44,24 |
45,96 |
48,60 |
52,26 |
||||
|
0,100 |
06,40 |
06,26 |
06,13 |
05,99 |
05,87 |
05,62 |
05,39 |
05,21 |
|
|
R(P) |
|
|
284,1 |
287,6 |
291,9 |
296,8 |
302,4 |
316,0 |
339,4 |
367,9 |
R(W) |
||||
|
58,97 |
58,43 |
58,21 |
58,25 |
58,58 |
60,09 |
62,70 |
66,49 |
R(CW) |
||||
Продолжение таблицы А.1
|
d/h |
|
r/h |
||||||||||
|
20 |
0,500 |
0,475 |
0,450 |
0,425 |
0,400 |
0,350 |
0,300 |
0,250 |
0,200 |
0,150 |
0,100 |
|
|
s/h |
0,018 |
89,16 |
88,68 |
87,62 |
88,77 |
89,68 |
91,44 |
92,80 |
93,12 |
99,71 |
111,9 |
123,6 |
|
67,37 |
64,44 |
61,94 |
59,77 |
58,42 |
58,02 |
61,25 |
65,72 |
71,31 |
78,08 |
86,53 |
||
|
1,165 |
1,017 |
0,893 |
0,787 |
0,699 |
0,569 |
0,489 |
0,449 |
0,443 |
0,465 |
0,510 |
||
|
0,020 |
76,03 |
75,36 |
74,32 |
75,05 |
75,56 |
76,42 |
76,94 |
76,71 |
82,66 |
91,91 |
100,9 |
|
|
69,87 |
67,52 |
65,65 |
64,14 |
63,44 |
64,93 |
68,45 |
73,25 |
79,28 |
86,67 |
96,01 |
||
|
1,395 |
1,228 |
1,088 |
0,969 |
0,870 |
0,725 |
0,639 |
0,600 |
0,601 |
0,636 |
0,699 |
||
|
0,023 |
61,40 |
60,61 |
59,76 |
59,98 |
60,13 |
60,21 |
60,04 |
59,39 |
64,42 |
70,77 |
77,05 |
|
|
75,43 |
73,76 |
72,67 |
72,41 |
72,62 |
75,09 |
79,07 |
84,41 |
91,14 |
99,50 |
110,2 |
||
|
1,783 |
1,590 |
1,427 |
1,289 |
1,176 |
1,012 |
0,919 |
0,886 |
0,903 |
0,963 |
1,063 |
||
|
0,026 |
50,84 |
50,02 |
49,32 |
49,25 |
49,21 |
48,89 |
48,37 |
47,58 |
51,77 |
56,31 |
60,89 |
|
|
82,72 |
81,82 |
81,42 |
81,40 |
82,09 |
85,06 |
89,52 |
95,44 |
102,9 |
112,3 |
124,3 |
||
|
2,231 |
2,012 |
1,829 |
1,674 |
1,548 |
1,370 |
1,277 |
1,255 |
1,295 |
1,388 |
1,534 |
||
|
0,030 |
40,81 |
40,01 |
39,45 |
39,19 |
39,01 |
38,43 |
37,69 |
37,47 |
40,17 |
43,19 |
46,31 |
|
|
93,64 |
93,03 |
92,93 |
93,34 |
94,52 |
98,11 |
103,3 |
110,0 |
118,5 |
129,2 |
143,7 |
||
|
2,935 |
2,686 |
2,477 |
2,304 |
2,164 |
1,974 |
1,888 |
1,892 |
1,974 |
2,128 |
2,356 |
||
|
0,035 |
32,28 |
31,62 |
31,11 |
30,74 |
30,50 |
29,79 |
28,96 |
29,03 |
30,64 |
32,53 |
34,56 |
|
|
107,1 |
106,8 |
107,1 |
108,2 |
109,8 |
114,2 |
120,2 |
128,0 |
137,8 |
150,3 |
168,2 |
||
|
4,015 |
3,732 |
3,499 |
3,307 |
3,156 |
2,965 |
2,904 |
2,958 |
3,115 |
3,373 |
3,740 |
||
|
0,040 |
26,44 |
25,90 |
25,42 |
25,02 |
24,75 |
24,01 |
23,16 |
23,36 |
24,32 |
25,52 |
26,86 |
|
|
120,4 |
120,5 |
121,3 |
122,8 |
124,8 |
130,0 |
136,9 |
145,8 |
157,0 |
171,3 |
192,7 |
||
|
5,353 |
5,042 |
4,790 |
4,587 |
4,433 |
4,258 |
4,242 |
4,370 |
4,631 |
5,029 |
5,582 |
||
|
0,045 |
22,25 |
21,79 |
21,36 |
20,95 |
20,68 |
19,95 |
19,12 |
19,34 |
19,89 |
20,65 |
21,55 |
|
|
133,7 |
134,2 |
135,4 |
137,3 |
139,6 |
145,6 |
153,5 |
163,5 |
176,1 |
193,4 |
217,4 |
||
|
6,985 |
6,655 |
6,392 |
6,186 |
6,037 |
5,897 |
5,949 |
6,177 |
6,576 |
7,155 |
7,947 |
||
|
0,050 |
19,13 |
18,74 |
18,34 |
17,94 |
17,68 |
16,97 |
16,30 |
16,38 |
16,66 |
17,12 |
17,72 |
|
|
146,9 |
147,8 |
149,3 |
151,6 |
154,3 |
161,1 |
169,9 |
181,1 |
195,1 |
215,6 |
242,1 |
||
|
8,949 |
8,607 |
8,342 |
8,142 |
8,008 |
7,925 |
8,069 |
8,428 |
9,002 |
9,808 |
10,90 |
||
|
0,060 |
14,86 |
14,55 |
14,22 |
13,85 |
13,60 |
12,95 |
12,56 |
12,39 |
12,36 |
12,46 |
|
|
|
173,5 |
175,0 |
177,2 |
179,8 |
183,3 |
191,8 |
202,5 |
215,9 |
235,1 |
260,2 |
|||
|
14,02 |
13,68 |
13,44 |
13,29 |
13,21 |
13,32 |
13,74 |
14,46 |
15,51 |
16,93 |
|||
|
0,070 |
12,10 |
11,85 |
11,56 |
11,26 |
11,00 |
10,51 |
10,15 |
09,67 |
09,67 |
09,59 |
||
|
200,1 |
202,4 |
205,2 |
208,5 |
212,3 |
222,1 |
234,7 |
252,3 |
276,0 |
305,0 |
|||
|
20,87 |
20,58 |
20,40 |
20,34 |
20,38 |
20,79 |
21,61 |
22,86 |
24,59 |
26,87 |
|||
|
0,080 |
10,19 |
09,98 |
09,73 |
09,51 |
09,29 |
08,87 |
08,48 |
07,87 |
07,87 |
|
||
|
226,8 |
229,8 |
233,4 |
237,4 |
242,0 |
253,1 |
268,0 |
290,2 |
317,1 |
||||
|
29,79 |
29,58 |
29,53 |
29,61 |
29,82 |
30,67 |
32,05 |
34,02 |
36,65 |
||||
|
0,090 |
08,91 |
08,71 |
08,49 |
08,28 |
08,07 |
07,66 |
07,27 |
06,60 |
06,60 |
|||
|
253,7 |
257,4 |
261,6 |
266,4 |
271,8 |
284,7 |
303,5 |
328,4 |
358,5 |
||||
|
41,06 |
41,00 |
41,13 |
41,42 |
41,87 |
43,30 |
45,43 |
48,33 |
52,13 |
||||
|
0,100 |
07,93 |
07,73 |
07,53 |
07,33 |
07,14 |
06,74 |
06,35 |
06,35 |
|
|
R(P) |
|
|
280,7 |
285,0 |
290,0 |
295,5 |
301,7 |
316,3 |
339,2 |
366,7 |
R(W) |
||||
|
54,98 |
55,13 |
55,51 |
56,07 |
56,84 |
59,03 |
62,11 |
66,18 |
R(CW) |
||||
Продолжение таблицы А.1
|
d/h |
|
r/h |
||||||||||
|
30 |
0,500 |
0,475 |
0,450 |
0,425 |
0,400 |
0,350 |
0,300 |
0,250 |
0,200 |
0,150 |
0,100 |
|
|
s/h |
0,018 |
107,5 |
105,9 |
103,8 |
103,9 |
103,5 |
102,7 |
101,6 |
99,64 |
106,5 |
115,8 |
125,2 |
|
57,01 |
56,47 |
56,27 |
56,32 |
56,80 |
58,77 |
61,75 |
65,74 |
70,80 |
77,19 |
85,46 |
||
|
0,723 |
0,653 |
0,595 |
0,546 |
0,506 |
0,449 |
0,421 |
0,415 |
0,429 |
0,460 |
0,509 |
||
|
0,020 |
91,40 |
89,87 |
87,98 |
87,84 |
87,21 |
86,02 |
84,61 |
82,49 |
88,29 |
95,19 |
102,3 |
|
|
62,50 |
62,10 |
62,05 |
62,28 |
63,00 |
65,27 |
68,59 |
72,98 |
78,56 |
85,64 |
94,83 |
||
|
0,885 |
0,808 |
0,744 |
0,691 |
0,647 |
0,589 |
0,562 |
0,561 |
0,585 |
0,631 |
0,698 |
||
|
0,023 |
73,88 |
72,42 |
70,91 |
70,45 |
69,73 |
68,24 |
66,58 |
65,01 |
68,94 |
73,48 |
78,30 |
|
|
70,61 |
70,44 |
70,61 |
71,20 |
72,15 |
74,89 |
78,74 |
83,77 |
90,15 |
98,27 |
109,0 |
||
|
1,172 |
1,086 |
1,015 |
0,956 |
0,909 |
0,849 |
0,828 |
0,841 |
0,885 |
0,957 |
1,061 |
||
|
0,026 |
61,46 |
60,12 |
58,87 |
58,26 |
57,51 |
55,92 |
54,18 |
53,13 |
55,63 |
58,67 |
62,02 |
|
|
78,65 |
78,70 |
79,13 |
80,00 |
81,18 |
84,40 |
88,80 |
94,47 |
101,7 |
110,9 |
123,4 |
||
|
1,521 |
1,427 |
1,350 |
1,287 |
1,239 |
1,182 |
1,172 |
1,203 |
1,273 |
1,381 |
1,533 |
||
|
0,030 |
49,80 |
48,64 |
47,60 |
46,91 |
46,18 |
44,58 |
42,85 |
42,15 |
43,47 |
45,25 |
47,35 |
|
|
89,30 |
89,65 |
90,42 |
91,59 |
93,08 |
96,96 |
102,1 |
108,7 |
117,0 |
127,6 |
142,8 |
||
|
2,094 |
1,992 |
1,910 |
1,846 |
1,799 |
1,753 |
1,766 |
1,831 |
1,949 |
2,120 |
2,354 |
||
|
0,035 |
39,96 |
39,03 |
38,13 |
37,42 |
36,74 |
35,21 |
33,55 |
33,04 |
33,51 |
34,36 |
35,50 |
|
|
102,6 |
103,3 |
104,4 |
105,9 |
107,8 |
112,5 |
118,6 |
126,3 |
136,0 |
148,8 |
167,0 |
||
|
3,013 |
2,905 |
2,823 |
2,761 |
2,722 |
2,703 |
2,759 |
2,887 |
3,086 |
3,364 |
3,738 |
||
|
0,040 |
33,23 |
32,45 |
31,66 |
30,97 |
30,34 |
28,90 |
27,34 |
26,91 |
26,89 |
27,18 |
27,74 |
|
|
115,8 |
116,9 |
118,3 |
120,1 |
122,4 |
127,9 |
134,9 |
143,8 |
154,9 |
170,7 |
191,3 |
||
|
4,191 |
4,084 |
4,007 |
3,956 |
3,931 |
3,956 |
4,075 |
4,287 |
4,597 |
5,018 |
5,579 |
||
|
0,045 |
28,37 |
27,71 |
27,00 |
26,34 |
25,76 |
24,42 |
23,10 |
22,56 |
22,25 |
22,19 |
22,38 |
|
|
129,1 |
130,5 |
132,3 |
134,4 |
136,8 |
143,2 |
151,2 |
161,2 |
174,2 |
192,5 |
215,7 |
||
|
5,665 |
5,565 |
5,502 |
5,468 |
5,466 |
5,554 |
5,759 |
6,083 |
6,537 |
7,142 |
7,943 |
||
|
0,050 |
24,73 |
24,15 |
23,51 |
22,89 |
22,35 |
21,10 |
20,01 |
19,34 |
18,85 |
18,57 |
18,51 |
|
|
142,4 |
144,2 |
146,3 |
148,8 |
151,6 |
158,5 |
167,4 |
178,5 |
194,2 |
214,5 |
240,2 |
||
|
7,472 |
7,388 |
7,346 |
7,339 |
7,370 |
7,541 |
7,858 |
8,324 |
8,958 |
9,793 |
10,89 |
||
|
0,060 |
19,65 |
19,19 |
18,66 |
18,10 |
17,64 |
16,58 |
15,73 |
14,95 |
14,28 |
13,76 |
|
|
|
169,2 |
171,6 |
174,5 |
177,6 |
181,2 |
189,8 |
200,5 |
214,8 |
234,5 |
258,6 |
|||
|
12,24 |
12,21 |
12,24 |
12,31 |
12,44 |
12,86 |
13,48 |
14,33 |
15,46 |
16,91 |
|||
|
0,070 |
16,29 |
15,91 |
15,46 |
15,01 |
14,59 |
13,75 |
12,92 |
12,13 |
11,40 |
10,77 |
||
|
196,0 |
199,1 |
202,7 |
206,6 |
211,0 |
221,3 |
234,0 |
252,2 |
274,9 |
303,0 |
|||
|
18,77 |
18,84 |
18,99 |
19,20 |
19,47 |
20,24 |
21,31 |
22,71 |
24,52 |
26,85 |
|||
|
0,080 |
14,04 |
13,67 |
13,29 |
12,91 |
12,52 |
11,74 |
10,96 |
10,18 |
09,44 |
|
||
|
223,1 |
226,8 |
231,1 |
235,7 |
240,9 |
252,9 |
268,4 |
289,7 |
315,6 |
||||
|
27,38 |
27,60 |
27,91 |
28,30 |
28,78 |
30,04 |
31,71 |
33,85 |
36,58 |
||||
|
0,090 |
12,35 |
12,01 |
11,67 |
11,32 |
10,96 |
10,24 |
09,50 |
08,76 |
08,04 |
|||
|
250,2 |
254,6 |
259,6 |
265,0 |
270,9 |
284,7 |
303,5 |
327,5 |
356,5 |
||||
|
38,35 |
38,76 |
39,30 |
39,94 |
40,70 |
42,59 |
45,04 |
48,13 |
52,04 |
||||
|
0,100 |
11,02 |
10,71 |
10,39 |
10,07 |
09,75 |
09,07 |
08,38 |
07,68 |
|
|
R(P) |
|
|
277,5 |
282,6 |
288,2 |
294,3 |
301,1 |
316,6 |
338,9 |
365,4 |
R(W) |
||||
|
51,97 |
52,64 |
53,48 |
54,43 |
55,53 |
58,24 |
61,67 |
65,96 |
R(CW) |
||||
Продолжение таблицы А.1
|
d/h |
|
r/h |
||||||||||
|
45 |
0,500 |
0,475 |
0,450 |
0,425 |
0,400 |
0,350 |
0,300 |
0,250 |
0,200 |
0,150 |
0,100 |
|
|
s/h |
0,018 |
130,3 |
127,6 |
124,3 |
123,3 |
121,4 |
117,9 |
114,2 |
110,1 |
115,1 |
121,2 |
128,0 |
|
54,27 |
54,36 |
54,69 |
55,29 |
56,09 |
58,29 |
61,30 |
65,19 |
70,13 |
76,45 |
84,71 |
||
|
0,494 |
0,464 |
0,441 |
0,421 |
0,406 |
0,389 |
0,387 |
0,398 |
0,422 |
0,458 |
0,508 |
||
|
0,020 |
111,6 |
109,1 |
106,4 |
105,2 |
103,3 |
99,82 |
96,14 |
92,80 |
95,90 |
100,0 |
104,8 |
|
|
59,60 |
59,84 |
60,34 |
61,08 |
62,04 |
64,57 |
67,95 |
72,28 |
77,78 |
84,81 |
94,22 |
||
|
0,625 |
0,594 |
0,569 |
0,549 |
0,535 |
0,521 |
0,524 |
0,543 |
0,577 |
0,628 |
0,697 |
||
|
0,023 |
91,35 |
89,14 |
86,92 |
85,60 |
83,90 |
80,52 |
76,95 |
74,30 |
75,61 |
77,78 |
80,95 |
|
|
67,57 |
68,03 |
68,73 |
69,70 |
70,89 |
73,91 |
77,86 |
82,88 |
89,22 |
97,32 |
108,6 |
||
|
0,868 |
0,835 |
0,810 |
0,791 |
0,778 |
0,770 |
0,785 |
0,820 |
0,876 |
0,955 |
1,061 |
||
|
0,026 |
77,02 |
75,08 |
73,20 |
71,86 |
70,29 |
67,08 |
63,68 |
61,42 |
61,66 |
62,60 |
64,14 |
|
|
75,53 |
76,20 |
77,11 |
78,26 |
79,67 |
83,20 |
87,72 |
93,43 |
100,6 |
109,8 |
122,9 |
||
|
1,172 |
1,139 |
1,115 |
1,098 |
1,089 |
1,092 |
1,122 |
1,179 |
1,263 |
1,378 |
1,532 |
||
|
0,030 |
63,51 |
61,91 |
60,28 |
58,98 |
57,57 |
54,60 |
51,45 |
49,50 |
48,88 |
48,82 |
49,30 |
|
|
86,14 |
87,09 |
88,29 |
89,67 |
91,31 |
95,51 |
100,8 |
107,4 |
115,8 |
126,9 |
142,1 |
||
|
1,687 |
1,656 |
1,636 |
1,625 |
1,623 |
1,648 |
1,708 |
1,803 |
1,937 |
2,116 |
2,353 |
||
|
0,035 |
51,98 |
50,67 |
49,27 |
48,05 |
46,80 |
44,13 |
41,26 |
39,53 |
38,35 |
37,59 |
37,29 |
|
|
99,43 |
100,7 |
102,3 |
104,0 |
106,0 |
110,9 |
117,1 |
124,9 |
134,6 |
148,5 |
166,2 |
||
|
2,533 |
2,509 |
2,499 |
2,501 |
2,515 |
2,579 |
2,691 |
2,853 |
3,072 |
3,359 |
3,737 |
||
|
0,040 |
43,95 |
42,85 |
41,63 |
40,49 |
39,38 |
36,95 |
34,44 |
32,75 |
31,30 |
30,16 |
29,40 |
|
|
112,7 |
114,4 |
116,3 |
118,4 |
120,8 |
126,5 |
133,7 |
142,5 |
154,3 |
170,2 |
190,3 |
||
|
3,638 |
3,628 |
3,635 |
3,656 |
3,693 |
3,813 |
3,997 |
4,249 |
4,581 |
5,013 |
5,578 |
||
|
0,045 |
38,06 |
37,1 |
36,03 |
34,98 |
33,97 |
31,75 |
29,62 |
27,89 |
26,31 |
24,96 |
23,94 |
|
|
126,1 |
128,0 |
130,3 |
132,8 |
135,6 |
142,2 |
150,3 |
160,4 |
174,1 |
191,9 |
214,5 |
||
|
5,040 |
5,050 |
5,082 |
5,130 |
5,197 |
5,393 |
5,671 |
6,040 |
6,519 |
7,136 |
7,941 |
||
|
0,050 |
33,57 |
32,72 |
31,75 |
30,78 |
29,86 |
27,83 |
25,97 |
24,24 |
22,62 |
21,17 |
19,98 |
|
|
139,5 |
141,6 |
144,4 |
147,2 |
150,4 |
157,8 |
167,0 |
178,2 |
194,0 |
213,7 |
238,8 |
||
|
6,777 |
6,814 |
6,878 |
6,961 |
7,070 |
7,362 |
7,759 |
8,275 |
8,938 |
9,786 |
10,89 |
||
|
0,060 |
27,17 |
26,48 |
25,68 |
24,84 |
24,06 |
22,43 |
20,81 |
19,18 |
17,58 |
16,07 |
14,74 |
|
|
166,4 |
169,3 |
172,6 |
176,2 |
180,1 |
189,3 |
200,5 |
214,9 |
233,9 |
257,5 |
|
||
|
11,40 |
11,52 |
11,67 |
11,86 |
12,08 |
12,64 |
13,36 |
14,28 |
15,43 |
16,91 |
|||
|
0,070 |
22,93 |
22,29 |
21,62 |
20,94 |
20,25 |
18,82 |
17,35 |
15,84 |
14,33 |
12,85 |
||
|
193,5 |
197,0 |
201,0 |
205,3 |
210,0 |
220,9 |
234,1 |
252,0 |
274,1 |
301,6 |
|||
|
17,79 |
18,04 |
18,33 |
18,66 |
19,05 |
19,99 |
21,17 |
22,64 |
24,49 |
26,84 |
|||
|
0,080 |
19,89 |
19,31 |
18,72 |
18,12 |
17,50 |
16,21 |
14,87 |
13,49 |
12,07 |
|
||
|
220,7 |
224,9 |
229,6 |
234,6 |
240,1 |
252,7 |
268,5 |
289,3 |
314,5 |
||||
|
26,26 |
26,67 |
27,15 |
27,69 |
28,30 |
29,75 |
31,54 |
33,77 |
36,54 |
||||
|
0,090 |
17,55 |
17,04 |
16,50 |
15,96 |
15,40 |
14,24 |
13,02 |
11,74 |
10,42 |
|||
|
248,0 |
252,9 |
258,2 |
264,0 |
270,3 |
284,7 |
303,4 |
326,7 |
355,1 |
||||
|
37,09 |
37,72 |
38,45 |
39,25 |
40,15 |
42,26 |
44,85 |
48,04 |
52,00 |
||||
|
0,100 |
15,70 |
15,24 |
14,75 |
14,26 |
13,75 |
12,69 |
11,57 |
10,39 |
|
|
R(P) |
|
|
275,5 |
281,0 |
287,1 |
293,5 |
300,6 |
316,8 |
338,5 |
364,4 |
R(W) |
||||
|
50,57 |
51,49 |
52,53 |
53,66 |
54,93 |
57,87 |
61,46 |
65,85 |
R(CW) |
||||
Продолжение таблицы А.1
|
d/h |
|
r/h |
||||||||||
|
60 |
0,500 |
0,475 |
0,450 |
0,425 |
0,400 |
0,350 |
0,300 |
0,250 |
0,200 |
0,150 |
0,100 |
|
|
s/h |
0,018 |
152,6 |
149,0 |
144,9 |
142,8 |
139,7 |
133,9 |
127,8 |
122,1 |
123,8 |
126,9 |
131,1 |
|
52,69 |
53,09 |
53,67 |
54,43 |
55,37 |
57,74 |
60,83 |
64,74 |
69,70 |
76,03 |
84,55 |
||
|
0,407 |
0,393 |
0,382 |
0,374 |
0,369 |
0,367 |
0,375 |
0,392 |
0,419 |
0,457 |
0,508 |
||
|
0,020 |
131,9 |
128,6 |
125,2 |
123,0 |
120,1 |
114,6 |
108,7 |
103,8 |
103,9 |
105,3 |
107,7 |
|
|
57,99 |
58,53 |
59,26 |
60,13 |
61,22 |
63,93 |
67,40 |
71,78 |
77,30 |
84,35 |
94,06 |
||
|
0,528 |
0,514 |
0,504 |
0,497 |
0,493 |
0,495 |
0,510 |
0,536 |
0,575 |
0,627 |
0,697 |
||
|
0,023 |
109,4 |
106,5 |
103,6 |
101,5 |
98,95 |
93,80 |
88,37 |
84,09 |
82,88 |
82,63 |
83,29 |
|
|
65,95 |
66,69 |
67,63 |
68,71 |
69,98 |
73,17 |
77,23 |
82,30 |
88,68 |
96,81 |
108,3 |
||
|
0,755 |
0,742 |
0,734 |
0,729 |
0,729 |
0,741 |
0,769 |
0,812 |
0,873 |
0,954 |
1,061 |
||
|
0,026 |
93,26 |
90,83 |
88,30 |
86,25 |
83,94 |
79,19 |
74,14 |
70,31 |
68,32 |
67,09 |
66,65 |
|
|
73,90 |
74,85 |
76,01 |
77,31 |
78,80 |
82,43 |
87,01 |
92,78 |
100,0 |
109,6 |
122,7 |
||
|
1,043 |
1,033 |
1,028 |
1,028 |
1,033 |
1,059 |
1,104 |
1,170 |
1,260 |
1,377 |
1,532 |
||
|
0,030 |
77,89 |
75,86 |
73,67 |
71,76 |
69,72 |
65,44 |
60,86 |
57,44 |
54,90 |
52,92 |
51,61 |
|
|
84,53 |
85,75 |
87,18 |
88,77 |
90,58 |
94,88 |
100,2 |
106,9 |
115,2 |
126,8 |
141,8 |
||
|
1,537 |
1,533 |
1,535 |
1,544 |
1,559 |
1,609 |
1,687 |
1,793 |
1,933 |
2,115 |
2,353 |
||
|
0,035 |
64,56 |
62,88 |
61,01 |
59,28 |
57,50 |
53,70 |
49,62 |
46,56 |
43,75 |
41,32 |
39,42 |
|
|
97,85 |
99,39 |
101,2 |
103,1 |
105,3 |
110,5 |
116,8 |
124,7 |
134,6 |
148,3 |
165,8 |
||
|
2,358 |
2,365 |
2,382 |
2,406 |
2,440 |
2,534 |
2,666 |
2,841 |
3,067 |
3,357 |
3,736 |
||
|
0,040 |
55,14 |
53,70 |
52,07 |
50,49 |
48,92 |
45,52 |
42,06 |
39,07 |
36,20 |
33,59 |
31,38 |
|
|
111,2 |
113,1 |
115,2 |
117,5 |
120,1 |
126,1 |
133,5 |
142,5 |
154,3 |
169,9 |
189,8 |
||
|
3,438 |
3,462 |
3,500 |
3,547 |
3,606 |
3,761 |
3,969 |
4,235 |
4,576 |
5,011 |
5,577 |
||
|
0,045 |
48,13 |
46,87 |
45,43 |
43,99 |
42,58 |
39,50 |
36,48 |
33,61 |
30,79 |
28,13 |
25,78 |
|
|
124,6 |
126,8 |
129,3 |
131,9 |
134,9 |
141,8 |
150,1 |
160,4 |
174,0 |
191,6 |
213,9 |
||
|
4,814 |
4,864 |
4,929 |
5,007 |
5,100 |
5,335 |
5,639 |
6,025 |
6,512 |
7,133 |
7,940 |
||
|
0,050 |
42,71 |
41,59 |
40,30 |
38,97 |
37,70 |
34,89 |
32,21 |
29,48 |
26,75 |
24,11 |
21,72 |
|
|
138,1 |
140,6 |
143,4 |
146,4 |
149,7 |
157,5 |
166,9 |
178,3 |
193,9 |
213,3 |
238,1 |
||
|
6,525 |
6,607 |
6,708 |
6,825 |
6,962 |
7,297 |
7,723 |
8,258 |
8,930 |
9,784 |
10,89 |
||
|
0,060 |
34,92 |
33,97 |
32,90 |
31,80 |
30,71 |
28,45 |
26,09 |
23,65 |
21,14 |
18,65 |
|
|
|
165,1 |
168,2 |
171,7 |
175,4 |
179,6 |
189,0 |
200,4 |
214,9 |
233,7 |
257,0 |
|||
|
11,09 |
11,27 |
11,47 |
11,69 |
11,95 |
12,56 |
13,32 |
14,25 |
15,42 |
16,90 |
|||
|
0,070 |
29,66 |
28,79 |
27,88 |
26,95 |
26,00 |
24,01 |
21,92 |
19,73 |
17,46 |
15,15 |
||
|
192,2 |
196,0 |
200,2 |
204,6 |
209,5 |
220,7 |
234,2 |
251,9 |
273,7 |
300,9 |
|||
|
17,44 |
17,74 |
18,09 |
18,47 |
18,90 |
19,89 |
21,12 |
22,62 |
24,48 |
26,83 |
|||
|
0,080 |
25,78 |
25,01 |
24,21 |
23,39 |
22,54 |
20,77 |
18,91 |
16,93 |
14,87 |
|
||
|
219,5 |
223,9 |
228,8 |
234,0 |
239,7 |
252,6 |
268,5 |
289,0 |
314,0 |
||||
|
25,86 |
26,34 |
26,88 |
27,47 |
28,12 |
29,64 |
31,49 |
33,74 |
36,53 |
||||
|
0,090 |
22,79 |
22,10 |
21,38 |
20,65 |
19,89 |
18,30 |
16,62 |
14,83 |
12,94 |
|||
|
247,0 |
252,0 |
257,6 |
263,5 |
269,9 |
284,6 |
303,3 |
326,3 |
354,4 |
||||
|
36,64 |
37,35 |
38,15 |
39,01 |
39,95 |
42,14 |
44,79 |
48,01 |
51,99 |
||||
|
0,100 |
20,42 |
19,79 |
19,15 |
18,48 |
17,80 |
16,36 |
14,82 |
13,19 |
|
|
R(P) |
|
|
274,5 |
280,2 |
286,5 |
293,1 |
300,3 |
316,8 |
338,3 |
363,9 |
R(W) |
||||
|
50,06 |
51,07 |
52,19 |
53,39 |
54,71 |
57,74 |
61,39 |
65,81 |
R(CW) |
||||
Окончание таблицы А.1
|
d/h |
|
r/h |
||||||||||
|
100 |
0,500 |
0,475 |
0,450 |
0,425 |
0,400 |
0,350 |
0,300 |
0,250 |
0,200 |
0,150 |
0,100 |
|
|
s/h |
0,018 |
215,5 |
209,6 |
203,5 |
198,6 |
192,7 |
180,9 |
168,4 |
156,9 |
150,0 |
144,7 |
141,2 |
|
50,69 |
51,42 |
52,29 |
53,24 |
54,33 |
56,92 |
60,13 |
64,12 |
69,13 |
75,49 |
84,38 |
||
|
0,333 |
0,332 |
0,332 |
0,334 |
0,337 |
0,348 |
0,364 |
0,387 |
0,418 |
0,457 |
0,508 |
||
|
0,020 |
189,4 |
184,3 |
178,7 |
174,1 |
168,8 |
157,9 |
146,3 |
135,8 |
128,3 |
122,0 |
117,2 |
|
|
55,99 |
56,86 |
57,86 |
58,96 |
60,20 |
63,13 |
66,74 |
71,21 |
76,79 |
83,97 |
93,85 |
||
|
0,445 |
0,445 |
0,448 |
0,452 |
0,457 |
0,474 |
0,498 |
0,531 |
0,572 |
0,627 |
0,697 |
||
|
0,023 |
160,3 |
155,9 |
151,2 |
146,9 |
142,2 |
132,5 |
122,1 |
112,7 |
104,9 |
97,86 |
92,03 |
|
|
63,96 |
65,02 |
66,23 |
67,54 |
69,01 |
72,45 |
76,66 |
81,84 |
88,31 |
96,74 |
108,1 |
||
|
0,659 |
0,663 |
0,669 |
0,677 |
0,688 |
0,717 |
0,755 |
0,806 |
0,870 |
0,953 |
1,060 |
||
|
0,026 |
139,0 |
135,2 |
131,0 |
127,1 |
122,9 |
114,2 |
104,8 |
96,26 |
88,46 |
81,16 |
74,81 |
|
|
71,94 |
73,19 |
74,61 |
76,14 |
77,83 |
81,78 |
86,59 |
92,50 |
99,84 |
109,5 |
122,3 |
||
|
0,934 |
0,943 |
0,955 |
0,969 |
0,986 |
1,031 |
1,089 |
1,163 |
1,257 |
1,376 |
1,532 |
||
|
0,030 |
118,1 |
114,9 |
111,2 |
107,8 |
104,1 |
96,38 |
88,05 |
80,49 |
72,98 |
65,72 |
59,12 |
|
|
82,61 |
84,11 |
85,80 |
87,61 |
89,62 |
94,25 |
99,86 |
106,7 |
115,3 |
126,6 |
141,4 |
||
|
1,411 |
1,429 |
1,450 |
1,475 |
1,505 |
1,577 |
1,669 |
1,784 |
1,929 |
2,114 |
2,353 |
||
|
0,035 |
99,48 |
96,77 |
93,67 |
90,59 |
87,45 |
80,72 |
73,62 |
66,77 |
59,78 |
52,83 |
46,27 |
|
|
95,99 |
97,80 |
99,83 |
102,0 |
104,4 |
109,9 |
116,5 |
124,6 |
134,7 |
148,1 |
165,2 |
||
|
2,210 |
2,243 |
2,282 |
2,326 |
2,376 |
2,496 |
2,646 |
2,831 |
3,063 |
3,356 |
3,736 |
||
|
0,040 |
85,98 |
83,63 |
80,29 |
78,18 |
75,41 |
69,46 |
63,29 |
57,05 |
50,58 |
44,03 |
37,69 |
|
|
109,4 |
111,5 |
113,9 |
116,4 |
119,2 |
125,5 |
133,2 |
142,4 |
154,3 |
169,6 |
189,2 |
||
|
3,269 |
3,323 |
3,386 |
3,456 |
3,534 |
3,718 |
3,945 |
4,224 |
4,571 |
5,009 |
5,577 |
||
|
0,045 |
75,73 |
73,65 |
71,25 |
68,78 |
66,32 |
60,99 |
55,51 |
49,80 |
43,82 |
37,69 |
31,64 |
|
|
122,9 |
125,3 |
128,0 |
130,9 |
134,0 |
141,2 |
149,9 |
160,4 |
173,9 |
191,1 |
213,2 |
||
|
4,624 |
4,707 |
4,801 |
4,904 |
5,019 |
5,286 |
5,612 |
6,011 |
6,507 |
7,132 |
7,940 |
||
|
0,050 |
67,67 |
65,82 |
63,66 |
61,42 |
59,19 |
54,40 |
49,44 |
44,18 |
38,65 |
32,92 |
27,17 |
|
|
136,4 |
139,1 |
142,2 |
145,4 |
148,9 |
157,0 |
166,7 |
178,4 |
193,7 |
212,8 |
237,3 |
||
|
6,313 |
6,432 |
6,566 |
6,711 |
6,871 |
7,243 |
7,693 |
8,243 |
8,924 |
9,782 |
10,89 |
||
|
0,060 |
55,96 |
54,29 |
52,50 |
50,64 |
48,75 |
44,79 |
40,57 |
36,07 |
31,28 |
26,25 |
|
|
|
163,5 |
166,9 |
170,6 |
174,5 |
178,8 |
188,6 |
200,3 |
214,9 |
233,3 |
256,3 |
|||
|
10,84 |
11,06 |
11,30 |
11,56 |
11,84 |
12,49 |
13,28 |
14,24 |
15,42 |
16,90 |
|||
|
0,070 |
47,70 |
46,23 |
44,70 |
43,12 |
41,50 |
38,07 |
34,40 |
30,47 |
26,27 |
21,81 |
||
|
190,8 |
194,8 |
199,2 |
203,8 |
208,9 |
220,4 |
234,2 |
251,7 |
273,2 |
300,0 |
|||
|
17,15 |
17,50 |
17,89 |
18,31 |
18,77 |
19,82 |
21,07 |
22,60 |
24,47 |
26,83 |
|||
|
0,080 |
41,57 |
40,27 |
38,93 |
37,55 |
36,11 |
33,10 |
29,86 |
26,39 |
22,65 |
|
||
|
218,2 |
222,8 |
227,9 |
233,3 |
239,1 |
252,4 |
268,5 |
288,7 |
313,3 |
||||
|
25,52 |
26,06 |
26,65 |
27,29 |
27,98 |
29,55 |
31,44 |
33,71 |
36,52 |
||||
|
0,090 |
36,82 |
35,67 |
34,47 |
33,24 |
31,96 |
29,27 |
26,38 |
23,26 |
19,91 |
|||
|
245,7 |
251,0 |
256,8 |
262,9 |
269,5 |
284,6 |
303,2 |
325,8 |
353,6 |
||||
|
36,26 |
37,03 |
37,89 |
38,80 |
39,79 |
42,05 |
44,73 |
47,98 |
51,97 |
||||
|
0,100 |
33,04 |
32,00 |
30,93 |
29,82 |
28,67 |
26,24 |
23,62 |
20,80 |
|
|
R(P) |
|
|
273,4 |
279,3 |
285,8 |
292,6 |
300,0 |
316,9 |
338,0 |
363,2 |
R(W) |
||||
|
49,64 |
50,72 |
51,90 |
53,16 |
54,52 |
57,63 |
61,32 |
65,78 |
R(CW) |
||||
Таблица А.2
- Расчетные значения коэффициентов R(P),
R(W) для определения напряжений на стороне меньшего
диаметра компенсатора
|
|
r/h |
|||||||||||
|
3,0 |
0,500 |
0,475 |
0,450 |
0,425 |
0,400 |
0,350 |
0,300 |
0,250 |
0,200 |
0,150 |
0,100 |
|
|
s/h |
0,018 |
3,834 |
4,164 |
4,680 |
5,433 |
6,450 |
9,555 |
15,05 |
25,21 |
44,77 |
78,15 |
117,5 |
|
33,75 |
31,85 |
31,85 |
32,49 |
33,54 |
37,60 |
41,62 |
42,78 |
42,85 |
62,79 |
91,60 |
||
|
|
|
|
|
|
|
|
|
|
|
|
||
|
0,020 |
3,232 |
3,547 |
4,042 |
4,766 |
5,741 |
8,724 |
13,97 |
23,53 |
40,80 |
67,83 |
97,03 |
|
|
43,39 |
41,45 |
41,10 |
41,12 |
41,45 |
45,74 |
48,23 |
47,99 |
51,30 |
74,21 |
103,8 |
||
|
|
|
|
|
|
|
|
|
|
|
|
||
|
0,023 |
2,438 |
2,768 |
3,280 |
4,010 |
5,056 |
8,019 |
12,81 |
21,34 |
35,47 |
55,30 |
74,71 |
|
|
58,54 |
55,89 |
54,57 |
53,43 |
54,61 |
57,10 |
57,24 |
55,42 |
65,09 |
91,46 |
121,7 |
||
|
|
|
|
|
|
|
|
|
|
|
|
||
|
0,026 |
2,286 |
2,702 |
3,291 |
4,043 |
4,988 |
7,593 |
11,89 |
19,37 |
30,84 |
45,60 |
59,07 |
|
|
73,27 |
69,58 |
67,11 |
66,61 |
67,23 |
67,36 |
65,35 |
62,82 |
79,76 |
108,6 |
139,2 |
||
|
|
|
|
|
|
|
|
|
|
|
|
||
|
0,030 |
2,590 |
2,972 |
3,488 |
4,138 |
4,954 |
7,206 |
10,82 |
16,98 |
25,66 |
35,87 |
44,81 |
|
|
91,30 |
86,13 |
84,19 |
83,31 |
82,36 |
79,45 |
75,27 |
78,42 |
100,1 |
131,1 |
162,2 |
||
|
|
|
|
|
|
|
|
|
|
|
|
||
|
0,035 |
2,871 |
3,218 |
3,669 |
4,228 |
4,925 |
6,836 |
9,699 |
14,37 |
20,57 |
27,30 |
33,88 |
|
|
110,9 |
106,5 |
104,2 |
101,4 |
98,64 |
92,61 |
87,19 |
100,1 |
125,9 |
158,6 |
190,4 |
||
|
|
|
|
|
|
|
|
|
|
|
|
||
|
0,040 |
3,054 |
3,368 |
3,767 |
4,256 |
4,858 |
6,489 |
8,872 |
12,24 |
16,68 |
21,77 |
26,51 |
|
|
129,7 |
125,1 |
121,2 |
116,8 |
112,6 |
104,5 |
104,9 |
122,8 |
151,5 |
185,4 |
218,2 |
||
|
|
|
|
|
|
|
|
|
|
|
|
||
|
0,045 |
3,154 |
3,439 |
3,793 |
4,221 |
4,743 |
6,132 |
8,110 |
10,80 |
14,19 |
17,91 |
21,32 |
|
|
147,0 |
141,1 |
135,8 |
130,2 |
124,9 |
116,0 |
124,7 |
146,1 |
176,9 |
211,7 |
245,7 |
||
|
|
|
|
|
|
|
|
|
|
|
|
||
|
0,050 |
3,192 |
3,448 |
3,762 |
4,136 |
4,588 |
5,769 |
7,408 |
9,568 |
12,19 |
14,98 |
17,53 |
|
|
162,0 |
155,0 |
148,6 |
142,1 |
136,3 |
132,5 |
145,2 |
169,4 |
201,8 |
237,4 |
272,8 |
||
|
|
|
|
|
|
|
|
|
|
|
|
||
|
0,060 |
3,140 |
3,344 |
3,586 |
3,870 |
4,206 |
5,058 |
6,188 |
7,606 |
9,243 |
10,94 |
||
|
187,0 |
178,6 |
171,2 |
164,2 |
162,3 |
169,0 |
187,4 |
215,6 |
250,2 |
287,6 |
|||
|
|
|
|
|
|
|
|
|
|
|
|||
|
0,070 |
2,99 |
3,150 |
3,335 |
3,549 |
3,797 |
4,412 |
5,203 |
6,163 |
7,242 |
8,346 |
||
|
208,4 |
199,8 |
195,3 |
193,8 |
195,3 |
207,1 |
229,6 |
260,6 |
297,1 |
336,6 |
|||
|
|
|
|
|
|
|
|
|
|
|
|||
|
0,080 |
2,802 |
2,924 |
3,063 |
3,224 |
3,407 |
3,854 |
4,417 |
5,087 |
5,831 |
|
||
|
231,0 |
226,5 |
224,9 |
225,8 |
229,6 |
245,5 |
271,2 |
304,3 |
342,6 |
||||
|
|
|
|
|
|
|
|
|
|
||||
|
0,090 |
2,601 |
2,694 |
2,799 |
2,919 |
3,055 |
3,383 |
3,790 |
4,271 |
4,803 |
|||
|
257,3 |
254,9 |
255,5 |
258,5 |
264,3 |
283,6 |
311,8 |
346,9 |
387,0 |
||||
|
|
|
|
|
|
|
|
|
|
||||
|
0,100 |
2,406 |
2,476 |
2,555 |
2,644 |
2,746 |
2,988 |
3,288 |
3,641 |
|
|
R(P) |
|
|
284,2 |
283,9 |
286,5 |
291,4 |
298,9 |
321,1 |
351,5 |
388,3 |
R(W) |
||||
|
|
|
|
|
|
|
|
|
|
||||
Продолжение таблицы А.2
|
d/h |
|
r/h |
||||||||||
|
3,5 |
0,500 |
0,475 |
0,450 |
0,425 |
0,400 |
0,350 |
0,300 |
0,250 |
0,200 |
0,150 |
0,100 |
|
|
s/h |
0,018 |
3,580 |
4,017 |
4,705 |
5,693 |
7,007 |
10,96 |
17,81 |
30,09 |
51,75 |
84,70 |
119,2 |
|
40,17 |
38,37 |
37,94 |
37,79 |
39,25 |
42,55 |
43,99 |
43,19 |
47,09 |
67,28 |
92,30 |
||
|
|
|
|
|
|
|
|
|
|
|
|
||
|
0,020 |
2,880 |
3,350 |
4,066 |
5,065 |
6,435 |
10,29 |
16,74 |
27,95 |
46,49 |
72,51 |
97,86 |
|
|
50,24 |
47,95 |
46,85 |
47,06 |
48,31 |
50,10 |
49,93 |
48,11 |
56,28 |
78,58 |
104,0 |
||
|
|
|
|
|
|
|
|
|
|
|
|
||
|
0,023 |
2,729 |
3,292 |
4,069 |
5,049 |
6,268 |
9,595 |
15,41 |
25,01 |
39,60 |
58,15 |
74,87 |
|
|
64,94 |
61,60 |
60,87 |
60,91 |
61,01 |
60,36 |
58,02 |
55,72 |
70,83 |
95,41 |
121,2 |
||
|
|
|
|
|
|
|
|
|
|
|
|
||
|
0,026 |
3,066 |
3,575 |
4,260 |
5,119 |
6,190 |
9,126 |
14,22 |
22,34 |
33,82 |
47,34 |
58,95 |
|
|
78,53 |
75,62 |
74,71 |
73,57 |
72,44 |
69,45 |
65,43 |
67,66 |
85,87 |
112,0 |
138,1 |
||
|
|
|
|
|
|
|
|
|
|
|
|
||
|
0,030 |
3,413 |
3,869 |
4,466 |
5,207 |
6,129 |
8,654 |
12,74 |
19,17 |
27,59 |
36,79 |
45,10 |
|
|
96,65 |
93,56 |
91,15 |
88,44 |
85,79 |
80,15 |
74,92 |
84,79 |
106,2 |
133,6 |
160,3 |
||
|
|
|
|
|
|
|
|
|
|
|
|
||
|
0,035 |
3,699 |
4,102 |
4,616 |
5,247 |
6,025 |
8,129 |
11,21 |
15,85 |
21,69 |
27,85 |
33,95 |
|
|
117,5 |
112,7 |
108,0 |
104,2 |
99,96 |
92,11 |
92,15 |
107,3 |
131,5 |
160,0 |
187,6 |
||
|
|
|
|
|
|
|
|
|
|
|
|
||
|
0,040 |
3,849 |
4,207 |
4,653 |
5,194 |
5,853 |
7,606 |
10,09 |
13,47 |
17,68 |
22,28 |
26,49 |
|
|
134,9 |
128,7 |
123,2 |
117,5 |
112,2 |
103,7 |
112,0 |
130,3 |
156,4 |
185,7 |
214,6 |
||
|
|
|
|
|
|
|
|
|
|
|
|
||
|
0,045 |
3,898 |
4,214 |
4,600 |
5,064 |
5,622 |
7,079 |
9,089 |
11,72 |
14,88 |
18,22 |
21,26 |
|
|
149,6 |
142,3 |
135,7 |
129,3 |
123,5 |
121,2 |
132,5 |
153,3 |
180,8 |
210,9 |
241,3 |
||
|
|
|
|
|
|
|
|
|
|
|
|
||
|
0,050 |
3,876 |
4,153 |
4,486 |
4,882 |
5,353 |
6,562 |
8,189 |
10,26 |
12,67 |
15,18 |
17,45 |
|
|
162,3 |
154,2 |
147,0 |
140,2 |
135,5 |
139,5 |
153,4 |
176,1 |
204,7 |
235,7 |
267,8 |
||
|
|
|
|
|
|
|
|
|
|
|
|
||
|
0,060 |
3,702 |
3,911 |
4,156 |
4,442 |
4,776 |
5,611 |
6,690 |
8,008 |
9,492 |
11,01 |
|
|
|
184,1 |
175,5 |
169,9 |
167,9 |
168,5 |
177,3 |
195,8 |
220,8 |
251,2 |
284,3 |
|||
|
|
|
|
|
|
|
|
|
|
|
|||
|
0,070 |
3,446 |
3,600 |
3,779 |
3,984 |
4,221 |
4,802 |
5,534 |
6,409 |
7,379 |
8,369 |
||
|
206,5 |
202,0 |
200,0 |
200,2 |
202,9 |
215,5 |
236,6 |
264,2 |
296,3 |
331,8 |
|||
|
|
|
|
|
|
|
|
|
|
|
|||
|
0,080 |
3,169 |
3,282 |
3,410 |
3,558 |
3,727 |
4,135 |
4,644 |
5,246 |
5,911 |
|
||
|
233,6 |
231,0 |
231,0 |
233,1 |
237,6 |
253,4 |
276,8 |
306,2 |
340,2 |
||||
|
|
|
|
|
|
|
|
|
|
||||
|
0,090 |
2,900 |
2,982 |
3,074 |
3,180 |
3,301 |
3,591 |
3,952 |
4,379 |
4,852 |
|||
|
261,3 |
260,6 |
262,4 |
266,2 |
272,2 |
290,5 |
316,0 |
347,1 |
383,1 |
||||
|
|
|
|
|
|
|
|
|
|
||||
|
0,100 |
2,652 |
2,710 |
2,776 |
2,852 |
2,938 |
3,147 |
3,408 |
3,718 |
|
|
R(P) |
|
|
289,4 |
290,3 |
293,7 |
299,0 |
306,3 |
326,9 |
354,1 |
387,1 |
R(W) |
||||
|
|
|
|
|
|
|
|
|
|
||||
Продолжение таблицы А.2
|
d/h |
|
r/h |
||||||||||
|
4,0 |
0,500 |
0,475 |
0,450 |
0,425 |
0,400 |
0,350 |
0,300 |
0,250 |
0,200 |
0,150 |
0,100 |
|
|
s/h |
0,018 |
3,231 |
3,881 |
4,846 |
6,177 |
7,952 |
12,76 |
20,98 |
34,98 |
57,89 |
89,62 |
120,1 |
|
45,55 |
43,42 |
43,14 |
43,81 |
44,63 |
45,70 |
45,12 |
43,23 |
51,02 |
70,57 |
92,47 |
||
|
|
|
|
|
|
|
|
|
|
|
|
||
|
0,020 |
3,105 |
3,859 |
4,884 |
6,164 |
7,740 |
12,08 |
19,73 |
32,18 |
51,31 |
75,90 |
98,19 |
|
|
55,37 |
53,25 |
53,21 |
53,14 |
53,17 |
52,58 |
50,53 |
48,10 |
60,63 |
81,64 |
103,8 |
||
|
|
|
|
|
|
|
|
|
|
|
|
||
|
0,023 |
3,586 |
4,243 |
5,120 |
6,214 |
7,569 |
11,29 |
18,03 |
28,34 |
42,94 |
60,11 |
74,81 |
|
|
70,38 |
68,44 |
67,31 |
66,02 |
64,80 |
61,81 |
57,99 |
59,74 |
75,49 |
97,99 |
120,4 |
||
|
|
|
|
|
|
|
|
|
|
|
|
||
|
0,026 |
3,966 |
4,555 |
5,328 |
6,288 |
7,478 |
10,73 |
16,45 |
24,91 |
36,13 |
48,49 |
58,93 |
|
|
85,25 |
82,24 |
79,94 |
77,44 |
75,03 |
69,96 |
65,08 |
72,46 |
90,55 |
114,0 |
136,9 |
||
|
|
|
|
|
|
|
|
|
|
|
|
||
|
0,030 |
4,327 |
4,848 |
5,517 |
6,342 |
7,359 |
10,12 |
14,49 |
20,98 |
29,01 |
37,34 |
45,26 |
|
|
102,7 |
98,30 |
94,54 |
90,58 |
86,82 |
79,70 |
77,89 |
90,21 |
110,6 |
134,9 |
158,5 |
||
|
|
|
|
|
|
|
|
|
|
|
|
||
|
0,035 |
4,580 |
5,033 |
5,600 |
6,291 |
7,134 |
9,385 |
12,59 |
17,01 |
22,48 |
28,48 |
33,97 |
|
|
121,0 |
115,0 |
109,7 |
104,4 |
99,42 |
91,10 |
97,48 |
113,0 |
135,3 |
160,4 |
185,2 |
||
|
|
|
|
|
|
|
|
|
|
|
|
||
|
0,040 |
4,669 |
5,061 |
5,543 |
6,122 |
6,822 |
8,651 |
11,18 |
14,48 |
18,45 |
22,65 |
26,45 |
|
|
136,0 |
128,8 |
122,5 |
116,2 |
110,7 |
108,3 |
117,9 |
135,8 |
159,4 |
185,3 |
211,6 |
||
|
|
|
|
|
|
|
|
|
|
|
|
||
|
0,045 |
4,645 |
4,982 |
5,390 |
5,875 |
6,453 |
7,937 |
9,931 |
12,46 |
15,40 |
18,44 |
21,20 |
|
|
148,6 |
140,7 |
133,7 |
127,1 |
123,2 |
126,7 |
138,7 |
158,3 |
183,0 |
209,8 |
237,7 |
||
|
|
|
|
|
|
|
|
|
|
|
|
||
|
0,050 |
4,547 |
4,835 |
5,178 |
5,583 |
6,060 |
7,265 |
8,847 |
10,80 |
13,03 |
15,31 |
17,39 |
|
|
159,7 |
151,4 |
144,2 |
140,2 |
139,8 |
145,5 |
159,6 |
180,6 |
206,1 |
233,9 |
263,7 |
||
|
|
|
|
|
|
|
|
|
|
|
|
||
|
0,060 |
4,235 |
4,441 |
4,681 |
4,961 |
5,285 |
6,085 |
7,102 |
8,322 |
9,678 |
11,06 |
|
|
|
180,5 |
175,6 |
173,1 |
172,4 |
174,0 |
183,5 |
200,7 |
223,9 |
251,1 |
281,2 |
|||
|
|
|
|
|
|
|
|
|
|
|
|||
|
0,070 |
3,867 |
4,011 |
4,178 |
4,371 |
4,592 |
5,131 |
5,804 |
6,602 |
7,484 |
8,387 |
||
|
208,1 |
205,0 |
204,3 |
205,4 |
208,7 |
221,3 |
240,8 |
265,8 |
294,8 |
327,6 |
|||
|
|
|
|
|
|
|
|
|
|
|
|||
|
0,080 |
3,504 |
3,604 |
3,719 |
3,852 |
4,004 |
4,372 |
4,830 |
5,373 |
5,975 |
|
||
|
236,2 |
234,9 |
235,8 |
238,5 |
243,3 |
258,4 |
279,8 |
306,4 |
337,5 |
||||
|
|
|
|
|
|
|
|
|
|
||||
|
0,090 |
3,170 |
3,239 |
3,318 |
3,409 |
3,514 |
3,768 |
4,087 |
4,468 |
4,895 |
|||
|
264,6 |
264,8 |
267,2 |
271,3 |
277,3 |
294,5 |
317,7 |
346,1 |
379,4 |
||||
|
|
|
|
|
|
|
|
|
|
||||
|
0,100 |
2,874 |
2,920 |
2,973 |
3,035 |
3,107 |
3,285 |
3,511 |
3,784 |
|
|
R(P) |
|
|
292,9 |
294,6 |
298,3 |
303,6 |
310,7 |
329,8 |
354,7 |
384,9 |
R(W) |
||||
|
|
|
|
|
|
|
|
|
|
||||
Продолжение таблицы А.2
|
d/h |
|
r/h |
||||||||||
|
5,0 |
0,500 |
0,475 |
0,450 |
0,425 |
0,400 |
0,350 |
0,300 |
0,250 |
0,200 |
0,150 |
0,100 |
|
|
s/h |
0,018 |
4,559 |
5,621 |
7,016 |
8,737 |
10,84 |
17,20 |
27,69 |
44,00 |
67,65 |
96,11 |
120,7 |
|
55,71 |
53,89 |
52,86 |
51,79 |
50,84 |
48,57 |
45,54 |
45,61 |
57,41 |
74,72 |
92,14 |
||
|
|
|
|
|
|
|
|
|
|
|
|
||
|
0,020 |
5,056 |
6,000 |
7,235 |
8,763 |
10,64 |
16,36 |
25,72 |
39,63 |
58,64 |
80,18 |
98,19 |
|
|
66,21 |
63,65 |
61,82 |
59,89 |
58,10 |
54,29 |
50,31 |
53,86 |
67,26 |
85,26 |
102,9 |
||
|
|
|
|
|
|
|
|
|
|
|
|
||
|
0,023 |
5,637 |
6,458 |
7,519 |
8,830 |
10,45 |
15,15 |
22,94 |
33,84 |
47,72 |
62,44 |
74,64 |
|
|
80,44 |
76,74 |
73,72 |
70,59 |
67,65 |
61,97 |
58,18 |
66,84 |
82,06 |
100,8 |
118,9 |
||
|
|
|
|
|
|
|
|
|
|
|
|
||
|
0,026 |
6,034 |
6,764 |
7,695 |
8,837 |
10,24 |
14,03 |
20,38 |
28,96 |
39,28 |
49,75 |
59,41 |
|
|
92,79 |
88,03 |
83,93 |
79,77 |
75,90 |
68,97 |
69,57 |
80,20 |
96,72 |
115,9 |
134,7 |
||
|
|
|
|
|
|
|
|
|
|
|
|
||
|
0,030 |
6,327 |
6,959 |
7,748 |
8,708 |
9,876 |
12,97 |
17,37 |
23,66 |
30,84 |
38,33 |
45,42 |
|
|
106,6 |
100,7 |
95,41 |
90,23 |
85,53 |
79,49 |
85,50 |
98,20 |
115,9 |
135,7 |
155,5 |
||
|
|
|
|
|
|
|
|
|
|
|
|
||
|
0,035 |
6,419 |
6,944 |
7,588 |
8,360 |
9,288 |
11,69 |
14,97 |
19,18 |
24,14 |
29,30 |
33,96 |
|
|
120,6 |
113,6 |
107,4 |
101,5 |
96,44 |
97,57 |
106,0 |
120,6 |
139,4 |
160,0 |
181,3 |
||
|
|
|
|
|
|
|
|
|
|
|
|
||
|
0,040 |
6,313 |
6,747 |
7,269 |
7,889 |
8,624 |
10,49 |
12,96 |
16,03 |
19,54 |
23,12 |
26,38 |
|
|
132,2 |
124,6 |
118,0 |
113,4 |
112,6 |
116,3 |
126,6 |
142,5 |
162,2 |
183,8 |
206,9 |
||
|
|
|
|
|
|
|
|
|
|
|
|
||
|
0,045 |
6,095 |
6,449 |
6,870 |
7,366 |
7,947 |
9,401 |
11,28 |
13,57 |
16,12 |
18,72 |
21,11 |
|
|
142,3 |
134,6 |
131,3 |
129,6 |
129,7 |
135,2 |
147,1 |
164,1 |
184,6 |
207,2 |
232,3 |
||
|
|
|
|
|
|
|
|
|
|
|
|
||
|
0,050 |
5,816 |
6,104 |
6,442 |
6,838 |
7,298 |
8,435 |
9,882 |
11,61 |
13,53 |
15,49 |
17,30 |
|
|
153,5 |
149,3 |
146,9 |
146,1 |
147,0 |
154,1 |
167,3 |
185,2 |
206,5 |
230,3 |
257,5 |
||
|
|
|
|
|
|
|
|
|
|
|
|
||
|
0,060 |
5,203 |
5,390 |
5,606 |
5,857 |
6,147 |
6,855 |
7,741 |
8,789 |
9,946 |
11,13 |
|
|
|
182,1 |
179,4 |
178,6 |
179,3 |
181,7 |
191,4 |
206,6 |
226,3 |
249,4 |
276,0 |
|||
|
|
|
|
|
|
|
|
|
|
|
|||
|
0,070 |
4,614 |
4,732 |
4,869 |
5,029 |
5,214 |
5,663 |
6,228 |
6,898 |
7,643 |
8,421 |
||
|
210,8 |
209,6 |
210,2 |
212,3 |
215,9 |
227,8 |
244,8 |
266,1 |
291,3 |
320,9 |
|||
|
|
|
|
|
|
|
|
|
|
|
|||
|
0,080 |
4,093 |
4,166 |
4,251 |
4,352 |
4,470 |
4,760 |
5,130 |
5,576 |
6,081 |
|
||
|
239,6 |
239,6 |
241,5 |
244,7 |
249,4 |
263,1 |
281,8 |
304,9 |
332,4 |
||||
|
|
|
|
|
|
|
|
|
|
||||
|
0,090 |
3,646 |
3,689 |
3,741 |
3,803 |
3,878 |
4,066 |
4,313 |
4,619 |
4,972 |
|||
|
268,0 |
269,3 |
272,3 |
276,5 |
282,2 |
297,6 |
317,9 |
342,9 |
372,8 |
||||
|
|
|
|
|
|
|
|
|
|
||||
|
0,100 |
3,268 |
3,291 |
3,319 |
3,356 |
3,402 |
3,523 |
3,690 |
3,903 |
|
|
R(P) |
|
|
296,0 |
298,4 |
302,4 |
307,6 |
314,1 |
331,2 |
353,2 |
380,2 |
R(W) |
||||
|
|
|
|
|
|
|
|
|
|
||||
Продолжение таблицы А.2
|
d/h |
|
r/h |
||||||||||
|
7,0 |
0,500 |
0,475 |
0,450 |
0,425 |
0,400 |
0,350 |
0,300 |
0,250 |
0,200 |
0,150 |
0,100 |
|
|
s/h |
0,018 |
9,597 |
11,03 |
12,85 |
15,10 |
17,85 |
26,99 |
39,98 |
57,70 |
79,57 |
102,1 |
120,3 |
|
66,26 |
62,59 |
59,51 |
56,43 |
53,59 |
48,42 |
47,12 |
53,93 |
64,98 |
78,08 |
90,85 |
||
|
|
|
|
|
|
|
|
|
|
|
|
||
|
0,020 |
10,15 |
11,43 |
13,04 |
15,03 |
17,45 |
24,97 |
35,88 |
50,17 |
67,03 |
83,84 |
98,29 |
|
|
74,06 |
69,69 |
65,92 |
62,20 |
58,80 |
52,95 |
54,89 |
62,77 |
74,46 |
87,85 |
101,1 |
||
|
|
|
|
|
|
|
|
|
|
|
|
||
|
0,023 |
10,60 |
11,70 |
13,06 |
14,72 |
16,73 |
22,08 |
30,48 |
40,96 |
52,75 |
64,17 |
75,47 |
|
|
83,93 |
78,70 |
74,11 |
69,68 |
65,74 |
62,36 |
66,92 |
76,02 |
88,43 |
102,2 |
116,3 |
||
|
|
|
|
|
|
|
|
|
|
|
|
||
|
0,026 |
10,73 |
11,67 |
12,82 |
14,20 |
15,87 |
20,19 |
26,06 |
33,80 |
42,41 |
51,56 |
59,79 |
|
|
92,08 |
86,24 |
81,11 |
76,28 |
72,39 |
73,36 |
79,12 |
89,14 |
102,1 |
116,4 |
131,4 |
||
|
|
|
|
|
|
|
|
|
|
|
|
||
|
0,030 |
10,56 |
11,31 |
12,23 |
13,32 |
14,61 |
17,90 |
22,23 |
27,60 |
33,69 |
39,90 |
45,53 |
|
|
101,1 |
94,84 |
89,38 |
86,67 |
85,97 |
88,33 |
95,38 |
106,3 |
119,9 |
135,0 |
151,4 |
||
|
|
|
|
|
|
|
|
|
|
|
|
||
|
0,035 |
10,04 |
10,61 |
11,30 |
12,10 |
13,04 |
15,39 |
18,41 |
22,04 |
26,08 |
30,17 |
33,94 |
|
|
110,8 |
106,8 |
104,5 |
103,2 |
103,3 |
107,1 |
115,4 |
127,3 |
141,7 |
157,8 |
176,3 |
||
|
|
|
|
|
|
|
|
|
|
|
|
||
|
0,040 |
9,378 |
9,809 |
10,31 |
10,91 |
11,60 |
13,29 |
15,44 |
17,99 |
20,79 |
23,64 |
26,31 |
|
|
125,3 |
122,2 |
120,5 |
119,9 |
120,6 |
125,7 |
135,0 |
147,7 |
162,9 |
180,4 |
201,0 |
||
|
|
|
|
|
|
|
|
|
|
|
|
||
|
0,045 |
8,683 |
9,003 |
9,377 |
9,814 |
10,32 |
11,56 |
13,12 |
14,96 |
16,98 |
19,06 |
21,03 |
|
|
140,0 |
137,5 |
136,5 |
136,6 |
137,9 |
144,0 |
154,2 |
167,7 |
183,9 |
202,8 |
225,8 |
||
|
|
|
|
|
|
|
|
|
|
|
|
||
|
0,050 |
8,011 |
8,246 |
8,521 |
8,844 |
9,217 |
10,13 |
11,28 |
12,64 |
14,15 |
15,71 |
17,22 |
|
|
154,7 |
152,8 |
152,4 |
153,0 |
154,9 |
162,0 |
173,0 |
187,3 |
204,5 |
224,9 |
251,9 |
||
|
|
|
|
|
|
|
|
|
|
|
|
||
|
0,060 |
6,816 |
6,940 |
7,085 |
7,260 |
7,464 |
7,974 |
8,628 |
9,417 |
10,31 |
11,26 |
- |
|
|
183,7 |
183,0 |
183,7 |
185,4 |
188,2 |
197,1 |
209,7 |
225,7 |
245,2 |
268,8 |
|||
|
|
|
|
|
|
|
|
|
|
|
|||
|
0,070 |
5,846 |
5,904 |
5,976 |
6,067 |
6,177 |
6,465 |
6,850 |
7,331 |
7,893 |
8,507 |
||
|
212,2 |
212,6 |
214,2 |
216,8 |
220,5 |
231,0 |
245,3 |
263,2 |
285,2 |
314,5 |
|||
|
|
|
|
|
|
|
|
|
|
|
|||
|
0,080 |
5,071 |
5,091 |
5,119 |
5,162 |
5,217 |
5,375 |
5,604 |
5,906 |
6,272 |
|
||
|
240,2 |
241,5 |
244,0 |
247,5 |
252,0 |
264,1 |
280,1 |
300,0 |
324,6 |
||||
|
|
|
|
|
|
|
|
|
|
||||
|
0,090 |
4,451 |
4,448 |
4,450 |
4,463 |
4,485 |
4,564 |
4,697 |
4,887 |
5,131 |
|||
|
267,6 |
269,8 |
273,2 |
277,4 |
282,7 |
296,4 |
314,2 |
336,2 |
366,5 |
||||
|
|
|
|
|
|
|
|
|
|
||||
|
0,100 |
3,950 |
3,932 |
3,919 |
3,913 |
3,915 |
3,944 |
4,015 |
4,133 |
|
|
R(P) |
|
|
294,5 |
297,5 |
301,7 |
306,7 |
312,8 |
328,2 |
347,7 |
371,9 |
R(W) |
||||
|
|
|
|
|
|
|
|
|
|
||||
Продолжение таблицы А.2
|
d/h |
|
r/h |
||||||||||
|
10 |
0,500 |
0,475 |
0,450 |
0,425 |
0,400 |
0,350 |
0,300 |
0,250 |
0,200 |
0,150 |
0,100 |
|
|
s/h |
0,018 |
19,18 |
21,07 |
23,40 |
26,22 |
29,61 |
39,38 |
52,93 |
69,41 |
87,49 |
104,8 |
121,5 |
|
65,73 |
61,32 |
57,46 |
53,82 |
50,67 |
50,58 |
54,22 |
60,81 |
69,46 |
79,08 |
89,20 |
||
|
|
|
|
|
|
|
|
|
|
|
|
||
|
0,020 |
19,18 |
20,81 |
22,79 |
25,18 |
28,03 |
35,36 |
45,74 |
58,49 |
72,18 |
86,23 |
99,32 |
|
|
70,57 |
65,85 |
61,74 |
57,96 |
57,07 |
58,03 |
62,28 |
69,32 |
78,28 |
88,25 |
99,05 |
||
|
|
|
|
|
|
|
|
|
|
|
|
||
|
0,023 |
18,67 |
19,97 |
21,53 |
23,39 |
25,58 |
31,10 |
38,29 |
47,08 |
56,93 |
66,90 |
75,98 |
|
|
76,78 |
71,84 |
69,23 |
67,88 |
67,47 |
69,26 |
74,26 |
81,85 |
91,25 |
101,8 |
113,8 |
||
|
|
|
|
|
|
|
|
|
|
|
|
||
|
0,026 |
17,83 |
18,86 |
20,08 |
21,52 |
23,20 |
27,39 |
32,75 |
39,17 |
46,26 |
53,44 |
60,05 |
|
|
83,47 |
80,69 |
78,94 |
77,96 |
77,91 |
80,43 |
86,03 |
94,10 |
104,0 |
115,3 |
128,4 |
||
|
|
|
|
|
|
|
|
|
|
|
|
||
|
0,030 |
16,49 |
17,24 |
18,11 |
19,14 |
20,33 |
23,27 |
26,97 |
31,35 |
36,16 |
41,05 |
45,64 |
|
|
95,52 |
93,17 |
91,87 |
91,35 |
91,75 |
95,10 |
101,4 |
110,1 |
120,7 |
133,0 |
147,8 |
||
|
|
|
|
|
|
|
|
|
|
|
|
||
|
0,035 |
14,79 |
15,28 |
15,85 |
16,52 |
17,31 |
19,23 |
21,64 |
24,49 |
27,63 |
30,87 |
33,97 |
|
|
110,4 |
108,6 |
107,9 |
107,9 |
108,8 |
113,0 |
120,1 |
129,6 |
141,2 |
155,0 |
172,0 |
||
|
|
|
|
|
|
|
|
|
|
|
|
||
|
0,040 |
13,21 |
13,53 |
13,90 |
14,35 |
14,86 |
16,14 |
17,76 |
19,70 |
21,86 |
24,12 |
26,33 |
|
|
125,1 |
123,8 |
123,6 |
124,1 |
125,4 |
130,5 |
138,4 |
148,7 |
161,4 |
176,8 |
196,7 |
||
|
|
|
|
|
|
|
|
|
|
|
|
||
|
0,045 |
11,83 |
12,03 |
12,27 |
12,56 |
12,90 |
13,76 |
14,88 |
16,23 |
17,77 |
19,41 |
21,04 |
|
|
139,6 |
138,8 |
139,0 |
140,0 |
141,8 |
147,6 |
156,3 |
167,5 |
181,4 |
198,4 |
222,1 |
||
|
|
|
|
|
|
|
|
|
|
|
|
||
|
0,050 |
10,65 |
10,76 |
10,91 |
11,09 |
11,32 |
11,90 |
12,68 |
13,65 |
14,77 |
15,99 |
17,23 |
|
|
153,8 |
153,5 |
154,2 |
155,6 |
157,8 |
164,4 |
173,9 |
186,1 |
201,2 |
219,9 |
247,6 |
||
|
|
|
|
|
|
|
|
|
|
|
|
||
|
0,060 |
8,760 |
8,782 |
8,820 |
8,882 |
8,968 |
9,224 |
9,608 |
10,12 |
10,75 |
11,47 |
|
|
|
181,7 |
182,3 |
183,9 |
186,0 |
189,0 |
197,3 |
208,4 |
222,6 |
240,3 |
264,2 |
|||
|
|
|
|
|
|
|
|
|
|
|
|||
|
0,070 |
7,370 |
7,345 |
7,329 |
7,329 |
7,345 |
7,434 |
7,612 |
7,885 |
8,249 |
8,688 |
||
|
209,0 |
210,4 |
212,8 |
215,7 |
219,5 |
229,3 |
242,3 |
258,6 |
279,0 |
310,5 |
|||
|
|
|
|
|
|
|
|
|
|
|
|||
|
0,080 |
6,324 |
6,275 |
6,231 |
6,200 |
6,178 |
6,176 |
6,238 |
6,372 |
6,580 |
|
||
|
235,7 |
237,9 |
241,0 |
244,7 |
249,3 |
260,7 |
275,5 |
294,1 |
320,7 |
||||
|
|
|
|
|
|
|
|
|
|
||||
|
0,090 |
5,518 |
5,457 |
5,399 |
5,350 |
5,308 |
5,254 |
5,248 |
5,298 |
5,407 |
|||
|
262,0 |
264,9 |
268,8 |
273,3 |
278,6 |
291,7 |
308,3 |
330,0 |
363,4 |
||||
|
|
|
|
|
|
|
|
|
|
||||
|
0,100 |
4,882 |
4,815 |
4,751 |
4,693 |
4,640 |
4,556 |
4,508 |
4,504 |
|
|
R(P) |
|
|
287,9 |
291,5 |
296,1 |
301,3 |
307,4 |
322,1 |
340,7 |
369,6 |
R(W) |
||||
|
|
|
|
|
|
|
|
|
|
||||
Продолжение таблицы А.2
|
d/h |
|
r/h |
||||||||||
|
15 |
0,500 |
0,475 |
0,450 |
0,425 |
0,400 |
0,350 |
0,300 |
0,250 |
0,200 |
0,150 |
0,100 |
|
|
s/h |
0,018 |
35,91 |
38,04 |
40,56 |
43,54 |
47,03 |
55,69 |
66,74 |
79,94 |
94,50 |
109,2 |
122,7 |
|
58,54 |
56,57 |
55,32 |
54,58 |
54,47 |
55,99 |
59,56 |
64,77 |
71,22 |
78,70 |
87,50 |
||
|
|
|
|
|
|
|
|
|
|
|
|
||
|
0,020 |
33,95 |
35,63 |
37,60 |
39,94 |
42,65 |
49,33 |
57,76 |
67,74 |
78,70 |
89,81 |
100,2 |
|
|
64,67 |
62,89 |
61,83 |
61,28 |
61,37 |
63,27 |
67,15 |
72,65 |
79,45 |
87,46 |
97,10 |
||
|
|
|
|
|
|
|
|
|
|
|
|
||
|
0,023 |
30,90 |
32,07 |
33,44 |
35,05 |
36,92 |
41,52 |
47,28 |
54,09 |
61,57 |
69,23 |
76,51 |
|
|
73,73 |
72,24 |
71,47 |
71,21 |
71,57 |
73,96 |
78,30 |
84,25 |
91,64 |
100,5 |
111,5 |
||
|
|
|
|
|
|
|
|
|
|
|
|
||
|
0,026 |
28,01 |
28,81 |
29,75 |
30,87 |
32,17 |
35,38 |
39,43 |
44,23 |
49,56 |
55,09 |
60,43 |
|
|
82,63 |
81,43 |
80,94 |
80,94 |
81,56 |
84,43 |
89,21 |
95,66 |
103,7 |
113,5 |
125,8 |
||
|
|
|
|
|
|
|
|
|
|
|
|
||
|
0,030 |
24,59 |
25,06 |
25,62 |
26,31 |
27,12 |
29,14 |
31,75 |
34,89 |
38,44 |
42,20 |
45,92 |
|
|
94,28 |
93,45 |
93,30 |
93,65 |
94,59 |
98,07 |
103,5 |
110,6 |
119,6 |
130,7 |
144,8 |
||
|
|
|
|
|
|
|
|
|
|
|
|
||
|
0,035 |
21,06 |
21,28 |
21,56 |
21,92 |
22,36 |
23,51 |
25,06 |
27,00 |
29,26 |
31,71 |
34,20 |
|
|
108,5 |
108,1 |
108,4 |
109,2 |
110,5 |
114,7 |
120,9 |
129,1 |
139,3 |
152,0 |
169,3 |
||
|
|
|
|
|
|
|
|
|
|
|
|
||
|
0,040 |
18,26 |
18,33 |
18,44 |
18,61 |
18,83 |
19,47 |
20,41 |
21,64 |
23,12 |
24,79 |
26,53 |
|
|
122,5 |
122,5 |
123,2 |
124,3 |
126,0 |
131,1 |
138,1 |
147,3 |
158,8 |
173,2 |
194,1 |
||
|
|
|
|
|
|
|
|
|
|
|
|
||
|
0,045 |
16,02 |
16,00 |
16,01 |
16,07 |
16,16 |
16,49 |
17,04 |
17,83 |
18,83 |
19,99 |
21,24 |
|
|
136,2 |
136,6 |
137,7 |
139,2 |
141,3 |
147,2 |
155,1 |
165,3 |
178,1 |
194,4 |
219,0 |
||
|
|
|
|
|
|
|
|
|
|
|
|
||
|
0,050 |
14,21 |
14,15 |
14,10 |
14,08 |
14,09 |
14,22 |
14,52 |
15,02 |
15,69 |
16,51 |
17,43 |
|
|
149,7 |
150,5 |
152,0 |
153,9 |
156,4 |
163,0 |
171,9 |
183,2 |
197,4 |
216,6 |
244,0 |
||
|
|
|
|
|
|
|
|
|
|
|
|
||
|
0,060 |
11,52 |
11,40 |
11,29 |
11,20 |
11,12 |
11,04 |
11,07 |
11,22 |
11,51 |
11,92 |
|
|
|
176,4 |
177,9 |
180,2 |
182,8 |
186,1 |
194,3 |
205,0 |
218,5 |
235,5 |
261,7 |
|||
|
|
|
|
|
|
|
|
|
|
|
|||
|
0,070 |
9,640 |
9,501 |
9,367 |
9,244 |
9,133 |
8,952 |
8,846 |
8,831 |
8,913 |
9,093 |
||
|
202,5 |
204,8 |
207,8 |
211,2 |
215,2 |
225,1 |
237,7 |
253,5 |
276,9 |
307,0 |
|||
|
|
|
|
|
|
|
|
|
|
|
|||
|
0,080 |
8,262 |
8,120 |
7,979 |
7,846 |
7,720 |
7,496 |
7,322 |
7,214 |
7,180 |
|
||
|
228,3 |
231,3 |
235,0 |
239,1 |
243,9 |
255,5 |
270,0 |
290,5 |
318,5 |
||||
|
|
|
|
|
|
|
|
|
|
||||
|
0,090 |
7,217 |
7,077 |
6,937 |
6,803 |
6,673 |
6,430 |
6,223 |
6,063 |
5,960 |
|||
|
253,8 |
257,5 |
261,9 |
266,7 |
272,3 |
285,5 |
303,3 |
329,1 |
360,2 |
||||
|
|
|
|
|
|
|
|
|
|
||||
|
0,100 |
6,399 |
6,264 |
6,129 |
5,997 |
5,868 |
5,620 |
5,397 |
5,208 |
|
|
R(P) |
|
|
279,0 |
283,3 |
288,4 |
294,0 |
300,3 |
315,4 |
339,4 |
367,9 |
R(W) |
||||
|
|
|
|
|
|
|
|
|
|
||||
Продолжение таблицы А.2
|
d/h |
|
r/h |
||||||||||
|
20 |
0,500 |
0,475 |
0,450 |
0,425 |
0,400 |
0,350 |
0,300 |
0,250 |
0,200 |
0,150 |
0,100 |
|
|
s/h |
0,018 |
50,86 |
52,72 |
54,89 |
57,46 |
60,44 |
67,76 |
76,94 |
87,78 |
99,71 |
111,9 |
123,6 |
|
57,96 |
56,81 |
56,21 |
56,00 |
56,25 |
58,02 |
61,25 |
65,72 |
71,31 |
78,08 |
86,53 |
||
|
|
|
|
|
|
|
|
|
|
|
|
||
|
0,020 |
46,65 |
47,98 |
49,55 |
51,42 |
53,59 |
58,95 |
65,72 |
73,75 |
82,66 |
91,91 |
100,9 |
|
|
63,89 |
62,92 |
62,49 |
62,45 |
62,86 |
64,93 |
68,45 |
73,25 |
79,28 |
86,67 |
96,01 |
||
|
|
|
|
|
|
|
|
|
|
|
|
||
|
0,023 |
41,03 |
41,82 |
42,77 |
43,92 |
45,28 |
48,69 |
53,09 |
58,41 |
64,42 |
70,77 |
77,05 |
|
|
72,60 |
71,90 |
71,73 |
71,93 |
72,58 |
75,09 |
79,07 |
84,41 |
91,14 |
99,50 |
110,2 |
||
|
|
|
|
|
|
|
|
|
|
|
|
||
|
0,026 |
36,29 |
36,74 |
37,28 |
37,98 |
38,82 |
41,02 |
43,94 |
47,58 |
51,77 |
56,31 |
60,89 |
|
|
81,14 |
80,70 |
80,77 |
81,21 |
82,09 |
85,06 |
89,52 |
95,44 |
102,9 |
112,3 |
124,3 |
||
|
|
|
|
|
|
|
|
|
|
|
|
||
|
0,030 |
31,17 |
31,32 |
31,54 |
31,87 |
32,29 |
33,49 |
35,21 |
37,47 |
40,17 |
43,19 |
46,31 |
|
|
92,32 |
92,20 |
92,59 |
93,34 |
94,52 |
98,11 |
103,3 |
110,0 |
118,5 |
129,2 |
143,7 |
||
|
|
|
|
|
|
|
|
|
|
|
|
||
|
0,035 |
26,26 |
26,22 |
26,22 |
26,28 |
26,41 |
26,91 |
27,78 |
29,03 |
30,64 |
32,53 |
34,56 |
|
|
106,0 |
106,3 |
107,1 |
108,2 |
109,8 |
114,2 |
120,2 |
128,0 |
137,8 |
150,3 |
168,2 |
||
|
|
|
|
|
|
|
|
|
|
|
|
||
|
0,040 |
22,56 |
22,41 |
22,29 |
22,22 |
22,19 |
22,30 |
22,68 |
23,36 |
24,32 |
25,52 |
26,86 |
|
|
119,5 |
120,2 |
121,3 |
122,8 |
124,8 |
130,0 |
136,9 |
145,8 |
157,0 |
171,3 |
192,7 |
||
|
|
|
|
|
|
|
|
|
|
|
|
||
|
0,045 |
19,70 |
19,50 |
19,31 |
19,16 |
19,05 |
18,94 |
19,02 |
19,34 |
19,89 |
20,65 |
21,55 |
|
|
132,8 |
133,9 |
135,4 |
137,3 |
139,6 |
145,6 |
153,5 |
163,5 |
176,1 |
193,4 |
217,4 |
||
|
|
|
|
|
|
|
|
|
|
|
|
||
|
0,050 |
17,44 |
17,21 |
16,99 |
16,80 |
16,64 |
16,39 |
16,30 |
16,38 |
16,66 |
17,12 |
17,72 |
|
|
146,0 |
147,4 |
149,3 |
151,6 |
154,3 |
161,1 |
169,9 |
181,1 |
195,1 |
215,6 |
242,1 |
||
|
|
|
|
|
|
|
|
|
|
|
|
||
|
0,060 |
14,13 |
13,89 |
13,65 |
13,43 |
13,21 |
12,84 |
12,56 |
12,39 |
12,36 |
12,46 |
|
|
|
172,1 |
174,2 |
176,8 |
179,8 |
183,3 |
191,8 |
202,5 |
215,9 |
235,1 |
260,2 |
|||
|
|
|
|
|
|
|
|
|
|
|
|||
|
0,070 |
11,84 |
11,61 |
11,37 |
11,14 |
10,92 |
10,51 |
10,15 |
9,862 |
9,672 |
9,589 |
||
|
197,9 |
200,6 |
204,0 |
207,7 |
211,9 |
222,1 |
234,7 |
252,3 |
276,0 |
305,0 |
|||
|
|
|
|
|
|
|
|
|
|
|
|||
|
0,080 |
10,18 |
9,954 |
9,729 |
9,508 |
9,290 |
8,869 |
8,481 |
8,143 |
7,873 |
|
||
|
223,3 |
226,8 |
230,8 |
235,2 |
240,2 |
252,0 |
268,0 |
290,2 |
317,1 |
||||
|
|
|
|
|
|
|
|
|
|
||||
|
0,090 |
8,914 |
8,705 |
8,494 |
8,284 |
8,074 |
7,663 |
7,270 |
6,911 |
6,599 |
|||
|
248,5 |
252,6 |
257,3 |
262,4 |
268,1 |
282,6 |
303,5 |
328,4 |
358,5 |
||||
|
|
|
|
|
|
|
|
|
|
||||
|
0,100 |
7,925 |
7,730 |
7,532 |
7,334 |
7,136 |
6,740 |
6,354 |
5,989 |
|
|
R(P) |
|
|
273,4 |
278,1 |
283,5 |
289,3 |
296,5 |
316,1 |
339,2 |
366,7 |
R(W) |
||||
|
|
|
|
|
|
|
|
|
|
||||
Продолжение таблицы А.2
|
d/h |
|
r/h |
||||||||||
|
30 |
0,500 |
0,475 |
0,450 |
0,425 |
0,400 |
0,350 |
0,300 |
0,250 |
0,200 |
0,150 |
0,100 |
|
|
s/h |
0,018 |
75,24 |
76,10 |
77,17 |
78,55 |
80,23 |
84,64 |
90,56 |
97,96 |
106,5 |
115,8 |
125,2 |
|
56,28 |
55,95 |
55,97 |
56,24 |
56,80 |
58,77 |
61,75 |
65,74 |
70,80 |
77,19 |
85,46 |
||
|
|
|
|
|
|
|
|
|
|
|
|
||
|
0,020 |
67,25 |
67,65 |
68,20 |
68,99 |
70,01 |
72,84 |
76,86 |
82,07 |
88,29 |
95,19 |
102,3 |
|
|
61,85 |
61,68 |
61,86 |
62,28 |
63,00 |
65,27 |
68,59 |
72,98 |
78,56 |
85,64 |
94,83 |
||
|
|
|
|
|
|
|
|
|
|
|
|
||
|
0,023 |
57,61 |
57,60 |
57,68 |
57,92 |
58,32 |
59,68 |
61,90 |
65,01 |
68,94 |
73,48 |
78,30 |
|
|
70,08 |
70,15 |
70,55 |
71,20 |
72,15 |
74,89 |
78,74 |
83,77 |
90,15 |
98,27 |
109,0 |
||
|
|
|
|
|
|
|
|
|
|
|
|
||
|
0,026 |
50,14 |
49,89 |
49,70 |
49,63 |
49,67 |
50,16 |
51,30 |
53,13 |
55,63 |
58,67 |
62,02 |
|
|
78,19 |
78,49 |
79,13 |
80,00 |
81,18 |
84,40 |
88,80 |
94,47 |
101,7 |
110,9 |
123,4 |
||
|
|
|
|
|
|
|
|
|
|
|
|
||
|
0,030 |
42,54 |
42,12 |
41,75 |
41,46 |
41,23 |
41,06 |
41,35 |
42,15 |
43,47 |
45,25 |
47,35 |
|
|
88,89 |
89,49 |
90,42 |
91,59 |
93,08 |
96,96 |
102,1 |
108,7 |
117,0 |
127,6 |
142,8 |
||
|
|
|
|
|
|
|
|
|
|
|
|
||
|
0,035 |
35,60 |
35,11 |
34,63 |
34,21 |
33,83 |
33,24 |
32,96 |
33,04 |
33,51 |
34,36 |
35,50 |
|
|
102,1 |
103,1 |
104,4 |
105,9 |
107,8 |
112,5 |
118,6 |
126,3 |
136,0 |
148,8 |
167,0 |
||
|
|
|
|
|
|
|
|
|
|
|
|
||
|
0,040 |
30,53 |
30,01 |
29,51 |
29,03 |
28,58 |
27,80 |
27,22 |
26,91 |
26,89 |
27,18 |
27,74 |
|
|
115,2 |
116,5 |
118,2 |
120,1 |
122,4 |
127,9 |
134,9 |
143,8 |
154,9 |
170,7 |
191,3 |
||
|
|
|
|
|
|
|
|
|
|
|
|
||
|
0,045 |
26,68 |
26,17 |
25,66 |
25,17 |
24,70 |
23,83 |
23,10 |
22,56 |
22,52 |
22,19 |
22,38 |
|
|
128,3 |
129,9 |
131,9 |
134,2 |
136,8 |
143,2 |
151,2 |
161,2 |
174,2 |
192,5 |
215,7 |
||
|
|
|
|
|
|
|
|
|
|
|
|
||
|
0,050 |
23,67 |
23,18 |
22,68 |
22,19 |
21,72 |
20,81 |
20,01 |
19,34 |
18,85 |
18,57 |
18,51 |
|
|
141,2 |
143,2 |
145,5 |
148,2 |
151,2 |
158,4 |
167,4 |
178,5 |
194,2 |
214,5 |
240,2 |
||
|
|
|
|
|
|
|
|
|
|
|
|
||
|
0,060 |
19,29 |
18,83 |
18,37 |
17,92 |
17,47 |
16,58 |
15,73 |
14,95 |
14,28 |
13,76 |
|
|
|
166,9 |
169,5 |
172,6 |
175,9 |
179,7 |
188,6 |
199,5 |
214,8 |
234,5 |
258,6 |
|||
|
|
|
|
|
|
|
|
|
|
|
|||
|
0,070 |
16,25 |
15,84 |
15,43 |
15,01 |
14,59 |
13,75 |
12,92 |
12,13 |
11,40 |
10,77 |
||
|
192,3 |
195,6 |
199,3 |
203,4 |
207,9 |
218,4 |
233,4 |
252,2 |
274,9 |
303,0 |
|||
|
|
|
|
|
|
|
|
|
|
|
|||
|
0,080 |
14,04 |
13,67 |
13,29 |
12,91 |
12,52 |
11,74 |
10,96 |
10,18 |
9,444 |
|
||
|
217,5 |
221,4 |
225,8 |
230,5 |
235,8 |
250,4 |
268,4 |
289,7 |
315,6 |
||||
|
|
|
|
|
|
|
|
|
|
||||
|
0,090 |
12,35 |
12,01 |
11,67 |
11,32 |
10,96 |
10,24 |
9,501 |
8,763 |
8,038 |
|||
|
242,5 |
247,0 |
252,0 |
258,8 |
266,3 |
283,4 |
303,5 |
327,5 |
356,5 |
||||
|
|
|
|
|
|
|
|
|
|
||||
|
0,100 |
11,02 |
10,71 |
10,39 |
10,07 |
9,746 |
9,075 |
8,385 |
7,685 |
|
|
R(P) |
|
|
267,5 |
274,2 |
281,5 |
289,2 |
297,6 |
316,6 |
338,9 |
365,4 |
R(W) |
||||
|
|
|
|
|
|
|
|
|
|
||||
Продолжение таблицы А.2
|
d/h |
|
r/h |
||||||||||
|
45 |
0,500 |
0,475 |
0,450 |
0,425 |
0,400 |
0,350 |
0,300 |
0,250 |
0,200 |
0,150 |
0,100 |
|
|
s/h |
0,018 |
105,0 |
104,4 |
103,9 |
103,7 |
103,6 |
104,4 |
106,5 |
110,1 |
115,1 |
121,2 |
128,0 |
|
54,05 |
54,26 |
54,69 |
55,29 |
56,09 |
58,29 |
61,30 |
65,19 |
70,13 |
76,45 |
84,71 |
||
|
|
|
|
|
|
|
|
|
|
|
|
||
|
0,020 |
93,04 |
92,17 |
91,39 |
90,79 |
90,35 |
90,09 |
90,86 |
92,80 |
95,90 |
100,0 |
104,8 |
|
|
59,40 |
59,75 |
60,34 |
61,08 |
62,04 |
64,57 |
67,95 |
72,28 |
77,78 |
84,81 |
94,22 |
||
|
|
|
|
|
|
|
|
|
|
|
|
||
|
0,023 |
79,20 |
78,14 |
77,14 |
76,25 |
75,47 |
74,32 |
73,88 |
74,30 |
75,61 |
77,78 |
80,59 |
|
|
67,36 |
67,93 |
68,73 |
69,70 |
70,89 |
73,91 |
77,86 |
82,88 |
89,22 |
97,32 |
108,6 |
||
|
|
|
|
|
|
|
|
|
|
|
|
||
|
0,026 |
68,78 |
67,66 |
66,57 |
65,56 |
64,61 |
63,00 |
61,90 |
61,42 |
61,66 |
62,60 |
64,14 |
|
|
75,26 |
76,05 |
77,07 |
78,26 |
79,67 |
83,20 |
87,72 |
93,43 |
100,6 |
109,8 |
122,9 |
||
|
|
|
|
|
|
|
|
|
|
|
|
||
|
0,030 |
58,40 |
57,28 |
56,17 |
55,11 |
54,08 |
52,19 |
50,63 |
49,50 |
48,88 |
48,82 |
49,30 |
|
|
85,75 |
86,80 |
88,11 |
89,59 |
91,31 |
95,51 |
100,8 |
107,4 |
115,8 |
126,9 |
142,1 |
||
|
|
|
|
|
|
|
|
|
|
|
|
||
|
0,035 |
49,04 |
47,98 |
46,92 |
45,87 |
44,84 |
42,86 |
41,06 |
39,53 |
38,35 |
37,59 |
37,29 |
|
|
98,77 |
100,2 |
101,8 |
103,7 |
105,8 |
110,8 |
117,1 |
124,9 |
134,6 |
148,5 |
166,2 |
||
|
|
|
|
|
|
|
|
|
|
|
|
||
|
0,040 |
42,23 |
41,24 |
40,24 |
39,24 |
38,25 |
36,30 |
34,44 |
32,75 |
31,30 |
30,16 |
29,40 |
|
|
111,7 |
113,4 |
115,4 |
117,6 |
120,1 |
126,0 |
133,2 |
142,2 |
154,3 |
170,2 |
190,3 |
||
|
|
|
|
|
|
|
|
|
|
|
|
||
|
0,045 |
37,06 |
36,14 |
35,21 |
34,27 |
33,33 |
31,46 |
29,62 |
27,89 |
26,31 |
24,96 |
23,94 |
|
|
124,6 |
126,7 |
129,0 |
131,6 |
134,4 |
141,1 |
149,3 |
159,7 |
174,1 |
191,9 |
214,5 |
||
|
|
|
|
|
|
|
|
|
|
|
|
||
|
0,050 |
33,01 |
32,16 |
31,29 |
30,41 |
29,53 |
27,74 |
25,97 |
24,24 |
22,62 |
21,17 |
19,98 |
|
|
137,5 |
139,8 |
142,5 |
145,4 |
148,6 |
156,2 |
165,4 |
178,1 |
194,0 |
213,7 |
238,8 |
||
|
|
|
|
|
|
|
|
|
|
|
|
||
|
0,060 |
27,07 |
26,33 |
25,58 |
24,81 |
24,03 |
22,43 |
20,81 |
19,18 |
17,58 |
16,07 |
|
|
|
163,0 |
165,9 |
169,3 |
172,9 |
176,8 |
186,0 |
199,2 |
214,9 |
233,9 |
257,5 |
|||
|
|
|
|
|
|
|
|
|
|
|
|||
|
0,070 |
22,93 |
22,29 |
21,62 |
20,94 |
20,25 |
18,82 |
17,35 |
15,84 |
14,33 |
12,85 |
||
|
188,3 |
191,8 |
195,8 |
200,1 |
205,5 |
218,5 |
233,8 |
252,0 |
274,1 |
301,6 |
|||
|
|
|
|
|
|
|
|
|
|
|
|||
|
0,080 |
19,89 |
19,31 |
18,72 |
18,12 |
17,50 |
16,21 |
14,87 |
13,49 |
12,07 |
|
||
|
213,3 |
217,9 |
223,6 |
229,7 |
236,3 |
251,1 |
268,5 |
289,3 |
314,5 |
||||
|
|
|
|
|
|
|
|
|
|
||||
|
0,090 |
17,55 |
17,04 |
16,50 |
15,96 |
15,40 |
14,24 |
13,02 |
11,74 |
10,42 |
|||
|
240,6 |
246,5 |
253,0 |
259,8 |
267,2 |
283,8 |
303,4 |
326,7 |
355,1 |
||||
|
|
|
|
|
|
|
|
|
|
||||
|
0,100 |
15,70 |
15,24 |
14,75 |
14,26 |
13,75 |
12,69 |
11,57 |
10,39 |
|
|
R(P) |
|
|
268,8 |
275,4 |
282,5 |
290,1 |
298,3 |
315,8 |
338,5 |
364,4 |
R(W) |
||||
|
|
|
|
|
|
|
|
|
|
||||
Продолжение таблицы А.2
|
d/h |
|
r/h |
||||||||||
|
60 |
0,500 |
0,475 |
0,450 |
0,425 |
0,400 |
0,350 |
0,300 |
0,250 |
0,200 |
0,150 |
0,100 |
|
|
s/h |
0,018 |
132,2 |
130,3 |
128,5 |
126,8 |
125,4 |
123,1 |
121,9 |
122,1 |
123,8 |
126,9 |
131,1 |
|
52,56 |
53,02 |
53,66 |
54,43 |
55,37 |
57,74 |
60,83 |
64,74 |
69,70 |
76,03 |
84,55 |
||
|
|
|
|
|
|
|
|
|
|
|
|
||
|
0,020 |
117,1 |
115,1 |
113,2 |
111,4 |
109,8 |
106,9 |
104,8 |
103,8 |
103,9 |
105,3 |
107,7 |
|
|
57,83 |
58,43 |
59,22 |
60,13 |
61,22 |
63,93 |
67,40 |
71,78 |
77,30 |
84,35 |
94,06 |
||
|
|
|
|
|
|
|
|
|
|
|
|
||
|
0,023 |
99,83 |
97,89 |
95,96 |
94,10 |
92,30 |
88,97 |
86,17 |
84,09 |
82,88 |
82,63 |
83,29 |
|
|
65,70 |
66,51 |
67,51 |
68,65 |
69,96 |
73,17 |
77,23 |
82,30 |
88,68 |
96,81 |
108,3 |
||
|
|
|
|
|
|
|
|
|
|
|
|
||
|
0,026 |
86,91 |
85,04 |
83,17 |
81,33 |
79,53 |
76,07 |
72,94 |
70,31 |
68,32 |
67,09 |
66,65 |
|
|
73,54 |
74,55 |
75,76 |
77,11 |
78,66 |
82,37 |
87,01 |
92,78 |
100,0 |
109,6 |
122,7 |
||
|
|
|
|
|
|
|
|
|
|
|
|
||
|
0,030 |
74,05 |
72,31 |
70,56 |
68,81 |
67,07 |
63,65 |
60,40 |
57,44 |
54,90 |
52,92 |
51,61 |
|
|
83,96 |
85,23 |
86,72 |
88,35 |
90,20 |
94,59 |
100,0 |
106,7 |
115,1 |
126,8 |
141,8 |
||
|
|
|
|
|
|
|
|
|
|
|
|
||
|
0,035 |
62,45 |
60,87 |
59,27 |
57,67 |
56,05 |
52,81 |
49,62 |
46,56 |
43,75 |
41,32 |
39,42 |
|
|
96,92 |
98,51 |
100,3 |
102,3 |
104,6 |
109,8 |
116,2 |
124,1 |
134,6 |
148,3 |
165,8 |
||
|
|
|
|
|
|
|
|
|
|
|
|
||
|
0,040 |
53,96 |
52,54 |
51,08 |
49,61 |
48,12 |
45,10 |
42,06 |
39,07 |
36,20 |
33,59 |
31,38 |
|
|
109,8 |
111,7 |
113,9 |
116,2 |
118,8 |
124,9 |
132,3 |
141,7 |
154,3 |
169,9 |
189,8 |
||
|
|
|
|
|
|
|
|
|
|
|
|
||
|
0,045 |
47,50 |
46,20 |
44,87 |
43,52 |
42,15 |
39,34 |
36,48 |
33,61 |
30,79 |
28,13 |
25,78 |
|
|
122,7 |
124,9 |
127,4 |
130,1 |
133,1 |
139,9 |
148,3 |
159,9 |
174,0 |
191,6 |
213,9 |
||
|
|
|
|
|
|
|
|
|
|
|
|
||
|
0,050 |
42,41 |
41,22 |
40,00 |
38,76 |
37,50 |
34,89 |
32,21 |
29,48 |
26,75 |
24,11 |
21,72 |
|
|
135,5 |
138,0 |
140,8 |
143,9 |
147,2 |
154,9 |
165,3 |
178,2 |
193,9 |
213,3 |
238,1 |
||
|
|
|
|
|
|
|
|
|
|
|
|
||
|
0,060 |
34,92 |
33,90 |
32,86 |
31,80 |
30,71 |
28,45 |
26,09 |
23,65 |
21,14 |
18,65 |
|
|
|
160,9 |
164,1 |
167,5 |
171,2 |
175,6 |
186,6 |
199,5 |
214,9 |
233,7 |
257,0 |
|||
|
|
|
|
|
|
|
|
|
|
|
|||
|
0,070 |
29,66 |
28,79 |
27,88 |
26,95 |
26,00 |
24,01 |
21,92 |
19,73 |
17,46 |
15,15 |
||
|
186,1 |
190,2 |
195,2 |
200,4 |
206,1 |
218,9 |
233,9 |
251,9 |
273,7 |
300,9 |
|||
|
|
|
|
|
|
|
|
|
|
|
|||
|
0,080 |
25,78 |
25,01 |
24,21 |
23,39 |
22,54 |
20,77 |
18,91 |
16,93 |
14,87 |
|
||
|
213,4 |
218,6 |
224,3 |
230,3 |
236,8 |
251,4 |
268,5 |
289,0 |
314,0 |
||||
|
|
|
|
|
|
|
|
|
|
||||
|
0,090 |
22,79 |
22,10 |
21,38 |
20,65 |
19,89 |
18,30 |
16,62 |
14,83 |
12,94 |
|||
|
241,4 |
247,2 |
253,6 |
260,4 |
267,6 |
284,0 |
303,3 |
326,3 |
354,4 |
||||
|
|
|
|
|
|
|
|
|
|
||||
|
0,100 |
20,42 |
19,79 |
19,15 |
18,48 |
17,80 |
16,36 |
14,82 |
13,19 |
|
|
R(P) |
|
|
269,4 |
276,0 |
283,1 |
290,6 |
298,6 |
316,8 |
338,3 |
363,9 |
R(W) |
||||
|
|
|
|
|
|
|
|
|
|
||||
Продолжение таблицы А.2
|
d/h |
|
r/h |
||||||||||
|
100 |
0,500 |
0,475 |
0,450 |
0,425 |
0,400 |
0,350 |
0,300 |
0,250 |
0,200 |
0,150 |
0,100 |
|
|
s/h |
0,018 |
202,3 |
197,5 |
192,7 |
188,0 |
183,2 |
173,9 |
165,0 |
156,9 |
150,0 |
144,7 |
141,2 |
|
50,48 |
51,23 |
52,12 |
53,09 |
54,19 |
56,81 |
60,05 |
64,07 |
69,09 |
75,49 |
84,38 |
||
|
|
|
|
|
|
|
|
|
|
|
|
||
|
0,020 |
180,0 |
175,6 |
171,0 |
166,5 |
162,0 |
152,9 |
144,1 |
135,8 |
128,3 |
122,0 |
117,2 |
|
|
55,70 |
56,59 |
57,61 |
58,72 |
59,98 |
62,93 |
66,56 |
71,05 |
76,65 |
83,97 |
93,85 |
||
|
|
|
|
|
|
|
|
|
|
|
|
||
|
0,023 |
154,4 |
150,4 |
146,3 |
142,2 |
138,0 |
129,5 |
121,0 |
112,7 |
104,9 |
97,86 |
92,03 |
|
|
63,52 |
64,59 |
65,82 |
67,14 |
68,62 |
72,08 |
76,30 |
81,50 |
87,97 |
96,74 |
108,1 |
||
|
|
|
|
|
|
|
|
|
|
|
|
||
|
0,026 |
135,2 |
131,6 |
127,8 |
124,0 |
120,2 |
112,3 |
104,3 |
96,26 |
88,46 |
81,16 |
74,81 |
|
|
71,32 |
72,58 |
74,00 |
75,54 |
77,25 |
81,20 |
86,02 |
91,92 |
99,51 |
109,5 |
122,3 |
||
|
|
|
|
|
|
|
|
|
|
|
|
||
|
0,030 |
115,9 |
112,7 |
109,4 |
106,0 |
102,5 |
95,35 |
87,99 |
80,49 |
72,98 |
65,72 |
59,12 |
|
|
81,68 |
83,19 |
84,89 |
86,70 |
88,70 |
93,33 |
98,93 |
105,8 |
115,1 |
126,6 |
141,4 |
||
|
|
|
|
|
|
|
|
|
|
|
|
||
|
0,035 |
98,40 |
95,56 |
92,64 |
89,65 |
06,59 |
80,24 |
73,62 |
66,77 |
59,78 |
52,83 |
46,27 |
|
|
94,60 |
96,42 |
98,44 |
100,6 |
103,0 |
108,4 |
115,0 |
123,9 |
134,7 |
148,1 |
165,2 |
||
|
|
|
|
|
|
|
|
|
|
|
|
||
|
0,040 |
85,45 |
82,94 |
80,34 |
77,69 |
74,95 |
69,27 |
63,29 |
57,05 |
50,58 |
44,03 |
37,69 |
|
|
107,5 |
109,6 |
111,9 |
114,4 |
117,2 |
123,5 |
131,8 |
142,0 |
154,3 |
169,6 |
189,2 |
||
|
|
|
|
|
|
|
|
|
|
|
|
||
|
0,045 |
75,51 |
73,26 |
70,93 |
68,54 |
66,08 |
60,94 |
55,51 |
49,80 |
43,82 |
37,69 |
31,64 |
|
|
120,3 |
122,7 |
125,4 |
128,2 |
131,3 |
139,2 |
148,7 |
160,1 |
173,9 |
191,1 |
213,2 |
||
|
|
|
|
|
|
|
|
|
|
|
|
||
|
0,050 |
67,64 |
65,59 |
63,49 |
61,32 |
59,08 |
54,40 |
49,44 |
44,18 |
38,65 |
32,92 |
27,17 |
|
|
133,0 |
135,8 |
138,8 |
142,2 |
146,2 |
155,2 |
165,7 |
178,3 |
193,7 |
212,8 |
237,3 |
||
|
|
|
|
|
|
|
|
|
|
|
|
||
|
0,060 |
55,96 |
54,24 |
52,47 |
50,64 |
48,75 |
44,79 |
40,57 |
36,07 |
31,28 |
26,25 |
|
|
|
159,2 |
163,1 |
167,2 |
171,7 |
176,4 |
187,2 |
199,8 |
214,9 |
233,3 |
256,3 |
|||
|
|
|
|
|
|
|
|
|
|
|
|||
|
0,070 |
47,70 |
46,23 |
44,70 |
43,12 |
41,50 |
38,07 |
34,40 |
30,47 |
26,27 |
21,81 |
||
|
186,8 |
191,3 |
196,1 |
201,3 |
206,8 |
219,3 |
234,1 |
251,7 |
273,2 |
300,0 |
|||
|
|
|
|
|
|
|
|
|
|
|
|||
|
0,080 |
41,57 |
40,27 |
38,93 |
37,55 |
36,11 |
33,10 |
29,86 |
26,39 |
22,65 |
|
||
|
214,5 |
219,6 |
225,2 |
231,1 |
237,4 |
251,7 |
268,5 |
288,7 |
313,3 |
||||
|
|
|
|
|
|
|
|
|
|
||||
|
0,090 |
36,82 |
35,67 |
34,47 |
33,24 |
31,96 |
29,27 |
26,38 |
23,36 |
19,91 |
|||
|
242,3 |
248,1 |
254,4 |
261,0 |
268,1 |
284,2 |
303,2 |
325,8 |
353,6 |
||||
|
|
|
|
|
|
|
|
|
|
||||
|
0,100 |
33,04 |
32,00 |
30,93 |
29,82 |
28,67 |
26,24 |
23,62 |
20,80 |
|
|
R(P) |
|
|
270,3 |
276,8 |
283,7 |
291,1 |
299,0 |
316,9 |
338,0 |
363,2 |
R(W) |
||||
|
|
|
|
|
|
|
|
|
|
||||
Ключевые слова: стальные
аппараты, стальные сосуды, компенсаторы, методы расчета, избыточное давление,
нагрузка, малоцикловая прочность
|
|
|
|