Бесплатная библиотека стандартов и нормативов www.docload.ru

Все документы, размещенные на этом сайте, не являются их официальным изданием и предназначены исключительно для ознакомительных целей.
Электронные копии этих документов могут распространяться без всяких ограничений. Вы можете размещать информацию с этого сайта на любом другом сайте.
Это некоммерческий сайт и здесь не продаются документы. Вы можете скачать их абсолютно бесплатно!
Содержимое сайта не нарушает чьих-либо авторских прав! Человек имеет право на информацию!

 

КОМПЛЕКС ПЕРСПЕКТИВНОГО РАЗВИТИЯ
г. МОСКВ
Ы

УПРАВЛЕНИЕ РАЗВИТИЯ ГЕНПЛАНА
МОССТРОЙЛИЦЕНЗИЯ

ВЕДОМСТВЕННЫЕ
СТРОИТЕЛЬНЫЕ НОРМЫ

ИНСТРУКЦИЯ
ПО УСТАНОВКЕ КРОВЕЛЬНЫХ
ФАСОННЫХ ДЕТАЛЕЙ НА КРОВЛЯХ

ВСН 59-97

МОСКВА 1997

Разработаны лабораторией подземных сооружений и кровель НИИМосстрой (зав. лабораторией Б. В. Ляпидевский, научный сотрудник А. Б. Вальницев) при участии Мосстройлицензии (Ю. И. Столяров, к.т.н. В. Д. Фельдман).

Внесены НИИМосстроем Управления развития генплана (зам. начальника Н. Н. Никонов).

Согласованы с АО «Моспроект»; ЦНИИПромзданий; АО ХК «Главмосстрой».

Комплекс перспективного развития г. Москвы

Управление развития Генплана

Мосстройлицензия

Ведомственные строительные нормы

ВСН 59-97

Инструкция по установке кровельных фасонных деталей на кровлях

Разработаны впервые

1. ОБЩИЕ ПОЛОЖЕНИЯ

1.1. Настоящие нормы составлены в соответствии со СНиП II-26-76 «Кровли. Нормы проектирования» и СНиП 3.04.01-87 «Изоляционные и отделочные покрытия».

Действие настоящих норм распространяется на производство работ по устройству мест примыкания кровельного ковра к водоприемным воронкам, сантехническим, электротехническим и технологическим трубопроводам.

1.2. Установка кровельных фасонных деталей производится как при новом строительстве, так при проведении ремонтных работ.

1.3. Кровельные фасонные детали устанавливают на плоских кровлях, имеющих безрулонное покрытие типа ЭГИК-У; рулонное покрытие из полимерных рулонных материалов типа бутерол и битумно-полимерных материалов типа Филизол.

1.4. Устройство и ремонт рулонных и безрулонных покрытий должны выполняться в соответствии с ВСН 18-95 Департамента строительства «Устройство новых и ремонт существующих кровель жилых, общественных и промышленных зданий с применением полимерных и битумно-полимерных рулонных гидроизоляционных материалов» и ВСН 12-94 «Инструкция по устройству кровель типовых жилых домов с применением полимерных мастичных и рулонных гидроизоляционных материалов».

Внесены НИИМосстроем

Утверждены Управлением развития Генплана

«8» октября 1997 г.

Дата введения в действие

«1» января 1998 г.

2. МАТЕРИАЛЫ

2.1. Кровельные фасонные детали, изготовленные из резиновых смесей (на основе каучуков СКИ) формовым способом, должны соответствовать требованиям ТУ 400-2-512-96.

Фасонные детали сохраняют свои физико-механические свойства при температуре от минус 40 до плюс 80 °С в течение 10-12 лет.

2.2. Габаритные размеры деталей:

внутренний диаметр, мм                                              - 60; 72; 85; 100; 115; 150

высота, мм                                                                      - 100

ширина (диаметр горизонтальной части), мм           - 300; 350

толщина вертикальной части, мм                               - 4

толщина горизонтальной части, мм                            - 2,5

2.3. Физико-механические показатели:

условная прочность, МПа (кгс/см2), не менее           - 3,0 (30,0)

относительное удлинение, %, не менее                     - 200

водопоглощение, %, не более                                      - 0,4

температурный предел хрупкости, °С                        - не должно быть трещин при t -40(±2) °С

2.4. Для установки фасонных деталей на кровлях с рулонным покрытием типа бутерол используют следующие материалы:

мастика бутил-наиритовая (ТУ 38-3-043-87);

мастика кровельная холодная (ТУ 38.605-15 ОД-5-92);

мастика клеящая каучуковая (ГОСТ 24064-80);

растворители марок Р-4 и Р-5 (ГОСТ 7827-74*);

эмульсия ББЭ (ТУ 400-24-113-78*);

состав грунтовочный или праймер - раствор битума марки 70/30 в керосине;

мастики герметизирующие: АМ-0,5 (ТУ 84-240-85) и другие, ее заменяющие.

3. ПОДГОТОВИТЕЛЬНЫЕ РАБОТЫ

3.1. До установки деталей на кровле все технологические трубопроводы (сантехнические, электротехнические и др.) должны быть установлены в местах пропуска их через кровельный ковер (при новом строительстве).

3.2. Производят подготовку необходимых инструментов и инвентаря.

3.3. Основание очищают от пыли и мусора, грунтуют, при необходимости просушивают.

3.4. Проверяют детали на соответствие требованиям технических условий.

4. ТЕХНОЛОГИЯ УСТАНОВКИ ДЕТАЛЕЙ НА КРОВЛЕ

4.1. Технология установки при рулонном покрытии из полимерных рулонных материалов типа бутерол.

4.1.1. Детали устанавливают в водоприемные воронки до наклейки рулонного ковра и на технологические трубопроводы - после.

4.1.2. Перед установкой детали в водоприемную воронку поверхность очищают от пыли, мусора и грунтуют разжиженной мастикой.

4.1.3. На подготовленную поверхность наносят слой мастики толщиной 0,5-0,7 мм.

4.1.4. Горизонтальную поверхность детали, приклеиваемой к основанию, протирают растворителем и на нее также наносят слой мастики 0,5-0,7 мм.

4.1.5. После высыхания поверхностей до «отлипа» деталь вставляют в воронку и пригружают вручную в течение 20-30 секунд.

4.1.6. Оставшуюся горизонтальную поверхность детали протирают растворителем и наносят слой мастики толщиной 0,5-0,7 мм.

4.1.7. Наклеивают рулонный материал (все проектные слои), а затем по месту в рулонном материале вырезают круглое отверстие для стока воды в воронку. Кромки материала покрывают мастикой (рис. 1).

4.1.8. Перед установкой изделия на технологический трубопровод протирают растворителем рулонный ковер вокруг трубопровода для обеспыливания поверхности и наносят слой мастики толщиной 0,5-0,7 мм.

4.1.9. Приклеиваемую поверхность детали протирают растворителем и наносят слой мастики толщиной 0,5-0,7 мм.

4.1.10. Деталь одевают на трубопровод и прижимают к основанию в течение 20-30 сек. Стык между трубой и деталью промазывают приклеивающей мастикой или герметикой (рис. 2).

4.1.11. При ремонте, если нет возможности одеть деталь сверху, берут деталь с диаметром на 20-30 мм больше, чем диаметр трубы, и разрезают по радиусу. Деталь обертывают вокруг трубопровода и заклеивают разрез внахлест. Приклейка детали описана выше.

4.2. Технология установки при рулонном покрытии из битумно-полимерных материалов типа Филизол.

4.2.1. Детали устанавливают в водоприемные воронки до наклейки рулонного ковра и на технологические трубопроводы - после.

4.2.2. Перед установкой деталей в водоприемную воронку поверхность очищают от мусора, пыли и грунтуют раствором битума в керосине.

4.2.3. На подготовленную поверхность наклеивают дополнительный слой рулонного материала размером 700×700 мм наплавляемым способом.

4.2.4. Горизонтальную поверхность детали, приклеиваемую к основанию, прогревают до температуры 120-140 °С пламенем газовой горелки, применяемой для наклейки рулонного материала.

4.2.5. После прогрева поверхности детали разогревают рулонный материал, деталь вставляют в воронку и пригружают вручную в течение 20-30 секунд.

4.2.6. Оставшуюся горизонтальную поверхность детали прогревают пламенем газовой горелки также до температуры 120-140 °С.

4.2.7. Наклеивают основной рулонный ковер согласно проекту

4.2.8. В рулонном ковре вырезают круглое отверстие по водоприемной воронке и оплавляют кромку.

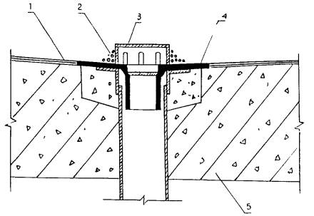
Рис. 1. Узел установки фасонной детали на водоприемную воронку:

1 - рулонный ковер; 2 - гравийная обсыпка; 3 - колпак; 4 - фасонная деталь; 5 - плита покрытия

Рис. 2. Узел установки фасонной детали на технологический трубопровод:

1 - технологический трубопровод; 2 - рулонный ковер; 3 - полоса рулонного материала шириной 50 мм; 4 - фасонная деталь; 5 - плита покрытия

4.2.9. Перед установкой детали на технологический трубопровод прогревают рулонный ковер вокруг трубопровода для очистки поверхности.

4.2.10. Приклеиваемую поверхность детали прогревают пламенем газовой горелки.

4.2.11. Деталь одевают на трубопровод и, приподнимая край детали, подплавляют рулонный материал, прижимают деталь к ковру. Стык между трубой и деталью заклеивают полосой рулонного материала шириной 50 мм.

4.2.12. При ремонте, если нет возможности одеть деталь сверху, берут деталь с диаметром на 20-30 мм больше, чем диаметр трубы, и разрезают по радиусу. Деталь обертывают вокруг трубопровода и заклеивают разрез внахлест. Приклейка детали описана выше.

4.3. Технология установки при безрулонном покрытии типа ЭГИК.

4.3.1. Детали устанавливают во всех случаях до нанесения безрулонного покрытия.

4.3.2. Перед установкой деталей поверхность очищают от мусора, пыли и грунтуют раствором битума в керосине или разжиженной мастикой.

4.3.3. На изготовленную поверхность наносят слой мастики толщиной 0,5-0,7 мм.

4.3.4. Горизонтальную поверхность детали, приклеиваемую к основанию, протирают растворителем и на нее также наносят слой мастики толщиной 0,5-0,7 мм.

4.3.5. После высыхания поверхностей до «отлипа» деталь вставляют в воронку (см. рис. 1) или одевают на трубопровод (см. рис. 2) и пригружают вручную в течение 20-30 секунд.

4.3.6. Оставшуюся горизонтальную поверхность детали протирают растворителем.

4.3.7. Ни поверхность кровли наносят безрулонное покрытие.

4.3.8. Стык между трубопроводом и деталью закрывают полосой рулонного материала или герметикой.

5. КОНТРОЛЬ КАЧЕСТВА ПРОИЗВОДСТВА РАБОТ

5.1. Качество применяемых материалов должно контролироваться строительными лабораториями.

5.2. Работы по установке деталей на кровле должны выполняться под контролем технического персонала монтажного управления или фирмы.

5.3. Качество приклейки деталей определяют визуальным осмотром: не должно быть вздутий, отслоений, кромки должны прилегать к основанию.

6. ТРЕБОВАНИЯ БЕЗОПАСНОСТИ И ПРОТИВОПОЖАРНЫЕ МЕРОПРИЯТИЯ

6.1. При производстве работ по установке деталей необходимо выполнять требования СНиП III-4-80 «Правила техники безопасности в строительстве». Правила пожарной безопасности при производстве строительно-монтажных работ (утв. ГУПО МВД СССР).

6.2. К работам по установке деталей допускаются мужчины не моложе 18 лет, прошедшие предварительный и периодический медицинские осмотры, а также инструктаж по технике безопасности и по соблюдению противопожарных мероприятий.

6.3. Выполнять работы с применением приклеивающих мастик и наплавляемым способом рабочие обязаны в спецодежде и обуви. Для защиты рук следует применять резиновые перчатки. Для защиты органов дыхания применяют респиратор РУ-60. Рабочая и домашняя одежда должна храниться в отдельных шкафах.

6.4. Вынос спецодежды и обуви, выданной для работы с мастиками, за пределы объекта и посещение в этой одежде пунктов питания ЗАПРЕЩАЕТСЯ.

6.5. При производстве работ с приклеивающими мастиками ЗАПРЕЩАЕТСЯ:

приступать к работе без наряда-допуска;

допускать на рабочие места посторонних людей;

курить на рабочем месте;

принимать пищу и хранить продукты в местах производства работ.

6.6. Перед приемом пищи необходимо тщательно вымыть руки и лицо теплой водой, прополоскать рот.

6.7. Место производства работ должно быть обеспечено средствами пожаротушения:

огнетушитель СУ-5;

ящик с песком 0,05 м3;

лопата;

асбестовое полотно.

СОДЕРЖАНИЕ

 




Rambler's Top100 Яндекс цитирования
  Copyright © 2008-2026, www.docload.ru