Бесплатная библиотека стандартов и нормативов www.docload.ru

Все документы, размещенные на этом сайте, не являются их официальным изданием и предназначены исключительно для ознакомительных целей.
Электронные копии этих документов могут распространяться без всяких ограничений. Вы можете размещать информацию с этого сайта на любом другом сайте.
Это некоммерческий сайт и здесь не продаются документы. Вы можете скачать их абсолютно бесплатно!
Содержимое сайта не нарушает чьих-либо авторских прав! Человек имеет право на информацию!

 

Харьковский проектный

и научно-исследовательский

институт Промстройниипроект

Госстроя СССР

Ордена Трудового Красного Знамени

научно-исследовательский, проектно-

конструкторский и технологический

институт бетона и железобетона

(НИИЖБ) Госстроя СССР

Рекомендации
по проектированию усиления
железобетонных конструкций
зданий и сооружений
реконструируемых предприятий

Надземные
конструкции и сооружения

Москва Стройиздат 1992

Рекомендованы к изданию решением Ученого совета Харьковского Промстройниипроекта Госстроя СССР.

Даны рекомендации по усилению элементов каркасов промышленных зданий и сооружений: колонн, балок перекрытий и покрытий, подкрановых балок, ферм покрытий, плит перекрытий и покрытий, конструкций хранилищ для сыпучих материалов.

Содержат классификацию способов усиления, конструктивные решения, расчет конструкций усиления, особенности их проектирования, выбор способов усиления, технику безопасности, способы виброзащиты существующих конструкций.

Для инженерно-технических работников научно-исследовательских, проектных, строительных и производственных организаций.

Разработаны Харьковским Промстройниипроектом Госстроя СССР (кандидаты техн. наук Е. А. Рабинович - руководитель темы; Ю. Д. Кузнецов, Н. П. Рунцо, В. Л. Благов, Я. И. Табачишин, И. Г. Черкасский, В. Б. Тойбис, инженеры А. А. Бохотский, И. М. Подлегаев, А. В. Крылов, А. В. Царин, А. И. Сергиенко, Ю. Д. Коломийченко); НИИЖБ Госстроя СССР (д-р техн. наук В. А. Клевцов, кандидаты техн. наук Б. Н. Мизернюк, А. И. Хачатрян, инж. Л. И. Вишняков) при участии Ворошиловградского филиала НИИСП (кандидаты техн. наук В. С. Балицкий, Е. П. Уваров, А. С. Файвусович); Харьковского института инженеров коммунального строительства (канд. техн. наук Г. А. Молодченко); ДальНИИС Госстроя СССР (канд. техн. наук Г. М. Спрыгин, инж. Б. В. Бабурин); Львовского политехнического института (кандидаты техн. наук Е. Р. Хило, Б. С. Попович).

1. ОБЩИЕ ПОЛОЖЕНИЯ И СИСТЕМАТИЗАЦИЯ СПОСОБОВ УСИЛЕНИЯ

1.1. Настоящие Рекомендации предназначены для проектирования усиления несущих железобетонных конструкций зданий и сооружений и фундаментов, эксплуатируемых при воздействии температур не выше 50 °С и не ниже минус 70 °С.

Кроме того, Рекомендации могут быть использованы службами, занимающимися эксплуатацией, ремонтом и усилением конструкций.

1.2. При проектировании и разработке усиления железобетонных конструкций зданий и сооружений необходимо помимо настоящих Рекомендаций руководствоваться требованиями СНиП 2.03.01-84* главы СНиП II-23-81*, СНиП 2.01.07-85, СНиП 2.02.01-83, СНиП 2.02.03-85, СНиП 2.03.11-85, а также «Руководством по проектированию предварительно напряженных железобетонных конструкций из тяжелого бетона» (М.: Стройиздат, 1977).

1.3. Усиление железобетонных конструкций требуется для увеличения или восстановления их несущей способности, снизившейся от износа в процессе эксплуатации, перегрузки, неравномерной осадки фундаментов, пожара и т.п.

1.4. Железобетонные конструкции следует усиливать лишь после того, как будут использованы все возможности обеспечения их надежной эксплуатации в новых условиях без усиления. К этим возможностям относятся: рациональное распределение технологических нагрузок, введение временных разгружающих элементов и устройств при демонтаже и монтаже оборудования; ограничение сближения кранов, не нарушающее технологический процесс; ограничение по одновременному загружению временными нагрузками больших площадей перекрытий; снижение уровня вибрации и динамических нагрузок посредством применения эффективной виброизоляции машин и ряд других мероприятий.

1.5. Все работы по усилению конструкций рекомендуется выполнять при наличии проекта организации строительства (ПОС) и проекта производства работ (ППР) и в полном соответствии с ними.

Усиление строительных конструкций в условиях реконструкции и технического перевооружения действующих предприятий следует проектировать с учетом следующих факторов:

выполнения работ в минимальные сроки;

массовости (серийности) работ по усилению;

выполнения на стадии проектирования требований технологии и условий производства работ;

унификации элементов усиления и деталей с учетом отклонения размеров усиливаемых конструкций от проектных;

учета стоимости остановки производства, которая в большинстве случаев значительно превышает стоимость материалов и производства работ по усилению.

1.6. Степень совмещения работ по усилению конструкций с основной деятельностью предприятия определяется с учетом объемно-планировочной и технологической компоновки здания; возможности устройства проемов и проездов для строительных машин и механизмов; условий производства работ (стесненность участка, наличие в зоне производства работ действующего технологического оборудования, внутрицехового транспорта, установок с высоким напряжением и т.п.); агрессивности среды предприятия (степень концентрации в воздухе рабочей зоны пыли и газов, температурно-влажностный режим, степень взрыво- и пожароопасности и т.д.); требований техники безопасности.

1.7. На производствах с часто сменяемым технологическим оборудованием проектирование конструкций усиления рекомендуется осуществлять с учетом возможности дальнейшего увеличения нагрузок, а в указаниях по эксплуатации усиленных конструкций отмечать предельные значения нагрузок и возможные способы увеличения несущей способности.

1.8. При решении вопроса об усилении и для проектирования усиления железобетонных конструкций при реконструкции зданий и сооружений необходимы, как правило, следующие материалы:

рабочие чертежи существующих конструкций зданий и сооружений;

данные об инженерно-геологических и гидрогеологических условиях площадки, на основании которых выполнялось первоначальное проектирование;

данные о соответствии фактического выполнения конструкций проектным решениям с указанием всех отклонений от проекта в части габаритов конструкций, узлов их сопряжения;

результаты геодезической съемки положения конструкций для определения осадок, относительных смещений, прогибов и кренов существующих конструкций, а также узлов их сопряжения;

данные о продолжительности эксплуатации существующего здания;

данные о величинах и режимах технологических нагрузок в период эксплуатации;

данные о фактических характеристиках бетона и стали каждого конструктивного элемента, количестве арматуры и ее классе, состоянии сварных швов (места для определения класса бетона, количества арматуры, ее диаметра и класса назначаются организацией, разрабатывающей усиление);

данные об особенностях технологического процесса в реконструируемом сооружении (сухой, мокрый, наличие повышенных температур, характер агрессивных воздействий), наличие загазованности, препятствующей выполнению сварочных работ;

данные об имевших место аварийных состояниях конструкций за весь период до момента проектирования усиления;

данные об имевших место аварийных деформациях оснований и причинах, их вызвавших (просадка и набухание от замачивания, усадка основания от повышенных температур, циклическое замораживание и оттаивание);

данные о ранее имевших место усилениях конструкций и оснований;

инженерно-геологические и гидрогеологические условия на период проведения реконструкции (усиления), в том числе уровень агрессивности грунтовых вод;

прогноз подтопления оснований;

данные о новых нагрузках, режимах эксплуатации и ожидаемой агрессивности среды;

сведения об основных дефектах конструкций, оказывающих влияние на несущую способность, снижение долговечности и ухудшение эксплуатационных свойств конструкций.

1.9. Сведения об основных дефектах конструкций включают наименование дефектов, места их расположения (для трещин - их направление), основные размеры и другие данные, характеризующие параметры дефекта.

1.10. Объем и состав данных по инженерно-геологическим условиям на период проведения реконструкции (усиления) определяются программой, составленной изыскательской организацией при участии проектной организации, и должны отвечать основным требованиям СНиП 1.02.07-87, СНиП 2.02.03-85, СНиП 2.02.01-83.

1.11. Для усиления в первую очередь рекомендуются конструктивные решения с четкой расчетной схемой, обеспечивающие совместную работу усиливаемой и усиливающей частей конструкций и позволяющие надежно определить величину дополнительно воспринимаемой нагрузки.

1.12. При проектировании усиления поврежденных конструкций следует предусмотреть мероприятия по закреплению их в проектном положении, удалению бетона на разрушенных участках, выравниванию арматуры с последующим усилением.

1.13. При обследовании конструкций, подлежащих усилению, следует устанавливать места потери прочности поверхностного слоя бетона (от смятия, раздробленности, воздействия высоких температур, коррозии арматуры и бетона) и намечать дефектные участки, требующие удаления.

Удаление бетона следует производить с вырубкой полостей преимущественно прямоугольной формы с тем, чтобы основные рабочие грани их были по возможности перпендикулярны направлению действующих усилий, а остальные грани - примерно параллельны ему. При этом следует избегать устройства полостей, труднодоступных для заполнения их бетоном.

1.14. В случае разрушения в колоннах части хомутов для обеспечения устойчивости сжатых стержней арматуры необходимо предусматривать устройство новых хомутов в проделанных в бетоне бороздах с последующей заделкой последних. При этом рекомендуется применение составов с повышенной адгезией к усиливаемому бетону (например, полимербетонов).

1.15. Для обеспечения совместной работы бетона усиливаемой конструкции с бетоном усиления необходимо как при проектировании, так и при производстве работ уделять внимание мероприятиям, способствующим повышению сцепления старого бетона с новым. В частности, гладкие контактные поверхности рекомендуется подвергать пескоструйной обработке, насечке или обработке металлическими щетками. Непосредственно перед укладкой нового бетона поверхность старого должна быть промыта струей воды под давлением. При этом лишняя вода в виде лужиц должна быть удалена, так как излишнее увлажнение отрицательно влияет на сцепление. При устройстве железобетонных обойм колонн поверхность существующего бетона промывается струей воды под давлением.

1.16. Поверхность скважин, пробуренных в бетоне для закрепления арматуры эпоксидным клеем или виброзачеканкой для наращивания конструкций или крепления закладных элементов, очищается от инородных включений, воды, наледи. Скважины, залитые водой, должны быть предварительно осушены сжатым воздухом.

Поверхность арматуры, подлежащей закреплению в скважинах, очищается от грязи механическим путем, от смазки и жировых пятен - с помощью ацетона, а от коррозии - обработкой в 20 %-ном растворе соляной кислоты.

1.17. Класс бетона усиления следует принимать по значению, ближайшему большему, чем условный класс бетона1 усиливаемой конструкции, но не ниже В15 для надземных конструкций и не ниже В12,5 для фундаментов.

1 Под «условным классом бетона» подразумевается кубиковая прочность бетона конструкции, определенная по средней прочности с обеспеченностью 0,95 с помощью приборов, тарированных на кубах 150 ´ 150 ´ 150 мм.

Для конструкций, работающих в агрессивной среде или имеющих повреждения от коррозии, класс бетона усиления должен приниматься по плотности или по стойкости соответствующим требованиям данной агрессивной среды.

Раствор для защитных цементных штукатурок и бетон для заделки гнезд, борозд, отверстий следует принимать не ниже класса В15.

Материалы для защиты конструкций от коррозии следует принимать в соответствии с требованиями СНиП 2.03.11-85.

1.18. Усиление колонн железобетонными обоймами рекомендуется выполнять с частичным разгружением, соблюдая условия, указанные в п. 3.13.

После выполнения работ по усилению передача нагрузок на усиливаемую конструкцию до набора бетоном усиления проектной прочности не рекомендуется.

1.19. Сварочные работы при усилении железобетонных конструкций следует производить в соответствии с ГОСТ 10922-75, СНиП III-18-75, СНиП 3.03.01-87.

1.20. При усилении под нагрузкой рекомендуется избегать конструктивных решений, предусматривающих сварные соединения существующей арматуры со стальными элементами усиления.

Не допускается применение сварных соединений при напряжениях в арматуре усиливаемого элемента более 0,85 от предела текучести арматуры. Проверку величины напряжений в арматуре производят по наиболее нагруженному и наиболее ослабленному сечениям с учетом фактической прочности и площади сечения арматуры и бетона. Площадь сечения арматуры в этом случае принимается за вычетом сечения свариваемого стержня.

Если несущая способность в этом случае не обеспечена, требуются мероприятия по временному усилению или разгружению на время выполнения работ.

Если конструктивное решение предусматривает сварные соединения, коротыши, скобы и другие соединительные детали, привариваемые к существующей арматуре, то во избежание поджогов и подрезов рекомендуется изготавливать их из арматурной стали класса А-I диаметром 10...16 мм.

Для обеспечения надежной работы усиленной конструкции детали, соединяющие существующую и дополнительную арматуру, устанавливаемые на сварке, должны располагаться «вразбежку» (в шахматном порядке). При этом расстояние между соединительными деталями вдоль стержней арматуры не должно быть меньше 20 диаметров арматуры.

1.21. В проекте необходимо оговаривать вид сварных соединений, марку электродов, очередность выполнения сварных швов, количество выполняемых проходов, обработку поверхности швов и т.д. Конструкция и очередность выполнения сварных швов должны обеспечивать минимальные деформации конструкций в процессе выполнения сварочных работ.

Для снижения деформаций в ригелях рам и балках приварку дополнительной арматуры к существующей коротышами при выполнении ее под нагрузкой рекомендуется осуществлять в направлении к более нагруженным сечениям симметрично с обеих сторон.

Приварку скоб, хомутов необходимо вести от изогнутой части к концу стержня с обязательным заплавлением кратера шва.

Во всех случаях при усилении во избежание концентрации напряжений следует назначать минимально необходимое сечение сварных швов, причем целесообразнее увеличивать длину шва, а не его сечение.

1.22. При проектировании и выполнении сварных соединений арматуры следует руководствоваться следующими указаниями: в случае приварки дополнительной арматуры к существующей сварные швы с катетом hf = 4...6 мм в конструкциях, разгружаемых во время выполнения работ по усилению, допускается выполнять за один проход; швы с h1 > 6 мм - за два прохода; при сварке под нагрузкой при отрицательной температуре, а также для конструкций, воспринимающих при эксплуатации динамические нагрузки, швы с hf < 6 мм выполняются за два прохода, а при hf ³ 6 мм - за три прохода.

В случае сварки листового металла или приварки к нему арматуры в конструкциях, разгружаемых на время усиления, швы с hf = 8...9 мм выполняются за три прохода при их горизонтальном положении и за четыре прохода - при вертикальном и потолочном положении, швы с h1 = 10 мм выполняются соответственно за три и пять проходов, при сварке таких конструкций под нагрузкой при отрицательной температуре и для конструкций, воспринимающих при эксплуатации динамические нагрузки, швы с hf = 8...9 мм выполняются за четыре прохода, а швы с hf > 10 мм - за пять проходов.

1.23. При необходимости закрепления закладных деталей последние должны привариваться к существующей арматуре фланговыми швами согласно п. 1.21.

1.24. В стальных конструкциях усиления наиболее рационально применять сварные швы, накладываемые симметрично относительно нейтральных осей свариваемых элементов. При проектировании сварных швов для соединения прокатных профилей следует руководствоваться положениями п. 1.21.

При устройстве многослойных швов после наложения каждого последующего слоя следует устраивать перерывы для остывания предыдущего до температуры ниже 100 °С.

Двусторонние многослойные швы следует накладывать симметрично слоями поочередно с каждой стороны.

1.25. В элементах, подверженных динамическим нагрузкам, рекомендуется предусматривать вогнутые сварные швы, концы которых должны выводиться в менее нагруженные области.

В деталях, воспринимающих растягивающие динамические напряжения, не рекомендуется применять поперечные сварные швы.

Прихватку при сборке деталей, воспринимающих динамические нагрузки, рекомендуется выполнять электродами толщиной 2,5 мм.

Максимальная толщина шва за один проход должна приниматься равной 2 мм для угловых швов и 3 мм для швов других типов. Длина прихваток должна быть не более 20 мм.

1.26. При применении для усиления штампованных и гнутых в холодном состоянии профилей следует избегать сварных швов, накладываемых в области изгиба.

1.27. Перед сваркой арматурных стержней свариваемые концы и соединительные накладки должны быть очищены в местах сварки от грязи, масла и других загрязнений до чистого металла. Вода, в том числе конденсационная, снег, лед должны быть удалены с поверхности стержней и соединительных накладок посредством нагревания их пламенем газовых горелок и паяльных ламп до температуры 100 °С.

Не допускается наличие ожогов и подплавлений от дуговой сварки на поверхности рабочих стержней. Ожоги должны быть зачищены абразивным кругом, при этом уменьшение площади сечения стержня (углубление в основной металл) не должно превышать 3 %. Место зачистки стержня должно иметь плавные переходы, а риски от абразивной обработки должны быть направлены вдоль стержня.

При необходимости приварки коротышей, соединительных скоб существующая арматура вскрывается в местах их установки не менее чем на половину своего диаметра участками, превышающими длину соединительных деталей на 10 - 15 мм.

1.28. Отрезка концов стержней электрической дугой при усилении конструкций не допускается.

1.29. Для усиления наращиванием, рубашками и обоймами рекомендуется применять портландцемент марки не ниже 400 (ГОСТ 10178-85); при необходимости быстрого схватывания и твердения рекомендуется тот же цемент, но с тепловой обработкой бетона по мягким режимам (с повышением температуры на 5 - 10 ° в час).

Применение быстротвердеющих цементов и добавок - ускорителей твердения допускается при подборе составов, обеспечивающих нормальную усадку (не большую, чем для обычных бетонов с естественным режимом твердения). При этом следует руководствоваться ГОСТ 10178-85, ГОСТ 24211-80*, «Руководством по применению химических добавок в бетоне» (М.: Стройиздат, 1980) и «Рекомендациями по обеспечению надежности и долговечности железобетонных конструкций промышленных зданий и сооружений при их реконструкции и восстановлении» (М.: Стройиздат, 1982).

1.30. Максимальную крупность заполнителя для бетона усиления следует назначать с учетом следующих требований:

при уплотнении бетонных смесей вибрированием - не более 20 мм (за исключением массивных элементов усиления);

при обоймах толщиной 75...120 мм из литых суперпластифицированных бетонов - 5...10 мм;

при нанесении смесей набрызгом - не более половины толщины бетонируемой конструкции;

при торкретировании - не более 8...10 мм в зависимости от паспортных данных цемент-пушки;

при подливке мелкозернистым бетоном полостей высотой до 50 мм - не более 5 мм, высотой более 50 мм - 10 мм;

в густоармированных набетонках, обоймах - не должна превышать 3/4 расстояния между арматурными стержнями;

в отдельных случаях, при очень частом расположении арматуры, допускается взамен бетона применять цементно-песчаные бетоны прочностью не менее чем требуемая проектом усиления;

модуль крупности песка рекомендуется не ниже 2,2...2,5 с количеством пустот не более 40 %.

1.31. Удобоукладываемость бетонной смеси при вертикальном бетонировании рекомендуется назначать в зависимости от толщины бетонируемого элемента. При толщине бетонируемого элемента до 120 мм осадка конуса принимается не менее 6...8 см, от 120 до 200 мм - от 2...3 см до 5...6 см, а при толщине более 200 мм и при бетонировании вибробулавой - от 1 до 2...3 см. При этом рекомендуется пользоваться пластификаторами в соответствии с указаниями Рекомендаций, приведенных в п. 1.29. Для обойм из литых суперпластифицированных бетонных смесей осадка конуса должна составлять не менее 18 см. Для обойм, рубашек и гильз при усилении емкостных сооружений рекомендуется применять литой бетон с осадкой конуса 16...20 см.

1.32. При усилении в зимних условиях усиливаемые конструкции так же, как и бетон усиления, должны при бетонировании иметь температуру не менее 15 °С.

1.33. Арматурная сталь, прокат, применяемые в конструкциях усиления обетонированием, должны удовлетворять требованиям ГОСТ 13015-75**, СНиП 2.03.11-85.

1.34. Для армирования рекомендуется применять рабочую арматуру из сталей класса А-I, А-II, A-III по ГОСТ 5781-82*. Для напряженной арматуры, шпренгелей и затяжек рекомендуются стали классов A-III, A-IV, A-V, A-VI, A-IIIC по ГОСТ 5781-82*, Ат-V, Aт-VI, Ат-IIIС, Ат-IVC, Ат-IVK, Ат-VCK, Ат-VIK диаметром от 10 до 25 мм по ГОСТ 10884-81*, а также арматурные канаты класса К-7 по ГОСТ 13840-68* и К-19 по ТУ 14-4-22-71. В конструкциях, предназначенных для работы в агрессивных средах, рекомендуется применять стали Ат-IVK, Ат-VCK, Ат-VIK.

Для усиления конструкций большой протяженности в качестве напрягаемой арматуры рекомендуются канаты и пучки из них.

Арматуру классов Ат-IV, Ат-V, Ат-VI, Ат-VIK рекомендуется применять для усиления конструкций пролетом до 12 м ввиду ее плохой свариваемости по длине. Арматуру остальных классов допускается применять для усиления конструкций с любым пролетом со стыковкой ее по длине.

Допускается применение стержней из высокопрочных сталей всех классов в качестве напрягаемой арматуры со стыками при их выполнении с применением обжимных гильз.

Арматурные канаты, применяемые для усиления конструкций, следует предусматривать из проволоки диаметром не менее 2,5 мм.

Конструкции усиления с арматурой в виде пучков и прядей, расположенных в пазах или открыто вне сечения элементов, рекомендуется предусматривать для неагрессивных сред.

1.35. Материалы для узлов сопряжения деталей и анкеров напрягаемой арматуры рекомендуется выбирать из условий прочности и деформативности узлов с учетом минимальных потерь напряжений в арматуре.

1.36. Для изготовления металлических конструкций усиления рекомендуется применять прокат из сталей класса С 38/23 марок ВСт-3Гпс, ВСт-3пс, ВСт-3сп, ВСт-3кп группы В по ГОСТ 380-71*; сталь листовую горячекатаную по ГОСТ 19903-74*, сталь прокатную угловую по ГОСТ 8509-86 и ГОСТ 8510-86, швеллеры по ГОСТ 8240-89, балки двутавровые по ГОСТ 8239-89, трубы по ГОСТ 8731-87, болты и гайки нормальной точности по ГОСТ 1759.0-87 - ГОСТ 1759.5-87*, шайбы по ГОСТ 18123-82*.

1.37. Армирование дисперсно-армированного бетона рекомендуется выполнять стальной проволокой диаметром 0,2...0,5 мм по ГОСТ 3282-74*. Расход фибр на 1 м3 бетонной смеси ориентировочно равен 1,5 % объема, что соответствует примерно 120 кг фибр на 1 м3 смеси.

1.38. Составляющие эпоксидного клея и цементно-песчаной смеси для закрепления арматурных стержней в скважинах должны соответствовать: эпоксидная смола ЭД-16 - ГОСТ 10587-84, полиэтиленполиамин ПЭПА - ТУ 6-02-594-85, дибутилфталат ДБФ - ГОСТ 8728-77*, порошок и жидкость АСТ-Т-ТУ-64-2-226-83, портландцемент - ГОСТ 10178-85, песок ГОСТ 8736-85*, вода - ГОСТ 2874-82*.

1.39. Для предотвращения проскальзывания стержней усиления необходимо обеспечивать их надежную анкеровку на концах. Если позволяют условия, то для анкеровки стержней прежде всего используется традиционный способ, согласно СНиП 2.03.01-84. Анкеровка за счет сцепления прямолинейных стержней с бетоном допускается только для арматуры периодического профиля.

Способы анкеровки следует выбирать согласно «Руководству по конструированию бетонных и железобетонных конструкций из тяжелого бетона (без предварительного напряжения)» (М.: Стройиздат, 1978).

1.40. Проектирование усиления бетонных и железобетонных конструкций зданий, сооружений и фундаментов, предназначенных для работы в условиях агрессивной среды и повышенной влажности, должно вестись с учетом дополнительных требований СНиП 2.03.11-85 и Рекомендаций, указанных в п. 1.29.

При защите напрягаемой арматуры от коррозии обетонированием толщина защитного слоя бетона должна быть не менее 20 мм. Анкеры должны быть защищены слоем раствора толщиной не менее 5 мм или бетона не менее 10 мм. При назначении толщины защитного слоя необходимо также учитывать требования пожарной безопасности согласно СНиП 2.03.11-85.

1.41. Для предприятий с повышенной степенью агрессивности среды железобетонные конструкции усиления рекомендуется проектировать по возможности плоскими с минимальным количеством участков, на которых могут задерживаться продукты агрессии, что обеспечит повышение их долговечности. В железобетонных конструкциях усиления в агрессивных условиях предпочтительнее использовать стали марок 18Г2С и 25Г2С, обладающих повышенной коррозионной стойкостью.

1.42. При проектировании стальных конструкций усиления, предназначенных для эксплуатации в условиях с агрессивными воздействиями, необходимо во избежание появления очагов коррозии в труднодоступных для осмотра местах (особенно в наиболее ответственных узлах) принимать сечения замкнутого профиля, характеризуемого минимальной скоростью коррозии. Необходимо также стремиться к обеспечению свободного доступа для осмотра конструкций в процессе эксплуатации и возобновления антикоррозионного покрытия. Все зазоры между железобетонными конструкциями и стальными профилями должны быть заделаны раствором. Наиболее ответственные узлы усиления конструкций по возможности рекомендуется выносить за пределы зон повышенного постоянного увлажнения.

В пожароопасных помещениях, а также учитывая требования к обеспечению долговечности, в наиболее ответственных случаях защиту стальных конструкций усиления рекомендуется выполнять обетонированием или алюминированием.

1.43. Проект усиления конструкций разрабатывается специализированной проектной организацией и согласовывается с автором проекта строительства предприятия и со строительной организацией, осуществляющей реконструкцию предприятия.

1.44. Проект усиления должен включать обоснование принятых способов усиления со ссылкой на документы обследования существующих конструкций, конструктивные решения по усилению, сметы на выполнение строительно-монтажных работ, а также проект организации работ и правила техники безопасности и их особенности при производстве работ в условиях действующего предприятия.

1.45. В проекте усиления должны также учитываться прогнозы воздействия возможного повышения уровня грунтовых вод, просадки оснований при случайных замачиваниях, повторной подработки, динамического воздействия оборудования и других возможных воздействий.

В проекте усиления хранилищ для сыпучих материалов необходимо отражать, кроме того, условия загрузки хранилищ в процессе усиления; условия первичного и последующих загружений после усиления; сроки выдержки конструкций под нагрузкой и порядок разгрузки; порядок и требования к визуальному и инструментальному наблюдению за осадками сооружений и деформациями основных конструктивных элементов при первичном после усиления загружении.

1.46. Расчет несущей способности усиливаемых железобетонных конструкций производится на основе информации, собранной при их обследовании. Информация состоит из данных о фактическом армировании (диаметр арматуры, расположение стержней), о прочности материалов (условный класс бетона, класс арматуры) и их общего состояния.

Перед расчетом необходимо произвести анализ всей имеющейся проектной документации по усиливаемым конструкциям за все время их эксплуатации.

1.47. При испытании каждого отдельного образца бетона или арматуры или в каждом конкретном испытании, выполняемом на натурной конструкции с использованием безобразцовых методов, способами, регламентированными соответствующими государственными стандартами или другими нормативными документами, определяется основная прочностная характеристика (предел текучести или временное сопротивление стали, прочность бетона на сжатие и т.п.).

Среднее значение прочностной характеристики  определяется по формуле

где Rqi - результат, полученный в i-м испытании или на i-м образце; т - количество образцов (испытаний).

Среднее квадратичное отклонение для выборки Sq вычисляется по формуле

Нормативное значение прочностной характеристики R определяется по формуле

где b - коэффициент, учитывающий объем испытаний и определяемый по табл. 1.

Таблица 1

Количество испытаний

Коэффициент

Количество испытаний

Коэффициент

Количество испытаний

Коэффициент

5

3,34

9

2,58

15

2,28

6

3,04

10

2,5

20

2,16

7

2,9

11

2,44

30

2,04

8

2,69

12

2,39

50 и более

1,94

Примечания: 1. Для промежуточных значений коэффициент b определяется линейной интерполяцией. 2. Коэффициент b с доверительной вероятностью 0,9 определяет нижнюю 95 %-ную допустимую (толерантную) границу для нормально распределенной случайной величины.

1.48. Расчетные характеристики бетона определяются в зависимости от условного класса бетона по прочности на сжатие существующих конструкций.

При выполнении поверочных расчетов по проектным материалам, в том случае, если в проекте существующей конструкция нормируемой характеристикой бетона является его марка, значение условного класса бетона по прочности на сжатие следует принимать равным:

80 %-ной кубиковой прочности бетона, соответствующей марке по прочности для тяжелого, мелкозернистого и легкого бетонов;

70 %-ной - для ячеистого бетона.

Для промежуточных значений условного класса бетона по прочности на сжатие, отличающихся от значений параметрического ряда, расчетные сопротивления бетона определяются линейной интерполяцией.

При выполнении поверочных расчетов по результатам натурных обследований значение условного класса бетона по прочности на сжатие определяется в соответствии с СНиП 2.03.01-84*, принимая вместо марки бетона фактическую прочность бетона в группе конструкций, одной конструкции или в отдельной ее зоне, полученную по результатам испытаний неразрушающими методами или испытаний отобранных от конструкций образцов бетона.

В зависимости от состояния бетона, вида конструкций и условий их работы, а также используемых методов определения прочности бетона при специальном обосновании могут быть использованы другие способы определения класса бетона. При использовании статистических методов коэффициент вариации прочности бетона определяется по ГОСТ 18105-86.

1.49. Нормативные сопротивления арматуры Rsn при выполнении поверочных расчетов по проектным данным существующих конструкций, запроектированных по ранее действующим нормативным документам и по данным испытаний образцов арматуры, отобранных от обследованных конструкций, а также расчетные сопротивления арматуры растяжению Rs при отсутствии проектных данных и невозможности отбора образцов, принимаются в соответствии с СНиП 2.03.01-84*.

Площадь сечения арматуры для поверочных расчетов следует принимать с учетом возможного ее уменьшения в результате коррозии.

При отборе образцов и определении среднего диаметра арматуры - рекомендуется учитывать также положения, приведенные в «Рекомендациях по обеспечению надежности и долговечности железобетонных конструкций промышленных зданий и сооружений при их реконструкции и восстановлении» (М.: Стройиздат, 1982).

1.50. Все известные способы усиления элементов промзданий по признаку включения конструкций усиления в работу разделяются на две основные группы: возведение новых разгружающих и заменяющих конструкций, воспринимающих полностью или частично нагрузки, которые передавались на существующие конструкции; увеличение несущей способности существующих конструкций, т.е. их усиление.

1.51. Группа разгружающих конструкций состоит из двух подгрупп: полное разгружение или замена существующих конструкций новыми; частичное разгружение, при котором часть нагрузки воспринимается существующими конструкциями, а часть - разгружающими. Поскольку частичное разгружение не обладает существенными отличиями от усиления, то эта подгруппа может быть отнесена и к группе увеличения несущей способности.

1.52. Группа увеличения несущей способности состоит из четырех подгрупп: усиление без изменения статической схемы и напряженного состояния; усиление с изменением статической схемы; усиление с изменением напряженного состояния; специальные случаи усиления. Указанные подгруппы объединяют способы усиления в основном по первичному признаку и тесно взаимосвязаны между собой.

1.53. Систематизация способов усиления по признаку включения конструкций усиления в работу, приведенная в пп. 1.50 - 1.52, обладает некоторой условностью и предназначена для обозрения всего многообразия известных способов усиления с целью ориентирования при выборе наиболее рационального способа для конкретных условий.

1.54. Способы усиления хранилищ для сыпучих материалов разделяются на три основные группы: усиление без изменения статической схемы и напряженного состояния путем увеличения сечения, дополнительного армирования и т.п.; усиление с изменением статической схемы путем устройства подпорок, перегородок, перемычек, дополнительных опор и т.п.; косвенное усиление емкостной части хранилищ путем снижения нагрузки, в том числе за счет направленного регулирования кинетики истечения сыпучих материалов.

Последняя группа способов подробно в настоящих Рекомендациях не рассматривается.

2. КОНСТРУКТИВНЫЕ РЕШЕНИЯ ПО УСИЛЕНИЮ

Основные конструктивные решения по усилению колонн и балок

2.1. Разгружающие конструкции представляют собой отдельные элементы (балки, плиты, фермы) или взаимосвязанные системы из железобетона и металла, которые полностью или частично воспринимают нагрузки, передававшиеся до их установки на существующие конструкции (см. пп. 2.2 - 2.10).

2.2. Полное разгружение рекомендуется применять для небольших участков перекрытий или при значительной потере несущей способности существующих элементов, которые практически нельзя восстановить, так как уменьшение габаритов производственных помещений конструкциями разгружения, перепады отметок на перекрытиях, мешающие передвижению напольного транспорта, и сравнительно высокая стоимость делают применение этого конструктивного решения не всегда оправданным и рациональным.

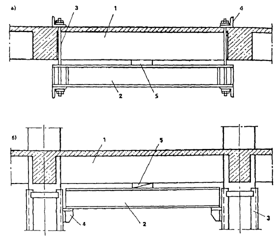
Полное разгружение элементов конструкций рекомендуется в тех случаях, когда оно не требует устройства дополнительных колонн и фундаментов (рис. 1 - 6).

Рис. 1. Полное разгружение перекрытия железобетонными конструкциями

1 - разгружаемая конструкция; 2, 3 - разгружающая конструкция; 4 - оборудование; 5 - зазор

2.3. Конструкции полного разгружения рекомендуется, если это возможно, устанавливать сверху разгружаемых (см. рис. 1 - 5). Разгружающие конструкции выполняются как из железобетона, так и из металла, при этом применяются опорные подушки, соединительные планки, стяжные болты и другие вспомогательные приспособления.

Рис. 2. Полное разгружение железобетонной балки металлическими обоймами

1 - разгружаемая балка; 2 - металлическая разгружающая балка; 3 - фиксирующие болты; 4 - опорные подушки; 5 - сварные швы; 6 - соединительные накладки

Рис. 3. Полное разгружение второстепенной балки и плиты перекрытия металлическими балками

1 - разгружаемая балка; 2 - металлические балки разгружения; 3 - ребра жесткости; 4 - тяжи; 5 - планки из уголков; 6 - опорные листы; 7 - опорные подушки

Рис. 4. Полное разгружение плиты монолитного перекрытия ребристыми плитами

1 - разгружаемая плита; 2 - разгружающая конструкция; 3 - элементы крепления; 4 - ригель; 5 - прокладки из уголков

Фиксирующие элементы для горизонтальной плоскости пропускаются через отверстия в перекрытии так, чтобы нагрузка от них передавалась на разгружаемые конструкции.

При полном разгружении элементов конструкций необходимо обязательно предусматривать зазор между разгружающими и разгружаемыми элементами для обеспечения свободного прогиба разгружающего элемента согласно п. 3.17 настоящих Рекомендаций (см. рис. 1).

2.4. Если в результате установки разгружающих элементов сверху перекрытий создаются различный уровень пола или стесненные габариты производственных помещений, возможна установке или подвеска элементов снизу перекрытий (см. рис. 6). Нагрузку на конструкции разгружения в этих случаях передают с помощью стоек, пропущенных через отверстия, пробитые в существующем перекрытии. Разгружающие конструкции, устанавливаемые снизу перекрытий на существующие колонны или подвешиваемые к главным балкам, рекомендуется проектировать металлическими. При использовании конструкций полного разгружения следует учитывать изменение расчетной схемы.

Рис. 5. Возведение нового перекрытия с последующей разборкой существующего и сохранением опорного участка

1 - конструкции нового перекрытия; 2 - главная балка существующего перекрытия; 3 - второстепенная балка существующего перекрытия

2.5. Замена существующих конструкций новыми (см. рис. 5), воспринимающими на себя всю полезную нагрузку, рекомендуется лишь в тех случаях, когда существующая конструкция препятствует необходимому увеличению габаритов помещения по требованиям новой технологии или когда она находится в состоянии, при котором возможно ее полное или частичное обрушение в незагруженном состоянии.

2.6. Дополнительные разгружающие элементы при частичном разгружении могут иметь контакт с существующими конструкциями по всей длине или в отдельных точках. Рассматривать дополнительные разгружающие элементы как конструкцию частичного разгружения, в отличие от наращивания (см. пп. 3.22 - 3.25), следует в случае, если при их устройстве не обеспечивается по всей длине совместная работа с усиливаемым элементом.

Частичное разгружение элементов конструкций (плит перекрытий, второстепенных балок, главных балок, ригелей, подкрановых балок и т.п.) рекомендуется применять в тех случаях, когда с разгружаемой конструкции необходимо снять только часть полезной нагрузки.

Конструкции частичного разгружения могут быть как железобетонными, так и металлическими (рис. 7 - 8), при этом необходимо иметь в виду, что частичное разгружение, по существу, является и усилением существующей конструкции, т.е. увеличением ее несущей способности.

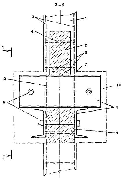
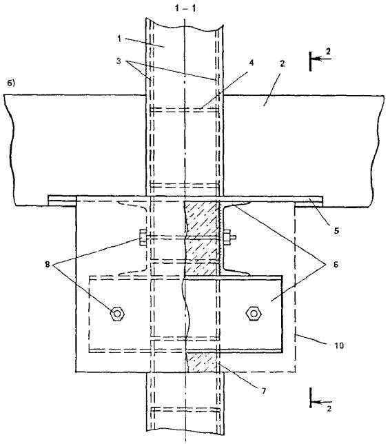
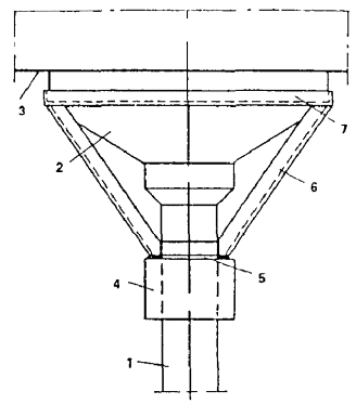
2.7. В случаях, когда опорные сечения элементов, на которые передают нагрузку разгружающие конструкции, не обладают необходимой несущей способностью, а также в случаях, когда отсутствуют опоры для установки разгружающих конструкций, на колоннах следует устраивать специальные опорные хомуты (рис. 9). Опорные хомуты могут быть как железобетонными, так и металлическими с последующим обетонированием или без него.

2.8. Перед устройством железобетонных опорных хомутов бетонные поверхности колонн и ригелей рекомендуется скалывать на толщину защитного слоя. Бетон для опорных хомутов должен быть на мелком щебне или гравии пластичной консистенции с осадкой конуса 10 см. Рекомендуется выполнять опорные хомуты так, чтобы они возвышались над нижней поверхностью ригелей на 10...15 см для заполнения пространства под ригелями бетоном под некоторым давлением (см. рис. 9).

2.9. Перед устройством металлических опорных хомутов необходимо обнажить арматуру колонн и нижнюю арматуру ригелей, что достигается скалыванием защитного слоя бетона в соответствующих местах. Металлические опорные хомуты, как правило, выполняются из швеллеров (см. рис. 9, б), которые привариваются к угловым стержням арматуры и ригелей. Перед приваркой швеллеры, установленные в проектное положение, соединяются между собой стяжными болтами. После выполнения сварочных работ необходимо установить по контуру конструктивную арматуру и обетонировать. Установку швеллеров следует производить с плотной подгонкой к рабочей арматуре колонн и ригелей, для достижения которой защитный слой скалывается особо тщательно, а встречающаяся поперечная арматура (хомуты) удаляется. При неплотном примыкании устанавливаемых швеллеров к отдельным стержням арматуры необходимо вставлять подкладки соответствующей толщины. При удалении части хомута следует предусмотреть предварительное разгружение конструкции или закрепление стержня.

Рис. 6. Полное разгружение участка перекрытия

а - металлическими балками, подвешенными снизу к главным балкам: 1 - разгружаемый участок перекрытия; 2 - металлические балки разгружения; 3 - тяжи; 4 - стойки; 5 - прокладки; 6 - опорные швеллеры; 7 - оборудование; 8 - отверстия в плите, заделываемые асфальтом; б - металлическими балками, опирающимися на обоймы колонн: 1 - разгружаемый участок перекрытия; 2 - главная разгружающая балка; 3 - стойки; 4 - разгрузочные балки; 5 - колонны; 6 - металлические обоймы; 7 - оборудование; 8 - зазоры

2.10. В случаях, когда опорные хомуты предназначены для опирания на них вновь возводимых элементов, их конструктивные особенности сохраняются (см. рис. 9, б), но отпадают меры для заполнения пространства бетоном под ригелем при железобетонных опорных хомутах и подгонки швеллеров к арматуре ригелей - при металлических.

2.11. Одним из распространенных способов усиления стержневых элементов являются обоймы, характерной особенностью которых является охват усиливаемого элемента со всех четырех сторон (рис. 10 - 13). Обоймы могут быть железобетонными и металлическими.

2.12. Усиление изгибаемых элементов (ригелей, балок и т.п.) обоймами рекомендуется только в тех случаях, когда по каким-либо причинам (например, значительная коррозия арматуры) нельзя применить способ одностороннего наращивания, поскольку усиление изгибаемых элементов по всему периметру сечения помимо трудностей, связанных с производством работ, нерационально с конструктивной точки зрения.

2.13. Минимальная толщина железобетонных обойм изгибаемых элементов принимается в зависимости от защитного слоя в соответствии со СНиП 2.03.01-84* и диаметра арматуры (продольной и поперечной); максимальная - обычно не превышает 100 мм. Площадь продольной арматуры определяется расчетом.

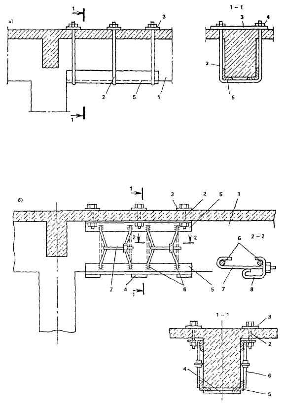
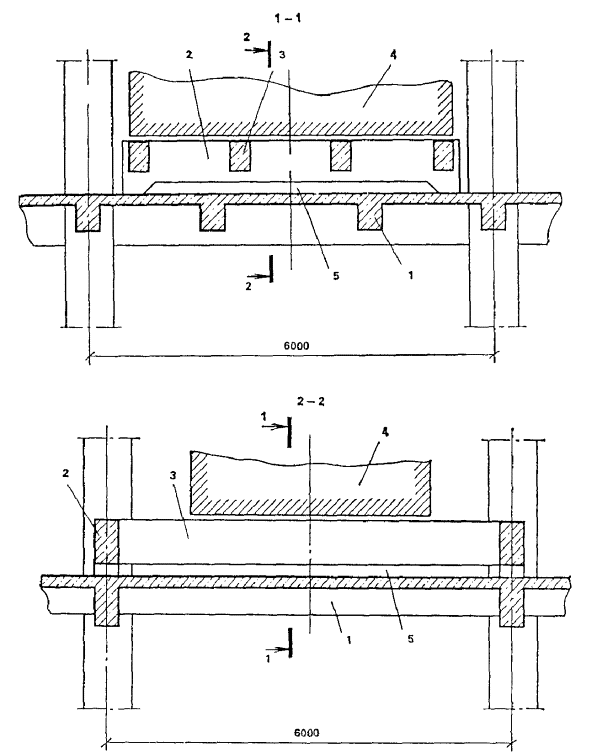
Рис. 7. Частичное разгружение второстепенной балки

а - монолитной железобетонной балкой: 1 - разгружаемая конструкция; 2 - разгружающая конструкция; б - сборными железобетонными балками: 1 - разгружаемые конструкции; 2 - разгружающие конструкции; 3 - фиксирующие хомуты; 4 - листовые подкладки; 5 - подкладки из уголков; 6 - оборудование; в - металлическими балками из швеллеров: 1 - разгружаемая балка; 2 - разгружающая балка; 3 - подвеска; 4 - прокладка

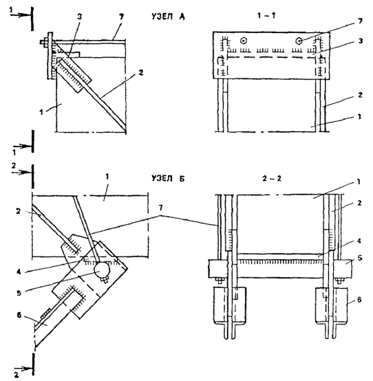
Рис. 8. Частичное разгружение подкрановой балки дополнительными решетчатыми конструкциями

1 - колонна; 2 - подкрановая балка; 3 - разгружающая ферма; 4 - упорная обойма; 5 - клиновидные прокладки; 6 - планки-связи; 7 - упорные пластины; 8 - болты; 9 - односторонняя связь

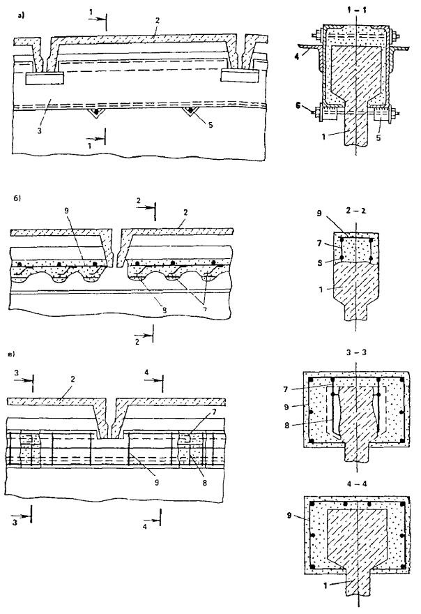
2.14. В случаях, когда изгибаемый элемент входит в состав монолитного ребристого перекрытия, при усилении его обоймой в плите перекрытия необходимо просверливать отверстия для пропуска хомутов и подачи бетонной смеси при бетонировании. При усилении перекрытия в целом выполнение обойм для балок и набетонка плиты сверху производятся одновременно.

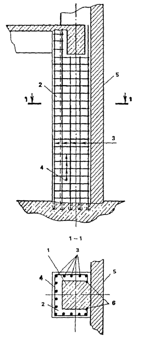
2.15. Наиболее широкое применение обойм рекомендуется для усиления колонн. В этом случае достигается наибольшая эффективность этого конструктивного решения. Для усиления колонн применяется несколько типов обойм, которые различаются конструктивными особенностями, материалами, производством работ и эффективностью усиления.

2.16. Одним из типов железобетонных обойм являются обоймы с обычной продольной и поперечной арматурой (см. рис. 11) без связи арматуры обоймы с арматурой усиливаемой колонны. Перед бетонированием обоймы необходимо обязательно произвести подготовку поверхности усиливаемой конструкции (выполнить насечку бетона и промыть его струей воды). Толщина обоймы колонны зависит от степени усиления и обычно не превышает 300 мм. Минимальная толщина обойм, по требованиям технологии усиления, приведена в п. 4.4.

Площадь продольной арматуры обоймы определяется расчетом, но ее диаметр должен быть не менее 16 мм для сжатых и 12 мм для растянутых стержней. Поперечная вязаная арматура принимается диаметром не менее 6 мм, а сварная - 8 мм и устанавливается с шагом 15 диаметров продольной, но не более трехкратной толщины обоймы и не более 200 мм. В местах возможной концентрации напряжений шаг хомутов должен быть уменьшен вдвое. Конструирование арматуры должно выполняться в соответствии с требованиями СНиП 2.03.01-84*.

При устройстве местной обоймы на поврежденном участке она должна выходить за его пределы на длину не менее 5 толщин обоймы, не менее длины анкеровки арматуры, не менее двойной ширины большей грани колонны и не менее 400 мм. Для улучшения сцепления нового бетона со старым рекомендуется на поверхности старого бетона на участке местной обоймы выполнять адгезионную обмазку из полимерных материалов.

2.17. Разновидностью железобетонных обойм колонн являются обоймы с устанавливаемой вдоль их граней жесткой наружной арматурой из уголков, которая у концов усиливаемых колонн приваривается к горизонтальным опорным уголкам (см. рис. 11).

Рекомендуются для конструкций с малыми эксцентриситетами приложения нормальных сил.

2.18. Железобетонные обоймы колонн могут быть выполнены с поперечной арматурой в виде спиральной обмотки из проволочной арматуры диаметром не менее 6 мм (см. рис. 12, а). При конструировании обойм должны соблюдаться следующие условия:

спирали в плане должны быть круглыми;

расстояния между витками спирали в осях должны быть не менее 40 мм, не более 1/5 диаметра сечения ядра обоймы, охваченного спиралью, и не более 100 мм; у опор и в других местах возможной концентрации напряжений это расстояние должно быть не более 50 мм;

спирали должны охватывать всю рабочую продольную арматуру.

Железобетонные обоймы со спиральной обмоткой обладают повышенной несущей способностью при центральном сжатии.

2.19. Помимо железобетонных обойм для усиления колонн могут быть рекомендованы металлические обоймы (см. рис 12, б), составными частями которых являются стойки уголкового профиля, устанавливаемые по граням колонн; соединительные планки между ними и опорные подкладки из уголков или листового металла. Металлические обоймы рекомендуется применять в случаях, когда нельзя уменьшать габариты производственных помещений и требуется выполнить усиление в кратчайшие сроки.

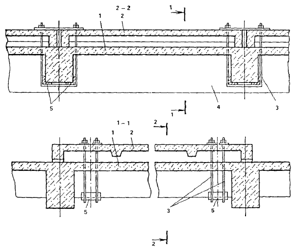
Рис. 9. Конструкция опорного хомута

а - из железобетона: 1 - колонна; 2 - ригель; 3 - опорный хомут; 4 - арматура колонны; 5 - сколотая поверхность; 6 - участок, бетонируемый под давлением; 7 - арматура ригеля; 8 - хомуты; 9 - арматура опорного хомута; 10 - шпильки; б - из профильного металла с обетонкой: 1 - колонна; 2 - ригель; 3 - арматура колонны; 4 - хомуты; 5 - арматура ригеля; 6 - швеллеры опорного хомута; 7 - сколотая поверхность; 8 - стяжные болты; 9 - сварные швы; 10 - обетонка

Рис. 10. Усиление монолитной балки железобетонной обоймой

1 - усиливаемая балка; 2 - обойма; 3 - плита; 4 - отверстия в плите для пропуска хомутов и подачи бетона; 5 - монтажная арматура обоймы; 6 - наклонные стержни обоймы; 7 - рабочая арматура обоймы; 8 - хомуты обоймы

При устройстве металлических обойм обязательными условиями являются плотное примыкание металлических стоек к граням усиливаемой колонны и их вертикальность. Для достижения этих условий рекомендуется поверхность бетона в месте примыкания стоек выравнивать сколом неровностей и зачеканкой цементным раствором.

Эффективность усиления зависит от примыкания по торцам металлических стоек. Включение металлических обойм в совместную работу может осуществляться с помощью специальных приспособлений. Один из вариантов подобного приспособления показан на рис. 13.

Рис. 11. Усиление колонии железобетонной обоймой

а - со стержневой арматурой; б - с жесткой наружной арматурой из уголков; 1 - усиливаемая колонна; 2 - обойма; 3 - продольная арматура обоймы; 4 - поперечная арматура обоймы; 5 - жесткая продольная арматура обоймы; 6 - опорные уголки жесткой обоймы

2.20. Эффективность усиления металлической обоймой значительно возрастает, если пояса вокруг колонны, образованные соединительными планками, выполнить предварительно напряженными. Ввод в напряженное состояние металлических поясов рекомендуется осуществлять следующим образом: соединительные планки каждого из поясов устанавливают на одном уровне и приваривают одной стороной к стойкам; затем приступают к замыканию среднего по высоте колонны пояса, для чего нагревают соединительные планки двух противоположных граней до температуры 100 °С и приваривают к стойкам в нагретом состоянии. Аналогично поступают с планками смежных граней. Таким же образом замыкают остальные пояса обоймы. По мере остывания нагретых соединительных планок усиливаемая колонна подвергается обжатию металлическими поясами.

Рис. 12. Усиление колонны

а - железобетонной обоймой со спиральной арматурой: 1 - усиливаемая колонна; 2 - обойма; 3 - спиральная арматура; б - металлической обоймой: 1 - усиливаемая колонна; 2 - стойки-уголки; 3 - соединительные планки; 4 - подкладки; 5 - зачеканка цементным раствором

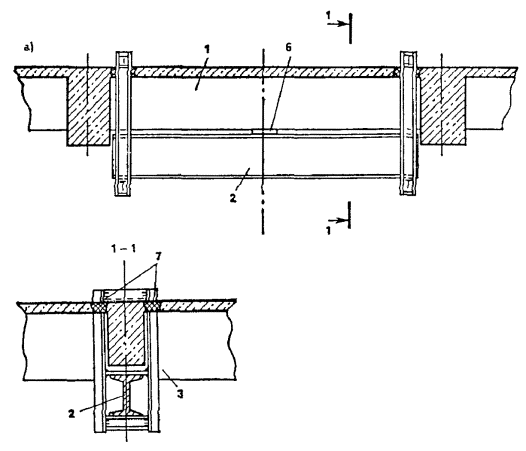
2.21. Конструктивное решение, известное как рубашка, представляет собой незамкнутую с одной стороны обетонку (рис. 14 - 16). Рубашки рекомендуется применять в тех же случаях, что и обоймы, когда по каким-либо причинам не имеется возможности охватить усиливаемый элемент со всех четырех сторон, например колонна, примыкающая одной стороной к стене (см. рис. 15).

Рис. 13. Приспособление для включения в работу металлической обоймы колонны (а. с. № 607932. - БИ, 1977, № 19)

1 - усиливаемая колонна; 2 - обойма; 3 - столик; 4 - металлический винт; 5 - гайка; 6 - упорный элемент; 7 - ригель; 8 - динамометр; 9 - прокладка

Рубашки чаще применяются при усилении монолитных балок ребристых перекрытий.

Особое внимание рекомендуется уделять анкеровке поперечной арматуры по концам поперечного сечения рубашек. При усилении колонн хомуты должны привариваться к арматуре усиливаемой колонны, в случае каких-либо затруднений рубашка колонны должна рассчитываться на восприятие всей нагрузки. При усилении монолитных балок ребристых перекрытий хомуты выводятся через плиту через просверленные отверстия и заанкериваются с помощью продольных арматурных стержней (см. рис. 14).

Рис. 14. Усиление монолитной балки железобетонной рубашкой

1 - усиливаемая балка; 2 - рубашка; 3 - рабочая арматура рубашки; 4 - монтажная арматура рубашки; 5 - хомуты; 6 - насечка; 7 - стяжка

Рис. 15. Усиление колонны железобетонной рубашкой

1 - усиливаемая колонна; 2 - рубашка; 3 - рабочая арматура рубашки; 4 - хомуты, 5 - ограждающая стена; 6 - сварка внахлестку хомутов к арматуре колонны

Рис. 16. Усиление верхних поясов сборных балок покрытия обоймами и наращиванием

а - обоймой из швеллеров; б - односторонним наращиванием сверху; в - рубашкой; 1 - усиливаемая балка; 2 - плита покрытия; 3 - швеллеры; 4 - уголки усиления выреза полки швеллера; 5 - упоры для стяжных болтов; 6 - стяжные болты; 7 - соединительные элементы на сварке; 8 - арматура балки; 9 - дополнительная арматура

При усилении изгибаемых элементов рекомендуется применять бетоны более пластичной консистенции, чем при усилении колонн.

Если рубашки устанавливаются только на поврежденных участках усиливаемых элементов, то их необходимо распространять на неповрежденные части не менее длины анкеровки продольной арматуры рубашки, не менее пяти толщин стенок рубашки, не менее ширины грани или диаметра усиливаемого элемента и не менее 500 мм. При армировании рубашек не рекомендуется применять арматуру диаметром менее 8 мм для продольных стержней и сварных хомутов и 6 мм - для вязаных хомутов.

2.22. Усиление наращиванием заключается в том, что усиливаемая конструкция увеличивается по высоте или ширине (снизу, с боков или сверху усиливаемого элемента). Характерной особенностью этого способа является восприятие касательных напряжений, действующих в плоскости контакта старого бетона с новым, специальной дополнительной арматурой, привариваемой к арматуре усиливаемой конструкции, предварительно обнажаемой скалыванием защитного слоя в местах приварки (рис. 17 - 19). Наращивание применяется для усиления любых железобетонных конструкций (как монолитных, так и сборных). Усиление верхних полок сборных балок покрытий (см. рис. 16) выполняется в случае замены плит покрытий. При наращивании не рекомендуется применение арматурных стержней диаметром менее 10 мм. При скалывании защитного стоя, расположенного в сжатой зоне, следует учитывать временное снижение несущей способности.

2.23. В ряде случаев для увеличения несущей способности усиливаемых элементов наращиванием достаточно лишь увеличить количество основной продольной арматуры, для чего рекомендуется сколоть защитный слой не менее чем на 0,5 диаметра арматуры и посредством параллельной приварки через коротыши из арматуры диаметром от 10 до 40 мм и длиной от 50 до 200 мм соединить дополнительную арматуру с существующей.

В растянутой зоне усиливаемых элементов коротыши размещаются на расстоянии 200...1000 мм, в сжатой зоне - на расстоянии не более 500 мм и не более 20 диаметров продольной арматуры усиления. После проведения сварочных работ взамен сколотого защитного слоя наносится новый в виде цементной штукатурки или торкретированием. В этих случаях сечение усиливаемого элемента увеличивается незначительно, в пределах от 20 до 80 мм (см. рис. 18).

2.24. В случаях значительного наращивания сечения рекомендуется применять специально приваренные соединительные элементы, вертикальные и наклонные (см. рис. 17, 18, сечение 2 - 2). После проведения сварочных работ производятся подготовка поверхности и бетонирование наращиваемого сечения, которые не отличаются принципиально от подобных работ при устройстве обойм и рубашек.

Рис. 17. Усиление колонны наращиванием сечения

1 - усиливаемая колонна; 2 - одностороннее наращивание; 3 - арматура колонны; 4 - добавочная рабочая арматура; 5 - соединительные стержни на сварке

Рис. 18. Усиление балок односторонним наращиванием

1 - усиливаемая балка; 2 - наращивание посредством коротышей; 3 - наращивание посредством соединительных элементов; 4 - арматура усиливаемой балки; 5 - дополнительная рабочая арматура; 6 - коротыши; 7 - соединительные элементы на сварке

2.25. Усиление наращиванием не рекомендуется при значительной коррозии продольной арматуры усиливаемых элементов и в тех производственных помещениях, где по каким либо причинам запрещено производить сварочные работы.

2.26. При разрывах арматурных стержней в изгибаемых элементах рекомендуется восстанавливать их приваркой напряженных накладок (см. рис. 19, б). Предварительно следует подпереть усиливаемую конструкцию временными подпорками, сколоть защитный слой на необходимой длине, приварить стержни усиления (накладки) одним концом, нагреть током, например от сварочного трансформатора, приварить второй конец в нагретом состоянии, восстановить нарушенный защитный слой пластичным бетоном на мелком заполнителе.

Рис. 19. Усиление сборных балок покрытия

а - односторонним наращиванием; б - накладками на сварке при разрыве арматуры; 1 - усиливаемая балка; 2, 3 - арматура балки; 4 - дополнительная арматура; 5 - накладки из арматурных стержней; 6 - соединительные элементы; 7 - дополнительные хомуты; 8 - обетонка

Допускается приварка дополнительной арматуры из сталей классов A-I, A-II, A-III к существующей арматуре тех же классов. При арматуре из высокоуглеродистых сталей классов A-IV и выше, а также из канатов и прядей сварка не допускается.

2.27. В случаях, когда условия технологического процесса позволяют стеснение габаритов производственных помещений, одним из простых способов усиления изгибаемых элементов (балок, ригелей, рам, ферм и т.п.) является установка дополнительных жестких опор (рис. 20 - 22).

2.28. Поскольку при выполнении жестких опор на самостоятельных фундаментах полностью избежать осадки опоры весьма затруднительно, то во всех случаях желательно устанавливать их на существующие фундаменты (см. рис. 20), если даже при этом необходимо их усилить. В этих случаях жесткие дополнительные опоры выполняют в виде порталов или подкосов.

Элементы дополнительных жестких опор могут быть железобетонными и металлическими. Их рекомендуется изготавливать заранее на стороне.

При выполнении жестких опор в виде подведенных стоек, имеющих самостоятельные фундаменты (см. рис. 20), рекомендуется обращать особое внимание на уменьшение осадки этих фундаментов, для чего необходимо осуществлять предварительное обжатие грунта под подошвой. Одним из способов предварительного обжатия грунта является загружение фундамента нагрузкой, не меньшей расчетной, до возведения стойки. Для уменьшения давления на грунт под подошвой нового фундамента рекомендуется устраивать распределительную песчано-гравийную подушку.

2.29. При усилении ригеля рамы дополнительными жесткими опорами в виде металлических подкосов (см. рис. 20) накладные металлические детали в нижних углах должны быть закреплены. После подведения подкосов для плотного прилегания сопрягаемых конструкций, обеспечивающих эффективность усиления, необходимо в верхнем узле произвести расклинку клиновидными прокладками. Возможно устройство подкосов с опиранием на металлические обоймы колонн (см. рис. 21).

2.30. В случаях, когда усиливаемая конструкция не может быть предварительно разгружена, установка дополнительных жестких опор должна в обязательном порядке сопровождаться предварительным поднятием усиливаемой конструкции (см. рис. 22). Подъем усиливаемой конструкции может быть произведен различными способами и зависит как от конструкции дополнительных опор, так и от конструкции усиливаемых элементов.

2.31. При усилении ригелей дополнительными жесткими опорами в виде металлических или железобетонных подкосов (см. рис. 22) подъем усиливаемого ригеля может производиться, например, горизонтально расположенным домкратом. Для облегчения перемещения распираемых полураскосов необходимо в зазор между усиливаемым ригелем и полураскосами закладывать металлические подкладки и коротыши из круглой арматурной стали. После подъема усиливаемой конструкции на необходимую величину с обеих сторон полураскосов приваривают распорки из профильного металла, например из швеллеров, а домкрат снимают. При усилении полураскосами, во избежание перегрузки колонн внизу, полураскосы необходимо связать понизу специальной металлической затяжкой.

2.32. При усилении ригелей дополнительными жесткими опорами в виде подкоской системы, устанавливаемой на одной колонне (см. рис. 22), подъем усиливаемой конструкции производится натяжением металлической затяжки посредством натяжной муфты. Для установки подкосной системы в нижней части колонны необходимо предварительно устроить обойму. После установки и стягивания подкосов они в нижней части закрепляются приваркой металлических планок к подкосам. Усиление жесткими дополнительными опорами этого типа в меньшей мере стесняет габариты производственных помещений.

2.33. Для усиления изгибаемых элементов применяются также дополнительные упругие опоры, создаваемые обычно с помощью металлических ферм и балок, устанавливаемых под усиливаемым элементом на общие с ними или самостоятельные опоры и воспринимающие нагрузку через прокладки, расположенные в пролете между усиливающим и усиливаемым элементом.

Включение конструкций дополнительных упругих опор в работу может осуществляться подтягиванием в процессе монтажа опорных концов упругих опор к усиливаемому элементу (рис. 23) или с помощью расклинивающих прокладок (рис. 24). Вместо расклинивающих прокладок могут устанавливаться распорные болты.

2.34. При усилении изгибаемых элементов многоэтажных зданий упругие дополнительные опоры могут быть созданы металлическими тяжами (рис. 25). Реактивная разгружающая сила создается предварительным напряжением тяжей вначале посредством натяжных гаек, а окончательно - натяжными муфтами. Нагрузка от тяжей воспринимается рамой верхнего яруса, к стойкам которой они крепятся.

Производство работ в данном случае не вызывает каких-либо затруднений и может быть проведено в кратчайшие сроки, но тяжи значительно стесняют габариты производственных помещений.

Рис. 20. Усиление дополнительной жесткой опорой

а - подведенной металлической стойкой: 1 - усиливаемая конструкция; 2 - отдельный фундамент под дополнительную опору; 3 - металлическая стойка; 4 - элементы крепления; б - подведенным металлическим порталом: 1 - усиливаемая конструкция; 2 - подведенный металлический портал; 3 - охватывающий металлический хомут; 4 - прокладки; в - металлическими подкосами: 1 - усиливаемый ригель; 2 - металлические подкосы; 3 - затяжка на уровне пола; 4 - клиновидные прокладки; 5 - опорный уголок; 6 - фиксирующие болты

Рис. 21. Усиление ригеля металлическими подкосами с опорой на обойму колонны

1 - усиливаемый ригель; 2 - металлические подкосы; 3 - затяжка; 4 - металлическая обойма колонны; 5 - прокладки

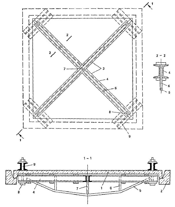
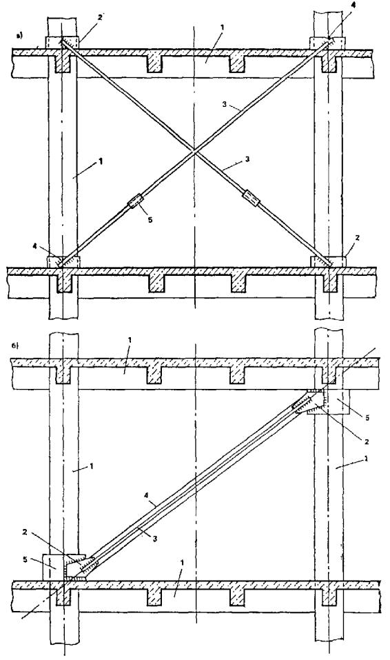
2.35. Для уменьшения изгибающих моментов в элементах многопролетной многоярусной рамы от воздействия ветровой нагрузки могут быть рекомендованы крестовые предварительно напряженные связи из гибких металлических тяжей (рис. 26). Напряжение таких связей проще всего осуществить при помощи стяжных муфт, однако не исключается и применение термического способа. Для анкеровки необходимо предварительно устраивать специальные анкерные хомуты из листового металла, закрепляемые на колоннах. Необходимо иметь в виду, что связи разрешается устанавливать по высоте одной и той же рамы в разных пролетах, что позволяет использовать те пролеты, где это удобнее, исходя из условий технологического процесса.

2.36. Для целей, указанных в п. 2.35, можно рекомендовать также усиление железобетонными раскосами с предварительно напряженными затяжками (см. рис. 26). После установки раскоса в проектное положение гибкие металлические тяжи напрягаются термическим способом с обеих сторон раскоса. Элемент усиления в целом может воспринимать как сжимающие, так и растягивающие усилия.

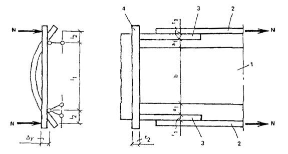
2.37. Для усиления в основном сборных балок покрытия больших пролетов и ферм под нагрузкой могут быть рекомендованы предварительно напряженные шарнирно-стержневые цепи. Применение шарнирно-стержневых цепей позволяет создать противоположную по знаку нагрузку в виде ряда сосредоточенных грузов, расположение и величины которых намечаются заранее в зависимости от очертаний цепей. Эффект усиления (создание реактивных сил заданных величин) достигается натяжением статически определимой цепи. Основными элементами при усилении этим способом являются: собственно шарнирно-стержневая цепь, состоящая из двух одинаковых ветвей по обе стороны усиливаемой балки (уголки с подрезанными вертикальными полками в местах перегиба, арматурные стержни до 30...36 мм диаметром или канаты); анкерные устройства в виде сварных накладок из листового металла в верхней зоне балок над опорами; подвески, обычно из круглой стали, или стойки из профильного металла в местах перегиба ветвей цепи (рис. 27, 28). Арматурные стержни принимаются из стали классов A-I, A-II, A-III, металлические конструкции - из сталей ВСт3сп, ВСт3пс, ВСт3кп. Сварные соединения необходимо выполнять с особой тщательностью.

2.38. Все элементы цепи рекомендуется изготавливать заранее в соответствии с размерами усиливаемой балки, тщательно проверенными в натурных условиях. Элементы цепи следует устанавливать в определенной последовательности. К закрепленным на балке анкерным устройствам подвешивают обе ветви цепи с заранее прикрепленными подвесками, имеющими на концах винтовую нарезку, и соединительными планками. Если кроме подвесок требуются и стойки, то их устанавливают, оставляя свободным место для центральной подвески (стойки). При закручивании гаек все соединительные планки подвесок плотно притягиваются к усиливаемой балке, а цепь получает некоторое натяжение, вследствие которого происходит обжатие анкерных устройств и обмятие всех промежуточных узлов, что приводит к устранению или уменьшению потерь напряжений в дальнейшем. Затем натяжение ослабляется и узлы устанавливаются в проектное положение в соответствии с цепной линией. При креплении ветвей цепи к анкерным устройствам на болтах имеется возможность регулировать длину цепи, что позволяет установить цепь в проектное положение с большей точностью.

При проектировании очертания цепи рекомендуется принимать его таким, чтобы тангенсы углов наклона отдельных звеньев, начиная от середины, относились между собой как 1 : 3 : 5 и т.д. Соблюдение этого условия приводит к тому, что усилия (реактивные силы) во всех подвесках и стойках будут примерно одинаковой величины, и основное натяжение можно производить в месте расположения центральной подвески или стойки. Величина усилия предварительно определяется теоретически.

Рис. 22. Усиление ригеля дополнительной жесткой опорой

а - опирающимися на нижележащее перекрытие: 1 - усиливаемый ригель; 2 - подкладка; 3 - коротыши из круглых арматурных стержней; 4 - двухсторонняя распорка, привариваемая после распора полураскосов; 5 - металлический оголовник; 6 - полураскос; 7 - затяжка на уровне пола; 8 - домкрат; 9 - сварные швы; б - опирающимися на обоймы колонны: 1 - усиливаемый ригель; 2 - обойма; 3 - подкосы; 4 - затяжка; 5 - натяжная муфта; 6 - металлический оголовник; 7 - планки; 8 - прокладки

2.39. Для основного натяжения ветвей цепи в месте расположения центральной подвески или стойки применяются различные способы. В случаях, когда цепь располагается выше низа усиливаемой балки, т.е. требуется установка подвески, натяжение можно осуществлять посредством закручивания гаек динамометрическим ключом с помощью домкрата с манометром, упирающегося в низ балки, и другими способами. Показания манометра позволяют достаточно точно определять величину разгружающей нагрузки. Независимо от расположения цепи относительно усиливаемой балки можно осуществить натяжение ее ветвей оттарированным грузом с последующей фиксацией узла подвеской или стойкой. При натяжении этим способом также обеспечивается достаточный контроль.

2.40. Для усиления изгибаемых элементов многопролетных зданий или конструкций (сборных балок покрытия, второстепенных балок монолитных ребристых перекрытий и т.п.) в приопорных зонах могут применяться двухконсольные предварительно напряженные разгружающие кронштейны, устанавливаемые на промежуточных опорах (рис. 29).

Рис. 23. Усиление дополнительной упругой опорой (металлической балкой)

а - на подвесках - стяжных болтах: 1 - усиливаемая балка; 2 - усиливающая балка; 3 - стяжной болт; 4 - опорный уголок; 5 - прокладка; б - на кронштейнах; 1 - усиливаемая балка; 2 - усиливающая балка; 3 - металлическая обойма колонны; 4 - кронштейны; 5 - клиновидные прокладки

При усилении сборных балок покрытия обе ветви кронштейнов представляют собой треугольные фермы. Нижний пояс выполняется из одного уголка, а верхний пояс и решетка могут быть выполнены как из одинарных уголков, так и из круглых арматурных стержней (см. рис. 28).

Высота кронштейнов принимается равной высоте надопорной части усиливаемых балок. Длины консольных частей кронштейнов рекомендуется принимать равными 1/4 - 1/6 пролета усиливаемых балок. При небольшой длине консольных частей можно вообще отказаться от внутренних элементов решетки.

Частями кронштейна являются ветви кронштейнов, опорные элементы (опорный лист или седлообразные накладки), соединительные элементы в виде отрезков уголков или круглых стержней, упорные устройства, прикрепляемые под низом усиливаемой балки к концам ветвей кронштейна. Эти устройства служат для создания опор усиливаемых балок и могут иметь различную конструкцию в зависимости от способа натяжения кронштейна.

Рис. 24. Усиление изгибаемых элементов дополнительными упругими опорами

а - металлическими балками на подвесках; б - металлическими треугольными фермами; 1 - разгружаемый элемент; 2 - разгружающая конструкция; 3 - подвеска; 4 - опора разгружающей конструкции; 5 - фиксирующий болт; 6 - прокладка; 7 - отверстия, заполняемые бетоном после усиления

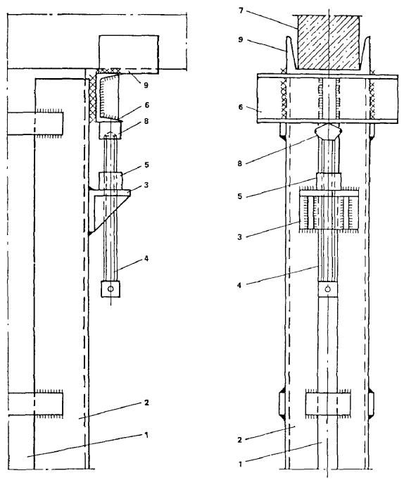
Рис. 25. Усиление дополнительной упругой опорой (предварительно напряженными тяжами)

1 - усиливаемый ригель; 2 - предварительно напряженный тяж; 3 - металлическая обойма; 4 - натяжная гайка; 5 - сварные швы; 6 - отверстия, заделываемые асфальтом; 7 - натяжная муфта

2.41. Опорные элементы кронштейна могут быть двух типов. При усилении сборных балок - это вертикальный металлический лист толщиной 20...30 мм и высотой 300...400 мм в пределах высоты балки, привариваемой внизу к распределительной горизонтальной прокладке. Опорный лист вставляется в зазор между сборными балками и передает нагрузку непосредственно на колонну, при этом необходимо обеспечивать возможность некоторого свободного поворота его, для чего зазор должен превышать толщину листа на 5...10 мм. При усилении второстепенных балок монолитных ребристых перекрытий опорные элементы выполняются в виде седлообразных накладок, устанавливаемых сверху на балки и связанных между собой сваркой (см. рис. 29).

Рис. 26. Усиление рамы

а - предварительно напряженными крестовыми связями: 1 - усиливаемые элементы рамы; 2 - металлическая обойма; 3 - предварительно напряженные тяжи; 4 - сварные швы; 5 - натяжная муфта; б - железобетонным раскосом с предварительно напряженными тяжами: 1 - элементы усиливаемой рамы; 2 - опорная накладка; 3 - предварительно напряженные тяжи; 4 - железобетонный раскос; 5 - металлическая обойма

2.42. Конструкция упорного устройства зависит от способа натяжения. При натяжении болтами она представляет собой жесткий элемент, пропускаемый под низом усиливаемой балки и закрепляемый на болтах к ветвям кронштейна (см. рис. 28). Контроль натяжения осуществляется по прогибу концов кронштейна. При натяжении подвеской оттарированного груза жесткий элемент упорного устройства приваривается к ветвям кронштейна, для чего в нем предусматриваются отверстия или привариваются петли. После натяжения в зазор между низом балки и пластиной упорного устройства плотно укладываются фиксирующие прокладки, а грузы снимаются. Потери напряжения устраняются подвеской груза на 10...15 % большего, чем требуемая разгружающая нагрузка. После натяжения домкратами, устанавливаемыми между упорами, подвешенными на концах кронштейна, и низом балки, также укладывают фиксирующие прокладки. Контроль натяжения осуществляют по манометру домкрата. Поскольку эта система является статически определимой, свободно вращающейся на средней опоре, то можно производить натяжение только одного конца кронштейна. Усилие на другом конце в этом случае будет также известно.

Разгружающие кронштейны могут выполняться также в виде сплошных балок из прокатного металла (см. рис. 28).

В случаях, если усиление вызвано нарушением анкеровки продольной рабочей арматуры, вынос опоры или кронштейна от опорного листа балки должен быть не менее 40 диаметров при стержневой арматуре периодического профиля и не менее 80 диаметров при арматуре из высокопрочной проволоки.

2.43. Конструкция кронштейнов, устанавливаемых на промежуточных опорах второстепенных балок монолитных ребристых перекрытий, несколько отличается от конструкции, указанной в пп. 3.39 - 3.42 (см. рис. 29). Она собирается на месте из четырех частей, так как каждая ветвь кронштейна в этом случае состоит из двух отдельных частей. После их установки верхние растянутые пояса необходимо сваривать над опорой с помощью накладок, нижние остаются разрезанными главной балкой. По нижнему поясу устанавливают соединительные планки для устойчивости каждой ветви кронштейна. Закрепление нижнего пояса двухветвевого кронштейна осуществляется посредством специальных подвесок и опорных накладок.

2.44. При усилении балок покрытия многопролетных зданий рекомендуется применять одновременно различные конструктивные решения для крайних и средних пролетов. Для крайних пролетов можно применить предварительно напряженный шпренгель, для средних - предварительно напряженные разгружающие кронштейны (см. рис. 28).

Рис. 27. Усиление изгибаемых элементов предварительно напряженной шарнирно-стержневой цепью

а - усиление балки монолитного ребристого перекрытия; б - усиление сборной балки покрытия; 1 - усиливаемый элемент; 2 - шарнирно-стержневая цепь; 3 - стойка; 4 - центральная стойка; 5 - металлическая обойма анкерного устройства

Рис. 28. Усиление сборной балки покрытия

а - шарнирно-стержневой цепью: 1 - усиливаемая балка; 2 - шарнирно-стрежневая цепь; 3 - анкерное устройство; 4 - натяжной болт; 5 - опорная подкладка; 6 - соединительный опорный швеллер; 7 - ребро жесткости;

б - предварительно напряженными разгружающими кронштейнами: 1 - усиливаемая балка; 2 - уголки нижнего пояса кронштейна; 3 - тяжи кронштейна; 4 - колонна; 5 - натяжные болты; 6 - связи по нижнему поясу; 7 - оголовник; 8 - плиты покрытия; 9 - распределительная прокладка; 10 - опорный лист; в - выносными опорами: 1 - усиливаемая балка; 2 - опора; 3 - двухконсольные металлические балки; 4 - столик выносной опоры; 5 - соединительный стержень;

г - подпружными системами: I - крайних пролетов - шпренгелем; II - средних пролетов - разгружающими кронштейнами; 1 - усиливаемая балка; 2 - опора; 3 - шпренгель; 4 - упоры; 5 - уголок; 6 - соединительная стяжка;

д - шпренгелем: 1 - усиливаемая балка; 2 - шпренгель; 3 - анкерное устройство; 4 - опорный швеллер; 5 - подкладка с шаровым гнездом; 6 - опорный лист; 7 - прокладка из круглых стержней; 8 - квадратная подкладка; 9 - гайка, вваренная в опорный лист; 10 - натяжной винт; 11 - пакет металлических прокладок

На указанном примере натяжение шпренгелей и кронштейнов производится закручиванием гаек.

2.45. Для монолитных и сборных изгибаемых элементов в случаях необходимости проведения работ в минимальные сроки без снятия временной нагрузки может быть рекомендован способ усиления посредством установки дополнительной предварительно напряженной арматуры. Добавочная арматура может быть как горизонтальной, так и шпренгельной (рис. 30 - 35). Возможна также установка горизонтальной и шпренгельной арматуры одновременно. В результате установки дополнительной арматуры с предварительным ее напряжением меняется напряженно деформированное состояние усиливаемых балок. Предварительное напряжение включает дополнительную арматуру в совместную работу с усиливаемой балкой, которая может рассматриваться как изгибаемая конструкция с увеличенной площадью арматуры, дополнительная часть которой не имеет сцепления с бетоном, и с изменяющейся рабочей высотой.

2.46. Способ усиления установкой дополнительной предварительно напряженной арматуры имеет несколько разновидностей, которые отличаются друг от друга анкеровкой дополнительной арматуры и способом ее натяжения.

Рис. 29. Усиление второстепенных балок предварительно напряженными разгружающими кронштейнами

1 - усиливаемая балка; 2 - уголки нижнего пояса кронштейна; 3 - тяжи кронштейна; 4 - соединительные планки; 5 - прокладка, устанавливаемая после напряжения кронштейна; 6 - подвески; 7 - стык тяжей; 8 - подкладка; 9 - опорные накладки; 10 - отверстия, заделываемые асфальтом; 11 - набетонка

Натяжение дополнительной арматуры может производиться механическим, электротермическим или электротермомеханическим способами.

При механическом способе натяжение напрягаемой арматуры производится с помощью домкратов, динамометрических ключей, натяжных болтов (см. рис. 28), стяжных хомутов, притягивающих тяжи друг к другу (см. рис. 31), а также специальных усиливающих устройств шпренгельного или рычажного типа (см. рис. 32 - 35).

Рис. 30. Усиление балки дополнительной предварительно напряженной арматурой

1 - усиливаемая балка; 2 - арматура балки; 3 - дополнительная предварительно напряженная арматура; 4 - коротыш

2.47. Одним из способов закрепления дополнительной арматуры в случаях, когда анкерные устройства нельзя разместить на торцах балки, является их приварка к существующей арматуре (см. рис. 30). В этих случаях скалывают защитный слой на небольших участках в приопорных зонах, т.е. там, где напряжения в арматуре усиливаемой балки незначительны. К обнаженной рабочей арматуре необходимо приварить коротыши, диаметр которых несколько больше толщины защитного слоя, при этом не следует нарушать стержни поперечного армирования или хомуты. К коротышам приваривают арматурные стержни усиления. Натяжение в данном случае производят термическим способом. Стержни усиления устанавливают в проектном положении с помощью временных подвесок, количество которых следует назначать так, чтобы исключить провисание под действием собственного веса. Стержни должны быть максимально прямолинейными. Один конец стержня приваривают к коротышу, а второй остается свободным. Стержень включают в электрическую цепь и нагревают до расчетной температуры. Свободный конец прижимают к коротышу и приваривают. В процессе сварки до полного остывания шва необходимо поддерживать постоянную расчетную температуру. Для предотвращения выпучивания продольной арматуры в местах приварки дополнительной напряженной арматуры коротыши желательно располагать рядом с одним из хомутов со стороны пролета.

2.48. Прокладки, подкладки, и другие детали при усилении шпренгельной арматурой и ее натяжении (см. рис. 28) необходимо устанавливать в местах перегибов стержней между нижней гранью усиливаемой балки и шпренгельными стержнями. Конструкции этих элементов зависят от способа натяжения стержней, расстояния между нижней гранью усиливаемой балки и стержнями усиления и ширины усиливаемой балки.

Рис. 31. Усиление балки дополнительной предварительно напряженной арматурой

а - горизонтальными затяжками: 1 - усиливаемая балка; 2 - горизонтальные затяжки; 3 - уголок анкера; 4 - вертикальные стержни анкера; 5 - натяжной болт; 6 - шайба; 7 - отверстие, заделываемое после установки анкера; б - промежуточными распорками: 1 - усиливаемая балка; 2 - затяжки; 3 - промежуточные распорки; 4 - натяжной болт; 5 - анкерное устройство; в - шпренгельными затяжками: 1 - усиливаемая балка; 2 - шпренгельные затяжки; 3 - подкладка; 4 - коротыш; 5 - натяжной болт; 6 - шайба; 7 - швеллер анкера; 8 - отверстие, заделываемое после установки анкера; г - комбинированными затяжками: 1 - усиливаемая балка; 2 - горизонтальные затяжки; 3 - шпренгельные затяжки; 4 - подкладка; 5 - коротыши; 6 - уголок анкера горизонтальных затяжек; 7 - вертикальные анкерные стержни; 8 - натяжной болт; 9 - шайба; 10 - швеллер анкера шпренгельных затяжек; 11 - отверстие, заделываемое после установки анкера

2.49. В отдельную группу усиления дополнительной арматурой могут быть объединены и рекомендованы к применению затяжки, напрягаемые посредством взаимного стягивания двух или четырех стержней специальными стяжными болтами (см. рис. 31). Стяжные болты должны иметь вид хомута с двумя нарезными концами и общей шайбой. Натяжение производится одновременным подтягиванием гаек на обоих концах этого хомута. Натяжение посредством взаимного стягивания характеризуется простотой и не требует значительных усилий, поскольку напряжения в стяжных болтах (хомутах) в 7...10 раз меньше напряжений в стягиваемых дополнительных стержнях. Данный способ позволяет создать во всех стягиваемых стержнях (двух или четырех) равномерные усилия, т.е. обеспечивает их саморегулирование. Стягивание может производиться одним стяжным болтом или двумя, с промежуточными распорками или без них. Вертикальные стержни анкеров-затяжек пропускаются через просверленные в перекрытии отверстия для анкеровки.

Рис. 32. Специальные усиливающие устройства для изгибаемых элементов

а - устройство шпренгельного типа; б - многопролетное рычажное устройство; 1 - затяжка; 2 - наклонная ветвь опоры усиления; 3 - рычаг; 4 - вертикальная тяга; 5 - натяжное приспособление; 6 - монтажная связь; 7 - стык стержней затяжки; 8 - опорная прокладка; 9 - шарнирное сочленение рычага с затяжкой; 10 - анкеровка затяжки на рычаге

2.50. При необходимости создания больших усилий натяжения в затяжках для усиления однопролетных балок рекомендуется усиливающее устройство шпренгельного типа (см. рис. 32).

Рис. 33. Усиливающее устройство шпренгельного типа

узлы A, Б: 1 - усиливаемая балка; 2 - накладная ветвь опоры усиления; 3 - опорный уголок; 4 - опорная подкладка; 5 - цилиндрический шарнир; 6 - рычаг; 7 - монтажная связь;

узел В: 1 - стержни затяжки; 2 - цилиндрический шарнир; 3 - короб усиления цилиндрического шарнира; 4 - анкер стержня затяжки типа «обжимная гильза»; 5 - рычаг; 6 - ограничительный болт; 7 - вертикальная тяга; 8 - соединительная планка;

узлы Г и Д: 1 - усиливаемая конструкция; 2 - вертикальная тяга; 3 - подпятник шарнира; 4 - цилиндрический шарнир с пазами по торцам; 5 - упорный подшипник; 6 - гайка; 7 - монтажные связи; 8 - наклонные ветви опоры усиления; 9 - опорная подкладка; 10 - стержни затяжки; 11 - ограничительный болт; 12 - анкер стержня затяжки типа «обжатая гильза»; 13 - цилиндрический шарнир с коробом

Устройство состоит из двух пар наклонных ветвей, которые верхними концами приварены к анкерным листам, а в нижней части имеют отверстия для шарниров; пары рычагов, которые соединены шарнирно с левой парой наклонных ветвей; горизонтальных затяжек, которые шарнирно закреплены на анкерах на одном конце с правой парой наклонных ветвей, а на другом - со свободными концами рычагов; пары вертикальных тяжей, шарнирно соединенных со свободными концами рычагов внизу и закрепляемых на усиливаемой конструкции вверху (натяжение и закрепление тяжей проще всего производится посредством закручивания гаек); монтажных связей из круглых стержней. Соединения и узлы усиливающего устройства см. на рис. 33 - 34. Короб усиления цилиндрического шарнира (см. рис. 33) может быть выполнен из уголка или листового металла.

2.51. Предварительное напряжение в затяжке достигается следующим образом: при закручивании гаек натяжного приспособления посредством пары тяжей свободные концы подтягиваются к нижней грани усиливаемой балки до горизонтального положения. В затяжке возникают растягивающие усилия и она включается в работу, разгружая усиливаемую балку. При усилении этим способом можно натягивать любое необходимое количество стержней. Как правило, усилие натяжения в вертикальных тяжах составляет не более 15 % требуемого усилия натяжения в затяжке и зависит от угла наклона рычагов к нижней плоскости усиливаемой балки, а также от места закрепления затяжек на рычагах. При закреплении затяжек в средней части рычагов усилие натяжения в вертикальных тяжах снижается прямо пропорционально отношению полной длины рычагов к расстоянию до места закрепления затяжек на рычагах.

2.52. Указанное усиливающее устройство может быть использовано при усилении многопролетных балок (см. рис. 32). В этом случае стержни затяжек соединяются между собой в непрерывную цепь, в которую включены рычаги, располагаемые на верхней плоскости балок. В местах перегибов стержней затяжек устанавливаются опорные прокладки, располагаемые по верхней и нижней плоскостям усиливаемых многопролетных балок. Затяжки с одной стороны заанкериваются на неподвижном шарнире рычагов, а с другой - в средней части рычагов.

2.53. Натяжение затяжек для многопролетных балок производится так же, как и для однопролетных посредством закручивания гаек на вертикальных тяжах. Поскольку в данном случае рычаги располагаются на верхней плоскости балок, то натяжные приспособления следует располагать под нижней плоскостью. Рычаги после натяжения (когда они принимают горизонтальное положение) закрепляются на стержнях затяжек посредством привариваемых к ним накладок из листового металла (см. рис. 34).

2.54. В качестве глухих анкеров для арматурных канатов классов К-7 и К-19, а также для стержневой арматуры с плохой свариваемостью рекомендуются анкеры типа «обжатая гильза». Для стержневой арматуры классов A-IV (марка 20 ХГ2Ц) и А-V рекомендуются анкеры двух типов: высаженные головки и приваренные коротыши. Габариты анкерных устройств должны учитываться при назначении расстояний между осями натягиваемых стержней. Места расположения анкеров до натяжения определяются с учетом удлинения арматуры при натяжении, после которого анкеры должны занять проектное положение.

Рис. 34. Многопролетное рычажное усиливающее устройство

1 - усиливаемая конструкция; 2 - напрягаемые стержни усиления; 3 - анкер из напаренных отрезков арматуры; 4 - цилиндрический шарнир с пазами для закрепления арматуры; 5 - привариваемая накладка; 6 - ограничительный болт; 7 - рычаг

2.55. При применении указанного устройства возможны варианты его осуществления со съемными рычагами и натяжным устройством. Устройство также позволяет осуществлять дополнительное натяжение в процессе эксплуатации с заменой затяжек.

2.56. При усилении изгибаемых элементов дополнительной предварительно напряженной арматурой последняя может располагаться как под балкой, так и в нижней части балок у боковых поверхностей (см. рис. 35). Конструктивные решения должны предусматривать перемещение дополнительной арматуры усиления совместно с усиливаемым элементом, для чего при расположении арматуры у боковых поверхностей рекомендуется устанавливать П-образные соединительные элементы с крюками из листовой стали, а при расположении арматуры под балкой - соединительные прокладки (см. рис. 35). Соединительные элементы следует устанавливать на расстоянии, не превышающем высоту усиливаемой балки.

Рис. 35. Расположение напрягаемой арматуры при усилении конструкций

а - по сторонам; б - под нижней гранью; 1, 2 - соединительные прокладки; 3 - усиливаемая конструкция; 4 - напрягаемая арматура; 5 - циклонные опоры усиления; 6 - натяжное приспособление винтового типа

2.57. При осуществлении натяжения рекомендуются конструктивные решения, предусматривающие возможность контроля усилия натяжения арматуры, в частности с применением различного типа динамометров. Если в процессе натяжения арматуры контроль с помощью динамометров затруднен, то измерения усилий натяжения необходимо осуществлять с использованием приборов для контроля натяжения арматуры по ГОСТ 22362-77, например: ДПС-2, ПРД, ЭМИН-3, ИНА-3, ИПН-6, ИПН-7, ПИН, АП-12. При выборе типа измерительного прибора необходимо учитывать вид натягиваемой арматуры, ее диаметр, длину между закреплениями, расстояния между стержнями, а также диапазон усилия натяжения и погрешность показаний прибора.

Для измерения усилия натяжения в стержнях арматуры, расположенной на расстоянии не менее 20 мм друг от друга, наиболее удобен прибор с собственной базой ЭМИН-3.

Для измерения усилия натяжения в арматурных канатах независимо от расстояния между ними рекомендуется использовать приборы ДПС-2, ПРД, ЭМИН-3.

2.58. Круглые стержни дополнительной арматуры принимаются диаметром 18...40 мм. Класс стали может быть любой из рекомендуемых СНиП 2.03.01-84* для предварительно напряженных конструкций. Там, где требуется сварка, необходимо учитывать свариваемость стали. При усилении дополнительной предварительно напряженной арматурой в помещениях с агрессивной средой необходимо выполнять защитные покрытия.

2.59. В случаях усиления центрально- и внецентренно сжатых колонн под нагрузкой как весьма эффективный и сравнительно простой способ рекомендуется устройство предварительно напряженных металлических распорок, представляющих собой конструкцию типа металлических обойм с напряженными стойками. Распорки могут быть односторонними и двухсторонними (рис. 36, 37). Первые применяются для увеличения несущей способности внецентренно сжатых элементов с большими и малыми эксцентриситетами, а вторые - центрально-сжатых и внецентренно сжатых с двузначными моментами элементов.

2.60. Конструкция распорки состоит из двух уголков, связанных между собой приваренными соединительными планками из листового металла. Вверху и внизу каждого уголка распорки необходимо приварить специальные планки, посредством которых распорка передает нагрузки при монтаже, натяжении и эксплуатации на упорные уголки. Упорные уголки устанавливаются на элементах конструкций, непосредственно примыкающих к усиливаемым колоннам (ригелях, балках, обрезах фундаментов и т.п.). Внутренние плоскости полок этих уголков должны быть заделаны заподлицо с наружными боковыми поверхностями усиливаемых колонн. При их установке рекомендуется предварительно скалывать защитный слой и укладывать слой цементного раствора. Установка уголков производится строго горизонтально. Упорные планки распорок выполняются из полосовой или листовой стали и должны быть не тоньше 15 мм, а по площади соответствовать сечению распорок. Планки должны выступать за грани уголков распорок на 100...120 мм и иметь в выступах отверстия для пропуска монтажных болтов.

Рис. 36. Усиление колонны предварительно напряженной односторонней металлической распоркой

а - в период монтажа; б - в напряженном состоянии; 1 - усиливаемая колонна; 2 - уголки распорки; 3 - соединительные планки; 4 - упорные уголки; 5 - планки-упоры, 6 - крепежный монтажный болт; 7 - натяжной монтажный болт; 8 - танки для натяжения болтов в месте перегиба; 9 - крепежные уголки; 10 - крепежные стержни

Рис. 37. Усиление колонны предварительно напряженными двухсторонними металлическими распорками

а - в период монтажа; б - в напряженном состоянии; 1 - усиливаемая колонна; 2 - уголки распорок; 3 - соединительные планки; 4 - упорные уголки; 5 - планки-упоры; 6 - крепежный монтажный болт; 7 - натяжной монтажный болт; 8 - планки для натяжения болтов в месте перегиба

2.61. Монтаж распорок производится с перегибом их в середине высоты. Для осуществления перегиба в боковых полках уголков необходимо предусматривать вырезы. Площадь поперечного сечения распорок в этих местах возмещается последующей приваркой специальных планок, которые одновременно используются для установки натяжных болтов.

2.62. Для создания предварительного напряжения сжатия распорки необходимо выпрямить после монтажа, т.е. придать им вертикальное положение и обеспечить плотное прилегание к усиливаемой колонне. Достигается это закручиванием гаек натяжных болтов.

В случае устройства односторонних распорок связь с усиливаемой колонной достигается установкой крепежных уголков, соединенных планками между собой и распоркой на сварке (см. рис. 36). После выпрямления двухсторонних распорок и включения их в совместную работу с усиливаемой колонной распорки необходимо объединить в единую систему приваркой планок по свободным боковым граням (см. рис. 37). После приварки всех планок натяжные и крепежные монтажные болты необходимо снять, а в месте перегиба распорок приварить дополнительные накладки.

Оптимальную величину предварительного напряжения распорок рекомендуется принимать равной 40...70 МПа (415...725 кгс/см2).

2.63. Усиление изгибаемых элементов на восприятие поперечных сил рекомендуется в основном производить увеличением площади сечения поперечной и наклонной арматуры, которое достигается установкой дополнительных стержней одним из рекомендуемых в пп. 3.64, 3.65 способов (рис. 38).

2.64. Одним из наименее трудоемких способов является усиление вертикальными накладными хомутами (см. рис. 38). Для устройства хомутов необходимо предварительно пробить отверстия в перекрытии с обеих сторон балки. Затем снизу балки в отверстия заводятся хомуты, имеющие концы с нарезкой. На нижние грани балки под хомуты устанавливаются прокладки из уголков. После подведения хомутов сверху балки на их концы надевается прокладка из полосовой стали и закручиваются гайки. При притягивании хомутов гайки должны закручиваться одновременно на двух концах. При этом способе усиления не нарушается поверхность бетона усиливаемых балок.

2.65. Более эффективным способом следует считать усиление предварительно напряженными хомутами, так как предварительное напряжение увеличивает нагрузку, воспринимаемую элементами усиления (см. рис. 38).

Конструкция предварительно напряженных хомутов состоит из верхних крепежных уголков (в ребристых перекрытиях - подвешиваемых к плите перекрытия на болтах); нижних крепежных уголков, соединенных планками на сварке; четного количества хомутов и стяжных болтов с шайбами-захватами. После приварки хомутов снизу и сверху предварительное напряжение в них создается взаимным стягиванием двух стержней стяжными болтами. Чтобы избежать кручения балки, стягивание стержней необходимо производить одновременно с обеих сторон усиливаемой балки. По окончании натяжения стержней гайки на болтах рекомендуется заварить.

Рис. 38. Усиление балок на восприятие поперечных сил

а - вертикальными накладными хомутами: 1 - усиливаемая балка; 2 - накладные хомуты из арматурной стали; 3 - подкладка; 4 - гайка; 5 - нижние прокладки из уголков; б - предварительно напряженными хомутами: 1 - усиливаемая балка; 2 - крепежный болт; 3 - подкладка; 4 - соединительные планки; 5 - накладки из уголков; 6 - предварительно напряженные хомуты; 7 - стяжной болт; 8 - шайба-захват

Рис. 39. Усиление коротких консолей

а - наклонными и горизонтальными предварительно напряженными тяжами: 1 - усиливаемая консоль; 2 - опорные элементы; 3 - накладные упоры из листового металла; 4 - предварительно напряженный тяж; 5 - гайка; 6 - накладные упоры из швеллеров; б - предварительно напряженными хомутами: 1 - усиливаемая консоль; 2 - горизонтальный окаймляющий уголок; 3 - предварительно напряженные хомуты; 4 - верхняя обойма из уголков; 5 - нижний упор; 6 - стяжной болт; 7 - шайба-захват; 8 - гайка;

в - металлическими приспособлениями: I - закрепленными на колонне; II - закрепленными на балке; 1 - подвесная консоль; 2 - подпорка; 3 - несущий хомут; 4 - металлическая обойма; 5 - шайба-упор; 6 - подкладка; 7 - отверстие, заделываемое после установки приспособления; 8 - гайка; 9 - стяжной болт;

г - подвесными металлическими подпорками: 1 - усиливаемый элемент; 2 - подпорка; 3 - несущий хомут; 4 - ребро жесткости; 5 - шайба-упор; 6 - подкладки из уголков; 7 - отверстие, заделываемое после установки подпорки; 8 - гайка; 9 - стяжной болт; 10 - подкладка; 11 - подвесной упор; 12 - клиновидная шайба; 13 - прокладка; 14 - горизонтальный упор

2.66. Усиление коротких консолей колонн рекомендуется производить установкой дополнительных предварительно напряженных, наклонных или горизонтальных тяжей или хомутов (рис. 39). Тяжи крепятся к консоли посредством металлических крепежных элементов и напрягаются завинчиванием гаек. Хомуты крепятся к металлической обойме, устанавливаемой на участке колонны и консоли, и напрягаются взаимным стягиванием (см. п. 2.65).

2.67. Усиление коротких консолей, имеющихся на колоннах и главных балках в местах деформационных швов, рекомендуется производить специальными приспособлениями из металлических элементов, которые представляют собой дополнительные консоли, подвешиваемые к колоннам или главным балкам (см. рис. 39). Соединения отдельных элементов приспособлений осуществляются как на болтах, так и на сварке. Для установки приспособлений в плите перекрытия необходимо пробивать отверстия, которые после установки должны быть заделаны пластичным бетоном на мелком заполнителе.

2.68. При необходимости анкеровки дополнительной арматуры в процессе наращивания конструкций, устройства выпусков арматуры для соединения нового бетона со старым, а также для установки дополнительных закладных элементов к существующим железобетонным конструкциям рекомендуется закрепление арматуры в пробуренных в бетоне скважинах с помощью эпоксидного клея или способом виброзачеканки жесткой цементно-песчаной смесью.

2.69. Закрепление гладкой арматуры и арматуры периодического профиля с помощью эпоксидного клея осуществляется на горизонтальных, вертикальных плоскостях, а также снизу плоскостей, наклоненных под углом до 45° к горизонту. В бетоне перфоратором производится бурение скважин на глубину 20 диаметров стержня, скважины заполняются эпоксидным клеем, в который затем погружаются арматурные стержни.

Закрепление арматуры виброзачеканкой осуществляется только на горизонтальных поверхностях. В пробуренные скважины устанавливаются коротыши, которые зачеканиваются цементно-песчаной смесью с помощью специального уплотнительного устройства с вибратором. Затем к коротышам привариваются стержни требуемой длины или закладные детали. Арматурный стержень, закрепляемый в бетоне виброзачеканкой, должен иметь на заделываемом конце шайбу, привариваемую к стержню.

2.70. Глубина заделки в бетон класса не ниже В12,5 должна составлять не менее 20 диаметров стержня. Удаление стержней от грани бетона и друг от друга должно быть не менее 5 диаметров стержня.

2.71. Все работы по закреплению арматуры в бетоне с помощью эпоксидного клея или виброзачеканки следует выполнять в соответствии с «Рекомендациями по закреплению арматуры в бетонных конструкциях» (М.: Стройиздат, 1984).

Особенности усиления ферм покрытий

2.72. При усилении ферм покрытий возможны следующие варианты: усиление ферм в целом, сквозное усиление одного из поясов, усиление отдельных элементов и узлов.

2.73. Усиление ферм в целом рекомендуется выполнять с помощью предварительно напряженных шарнирно-стержневых цепей.

В цехах, оборудованных мостовыми кранами, шарнирно-стержневые цепи следует располагать в пределах высоты ферм (рис. 40). При этом закрепление концов цепи выполняется на промежуточных узлах верхнего пояса с помощью анкерных устройств, приваренных к металлической обойме узла по аналогии с рис. 42.

2.74. При большом пролете ферм шарнирно-стержневые цепи могут располагаться в двух уровнях с присоединением подвесок поочередно к нижней и верхней ветвям цепи (см. рис. 40).

2.75. При отсутствии мостовых кранов цепи могут располагаться ниже фермы с анкеровкой в опорных узлах (см. рис. 40). Конструктивное решение, технология установки и включения цепи в работу принципиально не отличаются от решений, рекомендуемых в пп. 2.37 - 2.39.

2.76. Сквозное усиление сжатых поясов ферм рекомендуется выполнять металлическими обоймами из профильного и листового металла. Упоры для обойм следует устраивать в соответствии с конфигурацией узлов в месте их установки. Конструктивные решения обойм сжатых поясов аналогичны указанным в п. 2.86.

2.77. Сквозное усиление растянутых поясов ферм рекомендуется выполнять установкой предварительно напряженных затяжек. Анкеровка стержней сквозных затяжек должна выполняться на опорных узлах в торцах ферм; в промежуточных узлах положение стержней затяжек после предварительного напряжения должно быть зафиксировано с помощью специальных хомутов-фиксаторов на сварке (рис. 41).

2.78. При значительном повреждении поясов ферм сквозное их усиление необходимо выполнять после установки временных подпорок.

2.79. Анкерные устройства для затяжек должны быть достаточно жесткими и технологичными в изготовлении. Опорные части анкерных устройств рекомендуется принимать толщиной 10...24 мм. При больших усилиях в затяжках жесткость опорных частей следует обеспечивать постановкой ребер.

Анкерные устройства рекомендуется ставить на выравнивающий слой цементного раствора класса 25. При плотном сопряжении опорной части с бетонной поверхностью по всей площади допускается установка анкеров без раствора «насухо».

При установке анкерных устройств на раствор напряжение затяжек следует производить после набора раствором прочности не менее 70 %.

Анкерные устройства на промежуточных узлах поясов фермы рекомендуется фиксировать обжимными болтами диаметром не менее 10 мм. Усилие в обжимном болте должно быть не менее 10 кН (100 кгс).

2.80. При горизонтальных затяжках следует предусматривать мероприятия, не допускающие их прогиба. Для выбора начальной слабины затяжек рекомендуется давать предварительное напряжение до 20 МПа.

Выбор начальных деформаций анкеров (обмятие бетона) следует производить подтягиванием затяжек на 0,5 мм через 2...3 дня после их установки.

2.81. При усилении одного элемента затяжкой, состоящей из нескольких ветвей, натяжение их следует выполнять одновременно.

2.82. При усилении растянутых элементов решетки ферм также рекомендуется применять предварительно напряженные затяжки (см. рис. 42). Крепление затяжек в узлах может быть осуществлено приваркой к фасонкам, закрепленным болтами и хомутами (узел А) или приваркой к уголкам, притянутым анкерными болтами к поясу фермы (узел Б).

2.83. При напряжении затяжек гайками концы затяжек с резьбой следует выполнять из коротышей диаметром, превышающим диаметр затяжек на 4 мм. Соединение коротышей с затяжкой необходимо выполнять с помощью сварки при соблюдении условия равнопрочности стыка основному металлу сечения затяжки.

2.84. Высота натяжных гаек должна быть не менее 1,5 диаметра резьбы. Между гайками и упорной частью анкера необходимо располагать шайбы. Гайки и шайбы следует изготавливать из твердых сталей.

2.85. Усиление центрально- и внецентренно сжатых отдельных элементов ферм, усилия в которых к моменту усиления меньше усилий, соответствующих исчерпанию несущей способности, допускается осуществлять металлическими обоймами (рис. 43).

Рис. 40. Усиление железобетонных ферм шарнирно-стержневыми цепями

а - с расположением ветвей в пределах высоты ферм: I - одноярусной цепью; II - двухъярусной цепью; 1 - шарнирно-стержневая цепь; 2 - натяжные подвески; 3 - нижний пояс фермы; 4 - стяжная муфта; 5 - опорная подкладка; б - расположенными ниже пояса фермы: 1 - усиливаемая ферма; 2 - шарнирно-стержневая цепь; 3 - анкерное устройство; 4 - стойка; 5 - тяжи; 6 - подвески; 7 - опорная подкладка; 8 - уголки подвески

2.86. Обоймы устанавливаются по всей длине усиливаемого элемента. Включение в работу обойм обеспечивается за счет распора, возникающего в ветвях при деформации усиливаемого элемента от нагрузки, прикладываемой после усиления.

Ветви обоймы должны упираться в узлы фермы через специальные упорные элементы из отрезков профильной стали, установленные на бетонную поверхность на выравнивающий слой раствора класса 25 или без него.

2.87. Для усиления центрально- и внецентренно сжатых отдельных элементов ферм в случае, если несущая способность этих элементов исчерпана, а также если необходимо их разгружение, рекомендуется применение предварительно напряженных распорок. Распорки могут быть односторонними и двухсторонними (см. рис. 43).

Рис. 41. Усиление поясов ферм

1 - усиливаемая ферма; 2 - плиты покрытия; 3 - металлическая обойма; 4 - предварительно напряженные затяжки; 5 - анкерное устройство на опорном узле; 6 - ребро жесткости; 7 - хомут для фиксации затяжек; 8 - фиксатор

Рис. 42. Усиление растянутых элементов решетки ферм

1 - сжатый пояс; 2 - предварительно напряженные затяжки; 3 - элементы анкерных устройств

Конструкция и способ включения в работу двухсторонних распорок аналогичны приведенным в пп. 2.59 - 2.62, но упорное устройство распорок ферм имеет отличия от упорного устройства колонн (см. рис. 36, 37).

Односторонние распорки упираются в специальные упорные коробки из листового металла, установленные в узлах фермы и соединенные с ней стяжными болтами.

2.88. Для усиления промежуточных и опорных узлов ферм рекомендуются металлические предварительно напряженные затяжки (хомуты) (рис. 44). В отдельных случаях допускается усиление металлическими и железобетонными обоймами. Конструкция затяжек состоит из уголков, вверху и внизу попарно скрепленных планками, и вертикальных стержней-затяжек. Вверху стержни привариваются к уголкам. Предварительное напряжение достигается закручиванием гаек снизу. В случае приварки стержней вверху и снизу предварительное напряжение можно осуществить взаимным стягиванием (см. п. 2.65).

Рис. 43. Усиление сжатых элементов ферм

а - обоймой с передачей усилий на узлы конструкции; б - предварительно напряженной распоркой; в - односторонней распоркой с предварительным напряжением; 1 - ветвь обоймы; 2 - соединительная планка; 3 - термонапряженная планка; 4 - упорный элемент; 5 - ветвь распорки; 6 - упорная коробка; 7 - стяжка

Рис. 44. Усиление средних и опорных узлов ферм

1 - усиливаемый элемент; 2 - прокладки из уголков; 3 - упорные уголки; 4 - предварительно напряженные затяжки; 5 - соединительные планки

Особенности усиления плит перекрытий и покрытий

2.89. Усиление монолитных ребристых плит перекрытий может осуществляться: устройством монолитной железобетонной плиты сверху существующей; подведением монолитных железобетонных ребер снизу существующей плиты; подведением металлических ребер опирающихся на устраиваемую одновременно железобетонную рубашку балок перекрытия; подвеской металлических ребер снизу плиты (рис. 45).

Подведенные монолитные железобетонные ребра должны опираться на существующие балки перекрытия, для чего в последних делаются пазы на уровне низа дополнительных ребер.

2.90. Для усиления многопустотных плит с круглыми и овальными отверстиями могут быть использованы пустоты.

Рис. 45. Усиление монолитных ребристых плит перекрытий

а - монолитной железобетонной плитой; б - подведением железобетонных ребер; в - подведением металлических ребер и железобетонной рубашкой; г - подвеской металлических ребер; 1 - разгружаемая плита; 2 - дополнительная армированная плита; 3 - дополнительное железобетонное ребро; 4 - дополнительное металлическое ребро; 5 - рубашка усиления балки

Если требуется усиление на приопорных частях плит, то в этих зонах на 1/4 пролета пробиваются сверху отверстия до пустот, устанавливаются дополнительные арматурные каркасы, после чего пустоты бетонируются пластичным бетоном на мелком заполнителе без устройства дополнительной плиты сверху или с ее устройством (рис. 46). Расчет усиленной конструкции следует выполнять с учетом площади арматуры усиления и арматуры плиты.

Рис. 46. Усиление сборных плит с пустотами

а - опорных участков плит бетонированием пустот, вскрываемых сверху, с установкой арматурного каркаса; б - то же, с бетонированием по верху дополнительной плиты с противоусадочной сеткой; в - бетонированием пустот всей плиты, вскрываемых сверху, с установкой арматурного каркаса; г - при недостаточной площади опирания плит на средних опорах; д - при недостаточной площади опирания плит на крайних опорах; 1 - усиливаемая плита; 2 - опора; 3 - арматура усиления; 4 - бетон усиления

Рис. 47. Усиление сборных ребристых плит

а - выносными опорами: 1 - ферма; 2 - усиливаемая плита; 3 - металлические балки; 4 - металлические консоли; 5 - упоры; 6 - клиновидные подкладки; б - подведенными элементами: I - уменьшением пролета выносными опорами на двухконсольных подпружных балочках; II - подведением стальных балок, подклиненных к поперечным ребрам (правое нижнее изображение - сечение 2 - 2); III - шпренгелем; 1 - усиливаемая плита; 2 - опора; 3 - подпружная балочка; 4 - стальная балка; 5 - опорные и подкладные детали; 6 - шпренгель; 7 - подкладка из швеллера; 8 - клиновидные прокладки; в - при недостаточной площади опирания: I - на средних опорах; II - на крайних опорах; 1 - опора; 2 - усиливаемая плита; 3 - металлические балки усиления; 4 - поперечная траверса; 5 - уголки анкера; 6 - болты анкера

В случае, когда требуется одновременное усиление на поперечную силу и изгибающий момент, отверстия пробиваются и бетонируются по всей длине усиливаемых плит (см. рис. 46).

2.91. При недостаточной площади опирания пустотных плит на промежуточных опорах пробиваются до пустот отверстия в приопорных зонах, в пустоты плит смежных пролетов заводятся общие арматурные каркасы, объединяющие плиты, после чего производится общее для смежных плит бетонирование пустот (см. рис. 46). Усиление в этом случае достигается также за счет создания неразрезных плит.

2.92. При недостаточной площади опирания пустотных плит на крайние опоры рекомендуется устанавливать на них арматурные каркасы так, чтобы они выходили за торцы плит (размеры выпусков и каркасов зависят от ширины опоры). После установки дополнительных каркасов в поперечном направлении (параллельно торцам плит) бетонируется балка, которая служит анкером для выпусков каркасов плит (см. рис. 46). Все работы по установке каркасов в пустоты плит следует производить согласно п. 3.90.

2.93. Усиление сборных ребристых плит можно производить несколькими способами: выносными металлическими опорами; подведенными металлическими балками, подклиненными к ребрам, а также шпренгелями (рис. 47).

При производстве работ по включению выносных опор в работу (см. рис. 47) для недопущения отрыва или подъема плит величина усилий не должна превышать собственного веса конструкций и прочности их крепления к опорам.

2.94. При недостаточной площади опирания ребристых сборных плит рекомендуется устройство дополнительных металлических опорных элементов.

На промежуточных опорах дополнительные опорные элементы выступают в обе стороны от опоры и являются общими для плит смежных пролетов (см. рис. 47). На крайних опорах дополнительные опорные элементы выступают в одну сторону, имеют больший вылет и притягиваются к плите болтами (см. рис. 47). Продольные ребра смежных плит опираются на общую траверсу дополнительных опорных элементов.

2.95. Усиление ребер сборных плит покрытий рекомендуется осуществлять одним из следующих способов.

Усиление на воздействие изгибающих моментов осуществляется бетонированием швов между плитами с установкой в них арматурных каркасов, т.е. созданием дополнительной балочки с одновременным наращиванием сверху или без него, а также односторонним наращиванием снизу с установкой дополнительной арматуры, привариваемой к существующей через коротыши (рис. 48).

Рис. 48. Усиление ребер сборных плит

а - бетонированием шва между плитами; б - односторонним наращиванием; в - установкой хомутов на опорных участках; 1 - усиливаемая плита; 2 - усиление в шве; 3 - хомуты; 4 - прокладки из уголков; 5 - арматура ребра плиты; 6 - дополнительная арматура; 7 - коротыши

Усиление на действие перерезывающих сил на приопорных участках выполняется вертикальными накладными хомутами. Конструкция хомутов аналогична хомутам для балок, но одним хомутом охватываются одновременно два ребра смежных плит (см. рис. 48).

2.96. Для усиления плит, опертых по контуру, наряду с набетонками можно рекомендовать пространственный предварительно-напряженный металлический шпренгель, подводимый под усиливаемую плиту снизу (рис. 49). Конструкция пространственного шпренгеля состоит из двух взаимно пересекающихся плоских шпренгелей, располагаемых по диагоналям плиты. Пересечение поясов должно быть на одном уровне. Все соединения пространственного шпренгеля рекомендуется выполнять на сварке. При монтаже пространственный шпренгель подводят снизу под усиливаемую плиту и подвешивают в углах к несущим элементам контура с помощью четырех болтов и четырех передаточных траверс. Верхние пояса шпренгеля должны быть плотно притянуты к нижней поверхности усиливаемой плиты. Включение в совместную работу производится предварительным напряжением нижних поясов механическим или термомеханическим способами. Все работы по монтажу и предварительному напряжению можно производить без разгружения усиливаемой плиты.

Рис. 49. Усиление сборной плиты, опертой по контуру, пространственным шпренгелем

1 - усиливаемая плита; 2 - элемент несущего контура; 3 - пространственный шпренгель; 4 - верхний пояс; 5 - нижний пояс; 6 - промежуточные стойки; 7 - центральная стойка; 8 - болты для подвески шпренгеля; 9 - передаточные траверсы

Рис. 50. Усиление капители безбалочного перекрытия предварительно напряженным шпренгелем

1 - колонна; 2 - капитель; 3 - плита безбалочного перекрытия; 4 - железобетонная опорная обойма; 5 - нижняя обвязка шпренгеля; 6 - подкосы; 7 - верхняя обвязка шпренгеля

2.97. Для усиления капителей безбалочных перекрытий вместо устройства железобетонных рубашек можно рекомендовать металлический предварительно напряженный пространственный шпренгель (рис. 50), который состоит из нижней уголковой обвязки, опирающейся на опорную железобетонную обойму; верхней уголковой обвязки, охватывающей усиливаемую капитель по периметру; четырех подкосов, соединяющих обвязки между собой. Работы рекомендуется производить в следующей последовательности: забетонировать опорную обойму на колонне, установить нижнюю обвязку и приварить к ней подкосы, установить верхнюю обвязку, нагреть верхнюю обвязку и в нагретом состоянии приварить к ней подкосы. При остывании элементы верхней обвязки укорачиваются и создают предварительное обжатие в подкосах. Площадь сечения уголковых обвязок и подкосов, размеры опорных обойм, температуру нагрева верхней обвязки следует определять исходя из величины нагрузки, которую должно воспринять усиление. Расчетные усилия в элементах пространственного шпренгеля следует определять как в пространственной статически определимой ферме - на действие заданной величины нагрузки.

Особенности усиления подкрановых балок

2.98. Усиление тавровых подкрановых балок выполняется в зависимости от нагрузок и состояния балок металлическими элементами, заменой части сечения наращиванием нового бетона, а также железобетоном совместно с металлическими элементами.

2.99. Для повышения несущей способности и жесткости подкрановых балок может использоваться раздельное или совместное усиление металлической обоймой и выносными металлическими опорами, а также комбинированное усиление металлической обоймой и шпренгелем (рис. 51). Обеспечение эффективности усиления при устройстве выносных опор и шпренгелей следует производить согласно пп. 3.42, 3.48 настоящих Рекомендаций.

Рис. 51. Усиление подкрановых балок

а - обоймой из швеллеров и выносными опорами; б - обоймой из уголков и шпренгелем; 1 - опора; 2 - усиливаемая балка; 3 - двухконсольная подпружная балка; 4 - столик выносной опоры; 5 - швеллеры обоймы; 6 - шпренгель; 7 - уголки обоймы; 8 - коротыши

2.100. При незначительных повреждениях свесов полки подкрановых балок их усиление рекомендуется производить установкой окаймляющих уголков на высокопрочных болтах (рис. 52). Пространство между уголками и остатками полки после предварительной промывки необходимо заполнить пластичным бетоном на мелком заполнителе, причем уголки усиления служат в качестве несъемной опалубки.

Рис. 52. Усиление свесов полок тавровых подкрановых балок

а - при незначительных повреждениях; б - при полном разрушении; 1 - усиливаемая балка; 2 - упорная пластина; 3 - уголки усиления; 4 - тяжи (высокопрочные болты); 5 - пластичный бетон; 6 - металлическая полка усиления; 7 - прокладка из уголков; 8 - соединительная планка; 9 - предварительно напряженные тяжи; 10 - отверстие для инъецирования бетонной смеси

2.101. При значительных повреждениях свесов полки подкрановых балок их усиление рекомендуется производить металлической полкой с ребрами жесткости (см. рис. 52). При установке металлическая полка притягивается предварительно напряженными тяжами из круглой арматурной стали, прикрепленными в нижней части балок к прокладке, состоящей из двух уголков, связанных между собой планками. Вверху металлической полки необходимо предусмотреть специальные отверстия для инъецирования бетонной смеси для заполнения имеющихся свободных пространств.

2.102. Для усиления креплений подкрановых балок к колоннам рекомендуется крепить балки пластинами на сварке к уширению закладной детали, прижимаемой к колонне металлическим хомутом на пружинных шайбах (рис. 53). Рекомендуется предварительно выверить и установить подкрановые балки на проектной отметке выравнивающими подкладками; установить вокруг колонны дополнительный хомут специальной конструкции, который прижмет пластину уширения закладной детали; приварить пластину к закладным деталям балок и к уширению закладной детали на колонне. Подобные усиления требуются в случаях, когда верх выравниваемой балки становится значительно выше существующей в колонне закладной детали.

Рис. 53. Усиление крепления подкрановой балки к колонне

а - приваркой закладных деталей балки к элементам хомута колонны: 1 - подкрановая балка; 2 - колонна; 3, 4 - закладные детали колонны; 5, 6 - закладные детали подкрановой балки; 7 - пластина крепления; 8 - уширение закладной детали; 9 - выравнивающие подкладки; 10 - тяж; 11 - соединительная планка; 12 - подкладки из уголков; 13 - пружинная шайба; б - приваркой металлической обоймы полки к элементам обоймы колонны; в - приваркой закладных деталей балки к элементам обоймы колонны; 1 - подкрановая балка; 2 - колонна; 3 - обойма колонны; 4 - обойма полки балки; 5 - стяжные болты; 6 - лист крепления; 7 - ребро жесткости обоймы колонны

2.103. При легком режиме работы кранов могут быть рекомендованы более простые конструктивные решения креплений подкрановых балок к колоннам (см. рис. 53). От усиления, предлагаемого в п. 2.102, они отличаются большей жесткостью и менее эффективны при работе на выносливость.

Особенности усиления хранилищ для сыпучих материалов

2.104. Усиление стен хранилищ для сыпучих материалов без изменения статической схемы и напряженного состояния может выполняться: с внешней стороны - стальными и железобетонными бандажами и обоймами (рис. 54); с внутренней стороны - железобетонными и стальными гильзами; на отдельных участках по высоте - местными железобетонными обоймами.

2.105. Стальные бандажи могут устанавливаться с зазором между ними и стеной или без зазора.

Бандажи без зазора выполняются из стальной полосы, охватывающей стену по всему периметру, и имеют в месте замыкания стяжные болты.

Для обеспечения надежной совместной работы бандажей со стеной целесообразно предусматривать их предварительное напряжение. Плотность примыкания бандажей к стене контролируется простукиванием по всей их длине. В местах, где обнаружено неплотное примыкание, производится зачеканка цементным раствором.

При устройстве бандажа с зазором (например, при наличии на поверхности стены выступов и впадин) плотность примыкания обеспечивается зачеканкой зазора или заливкой в него раствора. Для этого конструкция бандажа включает приваренный по всему периметру в нижней его части стержень диаметром, равным заданному зазору. В верхней части полосы привариваются коротыши такого же диаметра с промежутками между ними для зачеканки или заливки раствора (см. рис. 54).

2.106. Монтаж бандажей целесообразно выполнять сверху вниз, при этом закрепленные бандажи можно использовать в качества конструкций, поддерживающих подмости и люльки, необходимые при монтаже нижерасположенных бандажей.

При устройстве стальных рубашек с последующей зачеканкой или заливкой бетоном зазора монтаж целесообразно выполнять отдельными кольцами по высоте снизу вверх. Каждый очередной ярус рубашки монтируется после заполнения зазора предыдущего яруса.

2.107. Усиление стен на отдельных участках по высоте целесообразно выполнять путем устройства железобетонных обойм, как правило, с однорядным армированием. При их применении обеспечивается совместная работа стен и обойм на растяжение.

2.108. Разновидностью железобетонных обойм являются обоймы с предварительно напряженной горизонтальной несущей арматурой. По высоте стен для рассматриваемого варианта усиления вертикально устанавливают прокатные профили (швеллеры, двутавры и др.) с отверстиями, через которые пропускают прямые арматурные стержни с резьбой на концах (см. рис. 54), а затем осуществляют натяжение арматуры. Шаг прокатных элементов по периметру стен выбирают из условия, при котором сохраняются линейными горизонтальные арматурные стержни.

2.109. При усилении стен с помощью железобетонных гильз (наращивание сечения стены с внутренней стороны емкости), как правило, сечение гильзы принимают равным первоначальному сечению стены, а арматуру рассчитывают на восприятие всей нагрузки от сыпучего материала. Схема армирования должна предусматривать замыкание усилий в кольцевой арматуре по периметру.

В процессе монтажа арматурного каркаса гильзы рекомендуется крепить его в отдельных точках по периметру и высоте на сварке к обнаженной арматуре усиливаемой стены с помощью коротышей.

Высота гильзы определяется степенью износа усиливаемой стенки и может быть меньше ее высоты.

2.110. При усилении железобетонной гильзой стен прямоугольных в плане емкостей (бункеров, закромов и др.) армирование гильзы предусматривается аналогичным армированию усиливаемой стенки. При этом предполагается, что вся нагрузка воспринимается конструкцией усиления.

2.111. В тех случаях, когда разрушения внутренней поверхности стен не привели к потере их несущей способности и устойчивости, применяют усиление с помощью стальных гильз из листового металла. Технология производства работ допускает монтаж элементов гильз сверху вниз непосредственно с поверхности сыпучего материала, уровень которого регулируют поочередной выгрузкой.

2.112. Для обеспечения устойчивости гильзы в вертикальном направлении выполняют ее крепление к стене в отдельные точках по высоте и периметру. Простейший способ закрепления гильзы к стене - с помощью сквозных болтов с прокладками.

2.113. Усиление стен хранилищ для сыпучих материалов с изменением статической схемы может выполняться: внутренними перегородками, горизонтальными железобетонными тяжами, плоскими диафрагмами, внутренними стальными подвесными экранами.

Рис. 54. Усиление стен хранилищ

а - стальными бандажами с заданным зазором: 1 - усиливаемая стена; 2 - бандаж; 3 - стяжной болт; 4 - упоры стяжного болта; 5 - сварка бандажа после обжатия; б - предварительно напряженной обоймой: 1 - усиливаемая стена; 2 - предварительно напряженная обойма; 3 - прокатные профили; 4 - напрягаемая арматура

2.114. Усиление устройством внутренних перегородок применяют, как правило, в емкостных сооружениях прямоугольного в плане сечения. При этом усиление достигается за счет уменьшения пролета стен, к которым примыкает перегородка, а также за счет снижения горизонтальных нагрузок от сыпучего материала в емкостях силосного типа.

2.115. При усилении стен прямоугольных в плане хранилищ рекомендуется устройство внутри емкости горизонтальных железобетонных тяжей или плоских диафрагм на части высоты емкости. Диафрагмы, как правило, не доходят до днища хранилища, поэтому не препятствуют свободной разгрузке сыпучего материала из всех отсеков емкости.

2.116. При определении нагрузок на перегородки, тяжи и диафрагмы необходимо учитывать сдвигающие усилия за счет трения сыпучего материала и на эти усилия выполнять расчет сопряжения элементов по контактной поверхности. Расчеты с учетом сил трения необходимо выполнять независимо от категории хранилищ (силосного или бункерного типа).

2.117. При усилении с устройством сопряжения перегородок, тяжей и диафрагм втавр к существующим стенам рекомендуется предусматривать нормальное к поверхности сопряжения армирование на нагрузку N = 1,4 - 1,7 Qк, где Qк - сдвигающее усилие по контактной поверхности.

Рекомендуется также предусматривать обжатие по поверхности контакта нормальными усилиями N = 0,3 - 0,4 Qк, которое должно выполняться после набора новым бетоном 80 %-ной проектной прочности.

2.118. Одним из способов усиления разрушенных стен цилиндрических хранилищ является устройство внутренних подвесных стальных экранов. Экраны выполняют из листового металла замкнутыми в кольцевом направлении и подвешивают к стенам в верхней части таким образом, чтобы между существующей стеной и экраном был обеспечен зазор 100...150 мм. Существующие железобетонные стены хранилищ работают только на вертикальные нагрузки, а горизонтальные усилия воспринимаются стальным подвесным экраном.

Для случая горячих сыпучих материалов зазор между экраном и стеной может служить теплоизолятором и выполняться проветриваемым.

2.119. В случае, если несущая способность стен недостаточна дли восприятия вертикальных нагрузок от подвесного экрана, монтаж последнего выполняют непосредственно на вертикальные стойки жесткого металлического каркаса внутри емкости. Устойчивость конструкции экрана обеспечивается самим каркасом.

2.120. Усиление стен емкостей для сыпучих материалов при вынужденном устройстве внецентренного выпуска рекомендуется выполнять двумя группами способов - без изменения статической схемы и напряженного состояния и косвенным усилением путем снижения нагрузки.

При силовом усилении наиболее рационально по высоте на участках с максимальным горизонтальным давлением предусматривать устройство поясов, бандажей, стальных или железобетонных гильз.

2.121. Косвенное усиление стен хранилищ при внецентренной выгрузке сыпучего материала выполняют изменением конструктивного решения емкости путем расположения над выпускным проемом специальных разгрузочных устройств в форме желобов, установленных наклонно от центра емкости к выпускному проему, перфорированных труб, спиральных элементов, системы полых элементов и пр.

2.122. Усиление конструкций подсилосной части колонн, балок и их сопряжений без изменения статической схемы и напряженного состояния выполняется обоймами, наращиванием сечения, а с изменением статической схемы - с помощью связей, аналогично усилению конструкций промышленных зданий.

2.123. Усиление узлов сопряжения стальных воронок с цилиндрическими железобетонными стенами силосов и самих воронок определяется конструктивной схемой узла крепления в существующем сооружении.

При креплении воронки к стенам с помощью закладных деталей, устанавливаемых в стены при их бетонировании, широко используется способ усиления путем разгружения воронки с передачей нагрузки от нее через конструкцию усиления на фундамент (рис. 55).

Под воронку подводится кольцевая опорная металлическая балка, опираемая на наклонные стальные стойки, равномерно расположенные по периметру. Для исключения распорных реакций колонн в уровне сопряжения с фундаментом они объединяются связями в виде замкнутого многоугольника.

На рис. 56 показаны варианты усиления узла сопряжения стальной воронки со стеной, выполненные в железобетоне. Первая конструкция предусматривает возведение железобетонного перекрытия с опиранием через дополнительные опоры на фундамент и последующее заполнение пазух между воронкой и перекрытием тощим бетоном.

Вторая конструкция предусматривает устройство кольцевой монолитной железобетонной балки треугольного поперечного сечения, ее опирание через равномерно установленные по периметру стойки на фундаментную плиту. Этот вариант позволяет обеспечить надежное сопряжение воронки с балкой и разгрузить узел сопряжения воронки со стенкой. Арматурный каркас сваривают внизу, затем поднимают на отметку усиления, приваривают к воронке. Стойки выполняют сборными железобетонными с выпусками арматуры, заводимыми в кольцевую балку. Между стойками устанавливают инвентарную опалубку нижней плоскости балки, демонтируют защитный фартук воронки и в зазор между ней и стеной или через вырезы в воронке осуществляют бетонирование.

Рис. 55. Усиление узла крепления стальной воронки к железобетонной стене путем частичного его разгружения

1 - узел усиления; 2 - опорная балка разгружающей конструкции; 3 - стойки разгружающей конструкции; 4 - фундамент под стойки

Рис. 56. Усиление узла сопряжения стальной воронки с железобетонной стенкой

а - устройством железобетонного перекрытия; б - устройством кольцевой железобетонной балки; 1 - узел усиления; 2 - поддерживающее железобетонное перекрытие; 3 - поддерживающая железобетонная кольцевая балка; 4 - опорные стойки; 5 - забутка тощим бетоном

3. РАСЧЕТ УСИЛЕНИЯ ЖЕЛЕЗОБЕТОННЫХ КОНСТРУКЦИЙ

Общие положения

3.1. Расчет конструкций усиления производится в соответствии с указаниями СНиП 2.03.01-84*, СНиП II-23-81* и положениями, приведенными в настоящих Рекомендациях.

3.2. Усиленные конструкции рассчитываются по предельным состояниям первой и второй групп. Если усиление является следствием дефектов конструкций, то расчет по предельным состояниям второй группы для обычных конструкций и обычных условий не требуется, его необходимо выполнять лишь для специальных конструкций и в особых условиях эксплуатации (например, при усилении резервуаров, эксплуатации в агрессивной среде и т.д.).

3.3. Расчет усиленных элементов железобетонных конструкций при изменении их начальной статической схемы и напряженного состояния производится согласно новой статической схеме с учетом действительного напряженного состояния.

Усиливаемые предварительно напряженные конструкции должны проверяться на совместное действие усилий обжатия арматуры усиления, собственной предварительно напряженной арматуры и внешней нагрузки, действующей при осуществлении усиления.

3.4. Усилия, действующие в элементах статически неопределимых конструкций, должны определяться с учетом возможного их перераспределения, величина которого для усиленных конструкций не должна превышать 30 %. При превышении этой величины на отдельных участках конструкций последние рекомендуется проверить на раскрытие трещин, на прочность сжатой зоны, в частности в сильно армированных сечениях, а в необходимых случаях, для которых рекомендуется расчет по второй группе предельных состояний (см. п. 3.2), - на деформативность и трещиностойкость.

3.5. Для сильно поврежденных конструкций (при разрушении 50 % сечения или 50 % площади рабочей арматуры) конструкция усиления должна рассчитываться на полную действующую нагрузку, при этом усиливаемая конструкция в расчете не учитывается.

3.6. При приварке к существующей арматуре дополнительных стержней ее сечение в связи с возможностью повреждения пережогом при сварке принимается ослабленным на 25 %.

3.7. При определении площади поперечного сечения арматуры усиливаемой конструкции следует учитывать возможное се уменьшение в результате коррозии (особенно язвенной).

При обнаружении следов коррозии арматуры из высокопрочной проволоки конструкцию следует усиливать на полную нагрузку, без учета сопротивления этой арматуры.

3.8. Методика расчета усиленных изгибаемых и внецентренно сжатых конструкций приемлема только при условии обеспечения надежного соединения усиливаемых и усиливающих частей. В том числе следует обеспечивать совместность работы старого и нового бетона конструктивными мероприятиями, например установкой специальной дополнительной арматуры.

3.9. При проектировании усиления расчету подлежат усиливаемый элемент с элементами усиления, а также конструкции или элементы конструкций, на которые могут передаваться усилия от элементов усиления.

3.10. Расчет усиленных железобетонных элементов по прочности должен производиться для сечений, нормальных к их продольной оси, а также для наклонных к ней сечений наиболее опасного направления; при наличии крутящих моментов следует проверять прочность пространственных сечений, ограниченных в растянутой зоне спиральной трещиной наиболее опасного из возможных направлений. Кроме того, должен производиться расчет элементов на местное действие нагрузки (смятие, продавливание, отрыв).

3.11. Нормативные и расчетные значения прочности бетона и арматуры для усиливаемых конструкций принимаются в соответствии с пп. 1.47 - 1.49 настоящих Рекомендаций, а те же характеристики для бетона и арматуры усиления - в соответствии со СНиП 2.03.01-84*.

3.12. При наличии в сечении элемента, усиленного обоймой, рубашкой или наращиванием, арматуры разных видов, а также различных классов бетона, каждый вид арматуры и класс бетона вводят в расчет со своим расчетным сопротивлением.

Расчетное сопротивление арматуры и бетона усиления принимается с учетом коэффициентов условий работы конструкций gbi и gsi по СНиП 2.03.01-84*, а также по п. 3.13 настоящих Рекомендаций.

Положение центра тяжести всего сечения бетона или сжатой зоны, а также статические моменты бетона и арматуры рекомендуется определять, приводя все сечение к бетону одного класса, в соответствии с принятыми расчетными сопротивлениями.

При наличии повреждений, снижающих несущую способность по растянутой арматуре, степень использования в расчете существующей арматуры определяется в зависимости от вида и характера повреждений.

3.13. Усиление конструкций железобетонными обоймами, рубашками и наращиванием рекомендуется выполнять под нагрузкой, не превышающей 65 % расчетной. При сложности или невозможности достижения требуемой степени разгружения допускается выполнение усиления под большей нагрузкой.

При определении расчетных характеристик бетона и арматуры усиления принимаются дополнительные коэффициенты: в первом случае - gbr0 = 1 и gsr0 = 1, во втором - gbri = 0,8 и gsri = 0,8.

В любом случае степень разгружения конструкций должна гарантировать безопасное выполнение работ по усилению, если такие работы ведутся без устройства дополнительных опор, подпорок и т.п.

3.14. В расчетах следует учитывать величину обмятия элементов и конструкций в местах их сопряжения. В частности, для сопряжений бетона с металлом податливость одного узла при отсутствии экспериментальной проверки может приниматься в следующих пределах: металлический упор на бетон с раствором - 3 - 4 мм/узел; без раствора - 4 - 5 мм/узел (желательно не допускать); металлический карман с раствором - 1 - 3 мм/узел; обмятие сопряжения металла с металлом с помощью болтов - 1 мм/узел.

Особенности расчета усиления изгибаемых элементов

Конструкции полного и частичного разгружения

3.15. Конструкции усиления, являющиеся для усиливаемой конструкции разгружающей системой и с нею не замоноличиваемые, но связанные в местах опирания, рассчитываются как самостоятельные или как элементы общей системы, при этом усилия в усиливаемой и усиливающей частях конструкции определяются по правилам строительной механики.

3.16. Расчет элементов полного разгружения производится так же, как для обычных конструкций на полную нагрузку.

В случае, если разгружающие конструкции опираются на существующие или разгружаемые, разгружаемые должны рассчитываться по прочности наклонных сечений согласно СНиП 2.03.01-84*.

3.17. При полном разгружении следует определять величину зазора между разгружающей и разгружаемой конструкциями с учетом расчетных прогибов конструкций по второму предельному состоянию согласно СНиП 2.03.01-84* с введением соответствующих коэффициентов надежности. При этом величина минимального зазора между разгружающей и существующей конструкциями должна приниматься равной расчетному перемещению с коэффициентом запаса: для железобетонных разгружающих конструкций - 2, для металлических разгружающих конструкций - 1,5.

3.18. В изгибаемых конструкциях частичного разгружения, соприкасающихся с разгружаемой конструкцией по всей длине (в том числе на опорах), а также в балках, устанавливаемых рядом с усиливаемыми элементами, допускается определять усилия, используя их пропорциональность жесткостям существующего и разгружающего элементов на основе равенства деформации и кривизны обоих элементов

М1 / В1 = М2 / В2,                                                      (1)

где М1 и В1 - соответственно момент и жесткость, воспринимаемые разгружаемым элементом; М2 и В2 - момент и жесткость, воспринимаемые разгружающим элементом.

В комплексно работающих балках полное усилие М равно сумме усилий, воспринимаемых каждым элементом,

М = М1 + М2.                                                          (2)

Вначале определяют нагрузку, воспринимаемую усиливаемыми элементами. На недостающую часть нагрузки рассчитывают балки усиления, между усиливаемыми и усиливающими балками пропорционально их жесткостям распределяется только та часть нагрузки, которая прикладывается после усиления.

Если конструкции частичного разгружения устанавливаются на существующие элементы и соприкасаются с ними в отдельных точках (через прокладки), то приведенные выше условия определения усилий исходя из пропорциональности их жесткостям приемлемы лишь при наличии не менее восьми точек опирания, включая концевые опоры. При этом расстояние между точками опирания не должно превышать трех высот любого из двух указанных элементов.

3.19. В конструкциях частичного разгружения расчет по прочности сечений, наклонных к продольной оси элемента, производится по СНиП 2.03.01-84* на всю нагрузку только для усиливаемого элемента.

Усиление промежуточными жесткими и упругими опорами

3.20. К решению вопроса о выборе расчетной схемы при усилении конструкций дополнительными жесткими опорами следует подходить особенно тщательно. Для этого следует предварительно определить возможную общую деформацию от ожидаемых нагрузок в месте примыкания к усиливаемой конструкции и убедиться в том, что эта деформация составляет не более 10 % прогиба усиливаемой конструкции без учета опирания ее на жесткую опору.

3.21. При подведении промежуточных жестких опор усиливаемые элементы должны быть максимально разгружены.

Усилия в изгибаемых элементах определяются отдельно от нагрузок, действующих до установки дополнительных опор, и от нагрузок, которые прикладываются после установки этих опор.

В первом случае расчетная схема принимается первоначально без дополнительных опор, а во втором случае - с дополнительными опорами. Расчетные усилия в сечениях элемента определяют как сумму усилий, полученных при расчете по первой и второй схемам. Затем несущая способность определяется в соответствии со СНиП 2.03.01-84*.

3.22. При проектировании усиления дополнительными жесткими опорами необходимо, чтобы эпюра изгибающих моментов, полученная сложением эпюр, построенных от нагрузки, действующей до установки опор, и от нагрузки, прикладываемой после установки опор, нигде не выходила за пределы фактической прочности материалов.

В отдельных случаях над новой опорой допускается отрицательный момент, превышающий значение допустимого. В этом случае в расчет следует ввести пластический шарнир и рассчитывать по новой расчетной схеме. Поскольку в местах установки дополнительных жестких опор верхняя арматура обычно имеет малую площадь поперечного сечения, балку после образования трещин над этой опорой следует рассматривать как разрезную с шарнирным опиранием в месте опоры. При этом рекомендуется обеспечивать достаточную площадь опирания на дополнительной опоре, учитывая возможные отклонения в положении и направлении трещин.

3.23. В изгибаемых элементах, усиленных упругими опорами, так же, как и при жестких опорах, расчетные усилия в сечениях элемента определяют как сумму усилий, полученных по двум расчетным схемам (см. п. 3.20).

Расчет конструкций при усилении упругими дополнительными опорами основан на равенстве прогибов усиливаемого и усиливающего элементов в месте их соединения.

В качестве расчетной схемы от нагрузок, прикладываемых после установки дополнительных упругих опор, может быть принята балка на упругоподатливых опорах. Усилия в такой балке определяются при известных характеристиках жесткости опор по уравнениям пяти моментов.

Для определения характеристик жесткости необходимо сделать статический расчет всей конструкции дополнительной опоры и установить величину перемещения от единичной силы в точке установления дополнительной опоры. Характеристика жесткости при нескольких упругих опорах устанавливается для каждой из них.

3.24. По выбранной расчетной схеме и нагрузкам, прикладываемым к усиливаемому элементу и упругим опорам в местах их сопряжения (равным реакциям), определяются усилия в дополнительных упругих опорах.

3.25. В местах установки жестких и упругих дополнительных опор необходимо проверить усиливаемую балку на действие поперечных сил.

3.26. Рекомендуется учитывать возможное перераспределение нагрузок в усиливаемом элементе за счет деформаций ползучести - при устройстве дополнительных опор из железобетонных элементов; за счет снижения жесткости в соответствии с положениями СНиП 2.03.01-84* - при воздействии длительных статических нагрузок.

Рекомендуется также учитывать перераспределение усилий во времени между усиливаемой конструкцией и элементами усиления в соответствии с «Руководством по расчету статически неопределимых железобетонных конструкций» (М.: Стройиздат, 1975).

Усиление железобетонными обоймами, рубашками и наращиванием

3.27. Железобетонные изгибаемые элементы, усиливаемые железобетонными обоймами, рубашками и наращиванием, рассчитываются как монолитные. При этом дефекты (коррозия или обрывы арматуры, повреждения бетона и пр.), снижающие несущую способность, если не исправляются, то учитываются при расчете усиленной конструкции, как и при расчете конструкций до усиления.

3.28. Расчет по нормальным сечениям изгибаемых элементов, усиленных обоймами, рубашками и наращиванием, в связи с наличием в одном сечении различных классов бетона и различных видов арматуры, а также в связи с расположением арматуры усиливаемой части сечения и арматуры усиления на различных уровнях рекомендуется выполнять по общему случаю расчета железобетонных конструкций при любой форме сечения в соответствии со СНиП 2.03.01-84* с учетом коэффициентов условий работы (см. п. 3.13).

Основные положения по расчету на основе общего случая с учетом особенностей усиления приведены в п. 3.60.

3.29. Расчет изгибаемых конструкций, усиленных обоймами, рубашками и двухсторонним наращиванием, с двойной арматурой в усиливаемой и усиливающей частях сечения, нормального к продольной оси, когда внешняя сила действует в плоскости оси симметрии, допускается производить в зависимости от соотношения между значениями относительной высоты сжатой зоны бетона ξ, определяемой из соответствующих условий равновесия, и значением относительной высоты сжатой зоны бетона ξR, определяемой по СНиП 2.03.01-84* из условия, что предельное состояние элемента наступает одновременно с достижением в растянутой арматуре расчетного сопротивления с учетом соответствующих коэффициентов условий работы арматуры gsi по СНиП 2.03.01-84*, за исключением gs6.

Относительная высота сжатой зоны бетона определяется по формуле

ξ = x / h0,rеd,                                                           (3)

где х - высота сжатой зоны бетона; h0,rеd - расстояние от сжатой грани до общего центра тяжести растянутой арматуры усиливаемого элемента и растянутой арматуры усиления.

При определении ξ и ξR, когда в сжатой зоне расположен усиливаемый и усиливающий бетон разного класса, в расчетах следует принимать расчетное сопротивление бетона Rb более низкого класса. Приведенное расстояние от сжатой грани усиленного элемента до общего центра тяжести определяется по формуле

h0,rеd = h0 + ared,                                                        (4)

где h0 - расстояние от сжатой грани усиленного элемента до центра тяжести растянутой арматуры усиливаемого элемента; ared - расстояние от центра тяжести растянутой арматуры усиливаемого элемента до общего центра тяжести растянутой арматуры усиливаемого элемента и дополнительной арматуры усиления (рис. 57).

При различных значениях расчетного сопротивления растянутой и сжатой арматуры усиливаемого элемента Rs и Rsc и арматуры усиления Rs,ad и Rsc,ad положение их от центра тяжести ared определяется с учетом приведенной площади сечения растянутой Аs,red и сжатой А′s,red арматуры

ared = Rs,ad As,ad (h0,ad - h0) + (Rs As + Rs,ad As,ad);                                   (5)

As,red = As + (Rs,ad / Rs) As,ad;                                                (6)

Аs,red = Аs + (Rsc,ad / Rsc) Аs,ad,                                             (7)

As и А′s - площадь растянутой и сжатой арматуры усиливаемого элемента; Аs,ad и А′s,ad - то же, усиливающего элемента; Rs и Rs,ad - расчетное сопротивление растянутой арматуры усиливаемого и усиливающего элементов; Rsc и Rsc,ad - то же, сжатой арматуры усиливаемого и усиливающего элементов; h0,ad - расстояние от сжатой грани усиленного элемента до центра тяжести растянутой арматуры усиливающего элемента.

Рис. 57. Схемы усилий и эпюры напряжений в сечении, нормальном к продольной оси изгибаемого элемента, при расчете его по прочности, усиленного:

а - обоймой; б - двухсторонним наращиванием; в - то же, с переармированием растянутой зоны; г - односторонним наращиванием

3.30. Согласно положениям, сформулированным в п. 3.29 настоящих Рекомендаций, прямоугольные изгибаемые элементы рекомендуется проектировать так, чтобы соблюдалось условие ξ £ ξR. В этом случае с учетом формулы (4) относительная высота сжатой зоны бетона ξ определяется по формуле

ξ = (Rs Аs,red - Rsc Аs,red) / Rb b h0,red,                                            (8)

где b - ширина усиленного элемента; Rb - расчетное сопротивление бетона, принимаемое Rb или Rb,ad в зависимости от класса бетона, попадающего в сжатую зону бетона (п. 3.29).

Расчет прочности сечения усиленной конструкции М производится из условия

M £ Rb,red b x (h0,red - 0,5 x) + Rsc Аs,red (h0,red - a′),                             (9)

где а - расстояние от сжатой грани бетона усиленного элемента до сжатой арматуры усиления.

Приведенное расчетное сопротивление бетона сжатой зоны усиленного элемента Rb,red определяется по формуле

Rb,red = (Rb Ab + Rb,ad Ab,ad) / Ab,tot,                                     (10)

где Ab,tot = Ab + Ab,ad; Rb - расчетное сопротивление бетона усиливаемого элемента при сжатии; Rb,ad - то же, усиливающего элемента; Ab - площадь сечения сжатой зоны бетона усиливаемого элемента; Ab,ad - то же, усиливающего элемента; Ab,tot - суммарная площадь сечения сжатой зоны бетона усиленного элемента.

Площадь усиливаемого бетона, находящегося в сжатой зоне, рекомендуется выражать с использованием полной высоты сжатой зоны бетона х (см. рис. 57), которая определяется по формуле

x = x1 + x2,

где х1 - часть высоты сжатой зоны бетона, находящаяся в усиливаемом элементе; х2 - то же, в усиливающем элементе.

Аb = [b - (arin + a′rin)] x1;

Ab,ad = b x - Ab,

где arin и arin - ширина обоймы наращивания.

При усилении железобетонных элементов наращиванием со стороны сжатой и растянутой зоны arin и аrin равны нулю.

Если в результате расчета окажется, что высота сжатой зоны бетона находится только в бетоне усиления, то вместо Rb,red следует принять расчетное сопротивление бетона усиления Rb,ad и уточнить новую высоту сжатой зоны бетона.

Высоту сжатой зоны бетона находим по формуле

х = (Rs Аs,red - Rsc Аs,red) / (Rb,red b).                                       (11)

3.31. Количество дополнительной растянутой арматуры Аsd в соответствии с положениями, сформулированными в пп. 3.29, 3.30 настоящих Рекомендаций, находим по формуле (см. рис. 57)

                                         (12)

где А и В - коэффициенты, равные:

A = (Rs As - Rsc Аs,red - Rb,red b h0,red) / (0,5 Rs,ad);                            (13)

             (14)

Когда арматура усиливаемого и усиливающего элементов в сжатой зоне бетона отсутствует или в расчете не учитывается, А и В в формуле (12) определяются по следующим зависимостям (см. рис. 57):

A = (Rs Аs - Rb,red b h0,red) / (0,5 Rs,ad);                                   (15)

B = [2 (M - Rs Аs h0,red) Rb,red b + R2s А2s] / R2s,ad.                         (16)

В этом случае высота сжатой зоны бетона х определяется по формуле

x = (Rs As + Rs,ad As,ad) / (Rb,red b).                                     (17)

3.32. При расчете по прочности прямоугольных изгибаемых элементов рекомендуется соблюдать условие х £ ξR h0,red. В случаях, когда площадь сечения растянутой арматуры по конструктивным соображениям или из расчета по предельным состояниям второй группы принята больше, т.е. условие принимает вид х > ξR h0,red, расчет следует производить по формулам общего случая (см. п. 3.60 настоящих Рекомендаций).

Допускается также при условии х > ξR h0,red производить расчет по формуле (8), а высоту сжатой зоны бетона х определять по зависимости (см. рис. 57)

х = (ss,ad As,ad + ss As - Rsc Аs,red) / (Rb,red b),                               (18)

где

                                     (19)

                                 (20)

где ssp - предварительное напряжение в напрягаемой арматуре S до обжатия бетона (при натяжении арматуры на упоры) либо в момент снижения величины предварительного напряжения в бетоне до нуля воздействием на элемент внешних фактических или условных сил. Определяется с коэффициентом gsp > 0 по СНиП 2.03.01-84*.

В случаях, когда предварительного напряжения нет, в формулах (19) и (20) третье слагаемое в знаменателе выпадает.

При определении величин ss и ss,ad значения ξ и ξR вычисляются в соответствии с тем классом бетона, в котором расположен стержень.

Площадь дополнительной арматуры растяжения в этом случае также определяется из условия (12), где

A = (ss Аs - Rsc Аs,red - Rb,red b h0,red) / (0,5 ss,ad);                             (21)

B = [2 (M + Rsc Аs,red a′ - ss Аs h0,red) Rb,red b + (ss Аs - Rsc Аs,red)2] / s2s,ad.        (22)

3.33. При усилении изгибаемых прямоугольных и тавровых элементов (балок, плит и т.п.) наращиванием сверху (см. рис. 57) высоту наращивания х2 определяют из условия, чтобы количество имеющейся арматуры было достаточным при действующем после усиления моменте.

Для этого условия при однорядном расположении арматуры только в растянутой зоне бетона дополнительная высота бетонирования определяется по следующей формуле:

x2 = - (M / Rs As) + h0 - 0,5 x.                                            (23)

При этом высота сжатой зоны бетона х находится по формуле

x = (Rs As) / (Rb,red b),                                                  (24)

где Rb,red следует принимать:

при высоте сжатой зоны меньшей, чем толщина слоя бетона усиления, равной Rb,ad;

при высоте сжатой зоны большей, чем толщина слоя бетона усиления, равной Rb,red, определяемой по формуле (10).

3.34. Расчет тавровых балок, усиленных двухсторонним наращиванием конструкций с двойной арматурой в усиливаемом и усиливающем бетоне, имеющих полку в сжатой зоне, при ξ £ ξR должен производиться в зависимости от положения границы сжатой зоны:

а) если граница сжатой зоны проходит в полке (рис. 58), т.е. соблюдается условие

Rs As,red £ Rb,red bf hf + Rsc Аs,red,                                       (25)

то расчет производится как для прямоугольного сечения шириной в соответствии с пп. 3.29 - 3.32 настоящих Рекомендаций;

б) если граница сжатой зоны бетона проходит в ребре (см. рис. 58), т.е. равенство (25) не соблюдается, расчет производится из условия

M £ Rb,red b x (h0,red - 0,5 x) + Rb,red hf (bf - b) (h0,red - 0,5 hf) + Rsc Аs,red (h0,red - a′). (26)

Рис. 58. Схемы усилий и эпюры напряжений при расположении сжатой зоны бетона

а - в полке элемента в сечении, нормальном к продольной оси изгибаемого элемента, усиленного двухсторонним наращиванием, при расчете его по прочности; б - в ребре элемента в сечении, нормальном к продольной оси изгибаемого элемента, усиленного двухсторонним наращиванием, при расчете его по прочности

При этом высота сжатой зоны бетона х определяется по формуле

х = [Rs Аs,red - Rb,red hf (bf - b) - Rsc Аs,red] / (Rb,red b).                             (27)

где Аs,red и А′s,red определяются по формулам (5) и (6); Rb,red - по формуле (10).

Площадь дополнительной растянутой арматуры усиления А и В определяется по формуле (12), где

A = {Rs As - Rsc Аs,red - Rb,red [b h0,red + hf (bf - b)]} / (Rs,ad);                              (28)

B = {(Rs As - Rsc Аs,red)2 + [Rb,red hf (bf - b)]2 + 2 Rb,red [K - Rs As h0,red + Rsc Аs,red a′ +             

+ Rb,red 0,5 hf (bf - b)] - 2 Rb,red hf (Rs As - Rsc Аs,red) (bf - b)} / (R2s,ad).                     (29)

3.35. Расчет тавровых балок, усиленных односторонним наращиванием сжатой полки, с двойной арматурой в усиливаемом и одиночной арматурой в усиливающем бетоне должен производиться в зависимости от положения границы сжатой зоны в соответствии с п. 3.34 настоящих Рекомендаций. При этом в формуле (25) следует заменить Аs,red на Аs.

Расчет балок, усиленных односторонним наращиванием растянутого ребра, с двойной арматурой в усиливаемом и одиночной арматурой в усиливающем сечении также производится в зависимости от положения границы сжатой зоны бетона по п. 3.34. При этом в формулах (25) - (29) следует заменить А′s,red на А′s.

3.36. Расчет тавровых балок, усиленных рубашками вокруг ребра, с расположением арматуры на различных уровнях должен проводиться по общему случаю расчета согласно п. 3.60 настоящих Рекомендаций.

Усиление предварительно напряженной арматурой

3.37. Величину предварительного напряжения ssp и ssp в напрягаемой арматуре S и S следует назначать в соответствии с требованиями главы СНиП 2.03.01-84*. При этом максимальная величина предварительного напряжения при контролируемом усилии натяжения арматуры не должна превышать: для стержней из мягких сталей - 0,9 Rs,ser, для стержней из высокопрочных сталей - 0,7 Rs,ser. Минимальная величина предварительного напряжения стержней в любом случае назначается не меньше 0,4 Rs,ser.

3.38. При определении усилий натяжения арматуры необходимо учитывать дополнительные усилия, которые могут возникнуть в связи с изменением температурных условий. Величина дополнительных напряжений определяется разностью температур в момент натяжения арматуры и максимальной или минимальной температурой при условиях эксплуатации.

3.39. Потери предварительного напряжения в затяжках определяются по СНиП 2.03.01-84* как для конструкций с натяжением арматуры на бетон.

Рис. 59. График зависимости напряжения от угла наклона

Величину предварительного напряжения при усилении железобетонных элементов следует принимать с коэффициентами условий работы: для горизонтальных и шпренгельных затяжек - gsr2 = 0,8, для хомутов и наклонных тяжей - gsr3 = 0,75.

3.40. При натяжении затяжек путем стягивания парных ветвей определение величины предварительного напряжения ssp рекомендуется производить в зависимости от тангенса угла наклона ветвей i с использованием графика (рис. 59), полученного из соотношения

                                                    (30)

где Es - модуль упругости арматуры усиливаемого элемента.

При этом необходимо исключать участок малых уклонов i £ 0,01, при которых изменение уклонов вызывает малые напряжения, компенсирующие первоначальное выпрямление стержней.

3.41. Определение несущей способности по нормальным сечениям изгибаемых элементов, усиленных предварительно напряженными стержнями, не имеющими сцепления с бетоном, рекомендуется выполнять в соответствии со СНиП 2.03.01-84* с учетом пп. 3.29, 3.30, 3.42, 3.43 настоящих Рекомендаций.

3.42. Если внешняя сила действует в плоскости оси симметрии сечения, то определение несущей способности изгибаемых элементов, усиленных предварительно напряженными горизонтальными стержнями, допускается выполнять в зависимости от соотношения между величиной относительной высоты сжатой зоны бетона ξ, определяемой из соответствующих условий равновесия, и граничного значения относительной высоты сжатой зоны бетона ξR, при которой предельное состояние наступает одновременно с достижением в растянутой арматуре S усиливаемого элемента - напряжения, равного расчетному сопротивлению Rs, а в арматуре усиления напряжения, определяемого по формуле

                      (31)

где a = Еs / Еb; Еb - модуль упругости бетона усиливаемого элемента; ssp,ad - задаваемая величина предварительного напряжения в дополнительной арматуре усиления (с учетом потерь); Rs,ser,ad - расчетное сопротивление дополнительной арматуры усиления для предельных состояний второй группы, МПа; gs - коэффициент надежности по арматуре, определяемый по СНиП 2.03.01-84*; μ - коэффициент армирования, определяемый из отношения суммарной площади усиливаемой Аs и усиливающей арматуры Аsp,ad к площади бетона, вычисленной из произведения ширины усиливаемого элемента b на расстояние от сжатой грани усиленного элемента до центра тяжести растянутой арматуры h0; l - расстояние между внутренними торцами анкеров арматуры усиления, м; δb - основной безразмерный коэффициент, определяемый по формуле

δb = [(δa Es,ad As) / (Rs,ser,ad Es,st Asp,ad)] - δcl + 1,3,                              (32)

где δa - вспомогательный коэффициент, принимаемый равным 820 МПа; Es,ad - модуль упругости дополнительной арматуры усиления; Es,st - модуль упругости арматуры класса К-7, принимаемой за эталон, равный 1,8 · 105 МПа; Asp,ad - площадь дополнительной напрягаемой арматуры усиления; δcl - коэффициент, учитывающий отсутствие контакта арматуры усиления с усиливаемой конструкцией и равный 0,55 (при наличии контакта равен нулю).

При этом slim,ad для высокопрочной проволочной арматуры принимается не выше ее расчетного сопротивления согласно СНиП 2.03.01-84*.

При определении граничной относительной высоты сжатой зоны бетона ξR по СНиП 2.03.01-84* напряжения в растянутой арматуре следует принимать по арматуре с более высоким расчетным сопротивлением (по арматуре усиливаемого элемента либо по дополнительной напрягаемой арматуре усиления).

Расчетная схема усиления изгибаемого элемента напрягаемой арматурой без сцепления с бетоном в растянутой зоне при одновременном усилении сжатой зоны приведена на рис. 60.

3.43. При проектировании изгибаемых элементов, усиленных предварительно напрягаемой арматурой, следует соблюдать условие ξ £ ξR, ограничивающее относительную высоту сжатой зоны бетона.

Проектирование изгибаемых элементов с усилением предварительно напрягаемой арматурой (затяжками) без соблюдения указанного условия не рекомендуется.

При недостаточной несущей способности с предельным значением суммарной площади арматуры для нормально армированных конструкций дальнейшее увеличение дополнительной напрягаемой арматуры может осуществляться с одновременным усилением сжатой зоны.

Рис. 60. Схемы усилий и эпюры напряжений в сечении, нормальном к продольной оси изгибаемого элемента, усиленного предварительного напряженной арматурой без сцепления с бетоном

Рис. 61. Расположение центра тяжести арматуры усиливаемого элемента и дополнительной напрягаемой арматуры при расположении ее

а - под нижней плоскостью усиливаемого элемента; б - по боковым сторонам усиливаемого элемента

Расчет нормальных сечений по прочности осуществляется по формуле (9), а определение относительной высоты сжатой зоны бетона ξ по формуле

ξ = (Rs Аs + slim,ad Asp,ad - Rsc Аs,red) / (Rb b h0,red),                                (33)

где slim,ad - определяется по формуле (31); h0,red - по формуле (4) и принимается равным не более высоты поперечного сечения конструкции h; величина ared, входящая в формулу (4), определяется по зависимости

ared = [Rsp,ad Asp,ad (h0,red - h0)] / (Rs As + Rsp,ad Asp,ad),                          (34)

где Rsp,ad - расчетное сопротивление дополнительной арматуры усиления.

При этом, если ared > 0, то общий центр тяжести растянутой арматуры находится между усиливаемой и усиливающей арматурой, а последняя расположена под плоскостью элемента по высоте; если ared < 0, то общий центр тяжести растянутой арматуры находится между усиливающей и усиливаемой арматурой, а усиливающая арматура расположена по боковым граням элемента (рис. 61).

Высота сжатой зоны бетона х определяется

х = (slim,ad Asp,ad + Rs Аs - Rsc Аs,red) / (Rb,red b).                             (35)

Необходимая площадь предварительно напряженной растянутой арматуры Asp,ad вычисляется по формуле (12), где

A = (Rs Аs - Rsc Аs,red - Rb,red b h0,red) / (0,5 slim,ad);                             (36)

B = 2 [M + (Rsc Аs,red a′ + Rs Аs h0,red)] Rb,red b - (Rs Аs - Rsc Аs,red)2 / s2lim,ad.         (37)

При определении высоты сжатой зоны и площади предварительно напряженной арматуры Asp,ad величина slim,ad принимается с учетом коэффициента условий работы gs6, определяемого по СНиП 2.03.01-84*.

3.44. Расчет сечений изгибаемых элементов, усиленных предварительно напряженной арматурой и имеющих полку в сжатой зоне, а также неармированных предварительно напряженной арматурой в этой зоне, при действии момента в плоскости оси симметрии конструкции должен производиться в зависимости от положения границы сжатой зоны.

Требуемая площадь сечения дополнительной напрягаемой арматуры, расположенной в растянутой зоне, определяется следующим образом:

а) если граница сжатой зоны проходит в полке, т.е. соблюдается условие (25), - как для прямоугольного сечения шириной в соответствии с пп. 3.29 - 3.32;

б) если граница сжатой зоны проходит по ребру, т.е. условие (25) не соблюдается, - согласно положениям, сформулированным в п. 3.34, а вычисления производятся по формулам (12), (28), (29), где вместо Rs,ad принимается значение slim,ad, определяемое по формуле (31) с учетом коэффициента условий работы gs6 по СНиП 2.03.01-84*.

3.45. При усилении изгибаемых элементов шпренгелями они превращаются в статически неопределимые системы.

Рис. 62. Расчетная схема изгибаемого элемента, усиленного шпренгельной затяжкой

Сечение балки, усиленной шпренгелем, проверяется с учетом продольной силы, действующей в ней как в ригеле шпренгельной системы. В зависимости от результатов расчета сжатая зона балки подлежит или не подлежит усилению.

Конструкции, усиленные шпренгелями, должны проверяться на действие несимметричной нагрузки, если она возможна.

Несущая способность балки, усиленной шпренгелем, должна проверяться на сочетаниях нагрузок, действующих на балку в момент установки шпренгеля (усилия от натяжения и фактическая нагрузка) и на максимально возможную нагрузку после усиления.

3.46. При усилении шпренгелем необходимо создание в нем усилий, разгружающих балку моментом, обратным по знаку моменту от внешней нагрузки. Это усилие первоначально создается предварительным натяжением, которое назначается в соответствии с требованиями п. 3.37. Расчетное сопротивление для стержней шпренгеля рекомендуется снижать путем умножения на коэффициент условий работы gsr4 = 0,8.

3.47. Величину требуемых деформаций при натяжении элементов шпренгеля следует назначать с учетом их потерь, определяемых по п. 3.14, а также положений СНиП 2.03.01-84*.

3.48. Методика расчета шпренгеля предполагает рассматривать балку как самостоятельный внецентренно сжатый элемент, находящийся под воздействием заданной внешней нагрузки и усилий, передаваемых на балку шпренгелем (рис. 62), так же, как внешней нагрузки.

3.49. Расчет балки, усиленной шпренгелем (см. рис. 62) в случае, когда усилия, передаваемые на балку от шпренгеля, рассматриваются как внешние, осуществляют в следующей последовательности:

выбирают габариты шпренгеля и его сечение l1, l3, astr, hstr,j, Asp,ad;

определяют изгибающие моменты в пролете балки до и после усиления соответственно М1 и Mtot;

назначают величину предварительного напряжения в шпренгельной затяжке ssp;

с учетом указанных величин определяют распор в шпренгеле Nst в предельном состоянии по формуле

Nst = [(Мtot - M1) / hstr + ssp Asp,ad] £ ss Asp,ad,                                 (38)

где ss определяется по формуле (31);

определяют усилия S1 и М1, передаваемые на балку от шпренгеля в предельном состоянии:

S1 = Fh tg j;                                                             (39)

M1 = Fh astr;                                                             (40)

определяют воздействия шпренгеля на балку: изгибающий момент Mstr, поперечную силу Qstr:

Mstr = Mtot - M1 = Fh tg j l2;                                            (41)

Qstr = Fr = Fv - S1;                                                     (42)

проверяют сечения в усиленной балке от внецентренного сжатия в предельном состоянии на усилия Mstr и Qstr, при e = N1 / N; е = е0 + h0 + h1; e = e0 + h1 - а′, где е0 - эксцентриситет относительно геометрической оси, проходящей по центру тяжести сечения.

3.50. При усилении железобетонных балок разгружающими предварительно напряженными кронштейнами требуется определить необходимую разгружающую нагрузку, прикладываемую к усиливаемому элементу.

Величины усилий от разгружающих нагрузок Munl и Qunl должны быть такими, чтобы в сочетании с усилиями, вызываемыми предельной нагрузкой на усиливаемые элементы М и Q, была обеспечена несущая способность усиленной конструкции, т.е.

Munl = M - Mcr;                                                         (43)

Qunl = Q - Qcr,                                                          (44)

где Mcr и Qcr - момент и поперечная сила, вызывающие разрушение в усиливаемом элементе.

Предварительно определяют разгружающие значения моментов  и поперечных сил  от единичной силы Р = 1, приложенной к балке в точке дополнительной опоры и направленной как реакция снизу вверх.

По известным значениям  и  величины Funl:

                                                       (45)

                                                          (46)

Рис. 63. Расчетная схема кронштейна

Рис. 64. Основная система при расчете кронштейна методом сил (верхняя наклонная ветвь - х1, нижняя - x2)

Несущая способность балки должна удовлетворять большему из двух указанных условий, обеспечивающих несущую способность усиленной конструкции по моменту и поперечной силе.

3.51. В случаях, когда кронштейн усиления опирается непосредственно на колонну, необходимо проверить балку на отрыв ее от опоры разгружающими силами при отсутствии временной нагрузки.

3.52. Расчет кронштейнов выполняется на усилие Funl; расчетную схему кронштейнов с гибкими элементами решетки рекомендуется принимать в виде статически неопределимой системы. Для расчета принимается половина кронштейна, а поскольку сечение нижнего пояса кронштейна на оси симметрии не поворачивается или поворачивается на относительно малую величину, то его можно считать защемленным в этом месте (рис. 63, 64).

Расчет рекомендуется выполнять методом сил, принимая неизвестными усилия в растянутых элементах. При определении перемещений от единичных неизвестных усилий следует учитывать продольные силы и изгибающие моменты. Влиянием поперечной силы можно пренебречь.

Для предварительного подбора сечений можно принять расчетную схему кронштейна в виде фермы с шарнирами в узлах, но при этом сечение нижнего пояса, подбираемое по нормальной силе, следует увеличить примерно в два раза.

3.53. Учитывая возможные потери усилия от обмятия опор и обжатия упорных устройств, предварительное натяжение кронштейнов осуществляют силой, которая на 15 % больше расчетной.

Особенности расчета усиления внецентренно сжатых элементов

Усиление железобетонными обоймами, рубашками и наращиванием

3.54. Прямоугольные железобетонные центрально-сжатые со случайными эксцентриситетами и внецентренно сжатые усиленные элементы рассчитываются как монолитные. При расчете следует учитывать влияние прогиба на их несущую способность, как правило, путем расчета конструкций по деформированной схеме.

Допускается производить расчет конструкций по недеформированной схеме, учитывая при гибкости l0 / i > 14 влияние прогиба конструкций на его прочность, определяемую из условий (39) и (50) путем умножения на коэффициент η по СНиП 2.03.01-84*.

3.55. При определении расчетных сопротивлений бетона обойм и наращиваний, а также расчетных сопротивлений рабочей арматуры, находящихся в сжатой зоне сечения, следует учитывать коэффициенты условий работы бетона и арматуры gbi и gsi по СНиП 2.03.01-84* и дополнительные коэффициенты условий работы gbri и gsri, учитывающие особенности работы усиленных элементов (см. п. 3.13).

3.56. Методика расчета внецентренно и центрально-сжатых элементов, усиленных обоймами, рубашками и наращиванием, приведенная в настоящих Рекомендациях, предполагает плотное примыкание бетона усиления к опорным частям конструкций, а также заделку арматуры в бетон в соответствии с СНиП 2.03.01-84* при ее расположении в растянутой зоне.

3.57. Несущую способность по нормальным сечениям внецентренно сжатых конструкций, усиленных обоймами, рубашками и наращиванием, рекомендуется определять по СНиП 2.03.01-84* и настоящим Рекомендациям. При этом должны быть учтены особенности, связанные с применением различных видов арматуры и классов бетона в усиливаемых и усиливающих частях сечения (пп. 3.7, 3.11 - 3.13).

Расчет усиленных обоймами, рубашками и двухсторонним наращиванием прямоугольных внецентренно сжатых элементов с двойной арматурой в усиливаемых и усиливающих частях сечения рекомендуется осуществлять:

а) при ξ £ ξR из условия

Ne £ Rb,red b x (h0,red - 0,5 x) + Rsc Аs,red (h0,red - a′),                            (47)

где N - продольная сила; е - расстояние от точки приложения продольной силы N до оси, параллельной прямой, ограничивающей сжатую зону и проходящей через центр тяжести сечения растянутого стержня, наиболее удаленного от указанной прямой, а при отсутствии растянутой зоны - через центр тяжести наименее сжатого стержня; As,red и А′s,red находятся по формулам (5) и (6); h0,red - по (4) и (7); Rb,red - по (10).

Высота сжатой зоны бетона х определяется по зависимости

x = (N + Rs Аs,red - Rsc Аs,red) / (Rb,red b);                                       (48)

б) при ξ > ξR расчет элементов выполняется также по условию (47), при этом высота сжатой зоны х определяется из совместного решения уравнений (49) и (50); (51) и (52) или (49), (51), (52).

x = (N + ss Аs,red - Rsc Аs,red) / (Rb,red b),                                      (49)

где ss для элементов из бетона класса В30 и ниже с ненапрягаемой арматурой вида A-I, А-II, A-III определяется по формуле

                                                   (50)

для элементов из бетона класса выше В30, а также для элементов, с арматурой выше A-III как напрягаемой, так и ненапрягаемой, высота сжатой зоны х и напряжение ssi определяются из уравнений

Rb,red b x - Σssi Asi ± N = 0;                                              (51)

                                              (52)

где ω = a - b Rb.

Коэффициенты a и b, а также величины ssc,u и sspi принимаются по СНиП 2.03.01-84*.

Если ssi > b Rsi, то ssi следует определять по

                                            (53)

В случае, когда найденное по формуле (53) напряжение в арматуре превышает Rsi без учета коэффициента gs6 по СНиП 2.03.01-84*, в условие (51) подставляется значение ss = Rsi. При этом следует учитывать коэффициенты условий работы по СНиП 2.03.01-84*, а также дополнительные коэффициенты условий работы усиленных конструкций gsri (см. п. 3.13).

В формуле (53) ξi и ξeli определяются по СНиП 2.03.01-84*.

3.58. Площадь дополнительной растянутой арматуры усиления элемента прямоугольного сечения с двухсторонним наращиванием при наличии двойной арматуры в усиливаемой и усиливающей частях сечения при ξ £ ξR определяется по формуле (12) и рис. 65, где

A = (N + Rs As - Rsc Аs,red - Rb,red b h0,red) / (0,5 Rs,ad);                                 (54)

B = {0,5 (Rs As - Rsc Аs,red)2 + [Rsc Аs,red a′ - Rs As h0,red + N (e - h0,red)] Rb,red b +                 

+ N (Rs As - Rsc Аs,red) + 0,5 N2} / (0,5 R2s,ad).                                       (55)

Рис. 65. Схемы усилий и эпюры напряжений в сечении, нормальном к продольной оси внецентренно сжатого элемента, при расчете его по прочности

а - усиленного двухсторонним наращиванием при условии ξ £ ξR; б - то же, при условии ξ > ξR; в - усиленного обоймой с расположением арматуры на различных уровнях, по общему случаю расчета

3.59. Площадь дополнительной арматуры вида A-I, A-II, A-III усиления (бетоном класса ниже В30) элемента прямоугольного сечения двухсторонним наращиванием с двойной арматурой в усиливаемой и усиливающей частях сечения при ξ > ξR определяется по зависимости (12) (см. рис. 65), где

A = (N + ss As - Rsc Аs,red - Rb,red b h0,red) / (0,5 ss,ad);                             (56)

B = {0,5 (ss As - Rsc Аs,red)2 + [Rsc Аs,red a′ - ss As h0,red +                                

+ N (e - h0,red)] Rb,red b + N (ss As - Rsc Аs,red) + 0,5 N2} / (0,5 s2s,ad).              (57)

3.60. При различной геометрии поперечного сечения и расположении арматуры на разных уровнях расчет прочности изгибаемых и внецентренно сжатых элементов, усиленных обоймами, рубашками и наращиванием (см. рис. 65), рекомендуется производить по общему случаю расчета из условия

M £ Rb,ad Sb,ad + Rb Sb - Σssi Ssi - Σss,adi Ss,adi,                                (58)

где М - в изгибаемых элементах - проекция момента внешних сил на плоскость, перпендикулярную прямой, ограничивающей сжатую зону сечения; во внецентренно сжатых и растянутых элементах - момент продольной силы N относительно оси, параллельной прямой, ограничивающей сжатую зону и проходящей во внецентренно сжатых элементах через центр тяжести сечения наиболее растянутого или наименее сжатого стержня продольной арматуры; Sb,ad - статический момент площади бетона обоймы или наращивания, расположенной в сжатой зоне относительно указанной оси; Sb - то же, бетона усиливаемой конструкции, расположенной в сжатой зоне относительно указанной оси; Ssi - то же, сечения i-го ряда стержней продольной арматуры усиливаемого элемента относительно указанной оси; ss,adi - напряжения в i-м ряду стержней продольной арматуры усиления; ssi - то же, усиливаемого элемента.

Высота сжатой зоны х и напряжения ssi и ss,adi определяются из совместного решения уравнений:

Rb,ad Ab + Rb Ab - Σssi Asi - Σss,adi As,adi + N = 0;                             (59)

                                        (60)

                                      (61)

ξi = x / h0i,

где h0i - расстояние от оси, проходящей через центр тяжести сечения рассматриваемого i-го стержня арматуры и параллельной прямой, ограничивающей сжатую зону, до наиболее удаленной точки сжатой зоны сечения; ω - характеристика сжатой зоны бетона усиливаемого элемента; ωad - то же, элемента усиления.

Кроме того, для определения положения границы сжатой зоны при косом изгибе требуется соблюдать параллельность плоскости действия моментов внешних и внутренних сил, а при косом внецентренном сжатии - условия, что точки приложения внешней продольной силы, равнодействующей сжимающих усилий в бетоне и арматуре и равнодействующей усилий в растянутой арматуре (либо внешней продольной силы, равнодействующей сжимающих усилий в бетоне и равнодействующей усилий по всей арматуре), должны лежать на одной прямой.

Если значения ssi и ss,adi, полученные по формулам (60) и (61), превышают b Rsi и b Rs,adi для арматуры вида выше А-III, то напряжения следует определять по формуле (53), предварительно заменив в ней ss и Rsi на ssi, ss,adi и Rsi, Rs,adi.

Напряжения ssi и ss,adi вводятся в расчет со своим знаком, полученным при расчете по формулам (53), (60), (61); при этом в любом случае необходимо соблюдать условия:

Rsi ³ ssi ³ - Rsсi;

Rs,adi ³ ss,adi ³ - Rsс,adi.

В случае, когда найденные напряжения в арматуре превышают Rsi и Rs,adi без учета коэффициента условий работы арматуры gs6 по СНиП 2.03.01-84*, в условия (51) и (58) подставляются значения ssi и ss,adi, равные соответственно Rsi и Rs,adi с учетом соответствующих коэффициентов условий работы, в том числе gs6 по СНиП 2.03.01-84*.

3.61. Расчет конструкций, усиленных обоймами с косвенным армированием, должен производиться по СНиП 2.03.01-84* с учетом коэффициентов условий работы усиленной конструкции (см. п. 3.13).

Усиление металлическими обоймами и предварительно напряженными распорками

3.62. Металлические обоймы разрешается учитывать в работе только при наличии упора их в перекрытия и в случае приварки к опорным закладным деталям.

3.63. Расчет усиления железобетонных элементов стальной обоймой осуществляется как для самостоятельной системы по СНиП II-23-81*, но гибкость продольных элементов принимают с учетом их упора в железобетон в местах расположения поперечных планок.

Если между обоймами из металла и железобетонной колонной имеются зазоры (например, в случае расположения на колонне большого числа коммуникаций), то расчет обоймы осуществляется полностью в соответствии со СНиП II-23-81*.

3.64. Предварительно напряженные распорки разгружают колонну на величину, равную созданному в распорках усилию сжатия.

Для предварительного напряжения ветвям распорок дается уклон, величина которого в зависимости от требуемого предварительного напряжения определяется по графику (см. рис. 59). При этом упорные башмаки будущей распорки (обоймы) должны быть до предварительного напряжения установлены на раствор (бетон) класса не менее В15.

3.65. Расчет предварительно напряженных распорок производится по главе СНиП II-23-81* с гибкостью ветвей, определяемой по расчетной длине ветви от места перегиба до точки упора в бетон. При этом необходимо учитывать коэффициент условий работы gsr5 = 0,9.

3.66. После передачи обжатия распорки могут рассчитываться по полному поперечному сечению, так как ослабленные места (надрезы) восстанавливаются привариваемыми накладками.

3.67. Распорки можно рассматривать как самостоятельные разгружающие конструкции, если к моменту усиления на колонну действует полная нагрузка. В этом случае нагрузка Fv, воспринимаемая распорками, равна:

Fv = ssp Acb,                                                           (62)

где Acb - площадь поперечного сечения распорок.

3.68. Для центрально-сжатых колонн расчет распорок осуществляется в соответствии с п. 3.60 Рекомендаций. При этом распорки рассматриваются как дополнительная арматура со своим расчетным сопротивлением. Устанавливать распорки в растянутой зоне сечения колонн не рекомендуется, а если они установлены, то в расчете их учитывать не следует.

Особенности расчета усиления железобетонных ферм

Усиление растянутых элементов металлическими затяжками

3.69. Несущую способность элементов Nr,el, усиленных металлической затяжкой, рекомендуется определять по формуле

Nr,el = Rs1 As + Rs2 Asp + Rs,ad Asp,ad,                                           (63)

где Rs1, Rs2, Rs,ad - расчетное сопротивление соответственно ненапряженной, напряженной и дополнительной напряженной арматуры; As, Asp, Asp,ad - площадь сечения соответственно ненапряженной, напряженной и дополнительной напряженной арматуры.

3.70. Деформации усиленных элементов Dl рекомендуется определять по следующим формулам:

а) для ненапряженных элементов без трещин

Dl = [(F - Nad) / (Eb Ared)] l;                                              (64)

б) для ненапряженных элементов с трещинами

Dl = [(F - Nad) / (Es As)] ψs l;                                              (65)

в) для предварительно напряженных элементов без трещин

Dl = [(F - Nad - N0) / (Eb Ared)] l;                                          (66)

г) для предварительно напряженных элементов с трещинами

                                           (67)

где l - длина усиливаемого элемента; F - внешняя нагрузка на элемент; Nad - усилие, воспринимаемое дополнительной арматурой (затяжкой); N0 - усилие обжатия элемента в момент приложения эксплуатационной нагрузки; Ared = (Еs Аb) / Еb - площадь приведенного сечения в соответствии с главой СНиП 2.03.01-84*; ψs - коэффициент, учитывающий работу бетона между трещинами и определяемый по СНиП 2.03.01-84*.

3.71. Величина оптимального предварительного напряжения в затяжке ssp определяется с учетом приращения напряжения при изменении внешней нагрузки и потерь напряжений в затяжках

ssp = Rs - Dssp + sl,sp £ 0,9 Rs,                                          (68)

где Dssp - приращение напряжения в затяжке при изменении нагрузки; sl,sp - потери напряжения в затяжке.

Величина Dssp определяется по формулам:

а) для элементов без трещин

                                       (69)

б) для элементов с трещинами

                                    (70)

где Es,ad, ls,ad - модуль упругости и длина затяжки.

В расчетах усиления железобетонных ферм длину усиливаемого элемента решетки или пояса допускается принимать без учета размеров узла.

3.72. Потери напряжений в затяжке рекомендуется определять по формуле

sl,sp = (Dls,ad1 + Dls,ad2) (Es,ad / ls,ad),                                    (71)

где Dls,ad1 и Dls,ad2 - деформации анкерных устройств двух концов затяжек, состоящие из начальных Dl0r и упругих Dlel деформации.

3.73. Деформации анкерных устройств при усилении ферм предварительно напряженными затяжками необходимо определять с учетом способа их установки. При установке «насухо» начальные деформации следует принимать по 0,5 мм на каждый анкер, при установке «на раствор» - по 0,25 мм. При обжатии опорных пластин анкерных устройств обжимными болтами нагрузкой с интенсивностью 10 МПа величину Dl0r допускается снижать на 0,25 мм на каждый анкер.

Упругие деформации анкерных устройств Dlel при любом способе установки определяются по формуле

Dlel = [(DNad l2) / (2Es Js)] / (l1 / 2 + l2 / 2),                            (72)

где DNad - изменения усилия в затяжке при увеличении нагрузки; EsJs - жесткость опорной пластины анкера;

l1 = b - 2 t2;                                                         (73)

l2 = t2 / 2 + a1 + t2,                                                   (74)

где t1 - толщина боковой пластины анкера; t2 - толщина опорной пластины; a1 - расстояние от поверхности усиливаемого элемента до боковой пластины анкера; b - ширина опорной части усиливаемого элемента (рис. 66).

Рис. 66. Расчетная схема и конструкция опорного анкера усиления фермы

1 - усиливаемая конструкция; 2 - затяжка; 3 - боковая пластина; 4 - опорная пластина

Упругие деформации анкерных устройств с ребрами жесткости, определенные по формуле (72), следует уменьшать в два раза.

3.74. При усилении элементов нижнего пояса и решетки длиной до 6 м необходимо учитывать влияние упругих деформаций анкерных устройств на напряжение в затяжках.

Усиление сжатых элементов металлическими обоймами и распорками

3.75. Распределение приращения усилия DN между усиливаемым элементом и обоймой, а также распорками обойменного типа рекомендуется определять по следующим формулам:

DNr = [(DN Eb Ared) / (Eb Ared + Es,rin As,rin)] j;                                (75)

DNrin = [(DN Es,rin As,rin) / (Es,rin As,rin + Eb Ared)] δinc j,                         (76)

где DNr - приращение усилия в усиливаемом элементе; DNrin - то же, в обоймах; Es,rin, As,rin - модуль упругости и площадь сечения ветвей обоймы; δinc - коэффициент неплотности опор, равный 0,5; принимается только для обойм с упором концов в узлы; j - коэффициент продольного изгиба ветвей обоймы, определяемый по главе СНиП II-23-81*.

Площадь сечения ветвей обоймы As,rin подбирается методом последовательных приближений.

3.76. При расчете элементов, усиленных односторонними распорками, необходимо учитывать дополнительный изгибающий момент от распорки как в усиливаемом элементе, так и в смежных элементах.

3.77. Распределение приращения усилия DNr и DNcb между усиливаемым элементом и односторонней распоркой рекомендуется определять по следующим формулам:

DNr = (DN Eb Ared) / (Eb Ared + Es,cb Acb);                                         (77)

DNcb = (DN Es,cb Acb) / [Es,cb Acb + Eb Ared (lcb / l)],                                 (78)

где lcb - длина распорки; Ecb, As,cb - модуль упругости и площадь сечения распорки.

3.78. Усилие в распорке от предварительного напряжения DNsp,cb определяется по формуле

DNsp,cb = ssp,cb Acb δinc,                                                     (79)

где δinc - коэффициент неплотности опор, равный 0,5.

3.79. Расчетное усилие в распорке Ncb и дополнительный изгибающий момент в элементе Mad определяются по формулам:

Ncb = Nsp,cb + DNcb;                                                       (80)

Mad = Ncb acb,                                                            (81)

где acb - расстояние между продольными осями усиливаемого элемента и распорки.

3.80. Проверка сечения распорки производится по напряжениям в распорке sx,cb и sy,cb, определяемым по формулам:

sx,cb = Ncb / (2 jx Acb);                                                    (82)

sy,cb = Ncb / (2 jy Acb),                                                    (83)

где jx и jy - коэффициенты продольного изгиба, определяемые согласно главе СНиП II-23-81*.

Усиление узлов ферм напряженными хомутами

3.81. Расчетное усилие в напрягаемых хомутах усиления опорных узлов ферм определяется по формулам:

а) из условия прочности в наклонном сечении по линии отрыва А - В (рис. 67)

Nsp,tr = (N - Nsp - Ns - Ntr) / ctg a;                                          (84)

б) из условия прочности на изгиб в наклонном сечении по линии А - С

Nsp,w = [Fr a2 - Nsp (h0,sp - x / 2) - Ns (h0 - x / 2) - Nw zw,red) / zrw,red,              (85)

x = (Nsp + Ns) / Rb b;                                                    (86)

где a2 - плечо действия опорной реакции; Fr - опорная реакция; N - расчетное усилие в первой панели нижнего пояса; Nsp = Rs Asp (lwin,sp / lem,sp) - усилие в существующей продольной напряженной арматуре; Ns = Rs As (lwin / lem) - то же, ненапряженной арматуре; Nw = Rsw Asw nAB ctg a - усилие в существующей поперечной арматуре (см. рис. 67); lem, lem,sp - длина заделки соответственно ненапряженной и напряженной арматуры; lwin, lwin,sp - длина запуска соответственно ненапряженной и напряженной арматуры за линии разрушения АВ и ABC (см. рис. 67); zw,red, zrw,red - приведенное плечо внутренней пары соответственно для существующей поперечной арматуры и поперечной арматуры усиления; nAB - число поперечных стержней, пересекаемых линией АВ.

Рис. 67. Расчетные схемы узлов фермы

а - опорного; б - промежуточного

3.82. Расчетное усилие Nr,w в напрягаемых хомутах усиления промежуточных узлов ферм рекомендуется определять по формуле

                          (87)

где Nt - усилие в растянутом раскосе; δ1 = ss / 196, где ss - напряжение в существующей арматуре раскоса от действия расчетной нагрузки, уменьшенное на величину 196 МПа; δ2 - коэффициент, учитывающий возможное увеличение заделки стержня а3 в сжатой зоне (для узлов со сжатой стойкой и растянутыми раскосами принимается равным 1,1, для всех остальных случаев - равным 1); d - диаметр продольной арматуры раскоса, м; b - угол между поясом и растянутым раскосом (см. рис. 67); Asw1 - площадь сечения одного поперечного стержня; Rsw - расчетное сопротивление поперечной арматуры; пAB - число поперечных стержней, пересекаемых линией АВ (см. рис. 67), исключая стержни, расположенные ближе 100 мм к точке А.

Особенности расчета усиления балок и ферм предварительно напряженными шарнирно-стержневыми цепями

3.83. Конструкции, усиленные предварительно напряженными шарнирно-стержневыми цепями, рекомендуется рассматривать как комбинированные статически неопределимые системы. Допускается их расчет по упрощенному методу, приведенному в пп. 3.84 - 3.86.

3.84. Натяжение цепи рекомендуется осуществлять при действии на усиливаемую конструкцию не менее 70 - 80 % полной нагрузки.

При проектировании усиления цепью стрелу прогиба цепи f рекомендуется принимать максимальной с учетом допускаемых габаритов, а количество узлов равным трем, пяти или семи.

Распор цепи Hch рекомендуется передавать на усиливаемую балку ниже центра тяжести приведенного сечения или не выше верхней границы ядра этого сечения.

3.85. При расчете усиления по упрощенному методу рекомендуется: определить необходимую степень разгружения балки; наметить очертание цепи; установить усилия в подвесках (стойках) Fsus (рис. 68) и вычислить первоначальную длину цепи Lch; по известным усилиям в подвесках определить усилие во всех звеньях цепи и подобрать их сечение; учитывая деформации цепи, откорректировать расчет и наметить положение цепи после натяжения.

Необходимую степень разгружения конструкции определяют из условия прочности.

Рис. 68. Схема расчета балки, усиленной предварительно напряженной шарнирно-стержневой цепью

Для балок значения изгибающего момента Mch и поперечной силы Qсh, возникающих в них от натяжения цепи, определяют по формулам:

Mch = Mtot - Mmax;                                                   (88)

Qch = Qtot - Qmax,                                                     (89)

где Mtot и Qtot - соответственно полный момент и поперечная сила; Mmax и Qmax - максимально воспринимаемые сечением без усиления момент и поперечная сила.

Неизвестные усилия в подвесках цепи Fsus рассматриваются как внешняя нагрузка, приложенная к балке снизу вверх. Внешние усилия Fsus будут одинаковыми во всех подвесках цепи в том случае, если будут соблюдаться рекомендуемые в п. 2.38 тангенсы углов наклона звеньев цепи. Эта нагрузка должна создавать изгибающий момент и поперечную силу, которые в соответствующих расчетных сечениях равны Mch и Qсh. Из полученных с учетом Mch и Qсh двух значений Fsus принимают большее. По Fsus находят распор цепи Нch, т.е. продольную силу сжатия (см. рис. 68). Далее необходимо проверить прочность сечений балки как внецентренно сжатого элемента с учетом силы Hch по СНиП 2.03.01-84*. Если увеличенная высота сжатой зоны бетона х = (Rs As + Hch) / (Rb b) в результате действия продольной силы N = Hch xmax, проверку сечения можно не делать.

Если до усиления высота сжатой зоны х ³ хтах, то значение усилия в подвеске Fsus находят путем последовательных приближений. В первом приближении Fsus рекомендуется вычислять по моменту, равному 1,2 Mch.

Начальную длину цепи Lch достаточно точно можно определить по формулам:

при трех подвесках

Lch = l [1 + 2,45 (f / l)2];                                                   (90)

при пяти подвесках

Lch = l [1 + 2,55 (f / l)2];                                                   (91)

при семи подвесках

Lch = l [1 + 2,66 (f / l)2];                                                   (92)

где l - пролет балки.

Таблица 3

Усилие в балке от натяжения цепи

Формулы для определения усилий при числе узлов

3

5

7

N

Ml/2

Ml/4

Qmax

1,5 Fsus

2,5 Fsus

3,5 Fsus

Сечения отдельных элементов цепи определяются по величинам усилий S в звеньях цепи, установленным на основе известных значений Fsus и первоначальных размеров звеньев.

По известным усилиям в звеньях определяется общее удлинение цепи DLch

                                                       (93)

где li - длина звена цепи.

3.86. Расчет ферм, усиленных цепями, рекомендуется проводить по аналогии с расчетом балок, но значения Fsus в этом случае подбираются по разности возникающих в элементах фермы усилий (сжимающих, растягивающих) от действия на ферму полной нагрузки и усилий, воспринимаемых ею без усиления цепью.

При проектировании следует учитывать, что силы Fsus, прикладываемые к узлам нижнего пояса, в ряде случаев могут не уменьшать, а увеличивать первоначальные усилия в отдельных стержнях. Поэтому при усилении ферм цепями для отдельных элементов может потребоваться их усиление (обоймами, затяжками и пр.) в соответствии с приращениями усилий от сил, прикладываемых в узлах (табл. 3).

Особенности расчета усиления хранилищ для сыпучих материалов

3.87. Расчет усиления стен хранилищ сыпучего материала выполняется в зависимости от конструктивного решения самой емкости, схемы усиления, статической схемы конструкции после усиления. При этом рассматриваются емкости прямоугольного и круглого в плане сечения.

3.88. При усилении стен прямоугольных в плане емкостей наращиванием, внутренними гильзами или наружными железобетонными рубашками в расчетах на изгиб учитывается жесткость в виде суммы жесткостей старого и нового сечений в том случае, если не предусматриваются специальные мероприятия по обеспечению совместной работы составного сечения по поверхности контакта старого и нового бетона. Если такие мероприятия предусмотрены, а их эффективность может быть оценена расчетным путем, жесткость можно принимать как для общего сечения h1 + h2, где h1 - высота сечения бетона усиливаемой стены; h2 - высота сечения наращивания.

3.89. При усилении наращиванием круглых и прямоугольных в плане емкостей (внутренних гильз или наружных рубашек) на восприятие вертикальных сжимающих нагрузок в расчете по первому предельному состоянию необходимо учитывать полное сечение в виде суммы сечений усиливаемой конструкции и наращивания. При этом длина зоны должна обеспечить передачу сдвигающих напряжений с усиливаемой конструкции на элементы усиления и наоборот.

3.90. При расчете усиления прямоугольных в плане емкостей тяжами, диафрагмами или перегородками последние учитываются как несмещаемые опоры. Расчетная схема стены устанавливается в зависимости от конструкции примыкания элемента усиления к стене.

3.91. Горизонтальную нагрузку от сыпучего материала на стены емкостей при усилении перегородками и диафрагмами определяют в соответствии с указаниями СНиП 2.09.03-85 и с учетом фактического после усиления гидравлического радиуса сечения емкости. При этом вертикальная нагрузка сверху и снизу сечения диафрагм определяется согласно соотношению геометрических размеров емкостей (силосных или бункерных).

3.92. При усилении горизонтальными перфорированными диафрагмами горизонтальную нагрузку на стены определяют и пределах высоты, равной расстоянию между диафрагмам) по схеме работы бункеров. Вертикальную нагрузку на стены емкостей определяют по полной массе сыпучего материала.

3.93. При усилении экраны, подвешенные с зазором к стене, рассчитывают только на вертикальную нагрузку. Если экраны опираются на колонны, стены на сжатие не работают, нагрузка от экранов передается через колонны на плиту подсилосного этажа или на обвязочную балку.

3.94. Расчет усиления круглых в плане стен хранилищ обоймами или бандажами рекомендуется выполнять на часть усилия (нагрузки), не воспринимаемую усиливаемой конструкцией.

3.95. Расчет усиления стен внутренними гильзами или наружными рубашками ведется в зависимости от степени и характера повреждения стен на полную нагрузку от сыпучего материала или на ее часть. Часть нагрузки на конструкцию усиления F2 определяется по зависимости

F2 = F - F1,                                                             (94)

где F - полная расчетная нагрузка; F1 - часть расчетной нагрузки, воспринимаемая усиливаемой конструкцией.

Примеры расчета

Усиление изгибаемых элементов

Пример 1. Дано: размеры сечения усиленного элемента b = 0,4 м; h = 0,8 м; бетон усиливаемого элемента условного класса В′20 с Rb = 11,0 МПа; высота наращивания х2 = 0,1 м, бетон усиления класса В25 с Rb,ad = 15,0 МПа.

Расположение арматуры показано в сечении на рис. 69: h0 = 0,67 м; h0,ad = 0,77 м; а = а′ = 0,03 м; арматура усиливаемого элемента вида А-II Rs = Rsc = 280 МПа, As = A′s = 6,06 · 10-4 м2 (3 Ø 16); арматура усиливающего элемента вида А-II с Rsc,ad = 280 МПа, A′s,ad = 12,57 · 10-4 м2 (4 Ø 20), вида А-III с Rs,ad = 365 МПа, As,ad = 21,99 · 10-4 м2 (7 Ø 20).

Усиление железобетонного элемента осуществлялось без его разгружения. Предварительная нагрузка на усиливаемый элемент не превышала 65 % разрушающей нагрузки, следовательно gbr0 = gsr0 = 1 (см. п. 3.13 Рекомендаций).

Требуется определить прочность элемента.

Расчет.

По формуле (5) определяем As,red:

As,red = 6,06 · 10-4 + (365 / 280) 21,99 · 10-4 = 34,73 · 10-4 м2.

По формуле (6) находим As,red:

A′s,red = 6,06 · 10-4 + (280 / 280) 12,57 · 10-4 = 18,63 · 10-4 м2.

По формуле (7) вычисляем аred:

Определяем h0,red по формуле (4):

h0,red = 0,67 + 0,082 = 0,752 м.

Согласно формуле (8) вычисляем ξ, при этом по п. 3.29 Рекомендаций принимаем Rb = 15 МПа.

Определяем по формуле (25) СНиП 2.03.01-84* ξR:

где w = a - 0,008 Rb по формуле (26) СНиП 2.03.01-84*. Коэффициент a = 0,85 для тяжелого бетона; ssr = Rs = 280 МПа, ssc,u = 400 МПа.

Рис. 69. Схемы усилий и эпюры напряжений в сечении, нормальном к продольной оси изгибаемого элемента

а - усиленного двухсторонним наращиванием при условии ξ < ξR; б - то же, при условии ξ > ξR; в - усиленного предварительно напряженной арматурой без сцепления с бетоном

Следовательно, ξR > ξ, что позволяет производить расчет усиленной конструкции по формулам (9) и (11) настоящих Рекомендаций.

Определим приведенное расчетное сопротивление бетона сжатой зоны усиленного элемента по формуле (10)

Rb,red = (Rb Ab + Rb,ad Ab,ad) / Ab,tot,

где

Аb = b x1;                      Ab,ad = b x - Ab;                Ab,tot = Ab + Ab,ad;                         x1 = x - x2;

Аb = 0,4 (x - 0,1); Ab,ad = 0,4 x - 0,4 (x - 0,1) = 0,04 м2;

Ab,tot = 0,4 (x - 0,1) + 0,04 м2;

Rb,red = [11 · 0,4 (x - 0,1) + 15 · 0,04] / [0,4 (x - 0,1) + 0,04] = (11 + 0,4 / x) МПа.

Находим высоту сжатой зоны бетона по формуле (11)

х = (280 · 34,73 · 10-4 - 280 · 18,63 · 10-4) / [(11 + 0,4 / х) 0,4] = 0,066 м.

Следовательно, сжатая зона бетона усиленного элемента находится полностью в бетоне усиления, вследствие чего требуется ее уточнение, так как вместо Rb,red необходимо принять Ab,ad = 15 МПа согласно п. 3.30 Рекомендаций.

Тогда

х = (280 · 34,73 · 10-4 - 280 · 18,63 · 10-4) / (15 · 0,4) = 0,08 м.

Из условия (9) определяем несущую способность М усиленного элемента

M = 15 · 0,4 · 0,08 (0,752 - 0,5 · 0,08) + 280 · 18,63 · 10-4 (0,752 - 0,03) =

= 0,7164 МПа·м3 = 716,4 кНм.

Пример 2. Для условий, сформулированных в примере 1, определить площадь дополнительной растянутой арматуры As,ad, если изгибающий момент М = 716,4 кНм.

Расчет.

По формуле (13) вычисляем коэффициент А

A = (280 · 6,06 · 10-4 - 280 · 18,63 · 10-4 - 15 · 0,4 · 0,752) / (0,5 · 365) =

= - 0,0266 м2 = - 266 · 10-4 м2.

Согласно формуле (14), находим коэффициент В

В = {2 [0,7164 + (280 · 18,63 · 10-4 · 0,03 - 280 · 6,06 · 10-4 · 0,752)] 15 · 0,4 +

+ (280 · 6,06 · 10-4 - 280 · 18,63 · 10-4)2} / 3652 = 5500 · 10-8 м2.

По формуле (12) определяем количество дополнительной растянутой арматуры As,ad

As,ad = (- 266 · 10-4) / 2 ±  = [(266 · 10-4) / 2 ± 110,4 · 10-4] м2

или As,ad = 22,6 · 10-4 м2 = 22,6 см2.

Пример 3. Для условий, сформулированных в примере 1, определить площадь дополнительной арматуры As,ad, если арматура в сжатой зоне бетона усиливаемого и усиливающего элемента отсутствует, т.е.

As = As,ad = 0.

Изгибающий момент М = 0,7164 МПа·м3 = 716,4 кНм.

Расчет.

По формуле (17) определяем высоту сжатой зоны усиленного элемента х

х = (280 · 6,06 · 10-4 + 365 · 21,99 · 10-4) / [(11 + 0,4 / х) 0,4] = 0,13 м.

Следовательно, сжатая зона бетона усиленного элемента находится как в усиливающем, так и в усиливаемом элементе.

По формуле (15) определяем

A = [280 · 6,06 · 10-4 - (11 + 0,4 / 0,13) 0,4 · 0,752] / (0,5 · 365) = - 0,0241 = - 241 · 10-4 м2.

По формуле (16) вычисляем

В = [2 (0,7164 - 280 · 6,06 · 10-4 · 0,752) (11 + 0,4 / 0,13) 0,4 +

+ (280 · 6,06 · 10-4)2] / 3652 = 4900 · 10-8 м2.

As,ad = 241 · 10-4 / 2 ±  = 241 · 10-4 / 2 ± 98 · 10-4 м2;

As,ad = 22,5 · 10-4 м2 = 22,5 см2.

Пример 4. Дано: размеры сечения усиливаемого элемента b = 0,5 м; h = 0,7 м; бетон условного класса В′10; Rb = 6,0 МПа; высота наращивания х2 = 0,1 м; бетон усиления класса В12,5; Rb,ad = 7,5 МПа.

Расположение арматуры показано в сечении на рис. 69: h0 = 0,57 м; h0,ad = 0,67 м; а = а′ = 0,03 м; арматура усиливаемого элемента вида А-II, Rs = Rsc = 280 МПа, As = 15,73 · 10-4 м2 (5 Ø 20); A′s = 9,43 · 10-4 м2 (3 Ø 20); арматура усиливающего элемента: вида А-II, Rsc,ad = 280 МПа; A′s,ad = 9,43 · 10-4 м2 (3 Ø 20); вида А-III, Rs,ad = 365 МПа; As,ad = 49,48 · 10-4 м2 (7 Ø 30).

Усиление железобетонного элемента осуществлялось без его разгружения. Предварительная нагрузка на усиливаемый элемент не превышала 65 % разрушающей нагрузки, следовательно gbr0 = gsr0 = 1 (см. п. 3.13 Рекомендаций).

Требуется определить прочность элемента.

Расчет.

По формуле (5) определяем As,red:

As,red = 15,73 · 10-4 + (365 / 280) 49,48 · 10-4 = 80,25 · 10-4 м2.

Находим As,red по зависимости (6):

A′s,red = 9,43 · 10-4 + (280 / 280) 9,43 · 10-4 = 18,86 · 10-4 м2.

Вычисляем аred по формуле (7):

аred = [280 · 49,48 · 10-4 (0,67 - 0,57)] / (280 · 15,73 · 10-4 + 365 · 49,48 · 10-4) = 0,08 м.

Определяем приведенную высоту h0,red по формуле (4):

h0,red = 0,57 + 0,08 = 0,65 м.

По формуле (8) определяем ξ с учетом п. 3.29 Рекомендаций.

ξ = (280 · 80,25 · 10-4 - 280 · 18,86 · 10-4) / (7,5 · 0,5 · 0,65) = 0,7052.

По формуле (25) СНиП 2.03.01-84* находим ξR:

где w = a - 0,008 Rb по формуле (26) СНиП 2.03.01-84*. Коэффициент a = 0,85 для тяжелого бетона; ssr = Rs = 280 МПа, ssc,u = 400 МПа.

Следовательно, ξR < ξ и расчет прочности сечения элемента проводим по зависимостям (9) и (18).

По формуле (10) определяем Rb,red, где

Аb = 0,5 (x - 0,1); Ab,ad = 0,5 x - 0,5 (x - 0,1) = 0,05 м2;

Ab,tot = 0,5 (x - 0,1) + 0,05 м2;

Rb,red = [6 · 0,5 (x - 0,1) + 7,5 · 0,05] / [0,5 (x - 0,1) + 0,05] = (6 + 0,16 / x) МПа.

По зависимости (19) определяем ss

ssр = 0;

ss = (0,2 + 0,6598) 280 / (0,2 + 0,7052) = 266 МПа.

Определяем ss,ad по формуле (20)

ss,ad = (0,2 + 0,6598) 365 / (0,2 + 0,7052) = 347 МПа.

По зависимости (18) находим высоту сжатой зоны усиленного элемента х

х = (347 · 49,48 · 10-4 + 266 · 15,73 · 10-4 - 280 · 18,86 · 10-4) / [(6 + 0,16 / х) 0,5] = 0,51 м.

Определяем несущую способность усиленного элемента M по формуле (9)

M £ Rb,red b x (h0,red - 0,5 x) + Rsc Аs,red (h0,red - a′);

M = (6 + 0,16 / 0,51) 0,5 · 0,51 (0,65 - 0,5 · 0,51) + 280 · 18,86 · 10-4 (0,65 -

- 0,03) = 0,98620 МПа·м3 = 962 кНм.

Пример 5. Для условий, сформулированных в примере 4, определить площадь дополнительной арматуры As,ad. Изгибающий момент М = 962 кНм.

Расчет.

По формуле (21) определяем коэффициент A

A = [266 · 15,73 · 10-4 - 280 · 18,86 · 10-4 - (6 + 0,16 / 0,51) 0,5 ´

´ 0,65] / (0,5 · 347) = - 0,0124 = - 124 · 10-4 м2.

Коэффициент В вычисляем по формуле (22)

В = {2 [0,9862 + (280 · 18,86 · 10-4 · 0,03 - 266 · 15,73 · 10-4 · 0,65)] (6 +

+ 0,16 / 0,51) · 0,5 + (266 · 15,73 · 10-4 - 280 · 18,86 · 10-4)2} / 3472 = 3600 · 10-8 м2.

Находим площадь дополнительной арматуры As,ad по зависимости (12)

As,ad = (124 · 10-4) / 2 ±  = (124 · 10-4 / 2 ± 12 · 10-4) м2

или As,ad = 50 · 10-4 м2 = 50 см2.

Пример 6. Дано: балка прямоугольного сечения b = 0,18 м; h = 0,3 м; длина балки l = 3,8 м; бетон условного класса В′50, Rb = 27,5 МПа; Rb,ser = 36 МПа; Eb = 39 · 10-3 МПа; Rbt,ser = 2,3 МПа.

Расположение арматуры показано в сечении на рис. 69: h0 = 0,277 м; h0,ad = 0,250 м; а = а′ = 0,025 м; арматура усиливаемой балки вида А-III, Rs = Rsc = 365 МПа; Es = 2 · 105 МПа; As = 4,02 · 10-4 м2 (2 Ø 16); A′s = 1,57 · 10-4 м2 (2 Ø 10); арматура усиления вида К-7, Rs,ad = 1110 МПа; Rs,ser,ad = 1335 МПа; Es,ad = 1,8 · 10-4 МПа; Asp,ad = 1,812 · 10-4 м2 (2 Ø 12), предварительное напряжение арматуры с учетом всех потерь ssp,ad = 970 МПа.

Дополнительная арматура установлена по боковым граням без контакта с ними.

Требуется определить прочность балки.

Расчет.

По формуле (32) определяем коэффициент δb.

Согласно п. 3.42 Рекомендаций

δa = 820 МПа; δcl = 0,55; Es,st = 1,8 · 105 МПа;

δb = (820 · 1,8 · 105 · 4,02 · 10-4) / (1330 · 1,8 · 105 · 1,812 · 10-4) - 0,55 + 1,3 = 2,098.

Определяем коэффициент армирования μ согласно п. 3.42 Рекомендаций

μ = (4,02 · 10-4 + 1,812 · 10-4) / (0,18 · 0,277) = 0,012.

Находим рабочую высоту сечения усиленной конструкции h0,red по формуле (4), для чего определяем ared по формуле (34)

ared = [1110 · 1,812 (0,250 - 0,277)] / (1110 · 4,02 + 365 · 1,812) = - 0,011 м;

h0,red = 0,277 - 0,011 = 0,266 м.

Определяем напряжение в дополнительной напрягаемой арматуре slim в момент исчерпания несущей способности усиленной конструкции по формуле (31)

Граничное значение относительной высоты сжатой зоны ξR определяем по формуле (25) СНиП 2.03.01-84*, принимая коэффициент gbr2 = 1.

Затем по формуле (26) СНиП 2.03.01-84* определяем

w = a - 0,008 Rb = 0,85 - 0,008 · 27,5 = 0,63

и с учетом п. 3.12 СНиП 2.03.01-84* вычисляем ξR

при ssR = Rsp,ad + 400 - ssp,ad - Dssp,ad = slim,ad + 400 - ssp,ad - Dssp,ad =

= 1069 + 400 - 970 - 0 = 499 МПа;

Определяем относительную высоту сжатой зоны бетона ξ согласно формуле (33) Рекомендаций

ξ = (365 · 4,02 · 10-4 + 1,069 · 1,812 · 10-4 -

- 365 · 1,57 · 10-4) / (27,5 · 0,18 · 0,269) = 0,213.

Поскольку ξ < ξR (0,213 < 0,413), высоту сжатой зоны определяем по формуле (35), предварительно найдя коэффициент gs6 для дополнительной высокопрочной арматуры согласно СНиП 2.03.01-84*.

х = (1,145 · 1069 · 1,812 · 10-4 + 365 · 4,02 · 10-4 - 365 · 1,57 · 10-4) / (27,5 · 0,18) = 0,063 м.

Находим несущую способность усиленного элемента M по формуле (9) Рекомендаций

М = 27,5 · 0,18 · 0,063 (0,269 - 0,5 · 0,065) + 365 · 1,57 · 10-4 ´

´ (0,269 - 0,025) = 0,0881 МПа·м3 = 88,1 кНм.

Усиление внецентренно сжатых элементов

Пример 7. Дано: размеры сечения усиленного элемента b = 0,6 м; h = 0,9 м; бетон усиливаемого элемента условного класса В′12,5; Rb = 7,5 МПа; высота наращивания х2 = 0,15 м; бетон усиления класса В20; Rb,ad = 15 МПа.

Расположение арматуры показано в сечении на рис. 70. h0 = 0,72 м; h0,ad = 0,87 м; а = а′ = 0,03 м; арматура усиливаемого элемента вида А-II, Rs = Rsc = 280 МПа; As = 12,568 · 10-4 м2 (4 Ø 20); A′s = 9,426 · 10-4 м2 (3 Ø 20); арматура усиливающего элемента вида А-III, Rs,ad = Rsc,ad = 365 МПа; As,ad = 26,545 · 10-4 м2 (5 Ø 26); A′s,ad = 21,236 · 10-4 м2 (4 Ø 26).

Внецентренная нагрузка на элемент N = 1000 кН = 1 МН.

Усиление железобетонного элемента осуществлялось при первоначальном его загружении, превышающем 65 % разрушающей нагрузки. Следовательно, согласно п. 3.13 Рекомендаций коэффициент условий работы усиленной конструкции gbr1 = gsr1 = 0,8.

Расчет. По формуле (5) определяем As,red

As,red = 12,558 · 10-4 +  21,236 · 10-4 = 47,17 · 10-4 м2.

Рис. 70. Схемы усилий и эпюры напряжений в сечении, нормальном к продольной оси внецентренно сжатого элемента, усиленного двухсторонним наращиванием, при расчете его по прочности

По формуле (6) определяем A′s,red

A′s,red = 9,426 · 10-4 +  21,326 · 10-4 = 44,03 · 10-4 м2.

Находим по формуле (7) аred

аred = [365 · 26,545 · 10-4 (0,87 - 0,72)] / (0,8 · 280 · 12,568 · 10-4 +

+ 365 · 26,545 · 10-4) = 0,12 м.

Определим расстояние h0,red от сжатой грани усиленного элемента до общего центра тяжести растянутой арматуры по формуле (4)

h0,red = 0,72 + 0,12 = 0,84 м.

По формуле (8) определяем относительную высоту сжатой зоны бетона ξ, при этом Rb принимаем согласно положениям п. 3.30 Рекомендаций

ξ = (0,8 · 280 · 47,17 · 10-4 - 0,8 · 280 · 44,03 · 10-4) / (0,8 ´ 15 · 0,6 · 0,84) = 0,01.

По СНиП 2.03.01-84* определяем ξR

где w = a - 0,008 Rb по формуле (26) СНиП 2.03.01-84*.

Коэффициент a = 0,85 для тяжелого бетона; RsR = Rs = 280 МПа; ssc,u = 400 МПа.

Следовательно, ξ < ξR и расчет прочности сечения усиленного элемента осуществляем по формулам (47) и (48).

По формуле (10) определяем приведенное расчетное сопротивление сжатой зоны усиленного элемента Rb,red, где

Аb = 0,6 (x - 0,15);    Ab,ad = 0,6 x - 0,6 (x - 0,15) = 0,09 м2;

Ab,tot = 0,6 (x - 0,15) + 0,09 м2;   x1 = x - x2;

Rb,red = [0,8 · 7,5 · 0,6 (x - 0,15) + 15 · 0,09] / [0,6 (x - 0,15) + 0,09] = (6 + 1,35 / x) МПа.

Определяем высоту сжатой зоны бетона усиленного элемента х по формуле (48)

х = (1 + 280 · 47,17 · 10-4 - 280 · 44,03 · 10-4) / [(6 + 1,35 / х) 0,6] = 0,08 м.

Определяем несущую способность элемента Ne по формуле (47)

Ne = (6 + 1,35 / 0,08) 106 · 0,6 · 0,08 (0,84 - 0,5 · 0,08) +

+ 280 · 106 · 44,03 · 10-4) (0,84 - 0,03) = 1,8766 · 106 Нм = 1877 кНм.

Пример 8. Для условий, сформулированных в примере 7, определить площадь дополнительной растянутой арматуры As,ad, если нагрузка на элемент составляет N = 1000 кН, а эксцентриситет приложения нагрузки равен е = 1,877 м.

Расчет. Определяем коэффициент А по формуле (54)

A = [1 + 0,8 · 280 · 12,568 · 10-4 - 280 · 44,03 · 10-4 -

- (6 + 1,35 / 0,08) 0,6 · 0,84] / (0,5 · 365) = - 0,0629 = - 629 · 10-4 м2.

По зависимости (54) находим коэффициент В

В = {0,5 (0,8 · 280 · 12,568 · 10-4 - 280 · 44,03 · 10-4)2 +

+ [280 · 44,03 · 10-4 · 0,03 - 0,8 · 280 · 12,568 · 10-4 · 0,83 +

+ 1 (1,877 - 0,84)] (6 + 1,35 / 0,08) 0,6 + 1 (0,8 · 280 · 12,568 ´

´ 10-4 - 280 · 44,03 · 10-4) + 0,5 · 12} / (0,5 · 365)2 = 0,000174 м2 =

= 17400 · 10-8 м2.

По формуле (12) определяем As,ad

As,ad = 629 · 10-4 / 2 ±  = 629 · 10-4 / 2 ± 285,5 · 10-4 м2.

Или As,ad = 29,5 · 10-4 м2 = 29,5 см2.

Рис. 71. Схема усилий и эпюра напряжений внецентренно сжатой колонны

Пример 9. Дана колонна с размером сечения b = 0,6 м; h = 0,8 м; a = а′ = 0,04 м; бетон усиливаемого элемента условного класса В′15, Rb = 9 МПа; бетон усиления класса В25, Rb,ad = 13,5 МПа.

Расположение арматуры показано в сечении на рис. 71.

h01 = 0,04 м; h02 = 0,13 м; h03 = 0,4 м; h04 = 0,67 м;

h05 = 0,76 м; a = а′ = 0,03 м; b01 = 0,09 м; b02 = 0,17 м;

b03 = 0,26 м; b04 = 0,34 м; b05 = 0,42 м; b06 = 0,52 м.

Толщина обоймы x2 = 0,1 м.

Арматура усиливаемой колонны вида A-I, Rs = Rsc = 210 МПа; арматура усиления вида A-III, Rs,ad = Rsc,ad = 350 МПа.

Колонна при усилении находилась под нагрузкой, не превышающей 65 % разрушающей, следовательно, коэффициенты условий работы усиленной конструкции согласно п. 3.13 Рекомендаций gbr0 = gsr0 = 1.

После усиления на колонну действует внецентренно приложенная нагрузка N = 2500 кН и изгибающий момент в плоскости, параллельной размеру b, My1 = 1050 кНм.

Расчет.

Все стержни обозначим номерами, как показано на рис. 71. Через центр тяжести одного из наиболее растянутых стержней № 19 проводим ось х параллельно размеру h и ось y параллельно размеру b. Угол g между осью у и прямой, ограничивающей сжатую зону бетона в сечении, равен нулю.

Расчет производим с учетом фактической прочности бетона и арматуры согласно п. 3.12 Рекомендаций.

Напряжения в арматуре вычисляем по формулам (60) и (61), при этом характеристику сжатой зоны бетона w определяем в соответствии с классом бетона, в котором расположена арматура.

Определяем по СНиП 2.03.01-84* характеристику сжатой зоны бетона для усиливаемой колонны w и обоймы wad

w = a - 0,008 Rb = 0,85 - 0,008 · 9 = 0,778;

wad = a - 0,008 Rb,ad = 0,85 - 0,008 · 13,5 = 0,742.

Согласно п. 3.12 СНиП 2.03.01-84*, ssc,u = 400 МПа. Предварительное напряжение арматуры отсутствовало, следовательно, sspi = 0.

По формуле (60) определяем

По формуле (61) вычисляем ss,adi

При Rsi ³ ssi ³ - Rsci принимаем Rs, Rsc cо своим знаком, при Rs,adi ³ ss,adi ³ - Rsc,adi принимаем Rs,ad, Rsc,ad согласно п. 3.60 Рекомендаций.

Задаемся в первом приближении высотой сжатой зоны бетона х = 0,2 м и определяем для каждого стержня ξi.

Результаты расчетов напряжения в стержнях и статических моментах относительно осей х и у даны в табл. 4.

Определяем площадь сжатой зоны бетона, находящейся в сечении усиленной колонны. Согласно рис. 71

Аb = (0,6 - 2 · 0,1) (0,2 - 0,1) = 0,04 м2.

Определяем площадь сжатой зоны бетона, находящейся в сечении обоймы Аb,ad

Аb,ad = 0,6 · 0,2 - 0,04 = 0,08 м2.

Проверяем соблюдение условия равновесия сил, спроектированных на ось у согласно уравнению (59).

13,5 · 103 · 0,08 + 9 · 103 · 0,04 - 144,79 - 84,46 = 1210,75 < 2500 кН.

Следовательно, сжатая зона бетона занижена и условие равновесия сил на ось не соблюдается.


Таблица 4

№ стержней

Asi, As,adi, см2

x = 0,2 м

x = 0,37 м

x = 0,35 м

h0i, м

l0i, м

Ssi,x, Ss,adi,x, 10-4 м2

ssiSsi,x, ss,adiSs,adi,x, Нм

Ssi,y, Ss,adi,y, 10-4 м2

ssiSsi,y, ss,adiSs,adi,y, Нм

ξi

ssi, ss,adi, МПа

ssiAsi, ss,adiAs,adi, кН

ξi

ssi, ss,adi, МПа

ssiAsi, ss,adiAs,adi, кН

ξi

ssi, ss,adi, МПа

ssiAsi, ss,adiAs,adi, кН

1

3,142

5

- 360

- 113,11

9,25

- 360

- 113,11

8,75

- 360

- 113,11

0,04

0

0

0

2,262

- 81432

2

3,142

5

- 360

- 113,11

9,25

- 360

- 113,11

8,75

- 360

- 113,11

0,04

0,17

0,534

- 19224

2,262

- 81432

3

3,142

5

- 360

- 113,11

9,25

- 360

- 113,11

8,75

- 360

- 113,11

0,04

0,34

1,068

- 38448

2,262

- 81432

4

3,142

5

- 360

- 113,11

9,25

- 360

- 113,11

8,75

- 360

- 113,11

0,04

0,52

1,634

- 58824

2,262

- 81432

5

3,801

1,54

- 210

- 79,82

2,85

- 210

- 79,82

2,69

- 210

- 79,82

0,13

0,09

0,342

- 7182

2,394

- 50274

6

3,801

1,54

- 210

- 79,82

2,85

- 210

- 79,82

2,69

- 210

- 79,82

0,13

0,17

0,646

- 13566

2,394

- 50274

7

3,801

1,54

- 210

- 79,82

2,85

- 210

- 79,82

2,69

- 210

- 79,82

0,13

0,26

0,988

- 20748

2,394

- 50274

8

3,801

1,54

- 210

- 79,82

2,85

- 910

- 79,82

2,69

- 210

- 79,82

0,13

0,34

1,292

- 27132

2,394

- 50274

9

3,801

1,54

- 210

- 79,82

2,85

- 210

- 79,82

2,69

- 210

- 79,82

0,13

0,42

1,596

- 35516

2,394

- 50274

10

3,142

0,5

360

72,4

0,93

- 248,4

- 49,95

0,88

- 190

- 38,21

0,4

0

0

0

1,256

- 23864

11

2,011

0,5

210

42,23

0,83

- 210

- 42,23

0,88

- 159,9

- 31,98

0,4

0,09

0,181

2894

0,804

- 12855

12

2,011

0,5

210

42,23

0,83

- 210

- 42,23

0,88

- 159,9

- 31,98

0,4

0,42

0,845

13511

0,804

- 12855

13

3,142

0,5

360

72,4

0,83

- 248,4

- 49,95

0,88

- 190

- 38,21

0,4

0,52

1,634

31046

1,256

- 23864

14

3,801

0,3

210

79,82

0,55

210

78,82

0,52

210

79,82

0,67

0,09

0,342

7182

0,342

7182

15

3,801

0,3

210

79,82

0,55

210

78,82

0,52

210

79,82

0,67

0,17

0,646

13566

0,342

7182

16

3,801

0,3

210

79,82

0,55

210

78,82

0,52

210

79,82

0,67

0,26

0,988

20748

0,342

7182

17

3,801

0,3

210

79,82

0,55

210

78,82

0,52

210

79,82

0,67

0,34

1,292

27132

0,342

7182

18

3,801

0,3

210

79,82

0,55

210

78,82

0,52

210

79,82

0,67

0,42

1,596

33516

0,342

7182

19

3,142

0,26

360

113,11

0,49

360

113,11

0,46

360

360

0,76

0

0

0

0

0

20

3,142

0,26

360

113,11

0,49

360

113,11

0,46

360

360

0,76

0,17

0,534

19224

0

0

21

3,142

0,26

360

113,11

0,49

360

113,11

0,46

360

360

0,76

0,34

1,068

38448

0

0

22

3,142

0,26

360

113,11

0,49

360

113,11

0,46

360

360

0,76

0,52

1,634

58824

0

0

 

Σssi Asi = 144,79 кН

Σss,adi As,adi = 84,46 кН

Σssi Asi = - 99,9 кН

Σss,adi As,adi = - 84,46 кН

Σssi Asi = - 63,96 кН

Σss,adi As,adi = - 76,42 кН

 


Увеличиваем высоту сжатой зоны бетона до значения х = 0,37. Повторяем расчет и результаты заносим в табл. 4.

Определяем новую площадь сжатой зоны бетона. Ab = 0,108 м2; Ab,ad = 0,114 м2 и снова проверяем соблюдение условия равновесия сил, спроектированных на ось, по уравнению (59): 13,5 · 103 · 0,108 + 9,0 · 103 · 0,114 + 99,9 + 84,46 = 2695 > 2500 кН, т.е. сжатая зона бетона завышена.

После нескольких попыток принимаем высоту сжатой зоны бетона х = 0,35 м.

Тогда Ab = 0,1 м2; Ab,ad = 0,11 м2.

Проверяем соблюдение условия равновесия сил, спроектированных на ось, по формуле (59)

13,5 · 103 · 0,11 + 9,0 · 103 · 0,1 + 63,96 + 76,42 = 2525 ≈ 2500 кН,

т.е. условие равновесия сил, спроектированных на ось, приблизительно соблюдается.

Для определения моментов внутренних сил относительно осей х и у вычислим статические моменты сечения сжатой зоны бетона относительно этих осей.

В соответствии с положениями строительной механики статический момент сжатой зоны бетона равен:

усиливаемой колонны Sbx относительно оси х

Sbx = Аb (b / 2 - а) = 0,108 (0,6 / 2 - 0,04) = 0,028 м3;

обоймы усиления Sb,ad,x относительно оси х

Sb,ad,x = (b - а) х2 0,5 (b - а) + (х - х2) х2 (b - а - х2 / 2) +

+ (х - х2) (х2 - а) (х2 / 2 - а) - а х (b / 2 - а / 2) =

= (0,6 - 0,04) 0,1 · 0,5 (0,6 - 0,04) + (0,35 - 0,1) 0,1 (0,6 - 0,04 - 0,1 / 2) +

+ (0,35 - 0,1) (0,1 - 0,04) (0,1 / 2 - 0,04) - 0,04 · 0,35 (0,6 / 2 - 0,04 / 2) =

= 0,0598 м3;

усиливаемой конструкции Sb,y относительно оси у

Sb,y = Ab {h - x2 - [(х - х2) / 2)] - a} =

= 0,108 {0,8 - 0,1 - [(0,35 - 0,1) / 2] - 0,04} = 0,0578 м3;

обоймы усиления Sb,ad,y относительно оси у

Sb,ad,y = b x2 (h - x2 / 2 - a) + 2 x2 (х - х2) {h - x2 - [(х - х2) / 2)] - a} =

= 0,6 · 0,1 (0,8 - 0,1 / 2 - 0,04) + 2 · 0,1 (0,35 - 0,1) {0,8 - 0,1 -

- [(0,35 - 0,1) / 2] - 0,04} = 0,0693 м3.

Определяем момент внутренних сил Мx относительно оси х по зависимости (58)

Mx = Rb,ad Sb,ad,x + Rb Sb,x - Σssi Ss,xi - Σss,adi Ss,ad,xi,

где

Σssi Ss,xi = ss5 Ss5 + ss14 Ss14 + ss11 Ss11 + ss6 Ss6 + ss15 Ss15 + ss7 Ss7 +

+ ss16 Ss16 + ss8 Ss8 + ss17 Ss17 + ss9 Ss9 + ss18 Ss18 + ss12 Ss12 =

= - 7182 + 7182 + 2894 - 13566 + 13566 - 20748 + 20748 - 27132 +

+ 27132 - 35516 + 35516 - 13511 = 16405 Нм;

Σss,adi Ss,adi,x = ss,ad1 Ss,ad1,x + ss,ad19 Ss,ad19,x + ss,ad10 Ss,ad10,x +

+ ss,ad2 Ss,ad2,x + ss,ad20 Ss,ad20,x + ss,ad3 Ss,ad3,x + ss,ad21 Ss,ad21,x +

+ ss,ad4 Ss,ad4,x + ss,ad22 Ss,ad22,x + ss,ad13 Ss,ad13,x = 0 + 0 + 0 - 19224 +

+ 19224 - 38448 + 38448 - 58824 + 58824 + 31046 = 31046 Нм.

Тогда

Mx = 13,5 · 106 · 0,0598 + 9 · 106 · 0,028 - 16405 - 31046 = 1039,8 кНм.

Определяем момент внутренних сил Му относительно оси у в соответствии с зависимостью (58)

при

Σssi Ss,yi = - 50274 · 5 + 7182 · 5 - 12855 · 2 = - 241170 Нм;

Σss,adi Ss,ad,yi = - 81432 · 4 - 12855 · 2 + 0 = - 351438 Нм;

My = 13,5 · 106 · 0,0693 + 9 · 106 · 0,0578 + 241170 + 351438 =

= 935550 + 520200 = 2048358 Нм = 2048,358 кНм.

Моменты внешних сил относительно осей х и у:

Mx1 = N (0,5 h - a′) = 2500 (0,5 · 0,8 - 0,04) = 900 кНм;

My2 = My1 + N (0,5 b - a) = 1050 + 2500 (0,5 · 0,6 - 0,04) = 1700 кНм.

Поскольку Мх > Mx1, а My > My2, прочность усиленной колонны по данному сечению обеспечена.

Пример 10. Необходимо усиление нижней зоны железобетонной емкости силосного типа, используемой для хранения щебня, со следующими характеристиками: g = 16 кН/м3, f = 0,6, a = tg2 (45 - j / 2) = 0,333.

Высота силоса h = 30 м, внутренний диаметр din = 11,52 м, толщина стен t = 0,24 м.

Выполненными обследованиями с последующей расчетной проверкой установлено, что фактическая несущая способность стены на 1 м в нижней зоне составляет F = 660 кН.

Рассчитать усиление стен наружной железобетонной обоймой.

Расчет.

Определяем усилие в стене силоса на 1 м вертикального сечения при загрузке емкости щебнем. Основное нормативное горизонтальное давление щебня на стенку силоса Р0 равно:

Р0 = [(g r) / f] A = [(1,6 · 2,88) / 0,6] 0,875 = 67,2 кН/м2,

где r = din / 4 = 11,52 / 4 = 2,88 м - гидравлический радиус поперечного сечения силоса; A = 0,875 - коэффициент, принимаемый в зависимости от параметра ξ (см. СНиП 2.09.03-85);

ξ = [(f a) / r] y = [(0,6 · 0,333) / 2,88] 30 = 2,081.

Нормативное горизонтальное давление щебня на стены силоса при высоте засыпки у = 30 м вычисляем по формуле

Рh = a Р0 = 2 · 67,2 = 134,4 кН/м2.

Расчетное растягивающее усилие на 1 м высоты стены равно:

N = (n / m) Ph (din / 2) = (1,3 / 1) 134,4 (11,52 / 2) = 1006,8 кН.

При загрузке щебнем усилие в стенке будет превышать несущую способность сечения на величину

N - F = 1006,8 - 660 = 346,8 кН.

Определяем площадь сечения арматуры обоймы (арматура вида A-II, Rs = 285 МПа) по формуле

As = (N - F) / Rs = 346,8 / (285 · 10-1) = 12 см2.

Принимаем:

арматура 8 Ø 14 A-II (As = 12,31 см2) с шагом 125 мм по высоте обоймы. Армирование однорядное;

бетон обоймы класса В15, толщина обоймы trin = 20 см.

4. ОСОБЕННОСТИ ПРОЕКТИРОВАНИЯ КОНСТРУКЦИЙ УСИЛЕНИЯ

Учет требований технологии и условий производства работ при проектировании

4.1. При выборе конструкций усиления необходимо уделить особое внимание удовлетворению их условиям, в которых выполняются работы, и требованиям технологии выполнения работ в этих условиях.

Технологические требования включают перечень указаний и ограничений, устанавливающих соответствие конструкций усиления (толщина и конфигурация обойм, вид армирования и др.) параметрам применяемой оснастки, оборудования, инструмента и т.п.

Требования условий производства работ включают: перечень указаний и ограничений, устанавливающих соответствие размеров и массы монтажных элементов усиления габаритам транспортных путей и средств внутри реконструируемого объекта; возможность размещения и функционирования оборудования, механизмов в свободной или освобождаемой вокруг усиливаемых конструкций зоне; возможность полного или частичного разгружения усиливаемых конструкций; степень членения арматуры на сетки, каркасы, отдельные стержни по условиям транспортирования и монтажа; метод устройства обойм, рубашек, набетонок и назначаемую в соответствии с этим минимальную их толщину; метод соединения арматуры; сроки и способы включения конструкций усиления в работу; степень и способы членения стальных конструкций усиления на отдельные монтажные элементы (поэлементный и блочный монтаж) с учетом грузоподъемности монтажных механизмов и технологического оборудования; наличие свободного пространства вокруг усиливаемых конструкций (соотношение свободной и рабочей зоны); величину монтажных зазоров в зависимости от принятого метода монтажа; приспособления и установочные детали для выверки и рихтовки, включенные в конструкцию усиления и обеспечивающие возможность сборки в процессе монтажа без подгоночных операций.

4.2. Одним из основных условий, определяющих возможность применения того или иного способа усиления, является наличие свободной зоны вокруг усиливаемого элемента, размер которой должен быть не менее ширины рабочей площадки или ширины настилов, лесов и подмостей (см. п. 4.34, табл. 5).

Таблица 5

Вид работ

Минимально необходимые размеры рабочих зон, м

при ручном способе выполнения работ

при механизированном способе выполнения работ

без зоны складирования

с зоной складирования

без зоны складирования

с зоной складирования

Опалубочные, арматурные, монтажные и бетонные

1

1,5

1,5

2

Сварочные

1

-

1

-

Торкретирование

-

-

2

-

4.3. Конфигурация обойм, рубашек, наращиваний выбирается с учетом возможности применения сварных сеток и каркасов, изготовляемых на точечных машинах в заводских условиях, а также обеспечения возможности применения простой по конструкции и удобной в эксплуатации опалубки, в том числе несъемной (полностью или частично).

4.4. Размеры обойм, наращиваний и набетонок рекомендуется принимать в зависимости от принятого метода бетонирования с учетом следующих указаний.

Рис. 72. Сечение поясов ригелей и балок при усилении наращиванием сечения снизу

Усиление нижних поясов ригелей и балок рекомендуется выполнять с уширением в нижней части. Соотношения размеров должны удовлетворять следующим условиям (рис. 72):

bf ³ (b + 150) мм;                            hf ³ 100 мм;                         hf ³ 1/3 bf.

Углы наклона верхней грани набетонки a должны приниматься не менее 15°; при эксплуатации конструкций на открытом воздухе эти углы должны приниматься не менее 45°.

При наращивании нижнего пояса балок безопалубочными методами (торкретированием, набрызгом) набетонка выполняется прямоугольного очертания и толщиной не менее 50 мм.

Толщина набетонок при усилении плит сверху должна быть не менее 35 мм при укладке бетонной смеси с вибрированием и не менее 25 мм - при торкретировании.

Толщина набетонок при устройстве на плитах перекрытий снизу должна быть: при нанесении слоя бетонной смеси торкретированием - не менее 35 мм, а при укладке мелкозернистой бетонной смеси вибрированием с разгрузкой через «окна» - не менее 60 мм; размеры окон должны быть не менее 200 ´ 200 мм с расстоянием между ними 700 мм.

При усилении стенок резервуаров и силосов толщина набетонок, устраиваемых в опалубке, должна быть не менее 80 мм, торкретированием и набрызгом - 35 мм.

Минимальная толщина обойм при усилении железобетонных колонн по требованиям технологии усиления принимается в зависимости от метода бетонирования. При уплотнении бетонной смеси глубинными вибраторами и высоте щитов опалубки 600 - 800 мм толщина стенки обоймы должна быть не менее 80 мм, а при высоте щитов 1200 мм - не менее 130 мм.

При бетонировании обойм литыми бетонными смесями с наружным вибрированием толщина стенок обоймы должна быть не менее 75 мм при высоте щитов опалубки (высоте бетонирования) не менее 1500 мм.

При торкретировании минимальная толщина слоя должна быть не менее 50 мм.

При усилении металлических конструкций путем обетонирования толщина защитного слоя бетона (для прокатных профилей) должна быть не менее 50 мм.

При применении опалубки в виде неразъемных блок-форм, в том числе с навесными вибраторами, технологические уклоны следует принимать не менее 1 : 10.

4.5. При усилении конструкций железобетонными обоймами с жесткой (уголковой) наружной арматурой необходимо у верхнего и нижнего концов обоймы устанавливать прокладки из профильного металла для фиксации положения опорных уголков (см. рис. 11).

4.6. В конструктивных решениях, связанных с применением арматуры, желательно предусматривать бессварочные методы соединения на месте установки: соединение внахлестку, установку угловых сеток и хомутов, применение бессварочных проволочных элементов и т.п. Конструкция каркасов и сеток должна обеспечивать минимальный объем работ по рихтовке, выверке и закреплению в проектном положении, для чего каркасы и сетки в необходимых случаях должны быть снабжены крепежными деталями и фиксаторами.

4.7. Арматурные изделия (хомуты, отгибы, соединительные стержни) должны быть простой формы, позволяющей изготавливать их на гибочных автоматах.

Упрощение конструкции сложных хомутов достигается путем их членения на отдельные более простые элементы (рис. 73). Предпочтение следует отдавать соединительным стержням П-образной формы.

В случае значительных отклонений существующей арматуры от нормального положения, привариваемые к ней соединительные стержни следует принимать Г-образной формы с последующим вторым загибом по месту приварки к существующей арматуре. В этом случае диаметр соединительных стержней рекомендуется принимать не более 12 мм.

4.8. Хомуты для обойм с предварительным напряжением изготовляются в виде прямых стержней с запасом, требующимся для сварного шва. Один конец стержня приваривается к продольной арматуре, после нагрева стержень огибает продольную арматуру, замыкая хомут, и второй конец сваривается с первым.

4.9. Соединительные детали (отгибы, коротыши и др.) рекомендуется проектировать с учетом возможности компенсации имеющихся отклонений. В частности, с этой целью целесообразно предусматривать стыки внахлестку и с накладками, обеспечивающими при изменении размеров защитного слоя возможность выполнения усиления по проекту.

Рис. 73. Членение хомутов на простые элементы

а - сложный хомут; б - упрощенный хомут

4.10. Соединительные детали, привариваемые к существующей арматуре, во избежание поджогов и подрезов рекомендуется изготавливать из арматурной стали класса A-I диаметром не менее 10 мм.

4.11. Расстояние в свету между арматурными элементами и стержнями должно обеспечивать свободное прохождение наконечников глубинных вибраторов, а при наращивании методом набрызга составлять не менее 100 мм при диаметре арматуры не более 20 мм.

4.12. Конструкция каркасов и сеток должна обеспечивать минимальный объем работ по рихтовке и закреплению в проектном положении.

4.13. Стальные конструкции усиления рекомендуется проектировать с учетом их заводского изготовления, полностью подготовленными к монтажу, с установочными деталями и приспособлениями, обеспечивающими возможность сборки в процессе монтажа без подгоночных операций. Конструкции усиления должны поступать к месту производства работ с обработанными кромками и антикоррозионным покрытием, смазкой деталей резьбы и т.п. Для сложных конструкций желательно предусматривать выполнение контрольной сборки на болтах на заводе-изготовителе.

4.14. Проектные решения металлических конструкций усиления должны учитывать возможность их раздельного монтажа, при котором опорные детали устанавливаются заранее на подготовленные бетонные поверхности с выравнивающим слоем раствора.

4.15. При разработке конструкций усиления с технологическими операциями по включению их в работу желательно предусматривать решения, позволяющие совмещать эти операции с контролем величины усилий.

4.16. Для включения конструкций усиления в работу в местах установки домкратов должны быть предусмотрены опорные столики и фиксаторы для закрепления подвижной опоры в проектном положении.

4.17. Включение конструкций усиления в работу путем зачеканки швов раствором, приготовленным на расширяющемся цементе, не рекомендуется.

4.18. При усилении колонн обоймами конструкции для компенсации имеющихся отклонений размеров по высоте от проектных рекомендуется проектировать со смещающимися опорами. Диаметры установочных болтов, являющихся элементом смещающейся опоры, выбираются из условия создания монтажных усилий не менее 3 т.

4.19. При постановке на раствор уголки металлических обойм стягивают хомутами до выдавливания лишнего раствора. Хомуты устанавливают на расстоянии 1...1,5 м по высоте колонны.

4.20. Для удобства выполнения сварных швов необходимо правильно выбирать их вид и место расположения. В частности, следует избегать применения потолочных швов, особенно на монтаже. Данное требование должно учитываться при проектировании конструкций с накладками и планками.

4.21. Предварительно напряженные распорки должны поставляться из двух основных элементов, каждый из которых выполняется в виде уголков-стоек, скрепленных между собой соединительными планками. При большой высоте распорок их следует выполнять из неравнобоких уголков с вырезом в большей полке, которая располагается параллельно стяжным болтам.

Для компенсации отклонений в отметках опорных закладных деталей в распорках следует предусматривать устройство в виде упорных смещаемых планок на монтажных болтах. Величина перемещения упоров должна превышать максимальные отклонения расстояний между опорами в верхнем и нижнем сечениях.

4.22. Дополнительные упругие опоры (в виде балок или ферм) должны иметь в точке опоры площадку для установки прокладок распорных болтов в зависимости от способа включения дополнительных упругих опор в работу.

4.23. В рабочих чертежах усиления необходимо предусматривать унификацию размеров металлоконструкций усиления и арматурных элементов с учетом фактических отклонений усиливаемых конструкций от проектных размеров на основе обмерочных чертежей.

4.24. Размеры арматурных сеток и каркасов рекомендуется принимать по максимальному размеру, предусматривая их резку, а также установку крайних стержней (с одной или двух сторон) на месте при монтаже арматуры.

4.25. Для наращивания сечения, устраиваемого торкретированием, допуски не должны быть отрицательными, а положительная их величина должна указываться в рабочих чертежах.

4.26. Унификация размеров стальных монтажных элементов должна проводиться на основе статистической обработки результатов измерений размеров усиливаемых конструкций, приведенных в обмерочных чертежах (пролетов, длины и т.д.).

4.27. Для конструкций, охватывающих существующие элементы, размеры следует назначать по максимальным значениям размеров сечений этих элементов.

4.28. В общем случае пролет монтажного элемента l равен

l = lmin - Dl,

где lmin - минимальный размер в свету; Dl - монтажный зазор, принимаемый в зависимости от метода монтажа; при установке надвижкой Dl ³ 50 мм.

Если такой размер не может быть применен в пролетах с максимальными размерами по условиям прочности усиливаемой конструкции, пролетный размер l должен быть равен

l = l0 - 2 Dl - 2 s,

где l0 - средний арифметический размер пролета; s - среднее квадратичное отклонение размера пролета.

В этом случае должны быть строго оговорены мероприятия по маркировке монтажных элементов близких типоразмеров.

4.29. При унификации размеров монтажных элементов конструкций усиления колонн следует учитывать размеры компенсационных деталей, монтажный зазор должен быть не менее 70 мм.

4.30. При унификации внутренних размеров обойм минимальный размер bт!п должен быть равен

bт!п = bтах + 2 δ,

где bmax - максимальный размер сечения; δ - величина зазора, заполняемого раствором или бетоном.

Для обойм сечением до 250 мм зазор должен быть не менее 30 мм, при сечении обойм более 250 мм - не менее 50 мм.

Экономическая оценка и выбор способов усиления

4.31. Выбирать способ усиления при реконструкции и ремонте рекомендуется в каждом конкретном случае с учетом следующих групп факторов:

«а» - факторы, характеризующие нагрузки и состояние усиливаемых конструкций;

«б» - факторы, определяющие возможность применения того или иного способа усиления в данных условиях с учетом агрессивности среды и пожароопасности производственных помещений;

«в» - факторы, определяющие возможность выполнения усиления данным способом без остановки основного производства по требованиям технологии усиления, недопустимости запыленности и сварочных работ во взрывоопасных помещениях;

«г» - факторы, определяющие возможность достижения заданной степени увеличения несущей способности при усилении данным способом;

«д» - факторы, определяющие технологичность и экономичность рассматриваемых способов усиления для выбора предпочтительных.

4.32. Для выбора способа усиления следует предварительно определить перечень способов, применение которых в конкретных условиях возможно исходя из заданных нагрузок, результатов обследования, поверочных расчетов, состояния существующих конструкций, вида повреждения, прочности бетона, вида и механических характеристик арматуры, возможности передачи нагрузки на другие существующие конструкции и других факторов группы «а». При этом следует также учитывать положения, приведенные в пп. 4.33 - 4.35.

4.33. При выборе способа усиления степень агрессивности среды на реконструируемом предприятии следует определять по данным анализа химического состава и влажности воздуха.

Способ усиления, включая материал усиления (бетон соответствующего класса и вид цемента, сталь соответствующей марки) и метод защиты от коррозии, должен учитывать требования СНиП 2.03.11-85 и экономическую оценку, включая работы по антикоррозионной защите конструкций.

4.34. Приемлемость каждого из рассматриваемых способов усиления без остановки основного производства и демонтажа оборудования определяется также исходя из наличия минимально необходимых рабочих зон вокруг усиливаемой конструкции (приближение оборудования и конструкций), размеры которых приведены в табл. 5.

4.35. Дальнейший выбор способов усиления по группам факторов «б», «в», «г», «д» рекомендуется выполнять с помощью табл. 6, а также с учетом положений, приведенных в пп. 4.36 - 4.46.


Таблица 6

Конструкции и способы их усиления

Характеристики способов усиления

Возможность применения способа

Показатели технологичности способа

для эксплуатации в пожароопасных условиях без обетонирования металлоконструкций усиления

для усиления без остановки производства и снятия нагрузки с учетом обеспечения хорошей совместной работы

для усиления без остановки производства и снятия нагрузки, если недопустима запыленность

для усиления без остановки производства и снятия нагрузки во взрывоопасных помещениях

для значительного увеличения несущей способности

индустриальность (возможность изготовления конструкций усиления в заводских условиях)

быстрота устройства усиления на месте

простота устройства усиления на месте

простота обеспечения хорошей совместной работы усиливаемой и усиливающей конструкций

без уменьшения габаритов помещений

усиление без нарушения усиливаемой конструкции при производстве работ

экономичность

в процессе усиления

после усиления

небольшая построечная трудоемкость

невысокая стоимость конструкций в деле

небольшой расход металла

в плане

по высоте

1

2

3

4

5

6

7

8

9

10

11

12

13

14

15

16

17

Колонны

 

 

 

 

 

 

 

 

 

 

 

 

 

 

 

 

Железобетонные обоймы

+

-

-

0

+

-

-

-

0

0

0

+

+

0

0

0

Железобетонные рубашки

+

-

-

-

0

-

-

-

-

0

0

+

-

0

-

0

Одностороннее наращивание сечения

+

-

-

-

0

-

-

-

-

0

0

+

-

0

-

0

Двухстороннее наращивание сечения

+

-

-

-

+

-

-

-

-

0

0

+

-

+

+

+

Металлические обоймы со сколом углов и установкой на растворе

-

+

-

-

+

+

0

-

-

+

+

+

0

0

0

-

Металлические обоймы без скола углов и с установкой без раствора

-

+

+

-

+

+

+

+

-

+

+

+

+

+

0

-

Железобетонные обоймы с жесткой наружной уголковой арматурой

-

-

-

-

+

0

-

-

0

-

0

+

+

0

0

-

Предварительно напряженные распорки

-

+

+

-

+

+

+

0

0

+

+

+

+

0

+

-

Балки и ригели перекрытий и покрытий

 

 

 

 

 

 

 

 

 

 

 

 

 

 

 

 

Сборные железобетонные разгружающие балки

+

-

+

0

+

+

+

+

-

+

+

-

+

+

-

+

Монолитные железобетонные разгружающие балки

+

-

+

0

+

-

-

-

-

0

+

-

0

-

-

+

Металлические разгружающие балки

-

-

+

0

+

+

+

+

-

+

+

-

+

+

-

-

Железобетонные обоймы

+

-

-

-

+

-

-

-

-

-

+

+

-

-

-

+

Железобетонные рубашки и наращивание сечения

+

-

-

-

0

-

-

-

-

-

0

0

-

0

0

+

Дополнительная арматура

-

+

-

-

0

-

+

+

+

+

+

+

-

+

+

+

Дополнительные упругие опоры - металлические балки на консолях

-

0

0

0

+

0

0

0

0

+

+

-

-

-

-

-

Дополнительные упругие опоры - металлические балки на хомутах

-

0

0

0

+

+

0

0

0

+

+

-

+

-

-

-

Дополнительные жесткие опоры - металлические порталы, рамы, стойки

-

0

+

-

+

+

0

0

0

0

-

-

+

0

0

-

Предварительно напряженные затяжки

-

+

0

0

0

+

+

+

+

+

+

+

+

+

+

+

Шарнирно-стержневые цепи

-

+

0

0

0

+

-

-

0

+

+

0

+

0

0

+

Вертикальные накладные хомуты

-

0

0

+

-

+

-

0

-

0

+

+

-

0

0

+

Предварительно напряженные хомуты

-

0

+

-

+

+

-

0

+

0

+

+

+

0

0

+

Предварительно напряженные кронштейны

-

+

+

-

0

+

0

0

+

+

+

+

+

0

0

0

Подкрановые балки

 

 

 

 

 

 

 

 

 

 

 

 

 

 

 

 

Железобетонные рубашки и наращивание сечения

+

-

-

-

0

-

-

-

-

-

0

0

-

0

0

+

Металлические обоймы со сколом углов балок и установкой на растворе

-

-

-

-

+

+

-

-

-

-

0

0

0

0

0

0

Металлические обоймы без скола углов балок и с установкой без раствора

-

-

+

-

+

+

+

0

-

-

0

0

+

+

0

0

Наращивание сечения с металлической обоймой

-

-

-

-

+

0

-

-

-

-

0

0

-

0

0

0

Дополнительная арматура

-

+

-

-

0

+

+

+

+

0

+

+

-

+

-

+

Предварительно напряженные затяжки

-

+

0

0

0

+

+

+

+

0

+

+

0

+

-

+

Фермы покрытий

 

 

 

 

 

 

 

 

 

 

 

 

 

 

 

 

Железобетонные обоймы

+

+

+

+

+

-

-

-

-

0

+

+

0

-

-

+

Металлические обоймы со сколом углов элементов ферм и установкой на растворе

-

+

-

-

+

+

-

-

-

0

+

+

0

0

-

-

Металлические обоймы без скола углов элементов ферм и с установкой без раствора

-

+

+

-

+

+

+

+

-

0

+

+

+

+

0

-

Предварительно напряженные затяжки

-

+

+

0

+

+

+

+

+

0

+

+

+

+

+

+

Шарнирно-стержневые цепи

-

+

+

0

+

+

0

-

0

0

+

0

+

0

0

+

Предварительно напряженные хомуты

-

+

+

0

+

+

+

+

+

0

+

+

+

+

+

+

Предварительно напряженные распорки

-

+

+

-

+

+

+

+

+

0

+

+

+

0

0

-

Плиты перекрытий и покрытий

 

 

 

 

 

 

 

 

 

 

 

 

 

 

 

 

Наращивание сечения снизу торкретированием

+

-

-

0

0

-

-

-

-

-

+

+

0

0

-

+

Наращивание сечения снизу бетонированием

+

-

-

0

+

-

-

-

-

-

+

0

-

-

-

+

Наращивание сечения сверху бетонированием

+

-

0

+

+

-

-

+

-

-

+

0

0

+

0

+

Предварительно напряженные затяжки

-

+

+

0

0

+

+

+

-

0

+

+

+

+

0

+

Примечания: 1. Знак «+» обозначает, что данный способ усиления рассматриваемой конструкции отвечает соответствующим характеристикам; знаком «0» обозначено, что данный способ может отвечать или не отвечать указанным характеристикам в зависимости от местных условий и конкретного конструктивного решения; знаком «-» обозначено, что способ не соответствует указанным характеристикам. 2. Несоответствие способа характеристике гр. 6 относится к случаю применения сварки металлических элементов. 3. Усиление колонн металлическими обоймами без скола углов и установки на растворе не обеспечивает совместную работу усиливаемой и усиливающей конструкции; усиление ригелей и балок разгружающими конструкциями, ферм - металлическими обоймами, плит перекрытий и покрытий - предварительно напряженными затяжками не требует совместной работы.


4.36. В качестве основных критериев оценки и выбора из числа приемлемых вариантов усиления по пп. 4.32 - 4.35, в зависимости от общих требований проекта реконструкции могут быть приняты различные факторы в порядке предпочтительности.

Если проект реконструкции исключает остановку производства, основными при выборе способа усиления являются факторы группы «в» (усиление без остановки производства), которым соответствуют графы 3, 5 табл. 6. Другими факторами могут быть: значительное увеличение несущей способности, отсутствие уменьшения габаритов помещений в результате усиления или другие факторы групп «г» и «д» (гр. 6 - 17 табл. 6).

Если проектом по каким-либо причинам предусмотрена реконструкция с остановкой производства, основными при выборе способов усиления являются факторы, обусловливающие минимальную его продолжительность. К ним относятся факторы группы «д» (гр. 7 - 10 табл. 6) и зависящая от них трудоемкость (и, следовательно, продолжительность) выполнения работ по усилению. При этом трудоемкость и продолжительность усиления каждым из принятых для оценки и выбора способов усиления определяется на основе экономического анализа, методика выполнения которого приведена в пп. 4.53 - 4.64.

4.37. При выборе способов усиления необходимо также руководствоваться рекомендациями, приведенными в пп. 4.38 - 4.46.

4.38. При усилении обетонированием (обоймы, рубашки, наращивание сечения) и дополнительной ненапрягаемой арматурой следует стремиться к максимальному разгружению усиливаемой конструкции.

Для усиления железобетонных конструкций под нагрузкой в основном рекомендуется применение металлических предварительно напряженных элементов. Например, для колонн целесообразно применять предварительно напряженные распорки, а для балок - предварительно напряженные затяжки.

4.39. Бетонные поверхности конструкций, усиливаемых металлическими обоймами или предварительно напряженными распорками, не должны иметь местных выступов и неровностей, превышающих: при установке элементов усиления с последующей зачеканкой швов - 5 мм; при установке на растворе - 10 мм.

При более значительных неровностях рекомендуется применять железобетонные обоймы.

4.40. При выборе способа усиления колонн рекомендуется учитывать характер их разрушения при различных значениях эксцентриситетов: больших - от достижения арматурой предельного расчетного сопротивления (предела текучести) с одновременным разрушением сжатой зоны бетона (как в изгибаемых элементах); малых - от достижения бетоном сжатой зоны предела прочности при напряжениях в арматуре, расположенной у противоположной грани, не достигающих предельных значений.

При больших эксцентриситетах колонны рекомендуется усиливать увеличением сечения арматуры растянутой зоны, развитием высоты сечения (наращиванием) или объединением обоих способов; при малых - устройством железобетонных или металлических обойм или предварительно напряженных распорок.

Центрально сжатые колонны со значительным увеличением продольной нагрузки рекомендуется усиливать обоймой со спиральным армированием и обоймами из комплексных сечений с жесткой арматурой в виде уголков, устанавливаемых по наружным граням обойм.

Односторонние набетонки колонн, учитывая сложность их выполнения, рекомендуется устраивать только в стесненных условиях при ограничении сечения конструкции по технологическим требованиям основного производства.

Для усиления балок под нагрузкой целесообразно применять предварительно напряженные затяжки.

4.41. Усиление балок шпренгелями с жесткой горизонтальной распоркой принимается в тех случаях, когда нельзя передать усилие от предварительного напряжения затяжки на опоры усиливаемого элемента или на колонны.

4.42. Усиление опорных участков балок при значительных нагрузках рекомендуется выполнять предварительно напряженными хомутами. При отсутствии возможности применения предварительно напряженных хомутов при усилении рекомендуется увеличивать площади сечения бетона путем устройства обойм. Применение на опорных участках трехсторонних рубашек допускается только при усилении балок по всей длине.

4.43. Так как наращивание железобетонных плит перекрытий снизу сложно и трудоемко, то выполнять его можно только при отсутствии возможности разгружения перекрытий от технологического оборудования и наращивания сверху.

4.44. Требованиям факторов группы «в» отвечают способы, основанные на применении предварительно напряженных элементов.

4.45. К индустриальным способам, позволяющим выполнять значительную часть работ на стороне в заводских условиях, относятся также способы, предусматривающие применение ненапряженных металлических и сборных железобетонных элементов. Однако эти способы более трудоемки и материалоемки.

4.45. Преимущество должно отдаваться также способам, позволяющим в максимальной мере унифицировать размеры отдельных деталей и элементов усиления с учетом возможных отклонений размеров усиливаемых конструкций от проектных.


Таблица 7

Конструкции и способы их усиления

Область применения способа усиления для емкостей

Силовое разрушение или деформация

Коррозионное разрушение стен снаружи

Коррозионное разрушение и ударно-истирающий износ стен изнутри

Разрушение стен от действия момента в горизонтальном сечении

Разрушение узлов сопряжения стен с днищем и воронкой

Увеличение нагрузки на стены

от горизонтальной нагрузки

от вертикальной нагрузки

по всей высоте

на локальных участках

по всей высоте

на локальных участках

горизонтальной

вертикальной

Стены емкостной части

 

 

 

 

 

 

 

 

 

 

Стальные наружные бандажи

Возможен*

Возможен*

-

-

-

-

-

-

Возможен*

-

Железобетонные обоймы

»

-

-

Рекомендуется*, возможен**

-

-

Возможен**

Возможен***

»

Рекомендуется*, возможен**

Железобетонные рубашки

Возможен***

-

Рекомендуется*, возможен**

-

Возможен***

-

»

-

Возможен***

-

Стальные рубашки

Возможен*

-

-

-

-

-

-

-

»

Рекомендуется*, возможен**

Стальные гильзы

»

-

-

-

-

Возможен*

-

-

Возможен*

-

Железобетонные гильзы

Рекомендуется***

-

Рекомендуется***

-

-

Возможен***

Возможен**

-

Рекомендуется***

Рекомендуется***

Внутренние подвесные экраны

-

-

-

-

-

Рекомендуется*

-

-

-

-

Внутренние перегородки

Рекомендуется**

-

-

-

-

-

Возможен**

Возможен**

Возможен**

Возможен**

Вертикальные диафрагмы

-

Рекомендуется**

-

-

-

-

»

-

»

-

Горизонтальные тяжи

-

Возможен**

-

-

-

-

»

-

»

-

Разгрузочные устройства

Возможен***

Возможен***

-

-

-

-

-

-

Возможен***

-

Разгрузочные устройства, обеспечивающие центральную разгрузку

-

Возможен***

-

-

-

-

-

-

-

-

Отбойные экраны, перенос загрузочных устройств для центральной загрузки

-

-

-

-

-

Рекомендуется***

-

-

-

-

Горизонтальные перфорированные диафрагмы

Возможен***

Возможен***

-

-

-

-

-

-

Возможен***

-

Ограничение уровня загрузки, изменение режима эксплуатации

Рекомендуется***

Возможен***

-

-

-

-

Возможен**

Возможен***

»

Возможен***

Стены, днище, подсилосный этаж

 

 

 

 

 

 

 

 

 

 

Разгружающие опорные балки

-

-

-

-

-

-

Рекомендуется**

Рекомендуется***

-

»

Разгружающие опоры

-

-

-

-

-

-

-

»

-

»

Наращивание сечения

-

-

-

-

-

-

Рекомендуется**

»

-

»

* Для цилиндрических емкостей.

** Для прямоугольных емкостей.

*** Для цилиндрических и прямоугольных емкостей.


4.47. При выборе способов усиления хранилищ для сыпучих материалов кроме указанных общих принципов выбора способов усиления необходимо учитывать: особенности процесса загрузки-разгрузки; физико-механические свойства сыпучих материалов; стесненность условий выполнения работ по усилению внутри емкостей.

4.48. Выбор способов усиления хранилищ для сыпучих материалов рекомендуется выполнять с помощью табл. 7, учитывая положения, приведенные в пп. 4.49 - 4.52.

4.49. Целесообразность усиления стен с внешней или внутренней стороны следует определять с учетом:

степени и характера повреждения стен с внутренней и внешней стороны;

схемы блокировки емкости;

сроков выполнения работ по усилению;

необходимости совмещения конструкциями усиления функций защиты поверхности от агрессивных воздействий, ударно-истирающего износа, температурных повреждений и т.п.

4.50. Для цилиндрических стен более экономичным является устройство стальных поясов, бандажей (для отдельно стоящих емкостей), стальных и железобетонных гильз.

4.51. При выборе способов усиления хранилищ для сыпучих материалов следует учитывать продолжительность работ по усилению, включая длительность периода остановки емкости. Для одной емкости диаметром 12 м и высотой 20 - 25 м продолжительность усиления ориентировочно составляет:

а) стальными поясами (бандажами) - 15 дней (5);

б) стальными рубашками с замоноличиванием зазора между рубашкой и стеной - 30 (30) дней;

в) железобетонными обоймами, рубашками - 15 (15) дней;

г) стальными гильзами - 8 (8) дней;

д) железобетонными гильзами - 25 (25) дней;

Примечания: 1. В скобках указана продолжительность остановки емкости. 2. При усилении сблокированных емкостей продолжительность работ по пп. «а», «б» и «в» за счет повышения трудоемкости операций по замыканию кольцевых элементов усиления в местах блокировки увеличивается в 1,5 - 2 раза.

4.52. При прочих равных условиях усиление стен хранилищ с внутренней стороны является более предпочтительным, так как при этом упрощается замыкание конструкций усиления независимо от типа блокировки, снижается трудоемкость выполнения работ, повышается надежность усиливаемой стены и конструкции усиления, появляется возможность регулирования степени включения в работу на растяжение конструкции усиления.

4.53. В случае, если по пп. 4.38 - 4.46 и табл. 6, 7 выбраны несколько способов усиления и нельзя отдать предпочтение какому-либо из них, окончательный выбор способа может быть сделан на основе экономической оценки каждого из этих способов согласно пп. 4.54 - 4.65.

4.54. При массовом усилении конструкций реконструируемого объекта полная экономическая оценка для окончательного выбора способа усиления дается на основе результатов расчета конструкций усиления и проектов производства работ согласно «Инструкции по определению экономической эффективности капитальных вложений в строительстве» СН 423-71.

При сопоставлении вариантов, включающих результаты научно-исследовательских и проектно-конструкторских работ, используемых впервые в строительстве и содержащих новые решения, экономическая оценка выполняется согласно «Инструкции по определению экономической эффективности использования в строительстве новой техники, изобретений и рационализаторских предложений» СН 509-78.

4.55. Экономическая оценка для выбора способа усиления производится по минимуму приведенных затрат с обязательным учетом различий в продолжительности осуществления вариантов усиления и, как следствие, выпуска дополнительной продукции на объекте после его реконструкции.

Предварительно для каждого варианта определяются трудоемкость, продолжительность, себестоимость.

4.56. При усилении каждым из сравниваемых способов до расчета трудоемкости необходимо определить состав и объемы работ, расход материалов.

Состав работ может быть определен на основании проекта производства работ (ППР) или технологических карт, а также по табл. 8. Объем работ и расход материалов определяются по ППР или технологическим картам.

Трудоемкость по вариантам определяется на основе данных о затратах труда в чел.-ч на единицу измерения, приведенных в ЕРЕР или ЕНиР (гр. 9 табл. 8) или их заменяющих, а при отсутствии в них необходимых данных - по местным нормам.

4.57. По трудоемкости определяется продолжительность работ по сравниваемым вариантам усиления на основании локальных сетевых графиков либо календарных графиков, входящих в состав проектов производства работ или технологических карт.

С целью сокращения продолжительности остановки производства, что в большинстве случаев является решающим фактором, работы по усилению, если они попадают на критический путь сетевого графика, должны быть максимально интенсифицированы, даже если это требует дополнительных затрат. Должно использоваться максимально возможное совмещение процессов, рациональный состав звеньев (бригад), максимально возможная сменность работ.

Таблица 8

№ п.п.

Виды работ

Способы усиления

Разделы ЕНиР, соответствующие приведенным работам, и документы их заменяющие

обетонированием (обоймы, рубашки, наращивание сечения)

металлическими элементами

жесткими

гибкими

в опалубке с вибрированием

торкретированием

ненапрягаемыми (обоймы, порталы, рамы, стойки)

напрягаемыми (распорки, преднапряженные стойки)

ненапрягаемыми (балки на консолях, фермы)

напрягаемыми (дополнительная арматура, затяжки, тяжи, шарнирно-стержневые цепи, кронштейны, хомуты)

1

2

3

4

5

6

7

8

9

1

Разгружение усиливаемых конструкций

+

+

-

-

-

-

Калькуляции

2

Транспортирование и подача материалов, деталей, оснастки

+

+

+

+

+

+

E1-4, E1-6, E1-7, E1-16, Е1-19

3

Зачистка металлическими щетками, продувка, промывка поверхности бетона

+

+

-

-

-

-

Е4-1-54

4

Насечка поверхности бетона

+

+

-

-

-

-

Е4-1, Е20-1

5

Скалывание поверхностного слоя бетона

+ 1

+ 1

+ 2

-

+ 3

+ 1

Е4-1, Е20-1

6

Монтаж арматуры:

 

 

 

 

 

 

 

 

с приваркой к существующей

+

+

-

-

+ 3

+ 1

Е4-1-44

 

без приварки к существующей

+

+

-

-

-

-

 

7

Пробивка отверстий в железобетонном перекрытии

-

-

-

-

-

+

Е4-1, Е20-1

8

Зачистка вскрытой арматуры металлическими щетками

+ 1

+ 1

-

-

-

-

Е4-1-54

9

Монтаж и разборка опалубки

+

-

-

-

-

-

Е4-1-33, Е4-1-34, Е4-1-35, Е4-1-43

10

Устройство и разборка лесов и подмостей

+

+

+

+

+

+

Е40-3-30

11

Подача, укладка и уплотнение бетонной смеси

+

-

-

-

-

-

Е4-1-47, Е4-1-49

12

Нанесение бетонной смеси цемент-пушкой

-

+

-

-

-

-

Е8-1-12, Е8-1-13

13

Бетонирование отдельных мест с устройством, разборкой опалубки и штыкованием бетона

-

-

-

-

-

+

Е4-1-53

14

Зачеканка зазоров цементным раствором

-

-

+

+

-

-

Е4-1-28

15

Выдерживание и уход за бетоном

+

+

-

-

-

-

Е4-1-54

16

Монтаж металлических элементов усиления

-

-

+

+

+

+

Е5-1-6, Е5-1-9, Е5-1-12, Е5-1-18, Е5-1-19, Е40-2-4, Е40-2-8, Е40-2-10, Е40-2-11, Е40-2-14, Е40-2-15, Е40-2-19

17

Предварительное напряжение конструкций усиления

-

-

-

+

-

+

«Руководство по определению расчетной стоимости и трудоемкости изготовления сборных железобетонных конструкций на стадии проектирования», табл. 33

18

Сварочные работы

+ 1

+ 1

+

+

+

+

Е22-1-1, Е22-1-6, E22-1-9, Е22-1-34, Е22-1-35, Е22-1-36, Е22-1-37, Е22-1-38, Е22-1-39

19

Окраска металлоконструкций

-

-

+

+

+

+

Е5-1

1 При приварке арматуры усиления к существующей арматуре.

2 При установке стоек металлических обойм на растворе.

3 При устройстве железобетонных консолей под балки усиления.

При отсутствии указанных данных продолжительность выполнения работ может быть ориентировочно определена как суммарная трудоемкость, деленная на количество рабочих в бригаде и сменность работ.

4.58. Расчет себестоимости усиления по вариантам включает определение прямых затрат и накладных расходов.

Для определения прямых затрат используются производственные калькуляции по отдельным статьям прямых затрат, которые включают: основную заработную плату рабочих; затраты на материалы, детали, полуфабрикаты и конструкции; расходы на эксплуатацию строительных машин и автотранспорта.

4.59. Накладные расходы определяются на основе расчетов по статьям затрат, если мероприятие связано непосредственно с изменением накладных расходов, или на основе расчетов по факторам, от которых зависит величина накладных расходов: сокращение продолжительности строительства, уменьшение затрат на основную заработную плату рабочих, снижение трудоемкости работ.

Сокращение трудоемкости строительно-монтажных работ и затрат на основную заработную плату рабочих, учитываемых в прямых затратах, приводит к уменьшению накладных расходов, зависящих от этих факторов, в размере 0,6 руб. на 1 чел.-день и 15 % затрат на основную заработную плату.

4.60. Занятость основных производственных фондов и привлекаемых капитальных вложений определяется на основе расчета продолжительности выполнения работ и привлекаемых основных производственных фондов.

4.61. Влияние продолжительности выполнения работ по усилению на общую продолжительность реконструкции объекта определяется с учетом:

влияния продолжительности работ по усилению на продолжительность остановочного периода;

совмещения выполнения работ по усилению с остановкой производства по другим причинам (профилактика, планируемые простои и т.п.).

4.62. Потери прибыли и продукции при остановке производства рассчитывают на основе определения продолжительности остановки производства пропорционально годовой производительности и фонду рабочего времени по рассматриваемой продукции.

4.63. Расчет капитальных затрат, необходимых для выпуска продукции, потери которой предусматриваются по вариантам, производится по нормативам удельных капитальных вложений.

Таблица 9

Способ усиления конструкций

Трудоемкость, чел.-ч

Прямые затраты, руб.

Расход металла, кг

Расход цемента, кг

на 1 элемент

на 1 т для металлоконструкции или 1 м3 для железобетонной конструкции усиления

Колонны сечением 400 ´ 400 мм, высотой 6 м:

 

 

 

 

 

металлическая обойма

19,8

37,7

101

525

12

предварительно напряженные распорки

25

52,6

107

475

12

железобетонная обойма в опалубке

44

40

89

88

330

железобетонная обойма в опалубке из литого бетона

30,4

27,7

83,5

88

385

железобетонная обойма в несъемной армоцементной опалубке

49,2

44,7

118,2

88

330

обойма из торкретбетона

41

4,3*
62,3

100,7

94

290

Балки перекрытий и покрытий высотой 6 м, сечением, мм: 300 ´ 650

 

 

 

 

 

дополнительная упругая опора - металлическая балка на хомутах

22,5

105

61,2

238

3

дополнительная упругая опора - железобетонная балка на хомутах

21,9

7,9

111,5

93

339

металлические подкосы

24,8

60,5

87,1

410

6

предварительно напряженная шпренгельная затяжка

18

396,7

29,5

45

2

затяжка из высокопрочной стали

17,6

388,2

21,8

31

2

железобетонная обойма в опалубке

57,8

41,8

93

88

330

одностороннее наращивание сечения в опалубке

24

107,3

42,2

37

75

одностороннее наращивание сечения торкретированием

25,1

14*
226,6

43,7

37

122

предварительно напряженные разгружающие кронштейны

3,9

65

14,3

60

2

* Над чертой - на 1 м2.

4.64. В заключение экономической оценки выполняется расчет приведенных затрат по вариантам, сравнение вариантов между собой и выбор варианта с минимальными приведенными затратами.

4.65. Предварительные экономические показатели усиления железобетонных конструкций различными способами при повышении несущей способности в 1,75 раза даны в табл. 9.

5. ТЕХНИКА БЕЗОПАСНОСТИ

5.1. При выполнении работ по усилению конструкций кроме соблюдения общих правил техники безопасности в строительстве согласно главе СНиП III-4-80 требуется соблюдение особых правил, связанных со спецификой и условиями выполняемых работ. Технологические процессы, выполняемые на территории действующего предприятия и в действующих цехах относятся к работам повышенной опасности и должны производиться по нарядам-допускам. Рабочие строительных организаций должны быть ознакомлены с проектами производства работ и пройти дополнительный инструктаж по технике безопасности в связи с повышенной опасностью производства работ при реконструкции предприятий.

Работники предприятия, в свою очередь, должны пройти инструктаж по правилам безопасного поведения в зоне производства строительно-монтажных работ.

5.2. Основанием для производства работ по усилению в действующем цехе должен быть приказ (распоряжение) по предприятию (цеху) с указанием лиц, ответственных за подготовку оборудования и конструкций к указанным работам, за проведение мероприятий, необходимых для обеспечения безопасности этих работ и для оперативной связи с подрядчиком.

5.3. На объекте, где работы по усилению производятся несколькими подрядными организациями или смешанными силами подрядных организаций и заказчика, общую координацию работ должен осуществлять начальник объекта или лицо, назначенное им.

5.4. На проведение работ по усилению на действующем предприятии перед началом работ администрация цеха должна выдать подрядной организации наряд-допуск к работе, который является письменным разрешением на производство работ в отведенной зоне (участке, отделении объекта).

5.5. Наряд-допуск оформляется администрацией предприятия (цеха) на период, необходимый для выполнения указанного объема работ.

5.6. Все работники подрядной организации, имеющие допуск на территорию предприятия, имеют право выполнять работы только на тех рабочих местах и объектах, которые предусмотрены нарядом-допуском.

5.7. Для обеспечения безопасности занятых на производстве работ по усилению конструкций рабочих и производственного персонала предприятия зона производства работ должна бить ограждена. При этом граница опасной зоны определяется исходя из минимально необходимого размера рабочей зоны (п. 4.34) и с учетом возможного падения предметов при работе на высоте в соответствии с указаниями п. 2.7 главы СНиП III-4-80. Все находящиеся в рабочей зоне силовые линии, коммуникации и технологическое оборудование необходимо перенести или оградить.

5.8. При производстве работ на действующих предприятиях необходимо выполнять требования пылегазового и других режимов, действующих на реконструируемом предприятии.

При усилении без остановки производства во взрывоопасных и пожароопасных производствах сварочные работы допускаются в исключительных случаях по письменному разрешению представителя заказчика, которое выдается ежедневно при одновременном согласовании плана работ, связанных со сваркой.

5.9. Инженерные сети в рабочей зоне должны быть, как правило, отключены, закорочены, а оборудование и технологические трубопроводы освобождены от взрывоопасных, горючих и вредных веществ и нейтрализованы.

5.10. Взрывные работы, вибропогружение и забивку свай, трамбовку грунта в действующем цехе разрешается производить в исключительных случаях и только при соответствующем обосновании и письменном согласовании с заказчиком.

5.11. Несущие конструкции до начала подготовки к усилению (при необходимости) должны быть разгружены путем подведения дополнительных опор, демонтажа оборудования, вышележащих конструкций и т.п. При усилении несущих конструкций покрытия одноэтажных зданий необходимо устраивать временные защитные перекрытия по нижним поясам ферм.

5.12. При монтаже конструкций необходимо обеспечить устойчивость и неизменность смонтированной части на всех стадиях монтажа, а также безопасность ведения монтажных работ.

5.13. При обнаружении в процессе производства работ деформаций, которые могут привести к аварийному состоянию, необходимо определить границы опасной зоны, немедленно принять меры к обеспечению устойчивости и прочности здания или конструкции, до выполнения которых прекратить работы в опасной зоне, вывести рабочих, одновременно уведомив об этом проектную организацию, выбрать и осуществить способ усиления, обеспечивающий: наименьшее нарушение существующих конструкций, наибольшую степень усиления и быстрейшее завершение работ по усилению и передаче нагрузки.

5.14. При пробивке проемов или отверстий в перекрытиях на нижележащем этаже должны устраиваться ограждения или крытые переходы. Проемы в наружных стенах и выносные площадки для приема и подачи нового технологического оборудования и строительных материалов следует ограждать перилами высотой 1 м. Проемы в кирпичных стенах допускается устраивать только после устройства металлических перемычек, заводимых с обеих сторон в штрабы и соединенных болтами.

5.15. При производстве работ по усилению над рабочими зонами действующего предприятия ниже места усиления должны быть устроены защитные настилы. Если усиление выполняется с применением сварки, настилы в радиусе не менее 5 м от места ее выполнения должны быть освобождены от сгораемых материалов.

5.16. Перекрытия над подвалами в зоне действия строительного транспорта и кранов должны быть заранее дополнительно усилены.

5.17. При установке монтажных элементов в проектное положение вручную масса монтажного элемента не должна превышать 60 кг.

5.18. Рабочие, занятые на подготовке поверхности бетона, должны быть снабжены спецодеждой с индивидуальными средствами защиты, а участки производства работ очищены от пыли.

5.19. При усилении с использованием дополнительной напрягаемой арматуры во время ее натяжения не допускается пребывание посторонних людей в рабочей зоне.

5.20. Временное складирование демонтируемого технологического оборудования разрешается на участках перекрытий, указанных в ППР, имеющих достаточную прочность.

5.21. Временное подключение оборудования для строительных целей ко всем действующим инженерным сетям выполняется при их подключении и письменно согласовывается с заказчиком.

5.22. Работы по усилению конструкций на реконструируемом предприятии необходимо выполнять только при наличии и в соответствии с разработанным ППР.

5.23. ППР должен включать разработку:

совместных мероприятий генподрядчика и заказчика по производству работ на действующем предприятии;

схем безопасного движения людей к рабочим местам;

зон действия грузоподъемных механизмов, воздушных линий электропередачи, хранения взрывоопасных и горючих материалов, а также вредных веществ и других опасных зон, условия работы в которых требуют внимания к обеспечению безопасности рабочих; при усилении без остановки производства должны быть определены безопасные границы движения мостовых кранов или принято решение о прекращении их эксплуатации, а их движение в зоне усиления (при необходимости) согласовано графиком их работы по времени;

схем безопасного движения транспортных средств; такие схемы должны быть установлены у въезда на строительную площадку, а на площадке - соответствующие дорожные знаки; при необходимости совмещение движения строительного транспорта и транспорта действующего предприятия должно согласовываться схемой в плане и графиком по времени;

выполнения разгрузочных работ, временного закрепления усиливаемых конструкций, ограждения проемов, устройства освещения рабочей зоны;

безопасных способов удаления отходов строительных материалов и продуктов разборки конструкций;

способов защиты технологического оборудования от механического повреждения;

дополнительных защитных мероприятий при производстве работ в помещениях с повышенной опасностью и особо опасных, а также при выполнении работ в аналогичных условиях вне помещения;

средств защиты работающих от воздействия вредных производственных факторов;

обеспыливания и вентиляции рабочего места;

применения маломощного ручного, преимущественно электрического инструмента при выполнении подготовительных работ.

5.24. Режим работы рабочих, занятых на усилении конструкций в действующем цехе, их индивидуальные средства защиты должны быть увязаны с режимом работы и индивидуальными средствами защиты рабочих основного производства.

СОДЕРЖАНИЕ

1. Общие положения и систематизация способов усиления. 1

2. Конструктивные решения по усилению.. 9

Основные конструктивные решения по усилению колонн и балок. 9

Особенности усиления ферм покрытий. 48

Особенности усиления плит перекрытий и покрытий. 52

Особенности усиления подкрановых балок. 58

Особенности усиления хранилищ для сыпучих материалов. 61

3. Расчет усиления железобетонных конструкций. 65

Общие положения. 65

Особенности расчета усиления изгибаемых элементов. 66

Конструкции полного и частичного разгружения. 66

Усиление промежуточными жесткими и упругими опорами. 67

Усиление железобетонными обоймами, рубашками и наращиванием.. 68

Усиление предварительно напряженной арматурой. 73

Особенности расчета усиления внецентренно сжатых элементов. 78

Усиление железобетонными обоймами, рубашками и наращиванием.. 78

Усиление металлическими обоймами и предварительно напряженными распорками. 82

Особенности расчета усиления железобетонных ферм.. 82

Усиление растянутых элементов металлическими затяжками. 82

Усиление сжатых элементов металлическими обоймами и распорками. 84

Усиление узлов ферм напряженными хомутами. 84

Особенности расчета усиления балок и ферм предварительно напряженными шарнирно-стержневыми цепями. 86

Особенности расчета усиления хранилищ для сыпучих материалов. 88

Примеры расчета. 88

Усиление изгибаемых элементов. 88

Усиление внецентренно сжатых элементов. 93

4. Особенности проектирования конструкций усиления. 99

Учет требований технологии и условий производства работ при проектировании. 99

Экономическая оценка и выбор способов усиления. 104

5. Техника безопасности. 114

 




Rambler's Top100 Яндекс цитирования
  Copyright © 2008-2026, www.docload.ru